| Скачать .docx |
Реферат: Конструкции теплообменных аппаратов
Федеральное агентство по образованию
Российской Федерации
Государственное общеобразовательное учреждение
высшего профессионального образования
Липецкий Государственный Технический Университет
Кафедра промышленной теплоэнергетики
Реферат
по курсу: ″Тепло- и массообмен″
на тему: «Конструкция теплообменных аппаратов».
Выполнил студент
группы ТЭ-06-2
Немцев Александр
Проверил
Крамченков Е.М.
Липецк 2010
Содержание
- Кожухотрубчатые теплообменники……………………………………..3
- Пластинчатые теплообменники………………………………………….8
- Змеевиковые теплообменники…………………………………………..10
- Спиральные теплообменники……………………………………………11
- Оросительные теплообменники…………………………………………12
- Типа «труба в трубе» теплообменники…………………………………13
- Испарители и паропреобразователи…………………………………….14
- Библиографический список……………………………………………...16
Кожухотрубчатые теплообменники
Кожухотрубчатые теплообменные аппараты обозначаются индексами и классифицируются:
• по назначению (первая буква индекса): Т – теплообменники; Х – холодильники; К – конденсаторы; И – испарители;
• по конструкции (вторая буква индекса) – Н — с неподвижными трубными решетками; К — с температурным компенсатором на кожухе; П — с плавающей головкой; У — с U-образными трубами; ПК — с плавающей головкой и компенсатором на ней;
• по расположению (третья буква индекса): Г – горизонтальные; В – вертикальные.
Кожухотрубчатые теплообменники (рис. 1-2) представляют собой аппараты, выполненные из пучков труб, собранных при помощи трубных решеток, и ограниченные кожухами и крышками со штуцерами.
Трубы, кожух и другие элементы конструкции могут быть изготовлены из углеродистой или нержавеющей стали.
Трубное и межтрубное пространства в аппарате разобщены, а каждое из этих пространств может быть разделено при помощи перегородок на несколько ходов. Перегородки устанавливаются с целью увеличения скорости, а следовательно, и интенсивности теплообмена теплоносителей. Теплообменники этого типа предназначаются для теплообмена между различными жидкостями, между паром и жидкостями или между жидкостями и газами. Они применяются тогда, когда требуется большая поверхность теплообмена.
Трубки теплообменников изготовляются прямыми (за исключением теплообменников с U-образными трубками); поэтому они легко доступны для очистки и замены в случае течи.
В большинстве случаев пар (греющий теплоноситель) вводится в межтрубное пространство, а нагреваемая жидкость протекает по трубкам. Конденсат из межтрубного пространства выходит к конденсатоотводчику через штуцер, расположенный в нижней части кожуха. Для компенсации температурных удлинений, возникающих между кожухом и трубками, предусматривается возможность свободного удлинения труб за счет различного рода компенсаторов.
Особенность кожухотрубчатых теплообменников состоит в том, что проходное сечение межтрубного пространства велико по сравнению с проходным сечением трубок и может быть больше последнего в 2,5— 3 раза.
Кожухотрубчатые аппараты могут быть вертикальными и горизонтальными. Вертикальные аппараты имеют большее распространение, так как они занимают меньше места и более удобно располагаются в рабочем помещении. Для удобства монтажа и эксплуатации максимальную длину трубок для них следует брать не больше 5 м.
Во избежание резкого снижения теплоотдачи от конденсирующегося пара к стенке в корпусе теплообменника должны быть предусмотрены краны для выпуска воздуха как из нижней части аппарата над поверхностью конденсата, так и из верхней его части.
В кожухотрубных ТА трубы могут быть расположены по сторонам шестиугольников или, что одно и то же, равносторонних треугольников (треугольной) или по концентрическим окружностям.
Вопрос о том, какой из теплоносителей направлять в трубы или в межтрубное пространство, должен решаться с точки зрения не только интенсификации теплообмена, но и надежности работы ТА. Если теплоноситель вызывает коррозию или механическое повреждение труб, то лучше его пропустить внутрь труб, так как экономичнее выполнить трубы из материала высокой стоимости, чем кожух. В трубы целесообразно направлять теплоноситель под большим давлением, чем в межтрубном пространстве, чтобы не делать толстостенный кожух, а также более загрязненный, поскольку трубы очистить легче, чем межтрубное пространство. Например, дымовые газы обычно проходят в трубах, что уменьшает засорение аппарата золой и сажей, а пар и воздух — в межтрубном пространстве.
Двухходовой горизонтальный теплообменник типа Н (рис. 1) состоит из цилиндрического сварного кожуха 8, распределительной камеры 11 и двух крышек 4. Трубный пучок образован трубами 7, закрепленными в двух трубных решетках 3. Трубные решетки приварены к кожуху. Крышки, распределительная камера и кожух соединены фланцами. В кожухе и распределительной камере выполнены штуцера для ввода и вывода теплоносителей из трубного (штуцера 1, 12) и межтрубного (штуцера 2, 10)
пространств. Перегородка 13 в распределительной камере образует ходы теплоносителя по трубам. Для герметизации узла соединения продольной перегородки с трубной решеткой использована прокладка 14, уложенная в паз решетки 3.


1 2
Рис.1
1 - Двухходовой горизонтальный теплообменник с неподвижными решетками;
2 - Теплообменник с U-образными трубами.
Поскольку интенсивность теплоотдачи при поперечном обтекании труб теплоносителем выше, чем при продольном, в межтрубном пространстве теплообменника установлены зафиксированные стяжками 5 поперечные перегородки 6, обеспечивающие зигзагообразное по длине аппарата движение теплоносителя в межтрубном пространстве. На входе теплообменной среды в межтрубное пространство предусмотрен отбойник 9 — круглая или прямоугольная пластина, предохраняющая трубы от местного эрозионного изнашивания.


1 2
Рис.2
1 - Теплообменник типа К — с линзовым компенсатором;
2 – Теплообменник с плавающей головкой.
Теплообменник типа К — с линзовым компенсатором(Рис. 2) на корпусе. В этом аппарате температурные деформации компенсируются осевым сжатием или расширением компенсатора. Теплообменники с линзовыми компенсаторами применяют при небольших температурных деформациях (не более 13-15 мм) и невысоких давлениях в межтрубном пространстве (не более 0.5 МПа).
Применение кожухотрубчатых теплообменников с температурным компенсатором на кожухе (линзовый компенсатор) ограничено предельно допустимым давлением в кожухе, равным 1,6 МПа. При большем давлении в кожухе (1.6—8,0 МПа) следует применять теплообменники с плавающей головкой или с U-образными трубами.
На рис.3 изображен кожухотрубчатый теплообменник с плавающей головкой, предназначенной для охлаждения (нагревания) жидких или газообразных сред без изменения агрегатного состояния. Не закрепленная на
кожухе вторая трубная решетка вместе с внутренней крышкой, отделяющей трубное пространство от межтрубного, образует так называемую плавающую головку. Такая конструкция исключает температурные напряжения в кожухе и в трубах. Эти теплообменники, нормализованные в соответствии с ГОСТ 14246—79, могут быть двух- или четырехходовыми, горизонтальными длиной 3, 6 и 9 м или вертикальными высотой 3 м. Допустимое давление охлаждающей среды в трубах до 1,0 МПа, в межтрубном пространстве — от 1,0 до 2,5 МПа. Диаметр кожуха от 600 до 1400 мм, высота труб 6,0 м.
В аппаратах типа У обеспечивается свободное температурное удлинение труб: каждая труба может расширяться независимо от кожуха и соседних труб. Разность температур стенок труб по ходам в этих аппаратах не должна превышать 100 °С. В противном случае могут возникнуть опасные температурные напряжения в трубной решетке вследствие температурного скачка на линии стыка двух ее частей.
Теплообменники с U-образными трубами применяют для нагрева и охлаждения жидких или газообразных сред без изменения их агрегатного состояния. Они рассчитаны на давление до 6,4 МПа.
Преимущество конструкции аппарата типа У — возможность периодического извлечения трубного пучка для очистки наружной поверхности труб или полной замены пучка. Однако следует отметить, что наружная поверхность труб в этих аппаратах неудобна для механической очистки.
Поскольку механическая очистка внутренней поверхности труб в аппаратах типа У практически невозможна, в трубное пространство таких аппаратов следует направлять среду, не образующую отложений, которые требуют механической очистки.
Для уменьшения засорения золой дымовые газы пропускают внутри трубок, а воздух — через межтрубное пространство.
При значительно больших давлениях в теплообменной аппаратуре применяют сальниковые компенсаторы. Однако сальниковые компенсаторы могут пропускать рабочую среду, что требует их периодическое регулирование, в связи с чем сальниковые компенсаторы применяют для аппаратов с малыми диаметрами.
Пластинчатые теплообменники
Пластинчатый теплообменник — это теплообменник поверхностного типа, в котором передача тепла от одной среды (греющего теплоносителя) к другой (нагреваемому теплоносителю) происходит через металлическую стенку, которую принято называть поверхностью теплообмена.
Пластинчатые теплообменники представляют собой аппараты, теплообменная поверхность которых образована набором тонких штампованных пластин с гофрированной поверхностью. Рабочие среды в теплообменнике движутся в щелевых каналах сложной формы между соседними пластинами в противопотоке. Каналы для греющего и нагреваемого теплоносителей чередуются между собой (Рис.3). Гофрированная поверхность пластин усиливает турбулизацию потоков рабочих сред и повышает коэффициент теплоотдачи.
Их разделяют по степени доступности поверхности теплообмена для механической очистки и осмотра на разборные, полуразборные и неразборные (сварные).
Наиболее широко применяют разборные пластинчатые теплообменники, в которых пластины отделены одна от другой прокладками. Монтаж и демонтаж этих аппаратов осуществляют достаточно быстро, очистка теплообменных поверхностей требует незначительных затрат труда.
Основные размеры и параметры наиболее распространенных в промышленности пластинчатых теплообменников определены ГОСТ 15518—83. Их изготовляют с поверхностью теплообмена от 2 до 600 м2 в зависимости от типоразмера пластин; эти теплообменники используют при давлении до 1,6 МПа и температуре рабочих сред от —30 до +180° С для реализации теплообмена между жидкостями и парами (газами) в качестве холодильников, подогревателей и конденсаторов.
Серийно выпускаемые разборные пластинчатые теплообменники могут работать с загрязненными рабочими средами при размере твердых включений не более 4 мм.

Рис.3 Разборный пластинчатый теплообменник
Устройство и принцип работы пластинчатого теплообменника достаточно просты. При стягивании пакета пластин образуется ряд каналов, по которым протекают жидкости учавтвующие в процессе теплообмена. Все пластины в пакете одинаковы, только развернуты одна относительно другой на 180 градусов. Такая установка пластин обеспечивает чередование горячих и холодных каналов. В процессе теплообмена жидкости движутся навстречу друг другу (в противотоке), и горячая жидкость передает тепло через стенку пластины. В местах их возможного перетекания находится или стальная пластина или двойное резиновое уплотнение, что практически исключает смешение жидкостей. Такой принцип построения пластинчатого теплообменника позволяет его быстро модифицировать, как в сторону увеличения количества пластин и тем самым увеличить мощность пластинчатого теплообменника, так и легко отремонтировать его в случае выхода из строя резинового уплотнения или теплообменной пластины.
Серийно выпускаемые пластинчатые теплообменники комплектуют пластинами, штампованными из листового металла толщиной 1 мм. Гофры пластин обычно имеют в сечении профиль равностороннего треугольника высотой 4—7 мм и основанием длиной 14—30 мм (для вязких жидкостей до 75 мм). Материал пластин — оцинкованная или коррозионно-стойкая сталь, титан, алюминий. К недостаткам пластинчатых теплообменников следует отнести невозможность использования их при давлении более 1,6 МПа.
Пластины неразборных теплообменников сварены в блоки, соединенные на прокладках в общий пакет
Змеевиковые теплообменники
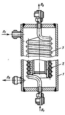
Основным теплообменным элементом является змеевик-труба, согнутая по определенному профилю.
Конструкция змеевикового теплообменника показана на рис. 4. Аппарат имеет корпус 1, в котором размещен змеевик 3 или система змеевиков. Витки змеевика ориентированы по винтовой линии. При большой площади поверхности теплообмена змеевики по длине набирают из нескольких секций. Во избежание прогибов труб при большом числе витков и большом диаметре навивки каждый виток закрепляют болтами на стойках.
Рис. 4 Змеевиковый теплообменник:
1- корпус
2- стакан
3- змеевик из трубы
Пар вводится в верхнюю часть корпуса через вход п1 со скоростью до 50 м/с, выходит снизу через выход п2 . Охлаждающая жидкость поступает в змеевик снизу через вход B1 и движется в нем со скоростью до [1]м/с, выходит через выход В2 . Разность давлений теплоносителей в змееви-
ковых аппаратах может достигать 10 МПа.
Скорость движения жидкости мала вследствие большого сечения корпуса аппарата, что обусловливает низкие значения коэффициентов теплоотдачи от наружной стенки змеевика к жидкости (или наоборот). Для увеличения этого коэффициента теплоотдачи повышают скорость движения жидкости путем установки в корпусе аппарата, внутри змеевика, стакана. В этом случае жидкость движется по кольцевому пространству между стенками аппарата и стакана с повышенной скоростью.
Погружные змеевиковые теплообменники имеют сравнительно небольшую поверхность теплообмена (до 10-15 м2 ).
Спиральные теплообменники
Спиральные теплообменники изготовляют с поверхностью теплообмена 10—100 м2 ; они работают как под вакуумом, так и при давлении до 1 МПа при температуре рабочей среды 20—200 °С. Их можно использовать для реализации теплообмена между рабочими средами жидкость—жидкость, газ—газ, газ—жидкость.
Все большее распространение этих теплообменников в последнее время объясняется главным образом простотой изготовления и компактностью конструкции. В таком аппарате один из теплоносителей поступает в периферийный канал аппарата 3 и, двигаясь по спирали, выходит из верхнего центрального канала 1. Другой теплоноситель поступает в нижний центральный канал 4 и выходит из периферийного канала 2.
Площадь поперечного сечения каналов в таком теплообменнике по всей длине постоянна, поэтому он может работать с загрязненными жидкостями (загрязнение смывается потоком теплоносителя).
Рис.5 Спиральный теплообменник
В спиральных теплообменниках поверхность теплообмена образована двумя стальными лентами 1, 2 толщиной 3,5—6 мм и шириной 400—1250 мм (рис. 5), свернутыми в спираль так, что получаются каналы прямоугольного профиля, по которым противоточно движутся теплоносители. Достоинствами спиральных теплообменников являются повышенная компактность (большая поверхность теплообмена в единице объема) при одинаковых коэффициентах теплопередачи и меньшее гидравлическое сопротивление для прохода теплоносителей, недостатками их являются сложность изготовления и меньшая плотность.
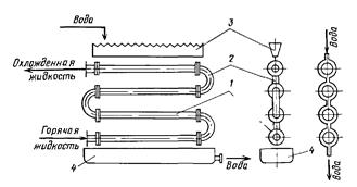
Оросительные теплообменники

Рис.5 Оросительный теплообменник
Оросительные теплообменники применяют в основном для охлаждения жидкостей и газов или конденсации паров.
Оросительный теплообменник представляет собой змеевик (рис. 6) из размещенных друг над другом прямых труб 1, соединенных между собой калачами 2. Снаружи трубы орошают водой, которую подают в желоб 3 для равномерною распределения охлаждающей воды по всей длине верхней трубы змеевика. Отработанная вода поступает в корыто 4 для сбора воды. По трубам протекает охлаждаемый теплоноситель.
Орошающая теплообменник вода при перетекании по наружным стенкам труб частично испаряется. Но при этом происходит необратимая потеря воды. Во избежание сильного увлажнения воздуха в помещении оросительные теплообменники обычно устанавливают на открытом воздухе. По этой же причине, если оросительный теплообменник необходимо установить в помещении, его приходится помещать в громоздкие кожухи.
К недостаткам этих теплообменников следует отнести также громоздкость, неравномерность смачивания наружной поверхности труб, нижние ряды которых могут вообще не смачиваться и практически не участвовать в теплообмене. Поэтому, несмотря на простоту изготовления, легкость чистки наружных стенок труб и другие достоинства, оросительные теплообменники находят ограниченное применение.
Теплообменники «труба в трубе»
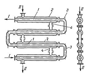
Теплообменники типа «труба в трубе» представляют собой набор последовательно соединенных элементов, состоящих из двух концентрически расположенных труб (рис. 6).
Один теплоноситель движется по внутренним трубам 1, другой - по кольцевому зазору между внутренними и наружными 2 трубами. Внутренние трубы соединяются с помощью калачей 3, а наружные с помощью соединительных патрубков 4. Длина элемента теплообменника типа «труба в трубе» обычно составляет 3-6 м, диаметр наружной трубы -76-159 мм, внутренней - 57-108 мм.
Рис. 6 Теплообменники типа «труба в трубе»
Поскольку сечения внутренней трубы и кольцевого зазора невелики, то в этих теплообменниках достигаются значительные скорости движения теплоносителей (до 3 м/с), что приводит к увеличению коэффициентов теплопередачи и тепловых нагрузок, замедлению отложения накипи и загрязнений на стенках труб. Однако двухтрубные теплообменники более громоздки, чем кожухотрубчатые, на их изготовление требуется больше металла на единицу поверхности теплообмена. Двухтрубные теплообменники применяют для процессов со сравнительно небольшими тепловыми нагрузками и соответственно малыми поверхностями теплообмена (не более десятков квадратных метров).
Теплообменники типа «труба в трубе» используют для охлаждения или нагревания в системе жидкость—жидкость, когда расходы теплоносителей невелики и последние не меняют своего агрегатного состояния.
Испарители и паропреобразователи
Испарители применяются для испарения жидкости или для увеличения концентрации раствора путем испарения части растворителя.
Испарители и парообразователи широко применяются для уменьшения и восполнения потерь конденсата. Их можно разделить на аппараты с естественной циркуляцией воды между трубками и с принудительной циркуляцией воды в кипятильных трубках.
Давление с испарителя выбирается таким образом, чтобы обеспечивать нужную температуру кипения. Поскольку испарители часто работают под вакуумом, то температура в них ниже нормальной температуры кипения.
В испарителях, в которых жидкость движется снизу вверх по вертикальным трубам, температура кипения жидкости внизу выше, чем вверху, из-за большего гидростатического давления. Таким образом, в нижней части труб кипение отсутствует и температура увеличивается до достижения температуры кипения, соответствующей локальному давлению. Затем возникает кипение вследствие большого подвода теплоты и мгновенного парообразования в перегретой жидкости, и температура уменьшается. Следовательно, разность температур в середине труб меньше, чем на концах, что может привести к значительному снижению характеристик в вертикальных испарителях (как с короткими, так и с длинными трубами), а также испарителях типа «корзины». Для повышения концентрации растворов необходимо учитывать рост температуры кипения при увеличении концентрации.
В качестве примера испарителя воды с естественной циркуляцией на рис.7 представлен вертикальный аппарат. Коэффициент теплопередачи 3000-4000 Вт/м2 ∙К. Естественная циркуляция в этом аппарате происходит вследствие того, что образующаяся в кипятильных трубках пароводяная эмульсия имеет меньшую плотность, чем вода в кольцевом зазоре между корпусом и трубной системой, где ей сообщается значительно меньшее удельное количество тепла на единицу объема.
Рис.7 Вертикальный испаритель:
1- парообразующее пространство;
2- патрубок для подачи греющего пара;
3-патрубок для подачи выпариваемой жидкости;
4- нижняя крышка;
5- отвод конденсата пара;
6- трубка для сдувок;
7- греющая камера;
8- трубка для сдувок неконденсируемого газа;
9- дренаж сепаратора;
10- сепаратор;
11- патрубок для отвода сухого пара.
При этом в трубках устанавливается подъемное движение пароводяной эмульсии, а в кольцевом зазоре — опускное движение воды. Паровые пузырьки по выходе среды из трубок переходят в паровой объем. Уровень воды в аппарате поддерживается с помощью поплавкового регулятора питания выше верхней трубной решетки. Первичный (греющий) пар поступает в межтрубное пространство греющей камеры. Для отделения влаги из вторичного пара в верхней части парового пространства встроено сепарирующее устройство.
Паропреобразователь - теплообменный аппарат для испарения воды; разновидность испарителя, отличающаяся тем, что конечным продуктом рабочего процесса является не дистиллят (питательная вода), а пар водяной.
Библиографический список
1. Лебедев П.Д. Тепломассообменные сушильные и холодильные установки. М.: Энергия, 1972 – 320с.
2. Виноградов С.Н. Выбор и расчёт теплообменников. Пермь: ПГУ, 2001 – 100с.
3. Касаткин А.Г. Основные процессы и аппараты технической технологии. М.: Химия, 1970 – 374с.
4. Дытнерский Ю.И. Процессы и аппараты технической технологии. Ч.1 М.: Химия, 1995 – 400с.
5. Мартыненко О.Г. Справочник по теплообменникам. Т.2. М.: Энергоатомиздат, 1987 - 352с.