| Скачать .docx |
Реферат: Проектирование тягового полупроводникового преобразоателя
ГОСУДАРСТВЕННОЕ ОБРАЗОВАТЕЛЬНОЕ УЧРЕЖДЕНИЕ
ВЫСШЕГО ПРОФЕССИОНАЛЬНОГО ОБРАЗОВАНИЯ
ПЕТЕРБУРГСКИЙ ГОСУДАРСТВЕННЫЙ УНИВЕРСИТЕТ ПУТЕЙ СООБЩЕНИЯ МИНИСТЕРСТВА ПУТЕЙ СООБЩЕНИЯ РОССИЙСКОЙ ФЕДЕРАЦИИ
Кафедра «Электроснабжение железных дорог»
ПОЯСНИТЕЛЬНАЯ ЗАПИСКА К КУРСОВОМУ ПРОЕКТУ
ПРОЕКТИРОВАНИЕ ТЯГОВОГО ПОЛУПРОВОДНИКОВОГО ПРЕОБРАЗОВАТЕЛЯ
Выполнил студент А.Е. Гуйдо
Группа ЭС – 005
Руководитель Я. С. Гришин
Нормоконтроль Я. С. Гришин
Санкт-Петербург
2004
ЗАДАНИЕ.
Вариант №17:
Номинальное значение выпрямленного напряжения: ![]()
Номинальное значение выпрямленного тока: ![]()
Номинальное значение напряжения питающей сети: ![]()
Схема соединения обмоток преобразовательного трансформатора: ![]()
Вид преобразователя по функциональным свойствам: неуправляемый выпрямитель;
Климатическое исполнение преобразовательной установки: тропическое исполнение.
СОДЕРЖАНИЕ
ВВЕДЕНИЕ………………………………………………………………………………….…..4
1.ВЫБОР И ОБОСНОВАНИЕ ВЫПРЯМИТЕЛЬНОЙ СХЕМЫ…………………………….5
2.РАСЧЕТ НАПРЯЖЕНИЯ ТОКОВ И МОЩНОСТИ. ВЫБОР ТРАНСФОРМАТОРА...…7
3.РАСЧЕТ ТОКОВ В АВАРИЙНЫХ РЕЖИМАХ………………………………………..9
4. ВЫБОР ТИПА ДИОДА И РАЗРАБОТКА СОЕДИНЕНИЯ СХЕМЫ ПЛЕЧА ПРЕОБРАЗОВАТЕЛЯ………………………………………………………………………….14
4 1. Выбор типа диода………………………………………………………………………...14
4.2.Разработка соединения схемы плеча преобразователя…………………………………17
5.ИССЛЕДОВАНИЕ ВНЕШНИХ ХАРАКТЕРИСТИК ВЫПРЯМИТЕЛЬНОГО АГРЕГАТА И ИССЛЕДОВАНИЕ КОММУТАЦИИ………………………………………...19
5.1. Исследование внешней характеристики и коэффициента мощности………………...19
5.2 Исследование коммутации……………………………………………………………….21
6.ИССЛЕДОВАНИЕ ЭНЕРГЕТИЧЕСКИХ ХАРАКТЕРИСТИК (КПД, КОЭФФИЦИЕНТ МОЩНОСТИ)…………………………………………………………………………………..22
ЗАКЛЮЧЕНИЕ…………………………………………………………………………………25
БИБЛИОГРАФИЧЕСКИЙ СПИСОК…………………………………………………………26
ВВЕДЕНИЕ.
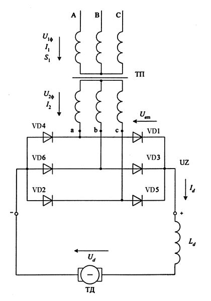
В данном курсовом проекте, производится расчет преобразовательного агрегата, предназначенного для установки на тяговых подстанциях метрополитена. Преобразователь собран по шестипульсовой схеме преобразования и состоит из преобразовательного трансформатора и трехфазного мостового выпрямителя.
Мостовая схема обладает рядом достоинств, по сравнению с нулевой схемой с уравнительным реактором. Прежде всего у мостовой схемы более высокий коэффициент использования мощности трансформатора – 0,95 против 0,8. Конструкция трансформатора значительно упрощается, так как отпадает необходимость в двух вторичных обмотках. Отпадает необходимость и в самом уравнительном реакторе. Установленная мощность полупроводниковых приборов в обеих схемах одинакова, также во всех шестипульсовых схемах одинаков угол коммутации.
В данное время шестипульсовые мостовые выпрямители уже не удовлетворяют современным требованиям по уровню пульсаций выпрямленного напряжения и по уровню высших гармонических составляющих в кривой потребляемого тока. Этим требованиям в большей мере удовлетворяют двенадцатипульсовые выпрямители, которым и отдается предпочтение при разработке новых преобразователей. Эти выпрямители имеют также более пологую внешнюю характеристику, меньший угол коммутации, более высокие экономические показатели.
В системах электроснабжения железных дорог, метрополитена, и городского электротранспорта, несмотря на это, достаточно широко распространены шестипульсовые мостовые выпрямители.
- ВЫБОР И ОБОСНОВАНИЕ ВЫПРЯМИТЕЛЬНОЙ СХЕМЫ.
В данном курсовом проекте, производится расчет преобразовательного агрегата, предназначенного для установки на тяговых подстанциях метрополитена. Преобразователь собран по шестипульсовой схеме преобразования и состоит из преобразовательного трансформатора и трехфазного мостового выпрямителя (рис.1).
Мостовая схема обладает рядом достоинств, по сравнению с нулевой схемой с уравнительным реактором. Прежде всего у мостовой схемы более высокий коэффициент использования мощности трансформатора – 0,95 против 0,8. Конструкция трансформатора значительно упрощается, так как отпадает необходимость в двух вторичных обмотках. Отпадает необходимость и в самом уравнительном реакторе. Установленная мощность полупроводниковых приборов в обеих схемах одинакова, также во всех шестипульсовых схемах одинаков угол коммутации.
В системах электроснабжения железных дорог, метрополитена, и городского электротранспорта, несмотря на это, достаточно широко распространены шестипульсовые мостовые выпрямители.
Схема шестипульсового мостового неуправляемого выпрямителя

Рис.1
2. РАСЧЕТ НАПРЯЖЕНИЯ, ТОКОВ И МОЩНОСТИ. ВЫБОР ТРАНСФОРМАТОРА.
Номинальный и перегрузочный режимы принимаем исходя из следующих рекомендаций. Параметры номинального режима по току определяем из задания. Кратность в процентах от номинального тока, длительность перегрузок и цикличность соответствуют требованиям к тяговым потребителям (ГОСТ 2329-70).
125% в течении 15 минут 1 раз в 2 часа: ![]()
150% в течении 2 минут 1 раз в 1 час: ![]()
200% в течении 10 секунд 1 раз в 2 мин: ![]()
Предварительно производится расчет для номинального режима при идеальных СПП и пренебрежении сопротивлениями питающей сети.
Среднее выпрямленное напряжение в режиме холостого хода
определяется по формуле:
, (1)
где
- потеря выпрямленного напряжения на коммутацию, принимается равной 2…3% от
.
- номинальное выпрямленное напряжение.
.
.
Исходя из значения среднего выпрямленного напряжения определяем эффективные значения напряжения вторичной обмотки
:
(2)
(3)
![]()
![]()
Средний ток плеча схемы выпрямления
:
(4)
где
- номинальное значение выпрямленного тока.
Для номинального режима:
![]()
Обратное максимальное напряжение плеча схемы выпрямления
:
(5)
![]()
Эффективное значение тока плеча схемы выпрямления ![]()
(6)
![]()
Эффективное значение тока вторичной обмотки преобразовательного трансформатора ![]()
; (7)
![]()
Отсюда следует, что эффективное значение фазного тока вторичной обмотки:
![]()
Эффективное значение тока первичной обмотки преобразовательного трансформатора ![]()
(8)
где
- коэффициент трансформации;
![]()
![]()
Расчет мощности преобразователя трансформатора
при номинальном режиме:
![]()
На основании значения расчетной мощности и предназначения преобразователя, осуществляется выбор преобразовательного трансформатора. По расчетам подходит трансформатор типа: ТСЗП – 1600/10. Типовая мощность трансформатора 1515 кВА
, напряжение короткого замыкания
, потери:
=4кВт
, ![]()
Для трёх режимов перегрузки
,
вычисляются средние и эффективные токи. Результаты расчётов представлены в табл. 1.
Таблица 1
Средние и эффективные токи в номинальном и утяжелённых режимах
Токи, А |
Режимы | |||
Номинальный |
Перегрузочные | |||
| Id | Id н | 1,25Id н | 1,5Id н | 2Id н |
| Iп | 500 | 625 | 750 | 1000 |
| I2 л | 1226 | 1532,5 | 1839 | 2452 |
| I2 ф | 1226 | 1532,5 | 1839 | 2452 |
| I1 | 131 | 163,8 | 196,5 | 262 |
3. РАСЧЁТ ТОКОВ В АВАРИЙНЫХ РЕЖИМАХ
Для правильного выбора силовых полупроводниковых приборов
необходимо выполнить расчёты токов короткого замыкания на шинах выпрямленного тока. На рис. 3.1 представлена схема возможных коротких замыканий трёхфазного мостового преобразователя, а на рис. 3.2 представлена расчётная схема замещения.
Схема возможных коротких замыканий трехфазного мостового преобразователя
А В С
![]()
![]()
![]()
U1ф
![]()
![]()
I1
S1
![]()
ТП
![]()
![]()
![]()
![]()
![]()
![]()
![]()
U2ф
![]()
![]()
I2
![]()
К1
![]()
![]()
![]()
![]()
![]()
![]()
![]()
![]()
VD4 VD1
![]()
![]()
![]()
![]()
К2 VD6 VD3
![]()
![]()
![]()
![]()
UZ
![]()
![]()
![]()
![]()
![]()
![]()
![]()
![]()
![]()
![]()
VD2 VD5 Id
![]()
- +
![]()
![]()
![]()

К3 Ld
![]()
![]()
![]()
![]()
К4
![]()
![]()
![]()
ТД
Рис. 3.1
Расчётная схема замещения при коротком замыкании на шинах трёхфазного мостового преобразователя
![]()
еа еb еc
![]()
![]()
Lа
La
La
![]()
![]()
Rа Ra Ra
![]()
![]()
![]()
![]()
![]()
![]()
![]()
![]()
![]()
![]()
![]()
VD1 VD3 VD5
VD4 VD6 VD2
Рис. 3.2
Эквивалентное анодное активное сопротивление одной фазы, приведённое ко вторичной обмотке, и анодное индуктивное сопротивление определяются соответственно по формулам [1, с.313]
,
где
анодное индуктивное сопротивление трансформатора;
индуктивное сопротивление питающей сети.
,
где uk – напряжение короткого замыкания преобразовательного трансформатора, (в процентах).
![]()
,
,
.
,
где
активное сопротивление, вычисленное из опыта сквозного короткого замыкания;
активное сопротивление питающей сети.
,
![]()
где РКЗ , uk – соответственно потери и напряжение (в процентах) короткого замыкания преобразовательного трансформатора.
;
;
.
Ток короткого замыкания определяется по формуле

где
амплитуда периодической составляющей тока короткого замыкания;
фазовый угол сдвига между кривыми напряжения и тока;
угол коммутации выпрямителя.
,
,
,
,
,
,
,
,
Результаты расчёта токов короткого замыкания представлены в табл. 3.1
Таблица 3.1
Значения тока короткого замыкания
| ωt,º | i к , А | ωt,º | i к , А | ωt,º | i к , А |
| 0 | -7653,228775 | 144 | 10380,72355 | 288 | -14705,95287 |
| 6 | -6315,124687 | 150 | 9640,645671 | 294 | -14793,83143 |
| 12 | -4928,67503 | 156 | 8778,359639 | 300 | -14732,81892 |
| 18 | -3508,872364 | 162 | 7803,470108 | 306 | -14523,45867 |
| 24 | -2071,076544 | 168 | 6726,813947 | 312 | -14167,92055 |
| 30 | -630,8464196 | 174 | 5560,34152 | 318 | -13669,97716 |
| 36 | 796,2306503 | 180 | 4316,985779 | 324 | -13034,96248 |
| 42 | 2194,709592 | 186 | 3010,520572 | 330 | -12269,71342 |
| 48 | 3549,456856 | 192 | 1655,409753 | 336 | -11382,49492 |
| 54 | 4845,816236 | 198 | 266,6487265 | 342 | -10382,90937 |
| 60 | 6069,769467 | 204 | -1140,399834 | 348 | -9281,79139 |
| 66 | 7208,089828 | 210 | -2550,174286 | 354 | -8091,089125 |
| 72 | 8248,48707 | 216 | -3947,084507 | 360 | -6823,733326 |
| 78 | 9179,742093 | 222 | -5315,682685 | ||
| 84 | 9991,829874 | 228 | -6640,832554 | ||
| 90 | 10676,02933 | 234 | -7907,875223 | ||
| 96 | 11225,01886 | 240 | -9102,789765 | ||
| 102 | 11632,95662 | 246 | -10212,34682 | ||
| 108 | 11895,5445 | 252 | -11224,25353 | ||
| 114 | 12010,07526 | 258 | -12127,28821 | ||
| 120 | 11975,46218 | 264 | -12911,42327 | ||
| 126 | 11792,25101 | 270 | -13567,93509 | ||
| 132 | 11462,61399 | 276 | -14089,49957 | ||
| 138 | 10990,32607 | 282 | -14470,27235 |
По результатам результатов расчёта построен график кривой тока короткого замыкания на рис. 4.1.
Рис. 4.1
4. ВЫБОР ТИПА ДИОДА И РАЗРАБОТКА СОЕДИНЕНИЯ СХЕМЫ ПЛЕЧА ПРЕОБРАЗОВАТЕЛЯ.
4.1. Выбор типа диода .
Выбор диода производиться по двум параметрам:
· предельный ток диода ![]()
![]()
· максимальное обратное повторяющееся напряжение ![]()
![]()
Так как СПП имеют низкую перегрузочную способность, то при расчете необходимо рассмотреть три режима работы тягового преобразователя:
1) режим длительной нагрузки ![]()
2) режим рабочей перегрузки
но не чаще чем через каждые ![]()
3) режим аварийной перегрузки ![]()
В расчете определяем число параллельных (а) СПП для перечисленных выше режимов, а затем принимаем наибольшее из них и округляют его до большего целого числа, если дробная часть превышает 0,1.
![]()
![]()
На основании выше указанных значений, выбираем для расчета диод Д253-1600 с охладителем О153-150.
Характеристики диода:
· максимальное обратное напряжение ![]()
· предельный ток диода ![]()
· ударный повторяющийся ток ![]()
· пороговое напряжение ![]()
· дифференциальное сопротивление ![]()
· тепловое сопротивление структура-контур ![]()
· тепловое сопротивление корпус-охладитель ![]()
· тепловое сопротивление охладитель – окружающая среда при естественном охлаждении и температуре воздуха ![]()
![]()
· максимальная допустимая температура полупроводниковой структуры ![]()
· наибольшая возможная разность зарядов восстановления последовательно включенных приборов ![]()
· переходное тепловое сопротивление за время соответствующее эквивалентному прямоугольному импульсу мощности (t=6мс) ![]()
· переходное тепловое сопротивление переход корпус за время τ=6 мс (соответствует 120 эл. град.) ![]()
· переходное тепловое сопротивление переход корпус за период Т=20 мс ![]()
· переходное тепловое сопротивление цепи структура-корпус, за время перегрузки tx=100c![]()
Расчет предельного тока по формуле нагрузочной способности:
(16)
где:
- установившееся тепловое сопротивление цепи полупроводниковая структура -
охлаждающая среда, ![]()
- температура окружающей среды,
;
- коэффициент формы тока,
.
![]()
;

Находим число параллельных СПП в плече в общем случае определяется из соотношения:
(17)
где:
- ток плеча преобразователя для соответствующего режима его работы (в режиме длительной нагрузки
, в режиме кратковременной перегрузки
для режима аварийной перегрузки ток плеча принимается равным амплитуде
тока короткого замыкания), А;
- предельный ток диода, А;
- коэффициент нагрузки или коэффициент использования приборов по току в зависимости от длительной перегрузки:
(18)
- коэффициент, учитывающий снижение предельного тока из-за повышенной температуры охлаждающей среды, если не оговорены условия охлаждения, то ![]()
- коэффициент перегрузки в различных режимах;
- среднее значение тока перегрузки. В режиме длительной нагрузки этот ток равен предельному току
,который вычисляется по формуле (16). Для режимов рабочей и аварийной перегрузок ток рассчитывается по формулам (19) и (21) соответственно.
- коэффициент неравномерности распределения тока в параллельных ветвях. При проектировании допускают неравномерность распределения тока 10%, что соответствует ![]()
,
![]()
![]()
Округляя до наибольшего, получаем ![]()
Режим рабочей перегрузки для полупроводниковых приборов учитывается в том случае, если длительность перегрузки не превышает 100с:
(19)
где:
- одно из значений температуры структуры при кратности нагрузки
, предшествовавшей режиму перегрузки, обычно принимается по условиям эксплуатации ![]()
– коэффициент скважности импульсов прямого тока;
- одно из значений потерь мощности:
(20)
Примем
тогда:
![]()
![]()
![]()

![]()
![]()
![]()
В режиме аварийной перегрузки при
и времени перегрузки
(один полу период при частоте
) ток перегрузки определяется:
(21)

![]()
![]()
![]()
Округляем до наибольшего, получаем ![]()
На основании сравнения расчета для номинального режима
, режима рабочей перегрузки
и аварийного режима
принимаем максимальное число параллельных ветвей ![]()
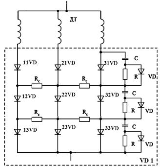
4.2. Разработка соединения схемы плеча преобразователя .
Число последовательных СПП определяется из соотношения:
(22)
где:
- максимальное обратное напряжение на плече преобразователя в номинальном режиме, В;
- неповторяющееся импульсное напряжение, В;
- коэффициент неравномерности распределения напряжения, в расчетах принимается равным 1,1;
- кратность перенапряжений, принимаем равным 1,7…1,8 для тяговых преобразователей.
![]()
![]()
![]()
Получаем значение
, округляем в большую сторону до целого числа, таким образом получаем ![]()
Для равномерного деления напряжения применяют активные (
), емкостные (С) и смешанные (RСD) цепи, включаемые параллельно СПП (рис.4.).
Групповое соединение СПП в одном плече преобразователя

Рис.4
Сопротивление шунтирующих резисторов, рассчитываем по формуле:
(23)
где:
- число последовательных приборов;
- наибольшее допустимое мгновенное напряжение для одного СПП данного класса (повторяющееся напряжение), В;
- наибольшее мгновенное обратное напряжение на плече, В;
- наибольший повторяющийся импульсный обратный ток СПП, А.
![]()
Мощность резистора определяется по формуле:
(24)
где:
- эффективное значение напряжения прикладываемого к резистору, В.
![]()
![]()
Емкость конденсатора в активно-емкостном делителе определяют, используя соотношение:
(25)
где:
- наибольшая возможная разность зарядов восстановления последовательно включенных приборов, Кл.
![]()
5. ИССЛЕДОВАНИЕ ВНЕШНИХ ХАРАКТЕРИСТИК ВЫПРЯМИТЕЛЬНОГО АГРЕГАТА И ИССЛЕДОВАНИЕ КОММУТАЦИИ.
5.1. Исследование внешней характеристики и коэффициента мощности.
Одной из важнейших характеристик, определяющих работу выпрямителя, является его внешняя характеристика, которая представляет собой зависимость среднего выпрямленного напряжения от среднего выпрямленного тока
.
С увеличением тока нагрузки выпрямленное напряжение уменьшается. Потери в преобразователе можно условно разделить на следующие основные составляющие:
· потеря напряжения на коммутации ![]()
· потеря напряжения на активных сопротивлениях (в обмотках трансформатора) ![]()
· потеря напряжения на силовых полупроводниковых приборах ![]()
Потеря напряжения на коммутацию:
(26)
![]()
Потеря напряжения на активных сопротивлениях:
(27)
где:
-угол коммутации выпрямителя;
(28)
(29)
![]()
![]()
![]()
Потеря напряжения на силовых полупроводниковых приборах:
(30)
где:
- число плеч, одновременно проводящих ток;
- число последовательных СПП в одном плече;
(31)
![]()
![]()
![]()
Уравнение внешней характеристики имеет вид:
(32)
При номинальном режиме:
![]()
Если известна мощность на стороне выпрямленного тока, то для определения полной мощности преобразователя необходимо знать коэффициент мощности:
(33)
где:
-коэффициент фазового сдвига основной гармонической тока питающей сети;
- коэффициент искажения формы тока первичной сети;
, (34)
- эффективное значение высших гармонических составляющих тока питающей сети;
(35)
Фазовый угол сдвига основной гармонической тока питающей сети для неуправляемого выпрямителя:
(36)
для номинального режима: ![]()
![]()
![]()
Результаты расчета коэффициента мощности для различных значений тока приведены в таблице 1.
Таблица 1.
| 0 | 750 | 1500 | 2250 | 3000 | |
| 0,955 | 0,908 | 0,86 | 0,811 | 0,76 |
На основании таблицы строится график зависимости коэффициента мощности от выпрямленного тока (рис.5.1.).
Рис. 5.1
5.2. Исследование коммутации.
Наличие индуктивных сопротивлений на стороне переменного тока преобразователя приводит к появлению интервала коммутации, который называется углом коммутации
и измеряется в электрических градусах. С учетом принятых в курсе преобразовательной техники допущений (симметричные синусоидальные питающие напряжения; полностью сглаженный ток на стороне выпрямленного напряжения; расчеты выполняются при нагрузке не выше нормальной) угол коммутации определяется по выражению:
(37)
Далее исследуется форма тока на коммутационном интервале. Ток коммутации определятся по формуле:
(38)
Ток плеча, входящего в работу
, изменяется по закону тока коммутации и при
достигается в амплитуде значения
. Ток плеча, выходящего из работы
, изменяется как
и при
становится равным нулю. Производится расчет токов плеч при изменении
от 0 до
. Результаты расчетов сводятся в таблицу 2.
Угол коммутации при номинальном режиме:
![]()
при
;
![]()
Таблица 2.
| Ток | ||||||
| 0 | 37,4 | 149,2 | 411,8 | 914,9 | 1500 | |
| 0 | 37,4 | 149,2 | 411,8 | 914,9 | 1500 | |
| 1500 | 1462,6 | 1350,8 | 1088,2 | 585,1 | 0 |
По данным таблицы строятся зависимости
и
, приведенные на рис.5.2.
Рис. 5.2
6. ИССЛЕДОВАНИЕ ЭНЕРГЕТИЧЕСКИХ ХАРАКТЕРИСТИК (КПД, КОЭФФИЦИЕНТ МОЩНОСТИ)
Суммарные активные потери в схеме преобразователя определяются по формуле:
(39)
где:
- потери в стали преобразовательного трансформатора, равные потерям холостого хода
для выбранного трансформатора;
- потери в меди преобразовательного трансформатора, которые определяются потерями короткого замыкания
, пропорциональными квадрату отношения выпрямленного тока к номинальному току, т.е.:
(40)
- потери в СПП, т.е.:
(41)
- число плеч преобразователя одновременно проводящих ток;
-средний ток диода при ![]()
- потери в делителях напряжения и тока, составляющая ![]()
- потери в сглаживающем реакторе. Здесь
- активное сопротивление обмотки сглаживающего реактора, которое в расчетах можно принять равным (0,01…0,02) Ом
;
- потери в устройствах защиты и систем управления, применяются равными 0,2% от
;
Для номинального режима:
![]()
![]()
![]()
![]()
![]()
![]()
Суммарные потери мощности в преобразователе:
![]()
Коэффициент полезного действия выпрямителя определяется по формуле:
(42)
![]()
Результаты расчетов потерь мощности и КПД для остальных режимов сведены в таблицу 3.
Результаты расчетов энергетических характеристик выпрямителя.
Таблица 3.
| I d , A | 0 | 750 | 1500 | 2250 | 3000 |
| 4 | 4 | 4 | 4 | 4 | |
| 0 | 4 | 16 | 36 | 64 | |
| 0 | 1,95 | 4,8 | 8,54 | 13,19 | |
| 1 | 1 | 1 | 1 | 1 | |
| 0 | 5,63 | 22,5 | 50,63 | 90 | |
| 2,22 | 2,22 | 2,22 | 2,22 | 2,22 | |
| 7,22 | 18,8 | 50,52 | 102,4 | 174,4 | |
| 0 | 555,8 | 1111,7 | 1667,5 | 2223,3 | |
| 7,22 | 574,6 | 1162,22 | 1769,9 | 2397,7 | |
| 0 | 0,967 | 0,957 | 0,942 | 0,927 |
По данным таблицы стоятся зависимости ![]()
![]()
а также изменение составляющих потерь от выпрямительного тока
. Зависимости ![]()
![]()
приведены на рис.6.1., а изменение составляющих потерь мощности на рис.6.2.
ЗАКЛЮЧЕНИЕ.
В данном курсовом проекте был произведен расчет преобразовательного агрегата, предназначенного для установки на тяговых подстанциях метрополитена. Построены временные диаграммы напряжений и токов, а также характеристики тягового полупроводникового преобразователя.
СПИСОК ЛИТЕРАТУРЫ.
1. Бурков А.Т . Электронная техника и преобразователи: Учебник для вузов ж.- д. трансп. – М.: Транспорт, 1999. – 464с.
2. Справочник по электроснабжению железных дорог . Т.2 / Под ред. К.М. Марквардта. – М.: Транспорт, 1981. – 392с.
3. Методическое указание к курсовому проекту . Проектирование тягового полупроводникового преобразователя. А.Т. Бурков, А.П. Самонин. Санкт-Петербург 2001.


