| Скачать .docx |
Реферат: Фюзеляж ДПЛА
Реферат
Отчет 26 с., 2 табл., 4 рис., 9 источников, 2 приложений.
БЕСПИЛОТНЫЙ ЛЕТАТЕЛЬНЫЙ АППАРАТ, ФЮЗЕЛЯЖ, ОПЕРЕНИЕ, СТАБИЛИЗАТОР, ШПАНГОУТ, СТЕКЛОПЛАСТИК, ОБШИВКА
Объектом разработки является фюзеляж беспилотного летательного аппарата.
Цель исследования - изучение вопросов, связанных с разработкой конструкции фюзеляжа и оперения беспилотного летательного аппарата.
В результате патентно-информационных исследований показана патентная чистота в отношении Республики Беларусь и Российской Федерации.
В процессе работы был произведен прочностной расчет фюзеляжа и оперения, рассчитана ориентировочная стоимость фюзеляжа исходя из его разработки и стоимости материалов.
СОДЕРЖАНИЕ
РЕФЕРАТ…………………………………………………………………………………...….2
СОДЕРЖАНИЕ……………………………………………………………………………..…3
ВВЕДЕНИЕ…………………………………………………………………………………....4
1 НАЗНАЧЕНИЕ И ОБЛАСТЬ ПРИМЕНЕНИЯ ИЗДЕЛИЯ………………………..……5
2 ОБОСНОВАНИЕ ВЫБОРА МАТЕРИАЛА…………………………………….……….6
3 ОБОСНОВАНИЕ И ОПИСАНИЕ КОНСТРУКЦИИ…………………………………...8
4 РАСЧЕТ ГЕОМЕТРИЧЕСКИХ И ПРОЧНОСТНЫХ ХАРАКТЕРИСТИК……..........11
5 ПАТЕНТНО-ИНФОРМАЦИОННОЕ ИССЛЕДОВАНИЕ……………………………..12
6 ОЖИДАЕМЫЕ ТЕХНИКО-ЭКОНОМИЧЕСКИЕ ПОКАЗАТЕЛИ…………...............15
ЗАКЛЮЧЕНИЕ……………………………………………………………..…………………19
СПИСОК ЛИТЕРАТУРЫ…………………………………………………………………….20
ПРИЛОЖЕНИЕ А …………………………………………………………………………….21
ПРИЛОЖЕНИЕ Б …………………………………………………………………………....25
ВВЕДЕНИЕ
В ходе данного курсового проекта проводилась разработка конструкции фюзеляжа беспилотного летательного аппарата. В качестве основного материала для изготовления изделия предложен композиционный материал трёхслойной конструкции (наружные слои – стеклопластик на основе эпоксидного связующего и стеклоткани, средний слой – пенопласт). Такой материал обеспечивает достаточную прочность и жёсткость конструкции, при этом масса летательного аппарата меньше , чем у конструкций с применением других материалов. Кроме того, стеклопластик обладает радиопоглощающими свойствами, что позволяет использовать летательный аппарат в качестве самолёта-разведчика.
1 НАЗНАЧЕНИЕ И ОБЛАСТЬ ПРИМЕНЕНИЯ РАЗРАБАТЫВАЕМОГО ИЗДЕЛИЯ
Дистанционно-пилотируемые летательные аппараты (ДПЛА) применяются, прежде всего, в военных целях. В круг их задач входят разведка поля боя, контроль боевых действий, целеуказание и артиллерийская наводка, топографическая съемка. Они могут использоваться как мишени для зенитной артиллерии. Самолет предназначен также для дальней фоторазведки целей. Дальность действия для фоторазведки ограничена только продолжительностью полёта ДПЛА. ДПЛА применяется также для гражданской сфере: аэрофотосъемка и контроль земной поверхности и трубопроводов, обнаружение малоразмерных объектов, управление воздушным движением, контроль морского судоходства, контроль экологической обстановки, обеспечение сельхозработ и геологоразведки, развитие телекоммуникационных сетей и т. д.
Целью данного курсового проекта является разработка конструкции фюзеляжа ДПЛА. Требования предъявляемые предмету разработки следующие:
1. ориентировочный размах крыльев ДПЛА 3-3,5 метров и длина 3,5-4 метра;
2. ориентировочная масса аппарата 60 кг.;
3. масса полезной нагрузки 20 кг.;
4. в качестве силовой установки предусматривается поршневой двигатель мощностью около 20 л.с.;
5. материалы, используемы для производства аппарата, должен обеспечивать его незаметность для радарных систем наблюдения;
6. стоимость конструкции должна быть ниже стоимости аналогичных конструкций;
7. конструкция ДПЛА должна быть разборной, для удобства транспортировки (съёмные крылья);
2 ОБОСНОВАНИЕ ВЫБОРА МАТЕРИАЛА
В авиационной технике из-за особенностей эксплуатации предъявляются высокие требования к материалам. Материалы, применяемые для конструирования летательных аппаратов, должны обеспечивать необходимую прочность и жёсткость конструкции, должны обладать атмосферостойкостью. При этом материал должен предусматривать возможность изготовления изделия сложной формы и по возможности без дополнительных крепёжных элементов, увеличивающих массу самолёта.
Композиционные материалы, благодаря своим качествам (высокая удельная прочность, возможность управления структурой и формообразования изделий практически любой геометрии, лёгкость комбинирования с разными материалами), нашли широкое применение в самолётостроении.
В качестве основного материала предлагается трехслойная конструкция: два слоя из стеклопластика, соединённые слоем пенопласта. Стеклопластик обеспечивает прочность, а промежуточный слой пенопласта предохраняет несущие слои от потери устойчивости. Внешний лицевой слой выкладывается препрег с электроизоляционной стеклотканью Эз-200, что в сочетании со слоем гелькоута обеспечивает гладкую поверхность. Это важно для уменьшения аэродинамического сопротивления фюзеляжа. Поверх выкладывается два слоя препрега на основе стеклоткани Т10-80. Это основной несущий слой, его более грубая структура скрывается тканью Эз-200. Далее укладывается листовой пенопласт и слой тканиЭз-200. Пенопласт имеет низкую плотность и высокую адгезию к эпоксидному связующему. Такая конструкция обладает высокой удельной прочностью и достаточной жёсткостью.
В качестве связующего используется композиция на основе эпоксидной смолы ЭД-6, которая обладает более высокими механическими свойствами по сравнению, например, с полиэфирной. Кроме того, эпоксидная смола хорошо противостоит атмосферным воздействиям, что позволяет использовать её в конструкциях, работающих на открытом воздухе.
Для придания конструкции фюзеляжа устойчивости, жёсткости, а также прочности в местах крепления силовых узлов, оперения и шасси вводится поперечный набор шпангоутов и рёбер из древесины ( ясень). Древесина имеет низкую плотность и хорошо склеивается со стеклопластиком при помощи клея на основе эпоксидных смол.
Допускаемые значения нормальных и касательных напряжений для некоторых материалов, часто используемых для постройки лёгких самолётов, приведены в таблице 1.
Таблица 1
Характеристики материалов для изготовления обшивок, стенок лонжеронов, нервюр, шпангоутов, работающих на кручение и сдвиг
| Материалы | Касательные напряжения, Мпа | Нормальные напряжения, МПа | плотность, г/см3 | ||||
| вдоль волокон | под углом 45о | поперёк волокон | вдоль волокон | под углом 45о | поперёк волокон | ||
| Фанера авиационная берёзовая | 20 | 40 | 20 | 75 | 30 | 45 | 0,8 |
| Стеклопластик холодного отверждения(стеклоткань Т10+эпоксидное связующее) | 30 | 60 | 30 | 300 | 180 | 200 | 1,6 |
| Листы Д-16Т | 280 | - | - | 400 | - | - | 2,8 |
3 ОБОСНОВАНИЕ И ОПИСАНИЕ КОНСТРУКЦИИ
В силовом отношении фюзеляж связывает между собой отдельные части летательного аппарата, являясь базой-опорой, для крыла, оперения, шасси, силовой установки и т. д. Внешняя форма фюзеляжа определяется назначением самолёта, расположением двигателей и другими факторами. Идеальной формой фюзеляжа является тело вращения, геометрические параметры которого зависят от скорости. Для малых скоростей лучшая форма – каплевидное тело.
С целью уменьшения сил лобового сопротивления фюзеляжа габариты его поперечного сечения должны быть минимальными. Круглое сечение наиболее рационально и технологически более выгодно. Применение овальных и более сложных форм продиктовано стремлением уменьшить сопротивление при хорошем использовании внутреннего пространства.
К конструкции фюзеляжа предъявляются следующие требования:
- обеспечение хорошей аэродинамики (минимальное лобовое сопротивление встречному потока воздуха, обтекаемая форма, плавные линии, минимальное число выступающих элементов, наименьшее поперечное сечение);
- хорошее использование внутреннего пространства, удобство размещения и установки оборудования, доступ к внутренним элементам;
- высокая технологичность конструкции (простота изготовления, низкая стоимость, разумная расчленённость, взаимозаменяемость и др.);
- конструктивные и весовые требования (достаточная прочность и жесткость конструкции при минимальной массе, отсутствие остаточных деформаций при нагрузках не превышающих эксплуатационные, обоснованное и удобное крепление крыльев, оперения, шасси и силовой установки).
Оперение служит для балансировки самолёта на заданных углах атаки, а также для обеспечения потребной устойчивости и управляемости относительно всех осей.
Горизонтальное оперение обеспечивает продольную балансировку , устойчивость и управляемость, и на дозвуковых самолётах состоит из неподвижного или малоподвижного стабилизатора. Вертикальное оперение обеспечивает путевую балансировку, устойчивость и управляемость и состоит, как правило, из неподвижного киля и руля направления.
С учётом этих требований была принята следующая конструкция фюзеляжа и оперения.
Фюзеляж состоит из двух симметричных относительно миделевого сечения половин, что облегчает установку внутренних усиливающих деталей. Он имеет обшивочную структуру: оболочка из стеклопластика, усиленная поперечными шпангоутами из ясеня. К носовому шпангоуту крепится капот при помощи винтов и моторама. В месте крепления стойки шасси приклеивается деревянная площадка с заформованными гайками под крепёжные болты. Для установки блока управления, топливных баков и полезной нагрузки предусмотрены полки. Крепление съёмных крыльев состоит из стелопластиковых труб, которые продеваются через фюзеляж и опираются на деревянные нервюры, выполненные заодно с фюзеляжем на выступающих частях.
В плане фюзеляж имеет сужающуюся к хвосту форму. Поперечное сечение в носовой части имеет овальную форму с сужением книзу (это обусловлено установкой двигателя со смещением вверх), в средней и хвостовой части – овальное. В верхней средней части фюзеляжа имеется люк для установки оборудования.
Горизонтальное и вертикальное оперение установлено в хвосте и состоит из киля, выполненного заодно с фюзеляжем, и съёмных стабилизаторов. Они имеют трапециевидную форму и состоят из стеклопластиковой оболочки с поперечными деревянными нервюрами. Руль направления и рули высоты имеют аэродинамические компенсаторы, представляющие собой часть рулевой поверхности, вынесенной вперёд за ось вращения у края руля. Компенсаторы служат для уменьшения шарнирного момента руля при больших углах отклонения руля на максимальной скорости, что позволяет снизить усилия необходимые для их управления.
При использовании БЛА в военных целях в качестве разведчика места установки силовой установки, оборудования и блока управления следует обклеить слоем тканого радиопоглощающего материала.
4 РАСЧЕТ ГЕОМЕТРИЧЕСКИХ И ПРОЧНОСТНЫХ ХАРАКТЕРИСТИК
Нагрузки на горизонтальное оперение подразделяются на уравновешивающие, маневренные и нагрузки при полете в не спокойном воздухе. Поскольку данный БПЛА не предназначен для ведения воздушного боя, а используется как средство наблюдения, то он не рассчитан на выполнение фигур высшего пилотажа и нагрузками при маневрировании пренебрегаем. Определим уравновешивающую эксплуатационную нагрузку, как усилие, которое необходимо приложить к стабилизатору, чтобы самолёт мог сохранять горизонтальное положение. При этом принимаем коэффициент перегрузки n=3 .
Опасное сечение находится у корня стабилизатора, поскольку в нём возникает максимальный изгибающий момент Ми =40 Н*м. Момент инерции сечения определяется по методу трапеций (профиль сечения разбивается на трапеции). При этом за толщину сечения берётся толщина стеклопластика и не учитывается слой пенопласта, поскольку несущим является именно слой стеклопластика. Таким образом момент инерции составил J=4,4*104 мм4 .
Расчётные напряжения составляют 21,5 МПа. Допускаемое напряжение для стеклопластика равно 120 Мпа. Следовательно, условие прочности выполняется.
Расчёт оперения представлен в приложении Б.
5 ПАТЕНТНО-ИНФОРМАЦИОННЫЕ ИССЛЕДОВАНИЯ
Патентно-информационное исследование проводилось в Республике Беларусь и Российской Федерации.
БПЛА патент №2133210 от 2000.07.20.

Рис. 1.
БПЛА патент №2004.03.20 от 2004.03.20.

Рис. 2.
Аппарат содержит два фюзеляжа, соединенных между собой в хвостовой части крылом, а в носовой части - передним горизонтальным оперением, вертикальное оперение, силовую установку и шасси. Фюзеляжи в хвостовой части связаны между собой центропланом крыла и при этом не выходят за заднюю кромку крыла. Переднее горизонтальное оперение выполнено с малым удлинением. Во втором варианте вертикальное оперение выполнено из двух килей, которые установлены на центроплане крыла наклонно друг к другу. Кили соединены с обтекателем. Причем один киль или оба киля установлены на центроплане крыла шарнирно с возможностью поворота относительно оси, параллельной оси симметрии аппарата, а один киль соединен с обтекателем с возможностью разъема. Предлагаемые варианты изобретений направлены на обеспечение кругового обзора по азимуту радиолокационной станции.
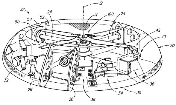
БПЛА патент №2181333 от 2001.03.18.

Рис. 3.
Аппарат содержит фюзеляж, силовую установку, оперение, несущие плоскости, шасси, систему управления и бортовое оборудование. Фюзеляж выполнен по интегральной схеме, оперение расположено впереди несущих плоскостей, количество несущих плоскостей и их размещение обеспечивают аэродинамическую симметрию в плоскости YOZ, перпендикулярной к строительной оси аппарата. Механизация несущих плоскостей обеспечивает взлет и посадку с применением убирающегося в корпус шасси и устойчивый полет на больших углах атаки. Воздухозаборник выполнен кольцевым с расположением плоскости входа вблизи центра масс летательного аппарата. Изобретение направлено на расширение функциональных возможностей путем повышения маневренности.
6 ОЖИДАЕМЫЕ ТЕХНИКО-ЭКОНОМИЧЕСКИЕ ПОКАЗАТЕЛИ
Расчет отпускной цены предприятия производим в следующей последовательности:
1. Определяем величину затрат на материалы:
![]()
где: Змк – затраты на материал по статьям калькуляции;
Зт – транспортные расходы (5% от Змк);![]()
Зэ – затраты на топливо и энергию (10% от Змк);
kн – коэффициент неучтенных затрат (kн=1.2).
Затраты на материалы определяем по следующим данным:
- масса конструкции: Мобщ =5 кг;
- масса деревянных деталей(с учётом отходов), кг.: Мдр =2;
- стоимость древесины за 1 кг, у.е.: с=5;
- стоимость древесины, у.е.:
Сдр =с* Мдр =10;
- количество пенопласта (с учётом отходов), м2 : Sпп =4,5;
- стоимость пенопласта за 1 м2 , у.е.: с=1,5;
- стоимость пенопласта, у.е.:
Спп =с* Sпп =6,75;
- масса стеклопластика, кг.: Мсп =2;
- масса арматуры (степень наполнения по массе Са =0.65), кг.:
Мар =Мсп* Са =1,3;
- стоимость арматуры за 1 кг, у.е.: с=3,4;
- стоимость арматуры, у.е.: Сар =с* Мар =4,4;
- масса эпоксидного связующего, кг.:
Мс =Мсп* (1-Са )=0,7;
- стоимость эпоксидного связующего за 1 кг, у.е.: с=8,8;
- стоимость эпоксидного связующего, у.е.:
Сс =с* Мс =6,2;
- масса углеткан, кг.: Мут =0,2;
- стоимость углеткани за 1 кг, у.е.: с=100;
- стоимость углеткани, у.е.:
Сут =с* Мут =20;
Итого:
Змк= Сдр +Спп +Сар +Сс +Сут =49 у.е.
Зм=(49+49* 0,05+49* 0,1)* 1,2=67,6 у.е.
Определяем заработную плату рабочих:
=10 у.е.
2. Дополнительная зарплата:
ДЗП=ЗП*0,1=0,1 у.е.
3. Определяем величину отчислений:
От=(ЗП+ДЗП)(kc+kч+kф)=(10+0,1)* (0,35+0,04+0,01)=0,44 у.е.
где: kс – доля отчислений в фонд социальной защиты населения (kс=0.35);
kч – доля Чернобыльского налога (kч=0,04);
kф – доля отчислений в фонд занятости (kф=0,01).
4. Общепроизводственные расходы:
ОПр=ЗП* Оп=10* 2,4=24 у.е.
где: Оп – доля общепроизводственных расходов (Оп=2,4).
5. Общехозяйственные расходы:
Ох=ЗП* kх=10* 2,2=22 у.е.
где: kx – доля общехозяйственных затрат (kx=2,2).
6. Производственную себестоимость фюзеляжа определяем по формуле:
Спр =Зм+ЗП+ДЗП+От+ОПр+Ох=67,6+10+0,1+0,44+24+22=124,14 у.е.
7. Коммерческие расходы:
Кр=Спр * 0.03=124,14* 0,03=3,7 у.е.
8. Определяем полную себестоимость продукции:
Сполн =Спр +Кр=124,14+3,7=127,84 у.е.
9. Определяем цену изделия:
а) отчисления в дорожный фонд:
Ндр =Сполн* 1,1/99=1,42 у.е.
б) отчисления в местный бюджет:
Нмб =(1,1* Сполн +Ндр )* 2,5/87,5=4,1 у.е.
в) Отчисления в фонд поддержки производителей сельскохозяйственной продукции:
Нсх =(1,2* Сполн +Ндр +Нмб )* 1,5/98,5=2,42 у.е.
г) Налог на добавленную стоимость (НДС):
НДС=(1,1* Сполн +Ндр +Нмб +Нсх )* 20/100=29,7 у.е.
Цену изделия составляет полная себестоимость и сумма всех перечисленных выше налогов:
Ц=Сполн +Ндр +Нмб +Нсх +НДС=127,84+1,42+4,1+2,42+29,7=165,48 у.е.
Определяем балансовую прибыль предприятия:
Пб =В-(Сполн +Ндр +Нмб +Нсх +НДС)=
=220-(127,84+1,42+4,1+2,42+29,7)=54,52 у.е.
где: В – выручка от реализации продукции ( примем В=220 у.е.).
Чистая прибыль предприятия, выпускающего продукцию, приблизительна может быть оценена как:
ЧП=Пб -- Пб ·0.3=54,52-54,52* 0,03=52,9 у.е.
Годовой выпуск примем равным Q=200 шт./год
Период окупаемости принимаем Т=3 года.
Ожидаемый объем выпуска за это время составит N=600 шт
Экономический эффект:
Э=ЧП·N=52,9* 600=31730 у.е.
Затраты за один год выпуска продукции:
З1 =Спол* N =127,84*200=25568 у.е.
Показатель эффективности для изготовителя:
Е=Э/З1 =31730/25568=1,24
Сумма, выделяемая на разработку (20% от прибыли за 3 года):
Р=0,2* Э=0,2* 31730=6346 у.е.
Ориентировочно примем зарплату конструктора Зк =250 у.е., в месяце 21 рабочий день и конструктор в среднем выполняет 1 формат А1 за день. Следовательно, цена одного формата А1 ЦА1 составляет:
ЦА1 =Зк /21=250/21=12 у.е.
На разработку данного изделия потребуется, примерно 10 форматов А1 и сумма, отчисляемая конструктору, составит:
ЦКД =10* ЦА1 =120 у.е.
Таблица 2
Величины показателей при определении цены изделия
| Показатели | Значения |
| Общепроизводственные затраты, у.е. | 24 |
| Общехозяйственные затраты, у.е. | 22 |
| Производственная себестоимость, у.е. | 124,14 |
| Коммерческие расходы, у.е. | 3,7 |
| Полная себестоимость, у.е. | 127,84 |
| Налоги, у.е. | 33,64 |
| НДС, у.е. | 29,7 |
| Чистая прибыль, у.е. | 52,9 |
| Экономический эффект, у.е. | 31730 |
| Затраты на разработку, у.е. | 6346 |
| Показатель эффективности | 1,24 |
| Окончательная цена изделия, у.е. | 220 |
Таким образом, по итогам расчёта технико-экономических показателей получены следующие результаты:
- отпускная цена составила 220 у.е.;
- прибыль от реализации продукции за 3 года 31730 у.е.;
- показатель эффективности 1.24;
- затраты на разработку 6346 у.е.
ЗАКЛЮЧЕНИЕ
В рамках курсового проекта я ознакомился и освоил основные принципы конструирования изделий из композиционных материалов. Приобрёл навыки работы с нормативно-технической документацией и патентами. Была сделана попытка сконструировать фюзеляж беспилотного летательного аппарата. Научился определять технико-экономические показатели.
СПИСОК ЛИТЕРАТУРЫ
1. Правила выполнения чертежей изделий из композиционных материалов. Методические указания/Сост. Ставров В. П. –БГТУ: Мн 2000
2. Ставров В. П. Учебное пособие по дисциплине “Конструирование и расчет изделий из композиционных материалов” для студентов специальности Т.03.02.00.-Мн.: БГТУ, 1998
3. Стригунов В.М. “Расчет самолета на прочность”: М – Машиностроение 1984
4. Ефимов А.Н., Пархута А.Н. “Основы теории полета самолета”: М 1957
5. Авдонин А.С., Фигуровский В.И. “ Расчет на прочность летательных аппаратов”: М 1985
6. Чумак В.И. “Расчет, проектирование и постройка сверхлегких самолетов”: М 1991
7. Самарин А.В., Голубев И.С. “Конструкция и проектирование летательных аппаратов”: М 1995
8. Бадягин А.А. “Проектирование самолетов”: М 1972
9. Канн С.Н., Свердлов И.А. “Расчёт самолёта на прочность”: М 1966.
Приложение А
Согласовано ________________ должность ________________ подпись, инициалы, фамилия «___»________20___г. |
Утверждаю ________________ должность ________________ подпись, инициалы, фамилия «___»________20___г. |
ТЕХНИЧЕСКОЕ ЗАДАНИЕ
на разработку фюзеляжа беспилотного летательного аппарата
РАЗРАБОТЧИК
студент 4 к., 1-й гр.,ф-та ХТиТ
___________Кошикевич Е.М.
«___»____________20___г.
1 Изделие – фюзеляжбеспилотного летательного аппарата.
2 Основание для разработки – задание на курсовое проектирование по курсу «Конструирование и расчет изделий из композиционных материалов», утвержденное заведующим кафедрой механики материалов и конструкций 6.09.2005г.
3 Разработчик – Учреждение образования «Белорусский государственный технологический университет»
4 Изготовитель уточняется после проведения разработки
5 Цель и назначение разработки – проработка конструкции и решений, обеспечивающих изготовление конкурентоспособного изделия.
6 Источник финансирования – инициативная разработка
7 Технические требования
7.1 Требования назначения – беспилотные летательные аппараты предназначены для телевизионного наблюдения в реальном масштабе времени местности и целей.
7.2 Состав продукции – фюзеляж, оперение (стабилизатор, руль высоты, руль направления).
7.3 Конструктивные требования – разборная конструкция, масса конструкции минимизируется, размах крыльев около 3,5 м, длина около 3 м, масса полезной нагрузки не менее 15 кг.
7.4 Требования экономного использования сырья, материалов, топлива и энергии – технология изготовления изделий должна обеспечить минимальную долю технологических отходов.
7.5 Требования стойкости к внешним воздействиям – атмосферостойкость изделия.
7.6 Требования надежности – срок службы должен составлять не менее 1000 часов полета.
7.7 Требования технологичности – конструкция изделия, соединения элементов должны быть разработаны исходя из метода получения изделия и используемых материалов для получения максимально технологичного изделия.
7.8 Требования безопасности и охраны окружающей среды – изделия, при условиях эксплуатации, не должны выделять в окружающую среду вредных веществ.
7.9 Требования к патентной чистоте – конструкция должна обладать патентной чистотой в отношении стран СНГ.
7.13 Требования к составным частям продукции (при наличии), исходным и эксплуатационным материалам
7.13.1 Основные составные части изделия должны допускать изготовление из материалов или из их компонентов, производимых в РБ.
7.14 Условия эксплуатации, требования к техническому обслуживанию и ремонту – должны быть отражены в руководстве, поставляемом с каждым изделием
7.15 Требования к маркировке и упаковке – маркировка и упаковка при транспортировании (в ТУ). Прорабатываются упаковки изделий и их частей при транспортировании. Конструкция упаковки и упаковочный материал должны обеспечивать отсутствие повреждений покрытия поверхностей, качество и сохранность изделия
7.16 Требования к транспортированию и хранению
7.16.1 Группа условий транспортирования ТК10 по ГОСТ 15150
7.16.2 Группа условий хранения группа Ф по ГОСТ 15150
7.16.3 Предусматриваются варианты транспортирования автомобильным и железнодорожным транспортом в разобранном и собранном виде, предусматриваются меры для сохранности качества изделия при погрузочно-разгрузочных работах, транспортировании и складировании
7.17 Требования к метрологическому обеспечению – контролируемые параметры должны допускать измерение стандартизованными или аттестованными средствами.
8 Экономические показатели
8.1 Стоимость конструкции – не более 50 тыс. руб. за кг
8.2 Ориентировочный объем выпуска – 1500 штук в год
8.3 Затраты на разработку и постановку на производство – 20 млн. руб.
8.4 Срок окупаемости затрат – 3 года.
9 Стадии и этапы разработки
9.1 Уточнение технических и других требований
9.2 Патентно-информационные исследования
9.3 Выбор материала и конструкции составных частей, технологии их изготовления
9.4 Компоновка и разработка чертежа общего вида
9.5 Разработка конструкции и расчет основных частей изделия
9.6 Разработка конструкции, изготовление и испытание макетов
9.7 Оценка затрат на разработку и освоение производства, стоимости изделия и экономической эффективности его разработки
9.8 Оформление графической и текстовой документации
Последующие стадии и этапы разработки, их содержание и сроки выполнения определяются после завершения перечисленных работ
10 Порядок контроля и приемки, материалы, предъявляемые по окончании отдельных стадий (этапов) и работы в целом – в соответствии с требованиями к курсовому проекту.
Допускается уточнять содержание разделов и подразделов, вводить новые или объединять.
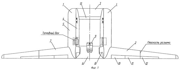
Приложение Б
Расчёт горизонтального оперения

Рис. 4.


![]()
