| Похожие рефераты | Скачать .docx |
Реферат: ГОСы по технологии швейного производства
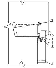
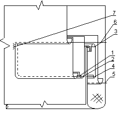
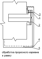
1. В виде сборочных схем представьте сравнительную характеристику методов обработки бокового прорезного кармана с двумя обтачками в зависимости от вида одежды (пальто, пиджак, брюки, легкое платье) и используемых материалов.
Карманы намечают тремя линиями (одной вдоль и двумя поперек в концах кармана). В карманах, в которых обтачки притачивают сложенными вдвое, карманы размечают четырьмя линиями (двумя вдоль и двумя поперек). Расстояние между продольными линиями равно удвоенной ширине двух рамок (в готовом виде).
Карман в пальто обрабатывается так, чтобы толщина ткани не пролегала, подзор притачивается на подкладки, используются доливики.

В пиджаке так же используют доливика, но обтачки можно использовать сложенные вдвое, т.к. ткань тоньше.

В брюках доливики не используются, а срезы все закрываются подкладкой, подзор можно настрочить на подкладку.

В платьях доливики не используются, вместо подкладочной ткани в мешковине используют основную ткань, верхний срез можно закрыть бейкой из подкладки, обтачки складываются вдвое.

2. В виде сборочных схем представьте сравнительную характеристику методов обработки боковых и верхних прорезных карманов с листочками в мужской верхней одежде с учетом свойств ткани (волокнистого состава, толщины и др.).
В изделиях из толстых и рыхлых тканей к переду притачивается только наружная часть листочки, а к внутренней притачивается мешковина, вторую часть мешковины притачивают к переду. Концы листочки настрачивают перед одной или двумя строчками, или пришивают потайными стежками.

В изделиях из тонких тканей, концы листочки могут быть втачными, при такой обработке нужен подзор из основной ткани, концы листочек не обрабатывают.

3. В виде сборочных схем представьте различные способы обработки накладных карманов в женской верхней одежде в зависимости от конструкции и вида материала.
В изделиях из тонких материалов карманы обрабатывают без подкладки, из костюмных и пальтовых тканей с подкладкой.

Верхний край кармана обрабатывается в зависимости от формы, прямой - простой подгибкой или листочкой , фигурный – обтачкой, можно настрочить на карман паты, клапаны в зависимости от модели, можно обработать подрезы и складки.


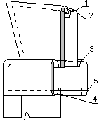
4. В виде сборочных схем представьте различные способы обработки боковых карманов мужских брюк. Охарактеризуйте особенности их обработки с учетом свойств ткани (волокнистого состава, толщины и др.).
Возможна обработка боковых карманов с применением обметочного оборудования или в чистый край (в более дорогих изделиях).
В зависимости от ткани применяются разные обработки, в более плотных тканях все припуски разутюживают. В изделиях из сыпучих тканей срезы окантовывают или обтачивают.


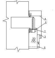
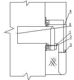
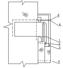
5. В виде сборочных схем представьте различные способы обработки задних карманов мужских брюк. Укажите отличительные особенности их обработки.
Обработка заднего кармана брюк аналогична обработке прорезного кармана, только без доливика, доливиком служит мешковина, нить основы в мешковине должна проходить поперек детали. Мешковина карманов обрабатывается так, чтобы лицевая сторона ткани была обращена на изнанку брюк, а не внутрь кармана.


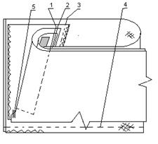
6. В виде сборочных схем представьте способы обработки основных видов внутренних карманов в мужской верхней одежде. Укажите особенности обработки внутренних карманов.
Внутренние карманы в мужских пиджаках обрабатывают в подкладке до ее соединения с верхом, наиболее распространенными являются карманы в рамку с обтачками из основной ткани. Карманы, возможно, обработать как непосредственно на подкладке, так и в выступе подборта, в этом случаи подборт окантовывают, а карман обрабатывают как обычно. Листочки и обтачки могут быть как из подкладки, так и из основной ткани. Возможны так же накладные карманы, которые просто настрачивают на подкладку.




7. Дайте сравнительную характеристику методов обработки и сборки бортовой прокладки в зависимости от применяемой технологии, вида одежды, особенностей конструкции изделий. Дайте рекомендации по выбору пакетов материалов для предложенных технологий обработки.
Бортовая прокладка в верхней одежде служит каркасом для переда, обеспечивает сохранение формы переда во время носки, отвесное положение бортов, прочность пришивки фурнитуры.
В качестве прокладок применяют нетканые материалы, ткани с п/э порошковым покрытием, клеевую х/б ворсованную ткань разреженной структуры.
Прокладки могут состоять из одного, двух, трех слоев.
В изделиях с отлетной подкладкой срезы прокладки обметывают. В мужских изделиях помимо основной части, плечевой накладки применяют накладку и столбик из волосяной ткани в области груди и полоску под петли.
Б/п отличаются по своей конструкции в зависимости от конструкции изделия, могут быть с вытачками или рельефными швами. Различные материалы для б/п подбирают в зависимости от материала верха, чем плотнее ткань тем плотнее материалы б/п.
Соединение переда с б/п выполняют ручным способом либо на спец машине, без натяжения и ослабления ткани верха. Вытачки, рельефные швы прикрепляют к бортовой прокладке машинным или ручным способом.
Также используют клеевой способ соединения с помощью утюга или пресса со специальными подушками (в более тонких тканях).
В изделиях с застежкой до верху лацканы не стегают. При обработке бортов в чистый край дополнительно для более прочного закрепления края во время стежки лацканов прокладывают строчку вдоль борта длиной 5-5см, для прикрепления б/п к переду.
Сборка бортов в изделиях из тканей с повышенным содержанием лавсана применяется только машины беспосадочного шва, а по краю бортов используют не кромку, а коленкоровую прокладку, которую заранее настрачивают на б/п, обтачивание бортов производят вместе с б/п, б/п заранее высекают из края борта на 0,9см
8. В виде сборочных схем представьте различные способы обработки бортов в пальто в зависимости от вида застежки, свойств материала верха и наличия отделочной строчки.
В обработке бортов различают в чистый край, с отделочной строчкой, с цельновыкроеным подбортом. Борта без отделочной строчки можно закрепить либо клеевой паутиной, либо вспушкой, можно так же настрочить шов притачивания на подборт. По виду застежек борта различают: с потайной застежкой, с воздушными петлями, двубортная и однобортная застежки, В двубортной застежке борт обрабатывается более широким подбортом, в застежке с воздушными петлями, сначала обтачивают петли, соединяют их с бортом, а потом его обтачивают подбортом, в потайной застежке подборт обрабатывают особым способом.


9. Охарактеризуйте основные отличительные особенности обработки и соединения с изделием воротников в мужской и женской верхней одежде. Приведите сборочные схемы обработки воротников в мужских пиджаках и пальто с учетом свойств материалов.
Для обработки воротников в мужских изделиях в качестве нижнего воротника в пиджаках применяют нетканые материалы, они хорошо формуются, что дает возможность при незначительных затратах времени на ВТО придать воротнику форму, обеспечивающую хорошую посадку на фигуре. В качестве прокладки нижнего воротника применяют термоклеевую бортовую прокладочную ткань, прокладка выкраивается меньше н.воротника по отлету и концам на 0,5см и по линии раскепа на 1см. Дополнительную клеевую прокладку выкраивают из клеевого коленкора в виде полоски, проходящей вдоль линии втачивания воротника в горловину раскепов, полоска не доходит до концов воротника на 0,5см, ширина полоски 2,5-3см. Соединяют в.воротник с н.воротником по отлету накладным швом, настрачивая н.воротник на верхний с помощью зигзагообразной строчки ш-ш=1см, концы можно обработать обычной строчкой, шов в.воротника подрезают, концы выправляют, настрачивают зигзагом на н.воротник.

Для обработки воротников в женских изделиях, н.воротник дублируют термоклеевым материалом или выстегивают х/б тканью (прокладка меньше воротника), н.воротник соединяют с в.воротником лицевыми сторонами. И обтачивают по концам и отлету (Ш-0,5-0,7см), строчка не должна заходить на прокладку воротника, при обтачивании в.воротник посаживают в углах, шов обтачивания разутюживают, в толстых материалах высекают оставляя припуск 0,2-0,3см, воротник выворачивают, настрачивают шов обтачивания на н.воротник по отлету если нет отделочной строчки или прокладывают клеевую паутинку, настрачивают на шов обтачивания углы воротника выправляют, выметывают образуя кант из в.воротника ш-0,1-0,2см, приутюживают на прессе. В изделиях из х/б и шелковых тканей, края воротника строчат без предварительного выметывания; строчку выполняют после соединения воротника с изделием.

При соединении воротников с изделием, сначала соединяют плечевые срезы изделия. В зависимости от ткани можно использовать соединение накладным швом (в толстых тканях и в мужских изделиях), стачным швом в (тонких и костюмных тканях).
Накладным швом - в воротник складывают с подбортами лицевыми сторонами внутрь притачивают к подбортам, швы раскепов разутюживают, нижний воротник накладывают на изделие по намеченным линиям и настрачивают строчкой зигзаг. На перед н.воротник настрачивают вместе с бортовой прокладкой, а на спинке – с притачной к ней полоской ткани, в.воротник приметывают к нижнему, создавая припуск на сгиб стойки, швы соединения в.воротника с подбортами прикрепляют к шву горловины строчкой или клеевым способом. Н.воротник в остальной ее части настрачивают на горловину строчкой зигзаг.
Стачным швом- В.воротник притачивают к подбортам по линии раскепов. Н.воротник втачивают в горловину изделия ш-ш-0,7-1 см, швы раскепов и втачивания н.воротника в горловину разутюживают. В.воротник приметывают к нижнему, притачивают в.воротник к правому подбоорту так же как и к левому, раскепы стачивают со стороны воротника, н.воротник втачивают в горловину со стороны н.воротника, края бортов и воротников выметывают, образуя где нужно кант.

10. В виде сборочных схем дайте характеристику обработки и соединения с изделием воротников в женской верхней одежде с учетом возможных конструктивно – технологических решений (пиджачного типа, шаль, стойка).
1. Обработка воротника Шаль
Продублировать нижний воротник, подборта, верхний воротник.
Нижний воротник втачать в горловину, швы разутюжить.
Верхний воротник притачать к подбортам, швы разутюжить.
Борта и воротник обтачать одновременно, швы разутюжить.

2. Обработка воротника Пиджачного типа.
В изделиях из тонких тканей, без подкладки:
Продублировать нижний воротник.
Соединить нижний и верхний воротники и обтачать.
Обтачать борта подбортами, до горловины.
Втачать нижний воротник в горловину.
Притачать верхний воротник к подбортам.
Швы втачивания нижнего воротника и притачивания верхнего воротника от концов до плечевых швов разутюжить, остальную часть шва горловины заутюживают в сторону нижнего воротника.
Швы соединения в/воротника с подбортами прикрепить к шву втачивания нижнего воротника.
Край стойки воротника между плечевыми швами подгибают внутрь и настрачивают на расстоянии 1-2 мм от края.

3. Обработка воротника Стойка
Обработать стойку (продублировать и обтачать).
Н/воротник лицевой стороной сложить с изнанкой изделия, совмещая надсечки, втачать со стороны н/воротника швом ш-1см.
Шов отогнуть в сторону воротника.
Срез в/воротника подогнуть внутрь на 9мм и настрочить на расстоянии 1мм от сгиба, закрывая шов втачивания.
Проложить по краю воротника отделочную строчку.

.
11. Представьте различные способы обработки низа рукавов в верхней одежде швом в подгибку, шлицами, манжетами.
Низ рукавов обрабатывают с клеевыми (в изделиях из плащевых или х/б тканей) или неклеевыми прокладками из нетканых материалов (флизелина) или х/б ткани (бязи, коленкора) и без прокладок.



12. Дайте общую характеристику возможных конструктивно – технологических решений обработки подкладки и соединения её с верхом в женской верхней одежде. В виде сборочных схем представьте различные способы соединения подкладки и утепляющей прокладки с верхом по борту, низу изделия, низу рукава, воротнику.
При обработке подкладки в женских изделиях, обрабатывается вешалка или применяется спец. лента, обрабатываются внутренние карманы боковые вытачки на переде стачивают, начиная от пройм, срезы спинки стачивают начиная от горловины, в изделиях с притачной подкладкой по среднему шву спинки оставляют не стаченый участок длиной 30-35см, на расстоянии 1-15см от горловины. Стачивают боковые срезы, совмещая надсечки, при необходимости в правый боковой срез вставляют полодержатель, притачивают подкладку к подбортам, стачивают плечевые срезы, посаживая спинку, в изделиях с отлетной подкладкой без утеплителя срезы обметывают. Подкладку уточняют по низу, в изделиях со шлицей прорезают отверстие для шлицы. Подкладку рукавов втачивают в проймы подкладки. Соединяется верхний воротник с подкладкой, вставляя вешалку. Обрабатывают низ подкладки и шлица.



13. Дайте общую характеристику возможных конструктивно – технологических решений обработки подкладки и соединения её с верхом в мужской верхней одежде. В виде сборочных схем представьте различные способы соединения подкладки и утепляющей прокладки с верхом по борту, низу изделия, низу рукава, воротнику.
Перед соединением подкладки в мужских изделиях задние плечевые накладки приметывают к верху. Существует несколько способов соединения подкладки с верхом;
1) машинный способ соединения подкладки с верхом по бортам, низу и шлице до соединения плечевых срезов.
2) Комбинированный способ, при индивидуальном изготовлении изделий, т.е. с обработкой нижних углов подкладки вручную (при наличии отделочной строчки по низу изделия). Подкладку притачивают к подбортам, к припуску на подгиб низа, на обработку сторон шлицы, не доходя до низа на 2-2,5см, подкладку вывертывают, приметывают к верхнему воротнику по проймам к рукавам, плечевым срезам, в непритаченных углах бортов и шлицы подкладку заметывают подшивочными стежками.
3) Подкладку к бортам притачивают на машине, а по низу, боковым швам и сторонам шлицы – подшивают вручную. Боковые срезы подкладки пришивают к боковым швам верха за срез спинки, отступив от проймы и не доходя до низа 8-10см. Подгибают внутрь и подшивают срезы подкладки спинки по шлице. Нижний срез подкладки уравнивается, подгибается и подшивается к припуску по низу изделия.



14. Укажите отличительные особенности изготовления мужских сорочек. В виде сборочных схем представьте прогрессивные методы обработки всех узлов мужских сорочек.
Обработка каждой мужской сорочки зависит от количества деталей, их формы, видов отделок. Для типовой технологии обработки характерна такая последовательность:
-заготовка деталей воротников, манжет, карманов, других мелких деталей
-обработка переда
-обработка спинки
-обработка рукавов
-стачивание плечевых срезов
-соединение воротника с горловиной
-втачивание рукавов в проймы
-соединение манжет с рукавами
-застрачивание низа сорочки
-обметывание петель
-пришивание пуговиц
-ВТО




15. Представьте прогрессивные методы обработки всех узлов женских платьев.
Женское платье различают как по ассортименту, так и по конструкции деталей, всевозможно применяются отделки. Обработка основных деталей состоит из обработки срезов и вытачек, выполнения различных швов, соединения частей основных деталей, обработки отделочных деталей и их соединение с основными деталями. Соединение осуществляют стачным швом вразутюжку или взаутюжку с обработкой срезов различными способами в зависимости от вида ткани. Срезы обрабатывают в крое или после соединения деталей. Часто применяют окантовывание срезов, в качестве отделки.




16. В виде сборочных схем представьте различные методы ремонта бортов в верхней одежде в зависимости от степени износа. По предложенной модели женского пальто определите степень износа изделия и укажите наиболее рациональный метод ремонта при заданной степени износа. ( Добавить типы степени износа)
Ремонтируют борта путем обтачивания их после предварительной обрезки изношенного края вдоль всей линии борта. При значительной степени износа края борта обрабатывают различными планками или фасонными вставками из отделочных материалов. Обтачные петли ремонтируют вновь выкроенными обтачками.
Степени износа:
-повреждение края борта (переобтачать борт, но уменьшится величина полузаноса! Или окантовать предварительно срезав край борта)
-повреждение края борта и области петель (поврежденную часть планкой или фасонной вставкой, заново обметать петли)
-повреждение обтачных петель( удалить износившиеся обтачки, заново обработать петли новыми обтачками)
-повреждение подборта(замена его полностью)
17. В виде сборочных схем представьте различные методы ремонта воротников в верхней одежде в зависимости от степени износа. По предложенной модели мужского пальто определите процент износа изделия и укажите наиболее рациональный метод ремонта при заданной степени износа. ( Как определяется процент износа)
Изношенную стойку воротника заменяют новой из отделочного материала или близкого к основному.(40-50% износа) Изношенный отлет и концы воротника можно обновить, подокнув изношенный отлет внутрь воротника, тем самым укоротив сам воротник если это не возможно то можно настрочить бейку или окантовать его тесьмой,(20-30%износа) при сильном износе воротника, его верхнюю часть лучше заменить воротником из отделочной ткани или близкой к основной.(70-80%износа). Если воротник пострадал полностью его заменяют (100% износа) .
Процент износа определяется условно, исходя из трудоемкости процесса ремонта, а так же использования дополнительных материалов, для замены изношенных участков.


18. В виде сборочных схем охарактеризуйте методы обработки основных узлов в межсезонной одежде.







19. Кратко охарактеризуйте факторы, влияющие на выбор методов обработки и оборудования при изготовлении изделий из трикотажа. Для предложенных эскизов выберите соответствующие трикотажные полотна и методы обработки воротников и застежек. Укажите оборудование для соединения основных деталей каждого изпредложенных изделий.(Нарисовать методы обработки воротников и застежек в различных изделиях, указать виды трикотажных полотен для каждого вида изделия)
Выбор методов обработки обусловливается :
-конструкцией изделия
-свойствами трикотажа
-имеющимся оборудованием и приспособлениями
-технологическими режимами и параметрами обработки
-модельными особенностями
Необходимо руководствоваться:
-задачей получения изделий высокого качества
-повышения производительности труда
-наиболее рациональным использованием полотна (ширина швов, величина подгибки, обрезки срезов деталей)
Оборудование:
308 кл- цепные четырехниточные краяобметочные стежки (закрутка)
508М кл- цепные пятиниточные краяобметочные стежки
1276, 1276-1, 1276-2 кл – одноигольные, двухниточныее цепные стежки, для стачивания
1022, 97, 97-а Кл- челночная строчка ( обычная стачивающая машина)
525кл – полуавтомат для выметывания петель
95кл- п/автомат для пришивания пуговиц
876,1076, 1076-1 кл – двух игольные плоскошовные с плоской платформой (подшивка низа)
Виды трикотажных полотен
Вискоза – трикотажное синтетическое полотно. Вискоза используется для пошива женской одежды: блузок, водолазок, футболок, комбинайций, нижних юбок.
«Джордан »жокардовое переплетение - трикотажное полотно из синтетических волокон. «Джордан» используется для изготовления женской одежды: костюмов, блузок, платьев.
Интерлок – трикотажное полотно, на основе комплексных волокон со структурой в «резинку». Предназначен для изготовления изделий верхнего, бельевого и спортивного трикотажа.
Капитония – утепленное, трехслойное трикотажное полотно с эффектом стежки в виде ромба.
используется для пошива детской верхней одежды, комплектов для новорожденных, женских халатов.
Кашкорсе – трикотажное полотно, имеющее вывязанную фактуру «английской резинки», применяется для изготовления верхнего трикотажа для женщин, мужчин и детей.
Кулирная гладь (кулирка) – полотно с поперечновязаным трикотажным переплетением, при котором горизонтальный петельный ряд образуется последовательным изгибанием одной нити.) применяется для пошива белья, летней верхней одежды.
Ластик – ластичное трикотажное полотно из хлопка с выработкой в мелкую вертикальную полоску. обычно используется в качестве подвяза (пояса, манжеты, воротники, т.е. облегающие детали изделия) для пошива верхнего трикотажа, например водолазок.
Полар (флис) – неструктурированный «валяный» полиэстер, при производстве которого используется специальные технологии плетения волокон и создания ворса. (Ворс при этом составляет единое целое с основой). применяется для пошива верхнего трикотажа, спортивной одежды.
Рибана - эластичное хлопковое трикотажное полотно с выработкой в мелкую вертикальную полоску. хорошо сохраняет форму, поэтому обычно используется в качестве подвяза (пояса, манжет, воротников) для трикотажного полотна другого вида.
применяется также для пошива верхнего трикотажа (например, водолазок).
Футер –х/б полотно (футерованное переплетение) вырабатывается на базе кулирной глади, лицевая сторона гладкая, а изнаночная – петлеобразная или с вычесанным ворсом. Применяется для детской одежды, в женских халатах.




20. Охарактеризуйте отличительные особенности изготовления изделий из кожи. В виде сборочных схем представьте прогрессивные методы обработки всех узлов.
Кожа как искусственная, так и натуральная не позволяет придавать изделиям форму за счет ВТО.
Оборудование применяется скорняжное.
Исключение переделывание отделочных строчек.
Для закрепления припусков используется клей или прокладывают строчку.
Дублируют с помощью клея.
Рукава обрабатывают вместе с подкладкой или подкладку рукавов обрабатывают и втачивают в проймы подкладки до соединения ее с изделием, низ рукава дублируют, локтевые швы настрачивают или приклеивают. Края деталей обтачивают или оставляют открытыми.





21. В виде сборочных схем дайте сравнительную характеристику методов обработки прорезных карманов в изделиях из различных видов пушно – мехового полуфабриката. Укажите отличительные особенности обработки карманов в изделиях из меха.
Прорезные карманы бывают боковые (горизонтальные, вертикальные, наклонные) с листочкой или с клапаном, обработанные в «кант» или «щель».
Листочки , как правило, прямоугольной формы.
Хлопчатобумажную прокладочную ткань соединяют с листочкой прямыми стежками ручным или машинным способом, клеевых прокладок-прессованием.
Карманы с клапаном в меховой одежде встречаются реже. Клапаны дублируют и обтачивают на скорняжном оборудовании. Края клапанов закрепляют вспушкой или пришиванием швов обтачивания к кожевой ткани подкладки клапана и последующим прессованием краев.
Наибольшее распространение в меховой одежде имеют карманы с обтачками в «кант» или в «щель» для их изготовления применяют кожу, мех, замшу.


22. Для предложенной модели женского пальто выполните подбор шкурок на раскрой и расчет клади на изделие при раскрое всеми методами, используемыми для данного вида меха.
Шкурки подбирают в зависимости о модели и тенденции, индивидуального спроса:
· женское манто (соболь, норка, горностай)
· ж.пальто, п/пальто (каракуль в любом виде ,шкуры морского зверя, норка, кролик, нутрия, песец, крот, белка)
· ж.жакет (так же хребты зайца-беляка, лапы норки, каракуля)
· ж.жилеты (меховой козлик, овчина –дубленка, собака, хомяк)
· куртки (овчина-дубленка, каракуль, норка, собака, хоря)
· Мужское пальто, п/пальто, пиджаки (нерпа, овчина стриженая, меховой козлик, жеребок, овчина –дубленка)
· м.куртка ( овчина под велюр)
· Детский пиджак на мальчика (то, что и для мужских пиджаков)
· детское пальто (меховая овчина, кролик, козлик, хомяк, белка, лобики сережки головки других мехов)
В зависимости от силуэта (для более широкого, трапециевидного можно взять длинноворсовой мех, для малообъемных вещей подойдут коротковорсовые и стриженые меха, дубленая овчина.)
Раскрой шкурок:
Раскрой шкурки по лекалам (выложить лекала на шкурки, при минимальных межлекальных выпадах)
Комбинированный метод раскроя ( выкраиваются не только основные детали но и детали которые помещаются в межлекальные выпады от других изделий или сопутствующих изделий)
Расчет клади на изделие производят после построения конструкции и изготовления лекал. Кладь - количество пушно-мехового п/ф, необходимого для получения изделия определенной модели, она может быть выражена в квадратных дм или числом шкурок, определяется по формуле:
К=(Sл/Ки)*100 или К= (Sл/КиSш)*100 (где Sл- площадь лекал изделия, дм2 ; Ки - коэффициент использования п/ф, %; Sш - площадь одной шкурки, дм2
Для сложного метода раскроя требуется изготовление шаблонов, а расчет шкурок для кроя, рассчитывая исходя из размера шаблона, количества деталей, как и доля шкурки приходится на шаблон.
23. Охарактеризуйте особенности обработки, способствующие повышению качества изготовления изделий в ателье высшего разряда и разряда «люкс». Проиллюстрируйте сборочными схемами особенности обработки основных узлов мужской и женской верхней одежды.
Изделия должны отличаться:
-безупречным качеством
-оформлением
-широким ассортиментом отделочных работ
-внутренние швы обметывают шелковыми или х/б нитками или окантовывают тесьмой
-тесьмой обрабатывают низ изделия и рукавов
-воротники с горловиной обрабатывают при помощи обтачки
-в изделиях из шерстяных тканей применяют обтачку-кокетку из подкладочной ткани
-применение цельно-выкроенных деталей
-широкое внедрение средств малой механизации при выполнении машинных работ
- применение высококачественных прикладных и прокладочных материалов
-детали подборта, нижнего воротника, детали подкладки, гульфика, откоска, полупояса выкраивают без надставок
-ручные методы обработки используют по максимуму
-подкладку спинки по линии горловины притачивают к обтачке по горловине
-окантовывают внутренний срез подборта и обтачки по горловине
-используется фирменная отделка ( могут быть окантованы все срезы под отлетной подкладкой, срезы припусков по низу, по подбортами.
-в женских пальто широко используют рюши из подкладки а, притачивая к внутренним карманам, внутренним срезам подбортов, на уровне вешалки.
-вешалка может быть крученой
-по низу отлетной подкладки дают фигурную строчку, а утепляющую подкладку выстегивают
-рукава в женских зимних пальто выполняют с муфтами






24. Перечислите факторы, влияющие на выбор степени готовности изделия к примерке и их числа. Охарактеризуйте возможные степени готовности изделия к примерке. Для предложенной модели представьте рациональную схему подготовки изделия к примерке. ( Исправить степени готовности изделия к примерке)
Задача примерки состоит в обеспечении правильности посадки изделия на фигуре заказчика, соответствии изделия современной моде и внешним данным заказчика по силуэтной форме материалу и современности конструкции.
Факторы, влияющие на выбор степени готовности изделия к примерке:
-ассортимент (п/блузочный, поясные, пальтово/костюмный)
-материал
-особенности телосложения заказчика
-сложность фасона
-количество уже проводимых примерок
-квалификация закройщика.
Степени готовности изделия к примерке:
Минимально необходимая степень готовности
Целесообразна для сложных моделей или фигур заказчиков с отклонениями от типовой, или при изготовлении одежды из материалов с малоизвестными пошивочными свойствами, а так же при сборке бортов одновременно с воротником. В случаи надобности к примерке готовятся верхние плечевые, передние и задние накладки, полностью обрабатывают борт.прокладки, все рельефы и вытачки, верхний карман, который закрывается борт.прокладкой. Формообразующее ВТО. В муж.изделиях к 1й примерке готовят левый рукав, в жен.изделиях-правый
Максимально возможная степень готовности
Предполагает окончательную обработку не только всех конструктивных срезов, но и таких узлов как кармана и борта. Это рекомендуется когда изделие с застежкой до верху или универсальную форму лацканов. В объемных изделиях боковые и плечевые срезы обрабатывают временной строчкой, средний шов окончательно.
Высокая степень готовности( в изделиях из пленочных мат-в, дублированных мат-в, иск.кожи в свободных моделях)
Хар-ся большим объемом законченных работ по изготовлению изделия, к примерке рукав не вметывают, низ изделия и рукава не заметывают, т.к строчки могут следы на прорубаемых тканях
Повторная примерка
Проводят для уточнения правильности вметывания рукавов, для уточнения длины изделия
Схема подготовки к 1й примерке:
1я примерка жакета классической формы
-продублировать детали кроя (нижний воротник, борта)
-сметать средний шов спинки
-сметать рельефы или вытачки на переде и спинке
-сметать плечевые срезы
-вметать нижний воротник в горловину (горловину укрепить кромкой)
-сметать боковые швы
-стачать передний шов рукава, задний сметать
-вметать правый рукав в пройму, совмещая надсечки.
Схема подготовки к 2й примерке :
-обрабатывают вытачки, рельефы, складки, кокетки
-обрабатывают карманы
-обрабатывают обтачные петли
-стачивают и разутюживают боковые и плечевые швы
- в изд.отрезных по л.талии , сметывают верхнюю и нижнюю части изделия
-воротник обрабатывают и соединяют с изделием
-рукава обработаны и вметывают в пройму
-подкладка и прокладка соединена с изделием
-низ в ж.изделиях заметывают, в м.изд – обрабатывают окончательно
25. Охарактеризуйте способы определения площади лекал. Для предложенного комплекта лекал с заданной площадью определите норму на раскладку Нр, исходя из отправного процента межлекальных отходов. Охарактеризуйте факторы, влияющие на величину раскладки, объясните, как изменится Нр для ткани в клетку, полоску, с ворсом.
Площадь лекал определяет минимальный расход материала на изделие и зависит от размера, длины, полноты модели изделия и припусков на швы и подгибку низа деталей.
Способы определения S лекал :
-геометрический способ (выполняют разбивку каждого лекала на ряд геометрических, простейших фигур). S фигур рассчитывают и суммируют. На участках сложной контурной линии расчеты приближенные ошибка 2-4%.
-способ взвешивания (определяется из пропорционального соотношения площади и массы материала). Вырезанные лекала из материала взвешивают и сравнивают с массой образца материала.Определяют по формуле:
S л=Мл* So / Mo
S л -сумма площадей лекал, см2
M л- масса лекал, г;
Мо- масса образца материала, г;
So -площадь образца материала, см2
-комбинированный способ (большая часть площади каждой детали определяют площадью прямоугольника, а площадь криволинейных участков находят с помощью планиметра). С этой целью используется полярный планиметр с небольшим полюсным и обводным рычагами. Счетное устройство расположено на одном рычаге. При обводе роликом контура участка лекал на циферблате откладываются цифры, соответствующие площади данного участка. Измеряемую площадь подсчитывают, последовательно суммируя и вычитая площади между наибольшими размахами рычагов планиметра.
-механизированный способ (с помощью фотоэлектронной машины), позволяет повысить скорость операции в 6 раз, а погрешность составляет 0.5-1%
Факторы, влияющие на величину раскладки
-ширина материала
-вид материала (гладкокрашеные или с выбитым рисунком, ворсовая, в клетку…)
Норма раскладки увеличится, если рисунок направленный, есть ворс, полоска или определенный рапорт у клетки.
-форма и размеры лекал
-вид раскладки (однокомплектные, многокомплектные)
-сочетание размеров и длины изделия (маленькие размеры укладывают с большими)
-расположение лекал (опыт закройщика, внимательность, наличие типовой схемы раскладки)
«Оборудование швейного производства»
1. Дайте сравнительную характеристику раскройных машин.
Вырезание деталей из настила выполняют раскройными машинами с вертикальным ножом (подвижная машина)
Э З М -2- для раскроя настилов из х/б и шерстяных материалов;
Gs 529 A-1-K – для раскроя настилов из бельевых, плательных, трикотажных материалов;
Gs 529 B-1-3, Gs 529 Д-2-К-С, Gs- 530 (производство В Н Р) - для раскроя настилов из более тяжелых материалов.
Такие машины обладают большой маневренностью, благодаря большой ширине ножа, но чистота получаемых срезов невысокая, из-за возвратных движений ножа, нарушается сцепление полотен, поэтому эти ножи применяют для вырезания больших деталей из плотных не скользящих тканей.
С дисковым ножом (подвижная машина, легкая и не громоздкая)
Э З Д М-1 для раскроя настилов из шелковых тканей до 20мм высотой
Э З Д М-2 для раскроя настилов из синтетических материалов( имеет устройство для охлаждения и смазки ножа маслом)
Эти машины предназначены для рассекания настилов из материалов со скользящей поверхностью, чистота получаемых срезов выше, т.к. при вращении диска ножа происходит дополнительное уплотнение слоев настила по линии резания, геометрическая форма ножа позволяет вырезать детали только с малой кривизной из настилов небольшой высоты.
Ленточные машины (неподвижные установлены на столе)
РЛ-3А. РЛ-3Б. РЛ-4. РЛ-5
На них окончательно выполняют выкраивание деталей. Они более производительны и обеспечивают высокое качество кроя. Однако раскрой одними ленточными машинами без передвижных машин невозможен, т.к. они установлены стационарно, и необходима ручная подача настила на нож.
2. Дайте классификацию и сравнительную характеристику оборудования для ВТО. (Привести примеры оборудования)
Универсальное оборудование : электрические, э/паровые и паровые прессы(Cs371 К М П 1); утюги электрические с терморегулятором и без него(У П П-2М) , э/паровые и паровые; утюжильные столы с паровым обогревом рабочей поверхности(У П П-3М ); отпарочный аппарат-(О А Г-2); паровоздушные манекены; декатировочный аппарат.
Специальное оборудование: прессы, имеющие постоянные подушки для выполнения определенных операций (П С П-1, П Л П С)( для приутюживания окатов рукавов, для получения устойчивых складок на брюках).
Прессы.
По конструкции существуют:
-однопозиционные ( имеют одну верхнюю и одну нижнюю подушки, пресс обеспечивает наибольшее давление на п/фабрикат) П Г У-1
-двухпозиционные (заменяют два однопозиционных, улучшая условия труда) 218 «Маккер» Италия
-трехпозиционные (карусельного типа, имеют 3 подушки, позволяют одновременно обрабатывать несколько деталей) 216 «Маккер» Италия
-вертикальные (прессование в готовом виде, изделие вывешивается вертикально прессуется воротник, лацканы, плечевые швы или рукава) Macpi 245
По принципу действия:
-периодического действия ANT-1690-7 «Майер» Германия
-непрерывного действия RPS-700
От способа нагрева:
-электрические (не обеспечивают равномерность нагрева и увлажнение п/фабриката, часты ласы, подходит доя дублирования) П Г У-3
-э/паровые (верхняя подушка нагревается ТЭНами, а нижняя паром, высокая производительность , универсальна)Cs-311
-паровые (высокое качество ВТО, но длительное время воздействия и сушки изделия, исключается дублирование термоклеевыми материалами, из-за недостаточной температуры)
Универсальные прессы оснащены набором подушек различной формы П Г У-3
Специальные прессы имеют постоянные подушки, предназначенные для выполнения определенной операции. С П Р-1
Утюги и утюжильные столы
УТЮГИ
По типу нагрева:
-электрические (быстрый и равномерный нагрев 100-250 0 С, поддерживается необходимая температура, вода подается из ручного пульверизатора)
-э/паровые (имеют камеру для пара, более универсальный)
-паровые (обогрев подошвы и увлажнение материала производится только с помощью пара)
По массе (от 1-8кг)
УТЮЖИЛЬНЫЕ СТОЛЫ (УПП-3М)
По устройству (с одной опорой, консольные, с четырьмя опорами)
По оснащению (разные виды утюга, подушек, типу нагрева, наличие вакуум-отсоса)
Паровоздушный манекен (для окончательного ВТО)
Отпарочный аппарат (удаляет ласы с готовых швейных изделий) -(О А Г-2);
Декатировочный аппарат ( можно загрузить до 5кг ткани для обработки паром, происходит усадка материал
3. Представьте общую классификацию швейного оборудования и укажите область применения различных типов швейных машин. (Привести примеры машин, классы)
Машины делятся на машины челночного стежка и машины цепного стежка.
Машины челночного стежка (стежки 300 и их подклассов):
-однолинейные 301(класс);
-многолинейные 302, 303, 307, 309, 311;
-зигзагообразные 304, 305, 308, 310, 312;
-потайные 306.
Машины цепного стежка:
-однониточные однолинейные 101, 104, 202;
-однониточные двухлинейные 102;
-однониточные потайные 103;
-двухниточные однолинейные 401;
-плоские одно и многолинейные 402, 403, 406, 407;
-зигзагообразные однолинейные 404;
-зигзагобразные двухлинейные 405
-однониточные линейные обметочные 501, 513
-двухниточные однолинейные обметочные 502, 503
-трехниточные однолинейные обметочные 506, 507,508,509,510, 511, 12, 514,521
-трехниточные плоские с покровной ниткой 601
-четырехниточные плоские с покровной ниткой 602
-пятиниточные плоские с двумя покровными нитками 604,607
-девятиниточные плоские с одной покровной ниткой 606
Кроме того есть машины комбинированные применяющие комбинацию челночных и цепных стежков.
Классификация:
По числу игл машины ( 1-о, 2-х более 3-х, на каждую иглу свой челнок или один петлитель
По признаку специализации
-универсальные 10022-М, 97-А
- специальные 1276, 1376 оснащены приспособлениями (рубильники, ограничители)
По признаку автоматизации
-неавтоматизированные 1022-М,
-автоматизированные 31-12-50 кл (направленное устройство обрезки нити, автоматическая закрепка нити)
-машины п/автоматы, петельная 525кл, закрепочная 2820кл (определенная операция по циклу)
- машины автоматы 427кл (подает заготовку, делает операцию и складывает, не привязывает работника)
По технологическому признаку
-стачивающие прямострочные (1022-М, 97-А)
Стачивающие зигзагообразные(1026)
-стачивающие обметочные (51-2745*3,2 «Агат)
-для выполнения потайных строчек( Cs-761)
-п/авт петельные(73401-Р2)
-п/а для пришивания пуговиц (59-А)
-п/а для закрепок и пришивания фурнитуры(220 кл)
-п/а вышивальные и отделочные(1822)
По скоростным характеристикам
-низкоскоростные с частотой вращения главного вала до 2500об/мин (65 кл 300об/мин, втачив рукавов)
-среднескоростные 2500-5000об/мин (1022-М Кл 4500об/мин, стач строчка)
-высокоскоростные свыше 5000 об/мин (51-284 «Агат» 7000 об/мин, краеобметочное оборудование)
4 . Дайте сравнительную характеристику рабочих органов швейных машин.
К основным механизмам относятся:
-механизм иглы (челночного, цепного стежка – игла движется вертикально, в потайном стежке изогнутая игла движется горизонтально, номер иглы равен диаметру иглы в мм умноженная на 100 например, игла №75 имеет диаметр 0,75 мм, всего 26 номеров с 60-400, диаметр иглы должен соответствовать толщине материала, диаметр нити должен быть меньше диаметра ушка на 1/3 ширины, по типу заточки: для трикотажа с шарообразной заточкой; для кожи с заточкой в виде овала, лопатки, треугольника, ромба, квадрата. Наиболее распространенные механизмы иглы с вертикальным возратно – поступательным движением, которое может быть передано от колеблющегося или вращающегося вала, а также от качающегося коромысла. Это, соответственно коромыслово – шатунный, кривошипно – шатунный, кривошипно – кулисный и шарнирно – звеньевой механизмы иглы.
-механизм челнока (Колеблющийся – может быть право и левоходным, в свою очередь центрально шпульным или нецентрально шпульным. Вращающийся челнок может иметь горизонтальную (с зигзагообразную строчку) или вертикальную (1022кл) ось вращения)
-механизм петлителя ( петлители несущие нитку, петлители не несущие нитку)
-механизм продвижения материала (При одинарной системе: простой реечный механизм с прижимной лапкой, дифференциальный механизм в сочетании с лапкой. При двойной системе: перемещение нижней рейкой и иглой с лапкой, перемещение нижней и верхней рейками и роликами. При тройной системе: перемещение нижней рейкой иглой и верхней рейкой
-система нитеподачи ( в тихоходных машинах применяют кулачковые нитепритягиватели, в среднескоростных примен шарнирно-стержневые нитепритягиватели, в двух игольных с осью вращения челнока в вертикальной плоскости применяют кулисные нитепритягиватели, для высокоскоростных машин примен вращающиеся нитепритягиватели. (Так же в систему входит регулятор натяжения нитки)
-система смазки
Дополнительные механизмы:
-механизмы специализации (направители материала, регуляторы держания, механизмы образования складок, закрепок, устройство охлаждения иглы, устройство отсоса обрезки, механизм обрезки края материала)
-механизмы автоматизации (авт-й пуск и остановка машины, ав-я остановка иглы в заданном положении, обрезка ниток, беек вертикальным ножом, ав-й подъем лапки, сигнализация о неисправностях, обрыве нити процесса смазки, счетчик продукции, укладчик)
5. Подберите рациональный комплект оборудования для изготовления мужских пиджаков в ателье высшего разряда бригадой малой мощности человек.
Для ВТО:
-Cs371 КМП 1 (пресс для фронтального дублирования)
-Декатировочный аппарат
-У П П-3М -утюжильный стол с э/п утюгом
-О А Г-2 – отпарочный аппарат (окончательной ВТО, чтобы убрать ласы)
Швейные машины:
1022-М, 97-А – универсальные швейные машины, для широкого круга операций (на каждого портного)
2222-М- для прокладывания временных строчек
1622 – для прокладывания копировальных строчек
1026- для прокладывания зигзагообразной строчки
73401-Р2 машина для обметывания петель
Остальные машины не целесообразно использовать, т.к. в бригаде малой мощности от7-11 чел.
6. Подберите рациональный комплект оборудования для изготовления женских пальто в ателье 1 разряда бригадой средней мощности.
Для ВТО:
-ПСП-1 универсальный пресс со специальными подушками
-Cs371 К М П 1 (пресс для фронтального дублирования)
-ПЛПС – пресс для обработки окатов и верхней части рукавов с подушкой для обработки воротника и перегиба лацканов
-УПП-3М - утюжильный стол с э/п утюгом 3 шт
-Декатировочный аппарат
-ОАГ-2 – отпарочный аппарат (окончательной ВТО, чтобы убрать ласы)
Швейное оборудование:
1022-М, 97-А – универсальные швейные машины, для широкого круга операций (на каждого портного) 12-20шт
2222-М- для прокладывания временных строчек
1622 – для прокладывания копировальных строчек
73401-Р2 машина для обметывания петель
1822- для прокладывания отделочных строчек
297- машина для стачивания деталей с принудительной посадкой, оснащенная нижней и верхней рейками
302-1 машина для втачивания рукава в пройму
Остальные машины не целесообразно использовать т.к. в бригаде средней мощности то 12-20чел
Похожие рефераты:
Техническое проектирование технологического процесса экспериментального производства
Особенности оценки качества швейных изделий
Проектирование швейного цеха по изготовлению формы для младших школьников
Проектирование коллекции пальто женских д/с для женщин младшей и средней возрастной группы
Проектирование новой модели женского демисезонного пальто
Разработка коллекции женской одежды в джинсовом стиле под девизом "Джинсовое путешествие"