| Скачать .docx |
Курсовая работа: Гідравлічні трубопроводи
Курсова робота
Гідравлічні трубопроводи
Вступ
Гідравліка – це технічна (прикладна) наука, що вивчає закони рівноваги і руху рідини та розробляє способи застосування цих законів для розв’язування цих задач.
Втрати напору в трубопроводах складаються з втрат по довжині і місцевих втрат. Залежно від впливу цих втрат трубопроводи поділяють на короткі і довгі.
До довгих належать трубопроводи, в яких визначальними є втрати по довжині, а місцеві втрати не перевищують 10–15% загальних втрат, а до коротких – трубопроводи з великою кількістю місцевих опорів, у яких визначальними є місцеві втрати, а втрати по довжині не перевищують 10–15% загальних втрат.
Довгі трубопроводи поділяють на прості і складні,
Прості трубопроводи – це трубопроводи сталого діаметра, що не мають відгалужень.
Складний трубопровід – це такий, що складається з окремих елементів: простих коротких або довгих трубопроводів. Прийнята класифікація трубопроводів дає змогу значною мірою спростити розрахунок їх.
Гідравлічний розрахунок трубопроводів полягає у визначенні витрати рідини, напору, діаметра труб при заданих інших величинах. Іноді за заданими витратою Q, діаметром і довжиною трубопроводу визначають напір Н або за тих же умов визначають витрату Q якщо задано напір Н. Діаметр трубопроводу d визначають, коли всі інші параметри відомі.
1. Основні формули для гідравлічного розрахунку напірних трубопроводів при турбулентному режимі руху
Гладкі труби
Коефіцієнт гідравлічного тертя l, що входить в розрахункову формулу для визначення втрат натиску по довжині
,
для гладких труб знаходиться по емпіричних залежностях виглядуl=l (Re).
Для потоків, що характеризуються числами Re від 2300 до 100000, застосовується така залежність:
.
(1)
П.Н. Конаковим запропонована більш загальна формула, область вживання якої не обмежується величиною числа Re:
(2)
Може бути використана формула Р.К. Филоненко
,
(3)
яка дає практично однакові результати з формулою П.Н. Конакова.
Шорсткі труби
Для визначення втрат натиску в круглих шорстких трубах у разі квадратичної області опорів звичайно використовуються так звані водопровідні формули, одержувані ззалежності Шезі. Позначивши через l довжину труби, представимо формулу Шезі таким чином:
.
Отже,
. (4)
Помноживши у формулі (4) чисельник і знаменник на 2g одержимо остаточну формулу, яка може бути названа першою водопровідною формулою (формула Вейсбаха – Дарсі):
, (5)
де коефіцієнт гідравлічного тертя
.
Визначаючи С
по формулі Н.Н. Павлівського, одержимо
.
Замінимо в залежності (4) швидкість υ через
,
де Q – витрата рідини, що проходить через трубу;
площа живого перетину труби.
Одержимо формулу, яка може бути названа другою водопровідною формулою:
; (6)
тут
. (7)
Для розрахунку труб рекомендується вживання коефіцієнтів шорсткості п , приведених в табл. 1.
Таблиця значень коефіцієнта шорсткості п для труб
| Стан стінок труб і характерні умови експлуатації | п | |
| Нові чавунні, металеві і гончарні труби при добрій укладці і з’єднанні | 0,0110 | 90,9 |
| Водопровідні труби в нормальних умовах експлуатації, бетонні труби в дуже гарному стані | 0,0120 | 83,3 |
| Трохи забруднені водопровідні труби, клепані стальні спіральні труби в дуже гарному стані, бетонні труби в гарному стані | 0,0130 | 76,9 |
| Забруднені водопровідні труби | 0,0140 | 71,4 |
| Клепані стальні спіральні труби в середніх умовах експлуатації | 0,0150 | 66,7 |
| Бетонні труби в поганому стані | 0,0160 | 62,5 |
| Азбестоцементні труби | 0,0092 | 108,7 |
| Поліетиленові труби | 0,0086 | 116,4 |
Останнім часом рядом авторів складені таблиці значень коефіцієнта С, підрахованих по формулі Н.Н. Павловского для різних коефіцієнтів шорсткості і гідравлічних радіусів R.*
Для спрощення обчислень по формулах (5) і (6) для стандартних діаметрів труб приводяться таблиці значень коефіцієнтів λ1 = f 1 (d) і а = f 2 (d), обчислених при різних п із застосуванням формули Н.Н. Павлівського.
Формули (5) і (6) для розрахунків шорстких труб справедливі тільки для квадратичної області опорів. Відповідними дослідженнями встановлено, що труби великих діаметрів працюють переважно в доквадратичній області через малу їх відносну шорсткість. Квадратичний закон опору для труб великого діаметру буде справедливий тільки у випадку, якщо виступи шорсткості мають значну висоту.
У результаті обробки експериментального матеріалу для доквадратичної області Ф.А. Шевелев рекомендує для визначення гідравлічного ухилу користуватися формулою
, (8)
де k – поправочний коефіцієнт, залежний від середньої швидкості υ, причому Q виражається в м3 /с , а d в м .
Значення поправочного коефіцієнта k для сталевих і чавунних труб дані в табл. 2.
Таблиця 2. Значення поправочного коефіцієнта для сталевих і чавунних труб
| υ, м/с | k | υ, м/с | k | υ, м/с | k |
| 0,20 | 1,410 | 0,50 | 1,150 | 0,80 | 1,060 |
| 0,25 | 330 | 0,55 | 1,130 | 0,85 | 1,050 |
| 0,30 | 280 | 0,60 | 1,115 | 0,90 | 1,040 |
| 0,35 | 240 | 0,65 | 1,100 | 1,00 | 1,030 |
| 0,40 | 200 | 0,70 | 1,085 | 1,10 | 1,015 |
| 0,45 | 175 | 0,75 | 1,070 | 1,20 | 1,000 |
Приводимо експериментальні формули, що застосовуються для розрахунку:
азбоцементних труб (формула Ф.А. Шевелева):
; (9)
дерев'яних труб (формула Скобея):
, (10)
де υ виражається в м/с , а d в м .
2. Класифікація трубопроводів і основні задачі по їх гідравлічному розрахунку
Розглядатимемо турбулентний рух будь-якої рідини, що відповідає квадратичній області опору, маючи у вигляді при цьому тільки круглоциліндричні труби.![]()
Гідравлічний розрахунок трубопроводів проводиться або з метою визначення діаметру трубопроводу, призначеного для пропуску певної витрати рідини, або з метою встановлення гідравлічних характеристик трубопроводу: втрат натиску і витрати рідини, що пропускається (при відомих діаметрі і довжині труби).
При гідравлічному розрахунку трубопроводів залежно від їх довжини і гідравлічних умов розрахунку розрізняють два типи трубопроводів: короткі і довгі.
Короткими трубопроводами називаються трубопроводи порівняно невеликої довжини, в яких місцеві втратиопору є достатньо істотними, складаючи не менше 5–10% від втрат опору по довжині. Прикладами коротких трубопроводів можуть служити всмоктуюча лінія відцентрового насоса, напірна водопропускна труба під залізничним насипом і т.п.
Довгими трубопроводами називають трубопроводи, що мають значну протяжність, в яких втрати опору по довжині є основними. У випадку довгих трубопроводів місцевими втратами звичайно нехтують, іноді ж їх приймають рівними 5–10% від втрат опору по довжині. Прикладами довгих трубопроводів можуть служити трубопроводи водопровідних мереж, а також трубопроводи, що використовуються при гідромеханізації і т.д.
Залежно від гідравлічної схеми роботи трубопроводи розділяються на прості , не мають відгалужень, складні – з відгалуженнями. Розрізняють також тупикові трубопроводи і замкнуті, або кільцеві. Замкнуті трубопроводи більш надійні в роботі, зокрема забезпечують безперебійне водопостачання при пошкодженні окремих ліній або виробництві ремонтних робіт.
При гідравлічному розрахунку трубопроводів звичайно зустрічаються наступні три основні задачі:
1) визначення витрати трубопроводу Q при заданих l , d, hf ;
2) визначення втрати опору hf при заданих l , d, Q;
3) визначення потрібного діаметру трубопроводу при заданних l , Q, hf .
При рішенні цих і інших задач, пов'язаних з гідравлічним розрахунком трубопроводів, широко використовується поняття про витратну характеристику (про модуль витрати) труб. Витрата рідини при рівномірному русі визначається, по формулі.
![]()
або

Для труби постійного перерізу ω, С, R – величини постійні. Тоді величина

також постійна. Вона називається витратною характеристикою, або модулем витрати:
![]()
або (11)

Витрата рідини
(12)
Оскільки ухил J – число безрозмірне, то витратна характеристика К повинна мати розмірність витрати рідини. З рівняння (12) виходить, що витратна характеристика є витратою рідини в трубі заданого діаметру при гідравлічному ухилі, рівному одиниці.
Якщо розхідну характеристику виразити через діаметр труби,
то, пам'ятаючи, що показник ступеня у формулі Н.Н. Павловського залежить від гідравлічного радіусу R
і коефіцієнта шорсткості п
: y=f (n, R), або y = fl (n, d)
укладаємо наступне: при п = const
витратна характеристика є тільки функцією діаметра труби:
.
Показник ступеня y визначався по повній формулі Н.Н. Павловського при коефіцієнті шорсткості п = 0,012.
Дані значення величини
,
які також необхідні при гідравлічних розрахунках трубопроводів.
Нарешті, звертаючись до раніше одержаної формули (6), введемо в неї вираз для витратної характеристики К .
Оскільки
,
то
.
Тоді
,
або
. (13)
Підставивши залежність (13) в другу водопровідну формулу (6), одержимо
, (14)
або
. (15)
3 . Гідравлічний розрахунок простого довгого трубопроводу
Як наголошувалося раніше, місцевими втратами опору у разі довгих трубопроводів звичайно нехтують, іноді не враховують і швидкісний натиск, причому вважають, що напірна лінія практично співпадає з п'єзометричною.

Мал. 2
Розглянемо умови сталого руху рідини по трубопроводу, що сполучає два резервуари А і В (мал. 6.2). Намітимо площину порівняння 0–0, як показано на кресленні. Напишемо рівняння Бернуллі для перерізів 1–1 і 2–2, співпадаючих з рівнями рідин в резервуарах А і В:
.
При значних площах живих перерізів потоку в резервуарах швидкості в цих перерізах будуть малі, а різниця
близька до нуля. Тоді
.
Отже, різниця рівнів Н в двох даних резервуарах повністю витрачається на подолання опорів в трубопроводі.
Таке положення має місце за наявності резервуару В (коли закінчення рідини виходить під рівень). У разі ж закінчення рідини з трубопроводу в атмосферу одержуємо дещо іншу картину.
Якщо простий трубопровід складається з труб різного діаметру (мал. 3), то в цьому випадку загальна втрата опору Σhf розділяється нерівномірно по довжині трубопроводу, а п'єзометрична лінія є суцільною ламаною лінією.
Застосуємо залежність (14) до розрахунку простого трубопроводу з послідовним з'єднанням труб різного діаметру (мал. 3).
Причому швидкісним натиском ![]()
нехтуватимемо. Діаметри труб і довжини окремих ділянок відомі.

Мал. 3
Отже, ми можемо визначити їх витратні характеристики. Напишемо для кожної ділянки трубопроводу рівності
;
;![]()
.
де hf1 , hf2 , hf3 – втрати опору по довжині на ділянці трубопроводу з довжинами l1 , l2 , l3 , діаметрами d1 , d2 , d3 і витратними характеристиками К1 , К2 , К3 .
Загальні втрати опору по довжині трубопроводу рівні сумі втрат опору на окремих його ділянках: hf = hf1 + hf2 + hf3 або
,
,
звідки
. (16)
Позначивши постійну величину, що характеризує пропускну спроможність даного трубопроводу, через

остаточно одержимо
![]()
, (17)
або
. (18)
Для побудови п'єзометричної лінії у разі даного трубопроводу необхідно обчислити значення втрат опору hf1 , hf2 і hf3 і відкласти їх у відповідному масштабі на кресленні.
Приклад 1
Вода з водонапірної башти подається до вагоноремонтного заводу по трубопроводу завдовжки l = 3,5 км , діаметром d = 300 мм . Визначити витрату води, якщо відмітка землі в місці установки башти zσ = 130 м , відстань від землі до рівня води в башті Н = 17 м , відмітка землі біля заводу z3 = 110 м, потрібний натиск води біля заводу Нсв = 25 м .
По таблиці для п = 0,012 і d = 300 мм знаходимо витратну характеристику К = 1,121 м3 /сек. Витрату визначимо по формулі (15):
Q
0,0656м3
/сек.= =65,6 л/сек.
Приклад 2
Визначити для умов прикладу 1 висоту башти (відстань від землі до рівня води в резервуарі), яка зможе забезпечити подачу води на завод в кількості Q = 85 л/сек.
Визначимо втрату опору по формулі (14):
= 20,1
м
.
Потім знайдемо висоту башти:
Нб = z3 + НСВ + hf – zб = 110 + 25 – 20,1 – 130 = 25,1 м.
Приклад 3
Рівень води у водонапірній башті на hf – 25 м перевищує рівень води в точці її споживання. Довжина трубопроводу l = 2400 м . Підібрати діаметр трубопроводу при витраті води Q = 35 л/сек .
Обчислимо значення величини b :
/ (м3
/сек)2
По таблиці визначаємо два найближчі значення величини b:
при d = 150 мм b = 31,18/ (м3 /сек)2
при d = 200» b = 6,78
Для того, щоб трубопровід забезпечив подачу заданої витрати води, необхідно прийняти найближче більше значення діаметру d = 200 мм.
Приклад 4
Вода подається по трубопроводу, складеному з послідовно сполучених труб різних довжин і діаметрів: l 1 = 700 м, l 2 = 500 м, l 3 = 200 м, d1 – 300 мм, d2 = 250 мм, d3 = 200 мм. Визначити втрати опору в трубопроводі при витраті води Q = 45 л/сек.
Для визначення втрати опору скористаємося залежністю (16);

По таблиці для n = 0,012 знаходимо витратні характеристики для відповідних діаметрів: К1 = 1,12 м3 /сек , К2 – 0,692 м3 /сек і К3 = 0,384 м3 /сек .
Тоді
0,0452 = 5,98 м
.
4 . Гідравлічний розрахунок коротких трубопроводів
При гідравлічному розрахунку коротких трубопроводів враховуються як втрати опору по довжині, так і місцеві втрати опору. Якщо місцеві опори розташовані один від одного на відстані не менше 20 діаметрів труби, то в цьому випадку коефіцієнт опору даного місцевого опору практично не залежить від сусідніх опорів. Для визначення загальних втрат опору необхідно встановити коефіцієнт опору системи ζсист = Σζ..
При гідравлічному розрахунку коротких трубопроводів постійного діаметру можуть зустрітися наступні основні задачі:
1) відомі діаметр і витрата рідини в трубопроводі, а також типи місцевих опорів, вимагається визначити втрати опору;
2) відомі діаметр трубопроводу і втрати опору в ньому, вимагається визначити витрату рідини в трубопроводі;
3) вимагається визначити діаметр трубопроводу для пропуску заданої витрати при відомих втратах опору.
Перші дві задачі можна вирішити безпосередньо по формулах:
(22)

Третя задача розв'язується підбором, оскільки коефіцієнт опору системи також є складною функцією від діаметру труби, визначення якого є мета задачі. В цьомувипадку слід будувати графік
і по ньому знаходити діаметр, що відповідає рівності
.Якщо втратамипо довжині можна нехтувати і жоден з коефіцієнтів, що враховують місцеві опори, не залежить від діаметру труби, то діаметр трубопроводу визначається безпосередньо по формулі
.
(23)
Цією ж формулою можна користуватися при рішенні задачі шляхом підбору. Заздалегідь визначається діаметр трубопроводу без врахування втрат опору по довжині. По цьому діаметру уточнюється коефіцієнт опору системи. Потім значення ζсист підставляється у формулу (23) і обчислюється уточнений діаметр трубопроводу.
Коли місцеві опори в трубопроводі розташовані на відстані менше 20d один від одного, то внаслідок відсутності інших прийомів розрахунку, що враховують взаємний вплив місцевих опорів, доводиться нехтувати цим впливом; при цьому розуміється, такий розрахунок носитиме тільки наближений характер.
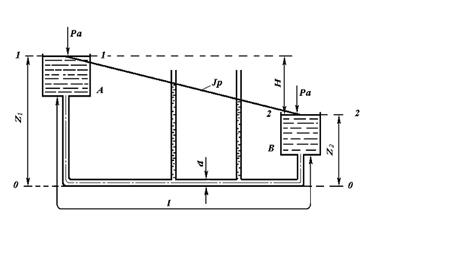
Розрахунок сифона.
Сифон є коротким трубопроводом, по якому рідина рухається з живлячого резервуару А в приймальний В . Особливістю сифона є його здатність піднімати рідину на висоту Z над рівнем її в живлячому резервуарі. Принцип дії сифона заснований на утворенні вакууму в підвищеній частині сифона (в районі перерізу 2–2, що створює різницю тиску між атмосферним тиском, діючим на поверхню рідини в живлячому резервуарі А , і зниженим тиском в області вакууму в перерізі 2–2. Для того, щоб сифон почав діяти, треба заздалегідь заповнити його рідиною (наприклад, за допомогою спеціального насосу – вакууму).
Розрахунок сифона полягає у визначенні його пропускноїздатності і граничного значення висоти Z, при якій сифон може ще працювати. Розрахунок пропускної спроможності сифонів проводиться по формулі
Q
де через Н
позначена різниця рівнів рідини в резервуарах А
і В
, а через
– сумарний коефіцієнт опору трубопроводу.
Для розрахунку висоти Z припустимо, що резервуари А і В сполучені сифоновим трубопроводом. Напишемо рівняння Бернуллі для перерізів 1–1 і 2–2 щодо площини порівняння 0–0, співпадаючої з рівнем води в живлячому резервуарі A :

тут p 2 – гідродинамічний тиск в перерізі 2–2;
υ – середня швидкість руху рідини в трубі;
Z – відстань від рівня рідини в резервуарі А доцентру труби в перерізі 2–2;
Σζі – сума коефіцієнтів місцевих опорів трубопроводу між перерізми 1–1 і 2–2. Оскільки

то
(25)
і
. (26)
Оскільки граничне значення вакууму складає приблизно 10 м вод. ст., то, враховуючи наявність втрат опору в сифоні, а також неможливість великого пониження тиску в ньому, щоб уникнути кавітації висоту Z звичайно приймають не більше 7–8 м.