| Скачать .docx |
Реферат: Виды резания древесины
МИНИСТЕРСТВО ОБРАЗОВАНИЯ РОССИЙСКОЙ ФЕДЕРАЦИИ
Костромской государственный технологический университет
Кафедра механической технологии древесины
Дисциплина «Оборудование отрасли»
ОТЧЕТ
по лабораторной работе 00-I
«Виды резания древесины»
Кострома 2009
1. Цель работы
Изучение главных и промежуточных видов резания и ознакомление с основными понятиями процессов резания.
2. Содержание работы
Изучить с помощью лабораторных образцов главные и промежуточные виды резания древесины.
Определить диапазон изменения угла встречи (φ) и угла положения лезвия (φл )для каждого аила резания. Представить в отчете работы главные и промежуточные виды резания с учетом определения простейшего резания.
3 . Основные понятия процесса резания
Резанием по ГОСТ 1774345 называется механическая обработка древесины, при которой происходит нарушение связи между частицами древесины по заданному направлению с образованием стружки или без нее. Резание осуществляется с целью получения изделия требуемой формы и размеров путем воздействия на древесину твердого тела – резца.
При всем многообразии режущего инструмента могут быть выделены фундаментальные части: режущая часть, при помощи которой инструмент разрезает древесину; присоединительная часть, с помощью которой инструмент связывается со станком: корпус, связывающий между собой режущую и присоединительную часть.
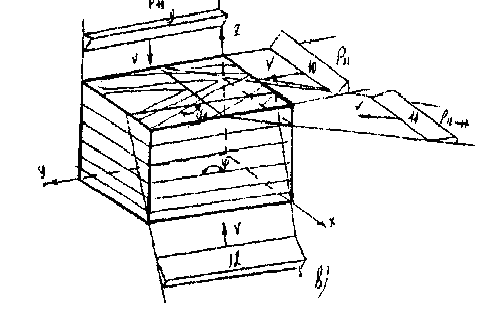
Процесс резания древесины существенно отличается от резания других однородных материалов из-за сложности ее физико-механических свойств. Древесина – материал неоднородного строения в трех взаимоперпендикулярных плоскостях. Этим трем взаимоперпендикулярным плоскостям соответствуют три главных вида резания: торцовое, продольное и поперечное, которые представлены на рис. 3.1.

Риc. 3.1. Схема главных видов резания древесины
1,2 – торцовое резание 3,4 – поперечное резание 5,6 – продольное резание
Торцовым резанием, или резанием в торец, называют резание, при котором плоскость резания рп и направление резания перпендикулярно волокнам древесины.
Поперечным резанием, или резанием поперек волокон, называют резание, при котором плоскость резания параллельна волокнам, а направление резания перпендикулярно к ним.
Продольным резанием, или резанием вдоль волокон, называют резание, при котором плоскость резания и направление резания параллельны волокнам древесины.
Виды резания, в которых плоскость резания занимает промежуточное положение между положением в двух главных видах, называют переходными. Возможны переходные виды резания, продольно-торцовое, торцово-поперечное, продольно-поперечное, поперечно-продольное.
Схемы переходных видов резания представлены на рис. 3.2. Продольно-торцовое резание показано на рис. 3.2. Характеристикой положения плоскости резания является угол φ встречи лезвия инструмента с волокнами – угол между вектором скорости резания и направлением воловен. Как следует из рисунка, значение угла встречи 0° и 180° соответствует торцовому резанию: при 0°<φ<90° – торцово-продольному резанию по волокнам: 90° – продольному резанию: 90°< φ <180° – продольно-торцовое резание по волокнам.
Продольно-поперечное резание (рис. 3.2.в) характеризует угол φл между лезвием инструмента и направлением волокон. При φл 0° и 180° соответствует продольному резанию: при 0°< φл 90° – продольно-поперечному резанию: 90° – поперечное резание, 90°< φл <180* поперечно-продольное резание.
Торцово-поперечное резание (рис. 3.2.б). характеризует так же угол φл . При φл 0° и 180° соответствует торцовому резанию: при 0°< φл <.90° – торцово-поперечное резание: 90° – поперечное резание. 90°< φл <180° – поперечно-продольное резание.
Для более полной характеристики резания вводится угол φ между вектором скорости резания и направлением волокон.



Рис. 3.2. Переходные виды резания
а) продольно-торцовое, б) торцово-поперечное, в) продольно-поперечное,
1 – продольное, 2 – торцовое, 3 – продольно-торцовое, 4 – торцово-продольное. 5 – поперечное, 6-торцовое. 7-полеречно-торцовое, 8-торцово-поперечное, 9-поперечное. 10 – продольное, 11 – продольно-поперечное. 12 – поперечно-продольное.
Изучение видов резания, характеризующих процесс резания древесины клиновидным резцом, является основной задачей данной лабораторной работы.
Наиболее распространенным является резание древесины со стружкообразованием, когда для придания изделию нужного размера или формы производится послойное срезание древесины, называемой стружкой, которое схематично показано на рис. 3.3.

Рис. 3.3. Процесс резания древесины
1-образующаяся новая поверхность резания; 2-режущий инструмент (резец); 3-отделяемя часть обрабатываемого матерним (стружка); 4 – отделяемая со стружкой обрабатываемая поверхность; 5-обрабатываемая заготовка; 6-передняя грань; 7-задняя грань.
Элемент резца представлен на рис. 3.4. Резец, представляющий собой острый клин, имеет переднюю и заднюю грани, которые, пересекаясь, образуют главную режущую кромку (лезвие). У реального резца главная режущая поверхность кромка представляет собой переходную поверхность от передней к задней граням.

Рис. 3.4. Элементы резца
На рис. 3.4. показаны углы резания
- передний угол.
- угол заострения,
-задний угол, 8=
+
- угол резания. Боковые грани резца АДF и ВСЕ, пересекаясь с передней и задней гранью образуют боковые режущие кромки, которые участвуют а работе только при закрытом резании, когда длина лезвия меньше ширины обрабатываемой поверхности. В процессе резания должны совершаться два главных движения: движение резания, т.е. движение резца или обрабатываемого материала, необходимое для срезания одной стружки, и движение подачи – движение резца или обрабатываемого материала для последующего срезания новых стружек. Каждое движение характеризуется траекторией и скоростью.
Для облегчения изучения видов резания древесины в лабораторной работе рассматривается простое элементарное резание, которое характеризуется следующими положениями: резание открытое, режущая кромка абсолютно острая – прямолинейная; движение – прямолинейное поступательное; вектор скорости резания нормален к режущей кромке; скорость, сила резания, углы
и 8, номинальная толщина е и ширина В стружки – постоянны, угол перерезания волокон φ н положение лезвия – φл
должны быть постоянными на всем пути срезания стружки.
4. Выводы
При выполнении данной лабораторной работы мы познакомились с основными и промежуточными видами резания и элементами резца.
Приложение I
Пример выполнения главных видов резания

Рис. П. 1. Поперечное резание

Рис. П. 2. Продольное резание

Рис. П. 3. Торцовое резание