| Скачать .docx |
Реферат: Автоцементовози
Міністерство освіти та науки України
Національний університет водного господарства та природокористування
Кафедра дорожніх, меліоративних машин і обладнання
Реферат
На тему:
«Автоцементовози»
Виконала:
Студентка 3-го курсу МЕФ
Групи ОХВ-31
Ліннік В.В.
Перевірив:
Науменко Ю.В.
Рівне – 2006р.
ПЛАН
1. АВТОЦЕМЕНТОВОЗ ТЦ-3А (С-853А)
2. АВТОЦЕМЕНТОВОЗ САМОРОЗВАНТАЖНИЙ ТЦ-4 (С-927)
3. АВТОЦЕМЕНТОВОЗ ТЦ-6А
4. АВТОЦЕМЕНТОВОЗ ТЦ-11
5. АВТОЦЕМЕНТОВОЗ ТЦ-2А (С-652А)
ВИКОРИСТАНА ЛІТЕРАТУРА
1. АВТОЦЕМЕНТОВОЗ ТЦ-3А (С-853А)
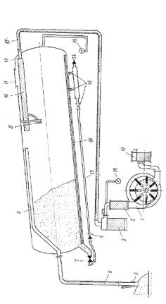
Автоцементовоз призначений для безтарної доставки цементу із завантаженням з складів суцільного і розвантаженням в склади силосного і комори типів. Він складається (мал. 1) з автотягача сідельного типу ЗІЛ-130В1-66 і цистерни-напівпричепа.

Рис. 1. Конструктивна схема автоцементовоза:
1 — тягач; 2 — компресор; 3 — завантажувальний люк; 4 — приєднувальний пристрій; 5 — цистерна-напівпричіп; 6 — гальмо стоянки; 7 — розвантажувальний рукав; 8 — розвантажувальний пристрій; 9 — наполегливий пристрій; 10 — аеролоток
Сідельний тягач обладнаний сідельно-зчіпним пристроєм і висновками до пневмоелектричного обладнання цистерни-напівпричепа. Передня частина цистерни-напівпричепа спирається па сідельний пристрій тягача, задня — через кронштейни і ресори на вісь ходових коліс.
Цистерна циліндрової форми з еліптичними днищами нахилена у бік розвантаження на 7°. У верхній частині цистерни є завантажувальний люк з гумовою прокладкою, герметично що закривається кришкою за допомогою важеля і гвинта з гайкою. Відкриття і закриття люка проводяться з майданчика обслуговування, розташованого на цистерні. Завантажувальний люк також призначений для проведення монтажних робіт. Усередині цистерни з двох сторін приварені укоси.
В нижній частині цистерни кріпиться розвантажувальний патрубок з краном і продувною форсункою. Кран служить для регулювання продуктивності і швидкої зупинки розвантаження цементу. В нижній частині цистерни укоси утворюють жолоб, в який встановлюється знімний аеролоток.
Аеролоток складається з металевого жолоба і м'якого пористої перегородки шириною 200 мм Для заміни аеролатка є монтажний люк в задньому днищі цистерни. З аеролотка цемент поступає до розвантажувального отвору і під тиском транспортується по трубопроводу в силос.
Автоцементовоз дозволяє проводити: гравітаційне завантаження з силосу; розвантаження в склади силосного і комори типів за допомогою власного і індивідуального компресора. Завантаження автоцементовоза здійснюється за допомогою бічних або донних вивантажників силосу через завантажувальний люк; завантажуваний цемент повинен бути сухим і чистим, без грудок і чужорідних предметів. Загачений автоцементовоз зважується на терезах і прямує споживачу.
Пневмооборудованіс для розвантаження цементу складається з ротаційного компресора, вологомасловідділювача, колектора із запобіжним клапаном і манометром, системи повітропроводів з кранами і зворотними клапанами.
Компресор встановлений на тягачі. Привід його здійснюється від двигуна через коробку відбору потужності, карданний вал з шківом і клинопасову передачу. Для очищення всмоктуваного повітря на компресорі встановлений масляний фільтр; очищення повітря, що нагнітається, відбувається у вологомасловідділювачі.
Гальмо стоянки служить для загальмовування цистерни-напівпричепа при зчепленні і стоянці. Під час стоянки без тягача і цементу цистерна-напівпричіп спирається на дві висувні опори (стійкі).
Опорний пристрій служить передньою опорою цистерни-напівпричепа, коли вона відчеплена від тягача. Воно складається з правої і лівої опор, шарнірно прикріплених до цистерни.
Розвантажувальні рукави до розвантажувального патрубка автоцементовоза і до транспортного цементопроводу силосу під'єднують за допомогою щвидкоз’ємних затисків.
Розвантаження автоцементовоза (мал. 2) здійснюється за допомогою стислого повітря, яке подається від компресора до повітропроводу цистерни-напівпричепа. Повітря подається під тканину аероднища і до продувної форсунки розвантажувального пристрою. При досягненні в місткості робочого тиску (0,1...0,2 МПа) повітря поступає на продувочнуфорсунку, і розвантажувальний кран відкривається.
Закінчення розвантаження визначають по манометру, встановленому на колекторі; свідчення манометра в цей час падає до нуля.

Мал. 2. Схема розвантаження автоцементовоза:
1 — компресор; 2 — кран; 3 — запобіжний клапан; 4 — манометр; 5 — аеролоток; 6 — зрівняльна труба; 7 — завантажувальний люк; 8 — цистерна; 9 — замочний кран; 10 — зворотний клапан; 11 — вентиль; 12 — вологомасловідділювач
За відсутності силосних складів, обладнаних приймальним цементопроводом, можливе перевантаження цементу в склади комор, які слід додатково герметизувати. Для зменшення пилення цементу повітря необхідно подавати тільки в місткість, а не на продувочну форсунку.
Цистерна-напівпричіп, від'єднана від автотягача і встановлена на опорні стійки, може служити складом цементу; стисле повітря для пневморозгрузки її подасться від пересувного компресора.
ТЕХНІЧНА ХАРАКТЕРИСТИКА
Вантажопідйомність, т8
Місткість цистерни, м3 7
Продуктивність по розвантаженню, т/хв 0,5... 1
Дальність подачі, м:
по горизонталі 50
у тому числі по вертикалі 25
Робочий тиск в цистерні, МПа 0,1
Діаметр завантажувального люка, мм 400
Діаметр розвантажувального рукав, мм 100
Цистерна:
внутрішній діаметр, мм 1400
довжина, мм5550
Компресор:
тип.ротаційний PK6/1
продуктивність, м3/мин4
Габаритні розміри, мм:
довжина..8890
ширина ……………………………….2350
висота.2950
Маса, кг:
без вантажу7350
з вантажем 15350
Виготівник — прилуцький завод будівельних машин імені XXV з'їзду КПРС (251350, р. Прилуки Чернігівської обл.).
2. АВТОЦЕМЕНТОВОЗ САМОРОЗВАНТАЖНИЙ ТЦ-4 (С-927)
Автоцементовоз (мал. 3) призначений для транспортування безтарного цементу від складів силосного і комори типів, критих залізничних вагонів і вагонів-цементовозів на приоб’єктні склади. Він може використовуватися для перевезення алебастру, мела, заповнювача асфальтобетону, мінеральних добрив і інших матеріалів, близьких по фізичних властивостях цементу.

Мал. 3. Автоцементовоз ТЦ-4 (С-927)
Навантажувально-розвантажувальні операції, виконувані автоцементовозом; гравітаційне завантаження з силосу, вакуумне самозавантаження з складів типа комори і критих залізничних вагонів, пневматичне перевантаження цементу з вагонів-цементовозів, розвантаження в оклади силосного і комори типів за допомогою власного або будь-якого іншого компресора.

Рис 4. Конструктивна схема цементовоза
1 - - автотягач; 2 — компресор; 3 — завантажувальний люк; 4 — цистерна-напівпричіп; 5 — рукав; 6 — розвантажувальний люк; 7 — опорна стійка

Мал. 5. Схема самозавантаження автоцементовоза: / - - ротаційний компресор; 2 — інерційний фільтр; 3 — фільтр II ступеня; 4 — зворотний клапан; 5 — огорожне сопло; 6 — завантажувальний рукав; 7 — розвантажувальний рукав; 8 — розподільна завантажувальна труба; 9 — сигналізатор рівня; 10 — фільтр Iступеня; 11 — кришка люка; 12 — цистерна; 13 — рукав; 14 — мановакуумметр; 15 — пробковий крап; 16 — аерожолоб; 17 — повітропровід; 18 - вакуумметр; 19 — вологомасло-відділювач
Автоцементовоз складається із спеціального устаткування тягача ЗІЛ-130В1-66 і цистерни-напівпричепа (мал. 4). Сідельний тягач, виготовлений на базі автомобіля ЗІЛ-130 із заднім провідним мостом, обладнаний сідельно-зчіпним пристроєм і висновками до пневмоелектро обладнання цистерни-напівпричепа. На тягачі встановлений ротаційний компресор з приводом від двигуна тягача. Цистерна-напівпричіп несучої безрамної конструкції спирається передньою частиною на сідельний пристрій тягача і задньої — на вісь ходових коліс. Цистерна циліндрової форми має еліптичні днища і нахилена у бік розвантаження на 7°.
Усередині цистерни з двох сторін під кутом 45° приварені укоси, які в нижній частині цистерни утворюють жолоб для установки знімного аеролотка. Аеролоток складається з металевого жолоба і м'якої пористої перегородки шириною 200 мм Заміна аеролотка і зняття його при ремонті здійснюються через монтажний люк в задньому днищі цистерни, зверху цистерни є завантажувальний люк з гумовою прокладкою, герметично що закривається кришкою за допомогою важеля і гвинта з гайкою.
В нижній частині цистерни кріпиться розвантажувальний патрубок з краном, продувною форсункою і кульовою головкою для приєднання швидкоз’ємного замка гнучкого цементовода. Кран служить для регулювання продуктивності і швидкого припинення розвантаження цистерни і забезпечує можливість створення тиску в цистерні до початку розвантаження.
Устаткування для самозавантаження (мал. 5) включає фільтри I і II ступенів, огорожне сопло з регульованою подачею повітря, розподільну завантажувальну трубу і сигналізатор рівня. За допомогою цього устаткування цемент можна забирати з підлоги критого залізничного вагону (складу комори) і завантажувати в цистерну автоцементовоза. Повітря з цистерни відсисається компресором через три ступені очищення і викидається в атмосферу. При заповненні цистерни автоцементовоза до встановленого рівня спрацьовує сигналізатор рівня, сполучений із звуковим сигналом автотягача, попереджаючи про необхідність припинення самозавантаження.
При розвантаженні автоцементовоза розвантажувальний патрубок за допомогою рукава з швидкоз’ємним замком з'єднується з транспортним цементоводом силосного окладу цементу і включається в компресор, подаюче повітря в цистерну. По досягненні в цистерні робочого тиску до продувної форсунки, встановленої на розвантажувальному патрубку, подається повітря і відкривається розвантажувальний кран. Закінчення розвантаження визначається по манометру, свідчення якого в цей час падає до нуля.
Пневмообладнання для самозавантаження цементу складається з ротаційного компресора (він може працювати і в режимі вакууму-насос), вологомасловідділювача, колектора із запобіжним клапаном і манометром н системи повітреводів з кранами і зворотними клапанами.
Пневматична гальмівна система, ручне гальмо стоянки і електроустаткування цистерни-напівпричепа запозичена від напівпричепа МАЗ-885. Гальмо стоянки служить для загальмовування цистерни-напівпричепа при зчепленні і стоянці. Під час стоянки без тягача і цементу цистерна-напівпричіп спирається на дві висувні стійки.
ТЕХНІЧНА ХАРАКТЕРИСТИКА
Вантажопідйомність, т 8
Місткість цистерни, м3 7
Час, хв:
самозавантаження20
розвантаження 2 0
Дальність подачі, м;
по горизонталі50
по вертикалі. 25
Компресор:
типротаційний
продуктивність, м3 /хв 6
споживана потужність, кВт13,5
Робочий тиск в цистерні, МПа..... 0,1
Діаметр завантажувального люка, мм 400
Діаметр завантажувального патрубка, мм 75
Діаметр розвантажувального патрубка, ми 100
Найбільша швидкість руху по шосе, км/год 80
Габаритні розміри, мм:
довжина... 8890
ширина 2360
висота 2950
Маса (без вантажу), кг 7300
Виготівник — прилуцький завод будівельних машин імені XXV з'їзду КПРС (251350, р. Прилуки Чернігівської обл.).
3. АВТОЦЕМЕНТОВОЗ ТЦ-6А
Автоцементовоз (мал. 6) призначений для доставки цементу і інших пилоподібних сипких матеріалів, неагресивних по відношенню до матеріалу стінок цистерни, що мають вогкість не більше 1,5% і насипну масу не більше 1,2 т/м3 .
Автоцементовоз (мал. 7) є, автопоїзд, складений з сідельного тягача і цистерни-напівпричепа.
Сідельний тягач, виготовлений па базі автомобіля МАЗ-5429 із заднім провідним мостом, обладнаний сідельно-зчіпним пристроєм і висновками до пневмоелектрообладнання цистерни-напівпричепа. На його шасі встановлений компресор з приводом від двигуна тягача.
Передня частина цистерни-напівпричепа спирається на сідельний пристрій тягача, а задня через кронштейни і ресори на вісь ходових коліс. Вісь цистерни нахилена у бік розвантаження на 7º.
Цистерна має завантажувальний люк з кришкою, що герметично закривається. Люк закривається і відкривається з майданчика обслуговування, розташованого на цистерні.
Розвантаження цистерни аеропневматичне. Усередині цистерни є два жолоби, в які встановлюються знімні аеролотки.

Мал. 6. Автоцементовоз ТЦ-6А
Аеролоток є сталевим жолобом з м'якою пористою перегородкою.
В нижній частині цистерни знаходиться розвантажувальний патрубок із заслінкою, продувною форсункою і кульовою головкою.
Кульова головка служить для приєднання швидкоз’ємного замка гнучкого цементопровода.
Заслінка призначена для швидкого припинення розвантаження цистерни, а також для створення тиску в цистерні до початку розвантаження.
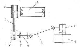
Тиск в цистерні створюється компресором. Привід компресора (мал. 8) здійснюється від коробки відбору потужності силового агрегату тягача за допомогою карданного валу і клинопасової передачі. Компресорна установка складається з ротаційного компресора, вологомасловідділювача, манометра, запобіжних клапанів.
Вісь напівпричепа виконана з труби із запресованими по кінцях цапфами, на яких встановлені колеса. Підвіска осп здійснена за допомогою двох основних і двох додаткових полів у еліптичних ресорах.

Мал. 7. Загальний вид автоцементовоза:
1 - цистерна; 2 - - електроустаткування; 3 — розвантажувальний пристрій; 4 — вісь напівпричепа; 5 —крила; 6 — задня опора; 7 — гальмо стоянки ; 5 — опорні стопки; 9 - - устаткування пневмотормоза; 10 — рукав; 11 — компресорна установка; 12 — тягач; 13 — блокування люка; 14 — майданчик; 15 — пневмообладнання для розвантаження
Маточини коліс встановлені на двох конічних роликопідшипниках.
Колеса і шини напівпричепів уніфіковані з колесами і шпильками автомобіля МАЗ-5429.

Мал. 8. Кінематична схема приводу компресора:
1— коробка зміни передач автотягача ЗІЛ-130В1; 2— карданний вал; 3 — опора шківа; 4 — підшипники; 5, 7 - шків; 6 — клинозмінна передача; 8 — компресор; 9 — коробка відбору потужності
Гальмування напівпричепа відбувається при натисненні на гальмівну педаль тягача. Тиск в магістралі пневмосистеми знижується, а в балоні через шток поршня підіймається. При цьому клапан впускання відкриває доступ повітря від повітряного балона до гальмівних камер, а випускний клапан, що повідомляє гальмівні камери з атмосферою, закривається. Стисле повітря в гальмівних камерах віджимає діафрагму, що переміщає шток. Шток повертає розтискний кулак, гальмівні колодки притискаються до гальмівного барабана і проводять гальмування коліс.
Гальмо стоянки напівпричепа служить для загальмовування цистерни-напівпричепа при зчепленні, розчіпленню і при стоянці.
Привід гальма стоянки розташований під напівпричепом з правої сторони по ходу.
Напівпричіп має опорний пристрій, що складається з правої і лівої опор. В транспортному положенні опорний пристрій відкидається назад і фіксується в цьому положенні штирями.
ТЕХНІЧНА ХАРАКТЕРИСТИКА
Вантажопідйомність, т до 13,5
Робочий тиск в цистерні, МПа0,15 -
Робоча температура в цистерні ºСвід —40 до 4-40
Час вивантаження, міндо 22
Дальність транспортування цементу, м:
по горизонталі 50
по вертикалі 25
Цистерна:
кут нахилу у бік розвантаження, град 7
внутрішній діаметр, мм 1600
Швидкість транспортна, км/год 75
Компресор:
типротаційний РВК-6
продуктивність по всмоктуванню, м3 /мин 6
робочий тиск, МПа0,15
споживана потужність, кВт14,5... 18,5
частота обертання ротора, з 25
охолоджуванняповітряне примусове
Габаритні розміри, мм:
довжина. 9255
ширина 2500
висота 3000
Маса автоцементовоза, т 10,7
Виготівник — Красногорській завод цементного машинобудування (143400, р. Красногорськ Московської обл.).
4. АВТОЦЕМЕНТОВОЗ ТЦ-11
Автоцементовоз(мал. 9) призначений для транспортування безтарного цементу з цементних заводів і базових складів на приоб’єктні склади в умовах помірного клімату.

Мал. 9. Автоцементовоз ТЦ-11
Автоцементовоз складається з сідельного тягача КамАЗ-5410 і цистерни-напівпричепа (мал. 10). Тягач забезпечений сідельно-зцепним пристроєм і виводами до пневмо-електро обладнання цистерни полуприцепа.
На тягачі змонтована на спеціальній рамі компресорна установка РКВН-6Л з приводом від двигуна тягача.

Мал. 10. Конструктивна схема автоцементовоза:
1 - сідельний тягач КамАЗ-5410; 2 - компресорна установка; 3 - пневмообладнання для розвантаження; 4 – завантажувальний люк 5- цистерна напівпричіп; 6 – розвантажувальні рукави; 7 - ходова частина; 8 - запасне ко-лесо, 9 -опорний пристрій; 10 — зчіпний пристрій
Напівпричіп складається з цистерни, аерруючого пристрою пневматичного устаткування для розвантаження, розвантажувальних рукавів, ходової частини з гальмівною системою, опорного пристрою і електроустаткуванні.
Несуча циліндрова цистерна з еліптичними днищами нахилена у бік розвантаження. Передньою опорною частиною, із закріпленим на ній шворню цистерна лежить па сідельному пристрої тягача. До задньої частини цистерни приварена задня опора.

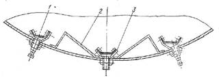
Рис.11. Аеруючий пристрій автоцементовоза: 1 — аеруюча тканина; 2 - розсікач; 3 — аерожолоб
Цистерна є герметичною судиною циліндрової форми. Завантажувальний люк діаметром 400 мм оснащений кришкою, що герметично закривається. Кришка притискається важелем з гвинтом і гайкою. Завантаження цементу пневматичне, самопливом або іншим способом. Розвантаження цистерни аеропневматичне. В задньому днищі цистерни є люк для монтажу аеролотків, в нижній частині — розвантажувальний люк, до якого приєднаний замочний кран і наконечник для під'єднування розвантажувальних рукавів. Усередині цистерни в нижній її частині змонтований аеруючий пристрій (мал. 11). Він складається з трьох аерожолобів і двох розсікачів. Аерожолоб є лотком, звареним з листової сталі, на який натягнута аеруюча тканина. Під тканину подається стисле повітря від компресорної установки через систему повітропроводів. Повітря, проникаючи через тканину лотків, аерує нижні шари цементу. Цемент придбаває текучість, стікає по ухилу до розвантажувального люка і транспортується по трубопроводу. Повітря для розвантаження цементу подається від компресорної установки РКВН-6Л або від стороннього джерела повітря, що забезпечує необхідний тиск і продуктивність.
Компресорна установка, обладнана повітряним фільтром, вологомасловідділювачем і запобіжним клапаном, з'єднується з пневматичною системою напівпричепа рукавом з швидкоз’ємним з'єднанням (пожежна головка).
Вологомасловідділювач інерційного типу призначений для очищення повітря, що нагнітається в цистерну. В нижній частині його є кран і конденсатовідвід. Запобіжний клапан на нагнітальному патрубку компресора служить для забезпечення постійного робочого тиску в цистерні. Повітря для розвантаження подається під тканину аерожолобів і до наконечника розвантажувального пристрою.

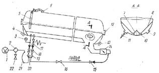
Мал. 12. Пневматична схема автоцементовоза:
1 — ротаційний компрессор-вакуум-насос РКВН-6Л; 2 - - запобіжний клапан; 5 — влагомаслоотделитель; 4 — сполучна головка ГЦ-50; 5 — клапан 50-16; 6 — муфтовий кран 15-10; 7, 8, 13 — муфтові крани 25-10; 9 — муфтовий кран 50-10; 10 - клапан 25-16, товый кран 50-10; 10— клапан 25-16, 11 — — цистерна; 12 — манометр ОБМ-1-100-2,5
Пневматичне устаткування (рис 12) для розвантаження складається з трьох кранів для підведення повітря під аерожолоби, зворотного клапана, сполучних трубопроводів і з’єднувальної головки для під'єднування рукава від компресорної установки. До трубопроводу приєднаний крап для обдуву цистерни після завантаження.
Управління піддувом здійснюється за допомогою крапу, розташованого на колекторі пневмосистемі в передній частині цистерни. На цистерні вмонтовується манометр для контролю за тиском..
В транспортному положенні рукава укладаються па спеціальні кронштейни з лівого боку цистерни, а завантажувальний пристрій закривається заглушкою.
Ходова частина напівпричепа, гальма і опорні пристрої уніфікована з вузлами напівпричепа КамАЗ-5320.
Ходова частина напівпричепа складається з рами візка, підвіски з осями, здвоєними колесами і гальмівними механізмами, опорного пристрою і зчіпного пристрою.
Опорний пристрій складається з лівої і правої опор, сполучених поперечиною. В корпусі опори змонтований гвинтовий редуктор, що складається з пари циліндрових і пари конічних шестерень.
Вали провідних конічних шестерень редукторів опорного пристрою зв'язані між собою проміжним валом із сполучними муфтами. Управління приводом опорного пристрою можливо з обох боків напівпричепа.
Напівпричіп забезпечений двома гальмівними системами - робочої і стоянки. Гальма колодки, барабанного типу, з пневмоприводом. Гальмо стоянки ручне. Під час стоянки без тягача і цементу цистерна-напівпричіп спирається на дві опорні стійки.
ТЕХНІЧНА ХАРАКТЕРИСТИКА
Вантажопідйомність, т14
Робочий тиск при розвантаженні, МПа0,15
Дальність подачі, м:
по горизонталі50
по вертикалі..........25
Час розвантаження, мін30
Діаметр розвантажувального люка, мм4 00
Місткість цистерни, м3 12,2
Внутрішній діаметр цистерни, мм 1600
Діаметр розвантажувального рукава, мм100
Компресор:
типротаційний компрессор-вакуум-насос
продуктивність, м3 /хв6
робочий тиск, МПа0,15
частота обертання, с~1 25
Габаритні розміри, мм:
довжина10750
ширина2480
висота3450
Маса автоцементовоза (без вантажу), т11,77
Виготівник — Красногорський завод цементного машинобудівництва (143400, р. Красногорськ Московської обл.).
5. АВТОЦЕМЕНТОВОЗ ТЦ-2А (С-652А)
Автоцементовоз (мал. 13) призначений для транспортування безтарного цементу з цементних заводів і базових складів (цементних елеваторів) на приоб’єктні склади і розвантаження його в ці склади аеропневматичним способом. В автоцементовозі можна також перевозити алебастр, заповнювачі асфальтобетону інертний пил для шахт, фосфорну і вапняну муку і інші матеріали, близькі по фізичних властивостях до цементу.
Автоцементовоз складається з тягача КрАЗ-258 і цистерни полупричепа (мал. 14).
Тягач забезпечений сідельно-зчіпним пристроєм і висновками до пневмообладнання цистерни-напівпричепа. На тягачі встановлений компресор з приводом від двигуна тягача. Цистерна-напівпричіп несучої безрамної конструкції спирається передньою частиною на сідельний зчіпний пристрій тягача і задньої — на ходовий візок від напівпричепа ЧМЗАП-5523. Цистерна циліндрової форми з еліптичними днищами нахилена у бік розвантаження на 6°30´.

Мал. 13. Автоцементовоз ТЦ-2Л (С-652А)
У верхній частині цистерни є два завантажувальні люки, призначені також для внутрішнього огляду цистерни. Усередині цистерни (мал. 15) встановлено два аерожолоби, службовці для аерації і переміщення цементу до розвантажувального пристрою. Цей пристрій кріпиться із зовнішньої сторони цистерни в це нижній задній частині і складається з розвантажувального патрубка, патрубка з відведенням для додаткової подачі повітря і кульового наконечника для приєднання розвантажувального рукава з швидкодійними замками.

Мал. 14. Конструктивна схема автоцементовоза:
1 - сідельний тягач; 2 — компресор; 3 - - цистерна-напівпричіп; 4 — розвантажувальний пристрій; 5 — опорна стійка
Для стогону цементу на аерожолоби усередині цистерни уздовж всієї неї довжини приварені під кутом 50° до горизонту укоси, виконані з листової сталі і що спираються на ребра. Для вирівнювання тиску усередині цистерни і в підукісному просторі встановлена врівноважуюча труба.

Мал. 15. Схема цистерни автоцементовоза:
1 — компресор; 2 - влагомаслоотделитель; 3 — манометр; 4 — штуцер; 5 — зрівняльна труба; 6 - - завантажувальний люк з сигнально-предохраннтельним пристроєм; 7 - - роздільник; 8 — укіс; 9 — бічний люк; 10 — аеролоток; 11 -кран скидання повітря; 12 — монтажний люк; 13 — штуцер; 14 — розвантажувальний пристрій; 15 — зворотний клапан піддува: 16 — вентиль піддува; 17 — запобіжний клапан; 18 — зворотний клапан; 19 — муфтовий кран; 20 - колектор; 21 — рукав подачі повітря в цистерну; 22 — зливний крип
Компресор:
типРК-6/1
продуктивність, м3/мин6
Робочий тиск в цистерні, МПа0,15
Діаметр завантажувального люка, мм400
Число завантажувальних люків2
Розвантажувальний рукав:
число2
діаметр, мм100
довжина, м4,2
Габаритні розміри, мм:
довжина13200
ширина.... 2630
висота3800
Маса, кг:
без вантажу7050
з вантажем17600
Виготівник -- слов'янський завод будівельнихмашин імені
XXV з'їзду КПРС {343205, р. Слов'янок Донецькоїобл.).
Повітря, необхідне для розвантаження цементу, подається від ротаційного компресора РК-6/1, встановленого на тягачі. Для очищення всмоктуваного повітря на компресорі встановлений фільтр, а для очищення повітря, що нагнітається -- вологомасловідділювач.
Ходова частина цистерни-напівпричепа запозичена від напівпричепа ЧМЗАП-5523. Гальма колодки, з пневмоприводом; управління гальмами від педалі з кабіни тягача, Стоянка трмоз ручна. Під час стоянки без тягача і цементу цистерна-напівпричіп спирається па дві опорні стійки, які підіймаються в транспортне положення лебідками; лебідки служать також для підняття в транспортне положення запасних коліс.
ТЕХНІЧНА ХАРАКТЕРИСТИКА
Вантажопідйомність, т22
Місткість цистерни, м321
Час розвантаження, мін45
Дальність подачі, м:
по горизонталі50
по вертикалі25
ВИКОРИСТАНА ЛІТЕРАТУРА
1.Борщевский А.А., Ильин А.С. Механическое оборудование для производства строительних материалов и изделий.— М., 1987. — 368 с.
2.Горбовец М.Н. Современные машины и оборудование для конвеерного производства изделий крупнопанельного домостроения. — М.: ЦНИИТЭстроймаш, 1987. — 44 с.
3.Горбовец М.Н. Состояние и перспективы развития оборудования для сборного железобетона. — М: ЦНИИТЭстроймаш, 1984. — 47 с.
А. Дуда ВТ. Цемент. — М.: Стройиздат, 1981. — 464 с.
5.Зубанов В.А., Чугунов Е.А., Юдин Н.А. Механическое оборудование стекольных иситаловых заводов. — М.: Машиностроение, 1984. — 368 с.
6.Малкин А.Я., Чалых А.Е. Диффузия и вязкость полимеров. — М.: Химия, 1979. —302 с.
7.Носенко НЕ. Механизация и автоматизация производства арматурных работ. — М.:Стройиздат, 1982. — 312 с.
8.Печные агрегаты цементной промышленности / С.Г. Силенок, Ю.С. Гризак, В.Н. Лямин и др. — М.: Машиностроение, 1984. — 166 с.
9.Роговой ММ. Технология искусственных пористых заполнителей и керамики. —М.: Стройиздат, 1979. — 319 с.
10.Сивко В.Й. Механічне обладнання підприємств будівельних виробів. — К.: Вищашк., 1994.— 364 с.
11.Технология строительного и технического стекла и ситаллов / В.В. Полляк, П.Д. Саркисов, В.Ф. Солинов, М.А. Царицын. — М.: Стройиздат, 1983. — 432 с.
12.Туренко А.В. Расчет глиноперерабатывающего оборудования и прессов пластического формования для производства керамических строительных изделий. — М.: РИОМИСИ им. В.В. Куйбышева, 1985. — 86 с.