| Скачать .docx |
Реферат: Исследование гасителя гидравлических ударов
Щербаненко В.В., студент, Оверко В.М., канд. техн. наук, доц., Донецкий национальный технический университет
Приведена схема устройства для защиты от гидравлических ударов с описанием его работы. Проведено математическое моделирование рабочего процесса гасителя гидравлических ударов.
Проблема борьбы с гидравлическими ударами на шахтных водоотливных установках исследуется давно, но не имеет однозначного решения к настоящему времени.
Увеличение мощности и длин трубопроводов водоотливных установок, как и других гидравлических систем, обуславливает увеличение опасности гидравлических ударов, величина которых, в связи с увеличением скоростей потоков в трубах, имеет тенденцию к росту. Гидравлические удары и сопровождающие их волновые процессы часто становятся причиной разрушения трубопроводов, арматуры, поломки насосов или других нарушений нормальной эксплуатации установок.
Наиболее распространенным и универсальным методом искусственного снижения величины гидравлического удара является сброс части транспортируемой жидкости. Вместе с тем существует проблема долговечности клапанной пары, которая подвержена интенсивному износу. Дело в том, что одним из основных требований к устройству защиты от гидроударов является длительность процесса перекрытия сливаемого потока. Так для напорных трубопроводов водоотливных установок глубиной 500 м время перекрытия потока, которое должно быть не менее 5 – 10 периодов гидравлического удара, составляет 8 – 15с. В режиме дросселирования потока отмечается ускоренный износ рабочих поверхностей клапанной пары, что существенно снижает долговечность устройства в целом.
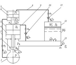
Одним из возможных решений данной проблемы является устройство [1], схема которого приведена на рисунке 1, а описание работы дано ниже.

Рисунок 1 - Схема устройства для защиты от гидравлических ударов.
После включения насосной установки и заполнения трубопровода 1 происходит автоматическая настройка устройства на рабочее давление. Это осуществляется следующим образом. Сначала жидкость воздействует через подводящий патрубок на тарель 2 сливного клапана и одновременно снизу на поршень 6 через трубку 3. Поскольку внутренние полости первоначально заполнены лишь воздухом при атмосферном давлении, подвижные системы, состоящие из тарели 2, поршня 4 и поршня 6 перемещаются вверх. Открывается сливной клапан под тарелью и жидкость начинает заполнять сливную трубу 13 и резервуар 12. При этом часть ее вытекает через отверстия, обозначенные aс и a3. Однако, поскольку сопротивление указанных элементов значительно больше, чем сопротивление сливного клапана, давление в полостях трубы 13 и резервуара 12 растет. При этом воздух, находящийся в резервуаре 12, сжимается и через обратный клапан 11 по трубке 8 поступает в полость над поршнем 6. Когда давление возрастет до величины, например, равной давлению в защищаемом трубопроводе, поршень 6 перемещается вниз и перекрывает отверстие в крышке корпуса 5. Жидкость, поступающая в полость над поршнем 4 по трубке 9, перемещает систему: поршень 4, тарель 2 вниз, последняя входит в контакт с седлом, и сливной клапан закрывается. В дальнейшем жидкость опорожняет внутренние полости трубы 13 и резервуара 12 через отверстие на правом фланце трубы. Однако благодаря наличию обратных клапанов 10 и 11 полости над поршнями 4 и 6 отсечены от атмосферы и давление в них находится на уровне установленного.
При гидравлическом ударе повышенное давление по трубке 3 передается под поршень 6 (давление над поршнем при этом не изменяется). Когда его значение достигает расчетной величины и сила от давления на поршень снизу превосходит силу от давления сжатого воздуха сверху, поршень перемещаются вверх и полость цилиндра 5 через отверстие в крышке соединяется с атмосферой. Под действием давления жидкости на тарель 2 последняя перемещается, открывается сливной клапан, происходят слив жидкости и гашение гидроудара. После снижения давления под поршнем 6, он перемещается вниз и своим нижним торцом перекрывает отверстие в крышке цилиндра. По мере заполнения сливных полостей и роста в них давления жидкость постепенно по трубке 9 через обратный клапан 10 натекает в полость цилиндра 5, перемещая поршень 4 и, соответственно, тарель вниз и перекрывая сливной клапан.
Затем полости трубы 13 и резервуара 12 опорожняются через отверстие в правом фланце трубы и устройство вновь готово к работе.
Возможны два исполнения описанного устройства, основное, когда полости трубы 13 и резервуара 12 имеют объем, достаточный для приема значительного количества транспортируемой жидкости – в этом случае сливной клапан гасителя работает в благоприятном режиме. Второе исполнение может быть применено при невозможности организации значительных объемов на сливе (например, в стесненных габаритах насосной камеры). В этом случае отверстие в правом фланце трубы 13 имеет размер расчетного проходного сечения гасителя, которое значительно больше диаметра сливного клапана, а функции плавного перекрытия потока переходят клапану и определяются гидравлическим сопротивлением трубки 9.
Из выше описанного ясно, что рабочий процесс гасителя может быть рассмотрен как состоящий из трех стадий: настройка на рабочее давление, срабатывание, закрытие клапана после срабатывания. Срабатывание сливного клапана с достаточной для практических расчетов точностью может рассматриваться как дискретный процесс [2]. Условие открытия сливного клапана в этом случае:
![]()
где: P - давление в защищаемом трубопроводе (текущее значе-ние); Pm - давление над поршнем 6; S’6, S6 – эффективная площадь поршня 6, соответственно, снизу и сверху.
Настройка на рабочее давление и закрытие клапана после срабатывания близкие по существу процессы. Рассмотрим более подробно процесс закрытия клапана после срабатывания.
Дифференциальное уравнение движения системы поршень – шток – клапан (тарель):

где: m - масса подвижных элементов; x - координата положения; t – время; Pn - давление над поршнем 4; Pk - давление в полости клапана; Sn - площадь поршня 4; S’k - площадь клапана, на которую действует давление Pk; Sk - площадь клапана; Fтр - сила трения.
Анализ подобных уравнений, как правило показывает [2], что инерционными свойствами системы, так же как и силами трения можно пренебречь, тогда уравнение (1) преобразовывается к виду:
![]()
Составим так же уравнения, связывающие давления и расходы между различными полостями гасителя:

Здесь Wp - объем резервуара; Wв - объем воздуха в резервуаре, остальные обозначения выполнены по схеме: а – гидравлические сопротивления, умноженные на плотность и ускорение свободного падения; Q – расходы; P - давления. Привязка индексов данных обозначений пояснена на рисунке.
Уравнение (7) предполагает, что процесс сжатия воздуха в резервуаре изотермический, что вполне допустимо [2].
Уравнения (2-9) послужили базой для создания программы расчета процесса закрытия сливного клапана гасителя гидравлических ударов. С ее помощью можно определить основные конструктивные параметры гасителя. Например, расчеты позволяют определить сопротивление трубки ап, которое необходимо выбирать из условия обеспечения достаточно длительного закрытия клапана (не менее 5 периодов гидравлического удара), что исключает возможность генерирования вторичных гидроударов при закрытии клапана. В частности, для условного прохода гасителя диаметром 45 мм для водоотливной установки, имеющей геометрическую высоту 500 м, гидравлическое сопротивление трубки должно быть эквивалентно сопротивлению отверстия с диаметром 0,7 мм.
Список литературы
1. А.С. 1281805 Устройство для гашения гидравлических ударов. Оверко В.М., Поля-ков Л.Л., Королев А.С. и др. Опубл. в БИ №1, 1987
2. Тимошенко Г.М., Оверко В.М. Исследования гасителя гидравлических ударов для шахтных водоотливных установок Киев,1980.-17с. Рукопись депонирована в УкрНИИНТИ.