| Скачать .docx |
Реферат: Проектирование средств автоматизации и технологической оснастки
МИНИСТЕРСТВО ОБРАЗОВАНИЯ РОССИЙСКОЙ ФЕДЕРАЦИИ
МОСКОВСКАЯ ГОСУДАРСТВЕННАЯ АКАДЕМИЯ ПРИБОРОСТРОЕНИЯ И ИНФОРМАТИКИ
Балашихинский филиал МГАПИ
ТИПОВОЙ РАСЧЕТ
по дисциплине
“Проектирование средств автоматизации и технологической оснастки”
Студент ________/Кудряшов Д.В./
Группа БФ2 - 9541д
Отметка о зачете
Руководитель _______/Усачев Ю.И./
МОСКВА
1999
ИСХОДНЫЕ ДАННЫЕ.
Чертеж детали - см. рис. 1.1;
Деталь - валик;
Материал - сталь 45;
Масса - 0,51 кг;
Годовой объем выпуска - 5000.
Деталь.

Рис. 1.1.
Технологический процесс обработки валика.
Таблица 1.1.
Опе- рация |
Содержание или наименование операции | Станок, оборудование | Оснастка |
| 1 | 2 | 3 | 4 |
005 010 015 020 |
Рубить пруток Æ28, выдерживая размер 3000 Править пруток Заправить концы прутка фасками под угол 20° Подрезать и центровать торец, точить шейку под резьбу М16х1,5, шейку Æ20js под шлифование, Æ26, Æ20js под шлифование, проточить три канавки b=3; точить фаски, отрезать деталь в размер 88 |
Пресс КБ 934 Пресс И5526 Токарный ХС-151 Токарный автомат 1Б240-6К |
Наладка, цанговый патрон |
| Операция | Содержание или наименование операции | Станок, оборудование | Оснастка |
| 1 | 2 | 3 | 4 |
025 030 035 040 045 050 055 060 065 |
Подрезать второй торец, выдерживая размер 12,8-0,1 , центровать торец, точить фаску Фрезеровать шпоночный паз b=5, выдерживая размер 14 окончательно Зачистить заусенцы Накатать резьбы М16х1,5-8g Шлифовать шейку Æ20js 6 (+0.0065 ) с подшлифовкой торца Æ26/Æ20js , выдерживая размер 30 окончательно; шлифовать шейку Æ20js 6 (+0.0065 ) с подшлифовкой торца Æ26/Æ20js , выдерживая размер 13 Промыть деталь Навесить бирку с обозначением детали на тару Технический контроль Нанесение антикоррозионного покрытия |
Токарный 16К20Ф3 Шпоночно-фрез. 6Р11Ф3 Вибр. машина ВМПВ-100 Резьбонакатный А9518 Кругло-шлифовальный 3М151Ф2 Моечная машина Плита по ГОСТ 10905-86 |
Цанговый патрон Станочные тиски Нож Центры |
Согласно заданию на типовой расчет в качестве автоматизированной операции принята операция 045 “Круглое шлифование”. За счет использования в этой операции автоматизированных средств загрузки и контроля она может быть преобразована в роботизированную.
ВЫБОР БАЗОВОЙ КОНСТРУКЦИИ АВТОМАТИЗИРОВАННЫХ СРЕДСТВ ЗАГРУЗКИ.
Выбор базового варианта автоматизированных средств загрузки.
Применение промышленных роботов (ПР) при обслуживании станков с ЧПУ позволяет исключить участие рабочего в выполнении вспомогательных операций и полностью автоматизировать процесс механической обработки, а применение ПР, оборудованного двумя руками или двумя захватами, позволяет уменьшить время простоя станка за счет уменьшения времени действия робота.
Анализ возможных компоновок роботизированных технологических комплексов показал, что удовлетворяющим всем требованиям является типовой РТК АСВР-06, предназначенный для автоматизации технологического процесса шлифовальной обработки деталей типа валов в условиях серийного производства. В состав комплекса АСВР-06 входят круглошлифовальный станок с ЧПУ 3М151Ф2 и ПР портального типа М40П05.02. ПР в составе комплекса выполняет следующие операции: загрузку (разгрузку) станка заготовками, перебазирование и раскладку заготовок и деталей в магазине, а также их поиск перед загрузкой в станок. Конструкцией ПР предусмотрены устройства для автоматического закрепления захватов, что дает возможность осуществлять автоматическую смену захватов.
Техническая характеристика станка 3М151Ф2
Наибольший диаметр наружного шлифования, мм 20-180
Наибольшая длина шлифования, мм 650
Частота вращения , об/мин, шпинделя заготовки с бесступенчатым регулированием 50-500
Частота вращения шпинделя шлифовального круга, об/мин 1590
Мощность электродвигателя привода главного движения, кВт 15,2
Габаритные размеры (с приставным оборудованием): длина´ширина´высота, мм 5400´2400´2170
Масса (с приставным оборудованием), кг 6500
Техническая характеристика ПР мод. М40П05.02
Грузоподъемность, кг 40
Число рук 1
Число захватов 2
Число обслуживаемых станков 1-4
Число степеней подвижности 3
Максимальный ход каретки, мм 10800
Погрешность позиционирования, мм ±1
При выборе автоматизированного средства загрузки - захватного устройства (ЗУ) робота, учитываем требования надежности захватывания и удержания объекта, стабильности базирования, недопустимость повреждения детали.
Исходя из этих требований и параметров заданной детали, определяем, что необходимо центрирующее или базирующее ЗУ. Отвечающими этим требованиям являются механические и электромагнитные ЗУ. Однако, хотя электромагнитные устройства просты по конструкции и обеспечивают высокую точность базирования, при их использовании возникает опасность загрязнения и повреждения поверхностей детали и захватного устройства вследствие явлений остаточного магнетизма. Выбираем механическое ЗУ.
Из механических ЗУ выбираем группу ЗУ командного типа, т.к. неуправляемые и неприводные не подходят вследствие того, что разжим рабочих элементов таких ЗУ происходит при контакте с заготовкой, из-за чего могут быть повреждены поверхности детали. Из командных ЗУ широко применяются надежные и простые по конструкции клещевые рычажные и клещевые реечные. Первые дают значительное увеличение усилия зажима детали (которое в данном случае не требуется вследствие небольшой массы детали), а реечные имеют меньшие габаритные размеры. Выбираем клещевое управляемое центрирующее ЗУ с реечным передаточным механизмом.
Из конструкций таких ЗУ с одной и двумя парами поворотных губок выбираем ЗУ с одной парой поворотных губок, т.к. ЗУ с двумя парами губок может повредить отшлифованные поверхности детали, за которые в этом случае будет осуществляться захват. Учитывая, что длительность цикла установки заготовки и снятия обработанной на станке детали однопозиционных ЗУ больше цикла двухпозиционных, выполняемого при смене позиций схватов, выбираем двухпозиционное клещевое управляемое широкодиапазонное центрирующее ЗУ с реечным передаточным механизмом.
Разработка проектного варианта автоматизированных средств загрузки.
В проектном варианте взята за основу конструкция двухпозиционного центрирующего захватного устройства с реечным передаточным механизмом для деталей типа гладких и ступенчатых валов, описанная в [5], с. 15.
В этой конструкции учтены практически все необходимые условия, однако есть существенный недостаток: профиль губок не позволяет надежно захватывать и центрировать длинные детали малого диаметра. Для устранения этого недостатка в проектном варианте захватного устройства предлагается применить губки в виде призм.
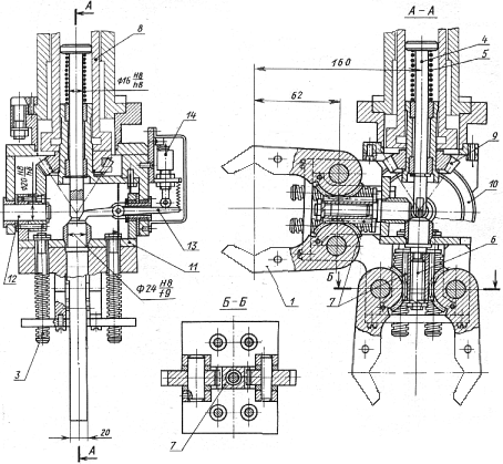
Двухпозиционное центрирующее захватное устройство.

Рис. 2.2.1.
Проектный вариант двухпозиционного центрирующего захватного устройства для деталей типа гладких и ступенчатых валов показан на рис. 2.2.1. Схват с заготовкой, зажатой его губками под действием пружин 3 , находится в позиции I . Схват 2 , находящийся в позиции II , разжимается под действием толкателя 4 гидроцилиндра (на рисунке не показан), сжимающего при движении вниз возвратную пружину 5 . Вместе с толкателем 4 перемещается, сжимая пружины 3 , шток 6 , на котором закреплена зубчатая рейка 7 . Рейка 7 находится в зацеплении с зубчатыми секторами, нарезанными на цилиндрической части рычагов схвата. При отключении давления в гидроцилиндре толкатель 4 под действием пружины 5 перемещается влево, освобождая шток 6 , который находясь под действием пружины, также перемещается вверх, сжимая губки схвата.
Смена позиций схватов производится при вращении шпинделя 8 от отдельного привода механизма кисти руки (на рисунке не показан), через коническую шестерню 9 и зубчатый сектор 10 , который жестко закреплен на корпусе 11 . При вращении шпинделя 8 корпус 11 поворачивается относительно оси 12 на угол 90° в необходимом направлении. Контроль зажима губок схвата 2 осуществляется датчиком 13 рычажного типа, который воздействует на микровыключатель 14 .
Силовой расчет.
Выполним силовой расчет для выбранного захватного устройства пользуясь расчетными схемами, изображенными на рис. 2.3.1. На них показываем силы приложенные к заготовке для ее закрепления и силы, возникающие при движении захвата робота с зажатой заготовкой.
Расчетные схемы.

Рис. 2.3.1.
Рассчитаем силу зажима, она должна быть достаточной, чтобы исключить сдвиг заготовки в осевом направлении (рис. 3.2.1, а).
SFix = 0: kp - F тр1 - F тр2 = 0; F тр i = Qfi ;
,
где k - общий коэффициент зажима,k = k1 × k2 × k3 ,
где k 1 - коэффициент безопасности, k 1 = 1,7;
k 2 - коэффициент, зависящий от максимального ускорения, с которым робот перемещает закрепленную в захвате заготовку, k 2 = 1,4;
k 3 - коэффициент передачи, зависящий от конструкции захвата и расположения в нем заготовки, k 3 = 1,8 (см. [6], с. 506).
f 1,2 - коэффициент трения, f 1,2 = 0,4 (см. [6],с. 85);
Н.
Определим усилие на штоке захватного устройства (рис. 3.2.1, б).
Сила, действующая на один зубчатый венец реечного механизма:
;
,
где a = 0,021 м, b = 0,043 м - размеры захвата.
Учитываем моменты сил, действующие на зубчатую рейку:
;
;
Н,
где D д - диаметр делительной окружности, м;
m - модуль сектора, m = 0,004 м;
z - полное число зубьев сектора, z = 14.
Определим диаметр выбранного ранее силового привода - гидроцилиндра.
;
,
где p - давление масла на поршень, p = 5 МПа;
h - КПД гидроцилиндра, h = 0,9.
м,
принимаем D ц = 125 мм (из стандартного ряда), диаметр штока 60 мм.
РАЗРАБОТКА АВТОМАТИЗИРОВАННЫХ СРЕДСТВ КОНТРОЛЯ.
Выбор базового варианта средств автоматизированного контроля.
При выборе средств автоматизированного контроля учитываем, что они должны обеспечивать требуемую точность измерения. Анализ показывает, что простые по конструкции и настройке одноконтактные средства автоматизированного контроля не подходят, т.к. имеют большую суммарную погрешность измерений. Более точные трехконтактные требуют установки и настройки на контролируемый размер вручную. Выбираем двухконтактные устройства, которые обеспечивают требуемую точность измерения и позволяют полностью автоматизировать процесс контроля исполнительных размеров.
В средствах автоматизированного контроля наиболее широко применяются электроконтактные, пневматические и индуктивные измерительные системы. Первые имеют наиболее простую конструкцию, высокую производительность, удобны в наладке и обслуживании, дешевы. Недостатками их являются невысокая точность измерений, большие габариты, чувствительность к вибрациям, необходимость периодической зачистки контактов из-за их подгорания (окисления). Перечисленные недостатки не позволяют для заданной детали выбрать электроконтактные измерительные средства в качестве базового варианта средств автоматизированного контроля.
Пневматические измерительные системы обладают высокой точностью при простой схеме конструкции и удобстве обслуживания, незначительной погрешностью измерений, нечувствительностью к вибрациям. Однако они обладают значительной инерционностью, для их использования необходимы особый источник энергии, специальные устройства для стабилизации давления и тщательной очистки потребляемого сжатого воздуха, т.к. нарушение этих условий ведет к значительному росту погрешностей измерения.
Индуктивные измерительные системы имеют более сложную конструкцию и электросхему, требуют высококвалифицированного обслуживания и настройки, более дороги, чем электроконтактные. К числу их достоинств можно отнести: высокую чувствительность и точность, наличие отсчетных устройств, что позволяет определять действительные отклонения размеров, непрерывно наблюдать за ходом процесса и применять их в системах непрерывного регулирования, высокую производительность, низкую чувствительность к вибрациям, широкий диапазон пределов измерений, сравнительно небольшие габаритные размеры.
На основании проведенного анализа, характеристик оборудования РТК и параметров заданной детали, выбираем, как наиболее оптимальные, индуктивные средства автоматизированного контроля.
Разработка проектного варианта средств автоматизированного контроля.
Для управления циклом шлифования валов с поперечной или продольной подачами на центровых круглошлифовальных станках широко применяется измерительная система БВ-4100, комплектуемая двухконтактной или трехконтактной скобами. Согласно проведенному в предыдущем пункте анализу, предлагаем в проектном варианте контрольного устройства измерительной системы применить двухкон-тактную настольную индуктивную скобу, изображенную на рис. 3.2.1.
Скоба к шлифуемой детали, после установки ее в центрах станка перед началом чернового шлифования, подводится гидравлическим устройством. В процессе шлифования шток индуктивного преобразователя 22 воспринимает перемещение измерительных кареток 2 , 4 скобы. Выходной сигнал преобразователя, пропорциональный изменению размера шлифуемой детали, после усиления электронной схемой преобразуется в аналоговый сигнал для показывающего прибора и в дискретные команды для исполнительных органов станка. При получении заданного размера шлифуемого вала дается команда на ускоренный отвод шлифовального круга и измерительной скобы в исходное положение.
Конструкция индуктивной настольной скобы.

Рис. 3.2.1. Обозначения: 1,3 - цилиндрические измерительные наконечники из твердого сплава; 2, 4 - измерительные каретки, имеющие направляющие типа ласточкиного хвоста; 5, 25 - сменные измерительные ножки; 6 - стакан, предохраняющий от повреждений индуктивный преобразователь 22; 7 - микрометрический винт, взаимодействующий с измерительным наконечником индуктивного преобразователя 22; 8, 24 - болты для закрепления измерительных ножек; 9, 23 - шестерни для наладочных перемещений измерительных ножек; 10, 12 - серьга и винтовая пружина, устраняющая зазор в резьбовом сопряжении микрометрического винта; 11, 21 - эксцентрики для регулировки измерительного усилия, обеспечиваемого винтовыми пружинами 14 и 18; 13 - плоскопараллельная пружина подвески измерительных кареток; 15, 17 - упоры, служащие ограничителями хода измерительных кареток; 16 - планка с резьбовыми отверстиями для крепления скобы к подводящему устройству; 19 - соединительный кабель индуктивного преобразователя; 20 - клеммный зажим крепления индуктивного преобразователя 22.
При шлифовании валов с продольной подачей команды управления, получаемые от измерительной системы, воспринимаются схемой автоматики станка в конце продольного хода стола станка. Все элементы электронной схемы отчетно-командного устройства размещены в пылезащитном корпусе.
Точностной расчет.
Двухконтактные средства контроля валов основываются на прямом методе измерений. Измерительные 6 , 9 наконечники прибора измеряют непосредственно диаметр D детали 7 (см. рис. 3.3.1). Скоба 5 плавающая, подвешена шарнирно на плоской пружине 3 , закрепленной на стойке 2 устройства, находящегося на станине 1 станка. Базой измерений является поверхность обрабатываемой детали, закрепленной в центрах станка.
Схема средств автоматизированного контроля.

Рис. 3.3.1.
При применении средств контроля, сконструированных по такой схеме, полностью компенсируются систематические и случайные погрешности системы, зависящие от тепловых и силовых деформаций станка, износа шлифовального круга и силовых деформаций детали.
При точностном расчете средств автоматизированного контроля необходимым условием является соблюдение следующего требования:
D S и £ 0,2 Тр ,
где D S и - суммарная погрешность измерения;
Тр - допуск на размер.
D S и = Еу + D р + D э + D п ,
где Еу - погрешность установки контролируемого объекта при использовании измерительного устройства. Расчет Еу выполняется по зависимости, установленной для аналогичной погрешности установки заготовки в станочное приспособление: Еу = Еб + Ез + Еп ;
D р - погрешность измерения, вызываемая неточностью изготовления передаточных устройств измерительного устройства. Для выбранной схемы измерения D р » 0;
D э - погрешность измерения, вызываемая настройкой контрольно-измерительного устройства по эталонному образцу, D э = 0,0005 мм;
D п - погрешность измерения, определяемая точностью показывающего устройства, равна цене деления показывающего устройства, D п = 0,001 мм.
Еу = Еб + Ез + Еп .
Еб = е ( D рб ) -погрешность базирования заготовки. Предполагаем, что погрешность, связанная с радиальным биением заготовки D рб =0,0005 мм, поэтому Еб = 0,0005 мм;
Ез = 0 - погрешность закрепления заготовки;
Еп = 0,0005 мм - погрешность измерительного приспособления.
Еу = 0,0005 + 0 + 0,0005 = 0,001 мм.
[D S и ] = 0,2 × 0,013 = 0,0026 мм.
D S и = 0,001 + 0 + 0,0005 + 0,001 = 0,0025 мм <[D S и ], следовательно, использование данной схемы автоматизированного контроля (измерений) возможно.
Выводы.
В результате использования в заданной операции (045 “Круглое шлифование”) разработанных автоматизированных средств загрузки и контроля, она может быть преобразована в роботизированную.
Это позволит гарантированно получать требуемое качество деталей, увеличить производительность, уменьшив время изготовления детали за счет сокращения вспомогательного времени на обработку, исключить брак, связанный с “человеческим фактором”, расширить производство без увеличения трудовых ресурсов, полностью исключить или существенно снизить отрицательное воздействие производственного процесса на человека.
Список использованных источников
Обработка металлов резанием. Справочник технолога. Под общей ред. А.А. Панова. М.: Машиностроение, 1988. - 736 с.
Козырев Ю.Г. Промышленные роботы. Справочник. М.: Машиностроение, 1988. - 392 с.
Белянин П.Н., Издон М.Ф., Жогин А.С. Гибкие производственные системы. М.: Машиностроение, 1988. - 256 с.
Конспекты лекций по курсу “Проектирование средств автоматизации и технологической оснастки”.
Промышленные роботы в машиностроении. Альбом схем и чертежей. Под ред. Ю.М. Соломенцева. М.: Машиностроение, 1987. - 140 с.
Справочник технолога-машиностроителя. В 2-х т. Под ред. А.Г. Косиловой и Р.К. Мещерякова. М.: Машиностроение, 1985. – 656 с.
Белоусов А.П., Дащенко А.И. Основы автоматизации производства в машиностроении. М.: Высшая школа, 1982. - 352 с.