| Скачать .docx |
Реферат: Лазеры на АИГ с непрерывной накачкой
Реферат выполнил Дёмин А.А.
Московский ордена Ленина, ордена Октябрьской Революции и ордена Трудового Красного Знамени государственный технический университет им. Н. Э. Баумана
Москва 2007
Общие сведения о кристаллах Y3Al5O12-Nd 3+
В лазере, как и во всяком генераторе электромагнитных волн, основой является активный элемент, преобразующий энергию внешнего источника питания в нужное излучение. В нашем случае таким элементом является кристалл алюмоиттриевого граната с добавкой трехвалентного иона неодима Y3Al5O12-Nd 3+. Этот ион является самым распространенным активатором лазерных кристаллов. Он обладает способностью к генерации почти в 80 средах. Однако из этого многообразия сред широкое практическое применение нашли лишь стекла нескольких марок и несколько типов кристаллов, самым распространенным из которых является алюмоиттриевый гранат. Последнее обусловлено присущей кристаллам граната с неодимом (АИГ-Nd) совокупности полезных свойств, которые будут рассмотрены ниже.
В последнее время в промышленном производстве стали появляться другие типы кристаллов. Это прежде всего алюминат иттрия, калий гадолиниевый, вольфрамат, галлий скандий гадолиниевый гранат и т. д. Каждый из них имеет то или иное преимущество по сравнению с кристаллами АИГ, что позволяет ставить вопрос о возможной замене АИГ-кристаллов в тех или иных конкретных случаях новыми кристаллами. Однако во многих своих применениях кристаллы АИГ пока остаются вне конкуренции, особенно в мощных лазерных установках.
Впервые искусственный кристалл АИГ-Nd как лазерный элемент был создан в 1964г. С тех пор было разработано несколько методов выращивания кристалла, наиболее совершенным из которых пока является метод Чохральского. Сущность этого метода заключается в том, что исходный материал кристалла сначала расплавляется в специальном тигле и последующая кристаллизация осуществляется путем выведения части расплава из тигля с помощью затравки. Температура затравки несколько ниже температуры расплава, и при вытягивании расплав постепенно кристаллизуется на поверхности затравки. Кристаллографическая ориентировка закристаллизовавшегося расплава воспроизводит ориентировку затравки. В процессе выращивания кристалла температура расплава поддерживается на уровне 1980° С . Столь высокие температуры требуют применения стойкого материала для тигля. Применительно к кристаллам АИГ-Nd наилучшим является металл иридий. Высокая цена и большой дефицит иридия являются существенными недостатками для выращивания кристалла АИГ-Nd.
Выращивание кристалла осуществляется в инертной среде (в атмосфере аргона или азота) при нормальном атмосферном давлении с малой (1—2% по объему) добавкой кислорода. Оптимальная скорость роста с точки зрения совершенства оптических свойств кристалла составляет 0,5 мм/ч, что также является недостатком технологии, так как для выращивания кристалла средних размеров (длиной около 15 см) требуется 300 ч (12,5 сут) непрерывной работы, ростовой установки. Метод Чохральского позволяет выращивать достаточно крупные кристаллы длиной до 20 см и диаметром до 4 см. В процессе роста в центральной части кристаллов возникают механические напряжения, приводящие к оптическим искажениям. Поэтому активные элементы вырезают из периферийных областей кристалла. Как правило, активные элементы вырезаются в форме тонких длинных цилиндров самых различных размеров. Ось активных элементов направлена вдоль оси кристалла-заготовки, т. е. фактически вдоль оси выращивания кристалла. В свою очередь ось выращивания кристалла, как отмечалось выше, задается ориентацией затравки. Следовательно, меняя ориентацию затравки, можно по желанию менять направление кристаллографических осей в активном элементе.
Принцип работы лазера. Инверсная населенность.
Рассматриваемый нами лазер на гранате с неодимом работает по так называемой четырехуровневой схеме. Ионы неодима, расположенные внутри кристалла граната, имеют систему энергетических уровней, схематически изображенную на рис.1. Первый уровень, называемый основным, соответствует минимально возможному значению энергии, которую могут иметь ионы. Число ионов, имеющих минимальную энергию (находящихся на основном уровне), составляет большинство. Число ионов, находящихся на более высоких уровнях энергии, заметно меньше и оно подчиняется равновесному распределению Больцмана
![]()
где Npi — число ионов в единице объема, находящихся на уровне i; Wi — разность между энергией уровня i и энергией основного уровня; k=1,38∙10-23 Дж/к—постоянная Больцмана; Т—абсолютная температура кристалла. Обычно энергию основного уровня считают условно нулевой, тогда Wi будет просто энергией i-ro уровня. Значение kT для комнатной температуры (Г=300 К) равно 4,14∙10-21 Дж ≈207 см-1. Поэтому, если Wi>kT (что выполняется для кристаллов АИГ-Nd), населенность уровней 2—4 оказывается действительно малой по сравнений с Npi Причем чем выше уровень, тем меньше на нем находится ионов неодима. Уровень 3 является метастабильным, т. е. время нахождения ионов неодима на нем существенно больше, чем на уровнях 2 и 4.

Рис.1. Схема переходов между уровнями энергии ионов неодима

Рис.2. Прохождение света через лазерный кристалл: а — в термальном состоянии (N3<N2) б — в накаченном (возбужденном) состоянии (N3>N2)
Предположим, что внутри кристалла распространяется свет с частотой, равной частоте перехода между рабочими уровнями 2 и 3, т. е. (ω=W3+W2/ћ). Он вызывает два процессора: вынужденного излучения ионов неодима, находящихся на уровне 3, и при этом к волне добавляется энергия излучения (усиление света), и процесс поглощения энергии волны ионами, находящимися на уровне 2 (рис. 2). В нормальном состоянии число ионов на уровне 2 больше, чем на уровне 3, и поглощение волны превалирует над усилением, т. е. свет ослабляется (рис.2,а). Если кристалл облучается светом накачки, то под его воздействием ионы неодима сначала переходят на уровни (полосы) накачки 4, а затем быстро на метастабильный уровень 3, где задерживаются. При достаточной мощности накачки скорость поступления ионов на метастабильный уровень превысит скорость ухода их с этого уровня за счет спонтанных переходов. В этом случае будет происходить накопление ионов на метастабильном уровне и через какое-то время число N3 превысит N2, т. е. в целом свет усилится.
Состояние среды, когда N3>N2, называется инверсией населенности энергетических уровней. В таком состоянии среда уже способна к генерации света. Для этого ее помещают в резонатор, который в простейшем случае образован двумя параллельными зеркалами, одно из которых полностью отражает свет, а другое частично отражает и пропускает его наружу (рис. 3). В этом случае усиление света в кристалле будет превосходить поглощение.

Рис.З. Схема усиления света в лазере (p1, р2 — коэффициенты отражения зеркал резонатора)
Началом генерации является спонтанное излучение ионов с метастабильного уровня, которое усиливается, проходя активную среду, и затем с помощью зеркал вновь в нее возвращается, снова усиливается и т. д. Если усиление света превосходит его суммарное ослабление за счет поглощения в среде и потерь на частичное пропускание выходного зеркала, то возникает генерация и лазер начинает излучать наружу свет. Очевидно, что мощность излучаемого света тем выше, чем выше мощность света накачки и чем меньше потери света внутри резонатора. Существует так называемая пороговая мощность накачки, при которой усиление света сравнивается с суммарными потерями, и при малейшем увеличении этой мощности может возникнуть генерация. Необходимо напомнить, что для того, чтобы усиление света всегда превосходило потери, нижний рабочий уровень 2 должен быстро опустошаться, т. е. его время жизни должно быть гораздо меньше, чем время жизни метастабильного уровня. В противном случае начнется накопление ионов неодима на уровне 2 и возрастет поглощение света с этого уровня наверх. Кроме того, время жизни ионов на уровнях накачки также должно быть малым. В противном случае ионы начнут накапливаться на уровнях накачки и инверсия населенности среды (а значит, и коэффициент усиления света) —начнет падать.
Как уже отмечалось, в лазерах на гранате с неодимом нижние рабочие уровни заселены слабо, и поэтому основная доля мощности накачки расходуется не на создание инверсной населенности (N3>N2), а на преодоление потерь в резонаторе и на полезное выходное излучение. При этом для возникновения генерации достаточно перевести на уровень 3 лишь малую часть ионов, находящихся на основном уровне. Это выгодно отличает этот вид лазеров от лазеров, работающих по трехуровневой схеме. В последних нижним рабочим уровнем является основной уровень, и для создания инверсной населенности (N3>N2) требуется перевести на метастабильный уровень 2 не менее половины ионов с основного уровня, а с учетом потерь в резонаторе и полезного излучения больше половины. Поэтому в трехуровневых лазерах (например, на рубине) мощность накачки расходуется непроизводительно и их КПД оказывается существенно ниже.
Спектрально-люминесцентные свойства элементов АИГ-Nd
Спектрально-люминесцентные свойства элементов АИГ-Nd определяются свойствами самой матрицы, т. е. чистого, нелегированного кристалла АИГ, а также характеристиками ионов неодима, введенных в матрицу. Матрица оказывает заметное воздействие на спектральные свойства изолированного иона неодима: на положение, интенсивность и ширину спектральных линий, квантовый выход люминесценции и т. п. Обратное воздействие ионов на матрицу, как правило, невелико из-за относительно малой концентрации примесных ионов в матрице. Поэтому в целом можно сказать, что характеристики элементов АИГ-Nd определяются свойствами матрицы плюс претерпевшими определенные изменения свойствами ионов неодима.
Металл неодим является редкоземельным металлом и относится к группе лантаноидов. Оптические лазерные свойства ионов неодима определяются электронными переходами внутри подоболочки 4f четвертой электронной оболочки N атома неодима (рис. 4). Эта подоболочка в заметной степени экранирована от воздействия внешних электрических полей, в частности внутри-кристаллического поля, электронами внешних подоболочек 5s и 5p оболочек О и Р. Поэтому структура энергетических уровней электронов 4f подоболочки, а значит, и структура оптических лазерных переходов ионов неодима не очень зависят от типа матрицы. Воздействие матрицы проявляется в некотором (так называемом Штарковском) смещении и расщеплении исходных уровней изолированного иона за счет воздействия кристаллического поля матрицы и в уширении уровней за счет воздействия колебаний кристаллический решетки — фононов.

Рис 4. Структура электронных оболочек атома неодима: а — укрупненная структура оболочек; б — тонкая структура четвертой оболочки N (рядом с индексам оболочки указано количество электронов в ней)

Рис. 5. Упрощенная схема энергетических уровней кристалла АИГ-Nd.
На рис. 5 представлена упрощенная схема энергетических уровней АИГ-Nd. Эти уровни обусловлены переходами трех 4f электронов внутренней оболочки иона Nd3+. Поскольку эти электроны экранируются восемью внешними электронами (5s2 и 5р6), на упомянутые энергетические уровни кристаллическое поле влияет лишь в незначительной степени. Поэтому спектральные линии, соответствующие рассматриваемым переходам, относительно узки. Уровни энергии обозначаются в соответствии с приближением LS-связи атомной физики, а символ, характеризующий каждый уровень, имеет вид 2s+lLj, где S — суммарное спиновое квантовое число, j — суммарное квантовое число углового момента, a L — орбитальное квантовое число. Заметим, что разрешенные значения L, а именно L = = О, 1, 2, 3, 4, 5, 6, ... обозначаются прописными буквами соответственно S, P, D, F, G, Н, I Таким образом, основное состояние 4I9/2 иона Nd3+ соответствует состоянию, при котором 2S + 1 = 4 (т. е. S = 3/2), L = 6 и J = L — S = 9/2. Две основные полосы накачки расположены на длинах волн 0,73 и 0,8 мкм соответственно, хотя другие более высоко лежащие полосы поглощения также играют важную роль. Эти полосы связаны быстрой (~ 10-7 с) безызлучательной релаксацией с уровнем 4F3/2, откуда идет релаксация на нижние уровни (а именно 4I9/2, 4I11/2 и 4I13/2), этот последний уровень не показан на рис.5. Однако скорость релаксации намного меньше (τ≈0,23 мс), поскольку переход запрещен в приближении электродипольного взаимодействия (правило отбора для электродипольно разрешенных переходов имеет вид ΔJ=0 или ±1) и поскольку безызлучательиая релаксация идет медленно вследствие большого энергетического зазора между уровнем 4F3/2 и ближайшим к нему нижним уровнем. Это означает, что уровень 4F3/2 запасет большую долю энергии накачки и поэтому хорошо подходит на роль верхнего лазерного уровня. Оказывается, что из различных возможных переходов с уровня 4F3/2 на нижележащие уровни наиболее интенсивным является переход 4F3/2 → I11/2 Кроме того, уровень 4I11/2 связан быстрой (порядка наносекунд) безызлучательной релаксацией в основное состояние 4I9/2, а разница между энергиями уровней 4I9/2, и 4I11/2 почти на порядок величины больше, чем kT. Отсюда следует, что тепловое равновесие между этими двумя уровнями устанавливается очень быстро и согласно статистике Больцмана уровень 4I11/2 в хорошем приближении можно считать практически пустым. Таким образом, этот уровень может быть прекрасным кандидатом на роль нижнего лазерного уровня.
Из сказанного выше ясно, что в кристалле АИГ-Nd переход 4F3/2 → 4I11/2 хорошо подходит для получения лазерной генерации в четырехуровневой схеме. В действительности необходимо принимать во внимание следующее: Уровень 4F3/2 расщеплен электрическим полем внутри кристалла (эффект Штарка) на два сильно связанных подуровня (R1 и R2), разделенных энергетическим зазором ΔЕ ≈ 88 см-1. Уровень 4I11/2 также расщеплен вследствие эффекта Штарка на шесть подуровней. Оказывается, что лазерная генерация обычно происходит с подуровня R1 уровня 4F3/2 на определенный подуровень уровня 4I11/2, поскольку этот переход обладает наибольшим значением сечения перехода (σ = 8,8∙10-19 см2). Этот переход имеет длину волны λ=1,064мкм (ближний ИК диапазон). Однако, поскольку подуровни R1 и R2 сильно связаны, при всех вычислениях используют эффективное сечение σ21 = z21σ = 3,5∙10-19 см2, где z21= ехр(-ΔE/kT) / [ 1 + ехр (-ΔE/kT)] =0,4 — функция распределения для подуровня R2. Следует также заметить, что, используя в резонаторе лазера подходящую дисперсионную систему, генерацию можно получить на многих других длинах волн, соответствующих различным переходам: 4F3/2 → 4I11/2 (λ = 1,05—1,1 мкм), 4F3/2 → 4I13/2 (λ=1,319 мкм—наиболее интенсивная линия в этом случае) и переходу 4F3/2 → 4I9/2 (λ около 0,95 мкм). Кроме того, стоит вспомнить, что лазерный переход с λ = 1,06 мкм при комнатной температуре однородно уширен вследствие взаимодействия с фононами решетки. Соответствующая ширина Δv = 6,5 см-1 = 195 ГГц при температуре Т = 300 К- Это делает АИГ-Nd очень подходящим для генерации в режиме синхронизации мод. Большое время жизни верхнего лазерного уровня (т = 0,23 мс) позволяет АИГ-Nd быть весьма хорошим для работы в режиме модулированной добротности.
Среди многообразия лазеров с непрерывной накачкой широкое применение нашли три вида: одномодовые лазеры с модуляцией добротности, лазеры с 'преобразованием частоты и мощные лазеры непрерывного режима.
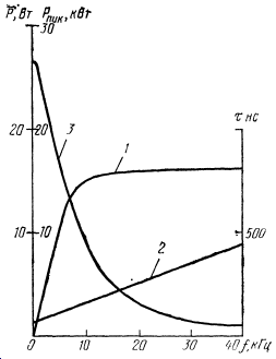
Одномодовые лазеры с модуляцией добротности. Лазеры серии ЛТИ-500 генерируют моду ТВМоо наинизшего порядка. В случае непрерывной накачки импульсный режим работ с большой частотой -повторения (5—50 кГц) обеспечивается модуляцией добротности резонатора акустооптическим затвором. При выключенном затворе лазеры работают в непрерывном режиме. Зависимость мощности излучения от мощности накачки для лазера ЛТИ-502 приведена на рис. 6. Зависимости средней мощности излучения Рw, длительности импульса излучения τ и пиковой мощности от частоты -повторения импульсов для лазеров с модуляцией добротности резонатора имеют вид, 'представленный на рис. 7. При больших частотах повторения значение средней мощности: асимптотически стремится к уровню мощности в непрерывном режиме генерации. С уменьшением частоты повторения средняя мощность падает и при низких частотах линейно стремится к нулю, поскольку накопленная инверсия в промежутках между импульсами генерации расходуется на люминесценцию

Рис. 6 Зависимость мощности излучения лазера ЛТИ-502 от мощности накачки

Рис. 7. Зависимости средней мощности 1), длительности импульса 2) и пиковой мощности 3) от частоты повторения импульсов излучения лазера ЛТИ- 502
. Длительность импульсов (излучения при повышении частоты повторения «монотонно увеличивается, так как накопленная инверсия в промежутках между импульсами становится меньше. Значения пиковой мощности, приведенные на графике, рассчитаны по формуле Рпик = Р/fτ по данным, определенным из эксперимента.
Лазеры ЛТИ-500 могут работать также в многомодовом режиме генерации (без селектирующей диафрагмы в резонаторе), при этом мощность излучения составляет 20—40 Вт.

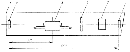
Рис. 8. Оптическая схема излучателя лазеров ЛТИ-501 и ЛТИ-502: 1 — излучатель; 2 — глухое зеркало; 3 — квантрон; 4 — селектирующая диафрагма; 5 — акустооптический затвор; 6 — выходное зеркало
Квантрон представляет собой несущий корпус, выполняемый обычно из нержавеющей стали, внутри которого находятся отражатель, активный элемент и лампа наклачки. Отражатель изготавливают из монолитной заготовки легированного европием кварцевого стекла в форме эллиптического цилиндра. В отражателе параллельно оси просверлены два отверстия, внутри которых располагают активный элемент и лампу накачки. Одноламповый осветитель с отражателем такой конструкции обеспечивает высокую эффективность накачки в одномодовом режиме генерации за счет фокусировки излучения накачки в центральную часть активного элемента, а также фильтрацию ультрафиолетового излучения
Отличительной особенностью лазера ЛТИ-503 является использование в качестве источника накачки высокочастотной безэлектродной лампы, которая одновременно выполняет функции отражателя. В связи с отсутствием электродов долговечность и число включений лампы существенно больше, чем у ламп обычной конструкции, но КПД лазера несколько меньше из-за распределенного источника свечения.
Оптическая схема резонатора, примененная в лазере ЛТИ-504, позволяет свести к минимуму искажение резонатора из-за нестационарных термически наведенных аберрационной линзы и клина активного элемента. Если центр кривизны вогнутого отражающего зеркала расположен в активном элементе (на его главной оптической плоскости), то возникающий в нем оптический клин вызывает смещение оси излучения только на этом зеркале, тогда как положение оси излучения в активном элементе и на выходном зеркале строго фиксировано. Положение выходного зеркала определяется из условия, что размер каустики пучка в резонаторе при заданной мощности накачки в первом приближении не зависит от оптической силы линзы активного элемента (рис. 9). Реализация предложенной схемы резонатора позволила существенно повысить стабильность энергетических и пространственных характеристик одномодовых твердотельных лазеров.

Рис. 9. Оптическая схема резонатора лазера ЛТИ-504: R — радиус кривизны глухого зеркала; F —фокусное расстояние термически наведенной линзы в активном элементе
Работа акустооптического затвора в резонаторе лазера основана на дифракции лазерного луча на ультразвуковой волне, возбуждаемой в фотоупругой среде. Вследствие дифракции часть света, прошедшего через затвор, отклоняется от первоначального положения и не принимает участия в генерации. Другими словами, в резонатор вносятся дополнительные потери. В случае, когда коэффициент суммарных потерь преобладает над коэффициентом усиления, генерация прекращается. В отсутствие генерации под действием непрерывной накачки происходит возрастание инверсной населенности. После быстрого переключения затвора в состояние с малыми потерями начинается развитие генерации, и запасенная энергия излучается в виде «гигантского» импульса.
Звукопровод затвора, в котором свет взаимодействует с бегущей ультразвуковой волной, изготавливают из высококачественного плавленого кварца, который практически не вносит в резонатор дополнительных потерь. Также для снижения потерь боковые грани звукопровода. имеют просветляющие покрытия на длину волны генерации, остаточное отражение при этом не превышает 0,5%. Возбуждение продольной ультразвуковой волны производится пьезопреобразователем из кристаллического кварца Х-среза. В случае продольных звуковых волн эффективность взаимодействия для различных плоскостей поляризации света оказывается разной. Максимальная дифракция соответствует плоскости поляризации света, перпендикулярной к направлению распространения звука, и уменьшается в несколько раз (до 5 раз при малых значениях акустической мощности) для ортогональной поляризации. Из-за неравномерного распределения излучения накачки 'по сечению активного элемента, характерного для выбранной конструкции квантрона, излучение лазеров в одномодовом режиме имеет преимущественное направление поляризации в плоскости, перпендикулярной направлению «лампа — активный элемент». Причем в некоторых областях мощности накачки может существовать излучение только с этой поляризацией. Затвор устанавливается в резонаторе с учетом этого обстоятельства, что значительно повышает его эффективность.
Лазеры с преобразованием частоты. Лазеры серии ЛТИ-701 с преобразованием частоты во вторую и четвертую гармоники построены на основе лазера ЛТИ-502.
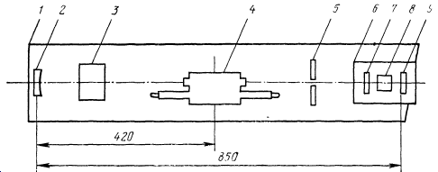
В лазерах ЛТИ-701, ЛТИ-702 (рис. 10) происходит внутри- резонаторное «преобразование во вторую гармонику излучения лазера, работающего в режиме акустооптической модуляции добротности резонатора с длиной волны 1,06 мкм. В качестве преобразователя частоты используется кристалл иодата лития (LiIO3), не требующий термостатирования, достаточно эффективный и относительно стойкий к лазерному излучению. При модуляции добротности мощность лазерного излучения внутри резонатора велика, поэтому специальных мер для его фокусировки в нелинейный элемент не требуется. Преобразователь частоты МЧ-104 включает в себя специальное выходное зеркало («глухое» на основной длине волны и пропускающее на длине волны гармоники), элемент из иодата лития размером 10x10x10 мм и оптический фильтр. Каквидно из рис. 10, оптический фильтр является третьим внутрирезонаторным зеркалом, предназначенным для однонаправленного вывода излучения второй гармоники. Преобразователь МЧ-104 крепят к корпусу лазера вместо узла выходного зеркала.

Рис. 10. Оптическая схема излучателя лазеров ЛТИ-701, ЛТИ-702: 1—излучатель; 2 — глухое зеркало на 1,06 мкм; 3 — акустооптический затвор; 4 — квантрон; 5 — селектирующая диафрагма; 6 — преобразователь во вторую гармонику; 7— фильтр; 8 — нелинейный элемент; «9 — выходное зеркало
Зависимость средней мощности излучения второй гармоники Р2ω от частоты повторения имлульсов /имеет максимум в области 6—8 кГц, что соответствует расчетным данным (рис. 11).
Максимальная средняя мощность на длине волны 0,53 мкм для лазера ЛТИ-701 составляет не менее 4 Вт. Коэффициент преобразования с учетом дополнительных потерь, вносимых в резонатор, близок к 100%. Резкое уменьшение Р2ω в области малых частот f связано с падением средней мощности основного излучения при f→0. Оправа от максимума снижение Р2ω) сначала достаточно резкое, затем идет более плавно, что соответствует зависимости пиковой мощности основного излучения от частоты повторения импульсов.

Рис. 11. Зависимости средней мощности 1),длительности импульса 2) и пиковой мощности 3) излучения второй гармоники от частоты повторения импульсов для лазера ЛТИ-701
Мощные лазеры непрерывного режима. Серия лазеров ЛТН-100 обладает мощностью излучения 63—250 Вт на длине волны 1,06 мкм при расходимости излучения по уровню 0,5 мощности до 10—12 мрад.
При выборе схемы резонатора для многомодовых лазеров определяющим является возможность достижения максимальной выходной мощности при сохранении относительно небольшой расходимости излучения. Этому условию удовлетворяет резонатор, образованный плоскими зеркалами, расположенными на расстоянии 360 мм один от другого. Такой резонатор обеспечивает прямолинейную зависимость мощности излучения во всем рабочем диапазоне мощности накачки.
В составе излучателей лазеров ЛТН-100 используются квантроны с активным элементом размерами 6,3x100 мм и лампой накачки ДНП-6/90. Корпус излучателя лазеров ЛТН-101 и ЛТН-102 короче (длина 550 мм), чем у других лазеров. Лазер ЛТН-102 имеет две модификации: ЛТН-102А и ЛТН-102Б с мощностью излучения не менее 125 и 30 Вт на длине волны 1,06 и 1,32 мкм соответственно (при мощности накачки не более 4,5 кВт).
Увеличение мощности излучения в два раза в лазере ЛТН-103 достигнуто за счет установки второго квантрона и удвоения длины резонатора. Корпус излучателя ЛТН-103 такой же, как у ЛТИ- 500/700, а необходимое расстояние между зеркалами 720 мм обеспечено изменением конструкции узлов крепления зеркал. Мощность излучения не менее 250 Вт достигается при мощности накачки 9 кВт. В состав лазера ЛТН-103 входит источник питания повышенной мощности и 'более эффективная система охлаждения УО2.
Некоторые применения лазеров с непрерывной накачкой.
Излучение одномодовых лазеров импульсного режима работы ЛТИ-500 может 'быть сфокусировано в пятно размером несколько десятков микрон, поэтому такие лазеры применяют для выполнения тонких технологических операций. С использованием этих лазеров созданы автоматизированные установки скрайбирования полупроводниковых пластин, которые обеспечивают глубину надреза 150—200 мкм при ширине 30—50 мкм.
Лазеры с непрерывной накачкой применяют для подгонки номиналов резисторов, а также функциональной подгонки гибридных интегральных схем (установки серии «Гибрид»). Созданы полуавтоматы-нарезки резисторов МЛТ-0,125, выполняющие эту операцию одновременно с измерением номинала сопротивления. В производстве прецизионных фольговых резисторов (эталоны сопротивлений) лазеры используют как при изготовлении фотошаблонов, так и при окончательной подгонке с погрешностью 10~3% . Невозможно числить разнообразные применения этих лазеров, диапазон которых включает в себя маркировку малогабаритных деталей, распиловку алмазного сырья, скрайбирование поликоровых ситалловых подложек и др.
Лазеры с преобразованием частоты во вторую и четвертую гармонику обеспечивают излучение видимого (красное, зеленое), а также ультрафиолетового диапазонов. Лазер ЛТИ-701 (с длиной волны 0,53 мкм) используется для накачки лазера на органических красителях, излучение которого плавно перестраивается в диапазоне длин волн от 550 до 660 нм. На его основе созданы установки лазерного отжига (в этом случае лазер одновременно излучает на длинах волн 0,53 и 1,06 мкм). Лазер с длиной волны около 0,53 мкм используется в медицинской практике для визуального контроля кварцевых стекол, в голографии и ряде других.
Ряд технологических установок создан на основе мощных лазеров непрерывного режима работы ЛТН-100 (длина волны 1,06 мкм). К их числу относятся установки направленного термораскалывания стекла («Квант-20»), базовая установка автоматизированной пайки, сварки и резки материалов («Квант-50»). Применение установки «Квант-50» при операции пайки микросхем на печатные платы позволяет автоматизировать процесс и повысить производительность труда в 10 раз по сравнению с ручной пайкой. Наиболее массовым применением этой группы лазеров является резка листовых материалов. На основе лазера ЛТН-103 (мощность излучения 250 Вт) создана установка автоматизированного изготовления шаблонов для контроля износа штампов.
Мощные лазеры на гранате находят все новые области применения благодаря своей компактности, высокой эксплуатационной надежности, хорошему качеству лазерного излучения (высокая стабильность и малый диаметр луча при относительно небольшой расходимости) по сравнению с лазерами на молекулах СОг. При дальнейшем повышении уровня мощности до 500—1000 Вт лазеры серии ЛТН-100 смогут широко применяться для сварки и термоупрочнения деталей и инструмента.
Г. М. Зверев, Ю. Д. Голяев, Е. А. Шалаев, А. А. Шокин. Лазеры на алюмоиттриевом гранате с неодимом — М.: Радио и связь, 1985. — 144с, ил
Звелто О. Принципы лазеров: Пер. с англ.— 3-е перераб. и доп. изд. — М.: Мир, 1990.— 560с, ил.