| Скачать .docx |
Курсовая работа: Взаимозаменяемость, допуски и посадки
Курсовая работа
по дисциплине: «Взаимозаменяемость»
на тему
Взаимозаменяемость, допуски и посадки
Содержание
Введение
1. Задание 1 – Расчет и выбор посадок для гладких цилиндрических соединений
2. Задание 2 – Расчет количества групп деталей для селективной сборки соединения требуемой точности
3. Задание 3 – Расчет и выбор полей допусков для деталей, сопрягаемых с подшипниками качения
4. Задание 4 – Выбор допусков и посадок шпоночных соединений
5. Задание 5 – Допуски и посадки шлицевых соединений
6. Задание 6 – Расчет допусков размеров, входящих в заданную размерную цепь
Список использованных источников
Приложения
Введение
Цель курсовой работы – приобретение практических навыков пользования стандартами, а также выбора допусков и посадок в конкретных условиях.
Курсовая работа состоит из следующих основных разделов:
1. Расчет и выбор посадок для гладких цилиндрических соединений;
2. Расчет количества групп деталей для селективной сборки соединения требуемой точности;
3. Расчет и выбор полей допусков для деталей, сопрягаемых с подшипниками качения;
4. Выбор допусков и посадок шпоночных соединений;
5. Допуски и посадки шлицевых соединений;
6. Расчет допусков размеров, входящих в заданную размерную цепь.
Задание 1. Расчет и выбор посадок для гладких цилиндрических соединений
Исходные данные
1. Номинальный размер – 120 мм
2. Значения расчетных зазоров или натягов
мкм;
мкм
3. Система полей допусков – система вала cН
Выполнение работы
1. Определить среднее значение числа единиц допуска.
, (1.1)
=346–236=110мкм
![]()
2. Предварительно по таблице А2 приложения А установили квалитет 8, по которому изготавливаются детали соединения.
3. Определить значения предельных технологических натягов.
Шероховатость деталей соединения по формуле
, (1.2)
![]()
(1.3)

4. Выбрать поля допусков деталей соединения по таблицам П4-П10/4.
, квалитет 8,
, квалитет 8.
Выбираем основные отклонения отверстия по таблице П8/1 и формулам (1.4), (1.5)
(1.4)
![]()
еi=310 мкм
es=ei+Td(1.5)
es=310+54=364мкм
Записываем выбранную посадку

Проверяем соблюдения условия выбора
(1.6)
![]()
Условие соблюдается – посадка выбрана верно.
5. Уточняем шероховатость поверхности вала и отверстия по формуле (1.2):
мкм,
мкм.
Выбираем стандартные значения
и
по таблице (приложение Б):
мкм,
мкм.
По таблице (приложение Б) назначаем завершающий технологический процесс, обеспечивающий требуемую точность и шероховатость:
- для отверстия – растачивание на токарных станках тонкое (алмазное)
- для вала – наружное точение тонкое (алмазное)
6. Выбираем средства измерения.
Для отверстия:
.00, IT
= 54 мкм
–
Нутромер индикаторный с точностью отсчета 0,01 мм, на нормируемом участке шкалы в 0,1 мм,
.
Для вала
, IT
=54 мкм
- Микрокатр типа ИГП с ценой деления 0,005 (±0,15 мм),
.
7. Строим схему полей допусков соединения

Рисунок 1.1 – Схема допусков соединения
8. Чертим эскизы соединения и его деталей


а) б)

в)
Рисунок 1.2 – Эскизы соединения и его деталей: а - вал, б - отверстие,
в- полное соединение
Задание 2. Расчет количества групп деталей для селективной сборки соединения требуемой точности
Исходные данные
1. Соединение технологическое, заданное номинальным размером и полями допусков деталей по возможностям изготовления -
.
2. Точность соединения (эксплуатационного), заданная групповым допуском посадки (зазора), требуемое по условиям функционирования соединения -
мкм
.
Выполнение работы
1. Определить значения допусков, предельных отклонений и предельных размеров вала и отверстия.
По таблице П4/4 определяем верхнее и нижнее предельное отклонения для отверстия.
ES = +87 мкм; EI =0 мкм.
По таблице П8/4 определяем верхнее и нижнее предельное отклонения для вала.
es = -36 мкм; ei =-123 мкм.
Наибольший предельный размер для отверстия:
(2.1)
Наименьший предельный размер для отверстия:
(2.2)
Наибольший предельный размер для вала:
(2.3)
Наименьший предельный размер для вала:
(2.4)
Допуски для отверстия:
TD = ES - EI = 100 – 0 = 100 мкм (2.5)
Допуски для вала:
Td = es - ei = (–36) – (–123) = 87 мкм (2.6)
2. Определить значения предельных зазоров в заданном соединении (технологическом).
=ES - ei =87
– (–123) = 210 мкм
(2.7)
=EI - es =
0 – (–36) = 36 мкм
(2.8)
3. Определить число групп вала и отверстия для обеспечения заданной точности соединения.
, (2.9)
где
- допуск посадки по возможностям изготовления;
- групповой допуск посадки по требованиям эксплуатации.
;
.
Находим количество групп вала и отверстия
, (2.10)
Принимаем
.
Групповые допуски деталей для селективной сборки
;
,
т.е. допуски всех размерных групп вала или отверстия будут равны между собой.
(2.11)
4. Выполнить схему полей допусков заданного соединения
100H9/F9
, детали которого следует рассматривать на семь размерных групп (рисунок 2.1).

Рисунок 2.1 - Схема полей допусков соединения
100H9/f9
, детали которого рассортированы на семь размерные группы
5. Составить карту сортировщика, указав в ней предельные размеры валов и отверстий в каждой размерной группе (таблица 2.1).
Таблица 2.1 - Карта сортировщика для сортировки на семиразмерные группы деталей соединения
| Номер размерной группы | Размеры деталей, мм | ||
| отверстие | вал | ||
| 1 | от | 100 | 99,877 |
| до | 100,0145 | 99,8915 | |
| 2 | свыше | 100,0145 | 99,8915 |
| до | 100,029 | 99,906 | |
| 3 | свыше | 100,029 | 99,906 |
| до | 100,0435 | 99,9205 | |
| 4 | свыше | 100,0435 | 99,9205 |
| до | 100,058 | 99,935 | |
| 5 | свыше | 100,058 | 99,935 |
| до | 100,0725 | 99,9495 | |
| 6 | свыше | 100,0725 | 99,945 |
| до | 100,087 | 99,964 | |
Задание 3. Расчет и выбор полей допусков для деталей, сопрягаемых с подшипниками качения
Исходные данные
1. Номер подшипника качения - 317
2. Значение радиальной нагрузки на опоре подшипника – 18 кН.
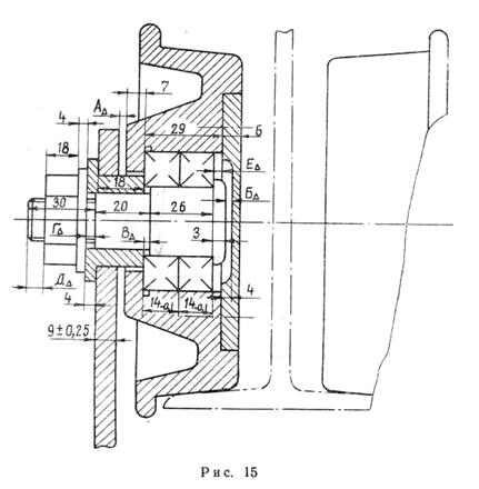
3. Чертеж узла, в котором используют подшипник качения - рисунок 15 (приложение Г).
Выполнение работы
1. Выбираем конструктивные размеры заданного подшипника качения серии 317.
По ГОСТ 8338-75 определяем D=180 мм; d=85 мм; Bк=41 мм; r=4 мм.
2. Обосновать характер нагрузки подшипника.
Выбираем характер нагрузки подшипника – перегрузка до 150%, умеренные толчки вибрации.
3. Установить вид нагружения каждого кольца подшипника.
Для внутреннего кольца устанавливают циркуляционное нагружение, а для наружного кольца – местное.
4. Рассчитать и выбрать посадки подшипника на вал и в корпус.
При циркуляционном нагружении колец подшипников посадки на валы и в корпусы выбирают по значению интенсивности радиальной нагрузки на посадочной поверхности.
Интенсивность радиальной нагрузки определяют по формуле (3.1)
(3.1)
где R- радиальная нагрузка, кН;
В-ширина подшипника, м;
kn - динамический коэффициент посадки, зависящий от характера нагрузки, kn =1-1,8;
F- коэффициент, учитывающий степень ослабления натяга при полом вале и тонкостенном корпусе, при сплошном вале F=1;
FA - коэффициент, учитывающий неравномерность распределения радиальной нагрузки между рядами роликов и шариков, для радиальных и радиальноупорных подшипников с одним наружным или внутренним кольцом FA =1.
кН/м
При
кН/м и d = 85 мм поле допуска вала js
6. Условное обозначение соединения «внутренние кольца подшипника – вал» -
для циркулярного нагруженного кольца (таблица П.19/4).
При местном виде нагружения поле допуска корпуса для D=180 мм – H7. Условное обозначение соединения «корпус – наружное кольцо подшипника -
(таблица П20/4)
5. Для соединений «корпус-подшипник» и «подшипник-вал» построить схемы полей допусков (рисунок 3.1).
![]()
Верхнее предельное отклонения для внутреннего кольца ES = 0 мм
Нижнее предельное отклонения для внутреннего кольца EI = -0,02 мм
Верхнее предельное отклонения для вала es = 0,011 мм
Нижнее предельное отклонения для вала ei = 0,011 мм (таблица П5/4)
![]()
Верхнее предельное отклонения для корпуса ES = 0,040 мм
Нижнее предельное отклонения для корпуса EI=0 мм
Верхнее предельное отклонения для наружного кольца es = 0 мм
Нижнее предельное отклонения для наружного кольца ei = -0,025 мм (таблица П4/4)

а)

б)
Рисунок 3.1 – Схемы полей допусков соединений: а- поле допуска для посадки
, б – поле допуска для посадки ![]()
Задание 4. Выбор допусков и посадок шпоночных соединений
Исходные данные
1. Диаметр вала d=30 мм
2. Вид соединения – нормальное
3. Конструкция шпонки – сегментная
Выполнение работы
1. Определить основные размеры шпоночного соединения.
По ГОСТ 24071-80 для d=30 мм: b=8 мм; высота h=11 мм;
=8,0 мм;
=3,3 мм; D=28 мм.
2. Выбрать поля допусков деталей шпоночного соединения по ширине шпонки b=8 мм зависит от нормального вида соединения.
При нормальном виде соединения на ширину шпонки выбираем поле допуска – h9; на ширину паза вала - N9; на ширину паза вала - Js9.
3. Назначить поля допуска на другие размеры деталей шпоночного соединения определены в ГОСТ 24071, по которым назначают следующие поля допусков:
- высота шпонки – по h11;
- длина шпонки – по h14;
- длина паза вала – по H15;
- глубина паза вала и втулки - H12;
- диаметр сегментной шпонки.- h12.
Поля допусков шпоночного соединения по номинальному размеру «вал-втулка» устанавливают при точном центрировании втулки на валу -
.
4. Вычертить схему расположений полей допусков размеров шпоночного соединения (рисунок 4.1).

Рисунок 4.1- Схема расположения полей допусков шпоночного соединения.
5. Заполнить таблицу 5.1 “Размерные характеристики деталей шпоночного соединения”
Таблица 5.1 - Размерные характеристики деталей шпоночного соединения
| Наименование размера | Номинальный размер, мм | Поле допуска | Допуск размера Т, мм | Предельные отклонения, мм | Предельные размеры, мм | ||
верхнее ES(eS) |
Нижнее EI(ei) |
max | min | ||||
Ширина паза вала Ширина паза втулки Ширина шпонки Глубина паза вала Высота шпонки Глубина паза втулки Диаметр втулки Диаметр вала Диаметр сегментных шпонок |
8 8 8 8 11 3,3 30 30 28 |
N9 Js9 h9 H12 h11 H12 H6 m6 h12 |
0,036 0,036 0,036 0,3 0,110 0,200 0,013 0,013 0,210 |
0 +0,018 0 +0,3 0 +0,2 +0,013 +0,021 0 |
-0,036 -0,018 -0,036 0 -0,110 0 0 0,008 -0,210 |
8,00 8,018 8 8,3 11 3,5 30,013 30,013 28,210 |
7,964 7,988 7,964 8 10,890 3,3 30 29,992 21,790 |
Задание 5. Допуски и посадки шлицевых соединений
Исходные данные
1. Условное обозначение прямоточного шлицевого соединения –
.
Выполнение работы
1. Установить способ центрирования заданного шлицевого соединения.
Центрирование осуществлено по внутреннему диаметру.
2. Установить значения основных отклонений, допусков размеров и вычертить схемы полей допусков центрирующих и не центрирующих элементов шлицевого соединения.
По ГОСТу 1139-80 при центрировании соединении по внутреннему диаметру d: число шлицёв z=10; посадка по центрирующему элементу
; посадка по нецентрирующему элементу
; ширина зуба b
=12,0; посадка по размеру ![]()
Посадка по центрирующему элементу
:
Верхнее предельное отклонения для отверстия ES = +35 мкм
Нижнее предельное отклонения для отверстия EI =0 мкм
Верхнее предельное отклонения для вала es = -36 мкм
Нижнее предельное отклонения для вала ei =-71 мкм (таблица П4 – П10/4)
Посадка по нецентрирующему элементу![]()
Верхнее предельное отклонения для отверстия ES = +93 мкм
Нижнее предельное отклонения для отверстия EI =+50 мкм
Верхнее предельное отклонения для вала es = -16 мкм
Нижнее предельное отклонения для вала ei =-59 мкм (таблица П4 – П10/4)
Построим схему полей допусков
и
(рис. 5.1 и 5.2).

Рисунок 5.1 – Схема допусков центрирующего элемента ![]()

Рисунок 5.2 – Схема допусков центрирующего элемента ![]()
3. Определить неизвестные предельные отклонения и предельные размеры всех элементов деталей шлицевого соединения.
Посадка по центрирующему элементу
:
Наибольший предельный размер для отверстия
![]()
Наименьший предельный размер для отверстия
![]()
Наибольший предельный размер для вала
![]()
Наименьший предельный размер для вала
![]()
Значение предельных зазоров (натягов) в заданном соединении
![]()
![]()
Допуски для отверстия:
TD = ES - EI = 35 – 0 = 35 мкм = 0,035 мм
Допуски для вала:
Td = es - ei = - 36 – (–71) = 35 мкм = 0,035 мм
Посадка по центрирующему элементу
:
Наибольший предельный размер для отверстия
![]()
Наименьший предельный размер для отверстия
![]()
Наибольший предельный размер для вала
![]()
Наименьший предельный размер для вала
![]()
Значение предельных зазоров в заданном соединении
![]()
![]()
Допуски для отверстия
TD=ES - EI =0,093 – 0,050 = 0,043 мм
Допуска для вала
Td = es - ei = –0,016 – (–0,059) = 0,043 мм
4. Заполнить форму 5.1 “Размерные характеристики деталей шлицевого соединения”
Форма 5.1 - Размерные характеристики деталей шлицевого соединения
| Наименование элементов шлицевого соединения | Номинальный размер, мм | Поле допуска | Допуск размера Т , мм | Предельные отклонения, мм | Предельные размеры, мм | ||
верхнее ES(eS) |
Нижнее EI(ei) |
max | min | ||||
1. Центрирующие элементы Отверстие Вал 2.Нецентрирующие элементы Ширина паза (впадин отверстия) Ширина зуба (толщина шлицев вала) Отверстие Вал |
112 112 18 18 125 125 |
H7 F7 D9 F9 H12 A12 |
0,035 0,035 0,043 0,043 0,400 0,250 |
0,035 -0,036 0,093 -0,016 0,400 -0,460 |
0 -0,071 0,050 -0,059 0 -0,710 |
112,035 111,964 18,093 17,084 125,400 124,540 |
112 111,929 18,050 17,041 125 124,290 |
5. Сборочный и детальный эскизы шлицевого соединения и его деталей, указав их условные обозначения
Рисунок 5.1 – Сборочный эскиз шлицевого соединения
![]()

![]()

![]()
Рисунок 5.2 – Детальный эскиз шлицевого соединения
Задание 6. Расчет допусков размеров, входящих в заданную размерную цепь
Исходные данные
1. Чертеж узла с указанием замыкающего звена - рисунок
(приложение Г).
2. Номинальный размер и предельные отклонения замыкающего звена
мм
Выполнение работы
1. Выполнить размерный анализ цепи с заданным замыкающим звеном.

Рисунок 6.1 - Геометрическая схема размерной цепи с замыкающим звеном
по рис. 15.
2. Проверить правильность составления заданной размерной цепи на уменьшающие и увеличивающие звенья.
, (6.1)
![]()
3. Установить единицы допуска составляющих звеньев, допуски которых требуется определить.
Известны допуски двух подшипников качения, т.е. размеров
. Для размеров, у которых нет полей допусков, единицу допуска следует определить по приложению А.
для
;
для
мкм;
для
мкм;
для В4 =3мм-i=0,63 мкм;
для В5 =20 мм-i=1,44 мкм;
для В8 =4 мм-i=0,83 мкм.
4. Определить допуск замыкающего звена.
;
(6.2)
![]()
5. Определить средний коэффициент точности заданной размерной цепи.
(6.3)
![]()
6. Установить квалитет, по которому следует назначать допуски на составляющие звенья.
При среднем коэффициенте точности
(
) квалитет 11, из приложения А (по приложению Д).
7. По установленному квалитету назначить допуски и отклонения на составляющие звенья.
для
4 мм допуск ТВ=0,75 мм, отклонения равны es=0,0375 ei=-0,0375
для
18 мм допуск ТВ=0,11 мм, отклонения равны es=0,055 ei=-0,055
для
29мм допуск ТВ=0,13 мм, отклонения равны es=0,065 ei=-0,065
для В4 =3 мм допуск ТВ=0,06 мм, отклонения равны es=0,03 ei=-0,03
для В5 =20 мм допуск ТВ=0,13 мм, отклонения равны es=0,065 ei=-0,065
для В8 =4 мм допуск ТВ=0,75 мм, отклонения равны es=0,0375 ei=-0,0375
8. Сделать проверку правильности назначения предельных отклонений.
Допуск замыкающего звена равен сумме допусков составляющих звеньев.
,(6.4)
(-37,5-55-65-30)-(65+37,5)<-400
(37,5+55+65+30)-(-65-100-100-37,5) <400
Условие не соблюдается.
9. Если условия проверки не соблюдаются, рассчитать отклонения корректирующего звена и его допуск.
, то выбирают более простое звено –В8
, которое является уменьшающим.
Предельные отклонения замыкающего звена:
(6.5)
![]()
ESB
-![]()
(-37,5-55-65-30)-(-400)-65=117.5
EIB
-![]()
(37.5+65+55+30)-400-(-65-100-100)=82.5
10. Проверить правильность назначения допусков на составляющие звенья размерной цепи.
(-37,5-55-65-30)-(65+117.5)=-400
(37.5+65+55+30)-(-65-100-100-82.5)=400
400-(-400)=800
11. Результаты расчетов занести в форму 6.1.
Форма 6.1 - Результаты расчетов допусков в размерной цепи
| Наименование размеров | Номинальный размер, мм | Обозначение размера, мм | Квалитет | Допуск размера | Поле допуска | Предельные отклонен., мм | Предельные размеры, мм | |||||
значе ние |
приме чание |
верх. ES(es) |
нижн. EI(ei) |
max | min | |||||||
| составляющие | увеличивающие | 4 18 29 3 |
В1 В» В3 В4 |
- - - - |
0,075 0,11 0,13 0,06 |
Js12 Js12 |
0,0375 0,055 0,065 0,030 |
-0,0375 -0,055 -0,065 -0,030 |
4,0375 18,055 29,013 3,030 |
3,9625 17,945 28,987 2,970 |
||
уменьшающие |
20 14 14 4 2 |
В5 В6 В7 В8 В∆ |
- - - - - |
0,13 0,100 0,100 0,075 0,650 |
извест извест корр извест |
– – – – – |
0,065 0 0 0,1175 0,4 |
-0,065 -0,100 -0,100 0,0825 -0,4 |
20,065 14 14 4,1175 2,4 |
19,935 13,9 13,9 3,9175 1,6 |
||
| замыкающий | ||||||||||||
Список использованных источников
1. Некифоров А.Д. Взаимозаменяемость, стандартизация и технические измерения. – Москва, ВШ, 2000. – 510с.
2. Сергеев А.Г., Латышев М.В. Метрология, стандартизация и сертификация, 2001.
3. Якушев А.И., Воронцов Л.Н., Федотов Н.М. Взаимозаменяемость, стандартизация и технические измерения: Учебник для вузов – 6-е изд., перераб. и доп. – М.: Машиностроение, 1986.-352 с.
4. Взаимозаменяемость и технические измерения. Методические указания/ Составители: Б.А. Калачевский, М.С. Корытов, В.В. Акимов, А.Ф. Мишуров. – Омск: СибАДИ, 2004/
5. Допуски и посадки. Справочник в 2 ч. /Под ред. В.Д. Мягкове. – Л.: Машиностроение, 1978/
6. Справочник по машиностроительному черчению/ Федоренко В. А, Шошин А.И. – 14е изд., перераб. и доп./ Под ред. Г.Н. Поповой. – Л.: Машиностроение, Ленингр. отд-ние, 1983. – 416 с.
7. ГОСТ 520 Подшипники качения. Общие технические условия.
8. ГОСТ 2.308 Указание на чертежах допусков, формы и расположения поверхности.
9. ГОСТ 2.309 Обозначения шероховатостей поверхностей.
10. ГОСТ 1643 Основные нормы взаимозаменяемости. Передачи зубчатые и цилиндрические.
11. ГОСТ 8032 Предпочтительные числа или вид предпочтительных чисел.
12. ГОСТ 24642 Основные нормы взаимозаменяемости. Допуски, формы и расположения поверхностей. Основные термины и определения.
13. ГОСТ 25142 Шероховатость поверхности. Термины и определения.
14. ГОСТ 25346 Основные нормы взаимозаменяемости. Общие положения, ряды допусков и основных отклонений.
15. ГОСТ 25347 Основные нормы взаимозаменяемости. Поля допусков и рекомендуемые посадки.
16. ГОСТ 25670 Основные нормы взаимозаменяемости. Предельные отклонения размеров с неуказанными допусками.
17. ГОСТ 8338 Предпочтительные числа и ряды предпочтительных чисел.
18. ГОСТ 23360 Соединения шпоночные с призматическими шпонками.
19. ГОСТ 2.104 ЕСКД. Основные надписи.
20. ГОСТ 2.105 ЕСКД. Общие требования к текстовым документам.
21. ГОСТ 2.106 ЕСКД. Текстовые документы.
22. ГОСТ 7.1-2003 Библиографическая запись. Библиографическое описание.
Приложение А
(обязательное)
Таблица А1 – Значение единицы допуска i для разных интервалов (размеров)
| Интервалы размеров, мм | Единица допуска i, мкн |
1-3 3-6 6-10 10-18 18-30 30-50 50-80 80-120 120-180 180-250 |
0,63 0,83 1 1,21 1,44 1,71 1,9 2,2 2,5 29 |
Таблица А2 – Значение числа единиц допуска для различных квалитетов
| Квалитет | 5 | 6 | 7 | 8 | 9 | 10 | 11 | 12 | 13 | 14 | 15 | 16 | 17 |
| Число единиц допуска a | 7 | 10 | 16 | 25 | 40 | 64 | 100 | 160 | 250 | 400 | 640 | 1000 | 1600 |
Приложение Б
(обязательное)
Таблица Б.1 - Высота неровностей профиля по десяти точкампо ГОСТ 2789–3, мкм
| – | 1000 | 100 | 10,0 | 1,00 | 0,100 |
| – | 800 | 80 | 8,0 | 0,80 | 0,080 |
| – | 630 | 63 | 6,3 | 0,63 | 0,063 |
| – | 500 | 50 | 5,0 | 0,50 | 0,05 |
| – | 400 | 40 | 4,0 | 0,40 | 0,04 |
| – | 320 | 32 | 3,2 | 0,32 | 0,032 |
| – | 250 | 25 | 2,5 | 0,25 | 0,025 |
| – | 200 | 20 | 2,0 | 0,20 | |
| 1600 | 160 | 16 | 1,6 | 0,160 | |
| 1250 | 125 | 12,5 | 1,25 | 0,125 |
Таблица Б.2 - Размерная точность и шероховатость изготовления деталей из стали при различных методах обработки
| Вид поверхности | Метод обработки | Квалитет | Шероховатость |
| Вал | Наружное точение: (токарное) получистовое чистовое тонкое (алмазное) Круглое шлифование: чистовое (в центрах) тонкое |
12–14 7–12 6–7 8–11 5–8 |
80–160 6,3–80 1,6–3,2 0,8–10 0,16–0,8 |
Отверстие |
Сверление Зенкерование Растачивание на токарных станках: получистовое чистовое тонкое(алмазное) Разертывание Шлифование Хонингование |
11–14 11–12 12–14 7–12 6–7 6–7 5–8 5–6 |
80–160 10–80 80–160 6,3–80 3,2–6,3 1,6–3,2 1,6–3,2 0,2–1,6 |
Приложение Г
(обязательное)

Приложение Д
(обязательное)
Таблица Г1 - Таблица значений допусков (мкм) по СТ СЭВ 145-75 для номинальных размеров до 500 мм. Для размеров до 1 мм квалитеты от 14 до 17 не применяются.
| Интервалы размеров, мм | Квалитет | ||||||||||||||||||
| 01 | 0 | 1 | 2 | 3 | 4 | 5 | 6 | 7 | 8 | 9 | 10 | 11 | 12 | 13 | 14 | 15 | 16 | 17 | |
| До 3 | 0,3 | 0,5 | 0,8 | 1,2 | 2 | 3 | 4 | 6 | 10 | 14 | 25 | 40 | 60 | 100 | 140 | 250 | 400 | 600 | 1000 |
| Св 3 до 6 | 0,4 | 0,6 | 1 | 1,5 | 2,5 | 4 | 5 | 8 | 12 | 18 | 30 | 48 | 75 | 120 | 180 | 300 | 480 | 750 | 1200 |
| Св 6 до 10 | 0,4 | 0,6 | 1 | 1,5 | 2,5 | 4 | 6 | 9 | 15 | 22 | 36 | 58 | 90 | 150 | 220 | 360 | 580 | 900 | 1500 |
| Св10 до 18 | 0,5 | 0,8 | 1,2 | 2 | 3 | 5 | 8 | 11 | 18 | 27 | 43 | 70 | 110 | 180 | 270 | 430 | 700 | 1100 | 1800 |
| Св18 до 30 | 0,6 | 1 | 1,5 | 2,5 | 4 | 6 | 9 | 13 | 21 | 33 | 52 | 84 | 130 | 210 | 330 | 520 | 840 | 1300 | 2100 |
| Св30 до 50 | 0,6 | 1 | 1,5 | 2,5 | 4 | 7 | 11 | 16 | 25 | 39 | 62 | 100 | 160 | 250 | 390 | 620 | 1000 | 1600 | 2500 |
| Св50 до 80 | 0,8 | 1,2 | 2 | 3 | 5 | 8 | 13 | 19 | 30 | 46 | 74 | 120 | 190 | 300 | 460 | 740 | 1200 | 1900 | 3000 |
| Св80 до 120 | 1 | 1,5 | 2,5 | 4 | 6 | 10 | 15 | 22 | 35 | 54 | 87 | 140 | 220 | 350 | 540 | 870 | 1400 | 2200 | 3500 |
| Св120 до180 | 1,2 | 2 | 3,5 | 5 | 8 | 12 | 18 | 25 | 40 | 63 | 100 | 160 | 250 | 400 | 630 | 1000 | 1600 | 2500 | 4000 |
| Св180 до250 | 2 | 3 | 4,5 | 7 | 10 | 14 | 20 | 29 | 46 | 72 | 115 | 185 | 290 | 460 | 720 | 1150 | 1850 | 2900 | 4600 |
| Св250 до315 | 2,5 | 4 | 6 | 8 | 12 | 16 | 23 | 32 | 52 | 81 | 130 | 210 | 320 | 520 | 810 | 1300 | 2100 | 3200 | 5200 |
| Св315 до400 | 3 | 5 | 7 | 9 | 13 | 18 | 25 | 36 | 57 | 89 | 140 | 230 | 360 | 570 | 890 | 1400 | 2300 | 3600 | 5700 |
| Св400 до500 | 4 | 6 | 8 | 10 | 15 | 20 | 27 | 40 | 63 | 97 | 155 | 250 | 400 | 630 | 970 | 1550 | 2500 | 4000 | 6300 |