| Скачать .docx |
Курсовая работа: Синтез и анализ рычажного механизма
Содержание
Введение
1. Синтез и анализ рычажного механизма
1.1 Структурный анализ механизма
1.2 Определение скоростей
1.3 Значения скоростей из плана скоростей
1.4 Определение ускорений
1.5 Диаграммы движения выходного звена
1.6 Определение угловых скоростей и ускорений
1.7 Скорости и ускорения центров масс
1.8 Аналитический метод расчёта
1.8.1 Расчёт скоростей и ускорений на ЭВМ
2. Силовой анализ рычажного механизма
2.1 Силы тяжести и силы инерции
2.2 Расчёт диады 4-5
2.3 Расчёт диады 2-3
2.4 Расчёт кривошипа
2.5 Рычаг Жуковского
2.6 Определение мощностей
2.7 Определение кинетической энергии механизма
2.7.1 Расчёт сил инерции на ЭВМ
3. Проектирование зубчатого зацепления. Синтез планетарного редуктора
3.1 Геометрический расчет равносмещенного зубчатого зацепления
3.2 Синтез планетарного редуктора
3.3 Определение частот вращения аналитическим методом
4. Синтез и анализ кулачкового механизма
4.1 Диаграмма движения толкателя
4.2 Масштабный коэффициент времени
4.3 Масштабный коэффициент ускорения
4.4 Максимальные значения скорости, ускорения толкателя
Список использованных источников
Введение
В механизмах привода поперечно строгальных станков используется механизм, обеспечивающий главное возвратно-поступательное движение резания. Основная масса механизмов использующихся в данных станках это кулисные механизмы. Они обеспечивают заданную скорость рабочего хода и повышенную скорость холостого хода. Расчёт и проектирование данных механизмов является важным этапом в образовании инженера.
В курсе предмета "Теория машин, механизмов и манипуляторов" получаются навыки расчёта механизмов машин. Комплексным подходом к закреплению полученных знаний является выполнение курсового проекта по данному курсу. В курсовом проекте осуществляется синтез и расчёт кулисного механизма, построение и расчёт зубчатого зацепления и кулачкового механизма. При выполнении работы используются все знания, полученные за курс предмета.
1. Синтез и анализ рычажного механизма
Исходные данные:
Ход ползуна: Н= 430 мм;
Коэффициент производительности: К=1,46;
Межосевое расстояние: О1 О2 = 320 мм;
Сила полезного сопротивления: Qпс = 1550 Н;
Частота вращения кривошипа: nкр = 100 мин - 1 ;
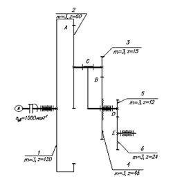
Схема механизма (Рис.1).

Рис.1 - Схема механизма
1.1 Структурный анализ механизма
Механизм состоит из пяти звеньев: кривошипа - 1, камней- 2,4, кулисы - 3, и ползуна - 5.
Звенья образуют семь кинематических пар: четыре вращательных (А, С, О1 , О2 ), три поступательных (А| , С| , В).
Степень подвижности механизма:
![]()
где n- число подвижных звеньев, n= 5;
р1 - число одноподвижных кинематических пар, р1 = 7;
р2 - число двуподвижных кинематических пар, р2 = 0.
Разложение механизма на структурные группы Ассура:
![]()
![]()
![]()
![]()
![]()
D 5 B, B’
![]()
![]()
![]()
![]()
![]()
![]()
4
II2 (4,5) – группа Ассура 2 – го класса, 2 – го порядка, W=0.
2
AA’
![]()
O2
3
II2 (2,3) – группа Ассура 2 – го класса, 2 – го порядка, W=0.
![]()
1

w
O1
I (0,1) - механизм 1 - го класса, W=1.
Формула строения механизма: I (0,1) →II2 (3,4) →II2 (4,5).
Механизм 2 - го класса, 2 - го порядка.
Определение недостающих размеров механизма
Неизвестные размеры кривошипа и кулисы определяем в крайних положениях механизма. Крайними положениями являются положения, в которых кулиса касается кривошипной окружности.
Угол размаха кулисы:
.
Длина кривошипа:
![]()
Длина кулисы:

Строим план механизма в 3-м положении, приняв за начало отсчёта крайнее положение, соответствующее началу рабочего хода механизма.
Масштабный коэффициент длин Кl :
![]()
1.2 Определение скоростей
Расчёт скоростей выполняется для третьего положения.
Частота вращения кривошипа: nкр = 100 мин-1 .
Угловая скорость кривошипа:
![]()
где ω1 - угловая скорость кривошипа, рад/с.
Скорость точки А:
![]()
Масштабный коэффициент скоростей:
![]()
Из системы векторных уравнений определяем скорость точки
:

1.3 Значения скоростей из плана скоростей
![]()
![]()
Скорость точки кулисы В| определяем по свойству подобия:

![]()
Из системы векторных уравнений определяем скорость точки В:
![]()
Значения скоростей из плана скоростей
, ![]()
1.4 Определение ускорений
Расчёт ускорений выполняется для третьего положения.
Ускорение точки А кривошипа:
![]()
Масштабный коэффициент ускорений:
![]()
Пересчётный коэффициент:
![]()
Из системы векторных уравнений определяем ускорение точки
кулисы:

Расчёт кориолисового и нормального ускорений:

Вектора кориолисового и нормального ускорений на плане ускорений:
![]()
![]()
Значения ускорений точки
на плане ускорений:
![]()
![]()
Ускорение точки кулисы В определяем по свойству подобия:
![]()
![]()
Система уравнений ускорения точки В, соединяющей 4 и 5 звено:

Определяем кориолисово ускорение:
![]()
Вектор кориолисового ускорения на плане ускорений:
![]()
Значение ускорения точки В на плане ускорений:
![]()
1.5 Диаграммы движения выходного звена
Диаграмма перемещения S-t строится, используя полученную из плана механизма траекторию движения точки В.
Масштабные коэффициенты диаграмм:
![]()
![]()
![]()
![]()
![]()
1.6 Определение угловых скоростей и ускорений
Угловые скорости и ускорения звеньев механизма определяем в 3-ем положении.
Угловые скорости:
![]()
Угловые ускорения:
![]()

Относительные угловые скорости:
![]()
![]()
![]()
1.7 Скорости и ускорения центров масс
![]()
![]()
![]() |
Рис. 2 – Расчётная схема механизма
1.8 Аналитический метод расчёта
Кулисный механизм состоит из звеньев: кривошипа 1, кулисного камня 2, кулисы 3 и стойки.
Положение точки А определяется уравнениями:


Угол размаха кулисы можно определить по уравнению:

![]()
Скорость точки А1, принадлежащей кривошипу 1 равна:
![]()
![]()
Скорость точки А3, принадлежащей кривошипу 3 равна:
![]()
![]()
Расстояние AB:
(5)
![]()
Угловая скорость кулисы:


Продифференцируем уравнение (6) по времени:





Рис.3 – Расчетная схема кулисного механизма
![]() |
Положение точки А ползуна:

![]()
Ход ползуна из первого крайнего положения:
, 
Дифференцируем:
![]()
Дифференцируем:
; 
1.8.1 Расчёт скоростей и ускорений на ЭВМ
Kulis ()
Const H = 0.430
Const L0 = 0.16
Const L1 =0.092
Consta = 0.27
ConstWl= 10,67
i = 2
For fl = 18 * 3.14/180 To 378 * 3.14 /180 Step 30 * 3.14 /180
Cosf3 = L1 * cos (fl) / ( ( (LI ^ 2 + L0 * LI * sin (fl)) ^ (1/2))
U31 = (cosf3 ^ 2) * (LI ^ 2 + L0 * LI * sin (fl)) / (LI ^ 2 * (cos (fl) ^ 2))
T = (LI ^ 2) + L0 * LI * sin (fl)
Q = (LI ^ 2) + (L0 ^ 2) + 2 * L0 * LI * sin (fl)
w3 = Wl * (T / Q)
up31= (L0*LI*cos (fl) * (L0^2 - LI^2)) / ( ( (L0^2) - (LI^2) + 2*L0*LI*sin (fl)) ^2)
e3= (Wl ^2) *up31
sinf3 = (L0 + LI * sin (fl)) / ( (LO ^ 2 + LI ^ 2 +2*LO*L1 * sin (fl)) ^ (1/2))
u53= (a/ (sinf3^2))
vb = w3 * u53
Worksheets (1). Cells (3, I + 1). Value = CDbl (Format (vb, "Fixed"))
Up53 = (2 *a * cosf3) / (sinf3 ^ 3)
Ab = (w3 ^ 2) * up53 + e3 * u53
Worksheets (l). Cells (8,1 + 1). Value = CDbl (Forrnat (ab, "Fixed"))
Worksheets (l). Cells (2, i). Value - 1 - 2
Worksheets (l). Cells (7, i). Value = 1-2
I = I + 1
Next fl
Worksheets (l). Cells (2, l). Value = "Vb, м/c"
Worksheets (l). Cells (3,1). Value = "Аналитические"
Worksheets (l). Cells (4,1). Value = "Графические"
Worksheets (l). Cells (7, l). Value = "ab, м/c"
Worksheets (l). Cells (8,1). Value = " Аналитические "
Worksheets (l). Cells (9, l). Value = "Графические"
Worksheets (l). Cells (l,
1). Value = "Taблица1"
Worksheets (l). Cells (l,
5). Value - "Значения скоростей Vb, м/с"
Worksheets (l). Cells (6, l). Value = "Taблица 2"
Worksheets (l). Cells (6,5). Value = "Значения ускорений ab, м/с2 "
End Sub
Таблица 1.3 - Значения скоростей
| Скорости | Величина скорости, м/с | ||||||||||||
| 0 | 1 | 2 | 3 | 4 | 5 | 6 | 7 | 8 | 9 | 10 | 11 | 12 | |
| Расчётные | 0 | 0,79 | 1,29 | 1,73 | 1,7 | 1,23 | 0,81 | 0,09 | -0,96 | -2,29 | -2,35 | -1,29 | 0 |
| Графические | 1,75 | ||||||||||||
Таблица 1.4 - Значения ускорений
| Ускорения | Величина ускорения, м/с^2 | ||||||||||||
| 0 | 1 | 2 | 3 | 4 | 5 | 6 | 7 | 8 | 9 | 10 | 11 | 12 | |
| Расчётные | 12,06 | 5,06 | 2,91 | 2,47 | -0,83 | -2,79 | -5,49 | -8,7 | -12,12 | -10,83 | 7,41 | 11,96 | 12,6 |
| Графические | 2,5 | ||||||||||||
; ![]()
Диаграммы скоростей и ускорений:

Рис.4 - Диаграмма скоростей

Рис.5 - Диаграмма ускорений
2. Силовой анализ рычажного механизма
Исходные данные:
Масса кулисы m3 =20 кг;
Масса ползуна m5 =52 кг;
Сила полезного сопротивления Qпс =1550 Н.
Схема механизма (Рис.6).

Рис.6 - Расчётная схема механизма
2.1 Силы тяжести и силы инерции
Силы тяжести:
![]()
![]()
Силы инерции:
![]()
![]()
2.2 Расчёт диады 4-5
Выделяем из механизма диаду 4,5. Нагружаем её силами Q, U5 , G5 и реакциями R50 , R43 .
Под действием этих сил диада 4,5 находится в равновесии.
Уравнение равновесия диады 4,5:
; ![]()
Анализ уравнения:
Q=1550H;
U5 =130H;
G5 =510,12Н.
Уравнение содержит две неизвестные, поэтому графически оно решается.
Выбираем масштабный коэффициент сил:
![]()
Вектора сил на плане сил:
![]()
![]()
Значение сил на плане сил:
![]()
![]()
![]()
![]()
; ![]()
2.3 Расчёт диады 2-3
Выделяем из механизма диаду 2,3. Нагружаем её силами G3 , U3 и реакциями R34 = - R43 , R21 , R30 .
Под действием этих сил диада 2,3 находится в равновесии.
Уравнение равновесия диады 2,3:
![]()
Анализ уравнения:
G3 = 196,2 H;
U3 = 25 H;
R34 = 1680 Н.
Уравнение содержит три неизвестные, поэтому составляем дополнительно уравнение моментов сил относительно точки O2 и находим силу R21 :
![]()
![]()
Выбираем масштабный коэффициент сил:
![]()
Вектора сил на плане сил:
, ![]()
Значение силы на плане сил:
![]()
![]()
![]()
; ![]()
2.4 Расчёт кривошипа
Уравнение равновесия кривошипа
![]()
Реакция R12 известна и равна по величине, но противоположна по направлению реакции R21.
Уравнение имеет 2 неизвестные.
Выбираем масштабный коэффициент сил:
![]()
Значения сил на плане сил:
2.5 Рычаг Жуковского
Строим повёрнутый на 900 план скоростей, прикладываем к нему все внешние силы, действующие на механизм.
Уравнение моментов относительно полюса Pv и определяем Pу :
![]()
![]()
Погрешность расчёта силы Ру :
![]()
2.6 Определение мощностей
Потери мощности в кинематических парах:
![]()
Потери мощности на трение во вращательных парах:
![]()
где
- коэффициент
- реакция во вращательной паре,
- радиус цапф.

Суммарная мощность трения
![]()

Мгновенно потребляемая мощность

Мощность привода, затрачиваемая на преодоление полезной нагрузки.
![]()
2.7 Определение кинетической энергии механизма
Кинетическая энергия механизма равна сумме кинетических энергий входящих в н
его массивных звеньев.


Приведенный момент инерции
![]()
2.7.1 Расчёт сил инерции на ЭВМ
![]()
Sub Kulis 2 ()
Const H = 0.430
Const L0 = 0.16
Const L1 =0.092
Const a = 0.27
Const m = 0.27
Const Wl = 10,67
i = 2
For fl = 18 * 3.14/180 To 378 * 3.14 /180 Step 30 * 3.14 /180
Cosf3 = L1 * cos (fl) / ( ( (LI ^ 2 + L0 * LI * sin (fl)) ^ (1/2))
U31 = (cosf3 ^ 2) * (LI ^ 2 + L0 * LI * sin (fl)) / (LI ^ 2 * (cos (fl) ^ 2))
T = (LI ^ 2) + L0 * LI * sin (fl)
Q = (LI ^ 2) + (L0 ^ 2) + 2 * L0 * LI * sin (fl)
w3 = Wl * (T / Q)
up31= (L0*LI*cos (fl) * (L0^2 - LI^2)) / ( ( (L0^2) - (LI^2) + 2*L0*LI*sin (fl)) ^2)
e3= (Wl ^2) *up31
sinf3 = (L0 + LI * sin (fl)) / ( (LO ^ 2 + LI ^ 2 +2*LO*L1 * sin (fl)) ^ (1/2))
Up53 = (2 *a * cosf3) / (sinf3 ^ 3)
Ab = (w3 ^ 2) * up53 + e3 * u53
Ub = (Ab * m) /2
Worksheets (l). Cells (8,1 + 1). Value = CDbl (Format (Ub, "Fixed"))
Worksheets (l). Cells (2, i). Value - 1 - 2
I = I + 1
Next fl
Worksheets (l). Cells (2, l). Value = "Ub, H"
Worksheets (l). Cells (l,
1). Value = "Taблица1"
Worksheets (l). Cells (l,
5). Value - "Значения сил инерции Ub, м/с"
End Sub
Таблица 1.5 - Значение сил инерции кулисы 3.
| Величина силы инерции, Н | ||||||||||||
| 0 | 1 | 2 | 3 | 4 | 5 | 6 | 7 | 8 | 9 | 10 | 11 | 12 |
| 120, б | 50,6 | 29,1 | 24,7 | -8,3 | -27,9 | -54,9 | -87 | -121,2 | -108,3 | 74,1 | 119,6 | 126 |
Таблица 1.6 - Значение сил инерции кривошипа 5.
| Величина силы инерции, Н | ||||||||||||
| 0 | 1 | 2 | 3 | 4 | 5 | 6 | 7 | 8 | 9 | 10 | 11 | 12 |
| 606 | 188,1 | 82,9 | 81,3 | -18,3 | -129,4 | -281 | -514,1 | -560,1 | -436,9 | 254,8 | 607,7 | 606 |

Рис.6 - Диаграмма сил инерции кулисы 3.

Рис.7 - Диаграмма сил инерции ползуна 5.
3. Проектирование зубчатого зацепления. Синтез планетарного редуктора
3.1 Геометрический расчет равносмещенного зубчатого зацепления
Исходные данные:
Число зубьев на шестерне ![]()
Число зубьев на колесе ![]()
Модуль ![]()
Угол профиля рейки ![]()
Коэффициент высоты головки зуба ![]()
Коэффициент радиального зазора ![]()
Суммарное число зубьев колес ![]()
Поскольку
, то проектируем равносмещенное зубчатое зацепление. Коэффициент смещение

Угол зацепления ![]()
Делительное межосевое расстояние
![]()
Начальное межосевое расстояние: ![]()
Высота зуба: ![]()
Высота головки зуба

Высота ножки зуба

Делительный диаметр
![]()
Осевой диаметр
![]()
Диаметр вершин
![]()
Диаметр впадин

Толщина зуба по делительному диаметру
![]()
Делительный шаг: ![]()
Шаг по основной окружности: ![]()
Радиус галтели: ![]()
Коэффициент перекрытия:

Погрешность определения коэффициента зацепления:
![]()
где ab и p находим из чертежа картины зацепления.
1. Масштабный коэффициент построения картины зацепления.
![]()
3.2 Синтез планетарного редуктора
Исходные данные:
Модуль ![]()
Частота вращения вала двигателя ![]()
Частота вращения кривошипа ![]()
Числа зубьев ![]()
Знак передаточного отношения - минус
Номер схемы редуктора
(рис.8).

Рис.8 - Редуктор
Передаточное отношение простой передачи
![]()
Общее передаточное отношение редуктора
![]()
Передаточное отношение планетарной передачи
![]()
Формула Виллиса для планетарной передачи

5. Передаточное отношение обращенного механизма, выраженное в числах зубьев.

Представим полученное отношение в виде
![]()
6. Подбор чисел зубьев
Выбираем числа зубьев: ![]()
7. Условие соосности
![]()
Условие соосности выполнено
8. Делительные диаметры
![]()
, 
9. Угловая скорость вала двигателя
![]()
10. Линейная скорость точки A колеса z 1
![]()
11. Масштабный коэффициент Kv
![]()
12. Масштабный коэффициент построения плана редуктора
![]()
3.3 Определение частот вращения аналитическим методом
1. Определение частот вращения аналитическим методом.
откуда ![]()
Знак плюс показывает, что водило вращается в одном направлении с валом

2. Определение частот вращения графическим методом.
Масштабный коэффициент плана частот вращения
![]()
Частоты вращения, полученные графическим способом.

Определение погрешностей:
![]()
![]()
Private Sub CommandButtonl_Click ()
Dim zl, z2, m, ha, C, z5, z6, xl, x2, aw, a, h, hal, ha2, hfl, hf2, dl, d2, dal, da2, dBl, dB2, dfl, df2, SI, S2, P, PB, rf, q As Double zl=CDbl (TextBoxl. Value)
z2 = CDbl (TextBox2. Value) m = CDbl (TextBox3. Value)
ha = CDbl (TextBox4. Value) c = CDbl (TextBox5. Value)
q = CDbl (TextBox6. Value)
ListBoxl. Clear
ListBoxl. Addltem ("Начало отсчета")
ListBoxl. Addltem ("zl=" & zl)
ListBoxl. Addltem ("z2=" & z2)
ListBoxl. Addltem ("m=" & m)
ListBoxl. Addltem ("ha*=" & ha)
ListBoxl. Addltem ("C*=" & C) q = (q* 3.14) /180
ListBoxl. Addltem ("угол-' & q) xl= (17-zl) /17
ListBoxl. Addltem ("xl=" & xl) x2 = - xl
ListBoxl. Addltem ("x2=" & x2) a = m* (zl +z2) /2
ListBoxl. Addltem ("a=" & a) aw=a
ListBoxl. Addltem ("aw=" & aw) h=2.25*m
ListBoxl. Addltem ("h=" & h) ha1=m* (ha+x1)
ListBoxl. Addltem ("ha1=" &ha1) ha2=m* (ha+x2)
ListBoxl. Addltem ("ha2=" &ha2) hf1=m* (ha+c-x1)
ListBoxl. Addltem ("hf1=" &hf1) hf2=m* (ha+c-x2)
ListBoxl. Addltem ("hf2=" &hf2) d1=m*z1
ListBoxl. Addltem ("d1=" &d1) d2=m*z2
ListBoxl. Addltem ("d2=" &d2) dw1=d1
ListBoxl. Addltem ("dw1=" &dw1) dw2 = d2
ListBoxl. Addltem ("dw2=" & dw2) dal =dl +2*hal
ListBoxl. Addltem ("dal=" & dal) da2 - d2 + 2 * ha2
ListBoxLAddltem ("da2=" & da2) dfl = dl - 2 * hfl
ListBoxLAddltem ("dfl=" & dfl) df2 = d2-2*hf2
ListBoxLAddltem ("hf2=" & h£2) dBl=dl*Cos (q)
ListBoxLAddltem ("dBl=" & dBl) dB2 = d2 * Cos (q)
ListBoxLAddltem ("dB2=" & dB2) Sl=0.5*3.14*m + 2*xl * m * Tan (q)
ListBdxl. AddItem ("Sl="&Sl)
S2 = 0.5 * 3.14 *m + 2*x2*m* Tan (q) ListBoxLAddltem ("S2=" & S2)
P = 3.14*m
ListBoxLAddltem ("p=" & P)
pB = p * Cos (q)
ListBoxLAddltem ("pB=" & pB) rf = 0.38 * m
ListBoxLAddltem ("r£=" & rf) End Sub
Private Sub CommandButton2_Click () UserForm 1. Hide
EndSub
Исходные данные
Угол зацепления а = 20
Коэффициент высоты головки зубаha = l
Коэффициент радиального зазора С = 0,25 Модуль m= 3 мм
Число зубьев шестерни z1 = 12
Число зубьев колеса z2 = 24
Результаты расчета
Начальное межосевое расстояние aw = 54 мм
Высота зуба h= 6,67 мм
ШЕСТЕРНЯКОЛЕСО
Коэффициент смещенияХ1 = 0,29Х2 = - 0,29
Высота головки зуба hal = 3,87 ммha 2 =2,13 мм
Высота ножки зуба hfl = 2,88 ммhf 2 =4,62 мм
Делительный диаметр dl = 36 ммd2 =72мм
Начальный диаметр dwl = dl = 36 ммdw 2 =72 мм
Диаметр вершин dal =43,74 ммda 2 =76,26 мм
Диаметр впадин dfl =30,24 мм df 2 =62,76 мм
Основной диаметр dBl =33,83 ммdB 2 =67,66 мм
Толщина зуба S1 = 5,34 ммS2 =4,074 мм
Шаг Р=9,42 мм
Основной шаг Рв=8,85 мм
Радиус rf=l,14 мм
4. Синтез и анализ кулачкового механизма
Исходные данные:
а) диаграмма движения выходного звена
![]()

б) частота вращения кривошипа ![]()
в) максимальный подъем толкателя ![]()
г) рабочий угол кулачка ![]()
д) угол давления ![]()
ж) дезаксиал кулачка ![]()
з) роликовый тип кулачкового механизма (рис 9)

Рис.9 - Роликовый тип кулачка
4.1 Диаграмма движения толкателя
По заданному графику ускорения толкателя а = f (t), графическим интегрированием по методу хорд получаю графики скорости и перемещения толкателя.
База интегрирования:
![]()
Графики V (s), a (s) получаю методом исключения общего переменного параметра t - время.
Масштабный коэффициент перемещения.
![]()
где
-максимальное значение ординаты графика, соответствует заданному подъему толкателя.
4.2 Масштабный коэффициент времени
![]()
где
- частота вращения кулачка: ![]()
=120 мм -
длина отрезка на оси абсцисс графика изображающая время поворота кулачка на рабочий угол.
![]()
Масштабный коэффициент скорости толкателя.
![]()
4.3 Масштабный коэффициент ускорения
![]()
Выбор минимального радиуса кулачка.
Минимальный радиус кулачка выбираю из условия заданного угла давления
.
Для этого строю совместный график
. На этом графике текущее перемещение
откладываю вдоль оси координат в стандартном масштабе
. К полученному графику провожу две касательные под углом давления
.
Точка пересечения касательных образует зону выбора центров вращения кулачка, соединив выбранную точку с началом графика, получаю значение минимального радиус кулачка.
Аналоги скорости рассчитываем в стандартном масштабе следующим образом.
, 
Значение минимального радиуса центрового профиля кулачка с графика S’ (
)
![]()
![]()
Радиус ролика
rP
= (0.2÷ 0.4)
; rP
=
= 0,018 м
Минимальный радиус действительного кулачка
![]()
![]()
Построение профиля кулачка.
Построение профиля кулачка произвожу методом обращенного движения. Масштабный коэффициент построения
.
В выбранном масштабе строю окружность радиусом
= 60 мм.
Откладываю фазовый рабочий угол
. Делю этот угол на столько частей, сколько на графике. Через точки деления провожу оси толкателя во вращенном движении. Для этого соединяю точку деления с центром вращения кулачка. Вдоль осей толкателя от окружности минимального радиуса откладываю текущее перемещение толкателя в выбранном масштабе.
Соединив полученные точки, имеем центровой профиль кулачка. Обкатывая ролик по центровому профилю во внутрь, получаю действительный профиль кулачка.
4.4 Максимальные значения скорости, ускорения толкателя

Public Sub kul ()
Dim I As Integer
Dim dis1, dis2, R, a1, a2, arksin1, arksin2, BETTA, BET As Single
Dim R0, FIR, FI0, FII, SHAG, E As Single
Dim S (1 To 36) As Single
R0 = InputBox ("ВВЕДИТЕ МИНИМАЛЬНЫЙ РАДИУС КУЛАЧКА RO")
FIR = InputBox ("ВВЕДИТЕ РАБОЧИЙ УГОЛ КУЛАЧКА FIR")
FI0 = InputBox ("ВВЕДИТЕ НАЧАЛЬНОЕ ЗНАЧЕНИЕ УГЛА ПОВОРОТА КУЛАЧКА FI0")
E = InputBox ("ВВЕДИТЕ ДЕЗАКСИАЛ E")
For I = 1 To 36
S (I) = InputBox ("ВВЕДИТЕ СТРОКУ ПЕРЕМЕЩЕНИЙ S (" & I & ")")
Next I
FIR = FIR * 0.0174532
SHAG = FIR / 12
FI0 = FI0 * 0.0174532
FII = FI0
For I = 1 To 36
dis1 = (R0 ^ 2 - E ^ 2) ^ (1/2)
dis2 = S (I) ^ 2 + R0 ^ 2 + 2 * S (I) * dis1
R = dis2 ^ (1/2)
a1 = E / R
a2 = E / R0
arksin1 = Atn (a1/ (1 - a1 ^ 2) ^ (1/2))
arksin2 = Atn (a1/ (1 - a2 ^ 2) ^ (1/2))
BETTA = FII + arksin1 - arksin2
BETTA = BETTA * 180/3.1415
Worksheets (1). Cells (I,
1) = R
Worksheets (1). Cells (I,
2) = BETTA
FII = FII + SHAG
Next I
End Sub
Таблица 4.1 - Результаты расчета
| R, мм | BETTA | R, мм | BETTA | R, мм | BETTA | R, мм | BETTA |
| 42 | 0 | 56.64 | 104 | 42 | 208 | 42 | 312 |
| 42.7 | 13 | 51.06 | 117 | 42 | 221 | 42 | 325 |
| 45.48 | 26 | 45.48 | 130 | 42 | 234 | 42 | 338 |
| 51.06 | 39 | 42.7 | 143 | 42 | 247 | 42 | 351 |
| 56.64 | 52 | 42 | 156 | 42 | 260 | ||
| 59.44 | 65 | 42 | 169 | 42 | 2731 | ||
| 60.12 | 78 | 42 | 182 | 42 | 286 | ||
| 59.64 | 91 | 42 | 195 | 42 | 299 |

Рис.10 - Схема кулачка.
Список использованных источников
1. Артоболевский И.И. Технология машин и механизмов. М.: Наука, 1998. -720с.
2. Кожевников С.И. Технология машин и механизмов. М.: Машиностроение, 1989. - 583с.
3. Кореняко А.С. Курсовое проектирование по технологии машин и механизмов. Киев, Вища школа, 1970. - 330с.
4. Машков А.А. Технология машин и механизмов. Мн.: Высшая школа, 1967. - 469с.
5. Филонов И.П. Технология машин и механизмов. Мн.: Дизайн ПРО, 1998. - 428с.
6. Фролов К.В. Технология машин и механизмов. М.: Высшая школа, 1998. - 494с.

