| Скачать .docx |
Курсовая работа: Разработка технологического процесса изготовления отливки
Курсовая работа
разработка технологического процесса изготовления отливки
1. Введение
2. Литье
3. Характеристика материала детали
4. Технология песчано-глинистой формы
5. Изготовление нижней полуфомы
6. Изготовление верхней полуформы
7. Выбор способа формовки
8. Основная характеристика формовочной смеси
9. Основная характеристика стержневой смеси
10. Характеристика песчано-глинистой смеси (стержневой) для отливки зубчатого колеса
11. Эскиз детали и технологичность конструкции
12. Выбор положения отливки в форме и плоскость разъёма модели и формы.
13. Припуски на механическую обработку и технологически припуски отливки.
14. Выбор стержней.
15.Формовочные уклоны
16. Прибыли и выпоры.
17. Требования при конструировании прибылей.
18. Литниковая система.
19. Расчёт литниковой системы.
20. Литниковая система.
Список используемой литературы
Данный курсовой проект включает в себя все элементы литейного производства, начиная с выбора марки материала и заканчивая готовой отливкой, со всеми расчётами припусков для последующей механической обработки детали. Отливка ведётся в песчано-глинистой форме, что является наиболее выгодным в условиях единичного производства. В качестве материала отливки выбрана сталь 40X, как наиболее подходящая по литейным свойствам соответственно, так как конечный продукт производства - «звёздочка», возможны значительные нагрузки и данный материал в соответствии с выбранным способом литья является наиболее приемлемым, как с технологической, так и с экономической точки зрения.
2 . Литье
Литье (литейное производство) – один из основных способов изготовления металлических заготовок и деталей. Отливки – продукция литейного производства. Сущность получения отливок заключается в том, что расплавленный и перегретый металл или сплав заливается в заранее приготовленную литейную форму, внутренняя полость которой с максимальной степенью приближения воспроизводит конфигурацию и размеры получаемой отливки. Заполнение литейной формы (полости) расплавом осуществляется через каналы, называемые литниковой системой. Наружные очертания отливки образуются стенками полости формы, а внутренние поверхности и отверстия образуются с помощью специальных вставок в литейные формы, называемых стержнями. При затвердевании в литейной форме металл приобретает (сохраняет) очертания полости литейной формы и стержней.
3 . Характеристика материала детали
Для производства отливок используется сплавы черных металлов: высокопрочные, ковкие и другие виды чугунов; углеродистые и легированные стали; сплавы цветных металлов; медные (бронзы и латуни), цинковые, алюминиевые и магниевые сплавы; сплавы тугоплавких материалов: титановые, молибденовые, вольфрамовые и другие.
Литейные сплавы должны обладать высокими литейными свойствами (высокой жидкотекучестью, малыми усадкой и склонностью к образованию трещин); требуемые физическими и эксплутационными свойствами. Для изготовления стальных отливок используют углеродистые и легированные стали. Механические свойства легированных литейных сталей определяются количеством легирующих элементов. Легирование значительно повышает механические и эксплутационные свойства (жаропрочность, износостойкость, коррозионную стойкость).
Для изготовления детали «звездочка» способом литья используется материал — сталь 40Х ГОСТ 4543-71.
Литейные стали, имеют плохие литейные свойства: пониженную жидкотекучесть, значительную усадку (до 2,5%), что приводит к образованию усадочных раковин и пористости в отливках; стали склонны к образованию трещин.
Механические свойства легированных литейных сталей определяются количеством легирующих элементов:
Таблица 1.
| Марка стали |
Предел текучести |
Временное сопротив- ление |
Относительное удлинение |
Относитель- ное сужение |
Ударная вязкость |
| МПа |
МПа |
% |
% |
кДж/М2 |
|
| 40Х |
500 |
650 |
12 |
25 |
400 |
Состав стали 40ХЛ по ГОСТ 4543-71:
Массовая доля элементов:
Таблица 2.
| С,% |
Si,% |
Mn,% |
Cr,% |
| 0.36 – 0.44 |
0.17 – 0.37 |
0.5 – 0.8 |
0.8 – 1.1 |
4 . Технология песчано-глинистой формы
Большая часть отливок изготавливается в песчано-глинистых формах. Данный способ отличается большой универсальностью. В этих формах можно изготавливать отливки простой и очень сложной конфигурации, массой от нескольких граммов до сотен тонн. В качестве литейных сплавов – чугуны, сталь, цветные сплавы. Это наиболее распространенный способ изготовления крупных отливок сложной формы. Однако точность размеров и качество поверхности получаемых отливок не всегда удовлетворяют требованиям современного производства.
Весь цикл изготовления отливки по данному способу состоит из ряда основных и вспомогательных операций, осуществляемых как параллельно, так и последовательно: изготовление модельного комплекта; приготовление формовочных и стержневых смесей; изготовление стержней и литейной формы; сушка стержней и форм; сборка формы; заливка формы расплавом; затвердевание и охлаждение металла в форме; выбивка отливки из формы; удаление элементов литниковой системы; удаление стержней и очистка поверхностей отливки.
5 . Изготовление нижней полуфомы
На ровном основании устанавливается модель низа в перевёрнутом положении. Прикладывают модель питателя, устанавливается опока, далее изготовляется формовочная смесь, особенно тщательно в узлах и у стенок опоки. Далее делаются проколы для вывода образующихся газов.
6 . Изготовление верхней пол у формы
Устанавливается литниковая система:
а) модель стояка;
б) модель прибыли;
в) модель выпора.
Затем в том же порядке устанавливается опока, уплотняется формовочная смесь, делаются проколы.
Когда изготовление верхней и нижней полуформ закончено, изготовляют из голов формы модель. Для этого в модель ввертывают подъём, а затем её слегка расталкивают ударами молотка по подъёму. Извлекают модель не разбивая полуформ. В заключении повреждённые участки заделывают и в целях повышения потребительски качеств, полуформы высушивают.
7 . Выбор способа формовки
При использовании песчано-глинистых смесей в процессе формовки выполняют следующие технологические операции:
1) уплотнение смеси, позволяющее получить точный отпечаток модели в форме и придать ей необходимую прочность и другие свойства;
2) устройство в форме вентиляционных каналов, облегчающих выход из полости формы образующихся при заливке расплавов газов.
3) извлечение модели из формы;
4) отделку и сборку формы.
Исходя из характера производства (единичное) выбираем ручную формовку. Следует отметить, что ручная формовка в тяжелом машиностроении оснащена большим количеством вспомогательных механизмов для уплотнения формовочной смеси. Таким образом, в единичном производстве ручная формовка в чистом виде почти не используется. По способу формовки - формовка в опоках.
8 . Основная характеристика формовочной смеси
Формовочная смесь – это многокомпонентная смесь формовочных материалов, соответствующая условиям технологического процесса изготовления литейных форм. Формовочные смеси по характеру использования разделяют на облицовочные, наполнительные и единые.Формовочные смеси должны иметь высокую огнеупорность, достаточную прочность и газопроницаемость, пластичность, податливость.
Таблица 3.
| Смесь |
Масса отливки, кг |
Толщина стенки отливки, мм |
Свойства смеси |
||
| Газопроницаемость, Ст.ед. |
Влажность, % |
Предел прочности при сжатии, кПа |
|||
| Единая для формовки по-сырому |
До 100 |
25 |
90 |
4 |
39 |
9 . Основная характеристика стержневой смеси
Стержневая смесь – это многокомпонентная смесь формовочных материалов, соответствующая условиям технологического процесса изготовления литейных стержней. Стержни при заливке расплавленного металла испытывают значительные тепловые и механические воздействия по сравнению с формой, поэтому стержневые смеси должны более высокую огнеупорность, газопроницаемость, податливость, малую газотворную способность, легко выбиваться из отливок.
Таблица 4.
| Состав смеси, масса % |
Зерновой состав песка |
|||
| Отработанная смесь |
Кварцевый песок |
Глина |
Сульфитная барда |
|
| 70 |
16,5 |
5 |
0,5 |
016А |
Газопроницаемость - т.е. способность пропускать газы и водяные пары при заливке формы расплавом.
Податливость - способность формовочной смеси несколько уменьшаться под воздействием сжимающих сил, возникающих при усадке металла в процессе его затвердения и дальнейшего охлаждения.
Огнеупорность - свойство формовочной, а также стержневой смеси не оплавляться, не разминаться, не спекаться под воздействием высоких температур, возникающих при литье готовой продукции.
10 . Характеристика песчано-глинистой смеси (стержневой) для отливки зубчатого колеса
Таблица 5.
| Состав смеси |
|||||||||
| Зерновая часть, % |
Связывающ. мат. и вес зерновой части смеси |
Зерновая основа |
Влажность |
Глиностерж. |
Газопроницаемость во влажном состоянии |
Предел прочности |
|||
| Смеси, % |
По весу, % |
||||||||
| Кварцевого песка |
Глины |
Неводные материалы |
Водные материалы сульфатно-смертного барда, удельный вес |
При сжатом влажном состоянии |
При разрыве в сухом состоянии |
||||
| 96 – 97 |
3 - 4 |
2,0 - 4,0 |
2,5 - 3,5 |
50 - 100 |
3,5 - 4,5 |
4 - 7 |
min 100 |
0,1 - 0,2 |
4 |
1 1 . Эскиз детали и технологичность конструкции
колесо зубчатое

Рисунок 1.
Назначение:
1. Отливки третей группы сложности.
2. Внешнее очертание и конструкция литой детали простые, модель и форму для неё можно изготовить с одним плоским разъёмом; части модели легко извлекаются из формы. Это можно проверить с помощью метода теневого рельефа.
3. По характеру внутренних полостей и отверстий в отливке применяется стержень простой формы.
4. Толщина стенки назначается наименьшей, но обеспечивающий необходимую прочность детали;
5. Чтобы исключить осыпание формовочной смеси в углах модели при её извлечении из формы, выполняют округление при сопряжении стенок отливки.
6. Отливку в форме располагают так, чтобы затвердевание начиналось в тонких местах, постепенно распространяясь на более толстые и заканчивается в прибылях установленных на самых массивных местах.
7. Вся отливки располагается в нижней опоке, во избежание перекоса и других дефектов. Положение отливки в форме должно обеспечивать применение min качества стержней, обрабатываемые поверхности ответственного назначения располагаются в нижней части формы.
8. Количество разъёмов должно быть минимальным. В данном случае имеется 1 разъём, а поверхность разъёма плоская.
1 2 . Выбор положения отливки в форме и плоскость разъёма модели и формы
Решение вопроса о положении отливки производится с учётом требований равномерного и направленного затвердевания металла. Необходимо так же учесть, что положение отливки в форме должно обеспечивать удобство изготовления и сборки формы.
Всю отливку рекомендуется расположить в одной (нижней) опоке во избежания перекосов, смещений и других факторов. По данной рекомендации и учитывая совокупность требований, получаем:
• положение отливки горизонтально;
• применяется 1 стержень;
• отливка располагается в верхней и нижней опоках.
1 3 . Припуски на механическую обработку и технологически припуски отливки
Припуск на механическую обработку -дополнительный слой металла, который удалится в процессе механической обработки, чтобы обеспечить заданную точность и качество поверхности отливки. Припуск на механическую обработку зависит от материала отливки, способа ее изготовления, расположения отливки в форме и наибольшего габаритного размера литой детали.
Припуск зависит от класса точности и при наибольшем размере 402,5 мм, по таблице ПЗ принимаем следующие припуски на механическую обработку: 3 мм на сторону внешнюю и 2 мм на все остальные.
Технологический припуск применяется для упрощения и облегчения процесса изготовления отливки. В данном случае назначаются формовочные уклоны (для удобства извлечения модели из формы без разрушения её), напуски (для упрощения изготовления отливки и назначаются взамен электронов, которые не выполняются при литье).
1 4 . Выбор стержней
Для получения крупных отверстий и полостей в отливке применяются, стержни места соединения литейной формы со стержнем называются знаковыми частями (знаками). Их функция заключается в обеспечении правильного и устойчивого положения стержня в форме.
Размеры знаков стержней и зазоры между знаками стержней и модели принимают по ГОСТ 3606-80. Размеры знаков имеют важное техническое значение. Они определяются удобством сборки формы, требованием точной фиксации, а также с учётом действующих на стержень усилий при заливке.
Рисунок 2.
Таблица 6.
| Высота знака |
h1 |
35 |
| h |
35 |
|
| Длина стержня |
L |
135 |
| Зазоры |
S1 |
2,1 |
| Зазоры |
S2 |
2,1 |
| Диаметр стержня |
Dc |
85 |
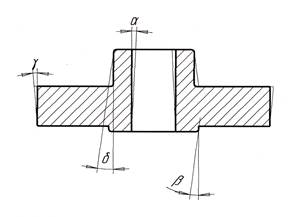
15. Формовочные уклоны
Формовочные уклоны модельного комплекса служат для удобства извлечения модели из формы без ее разрушения и для свободного удаления стержня из стержневого ящика. Уклоны выполняют в направлении извлечения модели из формы. Величина уклона зависит от материала модели, способа изготовления отливки и высоты боковой поверхности и составляет 0,5-3.
Величина уклонов зависит от размеров и места расположения поверхности.
Принимаем деревянный модельный комплект по ГОСТ 3212-80 (табл. П9).
Формовочные уклоны осн. Формообразующих поверхностей модельного комплекта для применения песчано-глинистой смеси.

Рисунок 3.
| Высота |
Формовочный уклон |
||
| поверхности, |
модельного комплекта |
||
| мм |
|||
| H |
148 |
32’ |
|
| h1 |
9,9 |
2o 17’ |
|
| h2 |
88 |
32’ |
|
| h3 |
6,5 |
43' |
|
1 6 . Прибыли и выпоры
Прибыли применяются при изготовлении отливок из стали. Прибыль - специальный технологический прилив к поверхности отливки, затвердевающий позднее самой отливки. В прибыли формируется усадочная раковина, поэтому применение прибылей позволяет получить отливки без усадочных дефектов. Прибыли различают по месту расположения: верхние, боковые; по конфигурации: открытые, закрытые; по способу заливки: проточные, сливные, независимого действия; по способу воздействия на металл, для его перемещения в отливке: гравитационные, газовые, атмосферные; по условию обогрева: обычные, утеплённые, подогревные; по способу отделения от отливок: отрезаемые и отбиваемые. Форма прибылей определяется геометрией питательного теплового узла.
1 7 . Требования при конструировании прибылей
Прибыль должна застывать позже отливки и обеспечивать в течении всего периода затвердевания достаточное питание теплового узла. Прибыль следует размещать по возможности в верхней части отливки с тем, чтобы она выполняла ещё и выпора. Конструкция прибыли должна обеспечивать удобства формовки и удаления её при обработке отливки.
Выпоры предназначены для вывода воздуха и газа из плоскости формы при заливке. Их используют также для уменьшения динамического давления металла на форму.
Выпоры используют для питания отливки жидким металлом в процессе её затвердевания. В выпоре образуется усадочная раковина, при кристаллизации высота выпора равна высоте верхней опоки.
1 8 . Литниковая система
Литниковая система – это система каналов, через которые расплавленный металл подводят в полость формы. Литниковая система должна обеспечивать заполнение литейной формы с необходимой скоростью, задержание шлака и других неметаллических включений, выходов паров и газов из полости формы, непрерывную подачу расплавленного металла к затвердевающей отливке.
19 . Расчёт литниковой системы
Расчёт является определением размеров основных элементов литниковой системы: питателя, коллектора, стояка.
М=1,3*m,
М — масса отливки с учётом припусков на механообработку и технологических припусков, но без прибылей и выпоров. Для определения массы отливки m определим её объём и умножим на плотность сплава.
m=р*V
р = 7800 кг/м3 (плотность легированных конструкционных сталей).
V=V1 +V2 +V3
V1 = *l1 *(R1 2 -R2 2 )
V2 = *l3 *(R2 2 -R3 2 )
V3 = *L*(R3 2 -r1 2 )
V= *(l1 (R1 2 -R2 2 )+ l3 (R2 2 -R3 2 )+ L(R3 2 -r1 2 )=0.0051 м3
m = 7800*0.0051 = 39,43 кг
M = 1,3*39,43 = 51,26 кг
Определим:
1) плотность жидкого металла =7800 кг/ м3
2) коэффициент расхода литниковой системы, зная толщину стенки t=64,8 мм ( =0,3)
3) время заполнения формы металлом =19,4 (с)
4) расчётный напор жидкого металла при заливке формы
Нст - высота стояка над питателем, мм;
Hom - общая высота отливки;
h - высота отливки выше места подвода металла (высота отливки над питателями), м.
Нст = 0,1 (м);
Hom = 0,077 (м);
h= 6,2 мм = 0,0062 (м);
Нр = 0,1 (м)
В итоге получаем
Fnum = 385,53 мм2
Fпит = 192,7 мм2
Соотношение площадей поперечных сечений всех элементов литниковой системы можно принять следующим:
Fпит : Fл.х : Fст =1:1,1:1,2 ;
Где Fл.х. - площадь сечения литникового хода (коллектора или шлакоуловителя).
Fл.х = 192,7*1,1 = 212,04 мм2 . .
Fст = 385,53 = 520,46 мм2 .
2 0 . Литниковая система

Рисунок 4. 1-чаша (воронка). 2-стояк.
Список используемой литературы
1) М.Д Харчук, В.И. Черменский, Г.А. Сидоренко. Методические указания к курсовому проекту по разделу «Литейное производство», 1985.-30 с.
2) А.М. Дальский, Н.П. Дубинин, И.А. Артюнова и др. Технология конструкционных материалов: учебник для машиностроительных специальностей вузов, 2-е., перераб. и доп. – М.: Машиностроение, 1985.–488 с., ил.
3) А.И. Чегаев. Основы прогрессивных технологий: Учебное пособие. Екатеринбург: Изд-во Урал. гос. экон. ун-та, 1999.-155 с.
4) В.Н. Журавлев, О.И. Николаева. Справочник Машиностроительные детали. - М.: Машиностроение, 1999.-480 с., ил.
5) А.П. Емильянова. Технология литейной формы: Учебное пособие. М.: Машиностроение, 1979.-240 с., ил.