| Скачать .docx |
Курсовая работа: Расчет гидросистемы с параллельно включенным дросселем
Министерство образования и науки Российской Федерации
Федеральное агентство по образованию
Государственное образовательное учреждение высшего профессионального образования
Восточно-Сибирский государственный технологический университет
Институт пищевой инженерии и биотехнологии
Кафедра «Биомедицинская техника, процессы и аппараты пищевых производств»
Допущен к защите
Зав. кафедрой
_________________
«___»__________200__г.
КУРСОВАЯ РАБОТА
по дисциплине «Гидравлика»
Тема: Расчет гидросистемы с параллельно включенным дросселем
Исполнитель:
студент (ка)
группа
Руководитель проекта
Улан-Удэ, 2009
ФЕДЕРАЛЬНОЕ АГЕНСТВО ПО ОБРАЗОВАНИЮ
ВОСТОЧНО-СИБИРСКИЙ ГОСУДАРСТВЕННЫЙ
ТЕХНОЛОГИЧЕКИЙ УНИВЕРСИТЕТ
ЗАДАНИЕ № 8
на курсовую работу
Студента 3 курса
Фамилия_____________ Имя _______Отчество___________
Время выдачи задания « 9 » марта 2009 г.
Срок выполнения работы « 27 » апреля 2009 г.
Защита работы назначена на « 4 » мая 2009 г.
1. Тема работы Расчет гидросистемы____________________________________________________________________________________________________________________________________________________________________________________________________________________________________________________________
2. Исходные данные к работе l01=0,4 (м); l13=0,4 (м); l12=2,0 (м); l23=2,8 (м); l30=0,6 (м); U=1,0 (м/с); fп=10·10-4 (м2); Fп=600 (Н)________________________________________________________________________________________________________________________________________________________________________________________________________________________________________________________________________________________________________________________________________________________________________________________________________________________________________________________________________________________________________________________________________________________________________________________________________________________________________________________________________________________________________________________________________________________________________________________________________________________________________________________________________________________
3. Содержание расчетно-пояснительной записки (перечень подлежащих разработке вопросов)________________________________________________
Определение оптимальных скоростей движения жидкости в гидролиниях_____________________________________________________
Выбор жидкости, применяемых в гидросистемах__________________
Расчет гидролиний_____________________________________________
Расчет простой гидролинии_____________________________________
Расчет разветвленных гидролиний________________________________
Расчет параллельных соединений гидролиний______________________
Выбор оптимальных диаметров гидролиний_______________________
Определение гидравлических сопротивлений______________________
Построение напорной, пьезометрической линий____________________
Подбор оборудования__________________________________________
Литература, пособия
Вильнер Я.М. Справочное пособие по гидравлике, гидромашинам и гидропроводу. - Минск: Высшая школа, 1996.
Полякова Л.Е., Ямпилов С.С, Блекус В.Г., Норбоева Л.К., Хантургаев А.Г., Хараев Г.И., Цыбенов Ж.Б.. Методическое пособие по выполнению курсовых проектов и работ по дисциплинам «Гидравлика, гидравлические машины и гидропривод» и задания. Улан-Удэ 2006.
График выполнения курсовой работы:
с 9 марта по 19 марта Определение оптимальных скоростей движения жидкости в гидролиниях; Выбор жидкости, применяемых в гидросистемах; Расчет гидролиний
с 19 марта по 26 марта Расчет простой гидролинии; Расчет разветвленных гидролиний; Расчет параллельных соединений гидролиний
с 26 марта по 10 апреля Выбор оптимальных диаметров гидролиний; Определение гидравлических сопротивлений
с 10 апреля по 27 апреля Построение напорной, пьезометрической линий;
Подбор оборудования_________________________________________
____________________________________________________________________________________________________________________________________
Руководитель
Задание принял к исполнению__________________________________
Введение
При расчете курсовой работы необходимо знать: источники энергии (насосы), потребители энергии (гидродвигатели и др.) и уметь их увязывать в гидросистему.
В практике встречаются две задачи:
а) по исходным параметрам потребителя энергии (расходу, давлению, усилию, моменту и т.д.) требуется провести расчет гидролиний и определить исходные параметры для выбора источника энергии.
б) по имеющимся параметрам источника энергии определить возможность использования его с данным потребителем, т. е. провести проверочный расчет.
В основе решения этих задач лежит расчет гидролиний, т. е. определение потерь энергии в гидролиниях, диаметров трубопроводов, скорости движения жидкости, расходы жидкости, давлений.
Гидравлический расчет является составной частью инженерного расчета, который учитывает множество факторов: условия эксплуатации и надежность, экономические и технологические соображения, условия максимума унификации деталей и материально-технического снабжения и т.д. Поэтому, как правило, приходится выполнять несколько вариантов гидравлического расчета. Однако на данном этапе подготовки специалиста у него нет опыта и знаний, необходимых для учета всех факторов; инженерный расчет студенты выполняют при дипломном проектировании. Поэтому в данном методическом указании не рассматриваются другие стороны инженерного расчета.
Гидросхема

| l01; l13 | l12 | l23 | l30 | Umax | Umin | fп | Fп | жидкость |
| 0,4 | 2,0 | 2,8 | 0,6 | 1,0 | 0,01 | 10·10-4 | 600 | АМГ-10 |
Насос при закрытом дросселе подает жидкость в гидроцилиндр и, далее, жидкость через фильтр сливается в бак, при этом скорость поршня гидроцилиндра максимальна. При полностью открытом дросселе только часть жидкости, подаваемой насосом, проходит в гидроцилиндр, в этом .случае скорость движения поршня будет максимальной. Предохранительный клапан предохраняет гидросистему от перегрузок
Определить тип насоса, подобрать гидроаппаратуру. Рассчитать мощность, подачу давления насоса, диаметры гидролиний, ударное повышение давления в точке 1, перепад давления на клапане. Построить напорную линию. Подобрать элементы гидросистемы.
Скорости движения жидкости в гидролиниях
Приступая к гидравлическому расчету гидролинии надо иметь в виду, что не всегда решение можно получить чисто гидравлическими методами. В этих случаях прибегают к технико-экономическому расчету. Дело в том, что с увеличением скорости резко возрастают потери энергии в гидролиниях, а с уменьшением скорости возрастает металлоемкость конструкции. Поэтому в каждом случаи существует оптимальные значения диаметров трубопроводов и скорости движения жидкости, при которых сумма годичных эксплуатационных и капитальных затрат оказывается минимальной. Это с одной стороны, а с другой стороны в различных отраслях промышленности к гидросистемам предъявляются различные требования, которые оказывают влияние на величину оптимальных значений диаметров и скорости.
Оптимальные значения диаметра трубопроводов и скорость движения жидкости в различных отраслях техники различны.
В общем машиностроении принято ограничивать скорость в зависимости от давления.
а) при коротких трубопроводах (l/d < 100) скорости находятся в пределах:
всасывающие – 0,5-1,5;
сливные – 2;
напорные – 3-5;
б) при длинных трубопроводах (l/d > 100) скорости находятся в пределах:
всасывающие – 0,3-0,8;
сливные – 1,2;
напорные – 2-2,5;
Однако, надо иметь в виду, что в общем случае скорости надо принимать так, чтобы потери давления в гидролиниях не превышали 5-6 % рабочего давления.
Жидкости, применяемые в гидросистемах
В гидросистемах, в зависимости от назначения, применяются различные жидкости: в моечных машинах – моющие жидкости, которые по своим свойствам близки к воде; в системах гидропривода – различные масла.
Физические свойства жидкости
| Жидкость | Вязкость при 50°С υ50·106 м2/с | Пределы рабочих температур, °С | Плотность ρ, кг/м3 | Модуль упругости Е, МПа |
| АМГ-10 | 10 | -60 - +100 | 900 | 1305 |
Модуль упругости и плотность жидкости в пределах рабочих температур практически не меняются.
Расчет гидролиний
Гидролинии бывают довольно сложные: имеются ответвления, изменяются диаметры труб и материал. Для удобства расчета гидролинии подразделяются на простые и сложные. Простая гидролиния - прямая труба постоянного диаметра. Сложные гидролинии имеют ответвления, однако любую сложную гидролинию можно представить как совокупность простых. Простая гидролиния гидравлически определена, если известны гидродинамические напоры или давления на ее концах, диаметр и расход жидкости. На практике встречаются три задачи о простой гидролинии: в первой требуется найти потери удельной энергии, во второй - диаметр, в третьей - расход жидкости
Гидролиния 0-1
Т.к. гидролиния 01 всасывающая, как принято в общем машиностроении скорость принимаем 0,5-1,5 м/с
![]()

диаметр гидролинии выбирается по ГОСТ 8734-58
![]()
Находим Vдейст
![]()
режим движения жидкости характеризуют числом Рейнольса
![]()
т.к. Re>2320 тип движения жидкости ламинарный
Коэффициент Дарси определяется в зависимости от режима движения жидкости. При ламинарном режиме определяем по формуле Блазиуса
![]()
Потери гидродинамического напора или давления определяются формулой Дарси-Вейсбаха.
![]()
Коэффициент местного сопротивления выбираем по табл.5 из Методического пособия по выполнению курсовых работ по дисциплинам "Гидравлика, гидравлические машины и гидропривод"
![]()
![]()
потери давления определяются как сумма потерь по длине и в местных сопротивлениях
![]()
Гидролиния 1-2
Т.к. гидролиния 1-2 напорная, как принято в общем машиностроении скорость принимаем 3-5 м/с

диаметр гидролинии выбирается по ГОСТ 8734-58
![]()
Находим Vдейст
![]()
режим движения жидкости характеризуют числом Рейнольса
![]()
т.к. Re>2320 тип движения жидкости ламинарный
Коэффициент Дарси определяется в зависимости от режима движения жидкости. При ламинарном режиме определяем по формуле Блазиуса
![]()
Потери гидродинамического напора или давления определяются формулой Дарси-Вейсбаха.
![]()
Коэффициент местного сопротивления выбираем по табл.5 из Методического пособия по выполнению курсовых работ по дисциплинам "Гидравлика, гидравлические машины и гидропривод"
![]()
![]()
![]()
![]()
потери давления определяются как сумма потерь по длине и в местных сопротивлениях
![]()
Гидролиния 2-3
Т.к. гидролиния 2-3 напорная, как принято в общем машиностроении скорость принимаем 3-5 м/с

диаметр гидролинии выбирается по ГОСТ 8734-58
![]()
Находим Vдейст
![]()
режим движения жидкости характеризуют числом Рейнольса
![]()
т.к. Re>2320 тип движения жидкости ламинарный
Коэффициент Дарси определяется в зависимости от режима движения жидкости. При ламинарном режиме определяем по формуле Блазиуса
![]()
Потери гидродинамического напора или давления определяются формулой Дарси-Вейсбаха.
![]()
Коэффициент местного сопротивления выбираем по табл.5 из Методического пособия по выполнению курсовых работ по дисциплинам "Гидравлика, гидравлические машины и гидропривод"
![]()
![]()
![]()
потери давления определяются как сумма потерь по длине и в местных сопротивлениях
![]()
Гидролиния 3-0
Т.к. гидролиния 3-0 является сливной, как принято в общем машиностроении скорость принимаем 2 м/с

диаметр гидролинии выбирается по ГОСТ 8734-58
![]()
Находим Vдейст
![]()
режим движения жидкости характеризуют числом Рейнольса
![]()
т.к. Re>2320 тип движения жидкости ламинарный
Коэффициент Дарси определяется в зависимости от режима движения жидкости. При ламинарном режиме определяем по формуле Блазиуса
![]()
Потери гидродинамического напора или давления определяются формулой Дарси-Вейсбаха.
![]()
Коэффициент местного сопротивления выбираем по табл.5 из Методического пособия по выполнению курсовых работ по дисциплинам "Гидравлика, гидравлические машины и гидропривод"
![]()
![]()
потери давления определяются как сумма потерь по длине и в местных сопротивлениях
![]()
Расчет параллельной гидролинии 1-3
При расчете параллельной гидролинии необходимо использовать графический метод. Для этого необходимо построить график зависимости
Для того чтобы построить график необходимо задаться значениями диаметров (от 1 мм до 50 мм) и алгоритму рассчитать значение
а затем определить необходимый оптимальный диаметр для параллельной гидролинии, уточнить его по ГОСТу.
Рассчитываем Pзадн
![]()
![]()
![]()
![]()
![]()
![]()
| d | Vдейст | Re | λ | ∆P |
| 0,001 | 611,46 | 76433,12 | 0,019 | 5698909413,78 |
| 0,002 | 152,87 | 38216,56 | 0,023 | 211786988,21 |
| 0,003 | 67,94 | 25477,71 | 0,025 | 30864965,36 |
| 0,004 | 38,22 | 19108,28 | 0,027 | 7870581,04 |
| 0,005 | 24,46 | 15286,62 | 0,028 | 2726994,32 |
| 0,006 | 16,99 | 12738,85 | 0,030 | 1147026,14 |
| 0,007 | 12,48 | 10919,02 | 0,031 | 551538,79 |
| 0,008 | 9,55 | 9554,14 | 0,032 | 292492,22 |
| 0,009 | 7,55 | 8492,57 | 0,033 | 167162,88 |
| 0,01 | 6,11 | 7643,31 | 0,034 | 101342,53 |
| 0,011 | 5,05 | 6948,47 | 0,035 | 64443,11 |
| 0,012 | 4,25 | 6369,43 | 0,035 | 42626,61 |
| 0,013 | 3,62 | 5879,47 | 0,036 | 29144,78 |
| 0,014 | 3,12 | 5459,51 | 0,037 | 20496,68 |
| 0,015 | 2,72 | 5095,54 | 0,037 | 14769,24 |
| 0,016 | 2,39 | 4777,07 | 0,038 | 10869,81 |
| 0,017 | 2,12 | 4496,07 | 0,039 | 8150,03 |
| 0,018 | 1,89 | 4246,28 | 0,039 | 6212,23 |
| 0,019 | 1,69 | 4022,80 | 0,040 | 4805,21 |
| 0,02 | 1,53 | 3821,66 | 0,040 | 3766,16 |
| 0,021 | 1,39 | 3639,67 | 0,041 | 2987,10 |
| 0,022 | 1,26 | 3474,23 | 0,041 | 2394,88 |
| 0,023 | 1,16 | 3323,18 | 0,042 | 1939,03 |
| 0,024 | 1,06 | 3184,71 | 0,042 | 1584,12 |
| 0,025 | 0,98 | 3057,32 | 0,043 | 1304,90 |
| 0,026 | 0,90 | 2939,74 | 0,043 | 1083,10 |
| 0,027 | 0,84 | 2830,86 | 0,043 | 905,34 |
| 0,028 | 0,78 | 2729,75 | 0,044 | 761,71 |
| 0,029 | 0,73 | 2635,62 | 0,044 | 644,76 |
| 0,03 | 0,68 | 2547,77 | 0,045 | 548,87 |
| 0,031 | 0,64 | 2465,58 | 0,045 | 469,70 |
| 0,032 | 0,60 | 2388,54 | 0,045 | 403,95 |
| 0,033 | 0,56 | 2316,16 | 0,046 | 349,02 |
| 0,034 | 0,53 | 2248,03 | 0,046 | 302,88 |
| 0,035 | 0,50 | 2183,80 | 0,046 | 263,92 |
| 0,036 | 0,47 | 2123,14 | 0,047 | 230,86 |
| 0,037 | 0,45 | 2065,76 | 0,047 | 202,69 |
| 0,038 | 0,42 | 2011,40 | 0,047 | 178,57 |
| 0,039 | 0,40 | 1959,82 | 0,048 | 157,85 |
| 0,04 | 0,38 | 1910,83 | 0,048 | 139,96 |
| 0,041 | 0,36 | 1864,22 | 0,048 | 124,47 |
| 0,042 | 0,35 | 1819,84 | 0,048 | 111,01 |
| 0,043 | 0,33 | 1777,51 | 0,049 | 99,27 |
| 0,044 | 0,32 | 1737,12 | 0,049 | 89,00 |
| 0,045 | 0,30 | 1698,51 | 0,049 | 79,99 |
| 0,046 | 0,29 | 1661,59 | 0,050 | 72,06 |
| 0,047 | 0,28 | 1626,24 | 0,050 | 65,06 |
| 0,048 | 0,27 | 1592,36 | 0,050 | 58,87 |
| 0,049 | 0,25 | 1559,86 | 0,050 | 53,38 |
| 0,05 | 0,24 | 1528,66 | 0,051 | 48,49 |
При расчете графическим методом диаметр параллельной гидролинии получился 8 мм, уточняем по ГОСТ 8734-58
![]()
Находим Vдейст
![]()
режим движения жидкости характеризуют числом Рейнольса
![]()
т.к. Re>2320 тип движения жидкости ламинарный
Коэффициент Дарси определяется в зависимости от режима движения жидкости. При ламинарном режиме определяем по формуле Блазиуса
![]()
Потери гидродинамического напора или давления определяются формулой Дарси-Вейсбаха.
![]()
Коэффициент местного сопротивления выбираем по табл.5 из Методического пособия по выполнению курсовых работ по дисциплинам "Гидравлика, гидравлические машины и гидропривод"
![]()
![]()
потери давления определяются как сумма потерь по длине и в местных сопротивлениях
![]()
Построение напорной, пьезометрической линий
Для наглядного представления гидравлических явлений в напорных трубопроводах, а также для некоторых расчетов строят напорную, пьезометрическую и геометрическую линии. Напорная линия графически представляет изменение полной удельной энергии жидкости направлении ее движения, пьезометрическая линия -потенциальной удельной энергии, а геометрическая -взаимное расположение живых сечений по вертикали.
Для построение напорной, пьезометрической линии используем данные расчетов:
![]()
![]()
![]()
![]()
![]()
![]()
![]()
![]()
![]()
Расчет ударного повышения давления
При мгновенном перекрытии живого сечения трубопровода в нем резко повышается давление, это явление прямого гидравлического удара, при постепенном перекрытии живого сечения трубопровода возникает не прямой гидравлический удар. Повышение давления при прямом гидравлическом ударе определяется формулой Жуковского:
![]()
,
где Еж – модуль упругости жидкости,
Еn – модуль упругость материала,
δ - толщина стенки трубопровода
ρ =900 кг/м3;
υ =5 м/с;
Еж =1305 Па;
Еn =2·105·106 Па;
δ =0,002 м

![]()
Подбор оборудования
В моей гидросистеме работают следующие оборудования:
Насос
| Расчетные данные | Справочные данные |
Q = 1 л/с P = 1,82 МПа |
шестеренный Г11-24 Q = 1,166 л/с Р = 2.5 МПа частота вращения, 1450 об/мин |
Насосами называются машины для создания напорного потока жидкой среды. Этот поток создается в результате силового воздействия на жидкость в рабочей камере насоса.
По характеру силового действия, различают насосы динамические и объемные. В динамическом насосе силовое воздействие на жидкость осуществляется в проточной камере, постоянно сообщающейся со входом и выходом насоса. В объемном насосе силовое воздействие происходит в рабочей камере, периодически изменяющей свой объем и попеременно сообщающейся со входом и выходом насоса.
К динамическим относятся:
1) лопастные: а) центробежные б) осевые
2) электромагнитные
3) насосы трения: а) вихревые б) шнековые в) дисковые г) струйные и др.
К объемным относятся:
1) возвратно поступательные: а) поршневые и плунжерные б) диафрагментальные
2) крыльчатые
3) роторные: а) роторно – вращательные б) роторно – поступательные
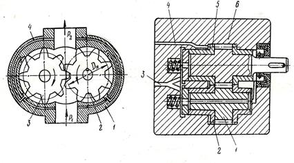
Шестеренный насос
Шестеренные насосы выполняются с шестернями внешнего и внутреннего зацепления. Наибольшее распространение имеют насосы с шестернями внешнего зацепления. На рис. 1 приведена схема такого насоса. Он состоит из двух одинаковых шестерен — ведущей 2 и ведомой 3, помещенных в плотно охватывающем их корпусе — статоре /. При вращении шестерен в направлении, указанном стрелками, жидкость, заполняющая впадины между зубьями, переносится из полости всасывания в полость нагнетания. Вследствие разности давлений (P2>P1) шестерни подвержены воздействию радиальных сил, которые могут привести к заклиниванию роторов. Для уравновешивания последних в корпусе насосов иногда устраивают разгрузочные каналы 4. Такие же каналы могут быть выполнены и в самих роторах.

Рис 1
Фильтр
| Расчетные данные | Справочные данные |
Пропускная способность Q = 1 л/с |
пластинчатый 0,2Г41 – 14 Пропускная способность Q = 1,2 л/с Наименьший размер задерживаемых частиц = 0,2, мм |
Фильтр – это отделитель твердых частиц, в котором очистка происходит при прохождении рабочей жидкости через фильтрующий элемент. В зависимости от конструкции фильтрующего элемента фильтры бывают: щелевые, в которых очистка происходит при прохождении рабочей жидкости через щели фильтрующего элемента; сетчатые, в которых очистка происходит при прохождении рабочей жидкости через ячейки сетки; пористые, в которых очистка происходит при прохождении рабочей жидкости через поры фильтрующего элемента, например через поры керамических, металлокерамических и бумажных элементов.
На рис. 2 показана схема щелевого (пластинчатого) фильтра типа Г41, 1 – пластины, 2 – вал, 3 - промежуточная пластина, 4 – ось, 5 – скребки.

Рис.2
Гидроцилиндр
| Расчетные данные | Справочные данные |
| Р = 0,6 МПа | Поршневой гидроцилиндр с двусторонним штоком |
Гидроцилиндры являются простейшими гидродвигателями, которые применяются в качестве исполнительных механизмов гидроприводов различных машин и механизмов с поступательным движением выходного звена. По принципу действия и конструкции гидроцилиндры весьма разнообразны, и применение того или иного типа гидроцилиндра диктуется конкретными условиями работы, назначением и конструкцией той машины, в которой он используется.
Поршневой гидроцилиндр с двусторонним штоком, в котором шток расположен по обе стороны поршня рис 3.
Гидроцилиндры с двусторонним штоком применяются в тех случаях, когда необходимо в обычной схеме подключения гидролинии получить одинаковое усилие и одинаковую скорость при движении штока в обоих направлениях. Однако такие гидроцилиндры увеличивают габариты машины, так как шток выходит по обе стороны корпуса, и более сложны в изготовлении, так как приходится выдерживать строгую концентричность (соосность) нескольких поверхностей: внутренней корпуса, внешней поршня и штока.

Рис 3
Гидрораспределитель
| Расчетные данные | Справочные данные |
Q = 1 л/с P = 1,82 МПа |
З74 – 14 Qном = 1,2 л/с Рном = 0,3 – 8 МПа Потери давления 0,2 МПа Утечки через зазоры 0,0009, л/с |
Гидрораспределитель – гидроаппарат, предназначенный для изменения направления потока рабочей жидкости в двух или более гидролиниях в результате внешнего управляющего воздействия.
Гидрораспределитель типа З74 – 14, предназначенного для реверсирования движения рабочих органов станков или других машин с помощью ручного управления. При среднем фиксированном положении обе полости гидродвигателя А и Б и напорная линия соединены с баком. В левом или правом фиксированном положении одна из полостей отсекается от напорной линии и соединяется со сливом, а другая отсекается от слива и соединяется с напорной линией. Гидрораспределители работают на минеральных маслах вязкостью 10 – 60 сСт при температуре до 50 С.

Рис 4
Дроссель регулируемый
| Расчетные данные | Справочные данные |
Q = 1 л/с P = 1,82 МПа |
Г77 – 3 Qном = 1,2 л/с Рном = 12,5 МПа |
Гидродроссель – это регулирующий гидроаппарат неклапанного действия, представляющий специальное местное гидравлическое сопротивление, предназначенное для снижения давления в потоке рабочей жидкости, проходящей через него.
Для регулирования скорости перемещения рабочих органов станков и других машин путем изменения расхода рабочей жидкости используют регулируемые гидродроссели двух типов: крановые и золотниковые. На рис. 5 представлена схема кранового дросселя типа Г77 – 3. 1 – втулка, 2 – пробка, 3 – рукоятка, А Б В – отверстия.

Рис. 5
Клапан предохранительный
| Расчетные данные | Справочные данные |
Q = 1 л/с P = 1,82 МПа |
Г77 – 24 Qном = 1,2 л/с Рном = до 20 МПа |
Гидроклапаном называется гидроаппарат, в котором степень открытия проходного сечения (положение запорно-регулирующего органа) изменяется под воздействием напора рабочей жидкости, проходящей через него, Гидроклапаны бывают регулирующие и направляющие. К регулирующим в первую очередь относятся клапаны давления, предназначенные для регулирования давления в потоке рабочей жидкости.
Предохранительный клапан предохраняет систему от давления, превышающего допустимое.
Принцип действия всех напорных клапанов одинаков и основан на уравновешивании силы давления рабочей жидкости, действующей на клапан, усилием пружины или другим противодействующим устройством, рис 6.

Рис 6
Список использованной литературы
1. Вильнер Я.М., Ковалев Я.Т., Некрасов Б.Б. Справочное пособие по гидравлике, гидромашинам и гидроприводам. – Минск, 1976.
2. Полякова Л.Е., Ямпилов С.С., Блекус В.Г., Норбоева Л.К. Методическое пособие по выполнению курсовых проектов и работ по дисциплинам «Гидравлика, гидравлические машины и гидропривод» и задания. – Улан – Удэ, 2006.