| Скачать .docx |
Реферат: Виды и назначение посадок
1. Назначение посадок на гладкие цилиндрические соединения
Выбор различных посадок для подвижных и неподвижных соединений производят на основании предварительных расчетов, экспериментальных исследований.
Расчеты подвижных посадок заключаются в установлении необходимого зазора или обеспечения жидкостного трения. Расчеты неподвижных посадок сводятся к определению прочности сопрягаемых деталей, а также к определению усилий запрессовки и распрессовки.
Переходные посадки предназначены для неподвижных, однако, разъемных соединений деталей. Неподвижность в них достигается с помощью различных элементов. Переходные посадки обеспечивают хорошее центрирование соединяемых деталей и их легкую сборку. Отверстие в переходных посадках обычно принимают на один квалитет грубее вала.
Рассмотрим одно из гладких цилиндрических соединений узла Д2 – соединение зубчатого колеса с валом с номинальным размером D2 = 22 мм. Неподвижность этого соединения обеспечивается шпонкой, поэтому здесь нет необходимости применять посадку с натягом. В таком соединении целесообразно применить одну из переходных посадок. В соответствии с рекомендациями (3, с. 322) выбираем посадку, Н7 /k6 которая обеспечивает хорошее центрирование и возможность легкой сборки и разборки.
Для выбранного сопряжения определим размерные параметры деталей. По стандарту (6) находим верхние и нижние предельные отклонения размеров отверстия: ES = +21 мкм, EI = 0 и вала es = +15 мкм, ei = +2 мкм.
В соответствии с рис. 1 определяем предельные размеры Dmax , Dmin , dmax , dmin , допуски размеров TD и Td , зазор Smax и натяг Nmax ; допуск посадки Tn ,Dmax = D + ES = 22 + 0.021 = 22.021 мм Td = es – ei = 0.015 – 0.002 = 0.013 мм, Dmin = D + EI = 22 + 0 = 22 мм Smax = ES – ei = 0.021 – 0.002 = 0.019 мм, TD = ES – EI = 0.021 – 0 = 0.021 мм, Nmax = es – EI = 0.015 – 0 = 0.015 мм, dmax = d + es = 22 + 0.015 = 22.015 мм, Tn = TD + Td = 0.021 + 0.013 = 0.034 мм.
2. Назначение посадок для подшипников качения
В соответствии с заданным режимом работы узла назначаем вначале посадки для подшипников по размерам: 1) D7 = 20 мм и D8 =52 мм; 2) D4 = 25 мм и D5 = 62 мм.
Посадку вращающихся колец подшипников для исключения их проворачивания по посадочной поверхности вала или отверстия корпуса в процессе работы под нагрузкой необходимо выполнять с гарантированным натягом. Посадку одного из не вращающихся колец двухопорного вала необходимо проводить с гарантированным зазором для обеспечения регулировки осевого зазора или натяга, а также для компенсации температурных расширений валов или корпусов.
Поскольку в данной курсовой работе не ставится задача определения этих параметров, то для выбора посадок необходимо учитывать указанный в задании режим работы подшипника, в данном случае нормальный, т.е. 0.07£ P/C£ 0.15.
Из конструкции узла следует, что внутреннее кольцо подшипника вращается вместе с валом, или оно испытывает циркуляционное нагружение, а наружное кольцо испытывает местное нагружение, так как оно неподвижно относительно радиальной нагрузки.
Исходя из этих условий, т.е. режима работы и характера нагружения по (22, табл. 1 и 3 прил. 5) принимаем посадку внутреннего кольца подшипника на вал 1) Æ20k6, 2) Æ25k6, а посадку наружного кольца в корпус 1)Æ52 Js7, 2)Æ 62 Js7.
Для посадки 1)Æ20 k6 верхнее предельное отклонение отверстия внутреннего кольца ES= 0, а нижнее EI= -8 мкм. Предельные отклонения вала выбираем по стандарту (6), они будут равны: es= + 15 мкм и ei= + 2 мкм.
Для посадки 1)Æ52 Js 7 по (20 или 4 табл. 4.83) верхнее предельное отклонение наружного кольца подшипника es=+10 мкм, а нижнее ei =-10 мкм. Согласно (6) верхнее предельное отклонение диаметра отверстия корпуса ES=0, а нижнее EI= -8.
Для посадки 2)Æ25 k6 верхнее предельное отклонение отверстия внутреннего кольца ES=0, а нижнее EI= -8 мкм. Предельные отклонения вала выбираем по стандарту (6), они будут равны: es= + 15 мкм и ei= + 2 мкм.
Для посадки 2)Æ62 Js 7 по (20 или 4 табл. 4.83) верхнее предельное отклонение наружного кольца подшипника es=0, а нижнее ei = -8 мкм. Согласно (6) верхнее предельное отклонение диаметра отверстия корпуса ES= + 10, а нижнее EI=-10.
Определяем для выбранных посадок предельные зазоры Smax и Smin, натяги Nmax и Nmin между сопрягаемыми поверхностями (1):
Внутреннего кольца и вала
Nmax =es-EI=15+8=23 мкм;
Nmin =ei-ES=2 – 0=2 мкм;
Наружного кольца и корпуса
Nmax =es-EI= 0+ 10= 10 мкм;
Smax =ES-ei= 10 + 8 = 18 мкм.
Определяем для выбранных посадок предельные зазоры Smax и Smin, натяги Nmax и Nmin между сопрягаемыми поверхностями (2):
Внутреннего кольца и вала
Nmax =es-EI= 15 + 8 =23 мкм;
Nmin =ei-ES= 2 – 0= 2 мкм;
Наружного кольца и корпуса
Nmax =es-EI= 0 + 10 =10 мкм;
Smax =ES-ei= 10 + 8= 18 мкм.
3. Назначение комбинированных посадок на гладкие цилиндрические соединения
В качестве примера рассмотрим соединение крышки с корпусом с номинальным размером D = 62 мм. В большинстве случаев с целью сокращения номенклатуры режущего инструмента рекомендуется назначать посадки в системе отверстия. Но выбранная посадка может привести к неоправданному ухудшению технологичности детали. Если на рассматриваемое соединение назначить посадку в системе отверстия, то поле допуска отверстия на участке «корпус-крышка» будет H7.
Однако на это же отверстие для участка корпус-подшипник в предыдущем разд. 2 уже назначено поле допуска Js7. Следовательно, в том случае одно и то же отверстие на разных участках будет иметь различные размеры, т.е. оно будет ступенчатым.
Более целесообразно выдержать размер отверстия одинаковым на всей его длине таким, каким он выбран для сопряжения «корпус-подшипник», т.е. Æ62 JS 7. Для обеспечения легкой сборки и разборки это сопряжение должно быть с гарантированным зазором.
По(5) подбираем поле допуска крышки так, чтобы на схеме (рис. 3б) оно было расположено ниже поля допуска отверстия, при чем квалитет крышки может быть грубее квалитета отверстия. Этим условиям отвечает поле допуска крышки d9, а посадка в рассматриваемом сопряжении комбинированной. Æ62Js7/f9. Для этой посадки определяем значения зазоров: Smin =0 мм; Smax =0.05 мм; Sср =0.025 мм. Комбинированными называются посадки, в которых поля допусков сопрягаемых деталей выбраны в разных системах. Выбранную комбинированную посадку Æ72 Js7/d9 проставляем на сборочном чертеже узла.
4. Назначение посадок на шпоночное соединение
Для соединения D2 =22 мм зубчатого колеса с валом необходимо выбрать тип шпоночного соединения, а также посадки по спрягаемым размерам, изобразить схему расположения полей допусков и рассчитать предельные зазоры и натяги. Шпонки обычно сопрягаются по ширине с валом по неподвижной посадке, а с втулками по одной из подвижных посадок. Натяг необходим для того, чтобы шпонка не перемещалась при эксплуатации, а зазор – для компенсации неизбежных неточностей пазов и их перекоса.
Для заданных условий работы и сборки принимаем призматическую шпонку, исполнение 1, сечением b x h=8 x 7.
По (4, табл. 4.65) для серийного и массового производства принимаем нормальное соединение шпонки с пазами по ширине: вала – N9, втулки – Js9. Поле допуска по ширине самой шпонки для любого соединения установлено h9.
Выбираем предельные отклонения размера по ширине шпонки 8h9 = 8 -0.036 мм. Выбираем предельные отклонения размеров по ширине пазов: вала 8N9=8 -0.036 мм и втулки 8Js9 = ± 0.018.
Рассчитываем предельные зазоры и натяги в сопряжениях:
вал – шпонка 8N9/h9
Smax =0 – (-0.036) =0.036 мм;
Nmax =0 – (-0.036) =0.036 мм;
втулка – шпонка 8Js9/h9
Smax =+0.018 – (-0.036) =0.054 мм;
Nmax =0 – (-0.018) =0.018 мм.
Размеры по высоте паза втулки и глубине паза вала (рис. 5) выбираются в соответствии с (4, табл. 4.66). эти размеры необходимо указывать на рабочих чертежах.
Размеры по высоте паза втулки и глубины паза вала выбираются в соответствии с [4, табл. 4.66] или по [11]. Эти размеры необходимо указывать на рабочих чертежах деталей.
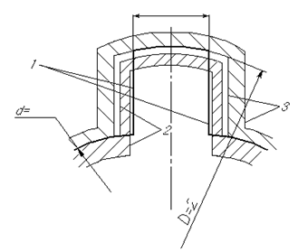
5. Назначение посадок на шлицевые соединения
Шлицевые соединения имеют то же назначение, что и шпоночные, но обычно используются при передаче больших крутящих моментов и более высоких требованиях к соосности соединяемых деталей. Среди шлицевых соединений прямобочные соединения наиболее распространены.
При выборе способа центрирования, характера и точности шлицевого соединения необходимо исходить из назначения узла и условий его эксплуатации.
Рассмотрим соединение подвижного блока зубчатых колес с валом по диаметру D6 = 32 мм.
В процессе работы узла зубчатое колесо не перемещается вдоль оси вала. Твердость втулки не слишком высока и допускает обработку чистовой протяжкой, а вал обрабатывается фрезированием и шлифованием по диаметру D.
Таким образом, в данном случае целесообразно применить способ центрирования по внешнему диаметру.
С учетом изложенного принимаем по (4, табл. 4.73 и 4.75) следующие посадки:
по центрирующему диаметру D H7 /f7
по размеру b – D9 /f8.
по нецентрирующему D – H12/б11
По D6 = D = 32 мм находим по (4, табл. 4.71) значения остальных параметров шлицевого соединения:
d = 26, b = 6, z = 6.
На сборочном чертеже узла выбранное шлицевое соединение можно обозначить следующим образом:
d –6 x 26H7 /f6 x 32 H12 /б 11 x 6 D9 /f8 .
Предельные отклонения на размеры шлицевых поверхностей выбираются по (6).

Схема расположения полей допусков элементов шлицевого соединения

Рис. 7. Предельные контуры шлицевых деталей: 1 – номинальный контур соединения, 2 – предельные контуры зуба вала, 3 – контуры паза
6. Расчет предельных калибров
Для одного из сопряжений заданном узле необходимо рассчитать предельные и исполнительные размеры рабочих калибров для контроля отверстия и вала. Исполнительным называется размер калибра, проставляемый на его чертеже.
В качестве примера рассмотрим расчет предельных калибров для контроля деталей сопряжения D2 = Æ 22 H7 /k6 .
Расчет исполнительных размеров рабочего калибра для контроля отверстия Æ22 H7.
Для расчета размеров калибра необходимо вначале определить значение минимального Dmin и максимального Dmax размеров отверстия. Находим верхнее и нижнее предельные отклонения отверстия: ES = +0.021 мм и EI = 0. Следовательно, Dmax = 22.021 мм и Dmin = 22 мм.
По (7 табл. 2) для диаметра 30 мм и квалитета IT 7 находим: z = 3 мкм, у = 3 мкм, Н = 4 мкм. Схема расположения полей допусков калибров для контроля отверстия Æ 22 H7 показана на рис. 8.
Находим предельные размеры калибра-пробки, мкм:
ПРmax = Dmin + z +Н/2 = 22+0.003+0.002=22.005
ПРmin = Dmin + z – Н/2 = 22+0.003–0.002=22.001
ПРизн = Dmin – у = 22–0.003=21.997
НЕmах = Dmax + Н/2 = 22.021+0.002=22.023
НЕmin = Dmах – Н/2 = 22.021–0.002=22.019
В качестве исполнительных размеров для контроля отверстий принимаются наибольшие предельные размеры соответствующих сторон с допусками, направленными «в тело» калибра.
Для рассматриваемого примера исполнительные примеры рабочих калибров-пробок будут равны: ПР = 22.005-0,004 , НЕ = 22.023-0,004 .
Расчет исполнительных размеров рабочего калибра для контроля вала Æ22 k6.
По (6) находим предельные отклонения вала: es = +0.015 мм и ei = +0.002 мм. Следовательно, dmax=22.015 мм и dmin = 22.002 мм. Для диаметра 22 мм и квалитета IT 6 находим: z1 =3 мкм, у1 = 3 мкм, Н1 =4 мкм.
В соответствии (7) определяем предельные размеры калибра-скобы, мм:
ПРmax = dmax – z1 +Н/2 = 30.015 – 0.003 + 0.002 = 22.014
ПРmin = dmax – z1 – Н/2 = 30.015 – 0.003 – 0.002 = 22.010
ПРизн = dmax + у1 = 30.015 + 0.003 = 22.018
НЕmах = dmin + Н/2 = 30.002 + 0.002 = 22.004
НЕmin = dmin – Н/2 = 30.002 – 0.002 = 22
В качестве исполнительных размеров калибров для контроля валов принимаются наименьшие предельные размеры соответствующих сторон с допуском (равным Н1 ), направленным «в тело» калибра. Исполнительные размеры рабочего калибра скобы будут равны: ПР = 22.010+0,004 и НЕ = 22+0,004
7. Назначение посадок на резьбовые соединения
Класс точности для резьбовых соединений рекомендуется для ответственных статически нагруженных резьбовых соединений или для обеспечения повышенной соосности резьбы. Средний класс является основным для резьб общего применения.
В рассматриваемом узле рассмотрим звездочку D1 = 20 мм. К этой резьбе не предъявляются высокие требования в отношении соосности или нагруженности, потому ее можно отнести к резьбам среднего класса точности. По (4, табл. 4.28) выбираем поля допусков по среднему классу точности для наружной резьбы (болта) и внутренней резьбы (гайки) соответственно 6g и 6Н.
С учетом условий работы рассматриваемого узла можно применить резьбу метрическую с мелким шагом Р = 1 мм. Таким образом, принимаем резьбовое соединение:
М20х1–6Н/6g.
Обозначение внутренней резьбы (гайки) – М20х1–6Н.
Обозначение наружной резьбы (болта) – М20х1–6g.
Номинальный диаметр резьбы является одновременно номинальным размером наружного диаметра D гайки и наружного диаметра d болта, т.е. D=d=20 мм. По (4, табл. 4.24) находим значения среднего диаметра гайки и болта D2=d2=19.350 мм и внутреннего диаметра D1=d1=18.917 мм.
По (4, табл. 4.29) находим предельные отклонения диаметров, для внутренней резьбы:
нижнее отклонение для D, D1, D2 EI=0
верхнее отклонение для D ES – не нормируется
верхнее отклонение для D2 ES =+0.160 мм
верхнее отклонение для D1 ES =+0.236 мм
для наружной резьбы:
верхнее отклонение для d, d1, d2 es = -0.026 мм
нижнее отклонение для d ei = -0.206 мм
нижнее отклонение для d2 ei = -0.144 мм
нижнее отклонение для d1 ei – не нормируется

Схемы расположения полей допусков деталей резьбового сопряжения М8х1–6Н/6g по наружному, среднему и внутреннему диаметрам
Определяем предельные размеры диаметров:
Dmax – не нормируется
Dmin = D+EI =20+0=20 мм
D2max =D2+ES =19.350+0.160= 19,510 мм
D2min =D2+EI=19.350+0=19.350 мм
D1max =D1+ES=18.917+0.236=19.153 мм
D1min =D1+EI=18.917+0=18.917 мм
dmax =d+es=20+(-0.026)=19.974 мм
dmin =d+ei=20+(-0.206)=18.794 мм
d2max =d2+es=19.350+(-0.026)=19.324 мм
d2min =d2+ei=19.350+(-0.144)=19.206 мм
d1max =d1+es=18.917+(-0.026)=18.891 мм
d1min – не нормируется.

Предельные размеры контуров резьбовых деталей сопряжения М8х1–6Н/6g: внутренней резьбы (гайки); 2-наружной резьбы (болта)
Контролируемые показатели точности зубчатого венца (m=3, z=35, 8-В ГОСТ 1643–81)
| Нормы точности | Показатели точности | Обозначение допуска | Значение допуска, мкм |
| Кинематической | Допуск на радиальное биение зубчатого венца | Fr | 45 |
| Допуск на накопленную погрешность шага зубчатого колеса | Fp | 90 | |
| Допуск на кинематическую погрешность зубчатого колеса | Fi ¢ | 104 | |
| Плавности работы | Допуск на местную кинематическую погрешность | fi ¢ | 36 |
| Предельные отклонения шага по зубчатому колесу | ±fpt |
±20 | |
| Допуск на погрешность профиля | ff | 14 | |
| Контакта зубьев | Суммарное пятно контакта: по высоте зуба не менее | - | 40% |
| по длине зуба не менее | - | 50% | |
| Допуск на непараллельность осей | fx | 25 | |
| Допуск на перекос осей | fy | 12 | |
| Допуск на направление зуба | Fb | 25 | |
| Бокового зазора | Наименьшее дополнительное смещение исходного контура | EHS | 160 |
| Допуск на смещение исходного контура | TH | 140 | |
| Наименьшее отклонение толщины зуба по постоянной хорде | Eсs | 120 | |
| Допуск на толщину зуба по постоянной хорде | Te | 100 |
8. Нормирование точности зубчатых колес
При выборе степени точности и контролируемых показателей точности зубчатых колес необходимо учитывать назначение и условия эксплуатации передачи.
Выбор степени точности зубчатого колеса.
Окружная скорость венца z = 40 равна, m = 2.5:
V=pDn/1000*60=3.14*(40+2)*2.5*315/1000*60=1.731 м/с.
В соответствии с (4, табл. 5.12) при окружной скорости до 6 м/с можно принять для прямозубых колес восьмую степень точности по всем нормам точности.
По условиям эксплуатации узла к зубчатому колесу особых требований не предъявляется, следовательно, можно принять вид сопряжения «В» (т.е. с нормальным гарантированным боковым зазором). При выбранной степени точности и виде сопряжения обозначение точности колеса зубчатого будет: 8-В ГОСТ 1643–81.
Выбор контролируемых показателей точности зубчатого колеса.
Для венца z = 40 назначаем контролируемые показатели точности зубчатого колеса по трем нормам точности и боковому зазору.
Диаметр дополнительной окружности этого колеса d=z*m=40*2.5=100 (мм), ширина зубьев до мм, степень точности выбрана в подр. 8.1. 8-В ГОСТ 1643–81.
9. Расчет сборочной размерной цепи
посадка соединение калибр зубчатый
В результате сборки узла должен быть обеспечен зазор БD между торцом наружного кольца подшипника и крышкой. Этот зазор необходим для компенсации температурных деформаций вала вдоль оси. Необходимо, исходя из заданных предельных размеров зазора зазор БD max и БD min определить отклонения на все составляющие звенья Б1 , Б2 -Б7 , входящие в размерную цепь узла.
В рассматриваемом узле замыкающим звеном является величина зазора БD , получающегося последним в результате сборки узла. Увеличивающими звеньями в схеме рис. Будут Б2 , Б3 , а уменьшающими Б1 , Б5 , Б6 , Б7 , Б4 .
Номинальный размер замыкающего звена:
БD =å Б – åБ = (90+2) – (4+19+50+19)=0
Предельные отклонения замыкающего звена БD
Dв БD =БD max – БD =1.0–0=+1.0
Dн БD =БD min – БD =0.2–0=+0.2
Таким образом, замыкающее звено: БD =0+0.2
Допуск замыкающего звена:
ТБD = Dв БD – Dн БD =1.0–0.2=0.8=800 мкм
Расчет размерной цепи методом максимума-минимума.
Все размеры, входящие в размерную цепь, характеризуются одним и тем же средним коэффициентом точности:
аср = ТБD / åii ,
где ii – единица допуска для каждого из размеров.
Решение задачи размерной цепи удобнее расположить в виде таблицы. В графе 1 указаны номинальные размеры звеньев в соответствии с чертежом узла. В графе 2 проставлены значения единиц допусков. На ширину колец подшипников качения допуски в данной задаче не рассматриваются, а выбираются по соответствующему стандарту.
Средний коэффициент точности:
аср = ТБD – (ТБ2 +ТБ4 +ТБ6 )/ åii =800 – (100+120+120)/4.46=103.1
| Бi номин., мм | ii , мм | IT11 по ГОСТ 25346–82, мкм | Принятые значения ТБi, мкм | Бi принятые, мм | |
| 1 | 2 | 3 | 4 | 5 | |
Б1 =4 Б2 =2 Б3 =90 Б4 =19 Б5 =50 Б6 =19 |
0.73 - 2.17 - 1.56 - |
75 60 220 130 160 130 |
75 60 220 130
130 |
4±0.0375 2-0.06 90-0.22 19-0.13 50 19-0.13 |
|
| Суммарное значение | 4.46 | 775 | 800 | - |
Полученное значение среднего коэффициента точности примерно соответствует квалитету IT11, для которого аср = 160. В графе 3 проставляем значения допусков по IT12 для всех звеньев (5, табл. 6).
При расчетах методом максимума-минимума сумма допусков всех составляющих звеньев должна быть равна допуску замыкающего звена. В нашем примере сумма допусков равна 775 (графа 3), а допуск замыкающего звена по условию равен 800. следовательно, допуск какого-либо одного звена может быть не стандартным и увеличенным на 25 мкм. Примем допуск на звено Б5 не по IT11, а увеличенным на 25 мкм, и этот допуск будет равен 185 мкм.
Необходимо установить отклонения на составляющие звенья, исходя из полученных значений допусков. При этом руководствуются следующим правилом: на размеры охватывающих поверхностей предельные отклонения назначают как для основных отверстий, на размеры охватываемых поверхностей – как для основных валов, на размеры ступенчастых поверхностей – симметрично. В соответстивии с этим правилом в графе 5 запишем принятые значения всех составляющих звеньев с предельными отклонениями. На звено Б5 это правило не распространяется, и для него необходимо определить отклонения, руководствуясь формулами:
D
в БD
= ![]()
D
н БD
= 
Подставляя в эти выражения известные предельные отклонения замыкающие звена и составляющих звеньев, определяем предельные отклонения звена Б5 :
1=(0+Dв Б5 ) – (-0.0375–0.13–0.13)
Dв Б5 = 0.7025
0.2=(-0.06–0.22+Dн Б5 ) – (0.0375)
Dн Б5 = 0.5175
Таким образом, размер звена Б5
будет равен 50
. Допуск этого размера равен 0.185 мм = 185 мкм, что соответствует принятому значению допуска. Следовательно, задача решена верно.
Расчет размерной цепи вероятностным методом.
Если при расчете размерной цепи максимума-минимума предполагалось, что в соединение могут войти детали с противоположными предельными размерами, то вероятностный метод расчета основан на предположении, что такое сочетание деталей с противоположными предельными размерами маловероятно.
Рассмотрим расчет размерной цепи вероятностным методом на примере того же узла, что и при расчете методом максимума-минимума. Схема размерной цепи остается без изменений, так же, как и значение замыкающего звена БD
=![]()
.
Определяем средний коэффициент точности:
аф
= ТБD
/tÖålI
¢iI
,
где t – коэффициент риска;
lI ¢ – коэффициент относительного рассеивания.
Предполагая, что рассеивание случайных размеров происходит по закону нормального распределения, принимаем t=3, lI ¢ =1/9,
aсp
=800 – (100+120+120)/3 Ö 1/9 (0.732
+2.172
+1.562
) =166.
Принимаем, что размеры деталей могут быть выполнены по IT12. Решение приведем в виде таблицы:
| Бi номин., мм | ii , мкм | IT 13 по ГОСТ 25346–82, мкм | Принятые значения ТБi, мкм | Бi, принятые, мм | D о Бi , мм | |
| 1 | 2 | 3 | 4 | 5 | 6 | |
Б1 =4 Б2 =2 Б3 =90 Б4 =19 Б5 =50 Б6 =19 |
0.73 - 2.17 - 1.56 - |
120 100 350 210 250 210 |
120 100 350 210
210 |
4±0.060 2-0.10 90-0.35 19-0.210 50 19-0.210 |
0 -0.05 -0.175 -0.105 -0.105 |
|
| 545 | 795 |
При расчете размерных цепей вероятностным методом допуск замыкающего звена:
ТБD = tÖålI ¢ ТБi 2
Подставляя в это выражение принятые по IT13 значения допусков оставляющих звеньев ТБi, получаем ТБD = 3 Ö1/9 (1202 +1002 +3502 +2102 +2502 +2102 ) =545
Поскольку ТБD по условию задачи равен 800, можно так же как и в предыдущей задаче, на размер компенсатора принять не стандартно увеличенное значение допуска. Принимаем ТБ5 =630 мкм. В этом случае значение допуска замыкающего звена будет близким к исходному значению ТБD =800 мкм. Принятые значения размеров составляющих звеньев указаны в графе 5.
Для того чтобы определить предельные отклонения звена Б5 , воспользуемся выражением для определения координаты середины поля допуска замыкающего звена:
Dо БD =å(Dо Бi + ai ТБi /2) – å(Dо Бi +ai ТБi /2),
где ai - коэффициент относительного рассеивания.
Полагая, что рассеивание размеров деталей подчиняется закону нормального распределения, а координаты середин полей допусков звеньев совпадают с координатами центров группирования (следовательно ai =0), это выражение упрощается:
Dо БD =åDо Бi + – åDо Бi .
Координаты середин полей допусков составляющих звеньев указаны в графе 6 таблицы.
Координата середины поля допуска замыкающего звена:
Dо БD =Dв БD – Dн БD /2 =1.0+0.2/2 =0.6.
Используя известные значения координат середин полей допусков замыкающего и составляющих звеньев, получаем значение координаты середины поля допуска звена Б5
0.6=(-0.05+0.175) – (0–0.105+Dо Б5 -0.105)
Dо Б5 = – 0.615.
Предельные отклонения любого из пределов равны:
Dв Бi = Dо Бi + ТБi /2
Dн Бi = Dо Бi – ТБi /2
Отсюда находим:
Dв Б5 =-0.615+0.315 = -0.3
Dн Б5 = -0.615–0.315 = -0.93.
Следовательно, размер звена Б5
будет равен Б5
=50
.
Сравнение результатов расчета размерной цепи методом максимума-минимума и вероятностным методом.
Решение размерной цепи одного и того же узла двумя различными методами показывает, что при вероятностном методе расчета допуски на составляющие звенья оказались примерно в 3.5 раза больше, чем допуски, рассчитанные методом максимума-минимума. Кроме того, значительно увеличился (с 0.185 до 0.630 мм) допуск на компенсирующий элемент сборочной цепи.
Изготовление деталей по расширенным допускам (IT12) экономически обойдется дешевле, чем изготовление этих деталей по более высокому квалитету (IT11).
| Пара-метр | Метод максимума-минимума | Метод максимума-минимума | Вероятностный метод | |
| Размер, мм | Допуск, мкм | Размер, мм | Допуск, мкм | |
| БD | 0 |
800 | 0 |
800 |
Б1 Б2 Б3 Б4 Б5 Б6 |
4±0.0375 2-0.06 90-0.22 19-0.13 50 19-0.13 |
75 60 220 130 185 130 |
4±0.060 2-0.10 90-0.35 19-0.210 50 19-0.210 |
120 100 350 210 630 210 |
Литература
1. Якушев А.И. Взаимозаменяемость, стандартизация и технические измерения.
2. Зябрева Н.Н., Перельман Е.И., Шегал М.Я. Пособие к решению задач по курсу «ВСТИ».
3. Допуски и посадки. Справочник (под ред. В.Д. Мягкова). ч. 1.
4. Допуски и посадки. Справочник (под ред. В.Д. Мягкова). ч. 2.
5. ГОСТ 25346–82 (СТ СЭВ 145–15) ЕСДП. Общие положения, ряды допусков и основных отклонений.
6. ГОСТ 25347–82 (СТ СЭВ 144–75). ЕСДП. Поля допусков и рекомендуемые посадки.
7. СТ СЭВ 157–75. Калибры гладкие для размеров до 500 мм. Допуски.
8. ГОСТ 14807–69-ГОСТ14827–69. Калибры-пробки гладкие, диаметром от 1 до 360 мм. Конструкция и размеры.
9. ГОСТ 18358–73-ГОСТ18369–73. Калибры-скобы гладкие для диаметров от 1 до 360 мм. Конструкция и размеры.
10.ГОСТ 2.316–68. ЕСКД. Правила нанесения на чертежах надписей, технических требований и таблиц.
11.ГОСТ 23360–78 (СТ СЭВ 189–79). ОНВ. Соединения шпоночные с призматическими шпонками. Размеры шпонок и сечений пазов. Допуски.
12.ГОСТ 1643–81. передачи зубчатые цилиндрические. Допуски.
13.ГОСТ 6636–69 (СТ СЭВ 514–77). Нормальные линейные размеры.
14.ГОСТ 24642–81 (СТ СЭВ 301–76). ОНВ. Допуски, формы и расположения поверхностей. Основные термины и определения.
15.ГОСТ 24643–81 (СТ СЭВ 636–77). ОНВ. Допуски, формы и расположения поверхностей. Числовые значения.
16.ГОСТ 2.308–79 (СТ СЭВ 368–76). ЕСКД. Указание на чертежах допусков формы и расположения поверхностей.
17.ГОСТ 2.309–73. ЕСКД. Обозначение шероховатости поверхностей.
18.ГОСТ 2.403–75. Правила выполнения чертежей цилиндрических зубчатых колес.
19.СТП КПИ 2.001–83. Курсовые проекты. Требования к оформлению документов.
20.ГОСТ 520–71. Подшипники шариковые и роликовые. Технические требования.
21.ГОСТ 18855–82 (СТ СЭВ 2793–80). Подшипники качения. Расчет динамической грузоподъемности, эквивалентной динамической нагрузки и долговечности.
22.ГОСТ 3325–85 (СТ СЭВ 773–77). Подшипники качения. Поля допусков и технические требования к посадочным поверхностям валов и корпусов. Посадки.
23.ГОСТ 1139–80 (СТ СЭВ 187–75, СТ СЭВ 188–75). ОНВ. Соединения шлицевые прямобочные. Размеры и допуски.
24.ГОСТ 16319–80. Цепи размерные. Основные положения. Термины, обозначение определения.
25.ГОСТ 16320–80. Цепи размерные. Расчет плоских цепей.