| Скачать .docx |
Курсовая работа: Технологія виробництва пива на прикладі заводу Оболонь
КУРСОВА РОБОТА
«Технологія виробництва пива на прикладі заводу Оболонь»
Зміст
Вступ
1. Теоретичні основи виробництва пива
1.1. Сировина для виробництва пива
1.2. Технологічні стадії виробництва пива
2. Нові технології у виробництві пива
3. Технології та екологія
3.1. Основи екологічного керування ЗАТ «Оболонь»
4. Підбір технологічного обладнання та складання апаратурно-технологічних схем
5. Технохімконтроль на виробництві
6. Висновки і пропозиції
Література
Вступ
Минуле століття, поза сумнівом, стало періодом бурхливого розвитку нових технологій та наук. Події і тенденції нового століття вже дають нам зрозуміти, що передові технології поведуть людство вперед в своєму розвитку набагато швидше, ніж раніше.
Компанія «Оболонь» вступила в нове тисячоліття технологічно досконалим і передовим підприємством. Основним профілем діяльності компанії є виробництво пива, тому доречно було б більш детально ознайомитися з технологією пивоваріння.
До відкриття Олімпіади 1980 року радянське керівництво поставило задачу побудувати броварню, пиво якої б відповідало високим європейським стандартам. В якості експертів були запрошені чеські фахівці – всесвітньо відомі майстри пивоваріння. Саме вони й визначили місце будівництва нового пивоварного заводу. Керувалися при цьому головним критерієм – наявністю джерела артезіанської води, яка є основним компонентом, що визначає смакові властивості пива. Таким місцем був обраний район Оболонь, який розташувався в Києві поблизу Дніпра. Слово «Оболонь» походить з часів Київської Русі – так називалися низькі прирічні луки. Саме таку назву і отримала нова броварня. Побудований за чеським проектом, завод варив пиво, яке швидко набуло широкої популярності та визнання. Після здобуття Україною незалежності компанія «Оболонь» першою розпочала експортні поставки пива до країн Європи та США. Пиво під торговою маркою «Оболонь» у всьому світі почали сприймати як традиційно українське пиво. Таким чином, «Оболонь» заснувала нові традиції українського пивоваріння.
З часом компанія «Оболонь» розвивалася і просувала свою продукцію, як на внутрішньому, так і на зовнішніх ринках. Принцип впровадження новітніх знань і технологій дозволив їй створити могутній сучасний виробничий потенціал. В результаті сьогодні 80% всього експорту пива з України припадає на торгову марку «Оболонь», яка є українським пивом № 1 в світі. Залишаючись компанією виключно з українським капіталом, «Оболонь» заснувала новий шлях розвитку українського броварництва.
Технологічні санітарно-гігієнічні умови виробництва пива, стійкого до біологічного і колоїдного помутніння протягом тривалого часу, мають деякі специфічні особливості. Проте під час виробництва стійкого пива потрібно передусім ретельно виконувати вимоги технології.
Багато технологічних факторів мають значення для підвищення стійкості пива як до біологічного, так і до колоїдного помутніння це стосується вибору сировини (ячмінь, хміль), режимів затирання, бродіння і доброджування, фільтрування та фасування пива.
Технологічні способи підвищення біологічної стійкості повинні, крім усього іншого, враховувати фізіологічні властивості мікроорганізмів, що мають здатність розмножуватися в пиві.
Підвищення біологічної стійкості може бути досягнуто комплексом технологічних заходів, в результаті яких створюються умови, несприятливі для розвитку всієї сукупності інфікуючих пиво мікроорганізмів.
Для підвищення стійкості пива до біологічного помутніння особливо велике значення має санітарно-гігієнічний стан виробництва.
Особливостями технології виробництва пива, призначеного для пастеризації та тривалого зберігання, наприклад світлого пива з масовою часткою сухих речовин сусла 12 або 13%, є ряд спеціальних додаткових технологічних прийомів, таких як внесення в сусло та молоде пиво ферментних препаратів, більш глибоке виброджування сусла, обов’язкове фільтрування пива на кізельгуровому фільтрі з наступною пастеризацією та ряд інших.
Для підвищення стійкості пива, крім наведених вище технологічних заходів, використовуються також адсорбенти, якими обробляють готове до розливу пиво безпосередньо під час фільтрування на кізельгуровому фільтрі.
1. Теоретичні основи виробництва пива
1.1 Сировина для виробництва пива
Щоб отримати якісний кінцевий продукт, поза сумнівом, необхідно використовувати якісні матеріали. Для пивоварів основними інгредієнтами є вода, ячмінь, хміль і пивні дріжджі. Використовуючи такі прості складові, пивовари створюють велику кількість марок пива.
Не секрет, що організм людини на 80% складається з води. Проте, окрім факту нашої з вами водянистості, важливо, що для здорового функціонування людського організму йому необхідна велика кількість мінеральних речовин і вітамінів. Корисні речовини надходять в організм людини не тільки через їжу, а й через воду. В абсолютному об’ємі добового споживання їжі в людини на першому місці стоїть вода. Тому питання якості питної води і води, на основі якої виробляються продукти споживання, мають для людини першочергове значення.
В пивоварінні вода є основоположним інгредієнтом, від якості якого залежать органолептичні характеристики пива, його смак і стійкість. Сольовий склад води впливає на рівень «рН», відповідно і на швидкість та глибину ферментаційних і бродильних процесів.
Саме тому компанія «Оболонь» з початку своєї пивоварної діяльності для приготування продукції використовує артезіанську воду із свердловин юрського і сеноманського горизонтів.
Перші чотири свердловини були відкриті в 1977 році (ще до відкриття заводу). З часом підприємство збільшувало випуск продукції, тому кількість свердловин зростала пропорційно росту виробленої продукції. Сьогодні підприємство використовує воду з 10 свердловин, продуктивність яких з запасом забезпечує потреби заводу. Управління процесом добування артезіанської води здійснюється за допомогою високотехнологічного комп’ютеризованого обладнання, завдяки якому ведеться не тільки обрахунок кількості, а й характеристики складу води.
Водоносні горизонти свердловин захищені твердими породами. Глина, крейда, мергель створюють природний захисний шар і унеможливлюють проникнення в воду шкідливих речовин із зовнішнього середовища. Прошарок кремнію, крізь який проходить вода, збагачує її корисними для організму людини мінералами.
Офіційний консультант природоохоронних експертиз «Європейського банку реконструкції та розвитку» чеська фірма «КАР» провела дослідження води з оболонських свердловин. В результаті численних аналізів «Оболонь» отримала підтвердження: вода з артезіанських свердловин компанії відповідає вимогам Європейського союзу.
Ячмінь – це зернова культура, колос якої має особливо довгу ость. Ячмінь, не менш ніж вода, важливий для приготування пива. Саме цей злак містить необхідний для пивоваріння крохмаль, який у варочному цеху перетворюється на екстракт. Порівняно з іншими зерновими культурами, які використовують у пивоварінні, ячмінь має ряд переваг: росте практично повсюди, невибагливий до ґрунтово-кліматичних умов, легко переробляється для одержання солоду та має саме таку міцну оболонку, яка дає змогу пивоварам використовувати її природні властивості в процесі пивоваріння та подальшого фільтрування пива. Склад ячмінного солоду, включаючи його ферменти, дає можливість одержати пиво з найкращими якісними показниками. Сьогодні відомі декілька груп ячменю і велика кількість його сортів, використовуючи які, пивовари «Оболоні» мають змогу по-різному готувати солод та варити з нього різні марки пива.
Українські пивовари найчастіше використовують такі сорти ячменя, як «Скарлет», «Пеяс», «Амулет», «Осма», «Толар». Для того, щоб мати якісній ячмінь, у достатній кількості, компания «Оболонь» створила науково-виробничу асоціацію «Нива Оболонь». Спеціалісти асоціації селекціонують нові сорти пивоварного ячменю, випробують їх та вирощують для подальшого використання у виробництві пива.
Хміль відноситься до дводомних рослин, тому при його вирощуванні культивують тільки жіночі види рослин. Вони, починаючи з другого року, дають суцвіття, які звуться хмелевими шишками та хмелевими парасольками. Завдяки вмісту гірких речовин, ефірної олії, поліфенолів хміль – незамінна сировина для пива. Саме він найбільшою мірою зумовлює характерні властивості бурштинового напою.
Поряд із неповторними смаковими та ароматичними властивостями хміль збільшує тривалість зберігання пива, поліпшує піноутворення та піностійкість. Завдяки використанню хмелю пиво збагачується фітогормонами, токоферолами, комплексом вітамінів С, РР, В3, В6, F, Н, А. Крім того, хміль містить більш як 90 поліфенолів, які мають лікувальну дію, та понад 200 компонентів ефірної олії з цілющими властивостями.
Сьогодні відомо понад 100 сортів культурного хмелю. В Україні, в основному, культивують сорти червоностеблового хмелю. Для приготування оболонського пива використовуються як гіркі, так і ароматичні сорти хмелю, зокрема, «Клон‑17», «Заграва», «Поліський», «Зміна», «Альфа», «Промінь». Пивовари компанії визнали ці сорти одними з кращих. Не зупиняючись на досягнутому, ведеться постійна робота по їх вдосконаленню, розробляються нові сорти.
Це одноклітинні мікроорганізми рослинного походження, які забезпечують процес бродіння. В даний час у пивоварінні використовують винятково культурні дріжджі. Розрізняють дріжджі верхового та низового бродіння. Пивні дріжджі завжди повинні бути мікробіологічно чистими, швидко зброджувати сусло й осідати на дно, утворювати чисте освітлене прозоре пиво з повним смаком та ароматом.
Компанія «Оболонь», приділяючи значну увагу розробці нових сортів пива і підтримці на належному рівні існуючих, має свою експериментальну лабораторію. Її фахівці, використовуючи штами відомих німецьких інституцій пивоваріння, працюють над покращенням дріжджових культур.
Пивні дріжджі, які вирощені в процесі зброджування пивного сусла, отриманого з високоякісного ячмінного солоду і хмелю, використовують як вторинний продукт пивоваріння. Наявність в пивному суслі вітамінів і біологічно активних сполук солоду визначають унікально високе накопичення в дріжджах вітамінів В1 і В2. Пивні дріжджі на 50% складаються з білка, що легко засвоюється і містить всі незамінні для людини амінокислоти і мікроелементи.
Окрім білка і вітамінів В1 і В2 дріжджі також містять в значній кількості вітаміни РР, В3, В4, В6, Н, незамінні жирні кислоти – оленову, арахідонову і лінолінову. Прийом 5–7 грамів дріжджів на добу повністю забезпечує організм людини в тіамініта рибофлавіні – найбільш дефіцитних вітамінах.
Хімічний склад пива може змінюватись в наступних межах. (в%)
Вода……………………………….80–89
Екстрактивні речовини…5,5–10,7
В тому числі:
Цукор…………………………. 2,7–5,0
Вуглекислота………………0,3–0,35
Спирт…………………………. 2,0–6,0
Мінеральні речовини…. 0,14–0,38
Органічні кислоти………0,15–0,4
В число органічних кислот, які містяться у пиві входять: молочна, пировиноградна, яблучна, рідко щавельна та ін. Крім цього, знаходиться фосфорна кислота у формі неорганічних кислих солей і органічних сполук.
Наявність в екстрактивних речовинах пива цукру, білків, амінокислот і різних мінеральних солей робить його їстівним і досить калорійним напоєм. В екстракті пива, вільним від алкоголю, міститься біля 85–90% вуглеводів, біля 8% азотистих речовин і 3,5% мінеральних речовин.
Сполучення у пиві хмелевої гіркоти і аромату, гострого свіжого смаку від розчинної у ньому вуглекислоти, наявність поживних екстрактивних речовин і невеликої кількості алкоголю зробили пиво широко розповсюдженим напоєм.
В Україні виробляється велика кількість сортів світлого і темного пива. Крім загальноприйнятих сортів, в теперішній час в окремих регіонах та містах виробляються місцеві сорти пива.
1. 2 Технологічні стадії виробництва пива
Першим етапом в приготуванні пива є виробництво солоду. Його можна назвати наріжним каменем в науці пивоваріння. Солод являє собою зерна злаків, пророщених в штучних умовах за певної температури та вологості. Для виготовлення світлого пива використовують світлий солод, виготовлений з ячменю і, в окремих випадках, частково з пшениці, а для виготовлення темних сортів пива застосовують темний, карамельний або палений солод. Найбільшу інтенсивність кольору має палений солод, меншу – карамельний, ще меншу – темний. За ароматом, якого він надає пиву, кращий з них – темний і карамельний.
На цьому етапі – етапі солодження – відбирається ячмінь. Він замочується, пророщується і сушиться, в результаті чого утворюється солод. Пізніше солод очищують від сторонніх домішків, кондиціонують, зволожують і дроблять. Під час дроблення солоду утворюється кілька фракцій, які забезпечують оптимальний склад помелу.
Затирання включає три стадії: змішування подрібнених зернопродуктів з водою, нагрівання і витримування отриманої суміші при заданому температурному режимі. При цьому кількість подрібнених зернопродуктів, які одночасно обробляються, називається засипом, об’єм води, яка використовується – наливом, а отриманий продукт – затором.
Дроблений солод змішується (затирається) з водою. Затирання відбувається в спеціальних апаратах за певної температури на протязі встановленого часу. На цьому етапі білки і крохмаль, які містяться в солоді, з’єднуються з водою. Інші частинки, які не розчинилися, пізніше будуть відділені в фільтраційному чані у вигляді пивної дробини.
Потім затор фільтрують, відділяючи сусло від дробини.
На наступному етапі пиво проходить фільтрацію, завдяки якій досягається його прозорість і стійкість. Залишки зернопродуктів, які відділилися, називаються пивною дробиною, яка використовується як корм для худоби. А сусло, яке стало прозорим, надходить в сусловарочний апарат.
У сусловарочному апараті сусло кип’ятять з хмелем при цьому з нього повністю вивільняється повітря. Саме хміль надає пиву аромат і приємну гіркоту. Гіркі ароматичні речовини хмелю екстрагуються. Цей процес називається охмелінням сусла. Під час варіння сусло стерилізується і доводиться до бажаної густини.
В пиві містяться мікроскопічні частинки у вигляді дріжджових клітин, білково-дубильних сполук, білкових речовин та хмелевих смол, які і обумовлюють його замутніння. Тому сусло передається на освітлення, яке відбувається в спеціальному апараті – вірпулі.
Щоб довести сусло до початкової температури бродіння проводиться його охолодження. Для низового бродіння – до +6…+10 С, для верхового – до +15…+22С. Після охолодження отримуємо початкове сусло – сусло, яке пізніше надходить на бродіння.
В охолоджене сусло добавляють дріжджі і вміщують в танки для бродіння. В танках підтримується необхідна температура. Сахариди переброджуються дріжджами і перетворюються на алкоголь, СО2 і побічні продукти бродіння. Після головного бродіння дріжджі збираються в спеціальні дріжджові танки.
Пиво, яке пройшло етап бродіння, називають «молодим». Воно переходить в наступну стадію – доброжування за рахунок зміни температурного режиму і тиску. Для цього його перекачують в спеціальні ємності – лагерні танки.
Для остаточного дозрівання «молоде пиво» витримують за певної температури, воно насичується вуглекислим газом, відбувається повільне доброжування залишків екстракту, освітлення. Під час доброжування формується остаточний смак і аромат неповторного оболонського пива.
При доброжуванні і дозріванні пиво освітлюється недостатньо. Тому воно піддається освітленню фільтруванням за допомогою спеціальних фільтрів – кізельгурових, які складаються з кремнієвих панцирів одноклітинних водорослів.
Тільки тоді, як пиво стало прозорим, його відправляють на розлив. Відфільтроване пиво зберігається під тиском в форфасах, звідки подається на лінії розливу і розливається в пляшки, банки, кеги.
За сучасними стандартами пивоваріння, пиво не повинно контактувати з повітрям під час його виготовлення і розливу, оскільки кисень згубно діє на смак хмільного напою. Тому, при розливі пива в пляшки і кеги, їх попередньо заповнюють вуглекислим газом. Напій заливається поступово, витісняючи вуглекислий газ. Оболонські пивовари володіють кількома секретами та хитрощами, за допомогою яких пиво герметизується в пляшках та баночках, а споживач має змогу насолодитися його неповторним свіжим смаком.
Пиво – напій норовливий. Воно не любить не тільки повітря, а й світло, тому на «Оболоні» суворо дотримуються правил його зберігання. А споживач в результаті смакує поживний напій з загадковою гірчинкою, неповторним ароматом і прозорим блиском.

Принципова схема класичного виробництва пива
Як адсорбенти використовують речовини, рекомендовані для цього спеціальними інструкціями щодо їх застосування. Для обробки готового до розливу пива, наприклад препаратом на основі діоксиду кремнію, безпосередньо під час фільтрування на кізельгуровому фільтрі після намивання основного шару кізельгуру в дозатор разом з кізельгуром марки «Б» вносять адсорбент з розрахунку 5 г/дал і у процесі всього фільтрування дозують у пиво, що йде на фільтрування.
Крім викладеного способу, залежно від умов і обладнання, що є на підприємстві, пиво можна обробляти адсорбентами та іншими способами, дотримуючись відповідних рекомендацій.
За дві доби до розливу пиво передають у проміжний танк. За допомогою дозувального пристрою під час передачі в потік пива додають суспензію адсорбента (розведену водою 1:5) з розрахунку 5 г на 1 дал пива. Після осаду адсорбенту пиво фільтрують на кізельгуровому фільтрі.
Адсорбентом обробляють пиво, вже заздалегідь відфільтроване через кізельгур. Препарат намивають на картон (освітлювальний чи опорний) рамного пластинчастого фільтра з розрахунку 5 г/дал на суху речовину адсорбенту. При цьому пиво спочатку надходить на кізельгуровий фільтр, а потім на пластинчастий з адсорбентом.
Добре відомо, що на всіх стадіях приготування пива після стадії розмноження дріжджів і початку бродіння виключений контакт пива з повітрям. Під дією кисню змінюється смак пива внаслідок окислення гірких речовин хмелю; прискорюється колоїдне помутніння внаслідок окислення дубильних речовин (поліфенолів); знижується біологічна стійкість пива; погіршується піностійкість; виникає пастеризаційний присмак. До цього переліку треба додати встановлене порівняно недавно погіршення смаку й аромату пива внаслідок окислення поліфенолів.
Проте під час розмноження дріжджів і на початку бродіння у суслі повинна бути достатня кількість розчиненого кисню. Вважається, що в результаті переробки неаерованого сусла вийде пиво, що погано освітлюється, з неприємним смаком і ароматом, схильне до колоїдного помутніння.
Речовини пива, які швидко окислюються і редукують (редуктони і меланоїдіни), можуть зв'язати деяку кількість кисню, що потрапив у розлите пиво і тим самим запобігти окисленню речовин, які в окисленому стані негативно впливають на смак і стійкість пива.
Вважають, що гранично допустимим вмістом кисню у готовому пиві, включаючи кисень повітря, що міститься у шийці пляшки, є 1 мг О2 /л. У тих випадках, коли не вживаються заходи щодо запобігання прониканню повітря в пляшку, у шийці пляшки об'ємом 0,5 л може виявитися близько 20 мл повітря, що відповідає 11 мг кисню віл пива, тобто вії разів більше граничної величини. Вміст 3–5 мг О2 /л призводить до того, що речовини пива, які мають високу редукувальну здатність, не здатні зв'язати таку кількість кисню і усунути небажані окисні реакції.
Таким чином, весь наявний у пиві кисень споживається речовинами, що відновлюються. При вмісті 0,5 мг О2 /л увесь кисень споживається за дві доби, 2 мг О2 /л – за шість діб.
За допомогою ізотопного методу встановлено, що присутній у пиві кисень на 65% витрачається у реакціях з поліфенолами, на 30% – з альдегідами і на 5% – з ізо-а -кислотою. До числа цих несприятливих для смакових якостей пива окисних реакцій потрібно додати окислення каротиноїдів, жирних кислот і вищих спиртів.
Небезпека окислення особливо велика під час передачі пива на фільтрування чи сепарування, під час фільтрування і сепарування, надходження у збірник фільтрованого пива і під час розливу.
Усі ці процеси повинні проходити у присутності вуглекислоти, а не повітря. При цьому важливо враховувати такі фактори, як довжина і діаметр трубопроводів, площа поверхні пива у збірниках тощо.
Потрібно уникати турбулентного руху пива у трубопроводах. Особливу небезпеку має також обертальний рух рідини при спорожненні чанів, танків тощо, під час якого відбувається сильне засмоктування повітря.
Заповнення і спорожнення бродильних і лагерних танків під тиском вуглекислоти практично виключає поглинання кисню пивом, але супроводжується значними витратами СО2 (понад 1200 г./гл за тиску 0,07 МПа) і як результат – істотним підвищенням собівартості пива. Тому запропоновано різні пристрої (відбивні плити, диски тощо), застосування яких під час заповнення і спорожнення танків знижує поглинання кисню пивом на 70%. У вертикальних танках використовується поплавкова плита, діаметр якої збігається з внутрішнім діаметром танка. Під час спорожнення і заповнення танків плита залишається на поверхні пива і практично виключає контакт його з повітрям.
Розлив пива повинен здійснюватися так, щоб уникнути втрат вуглекислого газу і насичення пива повітрям. Для цього рекомендується застосовувати розливальні машини, які дозволяють розливати пиво з масовою часткою вуглекислоти близько 0,5%. Потрібно також застосовувати пристрої для видалення повітря із шийки пляшки.
Однією з найважливіших причин низької колоїдної стійкості пива є високий вміст у ньому повітря, що сприяє розмноженню дріжджів і оцтовокислих бактерій, призводить до швидкого утворення осаду та до загального покаламутнення напою, тобто до зниження біологічної стійкості пива. Тому зменшення вмісту повітря в пиві є важливим технологічним завданням, від успішного вирішення якого значною мірою залежить якість і стійкість пива.
Під стабілізацією пива мається на увазі таке втручання у його виробництво, яке віддаляє утворення небіологічного покаламутнення. Вимоги до стійкості пива у бочках і пляшках різні, але здебільшого достатньо місячної стійкості непастеризованого і пастеризованого пива. Для експортних поставок потрібно, щоб пастеризоване пиво в пляшках було стійким протягом кількох місяців і навіть року. Тому знайшов поширення спосіб стабілізації експортного пива в пляшках, що ґрунтується на великій кількості теоретичних розробок і практичному досвіді.
Пиво, як усі колоїдні розчини, має схильність до покаламутнення. Після розливу воно, як правило, прозоре і за температури 0°С, але через деякий час після охолодження до цієї температури воно каламутніє. Утворене холодне покаламутнення за нормальної температури знову зникає.
Холодне покаламутнення визначається як таке, що виникає після охолодження пива до 0°С і знову зникає за 20°С. Склад цього покаламутнення дуже мінливий. Воно містить від 40 до 76% азотистих речовин, від 17 до 55% дубильних речовин, від 3 до 13% цукридів і невелику кількість зольних залишків, головним чином металів. Утворенню холодного покаламутнення сприяють високі температури під час зберігання, окислення, присутність слідів металів у пиві, рух, струс і світло. Холодне покаламутнення є дуже небажаною властивістю пива, особливо у країнах, де пиво продається охолодженим до температури близько 0°С. Стійке покаламутнення має той самий склад, що і холодне покаламутнення. Його утворення прискорюють ті самі фактори, крім того, його можуть спричиняти й речовини, що осаджують білки.
Для визначення ступеня стабілізації пива застосовують тест з пікриновою кислотою, за Есбахом, частіше – більш простий тест Гартонга з сульфатом амонію. За Гартонгом, 10 мл пива, підготовленого до хімічного аналізу, беруть піпеткою у пробірку і мініпіпеткою добавляють насичений розчин сульфату амонію. Визначають об'єм насиченого розчину сульфату амонію у мілілітрах, після додавання якого пиво залишалося протягом 2 хвилин прозорим. Пиво порівнюють з 10 мл пива, в яке додали таку саму кількість дистильованої води. Результати тесту наводять безпосередньо у мілілітрах насиченого розчину сульфату амонію на 10 мл пива. Величина тесту коливається у стабілізованого пива близько 3,0 і вище, а у нестабілізованого знижується до 1,0. Тест є більш придатним критерієм для визначення ступеня стабілізації одного й того самого виду пива, ніж для порівняння пива різних заводів.
Заходи щодо стабілізації пива можна проводити в процесі його виробництва чи в заключній стадії під час доброджування і безпосередньо перед розливом. Метою цих заходів є зменшення кількості компонентів пива, які беруть участь в утворенні дубильних комплексів і є основою холодного і стійкого покаламутнення. Метою стабілізації є також підвищення стійкості пива по відношенню до факторів, що впливають на прискорення утворення покаламутнення, наприклад проти окислення. Як зазначалося, під час варіння сусла для експортного пива змінюється засип за рахунок підвищення кількості замінників солоду, що знижують вміст білків у готовому пиві (цукор, рис). Віддають перевагу добре розчиненим солодам, добре прокип'яченому суслу, ґрунтовному осадженню зависей і низьким температурам під час головного бродіння і доброджування. З методів стабілізації пива під час доброджування чи на стадії вже фільтрованого пива безпосередньо перед розливом найбільш поширені осадження (танин), адсорбція (бентонит, селікагель, найлон), ферментативне розщеплення білків і добавки антиокисного засобу.
Під час застосування методів осадження, адсорбції і ферментативного розщеплення білків потрібно вибрати дозу відповідного засобу з урахуванням загального об'єму і складу азотистих речовин у суслі, у молодому чи готовому пиві залежно від того, на якій стадії ведеться обробка. Оптимальну дозу найчастіше визначають виробничою перевіркою. Ефективність стабілізації визначають, з одного боку, аналітичне, з іншого – встановленням практичної стійкості пастеризованого пива під час його зберігання у відповідних методу перевірки умовах.
Знищення мікрофлори у пиві по завершенні бродіння досягається знепліднювальним фільтруванням чи тепловою обробкою.
Знепліднювальне фільтрування відоме як холодна стерилізація і її особливо доцільно застосовувати у тому разі, якщо якісь компоненти (вітаміни, ферменти) не переносять термічної обробки. Тому холодну стерилізацію спочатку було введено для фруктових соків і вина, а згодом – для пива.
Основою холодної стерилізації є механічне осадження клітин мікроорганізмів на поверхні фільтра. Пиво звільняється від мікроорганізмів знепліднювальним фільтруванням практично до стерильності. Здійснюється процес на пластинчастих фільтрах, через які пиво повинно проходити на малих швидкостях (0,8–1,0 гл/(м2 тод)).
Перед стерилізацією пиво повинно звільнятися попереднім фільтруванням від більшості каламутних речовин. У противному разі стерилізаційні пластини забиваються і продуктивність фільтрів знижується. Хороші результати досягаються попереднім сепаруванням і звичайним фільтруванням на масфільтрах і діамітових фільтрах чи подвійним фільтруванням.
Спеціальні пластини виготовляються з фільтромаси з додаванням великої кількості азбесту, волокна якого заряджені позитивно. Більшість же мікроорганізмів несе на собі негативний заряд. Це забезпечує майже повну адсорбцію мікроорганізмів на поверхні пластин, навіть якщо їх розмір менший діаметра пор. Розміри останніх коливаються від 1 до 5 мкм і менше.
Виготовляють стерилізаційні пластини з азбестоцелюлозної маси (вміст азбесту – 30–40%). Застосовують також мембранні матеріали з колодію, ацетатної целюлози. Діаметр пор тут коливається від 0,05 до 1 мкм.
Ці мембранні матеріали достатньо міцні і витримують стерилізацію парою за температури до 125°С. Часто такі пристрої виконуються у формі патронних фільтрів продуктивністю до 60 гл/год з попереднім сепаруванням і фільтруванням пива.
Існує досвід фільтрування з використанням пористих срібних мембран з діаметром пор від 0,2 до 5 мкм. При цьому забезпечується одночасно фільтрувальний і бактерицидний ефекти.
Знепліднювальним фільтруванням можна досягти майже повної стерильності, за якої пиво містить так мало мікроорганізмів, що біологічні покаламутнення не виникають.
Неодмінною умовою задовільної біологічної стійкості є відсутність повторного забруднення, що може бути забезпечено асептичними умовами розливу у заздалегідь підготовлений посуд.
Така підготовка повинна здійснюватись або шляхом стерилізувальної обробки на пляшкомийних машинах, або спеціальної стерилізувальної обробки посуду перед розливом.
Відомо, що технологічні режими миття посуду в пляшкомийних машинах на ділянці обробки гарячими лужними розчинами практично забезпечують його стерильність. Проте останні стадії обробки зв'язані з ополіскуванням теплою, а потім і холодною водопровідною (або артезіанською) водою. При цьому тепла вода з температурою 25–30°С забирається із ванни пляшкомийної машини і розподіляється на два потоки. Один з них подається в теплообмінний апарат, догрівається в ньому до температури 40–45°С (в машинах АММ‑6 і АММ‑12) і надходить до трьох труб зовнішнього і чотирьох труб внутрішнього ополіскування. Інший потік без підігрівання надходить до чотирьох колекторних труб зовнішнього і чотирьох колекторних труб внутрішнього ополіскування. Перший потік вважається потоком гарячої, а другий – теплої води.
Після ополіскування потік гарячої води поділяється на дві частини збірниками-ваннами. В першій частині містяться залишки лугу і із збірника-ванни цей потік спрямовується на ополіскування посуду після завантажування останнього в носії і скидається у каналізацію, Друга частина потоку гарячого ополіскування скидається у збірник-ванну теплої води.
Слід зазначити, що за температурними показниками вплив на мікрофлору потоків біологічно чистої теплої і гарячої води на рівні пастеризаційного ефекту не досягається. Це означає, що у зонах гарячого і теплого ополіскування і, тим паче, у зоні ополіскування холодною водою прогнозується забруднення асептичного до цього моменту посуду.
Таким чином, асептична обробка посуду з урахуванням можливого і постійного інфікування вмісту ванн – збірників потребує асептичної обробки потоків безпосередньо перед ополіскуванням.
Можливий і такий варіант, коли буде оброблятися тільки потік води, що входить у машину, у кількості 6 м3 /год. Тоді стадія холодного ополіскування буде забезпечуватись біологічно чистою водою, але обробка гарячою і теплою водою не буде гарантувати відсутності інфікування, хоча стерильним вхідним потоком холодної води буде «вимиватися» мікрофлора з ванн-збірників гарячої і теплої води.
Для отримання асептичного посуду з мийної машини ПММ має бути передбачено, поряд із зазначеною підготовкою водних потоків, подавання у внутрішній об'єм машини стерильного повітря. При цьому бажано, щоб стерильне повітря було охолоджене. Під час ополіскування водою повітря з внутрішнього об'єму ПММ ежектується в посуд, тому нестерильне повітря зводить нанівець усі зусилля щодо асептичної підготовки пляшок. Охолоджене стерильне повітря, подане таким чином у посуд, деякою мірою забезпечить охорону його внутрішнього об'єму від інфікування на наступному тракті подавання до розливально-закупорювального блока.
Отже, асептичний після миття посуд можна отримати в разі стерилізації рідинних потоків ополіскування і подавання стерильного повітря.
Отримання асептичного посуду з пляшкомийної машини, певна річ, не розв'язує всіх завдань, оскільки на ділянці подавання від ПММ до розливально-закупорювального блока можливе інфікування пляшок повітрям. Для його зменшення у ПММ на останній стадії обробки бажано здійснювати наддування пляшок холодним стерильним повітрям. Тоді в певний проміжок часу (до прогрівання вмісту пляшок) конвективне масоперенесення з зовнішнього середовища, а, отже, інфікування, будуть обмежені, але не виключені. У західних технологіях проблему намагалися розв'язати використанням ротаційних стерилізаторів, де пляшки заповнювались двоокисом сірки. Останній надходить під тиском 0,03 МПа і експозиція здійснюється протягом кількох секунд, достатніх для загибелі мікроорганізмів, у пляшках. На завершальній стадії двоокис сірки витискується значною кількістю стисненого фільтрованого повітря. Витиснення SО2 повинно бути ґрунтовним, оскільки у пиві він може бути тільки у слідах. Усі деталі, які контактують з двоокисом сірки, повинні бути вироблені з корозієстійкої сталі чи пластмас. Двоокис сірки, витиснений із пляшок, вловлюється у кришці стерилізатора і відводиться за межі приміщення. Від стерилізатора до розливного автомата пляшки подаються закритим тунелем, у якому створено помірно надлишковий тиск стерильного повітря.
Для витиснення SО2 замість стерильного повітря може бути застосований вуглекислий газ. Його ж доцільно застосовувати і в попередній схемі, в якій заповнення посуду СО2 відбувається на виході з пляшкомийної машини.
У деяких країнах (наприклад у Чехії) застосування двоокису сірки під час розливу пива заборонено. У Франції вміст SО2 у пиві допускається у кількості 85 мг/л, в Англії - 100 мг/л. Проте від 60 мг/л і вище двоокис сірки вже відчувається в смаку пива.
Дещо інакше виглядає система підготовки склотари під гарячий розлив пива. Відомо, що розлив здійснюється за температури пива 62-65°С і тиску 0,55-0,60 МПа. Пляшки у мийній машині не охолоджуються і для останнього шприцювання використовується гаряча вода. До фасувального автомата посуд надходить з температурою близько 40°С. Зазначимо, що тут можлива обробка посуду перед розливом гострою парою з метою додаткової стерилізації, як це роблять у майонезному виробництві. Розлив гарячого пива здійснюється на звичайних автоматах і супроводжується остаточною пастеризацією. При цьому пляшка заповнюється вщерть, а потім, у міру охолодження, об'єм рідини стає номінальним, і газова фаза буде представлена тільки СО2 .
Щодо асептичної підготовки склотари переваги на боці технології гарячого розливу пива. Проте в енергетичній доцільності вона програє, оскільки теплові потоки з нагрітим пивом не піддаються рекуперації. Крім того, рекуперація тепла на пляшкомийних машинах потребує встановлення додаткових теплообмінників.
Продукти бродіння (спирт і СО2 ) гальмують розмноження дріжджових клітин. За об'ємної концентрації спирту 1–2% це гальмування вже помітне, а зі збільшенням концентрації до 5% розмноження практично припиняється. Розмноження дріжджів повністю припиняється за концентрації 12%, але морфологічні зміни клітин помітні за концентрації спирту 6% за об'ємом.
Двоокис вуглецю також пригнічує розвиток дріжджів. Концентрація СО2 до 0,2% спричиняє сповільнення брунькування клітин, а з подальшим збільшенням пригнічується бродильна активність дріжджів.
Найбільша пригнічувальна дія на бродильну спроможність спостерігається за максимально можливої концентрації СО2 , яка досягається за умови хімічної рівноваги між піровиноградною кислотою і продуктами її перетворень (оцтовим альдегідом і СО2 ).
Насичення пива СО2 відбувається в процесі бродіння і доброджування.
Вуглекислота – найважливіша складова частина пива. Вона надає пиву приємного освіжаючого смаку, сприяє піноутворенню, запобігає сполученню пива з киснем повітря, консервує пиво, пригнічує розвиток сторонніх і шкідливих мікроорганізмів.
Молоде пиво після головного бродіння містить близько 0,2% розчиненої вуглекислоти, а готове пиво – 0,35–0,40%. Для додаткового накопичування 0,2% вуглекислоти потрібно витратити приблизно 0,4% зброджувального екстракту. Зброджування залишкового цукру і є джерелом утворення вуглекислоти, яка розчиняється у пиві в кількості, прямо пропорційно тиску, що виникає у лагерних танках, і обернено пропорційно температурі пива. Тиск у стадії доброджування підтримується в емальованих сталевих танках 1,47–1,67 бар.
Молоде пиво, що перекачується у лагерне відділення, повинно містити таку кількість зброджувального екстракту, яка забезпечить досягнення оптимального шпунтового тиску. Для нормального насичення вуглекислотою потрібне спокійне доброджування і вміст у молодому пиві не менше 1% зброджувального екстракту. Потреба надлишку зброджувального екстракту пояснюється рядом причин: по-перше, під час доброджування, як правило, ніколи не досягається кінцевий ступінь зброджування; по-друге, у першій стадії доброджування (за відкритого шпунтового отвору) відбувається втрата вуглекислоти; по-третє, зв'язування вуглекислоти відбувається тільки через деякий час після досягнення шпунтового тиску.
Розчинність вуглекислого газу підпадає під закон Генрі, згідно з яким концентрація вуглекислого газу у рідинній фазі буде тим більша, чим вищий парціальний тиск його у газовій фазі. Таким чином, кількість газу, що перейшла у розчин, пропорційна його тиску над; розчином:
К=р/с,
де р – тиск газу над рідиною; с – концентрація розчиненого у рідині газу; К – константа; вона змінюється зі зміною температури розчинника. Вуглекислий газ, розчиняючись у воді, утворює вугільну кислоту, але вона нестійка і розпадається на вуглекислий газ і воду: С02 +Н2 0 ↔.Н2 С03 .
Проте вуглекислота у пиві зв'язана інакше, ніж у воді. Із пива вуглекислота виділяється поступово у вигляді дрібних бульбашок, протягом тривалого часу і супроводжується піноутворенням. Вивільнити пиво від залишків вуглекислого газу можна тільки після сильного струшування і нагрівання. З газованої ж води вуглекислота виділяється швидко і бурхливо.
За однією з гіпотез основна маса вуглекислого газу міститься у пиві у стані перенасичення. Деякі рідини розчинюють газу більше, ніж треба за фізичними законами (так звана метастабільна рівновага системи рідина-газ). Надлишок газу у перенасиченій рідині відрізняється від тієї її кількості, яка відповідає розчиненості за даної температури тим, що його легко видалити із розчину механічними впливами, тим часом як решта газу може бути видалена лише за зміни тиску, нагріванням чи видаленням розчинника.
У шпунтованому пиві більша частина вуглекислоти перебуває у перенасиченому стані. Перенасичення розчину газу у пиві досягається за подовженого витримування пива у спокійному стані. Зв'язування і накопичування вуглекислоти у пиві можливі завдяки тому, що доброджування відбувається у закритих резервуарах за надлишкового тиску. За тиску у лагерному танку 1,28 бар вміст вуглекислоти у пиві становить 0,39–0,41%, а зі збільшенням тиску до 1,47 бар збільшується до 0,47–0,48%. Таким чином, пиво насичується вуглекислим газом і навіть перенасичується, якщо міститься у бродильних апаратах під тиском. У середньому за нормальних умов доброджування перенасичення пива вуглекислотою досягає 30–40%.
Різниця між перенасиченням вуглекислим газом води і пива пояснюється тим, що вуглекислота, яка утворюється у результаті бродіння, перебуває у особливому фізичному стані у вигляді колоїдного розчину дрібних бульбашок, стабілізованих утворюваними на їх поверхні адсорбційними плівками. У процесі бродіння як побічні малі компоненти утворюються поверхнево активні колоїднорозчинні речовини. Ці речовини утворюють стабілізовані плівки на поверхні найменших бульбашок або навіть зародків утворюваної газової фази.
Плівки – адсорбційні оболонки, що обволікають зародки бульбашок за самого їх утворення, перешкоджають коалесценції, тобто злиттю бульбашок у більші, тому гальмують процес їх підіймання. Крім того, вони можуть сповільнювати дифузію газу з навколишньої перенасиченої рідини у бульбашку. Все це й призводить до різкого сповільнення ліквідування перенасичення після зняття тиску у порівнянні з тим випадком, коли перенасичення було досягнуто простою сатурацією води під тиском.
За іншим припущенням сповільнена ліквідація перенасичення зумовлена утворенням під час бродіння дуже нестійких хімічних сполук типу ефірів вугільної кислоти, які після зняття тиску поступово розкладаються, виділяючи вільний вуглекислий газ.
Частина вуглекислоти вступає у хімічну взаємодію з амінокислотами та етиловим спиртом. При цьому утворюються вуглекислі ефіри. Велика відмінність між букетами готового і молодого пива частково пояснюється присутністю вуглекислих ефірів.
Реакція утворення діетилового ефіру вугільної кислоти записується такими рівняннями:
С2 Н5 ОН+НОН+С02↔ С2 Н5 ОСООН+Н2 О;
С2 Н5 ОН+С2 Н5 ОСООН↔ (С2 Н5 0)2 СО+Н2 0.
Ефірні сполуки вуглекислоти нетривкі. У разі зміни умов витримування пива у лагерному відділенні чи за фізичного впливу зазначена зрівноважена система порушується в бік розпаду утвореного складного ефіру. Таким чином, вуглекислота міститься у пиві в розчиненому і зв'язаному стані.
Повільне виділення вуглекислоти під час фасування пива пояснюється також фізико-хімічними властивостями екстракту – адсорбцією. Пиво є сумішшю істинних водних розчинів (алкоголь, цукор, кислоти, солі) з колоїдними розчинами (декстрини, білкові речовини, пектини, хмельові смоли і фарбні речовини). Колоїди мають велику адсорбційну поверхню. Позитивно заряджені колоїди пива адсорбують на своїй поверхні кислоти, у тому числі вуглекислоту. Таким чином, золи колоїдів зумовлюють нестабільний стан вуглекислого газу, чим і пояснюється повільне виділення вуглекислого газу з пива. Під час струшування пива метастабільний стан порушується, спостерігається швидке і бурхливе виділення вуглекислоти.
Вміст СО2 за даним шпунтовим тиском залежить від температури пива. З підвищенням температури на 1°С кількість вуглекислоти зменшується приблизно на 0,01%.
На насичення пива впливає також висота шару пива у лагерному танку. Висота стовпчика пива, яка дорівнює 1 м, відповідає тиску 0,098 бар, що підвищує вміст вуглекислоти у пиві на 0,03%. Тому у танку заввишки 3 м нижні шари пива містять на 0,09% вуглекислоти більше, ніж верхні шари.
Розчинення вуглекислого газу у пиві відбувається повільно і завжди навіть за дуже малого його вмісту. Вуглекислий газ, що утворюється, не встигає розчинитися, збирається над поверхнею пива і створює підвищений тиск у танку. На розчинення СО2 впливає не тільки величина тиску, але й час витримування за цього тиску. Тривалість шпунтування (перебування пива під тиском) не можна точно встановити. Вважають, для того щоб у пиві був визначений склад вуглекислоти, воно повинно перебувати під постійним шпунтовим надлишковим тиском хоча б 8–14 діб, оскільки процес карбонізації пива закінчується головним чином після 8-добового шпунтування.
Важливе значення має вибір моменту початку шпунтування. Шпунтувати потрібно у момент, коли тиск, спричинений виділенням вуглекислоти під час доброджування, ще зростає.
Початок шпунтування залежить від вмісту зброджуваних речовин у молодому пиві. Пиво з високим ступенем зброджуваності (з малим вмістом зброджуваного екстракту) потрібно шпунтувати раніше.
Надлишок вуглекислоти, який утворився за тривалого шпунтування чи витримуванні пива з великим шпунтовим тиском, може виявитися навіть шкідливим. Перешпунтоване пиво містить більше вуглекислоти, ніж це зумовлено хімічним складом і фізичними властивостями екстракту; більша частина вуглекислоти при цьому перебуває у пересиченому стані. Стан пересиченості пива вуглекислим газом має важливе практичне значення під час фільтрування і фасування пива. За різкого зменшення шпунтового тиску відбувається настільки бурхливе виділення надлишку вуглекислоти, що одночасно захоплюється і вуглекислота, яка міститься у пиві у метастабільному стані. Таке пиво недостатньо піностійке, з порожнім і різким смаком. На розчинність газу впливає і розчинник Так, розчинність вуглекислого газу у спирті значно вища, ніж у воді.
За відомого вмісту екстракту і етилового спирту, можна знайти кількість вуглекислого газу у пиві.
Об'єм і масу вуглекислого газу у пиві за даної температури і даного тиску можна розрахувати за таблицею 1.
Таблиця 1.Розчинність СО2 у воді і етиловому спирті за різних температур і барометричного тиску 760 мм рт. ст.
| Температура °С | Мілілітри СО2 на кожен мілілітр рідини | Температура °С | Мілілітри СО2 на кожен мілілітр рідини | ||
| Вода | Спирт | Вода | Спирт | ||
| 0 | 1.7967 | 4.3295 | 16 | 0.9753 | 3.1438 |
| 1 | 1.7207 | 4.2368 | 17 | 0.9519 | 3.0908 |
| 2 | 1.6481 | 4.1466 | 18 | 0.9318 | 3.0402 |
| 3 | 1.5787 | 4.0589 | 19 | 0.9150 | 2.9921 |
| 4 | 1.5126 | 3.9736 | 20 | 0.9014 | 2.9465 |
| 5 | 1.4497 | 3.8908 | 21 | 0.8900 | 2.9034 |
| 6 | 1.3901 | 3.8105 | 22 | 0.8860 | 2.8628 |
| 7 | 1.3339 | 3.7327 | 23 | 0.8710 | 2.8427 |
| 8 | 1.2809 | 3.6573 | 24 | 0.8630 | 2.7890 |
| 9 | 1.2311 | 3.5844 | 25 | 0.8560 | 2.7558 |
| 10 | 1.1847 | 3.5140 | 26 | 0.8505 | 2.7251 |
| 11 | 1.1416 | 3.4461 | 27 | 0.8460 | 2.6969 |
| 12 | 1.1016 | 3.3807 | 28 | 0.8420 | 2.8711 |
| 13 | 1.0653 | 3.3177 | 29 | 0.8390 | 2.6478 |
| 14 | 1.0321 | 3.2573 | 30 | 0.8370 | 2.6270 |
| 15 | 1.0020 | 3.1993 | |||
Скористаємося даними таблиці 1 для визначення кількості вуглекислого газу у пиві, яке містить 4,63% екстракту і 3,65% спирту за температури пива 4 °С і тиску у лагерному танку 1,47 бар (1,5 атм).
Об'єм, що займає спирт:
V=P/d=3,65/0,794=4,6см3
Із таблиці 1 видно, що 1 см3 спирту за 4 °С містить 3,9736 см3 СО2 .
Отже, за тиску 0,98 бар буде утримано спиртом СО2 :
3,9736*4,6=18,28 см3 .
Тепер підрахуємо кількість СО2 , що утримується за таких самих умов водою.
Кількість води у 100 г. даного пива:
100 – (3,65+4,68)=91,72г.
спирт екстракт
1 см3 води утримує за 4 °С 1,5126 см3 СО2> Отже, водою буде утримана така кількість СО2 :
1,5126–91,72=138,74 см3 .
Спиртом і водою разом утримується:
18,28+138,74=157,02 см3 .
Згідно з законом Генрі, розчинність СО2 за абсолютного тиску 1,5 бар буде у 1,5 рази більша, що становитиме для даного прикладу:
157,02–1,5=235,5 см3 .
Кількість розчиненого СО2 виразимо у відсотках за масою. За таблицями Landolt’a маса 1 л СО2 за 0°С і тиску 760 мм рт. ст. (8356 Н/м2 ) дорівнює 1,9769г.
Масова частка СО2 у нашому прикладі становить:
0,2355–1,9769=0,465 г., або 0,465%.
2. Нові технології у виробництві пива
Лінія розливу в пляшки продуктивністю 110 тисяч пляшок на годину.
Важливим кроком на шляху технологічного вдосконалення і розвитку компанії стала запущена 25 травня 2004 року нова лінія розливу пива в скляні пляшки продуктивністю 110000 пляшок на годину. Якщо перерахувати, то вийде, що кожної секунди на лінії наповнюється 30 півлітрових пляшок пива. Лінія займає площу 4 тисячі квадратних метрів. Її виробником є німецький концерн «KHS», законодавець технологічної моди в пивоварінні і один з найбільших світових виробників обладнання. Лінія є найпотужнішим комплексом в Україні по розливу пива. З її запуском завод «Оболонь» увійшов до трійки найпотужніших пивоварних заводів Європи.
На момент запуску, за свідченнями фахівців, лінія є найдосконалішим, за рівнем технологій, комплексом в світі. Навіть більш крупні європейські пивоварні підприємства не можуть похвалитися тими технологічними новинками, які втілені на новій розливній лінії нашого заводу. Наприклад, лінія оснащена найбільшою в світі посудомийною машиною, яка спеціально розроблялася, щоб забезпечити таку високу продуктивність лінії, видаючи 110 тисяч чистих пляшок на годину.
Процес вибраковки скляних пляшок на такій неймовірній швидкості забезпечується автоматичним «інспектором», який встигає ретельно перевірити цілісність кожної пляшки. Новітні моноблоки – апарати, які безпосередньо наливають пиво, забезпечують найкращий показник за якістю закупорювання пляшок, перешкоджаючи попаданню повітря в пляшки разом з пивом, що є запорукою його стійкості та смаку.
Автоматизація впроваджена на всіх рівнях процесів виробництва. Лінія оснащена шістьма роботами, які забезпечують безупинну роботу. Вони беруть участь в процесі розвантаження порожньої тари, подачі пляшок на мийну машину, сортування та упаковці готової продукції. Пиво розливається у пляшки, пляшки упаковуються в ящики, ящики складаються в паллети, а паллети по спеціальних транспортерах подаються безпосередньо в кузови машин. Процес розвантаження та завантаження, а відповідно і обліку готової продукції, повністю комп’ютеризовано, що дозволяє оперативно регулювати та координувати питання логістики.
У запуск нової лінії компанія «Оболонь» вклала понад 20 мільйонів доларів.
До новинок сучасних технологій відноситься розлив пива в кеги. І тут неіржавіюча сталь перемогла свого головного конкурента – деревину, з якої раніше робили ємності для зберігання і транспортування пива. Тепер абсолютно очевидні переваги використання кег як резервуарів для перевезення пива. Їх основними переважаючими характеристиками вважають можливість ґрунтовного миття і автоматизації практично всіх процесів, пов'язаних з розливом пива в кеги. Вони не тільки добре підтримують стійкість пива, а значить і можливість його транспортування на нові, дальні ринки збуту, але й забезпечують його повне збереження при наявності надмірного внутрішнього тиску. Пиво в кегах довше зберігає свої первинні смакові властивості за рахунок мінімального попадання кисню під час розливу і його малої кількості в порівнянні із загальною питомою вагою продукту.
Завод «Оболонь» запустив нову лінію розливу пива в кеги 31 травня 2002 року. На час запуску це була єдина в Україні лінія розливу пива в кеги з таким високим рівнем автоматизації, технологічних рішень і продуктивності. З початком її експлуатації загальна продуктивність кегових ліній заводу перевищила 500 кег на годину.
Апарат наливу карусельного типу заводу поставила відома німецька компанія «KHS». Її фахівці забезпечили весь комплекс послуг з пусконалагоджувальних робіт. Тепер заводська лінія працює як годинник.
Важливим етапом виробництва пива є його фільтрування. В 2003 році завод «Оболонь» обладнав свій цех фільтрації новітнім фільтром свічкового типа «Inopro Getra ЕСO» виробництва німецької компанії «KHS». Намивний свічковий фільтр є циліндричною вертикальною ємністю з конічним днищем, яка здатна витримувати надмірний тиск. Під кришкою фільтру міститься перфорована пластина, до якої підвішуються фільтруючі свічки. Фільтруючі свічки – це фільтруючі перегородки, на які намивається допоміжний фільтруючий засіб (кизельгур). Така конструкція дає змогу створити дуже велику фільтруючу поверхню, гарантуючи високу продуктивність фільтру, який, до того ж не має частин, що рухаються. На фільтрі встановлено ще цілу низку трубопроводів, з'єднань і контрольних приладів. Всі додаткові елементи фільтру розташовані так, щоб за жодних обставин не допустити попадання кисню у пиво.
Таким чином, компанія забезпечила собі достатні потужності фільтрувального обладнання для зростаючої продуктивності всього пивоварного виробництва.
3. Технології та екологія
Важливою складовою екологічної політики компанії є охорона навколишнього середовища. Збільшуючи темпи розвитку виробництва, менеджмент компанії паралельно впроваджує найсучасніші методи і засоби для зменшення техногенного навантаження на екологію в районі розміщення підприємства. Прикладом може служити введення в дію сучасної котельні фірми «CLAYTON», обладнання якої виробляється у Бельгії.
Раніше теплозабезпечення заводу здійснювалося за допомогою пари і гарячої води, що поставлялася державною міжвідомчою котельнею. Тому у 1998 році керівництвом компанії «Оболонь» було ухвалено рішення про будівництво власної котельні і вже наступного року вона була введена в дію. Котельня має 4 автоматизовані казани і станцію хімічної доочистки води, працює виключно на природному газі. Парогенератори котельні є найдосконалішими з тих, що використовуються на промислових підприємствах. Вони обладнані повністю автоматизованими пальниковими блоками, конструкція яких гарантує повне згоряння газу. При цьому зменшується, з одного боку, загальний об'єм споживання палива, а з іншого – викиди в атмосферу продуктів згорання, їх на 90% менше порівняно з викидами звичайної котельні. Таким чином, стан атмосферного повітря в районі розташування підприємства значно покращився.
Один з основних аспектів екологічної безпеки – це оперативний радіологічний контроль, який здійснюється на всіх стадіях технологічного процесу. З цією метою була створена радіологічна лабораторія, яка на сьогоднішній день обладнана найсучаснішою апаратурою, що забезпечує якісне проведення широкого спектру досліджень.
У 1999 році, під час проектування розширення варильного цеху, замінено старі аспіраційні системи на рукавні фільтри німецького виробництва. Головна перевага рукавних фільтрів – висока ефективність очищення, до 99,0%. Введення в дію цього оснащення дало можливість понизити викиди зернового пилу від варильного виробництва з 1,2 до 0,15 т/год, тобто майже вдесятеро.
У 2002 році була змонтована та введена в дію рекупераційна установка фірми «Seeger» (Німеччина) для збору вуглекислоти, яка утворюється при виробництві. Введення в дію цієї установки дозволило одночасно вести процес повного збору вуглекислоти і якісного її очищення для подальшого використання у власному виробництві.
З введенням в дію нових ліній розливу пива в пляшки була апробована нейтралізація лужного стоку безпосередньо в потоці, замість традиційних схем нейтралізації на станції стічних вод. Цей метод дає стабільні нормативні показники скидання стічної води. Застосування приладу для вимірювання рН за місцем надходження стоку дає можливість вести процес нейтралізації в автоматичному режимі.
Окрім уваги до захисту навколишнього середовища компанія «Оболонь» піклується про утилізацію відходів, пов'язаних з власною продукцією. Так в 2002 р. на базі філіалу в Олександрії (Кіровоградська область, Україна), «Оболонь» запускає технологічну лінію по переробці використаних ПЕТ – пляшок. Встановлене обладнання, дозволяє переробляти за 1 годину до 500 кг ПЕТ, а це більш ніж 15 тис. пляшок. На жаль, сьогодні сировина, яка виготовляється на Олександрійському підприємстві, в Україні не користується великим попитом. Тому компанія експортує її до Китаю, де з неї роблять лавсанову нитку, іграшки та інші товари народного споживання.
3.1 Основи екологічного керування ЗАТ «Оболонь»
Компанія «Оболонь» усвідомлює свою відповідальність за стан навколишнього природного середовища. Основою для постійного покращення охорони довкілля є екологічні програми, які є частиною політики підприємства.
1. Вплив компанії на навколишнє середовище постійно контролюється, документується та аналізується. Можливі вдосконалення реалізуються з використанням найбільш досконалих технологій, беручи до уваги екологічні аспекти.
2. Використання найсучаснішого обладнання дозволяє мінімізувати шкідливі викиди в навколишнє природне середовище.
3. Впливи на навколишнє середовище, які спричинені впровадженням нових видів діяльності, продуктів та процесів, завжди оцінюються наперед та зводяться до мінімуму.
4. Планування використання тари та упаковки ґрунтується на принципі зменшення утворення відходів. Програма компанії передбачає впровадження пакувальних матеріалів, які піддаються переробці.
5. Ефективна корпоративна охорона навколишнього середовища може здійснюватися лише за умови активної участі всіх працівників підприємства. Виховання екологічної свідомості шляхом забезпечення довідкової інформації, інструкціями та навчальними матеріалами.
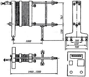
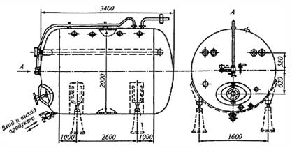
6. Підбір технологічного обладнання та складання апаратурно-технологічних схем.

Пластинчаста охолоджувальна установка

Бродильна установка

Танк для головно зброджування пива

Бродильний апарат для прискореного виробництва пива

Циліндроконічний бродильний апарат
5. Технохімконтроль на виробництві
Контроль найважливіших операцій з виробництва пива охоплює всі технологічні операції. Якість проведення підготовчих операцій, сортування та інспекції сировини контролюють органолептичним або лабораторних аналізом 1–2 рази на годину.
На мийних операціях контролю підлягає якість води, втрати сировини з промивною водою. Якість миття сировини 2-3 рази на годину контролюють органолептичним і лабораторним аналізом (відмочування). Вибірково один раз на зміну здійснюють мікробіологічний аналіз також лабораторним способом.
Під час механічного оброблення (очищення солоду від залишків паростків, пилу, волокон подрібнення, затирання, та ін.) періодично, 1-2 рази на годину, контролюють відсутність в обробленій сировині небажаних механічних домішок. Контролюють також ступінь подрібнення чи різання та однорідність подрібненої сировини, перевіряють кількість відходів і ведуть спостереження за санітарним станом обладнання, інвентарю та робочих місць.
На основі одержаної інформації керівник дільниці або оператор приймає рішення щодо усунення невідповідності між нормальними та дійсними значеннями показників. Деякі операції можуть бути автоматизовані.
Для зручності контролю устаткування повинно бути забезпечено відповідними контрольно-вимірювальними приладами.
Під час розливання пива у пляшки перевіряють якість і санітарний стан тари. Суворому контролю підлягає температура продукту під час розливання. Особливо ретельно контролюють санітарний стан обладнання та інвентарю, дотримання робітниками правил особистої гігієни, а також заходи, що попереджують потрапляння в продукт сторонніх предметів.
Закатані скляні пляшки перевіряють на герметичність вибірково, 3-4 рази на годину. У разі використання вакуум-закатних машин контролюють приладами розрідження під час закатування, а також якість та санітарне оброблення кришок.
Список використаної літератури
1. Ляшенко Е.С., Мелетьев А.Е. Влияние УЗ обработки семенных дрожжей на процесс сбраживания сусла темных сортов пива // Пищпром – 1986. – №1. – С. 27–30.
2. Покровская Н.В., Каданер Я.Д. Биологическая и коллоидная стойкость пива. – М.:Пищпром, 1978. – 272 с.
3. Булгаков Н.И. Биохимия солода и пива. – М.: Пищпром. 1976. – 339 с.
4. Достижения в технологии солода и пива/И.Г. Лернер, Д.Б. Лифшиц, М. Нентвикова и др. – М.: Пищпром. – Прага СНТЛ, 1980. 338 с.
5. Колотуша П.В., Домарецкий В.А. Интенсификация солодовенного производства. К.: Техника, 1977. – 158 с.
6. Мальцев П.В. Технология бродильных производств. – М.: Пищпром, 1980. – 547 с.
7. Технологическое проектирование солодовенных и пивобезалкогольных заводов / П.В. Колотуша, Н.А. Емельянов, В.А. Домарецкий и др. – К.: Вища шк., 1987. – 256 с.
8. Технологическое оборудование предприятий бродильной промышленности / В.И. Попов и др. – М.: Лег.и пищ пром, 1983 – 464 с.
9. Технология пивоваренного и безалкогольного производства/ В.А. Домарецкий. К.: Вища шк., 1986. – 191 с.
10. Технология солода /Пер. с нем. А.М. Колашниковой., под ред. И.М. Грачевой. М.: пищпром 1980. – 523 с.
11. Фізико-хімічні методи обробки сировини та продуктів харчування /Соколенко А.І. Костін В.Б. Васильківський К.В. Шевченко О.Ю. и др. – К. 2000, – 350 с.
Додаток 1

Додаток 2
