| Скачать .docx |
Курсовая работа: Разработка и конструирование редуктора
Расчетно-пояснительная записка
к курсовому проекту по конструированию
Дисциплина: «Детали машин »
Тема Курсового проекта
Разработка и конструирования «редуктора»
Содержание
1. Техническое задание на проектирование
2. Выбор электродвигателя и кинематический расчет привода
3. Расчет ременной передачи
4. Расчет закрытых цилиндрических зубчатых передач
5. Ориентировочный расчет вала
6. Проектировочный расчет валов на совместное действие изгиба и кручения
7. Разработка конструкции вала
8. Расчет валов на усталостную прочность
9. Расчет быстроходного вала на жесткость
10. Подбор подшипников
11. Смазочные устройства и утопления
Список литературы
1. Техническое задание на проектирование
Nэ =1,5 кВт, nэ =960 об/мин, nвых =15, t=10000 часов.
2. Выбор электродвигателя и кинематический расчет привода
Подбор электродвигателя
По заданным значениям N э =1,5 кВт, n э =960 об/мин, n вых =15 об/мин из таблице выбираем двигатель серии АИР 90L6/925. В нашем случае асинхронная частота двигателя не совпадает с частотой, указанной в задании то мы берем стандартную частоту n э =925 .
Кинематический расчет привода
Общее передаточное число привода определится по формуле:
.
Распределим
между типами и ступенями передач
u общ = u рем ·u ред
Положим u
рем
=4
, тогда
. Из рекомендаций по распределению передаточных чисел в двухступенчатом редукторе найдем передаточное число тихоходного вала
, тогда
.
Определим частоты вращения валов
об/мин,
об/мин,
об/мин.
Проверим расчетные данные по частоте выходы
.
Определим вращающие моменты на валах
Н·мм;
Н·мм;
Н·мм;
Н·мм.
Полученные данные сведены в табл. 1
Таблица 1
передат. число u |
частота вращения n об/мин |
вращающие моменты T Н·мм |
КПД механизма
|
|
| электродвигатель | 925 | 15486 | ||
| ремен. передача | 4 | 0,95 | ||
| быстр. передача | 4,48 | 231,25 | 58553 | 0,98 |
| пром. передача | 51,62 | 255786 | ||
| тихох. передача | 3,46 | 14,92 | 862983 | 0,98 |
3. Расчет ременной передачи
Выбираем по заданной мощности и частоте вращения, используя номограмму (рис. 1) вид сечения ремня О.

Рис. 1
Определим диаметр ведущего шкива
.
Выбираем
из ближайшего стандартного
мм. Тогда диаметр ведомого шкива определится с учетом проскальзывания
как
![]()
![]()
мм.
Уточним передаточное число ременной передачи и частоту вращения быстроходной передачи
;
об/мин.
Определим межосевое расстояние
мм
(
берется из таблицы в зависимости от выбранного сечения ремня);
мм.
За межосевое расстояние принимаем промежуточное значение
мм.
Расчетная длинна ремня
.
Округляя до ближайшего стандартного значения
, получаем
мм. Уточним межосевое расстояние
, где
, тогда
.
Угол обхвата на малом шкиве
![]()
Вычислим окружную скорость ремня
м/с
м/c
Определим по таблице следующие коэффициенты
![]()
учитывает влияние угла обхвата
![]()
мм
учитывает влияние длинны ремня
учитывает влияние режима работы
![]()
учитывает влияние числа ремней
Номинальная мощность, допускаемая для передачи одним ремнем
кВт,
здесь
кВт номинальная мощность, передаваемая одним клиновым ремнем, определяется по табличным данным табл. 2 (лит.: Демидович В.М., Зайденштейн Г.И., Юрьева В.А. Проектирование ременных передач на ЭВМ с использованием языка “Бейсик”: Методические указания к курсовому проектированию по прикладной механике и деталям машин. Казань: КАИ. 1987. – 40с.).
Таблица 2
| Сечение и Lp ,мм | d1 | i | Частота вращения меньшего шкива, об/мин | |||||||
| 400 | 800 | 950 | 1200 | 1450 | 2200 | 2400 | 2800 | |||
О 1320 |
80 |
1,2 1,5
|
0,26 0,27 0,28 |
0,47 0,49 0,50 |
0,55 0,56 0,58 |
0,66 0,68 0,71 |
0,77 0,80 0,82 |
1,08 1,11 1,14 |
1,15 1,18 1,22 |
1,28 1,32 1,36 |
|
1,2 1,5
|
0,42 0,43 0,44 |
0,76 0,78 0,81 |
0,88 0,91 0,94 |
1,07 1,10 1,14 |
1,25 1,29 1,33 |
1,72 1,78 1,84 |
1,84 1,90 1,96 |
2,04 2,11 2,17 |
|
Определим количество ремней
.
Сила предварительного натяжения
Н,
где
– коэффициент, учитывающий влияние центробежных сил. Для нашего случая
Н·с2
/м2
.
Число пробегов определится как
с-1
c-1
Максимальное напряжение в ремне
, где
.
Здесь
кг/м3
– плотность материала ремня,
Н/мм – модуль упругости.
Н/мм2
Н/мм2
Определим долговечность ремней
ч
ч.
Здесь
Н/мм2
– предел выносливости материала,
– число шкивов,
,
– коэффициент, учитывающий различную величину напряжения изгиба на малом и большом шкиве.
Усилие, действующее на вал от ременной передачи
Н.
Основные размеры шкива (рис. 2)

Рис. 2
В соответствии с числом ремней z
=4
ширина клинового ремня выбирается по ГОСТ–20889–75 – ГОСТ–20897–75, т.е. M
=52
мм.
Длинна ступицы может быть определена как
l ст =1,5· d быстр =1,5·30=45 мм
Размеры профиля канавок шкива для клинового ремня с выбранным сечением “О” приведены в табл. 3
Таблица 3
Сечение ремня |
lp | b |
h | e | f | ||
| dp | b |
||||||
| О | 8,5 | 2,5 | 7,5 | 12 |
8 | 80–100 | 10,1 |
Подбор материалов зубчатых колес
Таблица 4
| передача | марка стали |
механические свойства после обработки | твердость поверхн. после закалки и низкого отпуска HB |
твердость поверхн. после закалки и низкого отпуска HRC |
температура отпуска
|
||
временное сопротивл.
|
предел текучести
|
||||||
| быстрох. | шестерня | 45 | 1190 | 1020 | 350 | 39 | 400 |
колесо |
35 | 970 | 560 | 335 | 38 | 200 | |
| тихоход. | шестерня | 45 | 1637 | 1550 | 492 | 51 | 200 |
колесо |
40Х | 1376 | 1220 | 417 | 46 | 400 | |
| представленные выше стали все с объемной закалкой | |||||||
Допускаемые напряжения
Допускаемые контактные напряжения при расчете зубчатых передач на контактную прочность определяются по формуле
,
где
– базовый предел выносливости поверхности зубьев по контактным напряжениям для пульсирующего цикла вычислится как
,
. Коэффициент долговечности
при переменной нагрузке определится как
, где базовое число
, число циклов нагружения зубьев
![]()
Причем для однородной структуры материала (в данном случае объемная закалка) коэффициент
ограничивают в пределах 1
2,6
. В случае, когда расчетная
<1
, будем принимать
=
1
.
Допускаемые изгибные напряжения могут быть определены по формуле
,
где
– базовый предел выносливости материала колеса по изгибным напряжениям для пульсирующего цикла определится следующим образом
, при HB
350
;
, при HB
>350
.
;
. Коэффициент долговечности
определится как
, при HB
350
;
, при HB
>350
,
где базовое число
. Число циклов нагрузки
,
Где
, при HB
350
;
, при HB
>350
.
Укажем на некоторые ограничения на величину
: 1
2
при HB
350
; 1
1,6
при HB
>350
. В случае, когда расчетная
<1
, примем
=1
.
Все расчетные данные занесем в табл. 5
Таблица 5
| Быстроходная шестерня | Быстроходное колесо |
Тихоходная шестерня |
Тихоходное колесо |
|
| n | 231,25 | 51,62 | 51,62 | 14,92 |
| HB | 350 | 335 | 492 | 417 |
| HRC | 39 | 38 | 51 | 46 |
| 5,17·107 | 1,154·107 | 1,154·107 | 3,336·106 | |
| 3,827·107 | 3,445·107 | 8,666·107 | 5,827·107 | |
| 0,951 |
1,2 | 1,399 | 1,611 | |
| 852 | 834 | 1068 | 978 | |
| 774,545 | 909,793 | 1358,677 | 1432,167 | |
| 4,489·107 | 1,002·107 | 9,541·106 | 2,758·107 | |
| 0,668 |
0,858 |
0,908 |
1,042 | |
| 630 | 603 | 600 | 600 | |
| 370,588 | 354,706 | 352,941 | 367,829 |
4. Расчет закрытых цилиндрических зубчатых передач
1. Быстроходная передача.
Для определения межосевого расстояния прямозубых передач используется формула вида
мм.
Здесь коэффициент динамической нагрузки для предварительных расчетов примем
; относительная ширина передачи из нормального ряда чисел
; допускаемые контактные напряжение шестерни
, т.к. оно меньше
колеса.
Зададим число зубьев шестерни
. Определим
следующим образом
. Округлим
до ближайшего целого ![]()
.
Определим модуль зацепления
![]()
![]()
.
Уточним межосевое расстояние
мм.
Рассчитаем диаметры а) шестерни и б) колеса
а)
мм – делительный диаметр
мм – диаметр вершин
мм – диаметр впадин
б)
мм – делительный диаметр
мм – диаметр вершин
мм – диаметр впадин.
Определим ширину колеса
мм,
округляем b
2
до ближайшего целого
мм.
Ширина шестерни для компенсации неточностей сборки определится
мм.
Окружная скорость в зацеплении
м/c.
По данной скорости в соответствии с табличными данными уточним коэффициент
. По значению
в соответствии с рис. 5 определим
, тогда
.
В соответствии с уточненными данными произведем проверку контактных напряжений
Н/мм2
,
,
недогрузка на 12% за счет увеличения модуля до ближайшего стандартного.
Проверим прочность зуба на изгиб
![]()
,
где
– коэффициент, учитывающий форму зуба;
,
, тогда
.
2. Тихоходная передача.
Определим межосевое расстояние косозубых передач
мм.
Здесь допускаемые контактные напряжение шестерни
.
Зададим число зубьев шестерни
. Определим
следующим образом
. Округлим
до ближайшего целого ![]()
.
Определим модуль зацепления
![]()
![]()
,
где ![]()
![]()
.
Уточним межосевое расстояние
мм.
Вследствие того, что быстроходное колесо зацепляет тихоходный вал на расстояние
, где
– диаметр вершин быстроходного колеса,
– диаметр тихоходного вала (см. ниже раздел “Ориентировочный расчет вала
”) требуется увеличить межосевое расстояния за счет увеличения модуля до
. Тогда межосевое расстояние определится как
мм.
Рассчитаем диаметры а) шестерни и б) колеса
а)
мм – делительный диаметр
мм – диаметр вершин
мм – диаметр впадин
б)
мм – делительный диаметр
мм – диаметр вершин
мм – диаметр впадин.
Определим ширину колеса
![]()
![]()
мм.
Ширина шестерни для компенсации неточностей сворки определится как
мм.
Окружная скорость в зацеплении
м/c.
По данной скорости в соответствии с табличными данными уточним коэффициент
. По значению
в соответствии с рис. 5 определим
, тогда
.
В соответствии с уточненными данными произведем проверку контактных напряжений
Н/мм2
,
,
недогрузка на 37% за счет увеличения модуля до ближайшего стандартного.
Проверим прочность зуба на изгиб
,
где
,
– коэффициент, учитывающий форму зуба; коэффициент, учитывающий участие в зацеплении косозубой передачи
,
;
коэффициент, учитывающий наклон зубьев
;
,
, тогда
.
5. Ориентировочный расчет вала
Ориентировочный диаметр вала определяется по формуле
,
– крутящий момент, передаваемый валом, Н/мм;
– условное допускаемое напряжение на валу.
Быстроходный вал
,
т.к. диаметр вала двигателя d э =24 мм, диаметр быстроходного вала d быстр =24,462 , а для ременной передачи d быстр =1,2 ·d э =1,2 ·24=28,8 мм, значит
d
=30
мм.
Промежуточный вал
![]()
![]()
=40
мм.
Тихоходный вал
![]()
![]()
=55
мм.
Расчетные значения занесем в табл. 6.
Таблица 6
| Вал электродвигателя | Быстроходный вал | Промежуточный вал | Тихоходный вал | |
| T | 15486 | 58553 | 255786 | 862983 |
| 20 | 25 | 25 | ||
| 24,462 | 37,122 | 54,677 | ||
| 24 | 30 | 40 | 55 |
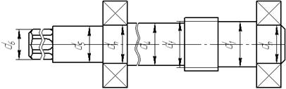
Эскизная компоновка редуктора
Определим основные параметры ступицы
для быстроходного колеса:
длинна – l ст =(0,8…1,5) · d пром =0,8 ·40=32 мм
диаметр – l ст =(1,6…1,8) · d пром =1,8 ·40=72 мм
для тихоходного колеса:
длинна – l ст =(0,8…1,5) · d тих =0,8 ·55=44 мм
диаметр – l ст =(1,6…1,8) · d тих =1,8 ·55=99 мм
Проведем обвод внутренней стенки на расстояние C 0 =20 мм от боковой и торцевой поверхности колес. Расстояние между торцевой поверхностью колес двухступенчатого редуктора определим по формуле: C =0,5· C 0 =0,5·20=10 мм.

Рис.3
Ширина фланца (
B
фл
)
равна ширине наибольшего подшипника (
B
)
+ (10…15)
мм, т.е.
B
фл
=
B
+ (10…15) =29 + (10…15) =40
мм
По диаметрам валов подбираем в первом приближении подшипники (рис. 3), основные параметры которых занесем в табл. 7
Таблица 7
| серия | d | D | B | ||
| Быстр. вал | ШПРО | легкая | 30 | 62 | 16 |
| Пром. вал | РПК | легкая | 40 | 80 | 20 |
| Тихох. вал | РПК | средняя | 55 | 120 | 29 |
На входном участке быстроходного вала установлен шкив ременной передачи, где расстояние от середины подшипника до середины ступицы шкива принимается l 1 =2,1· d быстр =2,1·30=63 мм.
На тихоходном валу установлена муфта. Расстояние от середины подшипника до конца вала определяется как l 2 * =2,5· d тих =2,5·55= 137,5 мм. Причем l 2 - расстояние от середины подшипника до середины муфты.
С учетом эскизной компоновки редуктора (рис. 4) внесем в табл. 8 следующие неизвестные параметры: li ,fi ,ki ,ti
Таблица 8
| i= | 1 | 2 | 3 |
| li | 63 | 85 | |
| fi | 44 | 89 | |
| ki | 41 | 43 | 43 |
| ti | 88,5 | 47,5 |

Рис. 4
6. Проектировочный расчет валов на совместное действие изгиба и кручения
Для цилиндрической передачи силы взаимодействия рассчитываются следующим образом:
1.
– окружные составляющие (индекс “1” для шестерни; “2” для колеса)
2.
– радиальные составляющие (
– угол зацепления; для передач без смещения
;
– угол наклона линии зуба)
3.
– осевые составляющие
Изгибающие моменты рассчитываются как
,
,
где d 1 и d 2 – диаметры делительной окружности.
Усилие, действующее на вал от ременной передачи F рем =765,868 Н
Радиальная сила, действующая на вал со стороны муфты
F
М
=
=
=1468,829
Н
Полученные величины параметров занесем в табл. 9
Таблица 9
| Быстроходная шестерня | Быстроходное колесо |
Тихоходная шестерня |
Тихоходное колесо |
|
| d | 35 | 157,5 | 50,771 | 177,77 |
| 20 | 20 | 20 | 20 | |
| 0 | 0 | 10 | 10 | |
| Ft | 3248,076 | 3248,076 | 9712,808 | 9712,808 |
| Fr | 1182,203 | 1182,203 | 3589,709 | 3589,709 |
| Fa | 0 | 0 | 1712,63 | 1712,63 |
| Ma | 0 | 0 | 43475,972 | 152167,187 |

Рис. 5
1. Быстроходный вал:
Вертикальная плоскость:

Эпюра M ( xi ) , Нмм

Рис. 6
MA
=Ft1
·f2
+RB
в
·(f1
+f2
)=0
RB
в
=
-2173,525
MB
=
–Ft1
·f1
–RA
в
·(f1
+f2
)=0
RA
в
=
-1074,552
Проверка:
Y
=
Ft
1
+
RA
в
+
RB
в
=0
Участок l 1 = 63
mx
1
=
M
(
x
1
)=0
Участок f 2 = 89
mx
2
=
M
(
x
2
)
–RA
в
·
x
2
=0
Участок f 3 = 44
mx
3
= –
M
(
x
3
)+
RB
в
·
x
3
=0
Таблица 10
| xi | 0 | 63 | 0 | 89 | 0 | 44 |
| M(xi ) | 0 | 0 | 0 | -95635,085 | 0 | -95635,085 |
Горизонтальная плоскость:

Эпюра M ( xi ) , Нмм

Рис. 7
MA
=Fr1
·f2
+RB
г
·(f1
+f2
)+ Fr
·l1
=0
RB
г
=
-1153,878
MB
=
– Fr1
·f1
–RA
г
·(f1
+f2
)+ Fr
·(l1
+f1
+f2
)=0
RA
г
=
737,543
Проверка:
Y
=
–Fr
+
Fr
1
+
RA
г
+
RB
г
=0
Участок l 1 = 63
mx
1
=
M
(
x
1
)+
Fr
·
x
1
=0
Участок f 2 = 89
mx
2
=
M
(
x
2
)
–RA
г
·
x
2
+
Fr
·(
x
2
+
f
1
)=0
Участок f 3 = 44
mx
3
= –
M
(
x
3
)+
RB
г
·
x
3
=0
Таблица 11
| xi | 0 | 63 | 0 | 89 | 0 | 44 |
| M(xi ) | 0 | -48249,684 | -48249,684 | -50770,626 | 0 | -50770,626 |
Опасное сечение под шестерней:
Суммарный изгибающий момент в опасном сечении
.
Приведенный момент определится как
,
где
– коэффициент приведения.
Из условий прочности на изгиб с кручением определяется расчетный диаметр вала в опасном сечении
мм.
Здесь
Н/мм2
, где
Н/мм2
(сталь 45).
Эпюра T , Нмм

Рис. 8
Промежуточный вал:
Вертикальная плоскость:

Эпюра M ( xi ) , Нмм

Рис. 9
MA
=
– Ft3
·k3
+RB
в
·(k1
+k2
+ k3
)
– Ft2
·( k2
+k3
)=0
RB
в
=
5488,073
MB
=Ft2
·k1
– RA
в
·(k1
+k2
+ k3
)+
Ft3
·( k2
+k1
)=0
RA
в
=
7472,811
Проверка:
Y
=
– Ft
2
–Ft
3
+
RA
в
+
RB
в
=0
Участок k 3 = 43
mx
1
=
M
(
x
1
)
–RA
в
·
x
1
=0
Участок k 2 = 43
mx2
= M(x2
)
– RA
в
·( x2
+ k3
)+ Ft3
·x2
=0
Участок k 1 = 41
mx
3
= –
M
(
x
3
)+
RB
в
·
x
3
=0
Таблица 12
| xi | 0 | 43 | 0 | 53 | 0 | 41 |
| M(xi ) | 0 | 321330,876 | 321330,876 | 225011,003 | 0 | 225011,003 |
Горизонтальная плоскость:

Эпюра M ( xi ) , Нмм

Рис. 10
MA
= Fr3
·k3
+RB
г
·(k1
+k2
+ k3
)
– Fr2
·( k2
+k3
)
– Ma3
=0
RB
г
=
-72,536
MB
=Fr2
·k1
– RA
г
·(k1
+k2
+ k3
)
– Fr3
·( k2
+k1
)
– Ma3
=0
RA
г
=
-2334,97
Проверка:
Y
=
– Fr
2
+Fr
3
+
RA
г
+
RB
г
=0
Участок k 3 = 43
mx
1
=
M
(
x
1
)
–RA
г
·
x
1
=0
Участок k 2 = 43
mx2
= M(x2
)
– RA
г
·( x2
+ k3
)
– Fr3
·x2
– Ma3
=0
Участок k 3 = 41
mx
3
= –
M
(
x
3
)+
RB
г
·
x
3
=0
Таблица 13
| xi | 0 | 43 | 0 | 43 | 0 | 41 |
| M(xi ) | 0 | -100403,708 | - 56927,736 | -2973,967 | 0 | -2973,967 |
Опасное сечение под шестерней:
Суммарный изгибающий момент в опасном сечении
.
Приведенный момент определится как
,
где
– коэффициент приведения.
Из условий прочности на изгиб с кручением определяется расчетный диаметр вала в опасном сечении
мм.
Здесь
Н/мм2
, где
Н/мм2
(сталь 45).
Эпюра T , Нмм
![]()
Рис. 11
2. Тихоходный вал:
Вертикальная плоскость:

Эпюра M ( xi ) , Нмм
![]()
Рис. 12
MA
=Ft4
·t2
+RB
в
·(t1
+t2
)=0
RB
в
=
-3392,341
MB
=
–Ft1
·t1
–RA
в
·(t1
+t2
)=0
RA
в
=
-6320,467
Проверка:
Y
=
Ft
4
+
RA
в
+
RB
в
=0
Участок t 1 = 47,5
mx
1
=
M
(
x
1
)
–RA
в
·
x
1
=0
Участок t 2 = 88,5
mx
2
= –
M
(
x
2
)+
RB
в
·
x
2
=0
Участок t 3 = 85
mx
2
= –
M
(
x
3
)=0
Таблица 14
| xi | 0 | 47,5 | 0 | 88,5 | 0 | 85 |
| M(xi ) | 0 | -300222,184 | 0 | -300222,184 | 0 | 0 |
Горизонтальная плоскость:

Эпюра M ( xi ) , Нмм

Рис. 13
MA
=
– Fr4
·t2
+RB
г
·(t1
+t2
)+Ma4
– F
М
·(t1
+t2
+l2
)=0
RB
г
=
2521,729
MB
=Fr4
·t1
–RA
г
·(t1
+t2
)+ Ma4
– F
М
·l2
=0
RA
г
=
2536,808
Проверка:
Y
=
–Fr
4
+
RA
г
+
RB
г
=0
Участок t 1 = 63
mx
1
=
M
(
x
1
)
–RA
г
·
x
1
=0
Участок t 2 = 122,5
mx
2
= –
M
(
x
2
)+
RB
г
·
x
2
=0
Таблица 15
| xi | 0 | 47,5 | 0 | 88,5 | 0 | 85 |
| M(xi ) | 0 | 120498,401 | 0 | -31668,785 | 0 | -124850,465 |
Опасное сечение под колесом:
Суммарный изгибающий момент в опасном сечении
.
Приведенный момент определится как
,
где
– коэффициент приведения.
Из условий прочности на изгиб с кручением определяется расчетный диаметр вала в опасном сечении
мм.
Здесь
Н/мм2
, где
Н/мм2
(сталь 45).
Эпюра T , Нмм

Рис. 14
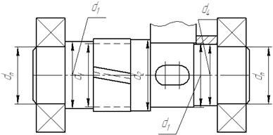
7. Разработка конструкции вала
Быстроходный вал :
Расчетный диаметр d
вр
=
мм.

Рис. 15
Примем d
3
=1,1
· d
вр
=1,1
·
=
28,674
, что меньше d
=30
мм следовательно
=d
=30
мм. Диаметр ![]()
по Ra
40
мм. На диаметре d
4
расположена распорная втулка, который определится как
мм. Диаметр
выбирается как ближайшее меньше стандартное значение
, т.е.
мм.
мм.
мм.
мм. Проверка полученного диаметра d
6
на кручения по условию
,
где
;
тогда
, условие выполняется.
,
следовательно шестерня нарезается прямо на валу.
Подбор шлица
Выбираем шлиц средней серии
. lp
=45
Проверочный расчет шлица на смятие
Н/мм2
,
где
– средний диаметр;
; z
=8
– коэффициент учитывающий неравномерность распределения нагрузки между зубьями;
– высота зуба.
Промежуточный вал :
Расчетный диаметр d
вр
=
мм.

Рис. 16
Примем d
3
=1,1
· d
вр
=1,1·
=43,262
, что округлим до ближайшего стандартного значения по Ra
40
мм.
, следовательно шестерня нарезается прямо на валу. Диаметр ![]()
по Ra
40
мм. На диаметре d
4
расположена распорная втулка, который определится как
мм. Диаметр
выбирается как ближайшее меньшее стандартное значение
, т.е.
мм.
можно принять как
мм.
Подборка шпонки
По d =45 подбираем шпонку с параметрами b =14 , h =9 , t =5,5 .
lp = l ст -(8…10)=24 мм.
Проверка шпоночного соединения на смятие
Н/мм2
.
Тихоходный вал :
Расчетный диаметр d
вр
=
мм.

Рис. 15
Примем d
3
=1,1
·d
вр
=1,1·
=56,093
, что округлим до ближайшего стандартного значения по Ra
40
мм. Диаметр ![]()
по Ra
40
мм. На диаметре d
4
расположена распорная втулка, который определится как
мм. Диаметр
выбирается как ближайшее меньшее стандартное значение
, т.е.
мм.
можно принять как
мм.
мм. Выходной диаметр
мм.
Проверка полученного диаметра d 6 на кручения по условию
,
где
;
тогда
, условие выполняется.
Подборка шпонки под колесо
По d =56 подбираем шпонку с параметрами b =16 , h =10 , t =6 .
lp = l ст -(8…10)=36 мм.
Проверка шпоночного соединения на смятие
Н/мм2
Подборка шпонки под муфту
По d =45 подбираем шпонку с параметрами b =14 , h =9 , t =5,5 .
lp = l М -(8…10)=76 мм.
Проверка шпоночного соединения на смятие
Н/мм2
Расчет валов на статическую прочность
;
, где соответственно
и
– напряжения изгиба и кручения от действия
и T
.
;
, причем
– осевой момент;
– полярный момент.
Расчетные параметры занесем в табл. 16.
Таблица 16
| Быстроходный вал | Промежуточный вал | Тихоходный вал | |
| T | 58553 | 255786 | 862983 |
| d | 30 | 45 | 56 |
| 650 | 650 | 650 | |
| M и | 123094,191 | 422801,27 | 921625,131 |
| W и | 2650,719 | 8946,176 | 17241,06 |
| W к | 5301,438 | 17892,352 | 34482,121 |
| 46,438 | 47,261 | 53,455 | |
| 11,045 | 14,296 | 25,027 | |
| 50,224 | 53,354 | 68,822 | |
| 12,942>1,5…1,8 | 12,183>1,5…1,8 | 9,445>1,5…1,8 |
8. Расчет валов на усталостную прочность
Расчет ведется в опасных сечениях:
,
где 
– коэффициент запаса усталостной прочности по напряжениям изгиба;

– коэффициент запаса усталостной прочности по напряжениям кручения.
,
– пределы выносливости материала при симметричном цикле изменения напряжений по нормальным и касательным напряжениям
=380 МПа,
=230 МПа.
k
и k
– эффективные коэффициенты концентрации напряжений при изгибе и кручении.
kd и kF – масштабны фактор и фактор качества поверхности
![]()
, ![]()
– коэффициенты, характеризующие чувствительность материала вала к асимметрии цикла.
,
– амплитуда и среднее значение цикла изменения нормальных напряжений изгиба. Для валов
.
Для быстроходного вала:
![]()
Для поперечных сечений валов, ослабленных шпоночными пазами, осевой момент сопротивления изгибу
.
Для промежуточного вала:
![]()
Для тихоходного вала:
.
,
–
амплитуда и среднее значение цикла изменения касательных напряжений от кручений. Для валов
.
Для быстроходного вала:
![]()
Для поперечных сечений валов, ослабленных шпоночными пазами, полярный момент сопротивления изгибу
.
Для промежуточного вала:
![]()
Для тихоходного вала:
.
Полученные расчетные значения искомых параметров занесем в табл. 17
Таблицу 17
| Быстроходный вал | Промежуточный вал | Тихоходный вал | |
| T | 58553 | 255786 | 862983 |
| d | 30 | 45 | 56 |
| 650 | 650 | 650 | |
| 380 | 380 | 380 | |
| 230 | 230 | 230 | |
| k |
2,03 | 2,03 | 2,03 |
| k |
1,64 | 1,64 | 1,64 |
| kd | 0,825 | 0,775 | 0,7 |
| kF | 0,9 | 0,9 | 0,9 |
| 0,15 | 0,15 | 0,15 | |
| 0,05 | 0,05 | 0,05 | |
| M и | 123094,191 | 422801,27 | 921625,131 |
| W и | 2650,719 | – | – |
| W инето | – | 7611,295 | 15098,203 |
| W к | 5301,438 | – | – |
| W кнето | – | 16819,68 | 32339,264 |
| 49,833 | 55,549 | 61,042 | |
| 0 | 0 | 0 | |
| 11,045 | 15,208 | 26,685 | |
| 0 | 0 | 0 | |
| S |
2,789 | 2,35 | 1,932 |
| S |
9,428 | 6,432 | 3,311 |
| S >[S ] | 2,674>1,5 | 2,207>1,5 | 1,669>1,5 |
Валы удовлетворяют условию на усталостную прочность.
9. Расчет быстроходного вала на жесткость
E =2,15·105 Н/мм2 ;
мм4
,
тогда
(1/Н·мм2
)
[
]=0,0016
рад; [
]=0,0002·
l
; [
]=0,1·
m
Вертикальная плоскость:
MA
=Ft1
·f2
+RB
в
·(f1
+f2
)=0
RB
в
=
-2173,525
MB
=
–Ft1
·f1
–RA
в
·(f1
+f2
)=0
RA
в
=
-1074,552
Проверка:
Y
=
Ft
1
+
RA
в
+
RB
в
=0
Участок l 1 = 63
EI
=
EI
0
+
C
=0
EI
=
EI
0
+
C
·
x
1
+
D
=0
Участок f 2 = 89
EI
=EI
0
–
RA
в
·
+C=0
EI
=EI
0
–
RA
в
·
+C· x2
+D=0
Участок f 3 = 44
EI
=–EI
0
+
RB
в
·
+C=0
EI
=–EI
0
+
RB
в
·
+C· x3
+D=0
В точке x
1
=63
и x
3
=0
значение
=0
, тогда параметры C
и D
определятся как
![]()
Подставив параметры C
и D
в EI
и EI
, получим следующие выражения
Участок l 1 = 63
EI
=EI
0
=0;
0
(max)
=0<
[
]=0,0016
EI
=EI
0
=0;
0
(max)
=0<
[
]=0,000
3
·l =0,01
9
Участок f 2 = 89
EI
=
EI
0
–
(-1074,552) ·
=0;
=0,001<
[
]=0,0016
EI
=
EI
0
–
(-1074,552) ·
=0;
=
0,0021<
[
]=0,0003·
l
=0,04
Участок f 3 = 44
EI
=–
EI
0
+
(-2173,525) ·
=0;
=0,001<
[
]=0,0016
EI
=–
EI
0
+
(-2173,525) ·
=0;
= 0,0021<
[
]=0,0003·
l
=0,04
Горизонтальная плоскость:
MA
=Fr1
·f2
+RB
г
·(f1
+f2
)+ Fr
·l1
=0
RB
г
=
-1153,878
MB
=
– Fr1
·f1
–RA
г
·(f1
+f2
)+ Fr
·(l1
+f1
+f2
)=0
RA
г
=
737,543
Проверка:
Y
=
–Fr
+
Fr
1
+
RA
г
+
RB
г
=0
Участок l 1 = 63
EI
=EI
0
+
Fr
·
+C=0
EI
=EI
0
+
Fr
·
+C· x1
+D=0
Участок f 2 = 89
EI
=EI
0
–
RA
г
·
+ Fr
·(
x2
+f1
) ·x2
+C=0
EI
=EI
0
–
RA
г
·
+ Fr
·(
x2
+
f1
) ·
+C· x2
+D=0
Участок f 3 = 44
EI
=–
EI
0
+
RB
г
·
+
C
=0
EI
=–EI
0
+
RB
г
·
+C· x3
+D=0
В точке x
1
=63
и x
3
=0
значение
=0
, тогда параметры C
и D
определятся как

Подставив параметры C
и D
в EI
и EI
, получим следующие выражения
Участок l 1 = 63
EI
=
EI
0
+
765,868 ·
-
=0;
0
(
max
)
=0,0002<
[
]=0,0016
EI
=EI
0
+
765,868 ·
-
· x1
=0;
0
(max)
=0,002<
[
]=0,0003·l =0,019
Участок f 2 = 89
EI
=
EI
0
–
737,543·
+ 765,868 ·(
x
2
+63) ·
x
2
-
=0;
=0,00028<
[
]=0,0016
EI
=
EI
0
–
737,543·
+ 765,868 ·(
x
2
+
63) ·
-
·
x
2
=0;
=
0,007<
[
]=0,0003·
l
=0,04
Участок f 3 = 44
EI
=–
EI
0
+
(-1153,878) ·
-
=0;
=0,00028<
[
]=0,0016
EI
=–
EI
0
+
(-1153,878) ·
-
·
x
2
=0;
= 0,007<
[
]=0,0003·
l
=0,04
Суммарный прогиб
<
[
]=0,1·
m
=0,175
.
Вал удовлетворяет условиям на жесткость.
– допускаемый угол закручивания
,
тогда
,
условие жесткости при кручении выполняется.
10. Подбор подшипников
Для всех валов подбираем радиально-упорные роликовые подшипники средней серии.
Быстроходный вал
: по внутреннему диаметру d
=30
подшипник 2007 106А. Cr
=35,8
кН. Cor
=44,0
кН. e=0,43.
Промежуточный вал
: по внутреннему диаметру d
=40
подшипник 2007108А. Cr
=52,8
кН. Cor
=71,0
кН. e
=0,37.
Тихоходный вал
: по внутреннему диаметру d
=50
подшипник 2007 110А*. Cr
=60,5
кН. Cor
=88,0
кН. e
=0,43.
При действии на радиальные и радиально-упорные подшипники одновременно радиальной Fr и осевой Fa нагрузок расчеты ведут по эквивалентной радиальной статической нагрузке Ро r , которая вызывает такие же контактные напряжения, как и действительная нагрузка:
Р or = max{ Х 0 Fr + Y0 Fa , Fr },
а для упорно-радиальных и упорных подшипников - по эквивалентной осевой статической нагрузке
Р oa = Xo Fr + Yo Fa
где Х0 - коэффициент статической радиальной нагрузки, Y 0 - коэффициент статической осевой нагрузки.
Ресурсы подшипников, выраженные в миллионах оборотов L или в часах Lh (при постоянной частоте вращения), связаны между собой соотношением:
Lh =106 L /(60 n ) ,
для цилиндрических редукторов общего назначения рекомендуется: Lh ³12500.
Для радиальных и радиально-упорных подшипников эквивалентная динамическая радиальная нагрузка
P=Pr =(XVFr +YFa ) КБ КТ ,
где Fr и Fa -соответственно радиальная и осевая нагрузки; X и Y - коэффициенты радиальной и осевой динамической нагрузки; V - коэффициент вращения;V =1 .K Б - коэффициент динамичности нагрузки; КТ - температурный коэффициент. Кратковременная перегрузка до 150 %, зубчатые передачи КБ =1,3 .
Основные и расчетные параметры подшипников в соответствии с диаметром расчетного вала (из ГОСТ 27365-87 радиально-упорные роликовые подшипники средней серии для повышенной грузоподъемности и из ГОСТ 8338-75 шариковые радиальные однорядные) приведем в табл. 18
Таблица 18
| обозначение | Быстроходный вал | Промежуточный вал | Тихоходный вал |
| подшипник | 205 | 7208А | 7310А |
| d | 25 | 40 | 50 |
| D | 52 | 80 | 110 |
| B | 15 | 18 | 27 |
| c | – | 16 | 23 |
| T | – | 20 | 29,5 |
| r | 1,5 | 2 | 3 |
| r1 | – | 0,8 | 1 |
| Cr ,кН | 14,0 | 58,3 | 117,0 |
| Cor ,кН | 6,95 | 40,0 | 90,0 |
| e | 0 | 0,37 | 0,35 |
| КТ | 1 | 1 | 1 |
| Fr ,Н | 1551,726 | 5628,3 | 5225,733 |
| Fa ,Н | 0 | 403,095 | 807,844 |
| X | 1 | 1 | 1 |
| Y | 0 | 1,882 | 1,882 |
| Р oa | – | 6031,395 | 6033,577 |
| P | 1706,899 | 8303,002 | 8769,924 |
| p | 3 | 10/3 | 10/3 |
| 4,904 | 1,279·103 | 2,179·103 | |
| Lh >[ Lh ] | 21229,437 | 4,128·106 | 2,434·106 |
11. Смазочные устройства и утопления
В корпус редуктора заливают масло так, чтобы венцы колес были в него погружены. При их вращении масло увлекается зубьями, разбрызгивается, попадает на внутренние стенки корпуса, откуда стекает в его нижнюю часть. картерную смазку применяют при окружной скорости зубчатых колес от 0,3 до 12,5 м/c. Выбирается сорт масла И -50 А. Уровень погружения в масло
мм. Подшипники смазываются тем же маслом, что и детали передач. При работе передач масло постепенно загрязняется продуктами износа деталей. Поэтому его периодически меняют.
Список литературы
1. Курмаз Л.В., Скойбеда А.Т. Детали машин. Проектирование: Справочное учебно-методическое пособие - 2-е изд., испр.: М.: Высш. шк., 2005.-309 с.: ил.
2. Иванов М.Н. Детали машин.-5-е изд., перераб.- М.: Высш. шк., 1991.-383 с.: ил.
3. Дунаев П.Ф., Леликов О.П. Детали машин. Курсовое проектирование.-2-е изд., перераб. и доп.- Высш. шк., 1990.-399 с., ил.
4. Шейнблит А.Е. Курсовое проектирование деталей машин. М.: Высш. шк.,1991. -432 с.: ил.
5. Кудрявцев В.Н., Державец Ю.А., Арефьев И.И., и др.. Курсовое проектирование деталей машин. Л.: Машиностроение, 1984. 400 с., ил.