| Похожие рефераты | Скачать .docx |
Реферат: Организация технологического процесса на предприятиях легкой промышленности
СОДЕРЖАНИЕ
1. Производство прошивных ковровых покрытий на ОАО «Витебские ковры»
1.1 Сырье для производства прошивного коврового покрытия
1.2 Схемы технологических процессов производства прошивных ковровых покрытий и изделий
1.3 Производство грунтовой ткани
1.3.1 Снование
1.3.2 Ткачество
1.4 Прошивание
1.4.1 Технологический процесс получения ворсового материала на
Прошивной машине
1.4.2 Производительность прошивной машины
1.5 Печатание ворсовой поверхности
1.5.1 Приготовление печатной краски для нанесения рисунка на прошивные ковровые покрытия
1.5.2 Сшивка сурового прошивного покрытия
1.5.3 Нанесение печатного рисунка
1.5.4 3реление
1.5.5 Промывка
1.5.6 Сушка
1.5.7 Аппретирование прошивных ковровых покрытий
1.6 Заключительная отделка
2. Производство мужских полупальто на ОАО «Знамя индустриализации»
2.1 Сведения об ассортименте продукции, пошиваемой на предприятии 2.2. Основные сведения о технологическом потоке
2.3основные технико-экономические показатели потока 21
2.4 Технологическая последовательность
2.5 Технологическая схема
3. Предприятие обувного производства
3.1 Организация обувного производства
3.1.1 Генеральный план
3.1.2 Структура управления обувного предприятия средней мощности
3.1.3 Организация работ в цехе
3.1.3.1 Технологические участки
3.1.3.2 Транспортные средства цеха
3.1.3.3 Объем транспортируемых партий и тара
3.2. Технология изготовления обуви
3.2.1 Характеристика модели обуви
3.2.2 Технологический процесс одного из участков
3.3 Технико-экономические показатели работы цеха
Литература
1.1 Сырье для производства прошивного коврового покрытия
Прошивные ковровые покрытия и изделия на ОАО "Витебские ковры" выпускаются по ТУ РБ 00311786.063-97 «Покрытия и изделия ковровые прошивные».
В формировании прошивных ковровых покрытий и изделий с печатным рисунком участвуют:
- грунтовая ткань из полипропиленовых пленочных нитей линейной плотности 110 текс, выпускаемых по ТУ 2272-016-05766623-2002 «Нити полипропиленовые пленочные» или по другим ТИПА;
- ворсовая основа - полиамидные текстурированные жгутовые нити линейной плотности 180текс x1 и 130 текс x1, выпускаемые по ТУ 6-13-86-94 «Нить полиамидная текстурированная жгутовая» или по другим ТНПА.
В формировании прошивных ковровых покрытий и изделий с печатным рисунком, дублированных с изнаночной стороны текстильным материалом, участвуют:
- грунтовая ткань из полипропиленовых пленочных нитей линейной плотности 110 текс, выпускаемых по ТУ BY 400031289.169-2006 или по другим ТНПА;
- ворсовая основа - полиамидные текстурированные жгутовые нити линейной плотности 180текс xl и 130 текс xl, выпускаемые по ТУ 6-13-86-94 «Нить полиамидная текстурированная жгутовая» или по другим ТНПА.
- дублирующий материал - полотно нетканое иглопробивное,
выпускаемое по ТУ РБ 200187659.022-2001 или по другим ТНПА.
1.2 Схемы технологических процессов производства прошивных ковровых покрытий и изделий
На рисунках 1 и 2 показаны схемы технологических переходов для производства прошивных ковровых изделий.

Рисунок 1 Схема технологического процесса производства прошивных ковровых покрытий и изделий с печатным рисунком

Рисунок 2 Схема технологического процесса производства прошивных ковровых покрытий и изделий с печатным рисунком, дублирующим текстильным материалом
1.3 Производство грунтовой ткани
Грунтовая ткань является структурной основой прошивных ковровых покрытий и изделий, она определяет прочность и стабильность линейных размеров, а также каркасность покрытий. Ткань должна обеспечивать нормальное протекание технологического процесса прошивания ворсовой нити, не изменяя физико-механических характеристик при прокалывании иглами, а также при влажностно-тепловом воздействии при печати и аппретировании.
Грунтовая ткань из полипропиленовых пленочных нитей выпускается по ТУ BY 300082076.002-2005.
Производство грунтовой ткани включает следующие технологические переходы:
снование
ткачество
термофиксация
1.3.1 Снование
Снование полипропиленовых пленочных нитей осуществляется на партионной сновальной машине фирмы «Хаккоба» (Германия). Техническая характеристика и параметры заправки сновальной машины фирмы «Хаккоба» модели ВИВ-1000:
- число нитей в заправке 2950 шт
- линейная скорость снования 40
5 м/мин
- рабочая заправочная ширина 538
1 см.
1.3.2 Ткачество
Формирование грунтовой ткани путем переплетения между собой нитей двух систем (основы и утка) осуществляется на ткацких станках фирмы «Зульцер», «Зульцер-Рюти» (Швейцария). Техническая характеристика и параметры заправки ткацких станков фирмы «Зульцер», «Зульцер-Рюти»:
- ширина заправки по берду 536
1 см
- ширина суровой грунтовой ткани 528
2 см
- количество нитей основы в заправке 2950 шт
- число нитей на 10 см
основы 56
1 нитей/10см
утка 51
1 нитей/10см
- вид переплетения грунтовой ткани полотняное
- частота вращения главного вала станка 155
5/190
5 мин![]()
- теоретическая производительность 96,1/118,3 м
/час (18,2/22,4м.п/час)
1.4 Прошивание
Формирование сурового прошивного покрытия происходит на прошивных машинах путем прошивания готовой грунтовой ткани ворсовой нитью, подающейся со шпулярника.
На прошивных машинах фирмы «Зингер» (США) выпускаются прошивные ковровые покрытия с петлевым ворсом.
На прошивной машине «Пантера» фирмы «Cobble» (Англия) возможен выпуск прошивных ковровых покрытий:
с петлевым ворсом;
с разрезным ворсом;
с рельефным ворсом, когда рисунок создается за счет сочетания
ворсовых петель разной высоты;
с комбинированным ворсом, когда рисунок создается за счет сочетания петлевого и разрезного ворса.
Прошивные машины механического действия характеризуются классом. Класс прошивных машин обозначает расстояние между продольными осями двух соседних игл, выраженное в долях дюйма (25,4 мм). В настоящее время изготавливают прошивные машины различных классов.
1.4.1 Технологический процесс получения ворсового материала на прошивной машине
Суровые полотна изготавливают на прошивных машинах, где осуществляется процесс ворсообразования, т. е. формирования петлевого или разрезного ворса на поверхности каркасного материала. Образование петлевого ворса происходит в результате взаимодействия иглы с заправленной в ее ушко ворсовой нитью и петлителя; при образовании разрезного ворса в процессе взаимодействия иглы и петлителя дополнительно участвует разрезной нож.
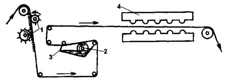
Ворсовые нити сматываются с бобин, установленных на шпулярнике 1 (рисунок 3), заправляются в специальные трубки 2, из которых поступают к питающим валикам 3 с наждачной поверхностью. Скорость питающих валиков можно изменять. Соответственно меняется величина подачи ворсовой нити в зависимости от требуемой высоты ворса.
Заправка нити в трубку производится пневматическим устройством с помощью специального сопла. Концы нитей при обрыве не связывают, а склеивают путем нанесения тонкого слоя клея специальным приспособлением на конец нити. Затем нить заправляется в эмалированные глазки нитенаправителей 4 и в отверстие иглы 5. Каркасный материал 6 огибает игольчатый валик 7, при помощи которого подается в зону прошива. После прошива, который осуществляется с помощью иглы и петлеобразователя 8, образованное нетканое полотно выводится игольчатым валиком 9 из зоны прошива.

Рисунок 3 Технологическая схема прошивной машины
Прошивание осуществляется на двух машинах: «Пантера» фирмы «Cobble» и фирмы «Зингер». Механизм петлеобразования на машине «Пантера» : петлевой, разрезной, скролл; на машине фирмы «Зингер»: петлевой. Высота ворса на машине «Пантера» - 3,0
19,0, на машине фирмы «Зингер» - 19,0. Частота вращения главного вала на машине «Пантера» - 900
10 мин
, на машине фирмы «Зингер» - 700
10 мин
.Теоретическая производительность машины «Пантера» 878,0 м
/час (174,2 м.п/час), машины фирмы «Зингер» 682,9 м
/час (135,5 м.п/час).
![]()
![]()
1.4.2 Производительность прошивной машины
Теоретическая и фактическая производительность прошивной машины (м/ч) определяется по формулам:
![]()
![]()
где n – число проколов игл в минуту, мин
;
l – длина стежка, мм,
![]()
- плотность прошивания по вертикали (длине), количество стежков на 10 см;
Кпв - коэффициент полезного времени, равный 0,35-0,5.
Фактическая производительность прошивных машин значительно меньше теоретической из-за простоев, вызванных перезаправками шпулярника, ликвидацией обрывов нитей, устранением неисправностей в работе машины и др.
Производительность прошивных машин для производства изделии с неразрезными петлями ворса в 1,5 раза выше, чем производительность машин для производства изделий с разрезным ворсом. Производительность прошивных машин изменяется в зависимости от вида сырья, числа стежков и скорости вязания.
1.5 Печатание ворсовой поверхности
Печатание ворсовой поверхности тафтинговых суровых полотен имеет особенности, связанные со структурой материала, наличием петлевого или разрезного ворса на лицевой поверхности, значительной поверхностной плотностью и др. Процесс печатания, последующая промывка и сушка тафтинговых полотен должны осуществляться таким образом, чтобы сохранялась структура ворсового покрова.
На ОАО "Витебские ковры" суровые прошивные ковровые покрытия поступают на печатный агрегат для нанесения рисунка на ворсовую поверхность.
Получение прошивных покрытий с печатным рисунком происходит в следующей последовательности:
приготовление печатной краски;
сшивка сурового прошивного покрытия;
нанесение печатного рисунка;
зреление;
промывка;
сушка;
наматывание на кауль.
Поточная линия для печатания ковров состоит из следующих машин: стыкосшивальной машины, компенсатора, устройства для очистки полотен, плюсовки, печатной машины, зрельника, промывной машины, сушильной машины, накатной машины.
1.5.1 Приготовление печатной краски для нанесения рисунка на прошивные ковровые покрытия
В состав печатной краски входят:
маточный раствор загустителя;
раствор красителя;
вода
Все компоненты вводятся согласно рецептурам, утвержденным в установленном порядке на каждый цвет.
При печатании прошивных полотен с ворсовым покровом из полиамидных волокон наилучшие результаты дает использование кислотных обычных и металлсодержащих красителей, фиксирующихся на волокне на 90—95%.
1.5.2 Сшивка сурового прошивного покрытия
Сшивка сурового прошивного покрытия осуществляется на стыкосшивальной машине с передвижной кареткой "Мульти-супер" (Германия).
Суровое прошивное полотно направляется на подвижную платформу и тянульными валами подается в лотковый накопитель (компенсатор). Подвижная платформа выравнивает и укладывает полотно по центру накопителя.
Устройство для очистки суровых покрытий состоит из вращающихся очистных капроновых щеток и вентиляторов, отсасывающих загрязнения из очистного устройства в рукавный фильтр.
На плюсовке осуществляется предварительное пропаривание полотна насыщенным паром перед нанесением печатной краски на ворсовую поверхность. Пропаривание суровых полотен способствует лучшему прониканию печатной краски в ворсовую поверхность.
1.5.3 Нанесение печатного рисунка
Нанесение цветного рисунка на ворсовую поверхность может осуществляться с помощью плоских или цилиндрических шаблонов или аэродинамическим способом.
На ОАО "Витебские ковры" суровое прошивное ковровое покрытие подается на печатную машину «Хромоджет Р43 5150/2048/8С» фирмы «Циммер» (Австрия) для нанесения рисунка на ворсовую поверхность аэродинамическим способом.
![]()
![]()
1.5.4 Зреление
Для фиксации нанесенного печатного рисунка и равномерного распределения красителя по ворсу применяют горизонтально-вертикальные зрельники. При влажности 100% в зрельнике поддерживают температуру 100°С. Необходимое количество пара, подаваемое в зрельнике, регулируется в зависимости от температуры. Вместимость горизонтального зрельника 18,8 пог. м, вертикального - 22,4 пог. м. Длина петли полотна в вертикальном зрельнике 4,5 м, количество петель - 5. В горизонтальной части зрельника полотно транспортируется вращающимися валиками, соприкасаясь с ними изнаночной стороной. В горизонтальной части зрельника начинается фиксирование красителя на волокне (горизонтальное расположение покрытия предотвращает затекание красителя). В вертикальной части зрельника происходит дальнейшее фиксирование красителя на волокне. Продолжительность запаривания составляет 8—10 мин.
1.5.5 Промывка
После зреления ковровое полотно поступает на промывку для удаления незафиксированного красителя, загустителя и др. химикатов.
Промывка осуществляется на двух промывных машинах фирмы «Кюстерс».
В первой промывной машине полотно промывается с лицевой и изнаночной сторон теплой водой. После промывки полотно обезвоживается с помощью вакуумного насоса марки «Сименс Элмо». Обезвоженное полотно подается во вторую промывную машину, где промывается холодной водой и обезвоживается с помощью 2-х вакуумных насосов марки «Сименс Элмо».
Из зрельника ковровое покрытие поступает на промывные машины в расправленном по длине и ширине состоянии. Температура воды в первой промывочной машине - 40°С, во второй - 20 °С. В первой разбрызгивающей вакуумной машине полотно промывается с лицевой и изнаночной сторон струями воды при температуре 40°С. При этом вымываются загуститель, химикаты, жесткие красящие вещества. Затем полотно обезвоживается с помощью вакуумного насоса. Вода фильтруется и сбрасывается в канализацию.
После первой промывочной машины обезвоженное полотно направляется во вторую сопловую промывную машину с двойной промывкой неподогретой водой и сильным вакуум-отсосом. Используемая для промывки вода сбрасывается в канализацию. Скорость прохождения полотна через промывные машины синхронна со скоростью движения полотна на печатном агрегате и составляет 7 м/мин.
![]()
1.5.6 Сушка
Промытое и обезвоженное полотно поступает для сушки на сушильно-ширильную машину фирмы «Фаматекс» (Германия).
Перед сушилкой имеется компенсатор вместимостью 150 м, который служит для аварийного накопления коврового полотна.
При печатании ковровых изделий с разрезным ворсом используют механизм для поднятия ворса.
Промытое полотно поступает в автоматическом режиме на заправочное устройство сушильно-ширильной машины. Сушильно-ширильная машина состоит из 5 сушильных камер, каждая длиной 3 м, разделенных на две секции длиной по 1,5 м. Машина снабжена участком охлаждения. На сушильно-ширильной машине имеется устройство для отрезания кромок.
После отрезания кромок напечатанное полотно поступает в компенсатор вместимостью 150 м, а затем на накатное устройство фирмы "Шультхайст" (Германия), состоящее из контрольного стола и накатного механизма. Диаметр рулона до 3 м, длина намотки 600 - 400 м.
1.5.7. Аппретирование прошивных ковровых покрытий
Окрашенные прошивные ковровые покрытия поступают на аппретурную линию фирмы «Зингер» (США) для нанесения аппретирующего состава на изнаночную сторону, а также для приклеивания дублирующего материала (для получения прошивных ковровых покрытий и изделий с дублирующим материалом).
Цель аппретирования – закрепление ворсовых петель, придание стабильных размеров и каркасности покрытию.
Получение аппретированных прошивных ковровых покрытий и изделий происходит в следующей последовательности:
приготовление аппретирующей смеси;
сшивка сурового прошивного коврового покрытия;
нанесение аппретирующей смеси на изнанку прошивного коврового покрытия;
сушка прошивных ковровых покрытий;
обрезание кромок;
разрезание на нужные ширины;
наматывание на кауль.
![]()
![]()
![]()
![]()
![]()
Получение аппретированных прошивных ковровых покрытий и изделий, дублированных текстильным материалом, происходит в следующей последовательности:
приготовление аппретирующей смеси;
сшивка сурового прошивного коврового покрытия;
преобразование аппретирующей смеси в пену;
нанесение пены на изнаночную сторону;
подача дублирующего материала;
сушка прошивных ковровых покрытий с дублирующим материалом;
обрезание кромок;
разрезание на нужные ширины;
наматывание на кауль.
В качестве проклеивающих составов применяют натуральный или синтетический каучуковый латекс с различными наполнителями, которые вводят для вулканизации, против вспенивания и как сгустительные примеси.
Технологическая схема агрегата для проклеивания ковров приведена на рисунке 9. После очистки обеих сторон ковра щеточными валиками 1 изделие поступает через направляющие валики к пропитывающему устройству, которое , состоит из барабана 2, помещенного в клеевую ванну. Латекс наносится тонким слоем на изнаночную сторону коврового материала. Излишки латекса счищаются раклей 3.
После нанесения латекса изделие поступает на ширильную игольчатую раму и в горизонтальную сушильную камеру 4, где происходит вулканизация латекса при температуре 140 °С в течение 1-9 мин. По выходе из сушильной камеры кромки и крайние пучки петель обрезаются дисковыми ножами. Счетчик метража отмеряет заданное количество метров, после чего вступают в действие ножи для разрезания коврового полотна в поперечном направлении. Агрегат снабжен также устройством для разрезания ковров на различную ширину.

Рисунок 9 Технологическая схема агрегата для проклеивания ковров.
Прошивные ковры могут иметь на изнаночной стороне покрытие из латексной пены с ячеистым вафельным рисунком или дублирующим материалом, что повышает устойчивость изнаночной стороны к скольжению, улучшает теплоизоляционные и звукопоглощающие свойства ковров.
Прошивные ковры с разрезным ворсом подвергаются стрижке в два прохода на стригальной машине.
1.6 ЗАКЛЮЧИТЕЛЬНАЯ ОТДЕЛКА
Заключительная отделка происходит на разбраковочной машине фирмы "Шультхайс" (Германия) в состав которой входят:
стыкосшивальная машина с передвижной кареткой;
разматывающее устройство;
ленточный стол;
компенсатор;
транспортирующий стол;
резальное устройство;
кеттельный стол;
выпускной стол;
сбрасывающий стол;
скатывающее устройство
2.1 Сведения об ассортименте продукции, пошиваемой на предприятии
ОАО «Знамя индустриализации» - первенец первых пятилеток. Фабрика вступила в строй 7 ноября 1930 года.
Сегодня это большое, современное предприятие с четко налаженным циклом.
На фабрике 4 пошивочных цеха. В настоящее время предприятие специализируется по выпуску мужской и женской верхней одежды: пальто, полупальто, плащи, костюмы.
В начале 80-х в швейной отрасли сложилось неблагоприятное положение на потребительском рынке вследствие того, что не обновлялся ассортимент швейных изделий. Тогда и началась борьба за покупателя. Результаты изучения и прогнозирования спроса стали исходными данными для формирования новых видов ассортимента.
В настоящее время предприятие пошивает одежду для ведущих фирм Америки, Дании, Голландии, а также ближнего зарубежья («Зима-Лето», «РНВ», «Морис», «RoyalSpirit», «Sanito Fortuno»).
Производственная мощность предприятия составляет 240 тыс. ед. швейных изделий.
Режим работы на предприятии – односменный.
Структура предприятия следующая: 4 пошивочных цеха, подготовительный, раскройный. Имеется вспомогательное производство: механический цех, ремонтно-строительный цех, ПСХ, электроцех, сортировочный, склад готовой продукции, автотранспортный участок.
На рисунке 10 представлена схема организационной структуры ОАО «Знамя индустриализации».
На рисунке 11 представлен внешний вид одного из пошиваемых на предприятии изделий (полупальто мужское).

Рисунок 10 Схема организационной структуры ОАО «Знамя индустриализации»


Рисунок 11 Внешний вид изделия
Описание внешнего вида изделия
Полупальто мужское с центральной бортовой застежкой на тесьму-молнию, скрытую напуском из переда.
Перед с боковыми прорезными карманами с втачной листочкой. В шов обтачивания листочки вставлен кожаный кант.
Спинка со средним швом.
Воротник отложной с отрезной стойкой.
Рукава втачные двухшовные.
Внутренние края подбортов и обтачки горловины окантованы тесьмой из подкладочной ткани.
Полупальто на подкладке и утепляющей прокладке до низа. Подкладка соединена с утепляющей прокладкой на многоигольной машине ромбами 5
5 см. Подкладка по низу притачная. Подкладка переда с внутренними карманами с двумя обтачками из подкладочной ткани.
Карманы застегиваются:
на правом переде подкладки – на петлю на отделочном треугольнике и пуговицу;
на левом переде – на тесьму-молнию.
На левом переде подкладки обработан дополнительный внутренний карман с двумя обтачками из подкладочной ткани.
Изделие с пристежкой, состоящей из двух слоев. Внешний слой пристежки из подкладочной ткани, внутренний слой состоит из двух частей: верхняя часть соединена с утеплителем на многоигольной машине ромбами 5
5 см, нижняя часть из пледа с утеплителем. В шов стачивания частей внутреннего слоя пристежки вставлен кант с наполнителем. На верхней части левого переда пристежки обработан внутренний карман с двумя обтачками из подкладки, застегивающийся на тесьму-молнию. На нижней части левого переда пристежки обрабатывается вертикальный внутренний карман с двумя обтачками из подкладки, застегивающийся на тесьму-молнию. Пристежка крепится к верху на тесьму-молнию и на навесные петли и пуговицы в верхних и нижних точках пройм. Края пристежки окантовываются тесьмой из подкладочной ткани.
2.2 Основные сведения о технологическом потоке
Технологические процессы в швейных цехах занимают 90% всей трудоёмкости изготовления изделий.
Комплектный крой в пошивочные цеха поступают по лифту из раскройного цеха. Мастер принимает крой согласно маршрутных листов и конфекционной карты.
Во всех пошивочных цехах действуют агрегатно-групповые потоки. Запуск полуфабрикатов последовательный.
Мастер в начале смены производит расстановку рабочих. Затем принимает крой и фурнитуру, проверяет комплектность. Мастер обязан знать работу по каждой технологической операции. В конце смены мастер подводит итоги за день. Каждая работница должна проверить машину, смазать, почистить, т. е. привести в порядок рабочее место. У каждой работницы на рабочем месте имеется инструкционная карта, где указывается: перечень операций, технические условия. На заготовительной секции работница передаёт полуфабрикаты в монтажную секцию.
Организация контроля качества происходит по следующим мероприятиям:
- самоконтроль;
- взаимоконтроль;
- межоперационный контроль;
- выборочный поузловой контроль.
Для улучшения качества выпускаемой продукции на фабрике введён межоперационный контроль.
Принятые изделия сдаются на склад готовой продукции.
Основные сведения о технологическом потоке:
1. выпуск изделий в смену – 185 ед.;
2. количество рабочих – 58;
3. время изготовления изделия – 8607 с (2,5 ч);
4. способ запуска моделей в поток – последовательный;
5. способ питания потока – пачковый;
6. размер пачки – до 30 ед.;
7. способ запуска кроя и п/фабрикатов – централизованный (монтажная секция), децентрализованный (подготовительная секция);
8. характер движения предметов труда – прямолинейный (монтажная и отделочная секция), зигзагообразный (подготовительная секция);
9. расположение рабочих мест – поперечное;
10. оснащенность транспортными средствами – междустолья, кронштейны, тележки;
11. преемственность смен – несъемная.
2.3 Основные технико-экономические показатели потока
Основные технико-экономические показатели:
1. время на изготовление изделия – 8607 с;
2. такт – 155 с;
3. расчетная численность рабочих – 55,5 чел.;
4. фактическая численность рабочих – 56 чел.;
5. удельный вес работ по технически обоснованным нормам – 95,65 %;
6. процент освоения технически обоснованных затрат – 98,44 %;
7. выпуск изделий в смену – 185 ед.
2.4 Технологическая последовательность
В таблице 1 представлен фрагмент технологической последовательности изготовления изделия (обработка воротника).
Таблица 1.
Техническое описание
| № узла |
№ опе-рации |
Наименование неделимой операции |
Специаль-ность |
Раз-ряд |
Техн. обосн. затр. време-ни, с |
Наимен. оборуд. и средств тех. оснастки |
| 1 |
2 |
3 |
4 |
5 |
6 |
7 |
| Обработка воротника (стачивание срезов) |
||||||
| 355 |
10 |
Притачать стойку к верхнему воротнику |
м |
5 |
30 |
1597 кл |
| 47 |
15 |
Высечь припуски шва в концах |
р |
2 |
5 |
ножницы |
| 47 |
206 |
Надсечь припуски (6 надсечек ) |
р |
2 |
12 |
ножницы |
| 352 |
331 |
Расстрочить шов притачивания стойки к верхнему воротнику |
см |
5 |
36 |
852 кл |
| 352 |
305 |
Расстрочить шов притачивания стойки к нижнему воротнику |
см |
5 |
36 |
852 кл |
| 380 |
440 |
Приутюжить шов притачивания стойки к нижнему воротнику после пристрачивания отделочной строчки |
у |
4 |
13 |
УППМ |
| 370 |
20 |
Наметить линию обтачивания углов воротника |
р |
3 |
75 |
мел |
| Итого по узлу |
207 |
- |
||||
2.5 Технологическая схема
В таблице 2 представлен фрагмент технологической схемы изготовления изделия (обработка рукавов).
Таблица 2.
Технологическая схема
| № неделимой операции |
№ организационной операции содержание организационной операции |
Специальность |
Разряд |
Затраты врем. технич. обосн., с |
Затраты времени установл., с |
% освоения техн. обеспечен. затрат |
норма выработки |
к-во рабоч. мест расчетн. |
к-во рабоч. мест фактич. |
Сдельн. расценка |
Повыш. сдельн. расценка |
Тип оборудования |
||
| № узла |
№ операц. |
|||||||||||||
| 12 |
2 |
Соединить передние части подкладки рукавов с утепляющей прокладкой по всем срезам |
см |
4 |
93 |
93 |
100% |
23,8 |
1597 |
|||||
| 11 |
10 |
Стачать локтевые срезы рукавной подкладки |
м |
3 |
48 |
48 |
100% |
10,5 |
397 |
|||||
| Проверить качество. Взаимоконтроль и самоконтроль требования безопасности согласно инструкции. |
||||||||||||||
| Итого |
см |
3,7 |
141 |
141 |
100% |
204 |
0,9 |
1 |
- |
34,3 |
1597 397 |
|||
| 12 |
21 |
Соединить локтевые части подкладки рукава с утепляющей прокладкой по всем срезам |
см |
4 |
93 |
93 |
100% |
1597 |
||||||
| 11 |
60 |
Стачать передние срезы рукавной подкладки оставляя отверстия в левом рукаве |
м |
3 |
40 |
40 |
100% |
397 |
||||||
| Проверить качество. Взаимоконтроль и самоконтроль требования безопасности согласно инструкции. |
||||||||||||||
| Итого |
см |
3,7 |
133 |
133 |
100% |
217 |
0,9 |
1 |
- |
32,6 |
1597 397 |
|||
3.1 Организация обувного производства
3.1.1 Генеральный план
Генеральный план на строительство предприятий является основным документом, в котором указаны структура управления производством, объем производства, организация строительства и эксплуатация зданий и сооружений. Следовательно, от решения генерального плана зависит как организация производства, так и экономические показатели его работы.
Основная цель разработки генерального плана обувного предприятия - обеспечивать выпуск продукции запроектированного объема и соответствующего качества. При разработке генерального плана или совершенствовании его при реконструкции предприятия необходимо предусматривать возможность строительства вспомогательных производств (например, ремонтно-механических мастерских, гаража для обслуживания автокар и электрокар и т. п.).
Решение генерального плана разбивается на две части:
размещение всех зданий, сооружений и устройств в плане, т. е. на горизонтальной плоскости территории предприятия. Эта часть называется горизонтальная планировка генерального плана;
высотное расположение всех объектов предприятия, т. е. в вертикальной плоскости. Эта часть называется вертикальная планировка генерального плана.
Обе части генерального плана в проекте решаются совместно. Основными факторами, влияющими на решение горизонтальной планировки генерального плана, являются:
характер производства, т. е. организация технологического процесса, производственная мощность предприятия, характер сырья и величина грузооборота;
условия снабжения водой, энергией, теплом и т. п.;
природные условия — топографические, геологические, климатические. Эти условия выявляются при выборе строительной площадки и изысканиях, т. е. при исследовании рельефа и других данных.
Как известно, рост производительности труда является главным фактором создания экономической мощи страны. Но рост производительности труда в промышленности (в том числе и в обувной) зависит не только от технологии производства и применяемого оборудования, но и от объемно-планировочных, строительных и архитектурных решений объектов предприятия, в значительной мере определяющих условия труда: озеленение территории предприятия, зоны отдыха и бытовое обслуживание работающих.
При разработке совмещенной технологической и архитектурно-строительной части проекта следует в первую очередь стремиться обеспечивать нормальные санитарно-гигиенические и бытовые условия труда и сократить потери рабочего времени путем оптимального размещения производственных цехов и бытовых помещений (столовых, комнат для приема пищи, буфетов, медпункта и т. п.). Все эти вопросы должны решаться при разработке генплана предприятия.
Перед выбором площадки на основе ТЭО составляется генеральная, или общая, рабочая схема генплана; затем по укрупненным показателям определяются габариты всех зданий и сооружений предприятия, площадь застройки, а по принятому коэффициенту застройки — площадь для размещения предприятия.
При зонировании территорию предприятия разделяют на участки, общие по функциональному назначению, санитарной характеристике, видам транспортного обслуживания, потреблению электроэнергии, людским потокам и т. д.
На территории предприятия могут предусматриваться следующие зоны:
предфабричная, на которой размещаются административно-бытовой корпус, проходная,, здания учебного и культурно-бытового обслуживания, пожарное депо;
производственная, на которой находятся главный производственный корпус, сооружения водо- и энергоснабжения, другие объекты, которые связаны с выпуском продукции;
подсобные производства или вспомогательные цехи: ремонтно-механические, ремонтно-строительные, гаражи и т. д.;
складская: склады для сырья, готовой продукции и др.
На рисунке 12 представлен генеральный план обувного предприятия.

Рисунок 12. Генеральный план обувного предприятия
3.1.2 Структура управления обувного предприятия средней мощности
Структура управления обувным предприятием представлена на рисунках 13-15.

Рисунок 13. Структура управления обувного предприятия средней мощности

Рисунок 14. – Дирекция

Рисунок 14. Службы прямого подчинения Генеральному Директору

Рисунок 15. – Служба Помощника Директора по социальным вопросам
3.1.3 Организация работ в цехе
3.1.3.1 Технологические участки
В цехе сборки обуви имеется 2 потока по сборке клеевой обуви. Применяется неспециализированное оборудование. На каждом потоке имеется упаковка. Помещение цеха используется также для хранения полуфабрикатов, деталей и вспомогательных материалов.
3.1.3.2 Транспортные средства цеха
Типы и конструкции транспортных устройств (конвейеров) разнообразны как по технологическому назначению, так и по конструктивным решениям.
Внутрицеховые технологические транспортные устройства разделяются:
по расположению трассы – на горизонтально-замкнутые и вертикально-замкнутые;
по числу ярусов и линий – на одно-, двух- и многоярусные, а также на одно-, двух- и многолинейные;
по числу пар изделий, находящихся в люльке, – на одно-, двух- и многопарные;
по технологическому назначению – для раскройных, вырубочных, заготовительных и пошивочных цехов.
На данном предприятии применяется конвейер UROSCARPA–MEM41 – горизонтально-замкнутый, многоярусный, двухлинейный, многопарный (емкость люльки: 4 пары), с относительно регламентированным ритмом работы.
Далее приведена характеристика многолинейного конвейера КО–14М.
Назначение конвейера – параллельная подача различных деталей низа обуви к рабочим местам при заданном на каждой линии ритме. Конвейер представляет собой несколько самостоятельно движущихся в одном направлении линий люлек с индивидуальными приводными и натяжными устройствами. Все линии вмонтированы в один каркас, состоящий из стоек, соединенных направляющими уголками. Ходовая часть конвейера состоит из четырех отдельных линий, каждая из которых имеет вертикально-замкнутую цепь с приваренными через шесть звеньев (420 мм) площадками. На каждой площадке жестко закреплены две люльки с шагом 210 мм. Конструкции концевых станций конвейера аналогичны, но в плане они взаимно повернуты на 180
. Каждая концевая станция имеет натяжное и сблокированное с ним приводное устройства на две линии трассы. Скорости каждой линии конвейера устанавливаются в зависимости от заданной производительности. Рабочий укладывает детали (согласно графику запуска) в люльки конвейера. На другом конце конвейера детали снимает контролер или упаковщик. Скорость каждой линии в течение смены можно изменять. Конвейер может быть четырех-, трех- и двухлинейным. Детали конвейера унифицированы. Его каркас собирается из стандартных секций длиной 1250 мм каждая, что позволяет поставлять конвейер любой длины; на каждой секции с обеих сторон конвейера смонтированы коробки, в которых крепятся штепсельные разъемы для подключения оборудования и трубы для силовой и световой проводок. Люльки конвейера выполнены из пластмассы.
Основные технические данные конвейера КО-14М
Габарит люльки, мм:
ширина …………………………………………………… 130
длина ……………………………………………………... 118
глубина …………………………………………………… 147
Шаг люлек, мм ………………………………………………… 210
Ширина конвейера, мм, при количестве линий:
четыре …………………………………………………….. 764
три ………………………………………………………… 584
две ………………………………………………………… 404
Высота конвейера, мм ………………………………………… 944
Длина конвейера, м ……………………………………….... 20 – 50
Скорость, м/мин …………………………………………. 0,29 – 0,7
Количество электродвигателей, шт. ……………………………. 4
Мощность электродвигателя, кВт …………………………….. 0,6
Конвейер выпускает серийно Елецкий механический завод.
На предприятии используются специальные пластмассовые ящики, вмещающие до 25 пар. Ящики вставляются друг в друга для экономии места. Применяется ручная тележка для перемещения относительно больших по объему грузов. Также используются передвижные четырехъярусные контейнеры с размерами ячейки 70
48
56 см .
3.1.3.3 Объем транспортируемых партий и тара
После пошивочного участка полученный полуфабрикат комплектуется по 60-120 пар и поступает в четырехъярусных контейнерах на сборочный участок. Далее колодки и полуфабрикат комплектуется по 4 пары и запускаются на конвейер. Полученная обувь со сборочного участка поступает в зону упаковки. Упаковка осуществляется в картонные коробки. Для транспортировки готовой обуви и полуфабриката на территории цеха используют также специальные пластмассовые ящики, вместимостью до 25 пар. Емкость люльки конвейера не превышает 4 пары.
3.2 Технология изготовления обуви
3.2.1 Характеристика модели обуви
Данная модель обуви – полуботинки мужские осенне-весеннего периода носки, с закреплением при помощи резинок, клеевого метода крепления, на формованной подошве с низким каблуком, тип заготовки – полуплоская, материал верха – натуральная кожа, материал подошвы – резина, черного цвета. Модель является повседневной.
Узел верха состоит из таких деталей как союзка с язычком, задинка, берцы, мягкий кант, подкладка под берцы, подкладка в пяточной части, подкладка под союзку, задник.
3.2.2 Технологический процесс одного из участков
В таблице 3 представлен технологический процесс сборки обуви (подготовительные и натяжные операции).
Таблица 3.
Технологический процесс сборки обуви (подготовительные и натяжные операции).
| № опер. |
Наименование операции |
Способ работы |
Разряд рабочего |
Оборудование |
| 1 |
Запуск колодок и полуфабрикатов |
Р |
2 |
конвейер UROSCARPA –MEM41 |
| 2 |
Прикрепление стелек к колодке |
М |
2 |
Vigeuano – OBE |
| 3 |
Установка пяточного узла |
Р |
4 |
пневмопистолет |
| 4 |
ВТО |
Elettrotechnica – 267 |
||
| 5 |
Удаление тексов из пяточной части |
Р |
1 |
кусачки |
| 6 |
Обтяжка и затяжка носочно-пучковой части |
М |
6 |
Cerim – K78 |
| 7 |
Обтяжка и клеевая затяжка заготовки на колодке |
Р |
4 |
клещи |
| 8 |
Обтяжка и затяжка геленочной части на клей-расплав и пяточной части на гвозди |
М |
6 |
Cerim – K24SZ |
| 9 |
ВТО |
Elettrotechnica – 267 |
||
| 10 |
Удаление временных крепителей |
Р |
1 |
стол, кусачки |
| 11 |
Обработка заготовки феном |
М |
3 |
Elettrotechnica |
3.3 Технико-экономические показатели работы цеха
Технико-экономические показатели цеха по сборке обуви клеевого метода крепления представлены в таблице 4.
Таблица 4.
Технико-экономические показатели цеха по сборке обуви клеевого метода крепления
| № п/п |
Наименование показателя |
Ед. изм. |
за месяц |
за год |
| 1 |
План |
пар |
51040 |
458 800 |
| 2 |
Фактический объем производства |
пар |
51 040 |
460 458 |
| 3 |
Отклонение от плана |
пар |
0 |
1658 |
| 4 |
Объем товарной продукции в оптовых ценах (ТНП) |
млн.руб |
3 199 |
24 129 |
| 5 |
Объем товарной продукции (с НДС ) обувь |
млн.руб |
3 937 |
28 158 |
| т.у.е |
1 831 |
13 084 |
||
| 6 |
Фактически отгружено обуви |
пар |
52 676 |
479 926 |
| 7 |
Объем отгруженной обуви в оптовых ценах |
млн. руб |
3 343 |
21 973 |
| т.у.е |
1 555 |
10 210 |
||
| 8 |
Объем отгруженной обуви с НДС |
млн. руб |
3 840 |
25 418 |
| т.у.е |
1 786 |
11811 |
||
| 9 |
Фактически отгружено заготовок |
пар |
47 569 |
|
| 10 |
Объем отгруженных заготовок с НДС |
млн. руб |
1 059 |
|
| т.у.е |
490 |
|||
| 11 |
Остатки готовой продукции |
|||
| на начало периода, всего |
пар |
43 226 |
64 270 |
|
| Остатки готовой продукции в оптовых ценах |
млн. руб |
2 225 |
3 445 |
|
| т.у.е |
1 035 |
1 601 |
||
| 12 |
Списочная численность на начало периода |
чел |
544 |
551 |
| 13 |
Среднесписочная численность |
чел |
543 |
487 |
| 14 |
Производительность труда |
пар |
94,0 |
945,5 |
| 15 |
Среднемесячная заработная плата |
руб |
557 827 |
463 227 |
| USD |
259,4 |
215,1 |
||
| 16 |
Прибыль от реализации продукции |
млн руб |
744,0 |
3 247,0 |
| USD |
346 020,8 |
1 500 362,2 |
||
| 17 |
Прибыль от реализации продукции на пару |
USD |
6,57 |
2,84 |
| 18 |
Чистая прибыль |
млн руб |
741,0 |
3 107,0 |
| USD |
3 14 625,5 |
1 442 231,8 |
||
| 19 |
Чистая прибыль на пару в целом |
USD |
6,54 |
2,73 |
| 20 |
Рентабельность по продукции (обувь и заготовки) |
% |
28,6 |
16,5 |
ЛИТЕРАТУРА
1. Программа инженерно-технологической практики для специальности 27 01 01-16 «Экономика и организация производства (легкая промышленность)» / Баранова А.А., Матвеев В.Л., Ивашкевич Е.М. – Витебск, УО «ВГТУ», 2005.
2. Производство прошивных ковровых покрытий на ОАО «Витебские ковры»: методические указания к инженерно-технологической практике для студентов специальности 27 01 01-16 / Баранова А.А. – Витебск, УО «ВГТУ», 2008.
3. Нетканые текстильные полотна: справочное пособие / Е.Н. Бершев [и др.]. – Москва: Легпромбытиздат, 1987. - 400 с.
4. Перепелкина, М.Д. Механическая технология производства нетканых материалов : учебник для вузов / М.Д. Перепелкина, М.Н. Щербакова, К.Н. Золотницкая. - Москва: Легпромбытиздат, 1987. - 535 с.
5. Баранова, А.А. Современные технологии в текстильной промыш-ленности: учеб. пособие / А.А. Баранова, А.Г. Коган, Ю.И. Аленицкая. - Витебск: УО «ВГТУ», 2006. - 251 с.
6. Проектирование обувных предприятий: учебник / А.Н. Калита., Д.И. Анохин, А.А. Буянов, С.И. Клобуков – М., 1980 – 230 с.
7. Технология обуви: учебник / Э.М. Остравитянов, Б.Я. Иванов – М., 1967 – 323с.
8. Справочник обувщика, т. 3 / З.С. Карасик, С.К. Ашратова, А.И. Гороховский – М., 1972 – 344с.
Похожие рефераты:
Структура торгового ассортимента женской кожаной обуви
Факторы, формирующие качество обуви
Анализ способов сборки заготовок верха обуви
Анализ структуры ассортимента и экспертиза качества женской кожаной обуви
Характеристика ассортимента потребительских свойств мужской повседневной обуви
Проектирование технологии печатных процессов переиздания книги
Порядок экспертизы качества мужской обуви
Анализ структуры ассортимента мужской кожаной обуви
Производство и ассортимент кожаной обуви
Общие технические требования к детской обуви. Аккредитация испытательной лаборатории
Товарная информация, резиновая обувь
Исследование, анализ ассортимента и качества мебельных тканей