| Похожие рефераты | Скачать .docx |
Дипломная работа: Влияние кристаллографической текстуры на анизотропию физико-механических свойств деформированных полуфабрикатов из сплавов на основе титана
Тема работы : « Влияние кристаллографической текстуры на анизотропию физико-механических свойств деформированных полуфабрикатов из сплавов на основе титана»
Содержание
Введение
Глава 1. Аустенитные коррозионно-стойкие стали
1.1 Способы получения аустенитной структуры
1.2 Коррозионно-стойкие(нержавеющие) стали
Глава 2. Азотсодержащие коррозионно-стойкие стали
Глава 3. Технология производства аустенитных коррозионно-стойких сталей
3.1 Выплавка аустенитных коррозионно-стойких сталей
3.2 Выплавка азотсодержащих аустенитных коррозионно-стойких сталей
3.3 Термомеханическая обработка аустенитных коррозионно-стойких сталей
3.4 Термомеханическая обработка азотсодержащих аустенитных коррозионно-стойких сталей
3.5 Термообработка аустенитных азотсодержащих коррозионно-стойких сталей
Глава 4. Свойства аустенитных азотсодержащих коррозионно-стойких сталей
Выводы
Список использованной литературы
Введение
Прогнозы показывают что, несмотря на тенденцию к сокращению доли сплавов на основе железа в общем объеме конструкционных материалов, в обозримом будущем мировое производство стали сохранится на уровне нескольких сотен миллионов тонн. Будут значительно возрастать требования к качеству сталей всех типов. Увеличится доля легированных (нержавеющих) сталей, и, следовательно, обострится проблема рационального использования легирующих элементов. Среди них, прежде всего, следует отметить азот, доступный практически в неограниченных количествах. Применение азота для легирования сталей, безусловно, является одной из первостепенных проблем в материаловедении. Использование азота как легирующего элемента в легированных сталях позволяет не только повысить механические и коррозионные свойства, но и экономить дорогие и дефицитные никель, марганец, молибден и вольфрам. [1]
Для изготовления сталей легированных азотом в спецэлектрометаллургии широко используется метод электрошлакового переплава металлических электродов в водоохлаждаемую изложницу (кристаллизатор). Металлические электроды выплавляются в открытых электродуговых печах. ЭШП характеризуется высокими технико-экономическими показателями процесса. Небольшое удорожание металла компенсируется его весьма высоким качеством, недостижимым для металла обычной выплавки, а также полным устранением брака. К числу достоинств электрошлакового слитка следует отнести химическую, структурную однородность слитка и получаемых из него проката, поковок или штамповок. В отличие от обычного слитка он практически свободен от ликвации даже таких сильноликвирующих элементов, как углерод, сера, фосфор.
Даже в литом виде электрошлаковый металл обладает большей плотностью, чем деформированный открытой выплавки. В процессе ЭШП в стали резко снижается содержание неметаллических включений, в первую очередь серы, кислорода. Для электрошлакового металла характерно весьма равномерное распределение неметаллических и избыточных фаз, например, нитридов, карбонитридов, боридов, интерметаллидов.
Химически и структурно гомогенный электрошлаковый металл значительно лучше сваривается, чем неоднородный по составу и строению металл открытой выплавки. Металл, полученный электрошлаковым переплавом менее склонен к хрупкому разрушению в сравнении с металлом открытой выплавки, изделия, изготовленные из него, значительно долговечнее и надежнее в эксплуатации, чем аналогичные изделия из металла открытой выплавки. [2]
Глава 1. Аустенитные коррозионно-стойкие стали
аустенитный азотсодержащий коррозионный сталь
Аустенит – твердый раствор углерода или азота в γ-Fe. В ГЦК решетке в центре имеется пора диаметром 0,102нм. В этой поре атом углерода может поместиться, вызывая некоторое увеличение размера решетки γ-Fe.

Рис. 1 Твердый раствор внедрения: а- кристаллическая решетка при полном заполнении всех пор; б- кристаллическая решетка аустенита
Кристаллическую структуру аустенита можно себе представить как г.ц.к. решетку, состоящую из атомов железа, в которую внедрены меньшего размера атомы углерода. Если бы все свободные места (поры) в г.ц.к решетке были заняты углеродом, то это состояние характеризовала бы схема, изображенная на рис 1, а. Но так как атом углерода больше размеров поры, то при попадании его в решетку железа последняя искажается, и остальные поры становятся недопустимыми для других атомов углерода. На рис. 1, б показано строение элементарной ячейки аустенита, вкоторой растворен один атом углерода.
Параметр решетки аустенита при комнатной температуре равен 0,286 нм, а безуглеродистого Feγ 0,356 нм. Эта величина условна, так как безуглеродистое γ-железо при комнатной температуре не существует, а величина эта определяется методом экстраполяции.
Параметр решетки, как известно, зависит от температуры и от наличия растворенных атомов. Известен параметр решетки аустенита при комнатной температуре в сталях с содержанием углерода свыше 0,6—0,7 % (рис. 2, а) и параметр решетки чистого γ-железа, но при высоких температурах (рис.2,б).

Рис. 2. Параметр решетки аустенита: а – влияние углерода; б – влияние температуры
Экстраполяция кривых на нулевое содержание углерода (рис. 2, а) или на комнатную температуру (см. рис. 2, б) приводит к значению 0,356 нм.
Аустенит – одна из структурных составляющих железоуглеродистых сплавов, твердый раствор углерода и легирующих элементов в железе. В углеродистых сталях и чугунах аустенит устойчив выше 7230 С. В железоуглеродистых сплавах, содержащих Ni, Mn, Cr, аустенит может полностью сохраняться до комнатной температуры.
Аустенитная сталь является наиболее широко распространенным типом нержавеющей стали. Основным преимуществом сталей аустенитного класса являются их высокие служебные характеристики (прочность, пластичность, коррозионная стойкость в большинстве рабочих сред) и хорошая технологичность. Поэтому аустенитные коррозионностойкие стали нашли широкое применение в качестве конструкционного материала в различных отраслях машиностроения. К данному классу относятся, стали 300 серии. [3]
1.1 Способы получения аустенитной структуры
Химический состав сталей должен исключать возможность образования в рабочих условиях δ-феррита, мартенсита и других ферромагнитных фаз. Этому требованию могут удовлетворять аустенитные композиции на основе систем Fe-Mn, Fe-Cr-Mn, Fe-Cr-Ni и Fe-Mn-Ni.
В системе Fe-Mn при содержании Mn до 10% даже после закалки от 11000 С образуется α-мартенсит. При дальнейшем увеличении степени легированности стали марганцем количество α-фазы уменьшается, но увеличивается количество немагнитной ε-фазы с гексагональной кристаллической решеткой

Рис. 3. Изменение фазового состава Fe-Mn-сплавов в зависимости от содержания марганца
Дополнительное легирование Fe-Mn сплавов, как правило снижает количество и температуру ε-фазы и повышает стабильность аустенита. Наиболее эффективное влияние на уменьшение количества ε-фазы и снижение температуры γ → ε- превращения оказывает углерод. Влияние углерода на устойчивость аустенита увеличивается с увеличением содержания марганца.
Верхний предел концентрации углерода ограничивают, исходя из необходимости обеспечить хорошую обрабатываемость резанием, прочность, пластичность, вязкость и определенную коррозионную стойкость металла.
В дисперсионно твердеющих сталях с карбидным упрочнением стабильность аустенита может быть повышена в результате обеднения γ-твердого раствора углеродом при выделении в процессе старения карбидных частиц. Повышение стабильности аустенита стареющих марганцевых сталей достигается легированием дополнительными элементами, например Ni.
Ni, как и Mn, образует с γ-железом твердые растворы замещения. Никель очень эффективный аустенитообразующий элемент. Если в Mn-Ni сплаве содержится не менее 10% марганца, то аустенит при охлаждении превращается непосредственно в α-мартенсит и ε-фаза не образуется. Увеличение в таких сплавах концентрации Mn более 10% приводит к γ → ε → α превращению, которое подавляется при содержании никеля не менее 12%. Область существования α-фазы и ε-мартенсита сужается при увеличении концентрации марганца и замыкается при содержании марганца более 28%. Получение полностью аустенитной структуры экономно легированных никелем (не белее 10%) Mn-Ni сталей достигается при содержании марганца более 17%. Однако в сталях с содержанием хрома выше 15-17% (в зависимости от режима термообработки) и 2%Ni нельзя получить однородную аустенитную структуру при содержании Mn более 5% (при 0,1% С), но такая структура неустойчива при процессе длительного старения. Хром используется в промышленности как аустенитостабилизирующий элемент. Стабильный при повышенных температурах аустенит можно сохранить при комнатных температурах только при определенном соотношении хрома и марганца в системе Fe-Cr-Mn.

Рис. 4. Структурная диаграмма нержавеющих сталей
Важнейшим аустенитообразующим элементом является азот. Азот подобно углероду расширяет γ-область и образуя твердые растворы внедрения, упрочняет аустенит, но в противоположность углероду азот не ухудшает коррозионной стойкости сталей. Кроме того, может наступить дополнительно упрочнение за счет выделения избыточных карбонитридных и нитридных фаз, затрудняющих движение дислокаций. Азот расширяет γ-область хромоникелевых сталей, содержащих около 0,12% углерода, в сторону больших концентраций хрома.

Рис. 5 Фрагменты диаграмм состояния систем
Fe-C(а), Fe-N (б) и Fe-C, Fe-N(в).
Большое сходство имеют диаграммы состояния систем «железо - углерод» и «железо - азот» (рис 5 а, б, в). На этих диаграммах видно наличие эвтектоидных превращений соответственно при 7380 С и 5920 С. Эти превращения обусловливают сходство в структурах, формирующихся в результате термической обработки. Более низкая температура эвтектоидного превращения у железо-азотистых сплавов обуславливает возможность получения более дисперсных фаз, составляющих металлографическую структуру. Нельзя не отметить также, что предельная растворимость азота как в γ -, так и в α -железе выше, чем углерода.
Можно отметить основные различия между поведением этих элементов в твёрдых растворах сплавов на основе железа, которые и определяют различия во влиянии азота и углерода на физико-химические свойства этих сплавов:
1. Атомный и ионный радиусы у азота меньше, чем у углерода
(
),
2, d-электронный заряд на железе углерод увеличивает, а азот уменьшает, ослабляя тем самым ковалентную составляющую межатомной связи,
3, При температурах выше -400°С коэффициент диффузии азота меньше чем углерода.
4. Азот в кристаллической решетке железа проявляет тенденцию к упорядочению, тогда как углерод склонен к кластерообразованню.
5. В связи с наличием сильных межатомных связей между хромом и азотом проявляется тенденция к равномерному распределению в кристаллической решетке железа также и хрома - основного легирующего элемента в нержавеющих сталях.
6. Энергия взаимодействия азота с дислокациями выше, чем углерода.
7. Азот понижает энергию дефектов упаковки в кристаллической решетке железа, тогда как углерод её повышает, уменьшая тем самым способность к деформационному упрочнению. [1]
Азот оказывает сильное воздействие на структуру сталей. С повышением содержания азота от 0,25 до 0,45% непрерывно возрастает количество хрома, которое можно допускать в стали для сохранения аустенитной структуры, стабильной до 12600 С.
Используя сильное стабилизирующее действие углерода и азота на аустенит целесообразно в немагнитных хромомарганцевых сталях по возможности заменять никель углеродом, азотом и Mn, что позволит сэкономить никель и увеличит комплекс физико-механических свойств металла.
В малоуглеродистых сталях между температурой аустенизации и количеством δ-феррита, образовавшегося в сталях содержащих около 13% марганца и в разной степени легированных С, N, Cr с повышением температуры количество δ-феррита увеличивается. Однако в высокоуглеродистых сталях наблюдается обратная картина: с повышением температуры нагрева количество δ-феррита уменьшается. Это объясняется тем, что малоуглеродистые стали содержат небольшое количество карбидов и они переходят в раствор при сравнительно низкой температуре. С увеличением содержания углерода карбидные выделения переходят в твердый раствор, соответственно при более высоких температурах, в результате твердый раствор дополнительно обогащается углеродом и хромом. Углерод как сильный γ-образующий элемент способствует увеличению количества аустенитной составляющей, несмотря на противоположную тенденцию хрома.
Избежать появления δ-феррита можно путем дальнейшего увеличения в сталях концентрации углерода и азота. Минимальное количество углерода и азота, потребное для обеспечения аустенитной структуры, линейно возрастает с увеличением содержания хрома.
Присутствие карбидов полезно в том случае, когда они тормозят рост зерен и способствуют упрочнению стали. Углерод значительно сильнее, чем азот, влияет на изменение роста зерна при нагреве. Упрочняющее действие таких элементов внедрения как углерод и азот приблизительно одинаково и намного эффективнее, чем упрочнение, вызываемое хромом и марганцем, образующими твердые растворы замещения. [4]
1.2 Коррозионно-стойкие (нержавеющие) стали
Нержавеющими сталями называют большую группу хромистых, хромо-никелевых и хромо-марганцово-никелевых сталей с содержанием свыше 12% Сr, сохраняющих при воздействии атмосферы светлый металлический блеск, т. е. нержавеющие свойства. Хром повышает коррозионную стойкость сталей также и в других средах, преимущественно окислительных, что широко используется при изготовлении химической аппаратуры, и в частности аппаратуры для производства азотной кислоты.
Чем выше содержание хрома в стали, тем выше их коррозионная стойкость в атмосферных условиях и ряде коррозионных сред.
Кроме хрома, в стали вводят никель, марганец, углерод, молибден, вольфрам, ниобий и другие элементы для придания им специальных свойств (повышенной коррозионной стойкости в агрессивных средах, более высоких механических свойств при высоких температурах, определенных физических свойств) и структуры.

Рис. 6. Типичная микроструктура нержавеющей стали: а- аустенитного класса(аустенит), ×200; б- переходного класса(аустенит-мартенсит), ×500
Стали аустенитно-мартенситного класса в настоящее время применяются во многих областях промышленности.
Подавление эвтектоидного распада γ → αи снижение температуры мартенситного превращения (точки Ms )в результате присадки аустенитообразующих элементов (никеля, марганца, азота, углерода и частично хрома) приводит к образованию сталей аустенито-мартенситного класса и соответствующему изменению свойств. При нагреве сталей этого класса до высоких температур они становятся полностью аустенитными. При быстром охлаждении стали полностью сохраняют аустенитную структуру или частично распадаются на мартенсит, что зависит от точки (Ms ).
Количество превращенного аустенита в мартенсит тем больше, чем медленнее охлаждение и чем ниже температура охлаждения. Превращение γ → α (Мα ) протекает в этих сталях не полностью и с большой инерцией.
Механические и физические свойства этих сталей зависят от количества аустенита, превращенного в мартенсит, и ряда дополнительных процессов, связанных с образованием интерметаллидных или карбидных фаз, оказывающих дополнительное влияние на упрочнение.
Стабильные и требуемые свойства, химические составы подбирают таким образом, чтобы превращение γ → α (Мα ) происходило при комнатных или при несколько пониженных температурах. [5]
Введение достаточного количества никеля в 18 %-ную хромистую сталь делает ее аустенитной, что обеспечивает лучшие механические свойства, меньшую склонность к росту зерна, а также более коррозионностойкой и не хладноломкой.
Нержавеющие стали с 18% Сr и 10 % Ni получили наиболее, широкое распространение в машиностроении, в изделиях широкого потребления, а также в архитектуре и скульптуре.
Представление об условии образования фаз в нержавеющих хромоникелевых сплавах дает система Fe—Сr—Ni.
На рис. 7 приведен горизонтальный разрез при 650 °С системы Fe—Сr—Ni (сплошныелинии). Однофазные γи α-области разделены двухфазной γ+α. При содержании хрома более 20 % появляется α-фаза (химическое соединение FeCr). Положение двухфазной области γ+α зависит от температуры. С понижением температуры ниже 650 °С область γ+α уходит вправо и ее крайнее положение при 20 °С показано пунктирными линиями, закончившимися в точках с и g, а при повышении температуры область уходит влево и ее крайнее положение при 1100°С показывает пунктирные линии, заканчивающиеся в точках a, d.

Рис. 7. Железный угол системы Fe-Cr-Ni. Сплошные линии - изотермический разрез при 650 °С
Отсюда следует, что сплавы, лежащие ниже линии abc, имеют полную γ
α -перекристаллизацию со структурой феррита при комнатной температуре. Между линиями abcи defgзаключены полуферритные (или полуаустенитные) сплавы с частичным γ
α -превращением. Сплавы, лежащие левее линии be— ферритные, а правее fg— аустенитные, которые будем рассматривать.
Сплав 18-9 изображен на той системе точкой. Нетрудно видеть, что для получения при 18 % Сr аустенитной структуры обязательно должно быть 9 % Ni; с уменьшением содержания никеля сплав становится двухфазным во всем интервале температур, в том числе и при комнатной температуре. Увеличение хрома (сверх 18 % при 9 % Ni) приведет к тем же последствиям. При содержании хрома менее 14— 15 % в структуре появляется α-фаза, при температурах ниже 650 °С образование α-фазы протекает по мартенситному механизму.
В нержавеющих хромоникелевых сталях наряду с основной аустенитной γ -фазой может встречаться α-фаза в следующих модификациях: α-фаза, образующаяся в результате выделения из жидкости или из аустенита при высоких (выше 600—700 °С) температурах; α’-фаза, образующаяся из аустенита при низких (ниже 600 °С) температурах по мартенситному механизму и, наконец, α"-фаза, так называемый мартенсит деформации, при пластической деформации аустенита ниже некоторой температуры точки MD .
Структурное состояние сплавов 18 % Сr и 8—15 % Ni в зависимости от колебания состава может быть устойчивым и неустойчивым. Пластическое деформирование при низкой температуре может вызвать в некоторых случаях образование так называемого гексагонального ε-мартенсита (промежуточное состояние), который затем может перейти в обычный α-мартенсит.
Аустенитные стали с 18 % Сr и 8—10 % Ni структурно неустойчивы, охлаждение его в области отрицательных температур или пластическая деформация при комнатной температуре вызовут образование мартенсита. В сплаве с 18 % Сr и 10—12 % Ni образование мартенсита можно вызвать лишь деформацией при температурах ниже 0 °С, сплавы же с 18 % Сr и более 14 % Ni обладают стабильным аустенитом; ни охлаждение, ни деформация при низких температурах не вызовут образования α-фазы.
Промышленные хромоникелевые стали, естественно, не являются чистыми Fe—Cr—Ni сплавами, а содержат примеси. Эти примеси, растворяясь в основных фазах (γ и α) влияют на условия равновесия и на кинетику γ
α -превращения. Если же примеси образуют новые фазы, например карбиды, нитриды, интерметаллиды и др., то они могут существенно изменить свойства стали, хотя их влияние на γ
α -превращение в этом случае менее значительно. [3]
Глава 2. Азотсодержащие коррозионно-стойкие стали
Азот в небольших количествах присутствует в стали в виде примеси, попадая в нее при плавке из атмосферы и шихты. Ранее влиянию примеси азота на свойства стали не придавалось значения. Однако, как показывает опыт, этим пренебрегать нельзя, особенно в отношении высоколегированных хромистых и хромоникелевых сталей, выплавляемых в дуговых электропечах. Так как азот, как аустенитообразующий элемент в 20—30 раз действует сильнее, чем никель, то небольшие его количества (около 0,06%) уже достаточны для изменения структуры.
Присадка азота к ферритным хромистым сталям способствует появлению при высоких температурах двухфазной области аустенит + феррит и превращению аустенита в мартенсит, что отрицательно сказывается на механических свойствах сталей при комнатных температурах.
Присадка азота к полуферритным сталям типа XI7 повышает способность стали к превращению γ → α (вернее γ → Мα ) с полным исчезновением ферритной фазы. Стали с 12—16% Сr и до 0,2% Сс присадкой до 0,2% N полностью закаливаются на мартенсит и после отпуска при 150—200° С обладают более высокой прочностью и ударной вязкостью, чем стали без азота.
Азот часто используется при азотировании, а также как легирующий элемент в качестве заменителя никеля в хромистых и хромоникелевых сталях.
В первом случае азот, насыщая поверхность железа или легированных сталей, сообщает им высокую поверхностную твердость, связанную с образованием высокодисперсных выделений нитридов различного типа.

Рис. 8. Влияние азота в системе железо-хром на расширение γ-области: 1- без азота; 2- с азотом
Отмечается большая разница во влиянии азота на свойства низколегированных сталей и высоколегированных нержавеющих и жаростойких. В высоколегированных сталях он обладает значительной растворимостью и образует стойкие нитриды, особенно в присутствии титана, ниобия и некоторых других элементов. Растворимость азота в расплавленных железохромоникелевых сплавах зависит от содержания хрома и никеля. Хром способствует повышению растворимости азота в его сплавах с железом, а никель— понижению растворимости. Растворимость азота уменьшается с понижением температуры. [5]
Присадка азота к хромистым и хромоникелевым сталям действует аналогично углероду и никелю, способствуя расширению γ -области.
Cамая большая сложность для получения в железном сплаве большого количества азота заключается в том, что при затвердевании происходит резкое снижение растворимости азота в стали, в интервале температур кристаллизации, которая обычно происходит через образование высокотемпературной модификации железа - δ-фазы - с кристаллической решеткой объемно-центрированного куба, в которой растворимость азота низкая. Растворимость азота резко снижается при достижении температуры эвтектоидного превращения с образованием низкотемпературной модификация железа (α- фаза), хотя и в α-железе при температуре эвтектоидного превращения растворяется почти в пять раз больше азота, чем углерода. С помощью легирования растворимость азота можно повысить, выбрав составы стали, в которых вообще не будет образовываться высокотемпературное δ-железо. При этом кристаллизация из жидкой фазы будет происходить с образованием γ-фазы, с гранецентрированной кубической решеткой, в которой растворимость азота весьма высока.
При переохлаждении γ-фазы как у углеродистых, так и у азотистых сплавов железа может происходить бездиффузионная перестройка гранецентрированной кубической кристаллической решётки γ-фазы в α-фазу, пересыщенную азотом, или углеродом. При этом имеют место тетрагональные искажения кристаллической решетки α-железа.
С увеличением содержания азота увеличиваются тетрагональные искажения в α-железе, которое образуется по мартенситной реакции при охлаждении γ-железа
Азот, при равном с углеродом содержании, в железных сплавах обеспечивает высокую технологическую пластичность и повышенное значение предела текучести (очень важной характеристики конструкционных материалов), повышает способность к деформационному упрочнению, и существенно увеличивает способность сопротивляться распространению трещин в процессе разрушения, циклическую прочность, износостойкость и коррозионную стойкость.
Стали, легированные азотом подразделяют на два типа: с равновесным и «сверхравновесным» содержанием азота. Стали с равновесным содержанием азота, получают в условиях кристаллизации на воздухе при обычном давлении азота. Если давление азота над расплавом было повышенным, или был использован один из методов твердофазного азотирования, получают стали с так называемым «сверхравновесным» азотом.
Основным легирующим элементом для азотсодержащих нержавеющих сталей является хром. Уровень прочности и стабильности аустенита по отношению к γ→α превращению таких сталей прямо зависит от концентрации азота в γ-твердом растворе. В зависимости от химического состава сплава азот может находиться γ-твердом растворе и в нитридах. При 1250°С в сплаве, содержащем около 18% Сr и более 0,3% N, азот может находиться в γ-твердом растворе. При последующем охлаждении азотистый аустенит может претерпевать два фазовых превращения: первое (при температурах около 800°С) - диффузионное, с образованием феррита и нитридов хрома, и второе (при температурах ниже 500°С) - бездиффузионное, с образованием мартенсита. Величина энергии активации высокотемпературного превращения азотистого аустенита существенно больше, чем энергия активации диффузии азота в аустените или феррите. Она соизмерима с энергией активации диффузии хрома в α- или γ-железе, или самодиффузии железа.
У сплавов с содержанием хрома около 18-24%, а азота — более 0,8% при быстром охлаждении до комнатной температуры может быть получена однофазная аустенитная структура.
Характерной особенностью немагнитных сталей с высоким содержанием азота является их высокая упрочняемость при холодном пластическом деформировании, обусловленная низким уровнем энергии дефектов упаковки аустенита. Существенным недостатком таких сталей является их склонность к выделению при 500-900°С нитридов хрома по схеме прерывистого распада. Это проявление нестабильности аустенита выражено тем более резко, чем больше степень пересыщения аустенита азотом. Прерывистый распад аустенита, пересыщенного азотом, происходит с образованием пластинчатых колоний типа «аустенит с равновесным содержанием азота - нитрид типа Cr2 N с гексагональной плотноупакованной кристаллической решеткой». Это приводит к неоднородности механических свойств деталей, имеющих большие площади сечения, и значительному снижению пластичности и ударной вязкости, а также к ухудшению свариваемости стали. Устранение отрицательного влияния прерывистого распада на механические свойства стали может быть достигнуто:
- легированием ванадием, обеспечивающим смену прерывистого распада γ5 → γ + Cr2 Nна непрерывный распад γs → γ + VN(γs - пересыщенный азотом аустенит);
- термопластической обработкой, изменяющей форму и характер распределения частиц Cr2 Nи формирующей структуру типа «микродуплекс»;
- горячим пластическим деформированием с окончанием при температуре, превышающей температуру начала реакции прерывистого распада, но недостаточной для развития собирательной рекристаллизации аустенита;
- гранульной технологией, обеспечивающей измельчение колоний γ + VN в гранулах, полученных при быстром охлаждении.
Характерной особенностью структуры высокоазотистых аустенитных сталей является формирование в результате горячей прокатки при 1000-1100°С с суммарной степенью обжатия 60-70% развитой полигональной структуры (средний размер полигонов 0,6 мкм), сохраняющейся в процессе последующего нагрева при 650°С. При образовании такой структуры у высокоазотистой стали достигается сочетание высокой прочности с высокой пластичностью и ударной вязкостью. [1]
Недостатком сплавов с высоким содержанием азота является сложность производства и сварки. Во время сварки такой стали азот будет выделяться из сварного шва вследствие чего лист стали будет содержать иметь разный химический состав по всей площади. Это может привести к сильному ухудшению коррозионных свойств.
Чем выше содержание азота в хромоникелевой стали, тем меньше требуется никеля, чтобы сделать сталь полностью аустенитной. Например, 18%-ная хромистая сталь, содержащая около 0,15% N и 0,10% С, будет полностью аустенитной, если к ней добавить 5,5% Ni а в 25%-ную хромистую сталь без азота надо ввести около 14% Ni.
Введение 0,15% N заменяет от 2 до 4% Ni, а 0,25% N — от 2,5 до 6% Ni.
Присадка азота к хромоникелевой стали типа 18-8 повышает устойчивость аустенита при холодной деформации, при этом предел прочности (σв ) у стали типа 18-8 с азотом с изменением степени холодной деформации лежит ниже, чем у стали типа 18-8 без азота.
Для получения чисто аустенитной структуры у стали с 23% Cr без азота при том же содержании углерода требуется ~13% Ni.
Хромоникельазотистые аустенитные стали типа 23-4 имеют более высокие прочностные (σв и σ0,2 ) и несколько меньшие пластические свойства по сравнению с хромоникелевыми сталями типа 18-8.
Повышение прочности аустенитных сталей при введении азота связано со значительными статическими искажениями кристаллической решетки и искажениями кристаллической решетки и изменениями его тонкой кристаллической структуры. С увеличением концентрации азота в γ-твердом увеличивается параметр кристаллической решетки, наблюдается тенденция к измельчению блоков мозаичной структуры повышению уровня микроскольжений. По сравнению с немагнитными сталями, легированными углеродом, высокоазотистые стали имеют лучшее сочетание прочности и пластичности после горячей деформации и последующего высокотемпературного нагрева.
Максимальное количество азота, которое целесообразно вводить в сталь, зависит от его растворимости в аустените молибден, марганец, тантал, хром, ниобии повышает растворимость, а медь, кобальт, никель, углерод понижает растворимость азота в железных сплавах. При разработке высокопрочных немагнитных высокоазотистых нержавеющих сталей для увеличения содержания в них азота наиболее широко используют хром и марганец предельная концентрация азота в Fe-Cr-Mn- расплавах с 25% хрома и 20% марганца может достигнуть 1,26%. [6]
Легирование коррозионностойких аустенитных сталей азотом в количествах до 0,3% оказывает положительное влияние на структуру и свойства их сварных швов. Азот измельчает первичную структуру сварных швов и повышает стойкость таких сталей против образования горячих трещин и межкристаллитной коррозии. С увеличением содержания азота до 0,3% в хромоникелевых сталях прочность сварных соединений возрастает при незначительном снижении пластичности. Комплексное легирование азотсодержащих сталей марганцем и молибденом приводит к повышению стойкости сварных швов и образованию горячих трещин. Значительное повышение прочности сварных соединений за счет увеличения содержания азота более 0,3% и введения ванадия в аустенитных сталях возможно при ограниченном содержании никеля и других элементов. Последние снижают растворимость азота в аустените, и из-за этого практически неизбежно охрупчивание таких сталей в результате выделения в процессе сварного термического цикла азота, вызывающего пористость в металле сварного шва, и большого количества нитридов хрома и ванадия. [7]
Глава 3. Технология производства аустенитных коррозионно-стойких сталей
3.1 Выплавка аустенитных коррозионно-стойких сталей
Для выплавки нержавеющей стали используются открытые электродуговые печи (ЭДП). Принцип ЭДП основан на преобразовании электрической энергии в тепловую, в электрической дуге, являющейся одной из форм разряда в газовой фазе. В сравнительно малом объеме дуги при таком разряде можно сконцентрировать большие мощности и получить очень высокие(<3000 0 С) температуры. Плавление и нагрев металла происходят с большой скоростью.

Рис. 9. Схема дуговой электропечи прямого нагрева 1- электроды; 2- жидкая ванна после расплавления шихты; 3- футеровка; 4- выпускное отверстие с желобом; 5- рабочее окно; 6- механизм качания
Различают два варианта технологии процесса производства легированной стали, связанные с использованием углеродистой шихты или легированных отходов. В первом варианте необходимо проведение окислительного периода для удаления углерода, фосфора, кремния и других элементов. Недостатком этого варианта является потеря ряда легирующих элементов, если они содержатся в шихтовых материалах.
Второй вариант технологии проводят без окислительного периода, поэтому, поэтому легирующие элементы в значительной степени сохраняются в металле, а расход ферросплавов при этом снижается. Такой вариант технологии называют переплавом легированных отходов. Продолжительность этого процесса меньше чем плавки на углеродистой шихте, вследствие этого производительность плавильного агрегата выше, а удельный расход электроэнергии ниже, чем при проведении процесса по первому варианту. Недостатком этого варианта является невозможность удаления фосфора из металла и отсутствие кипения ванны. Для осуществления такой технологии требуется шихта с низким содержанием фосфора и принудительное перемешивание металла продувкой газообразным кислородом. При этом частичное окисление железа, кремния, углерода, протекающее с выделением тепла способствует прогреву металла. Выделяющийся монооксид углерода способствует перемешиванию и следовательно дегазации металла. Такой вариант технологии называется плавкой с частичным окислением примесей металла.
Вакуумно-дуговой переплав относится к относительно новым способам получения высококачественных сталей. Отличительной чертой вакуумно-дуговых печей (ВДП) является отсутствие источников загрязнения металла (атмосферы, шлака и футеровки), хорошие условия удаления неметаллических включений газов и примесей цветных металлов, а также направленная кристаллизация, обеспечивающая получение плотного слитка.
Общие особенности переплава в вакуумных дуговых печах и основы их расчета изложены в монографии.
Рассмотрим особенности выплавки нержавеющих сталей в ВДП. Обычно плавку ведут при остаточном давлении 1,33—0,133 н/м2 (10~2 — 10~3 мм рт. ст.). Емкость печи для производства слитков нержавеющих сталей не ограничивают. В качестве расходуемых электродов применяют катаные, кованые и литые штанги, которые перед установкой на печь подвергают торцовке и обдирке (зачистке на абразивных станках). Диаметр электрода примерно на 100 мм меньше диаметра кристаллизатора, при этом зазор между электродом и стенкой кристаллизатора должен быть больше длины дуги, которая составляет 15—30 мм.
Наибольшее влияние на физико-химические процессы, качество металла, а также технико-экономические показатели плавки оказывает сила тока.
Температура жидкой ванны при плавке в ВДП обычно ненамного превышает точку ликвидуса переплавляемой стали. При повышении силы тока в два раза наблюдается небольшое повышение температуры металла. С увеличением силы тока и вводимой мощности возрастает скорость наплавления. Превышение силы тока сверх оптимальной ведет к ухудшению рафинировочных процессов на торце электрода и в жидкой ванне, а также к ухудшению структуры слитка (возникновению ликвационных дефектов, увеличению глубины усадки и т. п.).
Влияние силы тока на механические свойства нержавеющей стали и макроструктуры не обнаружено. После переплава при силе тока 4,5 кА содержание газов и неметаллических включений было минимальным, увеличился выход годного металла на 2— 3%, но при этом по сравнению с повышенным токовым режимом усилилось развитие послойной кристаллизации. Опробован дифференцированный режим переплава нержавеющих сталей с постепенным снижением по ходу плавки силы тока и напряжения, обеспечивающий хорошие технико-экономические и качественные показатели. Этот режим оказался весьма эффективным для сталей, не склонных к ликвационным явлениям при кристаллизации. Изучалось распределение цветных примесей, неметаллических включений и газов по высоте и сечению слитков нержавеющей стали открытой, электрошлаковой и вакуумно-дуговой плавок. Вакуумный дуговой переплав обеспечивает существенное снижение содержания в металле цветных металлов, газов и неметаллических включений и в этом отношении имеет преимущества перед способом ЭШП.
При переплаве сталей с повышенным содержанием марганца наблюдается частая ионизация в плавильном пространстве, нарушается стабильность горения дуг, увеличивается «корона». Содержание других элементов при ВДП практически не меняется. Снижение загрязненности нержавеющих сталей после ВДП, наличие плотного однородного слитка позволяют существенно повысить служебные свойства металла. Так, например, относительное удлинение нержавеющей стали типа 2Х11НМВФ увеличивается после ВДП с 2 до 18%, а сужение поперечного сечения — с 1,2 до 32,5%.
Преимуществом металла, выплавленного в ВДП, является однородность свойств по сечению изделия. Высокая плотность стали в больших сечениях позволяет исключить течь из систем в условиях больших давлений и натекание в условиях глубокого вакуума.
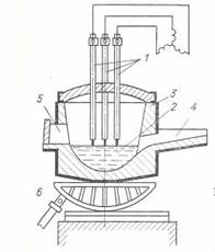
После выплавки в ВДП повышается изотропность металла. Нержавеющие стали, выплавленные ВДП, широко используются в авиационной технике, атомной теплоэнергетике, приборостроении и других важных отраслях. Среди новых рафинирующих переплавов электрошлаковый переплав (ЭШП) получил наибольшее развитие благодаря несложности необходимого оборудования и высокому качеству переплавленного металла при относительно небольших затратах на переделе. Значительно развита технология переплава, широко внедрено производство литых расходуемых электродов, расширился сортамент переплавляемой стали. Направленная кристаллизация слитка в сочетании с рафинированием металла шлаком позволили повысить такие качественные характеристики стали, как плотность и однородность структуры, чистота по неметаллическим включениям и газам, пластические свойства, особенно в поперечном направлении и др.

Рис. 9. Схема установки электрошлакового переплава: 1- расходуемый электрод из переплавляемого металла; 2- водоохлаждаемый кристаллизатор; 3- расплавленный шлак; 4- жидкая ванна переплавленного металла; 5- направляемый слиток металла
Для переплава нержавеющих и жаропрочных сталей применяют флюс системы CaF2 — А12 03 . Переплав сталей, легированных титаном, бором, ванадием, производят под шлаком с пониженным содержанием глинозема или на чистом CaF2 . При переплаве низкоуглеродистых нержавеющих сталей (менее 0,02% С) даже при содержании во флюсе 0,03% С в металле после ЭШП наблюдается рост углерода на 0,002% (с 0,018 до 0,020%). При производстве крупных слитков нержавеющих сталей необходимо ограничивать скорость наплавления с целью обеспечения минимальной ликвации при кристаллизации и исключения образования поверхностных дефектов (заливин) на слитках.
В настоящее время накоплено достаточно данных о влиянии ЭШП на качество нержавеющих сталей. Макроструктура слитков ЭШП характеризуется высокой плотностью и однородностью, что, естественно, обеспечивает высокое качество деформированного металла даже при малых степенях деформации. Наличие послойной кристаллизации в структуре не является браковочным признаком и отражает прерывистый характер кристаллизации. Проведенные нами исследования подтвердили высокое качество металла с послойной кристаллизацией. Для слитка ЭШП характерно очень равномерное и дисперсное распределение второй фазы, например, первичного феррита, боридной или карбидной эвтектики в аустенитной основе.
Плотность заготовки из стали Х18Н9ТШ составляет 7,921 г/см3 , а этой же исходной стали 7,825 г/см3 .
Плотная структура слитков ЭШП характерна и для таких сталей, которые склонны к образованию осевых дефектов (трещин) в обычных слитках. Однако следует отметить, что с переходом к производству крупных слитков,(более 10 т) необходимо особенно тщательно разрабатывать и соблюдать технологию ЭШП, ибо вследствие увеличения теплового сопротивления при кристаллизации могут возникать ликвационные явления. Поэтому важно обеспечить осевую или радиально-осевую направленность кристаллов, что достигается в первую очередь регулированием скорости наплавления металла.
Отсутствие поверхностных и внутренних дефектов в слитке, повышение его однородности и плотности благоприятно сказываются на качестве макроструктуры деформированного металла. В металле ЭШП отсутствуют такие дефекты, как «ликвационный квадрат», «паукообразный растрав», краевые загрязнения и интеркристаллитные трещины и многие другие, характерные для металла из обычных слитков. Полностью устраняется брак по внутренним дефектам, выявленным при ультразвуковом контроле.
При электрошлаковом переплаве значительно снижается загрязненность металла неметаллическими включениями и полностью устраняются скопления включений, являющихся источником макродефектов (волосовин, загрязнений в изломе и т. п.).
Одним из важных преимуществ металла ЭШП перед другими переплавами является значительная десульфурация металла и уменьшение сульфидных включений. В тесной связи с рафинированием металла от включений находится и снижение содержания газов: кислорода и водорода. Эффективность процесса ЭШП во многом зависит от технологии и особенно конечного раскисления исходного металла, а также состава флюса, скорости наплавления и некоторых других параметров ЭШП.
При разработке технологии ЭШП необходимо учитывать и корректировать технологию выплавки исходного металла.
Электрошлаковый металл имеет более высокие значения относительного удлинения и сужения, ударной вязкости, в особенности в поперечных образцах. Последнее обеспечивает значительное уменьшение анизотропии механических свойств.
Аналогичные данные получены при кратковременных испытаниях механических свойств при повышенных температурах. Для электрошлакового металла в то же время характерно небольшое снижение прочностных свойств. Электрошлаковый металл имеет более высокую горячую пластичность и шире интервал температур удовлетворительной пластичности, что связано с повышением чистоты и гомогенности металла.
Одновременно необходимо отметить, что вследствие большей чистоты и гомогенности электрошлаковый металл склонен к росту зерна в большей степени, чем электродуговой. Это следует учитывать при разработке режимов нагрева металла под деформацию, а также условий его охлаждения после деформации.
Существенно увеличивается длительная прочность металла после ЭШП. Переплав стали, обеспечивая повышение ее чистоты по включениям и газам, снижение серы, улучшает свариваемость. Институт электросварки им. Е. О. Патона на основании обширных исследований показал перспективность применения процесса ЭШП для улучшения свариваемости трубных нержавеющих сталей, используемых в тепло- и атомной энергетике. ЭШП также значительно улучшает полируемость нержавеющих сталей. Важным преимуществом ЭШП является сохранение физико-механических свойств для нержавеющих сталей переходного класса.
В последние годы большое распространение получают комплексные методы получения высококачественных сталей, в которых используются сразу два-три переплава. В ряде случаев сталь выплавляют методом ВИП с последующим ЭШП или ВДП. Плавка в индукционных вакуумных печах обеспечивает глубокую дегазацию и высокую степень раскисления в результате электромагнитного перемешивания и длительного воздействия вакуума. Новые методы плавки и их сочетания позволяют резко повысить металлургическое качество нержавеющих сталей, использовать новые композиции легирующих элементов и практически решить все задачи, которые ставят машиностроители перед металлургами. [8]
3.2 Выплавка аустенитных азотсодержащих коррозионно-стойких сталей
Использование азота в качестве легирующего элемента широко известно и реализуется различными производителями для получения стали, предназначенной для работы в сложных условиях. Однако механизм ввода азота в сталь в сравнении с механизмом ввода других легирующих элементов имеет ряд специфических особенностей и до сих пор представляет значительный интерес с точки зрения изучения закономерностей поведения азота и разработки относительно дешевого способа производства стали с гарантированным уровнем содержания азота.
Применение электрошлакового переплава приводит к получению слитков, в значительной степени лишенных сегрегаций легирующих элементов, ликваций и других дефектов макроструктуры. Это ведет к тому, что по прочности и ударной вязкости сталь ЭШП имеет заметное преимущество перед сталью открытой выплавки при сохранении высоких пластических характеристик.
Для получения в стали азота на уровне 0,30-0,50% обязательно ее легирование большим количеством элементов, повышающих растворимость азота в жидком и твердом растворах, а именно – хромом, марганцем, ванадием и ниобием. Одновременно, с той же целью, сталь должна содержать минимально необходимое количество никеля, меди, кремния и других элементов, снижающих растворимость азота.
К последней группе относится также углерод, необходимость снижения которого до минимальных значений связана не только с его отрицательным влиянием на растворимость азота в стали, но и с обеспечением высокой коррозионной стойкости и благоприятной структуры металла.
При разработке технологии производства коррозионно-стойких азотсодержащих сталей, особое внимание должно быть обращено на следующие основные положения процесса выплавки и разливки металла:
- выбор шихтовых материалов и легирующих элементов и раскислителей;
- проведение окислительного периода и температурного режима с учетом введения большого количества присадок для обеспечения заданного химического состава, в том числе по содержанию углерода и азота;
- рафинировка и шлаковый режим;
- порядок ввода легирующих элементов для обеспечения максимального усвоения азота из азотированных материалов.
При выплавке стали в завалку необходимо использовать только углеродистые отходы известного химического состава, обеспечивающие низкую массовую долю цветных и вредных примесей. Все легирующие элементы и раскислители должны иметь сертификаты качества и строго им соответствовать. Известь должна быть свежеобожженной.
Для обеспечения лучшего усвоения и уменьшения времени рафинировки феррониобий, феррохром и металлический марганец нужно присаживать в печь в прокаленном виде.
Учитывая низкое содержание углерода и фосфора в готовой стали, необходимо использовать металлический марганец Mn 965 с содержанием углерода не более 0,10%, и феррохром содержанием фосфора не более 0,02%, а также использовать для легирования металла азотом азотированный феррохром с содержанием азота не менее 6%.
По расплавлению металла необходимо производить продувку металла кислородом. В процессе продувки необходимо окислить не менее 0,4% углерода. Окислительный период необходимо заканчивать при содержании углерода не более 0,02% и фосфора не более 0,008%.
Окислительный шлак необходимо скачивать до появления зеркала металла.
Температура металла в конце окислительного периода должна быть не ниже 1640°C.
После скачивания окислительного шлака также необходимо провести предварительное раскисление металла кусковым алюминием на штангах в количестве 1,5-2,0 кг/т и кусковым 75 % ферросилицием из расчета введения кремния на 0,40-0,50% без учета угара и навести рафинировочный шлак смесью свежеобожженной извести, плавикового шпата и шамота. После проплавления шлаковой смеси надо производить присадку дробленого феррохрома в несколько приемов в прокаленном виде (до красного свечения). По расплавлению последней порции феррохрома надо скачать шлак и навести новой шлаковой смесью из свежеобожженной извести и плавикового шпата в соотношении 4:1.
После проплавления шлаковой смеси присадить металлический марганец в несколько приемов.
Феррониобий и феррованадий присаживать после ферромарганца не позднее, чем за 10 минут до выплавки.
Азотсодержащие материалы для лучшего усвоения азота присаживать в несколько приемов при температуре металла не более 1580°C. Окончательное раскисление стали производить кальцийсодержащими материалами. Температура металла в ковше перед разливкой 1490-1520о С.
Сифонную разливку проводить с максимальной скоростью в крашеные изложницы с защитой струи металла аргоном. Слитки передавать на ковку горячим садом.
Выплавку стали производят в электродуговой печи. Шихтовку плавки составляют с использованием отходов, химический состав которых должен быть обеспечивать ориентировочную расчетную массовую долю хрома перед продувкой металла кислородом 5-6% и чистого железа, обеспечивающего низкую массовую долю серы и фосфора в металле.
После продувки металл раскисляют присадкой кускового алюминия 2-3 кг/т, а шлак порошком алюминия до разжижения, и присаживают расчетное количество хрома и феррониобия (никель-ниобиевой лигатуры).
Для предотвращения науглероживания металла в процессе проплавления феррохрома, его присадку производят отдельными порциями в 2-3 приема.
После расплавления последней порции феррохрома шлак скачивают, раскисляют металл металлическим кальцием и алюминием и присаживают азотированный марганец и азотированный феррохром на ориентировочное содержание 1,0-1,2% азота. [9]
3.3 Термомеханическая обработка аустенитных коррозионно-стойких сталей
Для удаления поверхностных дефектов используются три вида ремонта: а) обдирка поверхности слитков на токарных станках; б) полная или выборочная местная зачистка поверхности слитков с помощью абразивных станков; в) огневая зачистка поверхности слитков с помощью специального резака.
Обдирку поверхности слитков производят при наличии массовых дефектов глубиной до 10—15 мм. Этот метод позволяет надежно удалять большинство дефектов и получать качественную поверхность проката. Недостатком метода является перевод большого количества металла в стружку, низкая производительность токарных станков (даже при оборудовании их несколькими резцами).
Однако для некоторых трещиночувствительных сталей обдирка является единственно приемлемым способом ремонта слитков. Зачистка поверхности слитков на абразивных станках позволяет производить удаление отдельных дефектов и благодаря этому сокращать затраты труда и металла. Зачистке следует подвергать некоторые прочные марки нержавеющих сталей. Для слитков, предназначенных для прокатки или продольной ковки, глубина зачистки дефектов допускается до 20—50 мм (в зависимости от сечения) с развалом 1:6. Для кузнечных слитков, которые подвергаются осадке, глубина выточек ограничивается до 30 мм при развале 1:10.
Весьма часто сочетают обдирку на токарных станках с последующей абразивной зачисткой оставшихся поверхностных дефектов либо обдирку наиболее пораженной дефектами зоны и местную зачистку дефектов в остальной части слитка.
Огневой зачистке обычно подвергают крупные листовые слитки нержавеющей стали, глубина дефектов у которых более 5 мм, и их общая площадь занимает более 1/3 грани. Такую зачистку осуществляют на специальных открытых участках с помощью газовых резаков.
Для развития высокой температуры в зоне реза металла к головке резака по питательным штангам подводят природный газ и кислород (около 99% О), а также порошковую смесь: на два объема порошка силико-кальция один объем порошка ПАМ-4. При сгорании в кислороде порошка ПАМ-4 (50% А1 и 50% Mg) развивается температура около 2500°С, что обеспечивает плавление тугоплавких элементов, входящих в состав нержавеющей стали.
Отрицательным моментом в абразивной и огневой зачистке металла является получение немобильных отходов металла с потерей ценных легирующих элементов.
Как правило, нержавеющие стали обладают пониженной пластичностью, т.е. пониженной способностью деформироваться без разрушения. Пластичность стали зависит от ее природы, характера напряженного состояния при деформации, а также температурных и скоростных условий деформации.
Наибольшее влияние на горячую пластичность оказывает химический состав стали, определяющий ее свойства и фазовый состав при деформации. Образование избыточных фаз различного состава, находящихся в металле в виде включений, прослоек и пленок, существенно затрудняет протекание процесса пластической деформации. В этой связи влияет и ликвация химического, а следовательно, и фазового состава металла в слитке.
Выбор оптимального химического состава стали даже в пределах марки, подавление процесса ликвации при разливке, диффузионное выравнивание состава при термообработке или нагреве под прокатку являются существенными условиями повышения пластичности металла. К природе стали следует также отнести ее микросостав: с одной стороны, наличие вредных элементов— цветных металлов: свинца, цинка, висмута, сурьмы, олова, мышьяка и др; с другой — наличие поверхностно активных элементов в определенных дозах: бора, кальция, магния, церия и других РЗЭ.
Микросостав стали определяется составом шихтовых материалов, методом и технологией выплавки, составом футеровки печи и оказывает существенное влияние на поведение металла при деформации. Например, если удаление ряда цветных металлов при вакуумном дуговом и электроннолучевом переплавах положительно сказывается на уровне пластичности, то испарение магния может привести к ухудшению способности к деформации.
Большое влияние на пластичность оказывают температурно-скоростные условия, при которых осуществляется деформация металла. В большинстве случаев с повышением температуры пластичность металла возрастает, сопротивление деформации уменьшается, повышается производительность станов. В связи с этим обычно стремятся деформировать металл при более высоких температурах.
Однако для нержавеющих сталей при выборе температуры нагрева и деформации следует учитывать не только опасность пережога, но и фазовое состояние металла, рост зерна и т. п. факторы, существенно влияющие на горячую пластичность и свойства прокатанной стали.
Повышенным сопротивлением деформации обладают стали с наибольшей легированностью аустенита, особенно содержащие интерметаллидные соединения и карбиды вольфрама и молибдена.
Сопротивление деформации зависит от температуры: и с понижением оно увеличивается. Верхний предел температуры деформации определяется температурой перегрева и пережога стали, которая на 100—200 град ниже температуры плавления стали, и кривой пластичности стали. Если сталь обладает высокой температурой начала рекристаллизации, то ограничивают и температуру конца прокатки (ковки). Она должна быть выше температуры рекристаллизации, так как при снижении температуры происходит упрочнение стали рост сопротивления деформации.
Для многих нержавеющих сталей необходимо производить деформацию в узком интервале температур, но при этом нежелательно применять малые обжатия по проходам, так как большое число проходов ведет к ухудшению качества металла.
Станы для прокатки нержавеющих сталей должны учитывать эти особенности и иметь повышенные прочность и мощность двигателя: контрольно-измерительная аппаратура должна обеспечить высокую точность температурного режима нагрева. [7]
3.4 Термомеханическая обработка аустенитных азотсодержащих коррозионно-стойких сталей
Введение в коррозионно-стойкие аустенитные стали большого количества азота, который превосходит по упрочняющей и аустенитнообразующей способности другие легирующие элементы, позволяет создать новые немагнитные сплавы с высокими механическими свойствами и сопротивлением коррозии. Такие сплавы не содержат других (кроме азота) γ-стабилизаторов (Ni, Мn, Сu, Со), а также дорогих и дефицитных легирующих добавок, входящих в состав традиционных аустенитных коррозионно-стойких сталей (Mo, W, Nb или Ti). Например, сплавы, содержащие 21 -24 % Сr и 1,0 - 1,4 % N после нагрева до температуры, достаточной для растворения нитридов хрома в γ-твердом растворе, и охлаждения в воде обладают сочетанием высокой прочности (σ02 =850-900 МПа), пластичности (δ=25-30%, ψ=35-40 %) и износостойкости. По абразивной износостойкости эти сплавы в 2 - 3 раза превосходят известную сталь 110Г13Л, а по стойкости против межкристаллитной коррозии — сталь типа 08Х18Н10Т
Существенным недостатком высокоазотистых Fe-Сr-N-сплавов, как и известных сплавов систем Fe-Cr-Mn-N, Fe-Cr-Ni-N и Fe-Cr-Mn-Ni-N, является их склонность к выделению нитридов хрома при температурах 500-900°С по механизму прерывистого распада. Это проявление нестабильности аустенита выражено тем более резко, чем выше степень пересыщения γ-твердого раствора азотом. Прерывистый распад такого твердого раствора с высоким содержанием никеля и марганца происходит с образованием перлитоподобных колоний, состоящих из аустенита с равновесным содержание азота и пластинчатых частиц нитрида хрома типа Cr2 N. В Fe-Сr-N-сплавах пересыщенный азоте аустенит или мартенсит при указанных выше температурах распадается с образованием ферритно-нитридной структуры.
Развитие прерывистого распада в высокоазотистых сплавах приводит к неоднородности механических свойств деталей, имеющих большие сечения, также к значительному снижению одновременно прочности, пластичности, вязкости, коррозионной стойкости и ухудшению свариваемости. Способы устранения отрицательного влияния прерывистого распада на эти свойства рассмотрены в работе. Наиболее эффективным из них является проведение холодной пластической деформации со значительными степенями обжатия (не менее 50 %), создающей высокую плотность дефектов кристаллического строения и, как следствие этого, изменение формы характера распределения нитридных частиц, формирующихся при последующих термических воздействиях. Холодная пластическая деформация Fe-Сr-Mn-N- или Fe-Сr-Ni-Мn-N-сплавов методами прокатки, волочения или гидроэкструзии с суммарной степенью обжатия 60 - 80 % обеспечивает повышение их прочности (до σв =2000-3000 МПа в зависимости от конечных размеров сечения образцов или изделий).
Другим возможным способом устранения прерывистого распада высокоазотистых сплавов является горячая пластическая деформация (при прокатке суммарная степень обжатия не менее 80 %) с окончанием при температурах, несколько превышают; температуру начала прерывистого распада, но не достаточных для развития процесса собирательной рекристаллизации аустенита. При горячей пластической деформации Fe-Сr-Мn-N- или Fe-Сr-Ni-Мn-N-сплавов (содержащих 0,6-1,0% N) прокаткой при 1000- 1100 °С с суммарным обжатием 70 % формируется фрагментированная структура (с размером ячеек 0,4-0,7 мкм), обеспечивающая сочетание высокой прочности (σ0,2 =800-1000МПа), пластичности (δ=30-50%), и ударной вязкости (KCU= 0,8-1,4 МДж/м2 ). [11]
Лист толщиной 20мм, полученный из «огарка» (часть электрода не подвергшийся ЭШП) имел предел текучести 560-770МПа и ударную вязкость 113-135Дж/см2 , а лист 20 мм (ЭШП) имел предел текучести787-918МПа и ударную вязкость 172-215Дж/см2 .
3.5 Термообработка аустенитных азотсодержащих коррозионно-стойких сталей
Термическая обработка нержавеющих сталей аустенитного класса сравнительно проста и заключается в закалке в воде с 1050—1100°С. Фактически это отжиг на гомогенизацию (гомогенизационный отжиг) с охлаждением в воде – аустенитизация.

Рис. 10. Схема закалки нержавеющей стали
Нагрев до этих температур вызывает растворение карбидов хрома (М23 С6 ), а быстрое охлаждение фиксирует состояние пересыщенного твердого раствора. Медленное охлаждение недопустимо, так как при этом, как и при отпуске, возможно выделение карбидов, приводящее к ухудшению пластичности и коррозионной стойкости. Кроме того, при закалке происходят рекристаллизационные процессы, устраняющие последствия пластической деформации, которой часто подвергаются нержавеющие аустенитные стали.
Механические свойства аустенитных нержавеющих сталей в закаленном (смягченном) состоянии характеризуются низким значением предела текучести, невысокой прочностью и очень высокой пластичностью.
Очевидно, что этот способ упрочнения применим лишь для так видов изделий, как тонкий лист или лента, проволока и т. п. [7]
Изменяя режимы термической обработки высокоазотистых хромистых сталей, можно влиять на фазовые и структурные превращения при нагреве и охлаждении сталей и как следствие на их свойства. Фазовые превращения, происходящие при нагреве сталей с аустенитной структурой, связаны с образованием нитридов, начинающимися при ~500°С (зонная стадия) и заканчивающимися при ~730°С (стадия выделений). Нитриды, обеспечивающие высокую твердость стали, весьма дисперсны и имеют вид тонких реек. Коагуляция нитридов при 700-800°С приводит к резкому снижению твердости. После выдержки при 950-1050°С твердость закаленных сталей достигает величины, близкой к твердости закаленной высокоуглеродистой стали с 0,6-1,0% С.
В процессе охлаждения (его скорость в наших экспериментах составляла 120°С/мин.) сталей происходит γ→α -превращения по двум механизмам:
- диффузионному (при 680°С), с распадом обедненного азотом аустенита на феррит с крупными зернами полиэдрической формы и нитриды хрома;
- мартенситному, с образованием пластинчатого мартенсита из обедненного азотом аустенита.
При повышении температуры нагрева предварительно закаленных сталей температура начала мартенситного превращения снижается. Например, для стали, содержащей 18% хрома и 0,9% азота, после нагрева до 900, 1100 и выше 1150°С γ→α превращение по мартенситному механизму протекает при температурах 305, 110°С и ниже комнатной соответственно. Чем выше температура нагрева под закалку, тем большее количество нитридов растворяется, что приводит к уменьшению количества α- фазы и понижению твердости. [5]
Термическая обработка листа толщиной 10мм показала возможность снятия избыточного наклепа и повышения ударной вязкости. Полученные значения предела текучести и ударной вязкости составили соответственно 670-770Мпа (вместо 920-990МПа до термической обработки) и 280-325Дж/см2 (вместо 135-160Дж/см2 до термической обработки).
Радикальный способ упрочнения аустенитных сталей — холодный наклеп; при деформации порядка 80—90 % предел текучести достигает 980—1170 МПа, а предел прочности 1170—1370 МПа при сохранении достаточно высокой пластичности. [7]
Глава 4. Свойства аустенитных азотсодержащих коррозионно-стойких сталей
В настоящее время в химической промышленности находят применение хромоникелевые стали типа 18-12 и 20-20 (иногда легированные 2—3% Мо) с крайне низким содержанием углерода — не более 0,03% (в отдельных случаях не более 0,02%). Эти стали не склонны к межкристаллитной коррозии в ряде весьма агрессивных сред и их не требуется стабилизировать титаном или ниобием. Однако из-за малого содержания углерода и повышенной склонности к рекристаллизации такие стали обладают пониженным пределом текучести в сравнении с классическими нержавеющими сталями,имеющими и без того невысокий предел текучести. С целью повышения прочностных свойств малоуглеродистых нержавеющих сталей без ущерба для коррозионной стойкости их легируют азотом в небольших количествах, что вызывает упрочнение за счет растворения азота в γ-твердомрастворе.

Рис. 11. Влияние растворенного азота на предел текучести (σ0,2 ) стали.

Рис. 12. Влияние азота на механические свойства малоуглеродистых аустенитных сталей Cr-Ni, Cr-Ni-Mo и Cr-Ni-Mn-Mo сталей типа 18-10, 18-14-3 и 20-12-10-3
Влияние азота, растворенного в γ-твердом растворе, на изменение механических свойств ряда хромоникелевых, Сr— Ni — Мо и Сr — Ni — Мn сталей иллюстрируют рис. 11 и 12, из рассмотрения которых следует, что упрочнение пропорционально содержанию азота, растворенного в стали. Для стали Х18Н10 при 0,02% С и 0,15% N предел текучести достигает 30 кГ/мм2 . Количество растворенного азота в свою очередь тем больше, чем выше концентрация хрома и марганца. Упрочнение, связанное с растворением азота в твердом растворе, вызывает незначительное уменьшение пластичности и ударной вязкости аустенитных сталей в отличие от дисперсионно-твердеющих сталей, в которых упрочнение сопровождается значительной потерей вязкости. В γ-твердом растворе стали 00ХТ5НТ4АМЗ, закаленной после аустенитизации при температуре 1050°С, может быть растворено до 0,20% N, а в случае дополнительного легирования марганцем (сталь 00Х18Н12Г10АМЗ) в твердом растворе растворяется до 0,34% N . Следует, однако, учитывать, что растворимость азота в твердом растворе и в расплаве различна, поэтому фактическое содержание азота в стали зависит от условий выплавки, разливки, кристаллизации слитка и других факторов.
Азот, находящийся в γ-твердом растворе низкоуглеродистых хромо-никелевых сталей типа 18-12, не ухудшает их общей коррозионной стойкости в кипящей 65%-ной HNO3 и не ухудшает поведения металла после провоцирующего отпуска в критическом интервале температур. Понижая содержание углерода, можно достигнуть существенного улучшения коррозионной стойкости стали с повышенными прочностными свойствами. Так, уменьшение содержания углерода в стали 00Х18Н14АМЗ (0,18% N) с 0,047 до 0,015% приводит к увеличению, минимального времени до возникновения склонности к межкристаллитной коррозии с 30 мин до 1000 ч при испытании по методу AM (рис. 13).

Рис. 13. Результаты испытаний на межкристаллитную коррозию хромоникельмолибденовых сталей с содержанием 0,015 и 0,047% С, а также с повышенным содержанием азота в кипящем растворе сульфата меди в серной кислоте: 1 – коррозия отсутствует; 2 — коррозия на глубину до 0,05 мм; 3 — слабая коррозия; 4 — сильная коррозия
| Содержание, % | ||||
| C | Si | Mn | Cr | |
| а | 0,015 | 0,5 | 1,39 | 17,53 |
| б | 0,047 | 0,46 | 1,50 | 17,97 |
| Ni | Mo | N | ||
| а | 13,97 | 2,87 | 0,182 | |
| б | 14,97 | 2,81 | 0,184 | |
На примере стали 00Х18Н14АМЗ можно также сделать вывод, что в небольших количествах азот не оказывает отрицательного влияния на поведение однофазной аустенитной стали в условиях коррозии под напряжением в кипящем 42%-ном растворе хлористого магния. С учетом области разброса (рис. 14) предел длительной коррозионной прочности образцов с 0,04 и 0,16% N практически одинаков.

Рис. 14. Результаты испытаний на коррозионное растрескивание под напряжением Сr — Ni — Мо сталей с присадкой и без присадки азота в кипящем 42% -ном растворе хлористого магния. Поверхность образцов электрополирована и пассивирована в 15% -ном растворе азотной кислоты в течение 1 ч при 40°С. Стрелкой отмечено появление отдельных надрывов
| Содержание, % | ||||
| C | Si | Mn | Cr | |
| а | 0,024 | 0,4 | 1,42 | 17,64 |
| б | 0,030 | 0,42 | 1,23 | 18,50 |
| Ni | Mo | N | ||
| а | 14,40 | 2,98 | 0,04 | |
| б | 14,07 | 2,97 | 0,16 | |
В малоуглеродистой хромоникелевой стали, легированной азотом, наличие стабильной аустенитной структуры и отсутствие второй фазы исключает опасность структурно-избирательной коррозии и делает сталь не подверженной охрупчиванию при отпуске в интервале температур 600—900°С. Подобные стали хорошо полируются в противоположность титан содержащим нержавеющим сталям, обработка которых затруднена из-за образования скоплений или больших размеров карбонитридов.
Для сварки сталей, не подвергаемых дальнейшей термообработке, могут быть использованы аустенитные присадочные материалы из Сr — Ni—Мо сталей, а для сварки конструкций, подвергаемых термообработке, используют присадочный материал, содержащий примерно 0,03% С, 18% Сr, 14% Ni, 10% Мn, 2,5% Мо и 0,2% N. [6]
Выводы
На основе проведенного выше анализа литературы можно сделать вывод, что использование ЭШП эффективно для выплавки азотсодержащих коррозионно-стойких аустенитных сталей. Свойства, получаемые после проведения ЭШП намного выше, чем после проведения только электродуговой плавки. Формируемый при ЭШП слиток, за счет направленной кристаллизации в водоохлаждаемом кристаллизаторе, обработке химически активным шлаком и затвердеванию в шлаковом гарнисаже, характеризуется высокой однородностью структуры, высокой плотностью, низким содержанием неметаллических включений, вредных примесей и гладкой поверхностью, не требующей дополнительной механической обработки. За счет однородной структуры, получаемой при ЭШП, получаем однофазную аустенитную структуру с низкой магнитопроницаемостью (μ ≤ 1,01 Гс/Э). В сталях полученных электродуговой плавкой с последующей прокаткой возможно большие включения ферритной составляющей (особенно при недостатке марганца). Макроструктура слитков ЭШП характеризуется высокой плотностью и однородностью, что, естественно, обеспечивает высокое качество деформированного металла даже при малых степенях деформации.
Для слитка ЭШП характерно очень равномерное и дисперсное распределение второй фазы, например, первичного феррита, боридной или карбидной эвтектики в аустенитной основе.
Список использованной литературы
1. Банных О.А., Блинов В.М., Деркач Г.Г., Колесников А.Г., Костина М.В., Петраков А.Ф., Семенов В.Н. Научные основы создания нового поколения сталей и сплавов для эксплуатации в экстремальных условиях и технологии их обработки. Москва 2000 г.
2. Б. Е. Патон, Б.И. Медовар, Г.А.Бойко. Электро-шлаковая технология. Общество «Знание» украинской ССР Киев – 1976 г.
3. Гуляев А. П. Металловедение. Москва «МЕТАЛЛУРГИЯ» 1986 г. 541 с.
4. О. А. Банных, В. М. Блинов. Дисперсионно-твердеющие немагнитные ванадийсодержащие стали. Издательство «Наука», 1980г.
5. Химушин Ф.Ф. Нержавеющие стали. Государственное научно-техническое издательство литературы по черной и цветной металлургии. Москва 1963 г. 600 с.
6. М. В. Приданцев, Н. П. Талов, Ф. Л. Левин Высокопрочные аустенитные стали. М.: изд. «Металлургия», 1969, с. 248.
7. Г.М. Бородулин, Е. И. Мошкевич. Нержавеющая сталь. Москва «МЕТАЛЛУРГИЯ», 1973г. 319с.
8. В. И. Коротич С.Г. Братчиков. Металлургия черных металлов. Москва «МЕТАЛЛУРГИЯ», 1987г. 239с.
9. Журнал Современная электрометаллургия №2 2008 г. А.Митчелл Кристаллизация металла в процессах переплава. с. 4-12.
10. Журнал Металловедение и термическая обработка металлов №1 2002 г. Костина М.В., В.М. Дымов., Банных О.А., Блинов В.М. Влияние пластической деформации на структуру и свойства высокоазотистых сплавов системы Fe – Сr
11. Журнал Металловедение и термическая обработка металлов №7 2001 г. Костина М.В., Банных О.А., Блинов В.М. Влияние пластической деформации и термической обработки на структуру и упрочнение азотистой стали 0Х16АН4Б
12. А. Д. Крамаров. Производство стали в электропечах. Издательство «МЕТАЛЛУРГИЯ» Москва 1969 г. 350 с.
13. И. И. Новиков. Теория термической обработки металлов. Москва «МЕТАЛЛУРГИЯ» 1986 г. 479 с.
Похожие рефераты:
Давно ли люди гибнут за металл и как именно закалялась сталь
Исследования свойств штамповой стали после термической обработки
Свойства легированных сталей. Испытание на твёрдость по Бринеллю
Материаловедческий анализ стали
Переработка автомобильного лома для получения стали
Участок по переработке лома твёрдых сплавов способом хлорирования
Плазменное поверхностное упрочнение металлов
Нанесение и получение металлических покрытий химическим способом
Процесс сварки вольфрамовым электродом в аргоне с присадочной проволокой титанового сплава ОТ4
Программа для поступающих в вузы (ответы)
Деформированные алюминивые сплавы
Товароведная характеристика цветных металлов и изделий из них