| Похожие рефераты | Скачать .docx |
Курсовая работа: Исследование нефтяных скважин при установившихся режимах фильтрации
Содержание
Введение
1 Технико-технологический раздел
1.1 Цели и виды исследования скважин
1.2 Технология исследования скважин
1.3 Приборы и оборудование для исследования
2 Расчетно-практический раздел
2.1 Построение индикаторных диаграмм
2.2 Расчет параметров призабойной зоны и коэффициента продуктивности
Заключение
Список литературы
Введение
Кривые восстановления (падения) забойных давлений (КВД-КПД) являются одним из известных и распространенных методов гидродинамических исследовании скважин на неустановившихся режимах фильтрации.
Под гидродинамическими исследованиями скважин (ГДИС) понимается система мероприятий, проводимых на скважинах по специальным программам: замер с помощью глубинных приборов ряда величин (изменения забойных давлений, дебитов, температур во времени и др., относящихся к продуктивным нефтегазовым пластам), последующая обработка замеряемых данных, анализ и интерпретация полученной информации о продуктивных характеристиках - параметрах пластов и скважин и т д.
За последние годы были разработаны дистанционные высокоточные глубинные электронные манометры с пьезокварцевыми датчиками давления и глубинные комплексы с соответствующим компьютерным обеспечением (так называемые электронные манометры второго поколения) Применение таких манометров и комплексов позволяет использовать при анализе новые процедуры, резко улучшающие качество интерпретации фактических данных и количественно определяемых параметров продуктивных пластов. Особо остро стоят эти вопросы при разработке сложно построенных месторождений, при бурении, эксплуатации и исследовании горизонтальных скважин.
В общем комплексе проблем разработки месторождений углеводородов важное место занимает начальная и текущая информация о параметрах пласта - сведения о продуктивных пластах, их строении и коллекторных свойствах, насыщающих флюидах, геолого-промысловых условиях, добывных возможностях скважин и др. Объем такой информации о параметрах пласта весьма обширен.
Источниками сведений о параметрах пласта служаткак прямые, так и косвенные методы, основанные на интерпретации результатов исследований скважин геолого-геофизических исследований, лабораторных изучений образцов породы (кернов, шлама) и проб пластовых флюидов при различных термобарических условиях (исследования РVТ, изучаемой физикой пласта), данных бурения скважин и специального моделирования процессов фильтрации ГДИС.Обработка и интерпретация результатов ГДИС связана с решением прямых и обратных задач подземной гидромеханики. Учитывая, что обратные задачи подземной гидромеханики не всегда имеют единственные решения, существенно отметить комплексный характер интерпретации данных ГДИС с широким использованием геолого-геофизических данных и результатов лабораторных исследований РVT.
1. Технико-технологический раздел
1.1 Цели и виды исследования скважин
Основная цель исследования залежей и скважин — получение информации о них для подсчета запасов нефти и газа, проектирования, анализа, регулирования разработки залежей и эксплуатации скважин. Исследование начинается сразу же после открытия залежей и продолжается в течение всей «жизни» месторождения, т. е. осуществляется в процессе бурения и эксплуатации скважин, обеспечивающих непосредственный доступ в залежь.
Исследования можно подразделить на первичные, текущие и специальные. Первичные исследования проводят на стадии разведки и опытной эксплуатации месторождения. Задача их заключается в получении исходных данных, необходимых для подсчета запасов и проектирования разработки. Текущие исследования осуществляют в процессе разработки. Их задача состоит в получении сведений для уточнения параметров пласта, принятия решений о регулировании процесса разработки, проектирования и оптимизации технологических режимов работы скважин и др. Специальные исследования вызваны специфическими условиями разработки залежи и эксплуатации скважин (внедрение внутрипластового горения и т. д.).
Выделяют прямые и косвенные методы исследования. К прямым относят непосредственные измерения давления, температуры, лабораторные методы определения параметров пласта и флюидов по керну и пробам жидкости, взятым из скважины. Большинство параметров залежей и скважин не поддается непосредственному измерению. Эти параметры определяют косвенно путем пересчета по соотношениям, связывающим их с другими, непосредственно измеренными побочными параметрами. Косвенные методы исследования по физическому явлению, которое лежит в их основе, подразделяют на:
- промыслово-геофизические,
- дебито- и расходометрические,
- термодинамические
- гидродинамические.
При промыслово-геофизических исследованиях с помощью приборов, спускаемых в скважину посредством глубинной лебедки на электрическом (каротажном) кабеле, изучаются:
- электрические свойства пород (электрокаротаж),
- радиоактивные (радиоактивный каротаж — гамма-каротаж, гамма-гамма-каротаж, нейтронные каротажи),
- акустические (акустический каротаж),
- механические (кавернометрия) и т. п.
Промыслово-геофизические исследования позволяют определить пористость (поровую, трещинную, кавернозную), проницаемость, нефтеводогазонасыщенность, толщину пласта, отметки его кровли и подошвы, литологию и глинистость пород, положения водонефтяного контакта (ВНК), газонефтяного котакта (ГНК) и их продвижения, интервалы обводнения, состав жидкости в стволе скважины и его изменение (гамма-плотнометрия, диэлькометрическая влагометрия, резистивиметрия и др.), скорость движения и распределение закачиваемых в пласт агентов (метод радиоактивных изотопов, индикаторные методы и др.), выявить работающие интервалы пласта, установить профили притока и поглощения (скважинная дебито- и расходометрия, термометрия, фотоколориметрия, определение содержания ванадия и кобальта в нефти), определить техническое состояние скважины (качество цементирования, негерметичность обсадных труб, наличие межпластовых перетоков, толщина стенок труб, дефекты в них, местоположение интервалов перфорации, элементов оборудования, муфт и забоя скважины, место отложения парафина, осадка и др.). Эти исследования выполняют геофизические организации. К геофизическим исследованиям относят также скважинные дебиторасходометрические и термодинамические исследования.
Скважинные дебито- и расходометрические исследования позволяют выделить в общей толщине пласта работающие интервалы и установить профили притока в добывающих и поглощения в нагнетательных скважинах. Обычно эти исследования дополняются одновременным измерением давления, температуры, влагосодержания потока (доли воды) и их распределения вдоль ствола скважины. Для исследования на электрическом кабеле в работающую нагнетательную скважину спускают скважинный прибор — расходомер (в добывающую скважину - дебитомер), датчик которого на поверхность подает электрический сигнал, соответствующий расходу жидкости.
Прибор перемещают в скважине периодически с определенным шагом (около 1 м) от точки к точке. В каждой точке измеряется суммарный расход. По данным измерения строят диаграмму интенсивности (расходо- или дебитограмму) или преимущественно профиль поглощения (притока) жидкости , что позволяет определить работающие интервалы, их долевое участие в общем расходе (дебите) жидкости, охват разработкой по толщине пласта (отношение работающей толщины пласта к нефтенасыщенной и перфорированной), эффективность проводимых в скважине работ по воздействию на призабойную зону пласта. При наличии измерения забойного давления можно определить коэффициент продуктивности (приемистости) каждого интервала или в случае исследований при нескольких режимах работы скважины — построить для них индикаторные линии.
Термодинамические исследования скважин позволяют изучать распределение температуры в длительно простаивающей (геотерма) и в работающей (термограмма) скважине, по которому можно определять геотермический градиент, выявлять работающие и обводненные интервалы пласта, осуществлять анализ температурных процессов в пласте (при тепловом воздействии, закачке холодной воды) и выработки запасов нефти при заводнении, контролировать техническое состояние скважин и работу подземного скважинного оборудования. Расходо- и термометрия скважин позволяют также определить места нарушения герметичности колонн, перетоки между пластами и др.
Гидродинамические методы исследования скважин и пластов по данным о величинах дебитов жидкостей и газа, о давлениях на забоях или об изменении этих показателей, а также о пластовой температуре во времени позволяют определять параметры пластов и скважин. Определение параметров пластов по данным указанных исследований относится к так называемым обратным задачам гидродинамики, при решении которых по измеряемым величинам на скважинах (дебиты, давления, температура) устанавливаются параметры пластов и скважин (проницаемость, пористость, пъезопроводность пласта, несовершенство скважин и др.).
1.2 Технология исследования скважин
Традиционные методы гидродинамических исследований, такие как методы восстановления давления и установившихся отборов в большинстве случаев неприменимы для исследований малодебитных скважин, вскрывающих низкопроницаемые коллектора Приобского месторождения. Причиной этого является невозможность соблюдения технологий исследований указанными методами, в частности, невозможность создания нескольких пли хотя бы одного устойчивого режима работы добывающей скважины.
Согласно технологии центра «Информпласт» (ВНИИнефть) в течение достаточно длительного промежутка времени (2-З суток и более) производится наблюдение за режимом работы скважины. В процессе работы скважины регистрируется во времени изменение следующих параметров: забойных давления и температуры, буферного и затрубного давлений на устье скважины, а также дебита скважины на замерной установке на поверхности. Измерения на забое скважины производятся дистанционными приборами, что позволяет в процессе временных измерений определять режим работы скважины. Затем, в зависимости от режима работы выбираются методы и технология дальнейших исследований данной скважины.
Большинство скважин на месторождении, эксплуатирующихся фонтанным способом, являются периодически фонтанирующими. В аналогичном режиме работают и многие скважины, оборудованные погружными насосами. В процессе исследований определяются средние значения времени фонтанирования; времени подъема уровня до устья с момента прекращения фонтанирования; забойного давления, при котором начинается фонтани-рование и забойного давления, при котором начинается подъем уровня. Все эти характеристики периодического фонтанирования необходимо знать при обработке регистрируемой впоследствии кривой восстановления давления (КВД). Они необходимы для воссоздания истории работы скважины в последние несколько суток перед закрытием ее на КВД.
Если скважина работает в режиме периодического фонтанирования, то производится оценка участков роста давления после прекращения фонтанирования. Если на этих участках происходит рост уровня в скважине, длина участков достаточно продолжительна (не менее 10-15 часов), амплитуда изменения давления достаточно велика (не менее 15-20 ат) и кривые достаточно гладкие, то эти участки роста давления могут быть использованы для обработки по методу прослеживания уровня.
Если же эти участки роста давления не соответствуют указанным выше условиям, то для исследований скважины методом прослеживания уровня необходимо использовать компрессирование скважины. Бывают случаи, когда по каким-либо причинам невозможно использовать компрессор. Если при этом в скважине имеется высокое затрубное давление порядка 30-40 ат, то снижение уровня в стволе скважины для проведения исследований методом прослеживания уровня можно получить в результате разрядки затрубного пространства в линию.
После завершения исследований методом прослеживания уровня при периодическом фонтанировании проводится исследование методом восстановления давления. При постоянном фонтанировании согласно обычной технологии скважина закрывается на КВД после последнего режима исследований методом "установившихся" отборов. При периодическом фонтанировании скважина закрывается на КВД после подъема уровня до устья скважины, т.е. перед началом ее фонтанирования.
Так как условия, при которых проводятся измерения параметров в скважинах, существенно отличаются от условий работы измерительных приборов общепромышленного назначения, приборы для глубинных измерений следует рассматривать как отдельную группу средств измерительной техники.
Наиболее существенными являются следующие особенности работы глубинных приборов.
1. Измерения проводятся на значительном удалении от места наблюдения за показаниями приборов: глубина спуска прибора в скважину достигает 7000 м.
2. Прибор (снаряд) эксплуатируется в измеряемой, среде и подвергается действию окружающего давления, температуры и коррозионных жидкостей. В связи с увеличением глубин бурения, а также с необходимостью контроля различных процессов по интенсификации добычи нефти и газа, давление окружающей среды может достигать 1000—1500 кг×с/см2 , а температура до 300—400° С.
3. Прибор спускается на проволоке или кабеле в затрубное пространство или в трубы диаметром 37—63 мм.
4. При спуске прибора в скважину через трубы на него действует выталкивающая сила тем большая, чем выше скорость встречного потока жидкости или газа и меньше проходное сечение между внутренней стенкой трубы и корпусом прибора. В отдельных случаях спуск глубинного прибора в действующие скважины представляет сложную техническую задачу.
5. Во время спуска и подъема прибор подвергается ударам, а во время работы, например, в скважине, оборудованной установками погружных электронасосов, и действию вибрационных нагрузок.
6. Время пребывания прибора в месте измерения в зависимости от вида проводимых исследований и способа эксплуатации скважин составляет от нескольких часов до нескольких месяцев.
7. Среда, в которой находится прибор, как правило, представляет собою многофазную жидкость, содержащую нефть, газ, воду и механические включения (песок, шлам и т. д.) с различными физико-химическими свойствами (плотность, вязкость, наличие солей и т. д.).
В соответствии с указанными выше особыми условиями работы к конструкции глубинных приборов предъявляется ряд требований. Вследствие воздействия на них встречного потока жидкости или газа и необходимости спуска в геометрически ограниченное пространство наружный диаметр корпуса приборов в основном не должен превышать 32—36 мм, а при спуске через 37-мм трубы или в затрубное пространство — 20—25 мм. Длина его также ограничена: обычно не превышает 2000 мм, так как увеличение ее сверх этого предела значительно осложняет операции, связанные с подготовкой прибора к спуску в фонтанные скважины. Кроме того, должна быть обеспечена полная герметичность внутренней полости прибора от внешнего давления. Особые требования предъявляются также к устройствам, расположенным в глубинном приборе и эксплуатируемым в условиях повышенной температуры, ударов и вибраций.
По способу получения измерительной информации глубинные приборы делятся на:
а) автономные, результаты измерения которых можно получить только после извлечения их из скважины;
б) дистанционные, обеспечивающие передачу сигнала измерительной информации по кабелю.
Выпускаемые промышленностью автономные (самопишущие) скважинные манометры широко используют для исследования добывающих и нагнетательных скважин, а также для испытаний с помощью трубных испытателей пластов.
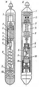
Манометр типа МГН-2 с многовитковой трубчатой пружиной, принципиальная схема которого приведена на рис. 10.2, а, предназначен для измерения давления в добывающих скважинах.Давление в скважине через отверстие в корпусе 9 передается жидкости заполняющей внутреннюю полость разделительного и манометрической трубчатой пружине (геликсу) 8 . Под действием измеряемого давления свободный конец геликса поворачивает ось 7 , на которой жестко крепится пластинчатая пружина с пишущим пером 6 . Перо чертит на бланке, вставленном в каретку 5, линию, длина которой пропорциональна измеренному давлению.

Рис. 10.2 Схема глубинного геликсного манометра типа МГН-2 (МГИ-1М)

Рис. 10.3. Геликсный манометр типа МГТ-1
Для получения непрерывной записи давления каретка соединяется с гайкой 2, которая перемещается поступательно по направляющей 3 при вращении ходового винта 4. Равномерное вращение винта осуществляется с помощью часового привода 1.
Пружинно-поршневой манометр МПМ-4 предназначен для исследования скважин, оборудованных насосами, через затрубное пространство. Действие его основано на уравно-вешивании измеряемого давления силой натяжения винтовой цилиндрической пружины
Под влиянием скважинного давления р поршень6 (рис. 10.4, а), уплотненный резиновым кольцом 7, деформирует винтовую цилиндрическую пружину 5 и перемещается на ход, пропорциональный измеренному давлению.
Перемещение поршня регистрируется пишущим пером 8 на бланке, вставленном в барабан 9.

Рис. 10.4 Схемы манометров с вращающимся поршнем
Внутренняя полость маноблока, где размещена винтовая пружина, заполнена жидкостью и предохраняется от загрязнения разделителем 4 . В конце хода поршень садится на упор во избежание поломки пружины при дальнейшем повышении давления.
Для уменьшения трения в уплотнении поршня ему придается вращательное движение. В манометре МПМ-4 поршень жестко соединен с пишущим пером, а бланк установлен в неподвижном барабане. Вращение осуществляется с помощью электродвигателя 2, питаемого от батареи сухих элементов 1 . Пишущее перо во время движения поршня чертит на диаграммном бланке винтовую линию.
Для получения четкой картины изменения давления частота вращения поршня уменьшается с помощью понижающего редуктора 3 . Такое же медленное вращение поршня можно обеспечить, если вместо электродвигателя с редуктором применить усиленный часовой привод.
Автономные компенсационные манометры типа «Байкал-1» предназначены для измерения и регистрации небольших (до 2,5 МПа) давлений в скважинах.
Действие манометра основано на уравновешивании измеряемого давления натяжением винтовой цилиндрической пружины. В отличие от пружинно-поршневых манометров прямого действия (МПМ-4) трение в записывающем устройстве этого прибора не влияет на его погрешность и чувствительность, так как деформация чувствительного элемента служит только для замыкания электрической цепи питания электродвигателя, который перемещает пишущее перо на ход, пропорциональный измеренному давлению.
Конструктивно манометр «Байкал-1» (рис. 10.5) состоит из преобразователя давления I, регистрирующего устройства II и блока питания III.
В качестве чувствительного элемента использованы сильфоны 16 и 18 разного диаметра, имеющие общее дно 17, которое жестко соединено штоком 15 с винтовой цилиндрической пружиной 13. Второй конец пружины навинчен на якорь 12, выполненный в виде гайки, поступательно перемещающейся по ходовому винту 11, вращаемому с помощью электродвигателя постоянного тока 6. Вал электродвигателя одним концом соединен через понижающий редуктор с промежуточным винтом 9 и далее с основным винтом 11, а вторым концом также через понижающий редуктор — с винтом 5 регистрирующего устройства.

Рис. 10.5 Компенсационный манометр «Байкал-1»

Рис. 10.6. Преобразователь давления дифманометра «Онега-1»
Измеряемое давление через разделитель 19 воздействует на кольцевую площадь сильфона большего диаметра 18, в результате чего он деформируется и перемещает шток 16 с закрепленным на нем плечом пружинного контакта 14. При этом подвижной контакт замыкает электрическую цепь питания электродвигателя, вал которого приводит во вращение ходовые винты преобразователя давления и регистрирующего устройства. При вращении винта 11 гайка 12 деформирует пружину 13 до тех пор, пока ее натяжение не станет равным усилию, действу-ющему на сильфон 18. При равенстве усилий подвижной контакт вернется в нейтральное положение и разомкнет цепь питания электродвигателя. Частота вращения вала электродвига-теля, а следовательно, и деформация пружины будут пропорциональны измеренному давлению.
Одновременно пишущее перо 4 переместится по ходовому винту 5 на расстояние, также пропорциональное частоте вращения вала, а следовательно, измеренному давлению. Таким образом, на бланке, вставленном в барабан 3 часового привода 2, будет прочерчена линия, длина которой характеризует измеренное давление. С понижением давления подвижной контакт отклонится в другую сторону и вновь замкнет цепь электродвигателя, вал которого начнет вращаться в обратную сторону до тех пор, пока усилие, действующее на сильфон, не уравновесится натяжением пружины. В этот момент подвижной контакт снова переместится в нейтральное положение и разомкнет цепь питания электродвигателя.
Для предотвращения прибора от поломки при повышении давления служат микровыключатели 7, которые прерывают цепь питания электродвигателя в крайних положениях ползуна 8, перемещающегося по промежуточному винту 9. Электрическое питание двигателя осуществляется с помощью элементов 1, установленных в блоке питания I, а реверс двигателя - с помощью электронного переключателя 10, смонтированного в блоке электродвигателя.
Комплексные приборы ВРГД-36 и Кобра-36РВ содержат преобразователи расхода и влажности, а также пакетирующее устройство. Преобразователь влагомера, в полости которого смонтирован магнитный прерыватель датчика расхода, выполнен в виде цилиндрического конденсатора.
Емкость конденсатора зависит от его геометрических размеров и диэлектрической проницаемости среды, находящейся между обкладками. Изменение диэлектрической проницаемости среды при постоянных размерах конденсатора вызывает изменение его емкости, что позволяет определять фазовое соотношение в потоке воды и нефти по известным диэлектрическим постоянным отдельно воды и нефти.
Нижний конец преобразователя влагомера используется в качестве верхней опоры оси турбинки, на которой укреплены магниты, взаимодействующие с магнитным прерывателем тока. Последовательное расположение турбинки и проточного конденсатора способствует образованию части конденсата мелкодисперсной смеси, проходящей за счет турбулизирующего эффекта вращения турбинки.
Эти приборы снабжены пакером с электромеханическим приводом, конструкция которого унифицирована с пакерующим устройством расходомера РГД-2М или Кобра-36РВ. Выходной сигнал, передаваемый на поверхность по одножильному кабелю, несет двойную информацию: о содержании воды в нефти и частоте вращения турбинки.
Частотный сигнал, модулированный по амплитуде, по кабелю поступает на вход наземного блока, где происходит его усиление и разделение на два канала.
В первом канале происходит выделение несущей частоты, характеризующей влажность потока жидкости, во втором — модулирующей частоты, характеризующей частоту вращения турбинки
Комплексный прибор «Поток-5» предназначен для измерения четырех величин: давления, температуры, расхода и влажности жидкости. Этот прибор (рис. 11.3), опускаемый в скважину на одножильном кабеле 1, состоит из преобразователей указанных величин и пакера с электромеханическим приводом. Локатор сплош-ности, в который входят трансформаторы 2, включенные совместно, и электронный блок, обеспечивает точную привязку данных к разрезу скважины. Датчик давления состоит из геликсной пружины 8 и индуктивного преобразователя. Свободный конец геликса соединен с ферритовым полукольцом, входящим в катушку 4. С повышением или понижением давления в скважине ферритовый сердечник перемещается внутри катушки, изменяя ее индуктивность. В качестве преобразователей температуры использованы полупроводниковые элементы 6. Изменение сопротивления этих элементов, пропорциональное уменьшению или увеличению температуры окружающей среды, преобразуется в частоту. Расход измеряют с помощью датчика с заторможенной турбинкой 9. Поток жидкости, воздействуя на турбинку, вызывает закручивание струн на определенный угол, что приводит к перемещению ферритового полукольца 8 внутри катушки и изменению ее индуктивности. Содержание воды в нефти определяется с помощью емкостного датчика 10.
Катушки индуктивности датчиков давления и расхода входят в состав колебательных контуров LC-генераторов. Поэтому при изменении индуктивности изменяется частота выходного сигнала. Преобразование индуктивности в частоту происходит в электронных блоках 5 и 7. Датчики подключаются к наземной аппаратуре последовательно посредством вызова сигнала или автоматически через 10-12 с. При подключении по вызову время измерения неограниченно. В автоматическом режиме работы время измерения составляет 2-3 с.
Пакерующее устройство состоит из пакера, образованного металлическими пластинами 12, пары винт—гайка 15 и электродвигателя 17. Пластины пакера, образующие каркас, закреплены во втулках в два ряда. Нижняя подвижная втулка 14 соединена с гайкой, перемещающейся по ходовому винту 13, который через редуктор 16 соединен с валом электродвигателя. При открытии пакера по сигналу с поверхности гайка вначале совершает движение по винтовой линии, перемещаясь по пазу со скосом.

Пластины 12 каркаса изгибаются и прижимают надетую на них оболочку к стенкам скважины. В конце хода гайка перемещается поступательно по пазу, параллельному осевой линии, в результате чего усиливается прижатие пластин к стенкам скважины. При движении гайки по винтовой линии пластины каркаса, закрепленные шарнирно на втулке 14, поворачиваются под углом к образующей. Закрытие пакера происходит в обратном порядке. Диаметр корпуса прибора составляет 40 мм при длине 2800 мм. Предел измерения давления 25 МПа, погрешность ±1,5%. Диапазоны измеряемых расходов могут быть 1—60 или 2—150 т/сут. Предел измерения температуры -100 ° С с погрешностью ±1,5%. Масса глубинного прибора не более 15 кг.
1.3 Приборы и оборудование для исследования
При измерениях в скважинах глубиной свыше 1500 м применяют только механизированные глубинные лебедки. Для спуска приборов в скважины (с избыточным давлением на устье) на фонтанной арматуре должен быть установлен лубрикатор 1 (рис. 9.1), представляющий собой полый цилиндр и имеющий в верхнем торце сальник для прохода проволоки или кабеля, манометр 2 и кран 4 для сообщения лубрикатора с атмосферой. К корпусу крепится направляющий и оттяжные ролики 3 для прохода проволоки или кабеля 5.
Рис. 9.1. Оборудование фонтанной скважины для глубинных измерений.
Установка с лебедкой располагается примерно в 25—40 м от устья. Установку ставят таким образом, чтобы вал барабана лебедей был перпендикулярен направлению движения проволоки от скважины до середины барабана.
Для подготовки глубинного прибора 6 к спуску конец проволоки от лебедки 7 пропускают через сальник лубрикатора, вывинтив его предварительно из корпуса.
Закрепив конец проволоки в подвесной части прибора, его помещают в корпус лубрикатора и
завинчивают сальник. Сальник затягивают так, чтобы надежно уплотнить проволоку, но при этом обеспечить возможность движения ее через сальник.
Лебедка Азинмаш-8 (Азинмаш-8А и Азинмаш-8Б) монтируется на автомашине ГАЗ-66.
Она предназначена для спуска и подъема в скважину измерительных приборов на глубину до 6000 м (глу- бинные манометры, термометры), а также для измерения глубины скважин и уровня жидкости в них. Привод ее осуществляется от коробки передач автомашины через карданный вал и узел цепной передачи. Для ручного подъема приборов предназначена рукоятка, смонтированная на барабане лебедки.
Техническая характеристика лебедки:
Диаметр бочки барабана, мм165
Длина бочки барабана, мм200
Диаметр проволоки, мм1,6-1,8
Габаритные размеры, мм:
длина1195
ширина895
высота892
Габаритные размеры агрегата, м:
длина6,1
ширина2,1
высота2,8
Масса, кг:
агрегата4320
лебедки (без проволоки)323
Для точного отсчета глубины спуска прибора лебедка оборудована мерительным аппаратом: мерного шкива с двумя нажимными роликами, предупреждающими проскальзывание проволоки, и счетчика, связанного с мерным шкивом одной парой передаточных шестерен.
Мерительный аппарат позволяет определить глубину положения прибора с точностью до 0,1 м. Лебедка управляется рычагами.
2. Расчетно-практический раздел
2.1 Построение индикаторных диаграмм
По результатам исследований строят графики зависимости дебита скважины от забойного давления Рзаб или от депрессии (Рпл -Рзаб ), называемые индикаторными диаграммами (ИД).
Индикаторные диаграммы (ИД) добывающих скважин располагаются ниже оси абсцисс, а водонагнетательных - выше этой оси.
Обе индикаторные диаграммы (Q = f(Рзаб ) и Q = f(DR)) строят в тех случаях, когда скважины эксплуатируются при сравнительно больших депрессиях (более 0,5…1,0 МПа). Ошибки измерений при этом обычно не приводят к большому разбросу точек при построении ИД в координатах Q = f(Рзаб ) (тем более для Q = f(DR)).
При малых депрессиях (порядка 0,2…0,3 МПа) разброс точек может быть настолько большим, что индикаторную диаграмму в координатах Q = f(Рзаб ) построить не удается. В этих случаях на каждом режиме следует измерять и Рзаб , и Рпл , а индикаторную диаграмму строить в координатах Q = f(DR). Депрессия, определяемая на каждом режиме, имеет меньшую относительную ошибку, чем Рзаб , т.к. при измерениях за один спуск прибора абсолютные ошибки Рпл и Рзаб примерно одинаковы и поэтому на разность DR=Рпл -Рзаб почти не влияют. Либо используют не глубинные манометры, а глубинные дифференциальные манометры.
Если процесс фильтрации жидкости в пласте подчиняется линейному закону, т. е. индикаторная линия имеет вид прямой, зависимость дебита гидродинамически совершенной скважины от депрессии на забое описывается формулой Дюпюи
(5.8)
где Q — объемный дебит скважины в пластовых условиях; Рпл — среднее давление на круговом контуре радиуса Rк .

Рис. 5.2. Индикаторная диаграмма Q=f(Рзаб )
Считается, что давление на забое через некоторое время после остановки скважины становится примерно равным среднему пластовому давлению, установившемуся на круговом контуре с радиусом, равным половине среднего расстояния между исследуемой скважиной и соседними, ее окружающими.
Индикаторная диаграмма Q=f(Рзаб ) предназначена для оценки величины пластового давления, которое можно определить путем продолжения индикаторной линии до пересечения с осью ординат (Рис. 5.2). Это соответствует нулевому дебиту, т. е. скважина не работает и Рзаб ® Рпл =Рк.

Индикаторная диаграмма Q=f(DR) строит-ся для определения коэффициента продуктивности скважин К.
(5.9)
В пределах справедливости линейного зако-на фильтрации жидкости, т. е. при линейной зависимости Q=f(DR),коэффициент продуктивности является величиной постоянной иРис. 5.3 Индикаторная диаграмма Q = f(DR)
численно равен тангенсу угла наклона индикаторной линии к оси дебитов (оси абсцисс). По коэффициенту продуктивности скважин, определенному методом установившихся отборов, можно вычислить также другие параметры пласта.
(5.10)
Откуда коэффициент гидропроводности
(5.11)
И проницаемость пласта в призабойной зоне
(5.12)
Приведенные выше формулы справедливы для случая исследования гидродинамически совершенной скважины (вскрывшей пласт на всю его толщину и имеющей открыты забой) и измеряемые величны (дебит, динамическая вязкость и др.) приведены к пластовым условиям.
Реальные индикаторные диаграммы не всегда получаются прямолинейными (Рис 5.4). Искривление индикаторной диаграммы характеризует характер фильтрации жидкости в призабойной зоне пласта.
Рис. 5.4. Индикаторные кривые при фильтрации по пласту однофазной жидкости: 1 – установившаяся фильтрация по линейному закону Дарси; 2- неустановившаяся фильтрация или фильтрация с нарушением линейного закона Дарси при больших Q ; 3 - нелинейный закон фильтрации.
Искривление индикаторной линии в сторону оси DP (рис. 5.4, кривая 2) означает увеличение фильтрационных сопротивлений по сравнению со случаем фильтрации по закону Дарси. Это объясняется тремя причинами:
1. Превышение скорости фильтрации в ПЗП критических скоростей при котрых линейный закон Дарси нарушается (V>Vкр )
2. Образованием вокруг скважины области двухфазной (нефть+газ) фильтрации при Рзаб <Рнас. Чем меньше Рзаб , тем больше радиус этой области.
3. Изменения проницаемости и раскрытости микротрещин в породе при изменении внутрипластового давления вследствие изменения Рзаб.
Искривление ИД в сторону оси Q (рис. 5.4, кривая 3) объясняется двумя причинами:
1) некачественные измерения при проведении исследований;
2)неодновременным вступлением в работу отдельных прослоев или пропластков.
Продуктивные пласты, как правило, неоднородны. Глубинные дебитограммы для них:

Площадь заштрихованного прямоугольника прямо пропорциональна дебиту каждого пропластка. С уменьшением Рзаб (т.е. с ростом DP=Рпл -Рзаб ) растет работающая толщина пласта (hэф. ), откуда по формуле Дюпюи растет Q (рис 5.4, кривая 3). Ошибка в определении пластового давления может привести к искривлению начального участка индикаторной диаграммы, построенной в координатах Q=f(DR).

Рис. 5.5. Индикаторная диаграмма: 2 - замеренное пластовое давление соответствует фактическому; 1, 3 - замеренное пластовое давление соответственно завышено и занижено против фактического.
Очевидно, если замеренное пластовое давление окажется выше фактического, то построенная индикаторная диаграмма (рис. 5.5, кривая 1) будет располагаться ниже фактической. При этом фактические точки будут располагаться параллельно, но выше построенных по замеренным значениям. Экстраполяция в начало координат создает видимость искривления индикаторной кривой к оси депрессии.
Если замеренное пластовое давление окажется ниже фактического, то индикаторная диаграмма в своем начальном участке при экстраполяции его в начало координат может стать выпуклой к оси дебитов (рис. 5.5, кривая 3 ). Это может привести исследователя к выводу, что вся кривая имеет выпуклый к оси дебитов вид. Для случая искривления индикаторной линии в сторону оси депрессий (Рис. 5.6, а) при нарушении линейного закона фильтрации скорость фильтрации вблизи перфорационных отверстий становится настолько большой, что числа Рейнольдса превышают критические. Уравнение индикаторной линии записывают в виде:
, (5.15)
а саму индикаторную диаграмму индикаторную линию для ее спрямления изображают в координатах
![]()
(5.16)
где а и b – постоянные численные коэффициенты.
Получим индикаторную прямую в координатах Δр/Q=f(Q) отсекающую на оси ординат отрезок, равный а , с тангенсом угла наклона к оси Q , равным b (рис. 5.6, б). В этом случае коэффициент продуктивности К является величиной переменной, зависящей от дебита скважины.

Рис. 5.6 Индикаторная диаграмма при нелинейном законе фильтрации: а - ИД в координатах Δр - Q; б - ИД в координатах Δр /Q - Q.
Отрезок а , отсекаемый на оси ординат может быть выражен как
, (5.17)
где
, (с1
и с2
– фильтрационные сопротивления, обусловленные несовершенст-вом скважины по степени и характеру вскрытия).
По отрезку а , отсекаемому на оси Δр/Q , находятся гидропроводность и проницаемость пласта
;(5.18)
(5.19)
Коэффициент b зависит от конструкции забоя скважины.
2.2 Расчет параметров призабойной зоны и коэффициента продуктивности
Скважина эксплуатирует пласт толщиной 8,2 м. Результаты исследования ее приводятся в таблице. Давление насыщения нефти газом равно 140·105 Па, следовательно скважина эксплуатировалась при фильтрации по пласту двухфазного потока (нефть и газ).
Для определения параметров пласта можно использовать следующие величины:
R k =200 м, rc = 0,124 м; при перфорации для 10 отверстий на 1 м c1 = c = 10.
Свойства нефти и газа при р
нас
:
= 1,5 мПа·с;
= 0,016 мПа·с,
=1,25 и
= 0,85 г/см3
.
Таблица 1Результаты исследования скважины при установившихся режимах работы
Режим |
Q ж , т/сут |
Q н , т/сут |
Газовый фактор |
Давление, Па |
||
мз /т |
м3 /м3 | р пл |
р заб |
|||
1 2 3 4 |
20,0 26,0 32,0 38,1 |
17,1 21,9 28,7 32,1 |
901 753 663 664 |
766 640 564 565 |
81 · 105 81 · 105 81 ·105 81 ·105 |
71,5 · 105 69,0 ·105 65,8 · 105 60,7 · 105 |
Значения произведения
при средних значениях давлений (между пластовым и забойным)на режимах приводятся в табл. 2.
Таблица 2 Значения
при различных режимах работы скважины
| Наименование | Режим | ||||||||
| 1 | 2 | 3 | 4 | ||||||
Средние давления Произведение |
76,2·105 2,29 |
75,0·105 2,31 |
73,4·105 2,32 |
70,8·105 2,34 |
|||||
В рассматриваемом случае
![]()
Следовательно, для расчетов
Н
необходимо использовать первые зависимости Н (р)
табл. 5.2 для
= 0,005. Из вспомогательного графика на рис. 6.3 вытекает, что все точки в координатах Г(р)
располагаются в области р*<
15. Поэтому расчеты надо проводить по формуле (5.39) при а
== 0,375.
По данным табл. 6.3, исходя из граф 9 и 5, строится индикаторная кривая по скважине в координатах Q
ж
,
(рис. 6.4).

Рис. 6.4. Индикаторная кривая по скважине, построенная в координатах Q
ж
,
.
По прямолинейному участку кривой определен коэффициент
м3
/(с·Па).
Проницаемость призабойной зоны пласта рассчитывается по формуле (5.42)
м2
= 0,603 Д.
Гидродинамические исследования скважин направлены на решение следующих задач:
• измерение дебитов (приемистости) скважин и определение природы флюидов и их физических свойств;
• измерение и регистрация во времени забойных и пластовых давлений, температур, скоростей потоков и плотности флюидов с помощью глубинных приборов (датчиков) и комплексов;
• определение (оценка) МПФС и параметров пластов -гидропроводности в призабойной и удаленных зонах пласта, скин-фактора, коэффициентов продуктивности (фильтрационных сопротивлений) скважин; пространственного распределения коллекторов, типа пласта коллектора (его деформационных свойств), положения экранов, сбросов и границ (зон пласта), взаимодействия скважин; распределения давления в пласте, типов фильтрационных потоков и законов фильтрации в пласте и других параметров - по результатам обработки и интерпретации данных измерений и регистрации давлений и дебитов различными типами и видами ГДИС,
• оценка полученных результатов, т.е. проверка на адекватной МПФС, и исходных замеренных данных.
Список литературы
1. Балакирев Ю.А. Гидропрослушивание и термографирование нефтяных скважин и пластов. Баку: Азернешр. 1965. - 200 с.
2. Баренблатт Г.И. О некоторых приближенных методах в теории одномерной неустановившейся фильтрации жидкости при упругом режиме. Изв. АН СССР. 1954. №9. С. 35-49.
3. Баренблатт Г.И., Ентов В.М., Рыжик В.М. Теория нестационарной фильтрации жидкости и газа.- М.: Недра, 1972. -88 с.
4. Баренблатт Г.И., Ентов В.М., Рыжик В.М. - Движение жидкостей и газов в неоднородных пластах. - М.: Недра, 1984. - 211с.
5. Басниев К.С., Цибульский П.Г. Обратная задача теории фильтрации многокомпонентных систем. Нефть и газ. 1980. № 4. С. 55-60.
6. Басниев К.С., Кочина И.Н., Максимов В.М. Подземная гидромеханика: Учебник для вузов. - М.: Недра, 1993. 416 с.
7. Басович И.Б., Капцанов Б.С. Выбор фильтрационных моделей по данным гидродинамических исследований скважин. - Нефт. хоз-во. 1980. № 3. С. 44-47.
8. Бойко В.С. Разработка и эксплуатация нефтяных месторождений. Учеб. для вузов.– М.: Недра, 1990. – 427 с.
Похожие рефераты:
Гидродинамические методы исследования скважин на Приобском месторождении
Гидродинамические методы исследования скважин на Приразломном месторождении
Гидродинамические исследования скважин Ямсовейского газоконденсатного месторождения
Эксплуатационные скважины для освоения месторождений Западной Сибири
Ремонт и обслуживание скважин и оборудования для бурения
Бурение и оборудование скважин при подземном выщелачивании полезных ископаемых
Южно-Ягунское нефтяное месторождение
Проектирование техологии бурения наклонно-направленной скважины глубиной 1773 м
Мероприятия по интенсификации добычи нефти на Мишкинском нефтяном месторождении
Проектное решение по разработке месторождения
Геологическое строение Самотлорского месторождения
Анализ режима работы скважин оборудованных УЭЦН на примере ОАО "Сибнефть"
Отчет о практике специальности Разработка и эксплуатация нефтегазовых месторождений
Проект бурения нефтяной скважины
Состав коллекторов пласта месторождения. Типы коллекторов нефти и газа