| Похожие рефераты | Скачать .docx |
Дипломная работа: Разработка технологии восстановления гильз цилиндров ДВС
Введение
О надежности и долговечности машины судят обычно по стабильности рабочих характеристик, заложенных в ней при изготовлении. В условиях эксплуатации стабильность рабочих характеристик двигателя может нарушаться вследствие многих причин, вызывающих неисправности его механизмов и систем. Неисправности могут возникнуть в результате нарушения регулировок, устранимых в процессе эксплуатации, или вследствие естественного износа деталей сопряжений, не устранимого простой регулировкой.
Долговечность, как правило, определяется естественным износом сопрягаемых деталей, в основном износостойкостью таких сопряжений, как гильза цилиндра – поршень, поршневое кольцо – канавка поршня, поршневой палец – бабышка поршня, поршневой палец – втулка шатуна, шейки коленчатого вала – подшипники, клапан – гнездо клапана в головке цилиндров.
Поддержание коэффициента технической готовности на высоком уровне в значительной мере определяется степенью удовлетворения их потребностей в запасных частях.
Обеспечение потребностей предприятий по эксплуатации и ремонту техники в запасных частях осуществляется за счет изготовления и восстановления деталей. В этих условиях большое внимание должно уделяться экономному использованию материальных средств, развитию работ по восстановлению деталей. При этом в 5 – 8 раз сокращается объем технологических операций по сравнению с изготовлением новых одноименных изделий. Стоимость восстановления, как правило, на 30 – 50% ниже затрат на производство новых аналогичных изделий.
На различных типах предприятий разработаны и усовершенствованы технологические процессы и оборудование, которые позволяют восстанавливать многие детали автомобилей прогрессивными методами, обеспечивающими их послеремонтные ресурсы на уровне, близком к доремонтным.
Научно-исследовательские и учебные институты проводят различные исследования в области совершенствования организации ремонта и восстановления деталей.
Соединение гильза цилиндра – поршень является одним из соединений, подвергающихся наибольшему износу в двигателях внутреннего сгорания. Поэтому разработка технологии ремонта гильз является важной задачей для улучшения качества ремонта двигателей.
1. Особенности конструкции гильз цилиндров
Блок цилиндров или блок-картер является остовом двигателя. На нем и внутри него расположены основные механизмы и детали систем двигателя. Блок цилиндров – это сложная отливка коробчатой формы. Он может быть отлит из легированного серого чугуна (двигатели автомобилей ЗИЛ-130, МАЗ-5335, КамАЗ-5320) или из алюминиевого сплава (двигатели автомобилей ГАЗ-53А, ГАЗ-24 «Волга», ГАЗ-3102 «Волга», ГАЗ-53–12 и др.). После литья блок цилиндров подвергают искусственному старению, что уменьшает его коробление в процессе эксплуатации и обеспечивает сохранность правильной геометрической формы.
Поверхность блока цилиндров используется в качестве рабочей только в некоторых автомобильных и тракторных двигателях с небольшим диаметром цилиндра. У большинства современных двигателей жидкостного охлаждения цилиндр, где перемещается поршень, выполняется в виде мокрой гильзы, омываемой снаружи охлаждающей жидкостью, либо в виде сухой гильзы, устанавливаемой по всей длине цилиндра или в верхней его части, где наблюдается максимальный износ (рис. 1.1).




а) б) в) г)
Рис. 1.1. Гильзы блока цилиндров
а, б- мокрые; в, г – сухие
Гильза занимает среди теплонапряженных деталей двигателя особое место как по выполняемым функциям, так и по предъявляемым к ней требованиям. Обеспечение только одной прочности гильзы, несмотря
на всю важность этого требования, недостаточно для длительной и надежной работы двигателя. [3]
Сухие гильзы толщиной 2–4 мм (рис. 1.1, в, г) запрессовывают или устанавливают с зазором 0,01–0,04 мм. Небольшая толщина сухих гильз обусловливает при их применении экономию качественных материалов, однако повышенное термическое сопротивление контактной поверхности между гильзой и блоком ухудшает теплоотвод от цилиндра в охлаждающую жидкость. Вследствие этого в форсированных двигателях, как правило, применяют мокрые гильзы-втулки, обеспечивающие лучшую теплопередачу и легко заменяемые в случае повреждения. Кроме того, при их использовании упрощается литье блока цилиндров. Однако жесткость блока уменьшается, появляется дополнительная возможность для развития кавитационных явлений в полости охлаждения в результате повышенных вибраций мокрых гильз.
В зависимости от способа установки в блоке цилиндров можно выделить гильзы, опирающиеся буртом на верхнюю плиту блока, и так называемые подвесные, когда гильза, соединенная с крышкой цилиндра относительно тонкими шпильками, образует с последней узел, закрепляемый в корпусе основными силовыми шпильками.
Первый вид гильз наиболее распространен и применяется в двигателях всех типов. Конструкция гильзы должна обеспечить, с одной стороны, невысокий уровень напряжений от монтажных усилий и газовой нагрузки, а с другой – умеренный уровень температур и температурных напряжений.
В автомобильных и тракторных дизелях применяют мокрые гильзы, отливаемые из чугуна, с верхним опорным фланцем (см. рис. 1.1, а, б и рис. 1.2). Опорная площадь фланца, ограниченная диаметрами D 1 и D 2 , составляет 8–15% площади поршня. При этом давление от сил затяжки шпилек, крепящих головку цилиндра к блоку, на кольцевой поверхности ( Dt – D 2 ) не должно превышать 380–420 МПа для чугунных и 140–180 МПа для алюминиевых блоков. С увеличением разности D 2 – D 1 повышается напряжение изгиба в верхнем поясе. Высота h фланца составляет 7–10% диаметра цилиндра D .


а) б) в)
Рис. 1.2. Способы опирания гильзы цилиндра в блоке:
а – верхним опорным поясом; б, в- нижним опорным поясом
Для повышения герметичности газового стыка на фланце втулки выполняют кольцевой буртик шириной 2–5 мм, выступающий над плоскостью блока на величину S, достигающую 0,15 мм и зависящую от типа уплотняющей прокладки и диаметра цилиндра. Основное усилие приходится на зону выступающего буртика, где контактное давление достигает 145–200 МПа и часто неравномерно распределено по окружности. В результате этого искажается форма рабочей поверхности цилиндра и снижается работоспособность цилиндро-поршневой группы, увеличивается расход масла. [1]
В некоторых карбюраторных двигателях, где меньше усилия, действующие на втулку, ее опорный фланец иногда значительно смещают от верхней плоскости блока (рис. 1.2, б, в ). При этом уменьшается температура верхней части втулки и соответственно поршневых колец.
Внутреннюю поверхность цилиндра, внутри которой перемещается поршень, называют зеркалом цилиндра. Эту поверхность подвергают закалке с нагревом токами высокой частоты для повышения износостойкости и долговечности и тщательно обрабатывают для уменьшения трения при движении в цилиндре поршня с кольцами. Гильзы в блок цилиндров устанавливают так, чтобы охлаждающая жидкость не проникала в них и в поддон, а газы не прорывались из цилиндра. Предусмотрена возможность изменения длины гильз в зависимости от температуры двигателя. Для фиксации вертикального положения гильзы имеют специальный бурт для упора в блок цилиндров и установочные пояса. Мокрые гильзы в нижней части уплотняют резиновыми кольцами, размещаемыми в канавках блока цилиндров (двигатели автомобиля КамАЗ-5320), в канавках гильз (двигатели автомобилей МАЗ-5335, ЗИЛ-130 и др.), или медными кольцевыми прокладками, устанавливаемыми между блоком и опорной поверхностью нижнего пояса гильзы (рис. 1.1, г ). Для правильной установки в блоке и сохранения формы при работе гильзу центрируют по двум направляющим поясам, при этом диаметр верхнего пояса несколько больше, чем нижнего, в котором для обеспечения удлинения гильзы при работе предусматривается зазор 0,05–0,13 мм по свободной посадке. Верхний торец гильзы выступает над плоскостью блока цилиндров на 0,02 – 0,15 мм, что способствует лучшему обжатию прокладки головки блока и надежному уплотнению гильзы, блока и головки блока. [3]
Интенсивность кавитации, приводящей к разрушению цилиндров, снижают при помощи ряда мероприятий: уменьшают зазоры между поршнем и втулкой; специально профилируют юбку поршня; используют замкнутую систему охлаждения; повышают стойкость поверхностей путем их химико-термической обработки; увеличивают проходные сечения охлаждающей полости, а также используют эмульсионные присадки, и, наконец, повышают жесткость гильзы и закрепляют ее более прочно. Повышение жесткости достигается применением упрочняющих ребер на наружной поверхности гильзы, так как при увеличении толщины ее стенки повышается тепловая напряженность.
Распространенная продольно-диагональная схема (рис. 1.3, а ) обтекания имеет ряд недостатков, выражающихся в снижении интенсивности теплоотдачи в верхней наиболее нагретой части гильзы, большой неравномерности температурного поля гильзы и опасности возникновения объемного кипения в застойных зонах.


а) б)
Рис. 1.3. Схемы охлаждения гильз блока цилиндров:
а – продольно-диагональная; б – с поперечным обтеканием
На рис. 1.3, б представлена исследованная в НАТИ схема с верхним подводом охлаждающей жидкости и поперечным обтеканием.
Основное отличие этой схемы заключается в наличии кольцевой щели с радиальной шириной (0,03–0,04) D , которая является верхней частью полости охлаждения. Данная схема обеспечивает допустимый уровень температур во втулке (150–160 °С) при форсировании дизелей до 22,5 кВт/л, а также более равномерное распределение температур по длине и периметру гильзы.
Для гильз используют серые чугуны, например СЧ 30, СЧ 35, легированные хромом, никелем, молибденом, которые имеют перлитную структуру с достаточным количеством графита в виде пересекающихся пластин. Легирование чугуна повышает его прочностные свойства, износостойкость и жаростойкость. Применение пористого хромирования позволяет получить значительную поверхностную твердость и уменьшить износ чугунных гильз (в 2,5–4,5 раза в зависимости от вида топлива). [2]
Двигатели, имеющие цилиндры, изготовленные в виде сменных мокрых гильз (двигатели автомобилей ГАЗ-53А, ГАЗ-55–12, ЗИЛ-130, МАЗ-5335, КамАЗ-5320 и др.), проще ремонтировать и эксплуатировать. Блок цилиндров, отлитый вместе с цилиндрами, сложнее ремонтировать, так как если вышел из строя хотя бы один цилиндр (например, в результате задира зеркала цилиндра), то нужно растачивать и шлифовать все цилиндры.
Материал гильз должен обеспечивать наряду с износостойкостью высокую плотность, определяемую гидравлическим испытанием гильз при давлении воды, превосходящим рабочее давление газов. В форсированных двигателях применяют гильзы из легированных высокопрочных чугунов с азотированной поверхностью, имеющие повышенные прочностные характеристики. В этом случае особое внимание обращают на улучшение антифрикционных свойств рабочих поверхностей поршней и колец.
В форсированных высокооборотных двигателях для изготовления гильз применяют сталь типа 45Х, а также азотируемые стали типа 38ХМЮА, обусловливающие получение легкой тонкостенной конструкции [3].
Изображения гильз различных марок, а также в каких двигателях применяются те или иные гильзы можно посмотреть в приложении 1.
2. Основные дефекты и причины возникновения
2.1 Износ внутренней поверхности цилиндров
Во время работы двигателя в верхней части цилиндров сгорает рабочая смесь. Горение сопровождается выделением продуктов окисления – окиси углерода и азота, углекислого газа, сернистого газа, паров воды и других веществ.
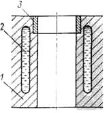
При работе двигателя с пониженными температурами (50 – 60 °С) охлаждающей жидкости и масла часть продуктов окисления и особенно пары воды конденсируются на стенках цилиндров. Они растворяют продукты окисления (двуокиси) и образуют кислоты, вызывающие коррозию цилиндров. Кроме того, разрушается масляная пленка и увеличивается износ цилиндров и поршневых колец. Для повышения износостойкости цилиндров в некоторых двигателях применяют вставки 3 (рис. 2.1), изготовленные из коррозионно-стойкого чугуна. Их запрессовывают в блок цилиндров (двигатели автомобилей ГАЗ-52–04, ЗИЛ-157КД) или в гильзу цилиндра (двигатели автомобилей ГАЗ-24 «Волга» и ЗИЛ-130). Использование таких вставок (например, в двигателе автомобиля ГАЗ-53А) повышает стоимость и усложняет технологию изготовления двигателя.

Рис. 2.1. Вставка в блоке цилиндров:
1 – блок цилиндров; 2 – водяная рубашка; 3 – вставка
На двигателях автомобилей ГАЗ-3102 «Волга» и ГАЗ-53–12 гильзы цилиндров отливают монолитными из высокопрочного чугуна без вставки и крепят по верхнему бурту.
Во время работы двигателя зеркало цилиндров, кроме указанной выше коррозии, подвергается также абразивному и механическому изнашиванию вследствие проникновения в двигатель пыли. Много пыли попадает в цилиндры с воздухом через впускной трубопровод, если имеются неплотности в месте его крепления, или с топливом и маслом при их небрежном хранении.
Пыль, попавшая в масло, образует своеобразную притирочную пасту, вызывающую изнашивание поршневых колец, цилиндра, поршня и других деталей. Для уменьшения абразивного износа необходимы хорошая герметизация воздухоочистителя (воздушного фильтра) и впускного коллектора: заправка двигателя чистым маслом и работа его на чистом топливе; заливка в баки дизелей топлива, которое отстаивалось не менее 48 ч, и своевременная замена (или очистка) фильтров систем питания и смазочной.
Механическое изнашивание зеркала цилиндра больше в верхней части, чем в нижней, так как в первой значительно выше давление. Когда в конце такта сжатия в цилиндре сгорает рабочая смесь, то резко повышается давление образовавшихся горячих газов, и первое компрессионное кольцо сильно прижимается к зеркалу цилиндра. В ВМТ скорость поршня снижается до нуля, масляная пленка выгорает, и первое поршневое кольцо вступает непосредственно в контакт с зеркалом цилиндра. При движении поршня вниз (в первый момент) происходит интенсивное изнашивание зеркала цилиндра и поршневого кольца. Для снижения износа цилиндров не следует допускать перегрева двигателя, нарушения момента начала подачи топлива (дизели) и применять для смазывания двигателя масла, не рекомендуемые заводской инструкцией. Абразивное и механическое изнашивание деталей происходит не только в механизмах двигателя, но и в различных механизмах автомобиля.
Кроме износа по длине также наблюдается износ в направлении, перпендикулярном оси коленчатого вала, т.е. овализация гильз. Овализация гильз цилиндров вызывается как неравномерностью изнашивания, так и остаточными деформациями, возникающими от сил давления газов и бокового усилия поршня. Наибольшая овальность гильзы происходит в верхнем поясе в зоне расположения верхнего поршневого кольца при положении поршня в верхней мертвой точке.
Долговечность гильзы цилиндра зависит от качества ремонта и технической культуры эксплуатации двигателя. В процессе ремонта очень важно правильно произвести установку гильзы и сборку всего кривошипно-шатунного механизма, обеспечив при этом точное выполнение технических условий на сборку двигателя. Всякое отклонение от этих условий вызывает деформацию гильзы и перекос поршней, что приводит к повышенному износу гильзы цилиндра. При эксплуатации двигателя срок службы гильзы находится в прямой зависимости от качества смазки, ухода за воздухоочистителем, а также от выполнения правил запуска и прогрева холодного двигателя.
2.2 Кавитационное изнашивание
В дизелях наблюдаются случаи вибрации гильз цилиндров. Она возникает при переходе поршня двигателя через ВМТ, т.е. при перемещении («перекладке») его от одной стороны цилиндра к другой. Между поршнем и зеркалом цилиндра есть зазор, и перемещение поршня происходит с ударом. При этом изменяется давление на стенки цилиндра. Вибрация цилиндра вызывает его кавитационное изнашивание.
В переводе с латинского языка слово «кавитация» означает пустота. В потоке охлаждающей жидкости при вибрации гильз цилиндров образуются пузырьки воздуха (пустоты), которые под действием высокого давления разрушаются (замыкаются) с выделением большой энергии. Внешняя поверхность гильзы цилиндра, а также часть блока цилиндров, где замыкаются кавитационные пузырьки системы охлаждения, подвергаются разрушению. Для предотвращения кавитационного разрушения в гильзах двигателей (например, ЯМЗ-236 и ЯМЗ-238) протачивают специальную канавку, в которую вставляют антикавитационное кольцо прямоугольного сечения (рис. 2.2).
1
2
3
Рис. 2.2. Схема цилиндра с антикавитационным кольцом:
1 – гильза цилиндров; 2 – уплотнительные кольца (резиновые или медные, устанавливаемые под бурт); 3 – антикавитаиионное кольцо
Оно расположено между гильзой и отверстием в блоке цилиндров, и, кроме того, через него нижний пояс гильзы опирается на кромку отверстия блока. В сборе с гильзой кольцо устанавливают в блок с натягом, что значительно уменьшает амплитуду колебаний гильзы цилиндра, а следовательно, и кавитационные разрушения ее и блока. Избежать кавитационного разрушения можно уменьшением вибрации гильз цилиндров, поддержанием нормального температурного режима двигателя и т.д. [2]
В карбюраторных двигателях кавитационное разрушение гильз цилиндров почти не встречается. Эти двигатели работают, как правило, с малыми степенями сжатия, а следовательно, давление на поршень в конце сгорания рабочей смеси в них значительно меньше, чем в дизеле. Зазор между поршнем и гильзой цилиндра в карбюраторном двигателе также меньше, и при работе он уменьшается. Поэтому при перекладке поршня в ВМТ не происходит сильного удара и значительной вибрации гильзы. [1]
2.3 Излом бурта гильзы
В блоке цилиндров двигателя имеется округлое гладкое углубление, так называемое седло буртика. Оно аксиально фиксирует гильзу в блоке. Буртик должен сидеть точно в углублении таким образом, чтобы гильза полностью прилегала по всему периметру седла. Затем в блоке цилиндров устанавливается прокладка головки блока цилиндров. Уплотнение камеры сгорания (в прокладках старших поколений металлическая окантовка, в более современных металлических прокладках – профиль) должно при этом прилегать точно к верхней стороне седла буртика. [2]
При затяжке болтов головка блока сильно прижимается к блоку цилиндров. При этом болты крепления головки блока и правила затяжки разработаны таким образом, что связь головки блока цилиндров с блоком выдерживает максимальное давление цикла вплоть до 200 бар. В результате через болты и прокладку передается гигантское усилие на седло буртика. Поэтому очень важно, чтобы усилие передавалось через прокладку на седло строго вертикально.
Причины излома бурта гильзы
1. Посторонние частицы.
При монтаже очень важно соблюдать чистоту, чтобы между буртиком и седлом не попала грязь (стружка, уплотняющие средства, остатки прокладки и др.).
2. Неровности и перекосы в области седла буртика в блоке цилиндров.
Важно, чтобы поверхность была строго горизонтальна (см. рис. 2.3, а, б ), а острая кромка поверхности седла срезана (под углом около 1х45°, см. рис. 2.3, в ). В противном случае велика опасность излома.

а) б) в) г)
Рис. 2.3. Причины излома бурта гильзы
а, б – наклон в области седла; в, г – возможность излома при отсутствии фаски седла буртика
3. Неподходящая прокладка головки блока цилиндров.
Также может стать причиной неправильного распределения сил в области буртика (рис 2.4) из-за слишком маленького диаметра либо неверно выбранной высоты прокладки.

Рис. 2.4. Излом в результате неподходящей прокладки
4. Неправильная обработка
Иногда головка блока цилиндров имеет канавку по всему периметру, в которую входит противопожарный борт, причем головка и гильза цилиндра не должны соприкасаться. Если вследствие перекоса или повреждения головка блока требует выравнивания, канавка должна быть пропорционально увеличена. В противном случае есть опасность того, что усилие будет направлены не на прокладку, как должно быть, а на противопожарный борт гильзы цилиндра (рис. 2.5).

Рис. 2.5. Излом в результате уменьшения глубины канавки
Если данный дефект гильзы не будет вовремя обнаружен, то после пуска двигателя сломанная гильза сдвинется в направлении коленчатого вала, и как только место излома окажется на высоте первого поршневого кольца, поршневое кольцо выскочит выше места излома. При обратном ходе поршня он вдавит гильзу цилиндра. Вращающийся коленчатый вал разобьет гильзу, поршень и шатун также будут повреждены.
2.4 Трещины на поверхности гильзы
Причиной появления трещин в деталях являются, в первую очередь, ненормальные условия их работы, а именно, сильный перегрев, быстрое охлаждение, ударные нагрузки и т.д. Трещины могут возникнуть также вследствие нарушения технологии ремонта. Перетяжка болтов головки блока на некоторых двигателях может стать причиной образования трещин на поверхности гильз. Эксплуатация двигателя в холодное время года на воде в системе охлаждения – также достаточно распространенная причина появления трещин в блоке и гильзах цилиндров после замерзания воды.
Трещина, возникшая в той или иной детали, редко локализуется, т.е. остается неизменной длительное время. В большинстве случаев, испытывая циклические рабочие нагрузки и циклы нагрева-охлаждения, трещина развивается дальше до поломки детали. Последствия и скорость развития трещины зависят от типа детали, материала и сечения, по которому проходит трещина. Для ответственных деталей КШМ и поршневой группы, включая коленчатый вал, шатуны и поршневые пальцы, трещина, независимо от места ее образования, практически всегда приводит к разрушению детали и выходу двигателя из строя.
В корпусных деталях типа блока цилиндров и головки блока, а также гильзах трещины, как правило, проходят в полость системы охлаждения, соединяя ее с каналами систем смазки, вентиляции картера, цилиндрами, либо с окружающей средой, вызывая течи и / или перемешивание рабочих жидкостей. Помимо этого, через трещины в стенке цилиндра или камеры сгорания в систему охлаждения при работе двигателя поступают отработавшие газы, которые вытесняют охлаждающую жидкость, резко снижая эффективность охлаждения двигателя.
Трещины в нижней части гильзы обычно связаны с ударами разрушенного шатуна и, как правило, располагаются вертикально.
Установка на двигатель детали с трещиной приводит обычно к его неработоспособности (выходу из строя) сразу после первого запуска или через определенное время, т.е. к необходимости повторного ремонта. Кроме того, традиционные виды ремонта рабочих поверхностей детали с трещиной (шлифование, хонингование и т.д.) иногда приносят убытки ремонтному предприятию, так как деталь с трещиной заведомо неремонтопригодна и требует замены. Учитывая это, обнаружению трещин в деталях перед ремонтом должно быть уделено самое серьезное внимание. [4]
2.5 Износ посадочных поясков гильзы
Износ посадочных поясков частично связан с кавитационным изнашиванием. Признаком дефекта гильз являются глубокие раковины на поверхности поясков, что является следствием явления кавитации или коррозии.
В процессе работы возникает вибрация гильзы, что также вызывает износ посадочных поясков гильзы.
В реальных условиях эксплуатации двигателей возможно появление овальности посадочных поясков гильзы, вызванное кавитационным разрушением или отложением накипи в зазорах посадочных поясков гильзы в блоке.
3. Выбор способа восстановления гильз
В ремонтной практике восстановление изношенных автотракторных деталей производится разными способами и выбор того или иного способа в конкретных условиях определяется или экономическими соображениями или производственными возможностями ремонтных мастерских (наличием соответствующего технологического оборудования).
Для гильз принята следующая схема технологического процесса ремонта [4]:
1) правка;
2) восстановление размеров посадочных поясков;
3) устранение неисправностей опорного буртика;
4) восстановление внутренней рабочей поверхности;
5) цинкование наружной поверхности;
6) контроль.
3.1 Правка гильзы
При дефектовке гильз проверяют овальность центрирующих посадочных поясков. При овальности поясков больше допустимого размера гильзу подвергают правке. Нагрузку прилагают по максимальной оси овала. В процессе правки упругая деформация гильзы не должна превышать 20 мм. После правки каждую гильзу проверяют на магнитном дефектоскопе для обнаружения возможных трещин.
Гильзы правят на специальном гидравлическом прессе (рис. 3.1) с приводом от топливного насоса. Насосная установка смонтирована под столом и управляется педалью. Гильзу ставят на нижнюю алюминиевую подушку 7 с войлочной прокладкой 1.
Подушка 7 закреплена на сварной станине 6 пресса. Нагрузку на деталь прикладывают через верхнюю подушку 3 с войлочной прокладкой 2, которая подвешена при помощи Т-образного паза к грибку плунжера 4 так, что может

Рис. 3.1. Пресс для правки гильзы
самоустанавливаться по гильзе в процессе правки. Верхняя подушка для облегчения выполнена из алюминиевого сплава с тем, чтобы по возможности разгрузить возвратные пружины, скрытые в защитных колпачках 5. Предохранительный клапан гидравлического пресса ограничивает усилие правки в пределах 2500 кг. При большем усилии возможно возникновение трещин.
3.2 Восстановление размеров посадочных поясков
Для гильз, в зависимости от величины износа центрирующих поясков, установлено три маршрута их ремонта.
К первому маршруту относят детали с незначительным (до 0,09 мм) износом поясков. Эти детали не требуют наращивания поясков.
По второму маршруту ремонтируют детали с износом центрирующих поясков не более 0,2 мм. Пояски с таким износом наращивают способом хромирования.
В третий маршрут включают гильзы с износом центрирующих поясков более 0,2 мм. Для этих деталей рекомендуется наращивание поясков виброконтактной наплавкой.
Признаком для бракования гильзы являются глубокие раковины на рабочей поверхности и на поясках, возникающие вследствие коррозии, которые нельзя устранить шлифованием. [3]
Если на поверхности центрирующих поясков нет коррозии и не требуется их наращивания, то при их ремонте ограничиваются слесарной обработкой. Напильником зачищают выступающие неровности металла на кромках поясков. Поверхность поясков рекомендуется полировать наждачным полотном зернистостью 18–140. При наличии коррозии и износе до 0,2 мм пояски гильзы шлифуют, хромируют и вторично шлифуют до нормальных размеров. Для шлифования посадочных поясков на круглошлифовальном станке деталь устанавливают на центровую оправку (рис. 3.2) с двумя соосными коническими грибками. Обрабатываемую гильзу базируют по неизношенным нерабочим фаскам, расположенным по концам отверстия.

Рис. 3.2. Центровая оправка для шлифования поясков гильзы:
1 – втулка; 2 – гайка; 3 – оправка
Для хромирования поясков гильз применяют индивидуальные подвесные приспособления. Поверхности, не подлежащие хромированию, изолируют перхлорвиниловым пластикатом. После обезжиривания и анодной обработки пояски гильз хромируют в сернокислом электролите. Для получения блестящего осадка принимают плотность тока 45–50 а/дм2 , температуру электролита 55–60° С. Толщина слоя хрома должна быть 0,15–0,2 мм.
Хромированные пояски шлифуют корундовым кругом зернистостью 46–60, твердостью СТ1 – СТ2.
Овальность поясков должна быть не более 0,05 мм; разностенность детали в зоне поясков допускается не более 0,08 мм.
На поверхности поясков допускаются мелкие углубления (сыпь), площадью не более 20% поверхности обоих поясков.
Для виброконтактной наплавки изношенных центрирующих поясков гильз применяют малоуглеродистую сварочную проволоку диаметром 1,4–1,6 мм. Рекомендуется следующий режим наплавки: напряжение сварочного тока 16–18 В, индуктивность 8 витков, амплитуда вибрации электрода 1,5 мм; скорость подачи проволоки 48–60 м/мин; число оборотов гильзы 0,75 в минуту (окружная скорость 48 м/мин); скорость перемещения электрода вдоль оси детали 2 мм за один оборот. Охлаждающую жидкость подводят к внутренней поверхности гильзы. Поверхность буртика и переходной канавки от наплавки и брызг металла предохраняют тонким слоем обмазки состава (в г): мел – 600, декстин – 50 и вода – 340.
Наплавленные посадочные пояски шлифуют под ремонтные размеры. Для обработки применяют корундовый круг зернистостью 45–60, твердостью С1 – С2.
3.3 Устранение неисправностей опорного буртика
Поврежденные уплотнительные канавки на верхнем торце буртика восстанавливают прокатыванием стальных закаленных роликов. Металл, вытесненный из канавок, увеличивает высоту гребешков примерно на 0,25 мм. После обработки канавок на круглошлифовальном станке шлифуют обе плоскости бурта. В результате увеличивается высота бурта на 0,15 мм, что вполне достаточно для восстановления размеров бурта гильзы. Для шлифования буртов гильзу закрепляют на оправке.
Чтобы прокатать канавки на торце буртика гильзы, применяют специальный станок, похожий на вертикальный гидравлический пресс, в плунжере которого на шарикоподшипниках смонтирован шпиндель, несущий накатную головку. Гильзу устанавливают в гнездо массивной выдвижной плиты, соосно со шпинделем. Накатная головка закреплена на шпинделе и несет три коромысла, каждое из которых свободно качается на горизонтальной оси, установленной вдоль радиуса головки. Угол между осями коромысел накатной головки равен 120°. На концах каждого коромысла свободно вращаются накатные ролики. Благодаря такому устройству накатная головка представляет собой статически определимую систему, в которой усилие пресса распределяется между роликами равномерно.
Профили роликов показаны на рис. 5.3. На первом коромысле установлены два ролика: ролик 1 обкатывает внутреннюю и наружную кромки гильзы, ролик 2 выдавливает металл из галтели. Остальные ролики, попарно установленные на втором и третьем коромыслах, вытесняют металл из канавок.
Ролики в пазу коромысла закреплены с некоторым осевым зазором f 0 . Благодаря этому каждый ролик самоустанавливается в канавке, даже при наличии значительных погрешностей, допущенных в процессе первоначальной обработки канавок.
Наружный диаметр роликов равен 40 мм; изготовлены они из стали Р18 и закалены до твердости НRС 62–65. Число оборотов шпинделя 20 в минуту. Необходимое усилие гидравлического пресса устанавливают при наладке станка путем регулировки предохранительного клапана.

Рис. 3.3. Схема обработки канавок на буртике гильзы
3.4 Восстановление внутренней поверхности
При всем многообразии применяемых в производстве ремонтных операций все же многие из них можно сгруппировать в типовые группы с одинаковым технологическим процессом и из общей технологии ремонта выделить наиболее часто встречающиеся способы восстановления деталей. [3]
Технологическая однородность ремонтных операций является основным классифицирующим признаком, по которому можно разделять все способы ремонта следующим образом:
1). восстановление изношенных деталей способом ремонтных размеров;
2). восстановление изношенных деталей наплавкой;
3). восстановление изношенных деталей металлизацией;
4). восстановление изношенных деталей гальваническим способом;
5). восстановление изношенных деталей путем раздачи и осадки их;
6). восстановление изношенных деталей путем поворачивания их другой, нерабочей стороной;
7). восстановление изношенных деталей при помощи добавочных деталей, имеющих форму втулок, гильз или колец;
8). восстановление изношенных деталей путем замены изношенной части новой.
3.4.1 Растачивание под ремонтный размер
Растачивание и хонингование гильз цилиндров производятся при износе внутренней поверхности (в месте наибольшего износа) до диаметра, превышающего предельный, при овальности и конусности на рабочем участке более допустимых размеров.
В зависимости от величины износа гильзы ремонтируют растачиванием или шлифованием с последующим хонингованием или только хонингованием под ремонтные размеры.
Перед устранением дефектов гильзы промывают и очищают от грязи, коррозии и накипи, а посадочные пояски и опорные поверхности буртиков зачищают до металлического блеска.
По величине износа внутренней поверхности гильзы сортируют на три группы. Первая группа гильз – с внутренним диаметром в пределах допуска на новую гильзу; вторая группа – с внутренним диаметром, превышающим номинальный не более чем на 0,2 мм, и третья группа – с внутренним диаметром, превышающим номинальный на 0,15–0,2 мм, но не более чем на 0,4 мм.
Гильзы первой группы могут быть использованы без ремонта или после хонингования внутренней поверхности до удаления неровностей и следов коррозии. Хонингование гильз производят на хонинговальном станке ЗБ833 головками ПТ-1085А с шлифовальными брусками К36–5 СМ1-С1К и КЗЗ-М20 СМ1-С1К.
В качестве охлаждающей жидкости рекомендуется применять керосин. Иногда к нему добавляют 10–20% веретенного масла.
Также для хонингования цилиндров применяют бруски из синтетических алмазов, обеспечивающие значительное повышение производительности процесса, точности обработки, уменьшение шероховатости поверхности. Стойкость брусков из синтетических алмазов в десятки раз выше стойкости обычных брусков. Для предварительного хонингования могут быть использованы бруски АС12М1, а для окончательного АСМ40М1.
Гильзы второй группы ремонтируют хонингованием или шлифованием на внутришлифовальном станке с последующим окончательным хонингованием. При обработке гильз только хонингованием сначала производят предварительное хонингование шлифовальными брусками К316–8 СМ1-С1К или (с целью повышения производительности) более крупнозернистыми брусками К340МЗК. Для окончательного хонингования применяют бруски КЗЗ-М20 СМ1-С1К.
Гильзы третьей группы ремонтируют растачиванием внутренней поверхности с последующим предварительным и окончательным хонингованием до ремонтного размера. В процессе растачивания и хонингования нагрев гильзы допускается не более 50–60° С [4].
Гильзы растачивают на вертикальном алмазно-расточном станке –278Н расточными резцами с пластинками из твердого сплава ВК2 или ВКЗМ.
Гильзы на станке центрируют при помощи оправки, вставленной в шпиндель станка (рис. 3.4). Шаровой конец оправки должен входить в цилиндр на глубину 3 – 4 мм. Вылет шарового конца оправки подсчитывают по формуле:
,
где D – диаметр гильзы, под который производится растачивание;
d – диаметр шпинделя (оправки).

Рис. 3.4. Центрирование гильзы (а) и установка резца (б) при растачивании гильзы цилиндра
При установке резца для растачивания необходимо учесть припуск на хонингование в пределах 0,06–0,12 мм на диаметр. Внутренняя рабочая поверхность расточенной гильзы может иметь овальность не более 0,04 мм, конусность не более 0,05 мм, шероховатость поверхности должна быть не ниже 6-го класса чистоты.
Для того чтобы получить высокую чистоту рабочей поверхности, гильзу хонингуют. После хонингования на рабочей поверхности гильзы не должно быть рисок и следов. Геометрия отверстия должна отвечать техническим требованиям. Для хонингования гильзы применяют пружинящую хону (рис. 3.5), которая отличается от обычной хоны тем, что каждый брусок прижимается к поверхности гильзы отдельной пружиной. Такая хона не исправляет геометрической формы гильзы, а лишь повышает класс чистоты ее поверхности.

Рис. 3.5. Хона:
1 – нижний диск; 2 – пружина; 3 – стержень; 4 – державка; 5 – абразивные бруски; 6 – тяга; 7 – пружинящая коронка; 8 – натяжная гайка; 9 – верхний диск
При предварительном хонинговании расточенной гильзы до ремонтного размера оставляют припуск на окончательное хонингование в пределах 0,01–0,03 мм на диаметр. После предварительного хонингования на внутренней поверхности гильзы не должно быть следов износа, неровностей. Овальность не должна превышать 0,04 мм, а конусность – 0,05 мм (при температуре гильзы, равной температуре окружающего воздуха). Шероховатость поверхности должна быть не ниже 7-го класса чистоты.
После окончательного хонингования диаметр внутренней поверхности гильзы должен находиться в пределах допуска на ремонтный размер, а овальность и конусность не должны превышать 0,03 мм. Шероховатость поверхности должна быть не ниже 9-го класса чистоты.
Данный способ широко применяют при ремонте цилиндро-поршневой группы двигателей, однако износе внутренней поверхности гильз больше последнего ремонтного размера деталь выбраковывают, тем самым увеличиваются затраты на приобретение новой детали.
3.4.2 Шлифование внутренней поверхности
Растачивание часто заменяют шлифованием. Внутреннюю рабочую поверхность гильзы шлифуют до выведения следов износа. Овальность рабочей поверхности гильзы в нижнем и верхнем поясах, а также конусность поверхности на длине гильзы допускается не более 0,06 мм. Разрешается наличие нетронутой шлифовальным камнем выработки от верхнего поршневого кольца. Кроме того, допускается наличие нетронутых камнем площадок на высоте не более 50 мм от нижнего края гильзы, общей площадью не более 20 см2 .
Опыт показывает, что при шлифовании гильз ремонтного фонда в большинстве случаев не удается выполнить эти технические требования. Поэтому такие гильзы обычно бракуют.
Для шлифования отверстия гильзу устанавливают в приспособлении (рис. 3.6), закрепленном на планшайбе шпинделя внутришлифовального станка. Приспособление состоит из чугунного стакана 5, прижимного кольца 8 и выталкивателя 3. В стакан запрессованы базовые стальные закаленные кольца 1, и 6. Для того чтобы обеспечить соосность отверстия гильзы со шпинделем станка, отверстия колец и торец кольца 1 шлифуют после закрепления приспособления на планшайбе. Поэтому на крупных ремонтных предприятиях один из станков налаживают для обработки гильз с поясками ремонтного размера, а остальные станки – для обработки гильз нормального размера.

Рис. 3.6. Приспособление для установки гильзы при шилифовании рабочей поверхности
Выталкиватель представляет собой стальную тарелку, шарнирно соединенную с тягой 4 пневматического цилиндра, закрепленного на заднем конце шпинделя. С тарелкой также шарнирно соединены три тяги 7, в каждую из которых ввернут винт 9 с конической головкой. В нажимном кольце имеется три паза, образующие с этими винтами штыковой замок.
Чтобы установить гильзу в приспособлении, тягу пневматического цилиндра подают вправо, нажимное кольцо поворачивают против часовой стрелки и снимают с приспособления. Затем вкладывают в стакан гильзу, надевают нажимное кольцо, поворачивают его до упора по часовой стрелке, а тягу пневматического цилиндра подают влево. Благодаря шарнирным соединениям тяг с выталкивателем, усилие пневматического цилиндра распределяется равномерно между тремя тягами 7. Это сохраняет гильзу от коробления при шлифовании. Для снятия гильзы со станка тягу пневматического цилиндра подают вправо. При этом нажимное кольцо освобождается, а выталкиватель выдвигает гильзу из базирующих ее колец.
Внутри тяги пневматического цилиндра проходит труба 2, по которой подается охлаждающая эмульсия.
Для шлифования гильзы применяют круг ПП-125–50–50 на керамической связке СМ1, зернистостью 12–16.
После шлифования рабочей поверхности гильзы наружную поверхность подвергают пескоструйной очистке и цинкованию.
Такая последовательность выполнения операций принята потому, что на некоторых гильзах в процессе шлифования не удается устранить следы износа. Эти гильзы бракуют. Следовательно, цинкование наружной поверхности гильз до шлифования рабочей поверхности нецелесообразно.
Толщина слоя цинкового покрытия должна быть равна 0,03–0,05 мм. Осадок металла должен быть мелкокристаллический светло-серебристого цвета. Цинком покрывают только поверхность между посадочными поясками. Центрирующие пояски изолируют цапон-лаком, а нижнюю часть гильзы – экраном из целлулоида.
3.4.3 Электроимпульсное нанесение покрытий
При восстановлении гильз возможно использование способа электроимпульсного нанесения покрытитий [5].
Электроимпульсное нанесение покрытий основано на импульсном разряде конденсатора через проволоку напыляемого металла. При этом происходит взрывное плавление проволоки и осаждение расплавленных мелких частиц металла на внутренней поверхности гильзы (рис. 3.7).
Используемая для нанесения покрытий электроразрядная цепь представляет собой колебательный контур и характеризуется следующими данными: емкость конденсатора 100 мкФ, максимальное напряжение зарядного тока 30 кВ, собственная частота колебаний электроразрядной цепи 25 кГц. Для напыления используют металлическую, например вольфрамовую, проволоку диаметром 0,5– 1 мм и длиной 20–150 мм. Режим напыления, выбираемый в зависимости от размера и формы изделия, согласно многочисленным экспериментальным данным рассчитывают по следующим уравнениям [5]:
;
,

Рис. 3.7. Схема электроимпульсного напыления:
СH – источник питания для зарядки конденсатора; R – резистор; C – конденсатор; SW – выключатель; EW – металлическая проволока; B – напыляемая гильза
где S – площадь сечения металлической проволоки, мм2 ; l – длина металлической проволоки, мм; С – емкость конденсатора, Ф; U – напряжение зарядного тока, В; f – собственная частота колебаний электроразрядной цепи, Гц; K 1 , K 2 – постоянные, определяемые материалом проволоки; K1 =(1…3) 10-3 ; K2 =4.
Расстояние l от поверхности изделия до расплавляемого конца металлической проволоки определяется через ее диаметр d и выражается в следующем виде: l =30 d .
При разряде в оптимальном режиме около 40% массы проволоки превращается в газ, а остальные 60% – в капли расплавленного металла, сталкивающиеся с поверхностью основного материала. Образующиеся при взрывном разряде капли напыляемого металла можно разделить на две группы, к одной из которых относятся частицы размером несколько микрометров, а к другой – размером несколько сотых долей микрометра. Покрытие образуется за счет осаждения на поверхности частиц первой группы, тогда как частицы второй группы улетучиваются, превращаясь в аэрозоли. При недостаточном уровне энергии разряда металлическая проволока расплавляется без взрыва, а при чрезмерном уровне энергии – полностью переходит в газообразное состояние. И в том и в другом случае напыление невозможно.
Своеобразие электроимпульсного нанесения покрытий связано с особо малым размером частиц в мелкораспыленном состоянии напыляемого материала. При температуре распылений, которая, как считают, близка к точке кипения металла проволоки, все частицы в мелкораспыленном состоянии нагреваются равномерно. При столкновении с поверхностью основного материала скорость движения частиц достигает нескольких сотен метров в секунду. Движение частиц к основному материалу происходит за счет резкого расширения газа при взрыве и вытеснения воздуха из зоны взрыва, что почти полностью исключает окисление частиц, а следовательно, обеспечивает получение плотного покрытия с высокой прочностью сцепления с основным материалом. Недостаток электроимпульсного напыления состоит в том, что этот способ непригоден для восстановления гильз с большой величиной износа, так как данным способом невозможно получение покрытий большой толщины.
3.4.4 Восстановление электролитическими покрытиями
Сущность способа состоит в том, что при прохождении постоянного электрического тока через раствор-электролит в нем образуются положительно и отрицательно заряженные ионы. Положительно заряженные ионы перемещаются к отрицательному электроду-катоду, которым является металлическая деталь, и осаждаются на ее поверхности, прочно с ней сцепляясь. Отрицательно заряженные ионы перемещаются к положительному электроду-аноду и выделяются на нем. В качестве электролитов, как правило, применяются водные растворы солей, кислот и щелочей. [8]
Количество веществ, выделившихся при электролизе, пропорционально количеству электричества, прошедшего через раствор. Количество вещества в граммах, выделяемого из электролита при прохождении через, него тока в 1 ампер в течение часа, называется электрохимическим эквивалентом данного вещества (с, г/A-ч). Плотность тока (DK , A/дм2 ) называют отношение силы тока к покрываемой или обрабатываемой поверхности детали.
Осажденные при электролизе металлы отличаются по своим свойствам от литых металлов тем, что кристаллическая решетка их искажена вследствие различных условий кристаллизации. Изменяя режим электролиза (плотность тока, температуру и состав ванны), можно в значительной степени изменить и механические свойства осажденных металлов.
Образование покрытий высокого качества во многом зависит от рассеивающей и кроющей способности гальванической ванны. Под рассеивающей способностью понимают степень равномерности металлического осадка на различных частях покрываемой детали, имеющей неправильную форму. Под кроющей способностью понимают возможность ванны покрывать имеющиеся на катоде углубления. Улучшить рассеивающую и кроющую способность ванны можно конструкцией подвески для деталей и формой анодов, а также применением экранов.
Наибольшее распространение при восстановлении деталей нашли электролитические (гальванические) процессы хромирования и осталивания.
Хромирование. Применяется в тех случаях, когда покрытие должно иметь очень высокую твердость и износостойкость. Электролитический хром обладает твердостью от НВ 400 до НВ 1200, а также высокой износостойкостью, низким коэффициентом трения (0,13 при трении по баббиту и 0,16 при трении по стали), высокой теплопроводностью, низким коэффициентом линейного расширения. Электрохимический эквивалент хрома равен 0,324 г./A – ч.
Хромовые электролиты представляют собой растворы хромовой кислоты Н2 СrO4 , образующейся при растворении хромового ангидрида СгО3 в воде. Для осаждения хрома на катоде-детали, в раствор нужно добавить серную кислоту Н2 SО4 . При этом наилучшие по качеству осадки и наибольший выход хрома по току получаются при соотношении СгО3 : Н2 SО4 = 100. Выход хрома по току очень мал – всего 13–15%. Установлено, что нормальный процесс хромирования обеспечивается, если трехвалентный хром содержится в пределах от 5 до 20 г./л. Это может быть обеспечено, если площадь анодов будет в 1,8–2 раза больше площади катодов-деталей.
В качестве анода при хромировании применяют рольный свинец с добавлением 6–12% сурьмы. В процессе работы ванны аноды окисляются, и их следует периодически очищать. [5]
Технологический процесс износостойкого хромирования деталей состоит из следующих операций [8]:
1. Очистка деталей от масла и грязи.
2. Предварительное шлифование для придания деталям правильной геометрической формы и получения необходимой шероховатости.
3. Промывка. Детали промывают в горячем щелочном растворе, протирают венской известью, промывают в проточной воде.
4. Изоляция подвески и поверхностей деталей, не подлежащих хромированию. Изолируют обычно цапон-лаком (раствором целлулоида в ацетоне), перхлорвиниловым лаком 9–32 или клеями АК-20 и БФ, которые наносят в 2–3 слоя.
5. Навешивание (установка) деталей на подвеску.
6. Обезжиривание. При химическом обезжиривании детали промывают в бензине или в водном растворе, нагретом до 60–70° С в течение 3–5 мин.
При электрохимическом обезжиривании детали навешивают на подвеску и погружают в ванну с горячим водным раствором. Раствор подогревают до 70–75° С и выдерживают в нем детали в течение 5–8 мин при плотности тока 3–10 A/дм2 и напряжении 8–10 B.
7. Анодное декапирование. Производится в целью удаления с поверхности обезжиренных деталей, окисных пленок и выявления структуры детали. Для этого подвеску с деталями загружают в специальную ванну со слабым раствором серной кислоты в воде (3–5 г./л) и выдерживают в течение 1–2 мин. После этого детали промывают в дистиллированной воде.
8. Хромирование. Для получения твердых износостойких покрытий чаще всего применяют следующий состав ванны и режим хромирования: 150–200 г./л хромового ангидрида и 1,5–2,0 г/л серной кислоты; плотность тока 35–45 А/дм2 и температура электролита 56–58° С.
9. Промывка. По окончании процесса хромирования подвески с покрытыми деталями промывают в дистиллированной воде для сбора электролита, а затем последовательно в проточной воде, в 3–5%-ном растворе щелочи для нейтрализации, снова в проточной воде и наконец в подогретой до 70–80° С воде.
10. Демонтаж (снятие) деталей с подвески и удаление изоляции.
11. Термообработка деталей для устранения их водородной хрупкости. Детали обычно нагревают в сушильных шкафах или в масляной ванне до температуры 150–220° С и выдерживают в течение 1,5–2,0 ч.
Реверсивное хромирование позволяет в 2 раза увеличить скорость отложения хрома, повысить на 1 – 2 класса чистоту покрытия по сравнению с обычным хромированием. При реверсивном хромировании периодически меняют полярность тока: продолжительность катодного периода 10–15 мин, а анодного – 10 – 15 сек. Состав электролита обычный (СгО3 – 200 – 250 г./л и Н2 SO4 – 2,0 – 2,5 г/л) при повышении плотности тока до 60 – 150 A/дм2 .
Струйное хромирование цилиндрических поверхностей валов и осей дает возможность в 4–8 раз повысить производительность процесса, не снижая качества покрытия. При струйном хромировании деталей на специальных установках электролит интенсивно перемешивается и постоянно обновляется в зоне, непосредственно прилегающей к покрываемой поверхности катода.
Осталивание. Выход металла по току при осталивании в 5– 7 раз выше, чем при хромировании, и равен 75–95%, а скорость отложения осадка в 10 раз больше (0,4 мм за час). При осталивании можно получить покрытия толщиной до 2 мм.
Для твердого и износостойкого осталивания обычно применяют хлористые электролиты следующего состава: хлористое железо FеС12 – 200–500 г./л, хлористый натрий NaС1 – 100 г./л, соляная кислота НС1 – 0,5–0,9 г/л, хлористый марганец MnCl2 –10 г./л. Аноды изготавливают из малоуглеродистой стали. Общая площадь анодов должна быть в 2 раза больше покрываемой поверхности деталей [8].
Твердость, вязкость и износостойкость покрытий при осталивании можно изменять в широких пределах, изменяя состав электролита, его температуру и плотность тока. При малой плотности тока и высоких температурах электролита получают мелкозернистые вязкие покрытия. С повышением плотности тока увеличивается твердость покрытий.
Технологический процесс осталивания анологичен хромированию.
Недостатком восстановления гильз электролитическими покрытиями является небольшая толщина наносимого покрытия, большая продолжительность нанесения покрытия и неравномерность наносимого слоя.
3.4.5 Гальваномеханический способ восстановления
Проведенные исследования показали, что применение гальваномеханического способа при восстановлении деталей машин наиболее полно удовлетворяет требованиям ремонтного производства. Отличительной его особенностью является то, что в процессе электролиза покрываемая поверхность подвергается механическому активированию (царапанию) абразивными или алмазными инструментами в виде лент или брусков, которые перемещаются в межэлектродном пространстве. [6]
Механическое активирование способствует снижению перенапряжения разряда оседаемого металла за счет уменьшения концентрационных ограничений, интенсивного удаления с поверхности катода адсорбировавшихся гидридов, гидроокисей и газообразного водорода. Все это позволяет в десятки раз увеличивать рабочие плотности тока при нанесении хрома, никеля, кобальта, меди и существенно повышать скорость их осаждения.
Данный способ представляет собой разновидность электрохимического хонингования, где в качестве СОЖ используется электролит для нанесения соответствующего металла, и сводится к предварительному хонингованию, электроосаждению металла с одновременным хонингованием при незначительном давлении брусков и к окончательному хонингованию для получения необходимой геометрии обрабатываемой поверхности. Таким образом, весь технологический процесс осуществляется с одной установки на одном и том же оборудовании.
Постоянное хонингование обрабатываемой поверхности во время электроосаждения, высокая скорость циркуляции электролита при малом межэлектродном зазоре обеспечивают высокую скорость осаждения металла, которая в 20 – 50 раз выше, чем при стационарных условиях нанесения покрытий.
Технологический процесс сводится к обезжириванию, промывке в воде, гальваномеханическому процессу нанесения покрытий (декапирование 15…85 с, нанесение покрытия с выходом на режим в течение 8…10 мин, с плавным увеличением Dк и Ра до оптимального), последующей промывке детали в проточной воде, их нейтрализации и ополаскиванию.
Разработана и изготовлена технологическая оснастка для восстановления зеркала гильзы цилиндра ЯМЗ-238, 236, Д-50 (Д-240). Прошли апробацию в условиях опытного производства технологический процесс и установка для восстановления зеркала гильз цилиндров Д-50 (Д-240), а также произведены стендовые испытания трех серий гильз, восстановленных по разработанной технологии, которые показали высокую работоспособность деталей [7].
Недостатком данного способа является сложность приобретения
необходимого оборудования, сравнительно высокая стоимость материалов, используемых при восстановлении.
3.4.6 Восстановление термопластическим деформированием
Способ заключается в нагреве наружней поверхности гильзы в индукторе в течение нескольких секунд до температуры 700…7500 С и последующем быстром охлаждении в масле. При этом рабочая часть гильзы сокращается на величину до 0,1 мм, что позволяет дальнейшей механической обработкой восстановить требуемый размер.
Градиент температур создают в стенке детали непрерывно-последовательно вдоль оси детали.
При создании градиента температур деталь нагревают, например, током высокой частоты, а охлаждают струями воды.
Нагрев и охлаждение детали ведут в процессе перемещения детали, относительно источников со скоростью не более 3–4 мм/с, при этом температуру нагрева устанавливают не более 870–920 °С.
На рис. 3.8 показана установка для осуществления способа.



Рис. 3.8. Схема обработки детали ТВЧ:
а – при расположении источников нагрева и охлаждения внутри детали; б – при расположении источника нагрева снаружи детали, а источника охлаждения внутри ее; в- при расположении источников нагрева и охлаждения снаружи детали; 1 – восстанавливаемая деталь; 2 – источник нагрева; 3 – источник охлаждения.
Способ восстановления изношенной внутренней цилиндрической поверхности преимущественно стальных и чугунных деталей типа гильз цилиндров двигателей внутреннего сгорания осуществляется путем создания градиента температур посредством воздействия на деталь 1 источника 2 нагрева и источника 3 охлаждения (рис. 3.8), при этом градиент температур создают в стенке детали непрерывно – последовательно вдоль оси детали, нагрев осуществляют, например, током высокой частоты (ТВЧ), а охлаждают, например, струями воды.
При нагреве и охлаждении деталь перемещают относительно источников на грева ТВЧ и охлаждения со скоростью не более 3 – 4 мм/с, а температуру нагрева устанавливают при этом не более 870–920° С.
В результате создания температурного градиента возникают резко изменяющиеся (как от точки к точке тела, так и в каждой точке во времени) тепловые (термические) напряжения. При этом в нагретых участках возникают окружные напряжения сжатия, а в холодных – напряжения-растяжения. Нагретые участки металла стремятся расшириться, но этому препятствуют более холодные участки цилиндра, поэтому нагретые участки оказываются сжатыми, и, в свою очередь, действуют на холодную часть цилиндра как симметрично приложенная сила растяжения. Поскольку предел прочности металла с повышением температуры падает, то будет происходить деформация в сторону сжатия, т.е. вовнутрь цилиндра.
Результаты исследования показывают, что при создании в полой детали осевого температурного градиента ней появляется пластическая деформация (уменьшение внутреннего диаметра).
Пластическая деформация наблюдается как у детали, изготовленной из чугуна, так и из стали.
Величина деформации зависит от целого ряда факторов, основными из которых являются максимальная температура нагрева и форма температурного поля в детали, физико-механические свойства материала детали, скорость перемещения источников нагрева и охлаждения относительно детали, геометрические размеры детали, интенсивность охлаждения.
Процесс осуществляется следующим образом. Чугунная деталь – гильза двигателя устанавливается на стол устройства. Затем со скоростью 1,5 мм/с относительно индуктора гильза перемещается с непрерывно-последовательным нагревом внутренней поверхности до 870 °С и охлаждением струями воды с температурой 200 С и расходом 15 л/мин. При этом величина радиальной деформации Е составляет в среднем 0,7 мм. Затрата подготовительного, основного и заключительного времени на восстановление одной гильзы составляет 2 мин.
3.4.7 Способ постановки ремонтных втулок
Данный способ восстановления внутренней поверхности гильз цилиндров внутреннего сгорания позволяет увеличить процент повторно используемых гильз, так как появляется возможность ремонтировать гильзы при износе внутренней поверхности, превышающем 0,4 мм,
Способ осуществляется следующим образом. Измеряют зону износов 1 внутренней рабочей поверхности гильзы 2, на наружной поверхности которой от верхней кромки делают проточку 3 на длину, на 5… 10 мм превышающую зону износов внутренней рабочей поверхности гильзы. Глубина проточки не должна превышать 0,5 толщины стенки гильзы. Вычитают ремонтную стальную втулку 4, конфигурация которой соответствует удаляемому участку гильзы. Внутренний диаметр втулки 4 и наружный диаметр проточенной части гильзы 2 подбирают с учетом допуска на прессовую посадку.
На рис. 3.9 а, б представлены соответственно гильза и ремонтная втулка на подготовительной стадии; на рис. 3.9 в-гильза, прошедшая восстановительный ремонт.
Наружную поверхность втулки вытачивают с допусками на последующую доводку до номинальных размеров гильзы после операции напрессовки. Изготовленную втулку 4 нагревают до 300…400 °С и насаживают на подготовленный участок гильзы. При охлаждении втулки происходит обжим гильзы, за счет чего восстанавливается внутренний диаметр гильзы. В заключение обрабатывают внутреннюю и наружную поверхности гильзы под номинальные размеры.



а) б) в)
Рис. 3.9. Способ восстановления постановкой втулки:
а – гильза; б – ремонтная втулка; в-гильза с напрессованной втулкой.
Данный способ прост в изготовлении, не требует приобретения дополнительного оборудования, но имеет ряд недостатков: ухудшается охлаждение гильзы за счет ухудшения теплоотвода, так как нарушена однородность материала; для различных гильз необходимо изготавливать различные втулки, что удорожает производство и усложняет технологический процесс.
4.1 Устройство и работа приспособления для восстановления гильз гальваномеханическим способом
Особенностью восстановления внутренней поверхности гильз гальваномеханическим способом является то, что в процессе электролитического наращивания покрываемая поверхность подвергается механическому активированию режущим инструментом в виде брусков, которые перемещаются в межэлектродном пространстве. Также высокая скорость циркуляции электролита при малом межэлектродном зазоре обеспечивает высокую скорость осаждения металла, а за счет постоянного хонингования в процессе осаждения – высокую точность и качество восстанавливаемой поверхности.
Существуют установки для нанесения покрытий гальваномеханическим способом. Но появляется необходимость в их приобретении, что повышает затраты на восстановления гильзы. Предлагаемое приспособление предназначено для закрепления гильз на хонинговальном станке 3Б833 для восстановления гильз гальваномеханическим способом. Так как этот станок широко распространен, то нет необходимости покупать дорогостоящее оборудование [5].
Приспособление состоит из корпуса (8, рис. 5.1), установленного на опорной плите (7), которая крепится на столе хонинговального станка 8Б833. Закрепление гильзы (11) происходит за счет призм (9), которые перемещаются по резьбе за счет вращения вала, на котором они расположены. На опорный бурт гильзы устанавливается кожух (10) для отвода электролита в ванну и защиты деталей приспособления. Рядом со станком устанавливаются две ванны с электролитом и водой. Ванны через трубопроводами связаны с насосами для подачи электролита (2) и воды (17) соответственно. Ванны снабжены датчиками контроля температуры и нагревательными элементами для поддержания постоянной температуры.

Рис. 4.1. Схема гальваномеханического способа нанесения покрытий:
1 – ванна с электролитом; 2, 17 – насосы; 3, 6 – кран-распределитель; 4 – нагнетательный трубопровод; 5 – трубопровод отвода электролита; 7 – монтажная плита; 8 – корпус; 9 – призмы; 10 – защитный кожух; 11 – восстанавливаемая гильза; 12 – токосъемное устройство; 13 – электрод-инструмент; 14 – электрод; 15 – хонинговальные бруски; 16 – ванна с водой
Далее трубопроводы соединяются через кран-распределитель (3), который связан через нагнетательный трубопровод (4) с корпусом приспособления. К режущему инструменту (электрод-инструмент) (13) прикреплены электроды (14), которые подсоединены к источнику питания через токосъемное устройство (12). На гильзу (электрод-деталь) также подается напряжение через призмы.
Для хромироованиия был выбран универсальный электролит (состав, г/л: CrO3 – 250, H2 SO4 – 2,5) как наиболее стабильный и высокопроизводительный, обеспечивающий нанесение качественных покрытий в диапазоне катодной плотности тока Dk = 50…1000 А/дм2 и температуры электролита tэл = 35…55ºC.
Для гальваномеханического железнения были выбраны электролиты следующего состава, г/л: FeCl2 ∙4H2 O – 500, NiSO4 ∙7H2 O – 40, виннокислый натрий – 3, смешанный – FeSO4 ∙7H2 O – 200, FeCl2 ∙4H2 O – 200. Данные электролиты наиболее стабильны по ионному составу при гальваномеханическом железнении и обеспечивают нанесение качественных покрытий толщиной более 1 мм при Dk = 50…300 А/дм2 и tэл = 20…50 °C [6].
При исследованиях по определению химической стойкости абразивных и алмазных брусков на керамической, бакелитовой, каучуксодержащей, эпоксидной и титановых связках было установлено, что наивысшей химической стойкостью в выбранных электролитах хромирования и железнения обладают абразивные бруски из электрокорунда белого, карбида кремния зеленого, а также алмазные на титановой и каучукосодержащей связках Р9 и PI4. Однако дальнейшее использование выбранных инструментов при гальваномеханичеоком хромировании и железнении показало, что алмазные бруски на титановой связке в процессе электролиза поляризуются и происходит их активное электрохимическое растворение, а также водородное охрупчивание, вследствие чего их использование становится нецелесообразным.
Так, лучшее качество покрытий достигается при гальваномеханическом хромировании при использовании абразивных (24AM40IIC2KII, 64СМ4СПСМ210Б), минералокерамических ВОК-60 и алмазных брусков (ACM 40/28-PI4E – 100%), а при железнении данным способом – соответственно абразивных (63С40ПСТ1Б, 64СМ40ПСМ2К10) и алмазных (КАБХ ACBI25/I00 BС-2, АББХ АСО 80/63 PI8T 100%) [7].
Варьируя катодной плотностью тока Dk и величиной давления инструмента Ра можно управлять формированием структуры покрытий и величин пористости.
Выявлено, что увеличение Dk , Pa и снижение tэл способствуют увеличению маслоемкости и смачивающейся способности покрытий хрома и железа, которая выше у аналогичных покрытий, полученных другими способами.
Наиболее существенное влияние на производительность гальваномеханического способа нанесения покрытий оказывают температура электролита, катодная плотность тока и тип применяемого инструмента. Замечено, что при гальваномеханическом хромировании производительность увеличивается в 20…50 раз, а при железнении по сравнению со стационарными условиями электролиза – в 5…10 раз.
4.2 Принцип действия приспособления
В процессе работы электролит из ванны (1) за счет действия насоса (2) поступает через кран-распределитель (3) по нагнетательному трубопроводу (4) в корпус приспособления. Подача воды осуществляется одновременно с электролитом. Кран-распределитель (3) настраивается на подачу воды в количестве, равном количеству испарившейся воды в процессе нанесения покрытия. Электролит попадает в корпус, где затем под действием электрического тока соприкасается с внутренней поверхностью гильзы. Далее через кожух по трубопроводу электролит поступает обратно в ванну. Процесс циркуляции электролита непрерывен на протяжении всей стадии нанесения покрытия.
4.3 Расчет приспособления
4.3.1 Расчет времени осаждения металла
Определим время, которое понадобится для восстановления внутренней поверхности гильзы двигателя Д-240.
Необходимо вычислить площадь покрываемой поверхности. У гильзы она представляет собой цилиндр:
мм2
(4.1)
Толщина слоя покрытия:
, (4.2)
где Dk – плотность тока на катоде, А/дм2 ;
– выход по току, %;
с – электрохимический эквивалент, г / Ач;
– плотность металла, г/см3
.
Необходимо выполнить хромирование гильзы гальваномеханическим способом и получить слой толщиной 0,3 мм. Из формулы (4.2) находим продолжительность осаждения t :
мин. (4.3)
Количество осаждаемого на катоде металла:
г. (4.4)
4.3.2 Определение усилия зажатия гильзы
При восстановлении внутренней поверхности гильзы гальваномеханическим способом, необходимо обеспечить прочность закрепления гильзы в призмах без возникновения проворачивания и вибраций.
Для этого необходимо выполнение следующего условия
, то есть момент от силы резания (
) должен быть равен или больше момента силы резания (
).
Для определения момента от силы резания находим тангенциальную составляющую усилия резания при расточке цилиндра [9]:
, (4.5)
где t – глубина резания, мм
S – подача
Сpz – коэффициент, зависящий от свойств обрабатываемого материала.
Для чугуна СЧ21–40 твердость 190 HB значение Сpz=92
H
Момент от тангенциальной составляющеей силы резания будет равен:
(4.6)
где
– радиус резания, мм
Н мм.
Момент от силы трения должен быть больше момента от силы резания (
).
, (4.7)
Значит
или
H
Для определения момента от силы трения необходимо найти силу трения призм по внешней поверхности гильзы:
(4.8)
где
– сила нормального давления, создаваемая призмами на гильзу, будет действовать в направлении к центру окружности гильзы перпендикулярно поверхностям призм.
f – коэффициент трения призм о гильзу (f=0,2 – чугун по стали).
Из (4) можно найти нормальную силу:
H (4.9)
Тогда сила, действующая в направлении движения призм:
H (4.10)
где
– угол между направлением движения призм и силой нормального давления (30º).
4.3.3 Расчет валов
Основной расчет валов заключается в построении эпюр крутящих и изгибающих моментов методами сопротивлений материалов [10].
Расчет валов производился с использованием программы APM Beam. Графики построения изгибающего и крутящего моментов для наиболее загруженного вала (см. поз. 19, лист 4 графической части) представлены в приложении 2.
Далее по графикам определяем наиболее опасное сечение, то есть с наибольшими изгибающими моментами и рассчитываем изгибающий момент:
Н м, (4.11)
где
– изгибающий момент в вертикальной плоскости;
– изгибающий момент в горизонтальной плоскости.
Эквивалентный момент:
Н м (4.12)
Расчетный диаметр вала:
(4.13)
МПа,
где [
] – допускаемый предел прочности стали,
–
предел прочности стали,
n – коэффициент запаса прочности.
мм
Принимаем диаметр вала d=18 мм, так как на валу необходима резьба стандартного диаметра.
4.3.. Расчет необходимого момента завинчивания резьбы
Необходимый момент завинчивания резьбы находится по формуле:
, (4.14)
где
– момент трения в резьбе;
– момент трения на торце гайки или болта. В нашем случае
=0.
Тогда завинчивания находится по формуле:
, (4.15)
где
– осевая сила;
– средний диаметр резьбы;
– угол подъема резьбы;
– угол трения в резьбе.
H мм
4.3.5 Расчет болтов на растяжение
Так как на вал при зажатии гильзы будет действовать осевое усилие от призм, необходимо рассчитать диаметр винта, чтобы выдержать нагрузку от давления вала на крышку.
Из сопротивления материалов и деталей машин известно [10]:
(4.16)
где
– действующее напряжение, МПа;
– сила, действующая на деталь, Н;
– площадь действия нагрузки, мм2
.
Условие прочности болта при растяжении:
; (4.17)
МПа;
– предварительный затяг.
Тогда наименьший диаметр вала:
мм. (4.18)
По конструктивным соображениям принимаем диаметр болта 6 мм.
4.3.6 Расчет крышки на изгиб
1. Определяем опорные реакции
;
;
Н;
;
;
Н;
2. Проверка:
;
;
– реакции найдены верно.
3. 1 участок.
Н;
![]()
| U |
0 |
217 |
| Mx |
0 |
5,85 |
2 участок.
Н;
![]()
| U |
0 |
217 |
| Mx |
5,85 |
0 |
4. Строим эпюры от действия изгибающих сил и моментов (рис. 5.2).
5. Условие прочности при выборе размеров прямоугольного сечения:
, (4.19)
где
– моменты по оси x
и y
соответственно в наиболее опасном сечении,
– осевые моменты сопротивления изгибу.
Из условия прочности (5.19) определяем
:
; (4.20)
;
. (4.21)
Так как в нашем случае вид нагружения – прямой поперечный изгиб, то
, т.е.:
;
мм.

Рис. 5.2. Эпюра сил и моментов от действия сил
Минимально необходимая толщина крышки, которая необходима для выполнения условия прочности 1,95 мм. Из конструктивных соображений принимаем окончательную толщину 10 мм.
5. Разработка технологической карты
Технологический процесс восстановления гильзы сводится к растачиванию гильзы (для восстановления геометрии внутренней поверхности цилиндра), гальваномеханическому процессу нанесения покрытий (декапирование 15…85 с, нанесение покрытия с выходом на режим в течение 8…10 мин, с плавным увеличением плотности тока до оптимального), последующей промывке детали в проточной воде, их нейтрализации и ополаскиванию.
Таким образом для восстановления внутренней поверхности гильзы Д-240 необходимо провести операции:
– растачивание на станке 278Н;
– электрохимическое хонингование на станке 3Б833;
– промывка детали.
5.1 Расточка гильзы
Число проходов [11]:
, (5.1)
где h – припуск на обработку, мм (h = 0,2);
t – глубина резания, мм (t = 0,2);
.
Выбираем значение подачи [11]:
S = 0,3 мм/об.
Скорость резания [11]:
Vp = 65 м/мин.
Определяем число оборотов, об/мин [11]:
, (5.2)
где D – диаметр детали, мм;
![]()
Из технического паспорта станка выбираем обороты меньшие расчетных nф = 160 об/мин.
Фактическая скорость резания с учетом выбранной частоты вращения:
м/мин (5.3)
Основное время, мин [10]:
(5.4)
где l – длина обрабатываемой поверхности детали, мм;
у – величина врезания и перебега режущего инструмента, мм.
мин
Вспомогательное время [11]:
Твсп = 2,9 + 0,5 = 3,4 мин (5.5)
Дополнительное время [11]:
(5.6)
где Топ = То + Твсп – оперативное время, мин;
Кдоп – процентное отношение дополнительного времени к оперативному (для расточки Кдоп = 7)
![]()
Штучное время, мин [11]:
Тшт = То + Твсп +Тдоп = 5,21 + 3,4 + 0,6 =9,21 (5.7)
Подготовительно-заключительное время [10]:
Тпз = 9 мин
Норма времени, мин [11]:
(5.8)
где
– количество деталей в партии, шт. [11].
где К= 0,04…0,25 – показатель эффективности использования оборудования. Принимаем К = 0,2.
5.2 Гальваномеханическое хромирование гильзы
Гальваномеханическое хромирование представляет собой разновидность электрохимического хонингования.
Параметры хонингования выбираются экспериментально [7]:
i = 1;
значение подачи: S = 10 мм/об;
число оборотов: n = 400 об/мин.
Фактическая скорость резания с учетом выбранной частоты вращения:
м/мин
Основное время будет равно продолжительности осаждения покрытия, которое уже определялось в пункте 4.3. Для толщины покрытия 0,3 мм продолжительность осаждения 32,5 мин
То = 32,5 мин
Вспомогательное время:
Твсп = 1 + 0,6 = 1,6 мин.
Дополнительное время:
Для хонингования Кдоп = 9
мин.
Штучное время:
Тшт = 32,5 + 1,6 + 3,07 = 37,17 мин.
Подготовительно-заключительное время:
Тпз = 7 мин
шт.
Принимаем nшт = 2 шт.
Норма времени для расточки, мин:
мин.
Норма времени для хонингования, мин:
мин.
5.3 Промывка гильзы
Промывают гильзы в проточной воде, затем сушат в сушильном шкафу (t = 200
С,
= 10 мин).
Технологическая карта восстановления гильзы цилиндра двигателя Д-240 представлена 8-ым листом графической части.
6. Охрана труда
гильза цилиндр гальваномеханический восстановление
6.1 Меры безопасности при ремонте гильз ДВС
Безопасность жизнедеятельности – это комплекс мероприятий по обеспечению по обеспечению безопасности жизненной деятельности человека в условиях производства. Охрана труда, является важнейшим разделом в безопасности жизнедеятельности. Охрана труда – это система законодательных актов, социально-экономических, организационных, технических, гигиенических и лечебно-профилактических мероприятий и средств, обеспечивающих безопасность, сохранение здоровья и работоспособность человека в процессе труда [13]
При работе на станках рабочие подвергаются различным опасным и вредным факторам. Так как эти факторы непосредственно влияют на безопасность жизнедеятельности при восстановлении гильз двигателей, то необходимо разработать ряд мероприятий по предотвращению их вредного воздействия.
6.1.1 Общие вопросы безопасности труда
Создание безопасных и здоровых условий труда на каждом рабочем месте является главной задачей всех руководящих и инженерно-технических работников сельскохозяйственных предприятий. Администрация обязана соблюдать требования государственных стандартов, норм и правил по охране труда, осуществлять мероприятия по технике безопасности и производственной санитарии, принимать необходимые меры по предупреждению несчастных случаев.
Важнейшее значение имеет обучение работающих безопасности труда, которое осуществляется в соответствии с ГОСТ 12.0.004–90 на всех предприятиях и в организациях, независимо от степени опасности. Вновь принятых или меняющих работу рабочих должны обучать в учебных мастерских (в цехах, на участках) безопасным приёмам работы инструкторы, на рабочем месте – высококвалифицированный рабочий, бригадир, мастер, имеющий соответствующую подготовку. Производственное обучение производится с помощью инструктажей.
Различают следующие виды инструктажа:
1) вводной инструктаж (его проводит инженер по охране труда со всеми приглашаемыми на работу);
2) первичный инструктаж (на рабочем месте до начала производственной деятельности);
3) повторный инструктаж (со всеми рабочими по безопасным приёмам и методам работы);
4) внеплановый инструктаж (в случаях введения новых или переработки стандартов, правил, инструкций, замены оборудования инструмента и т.п., при аварии, травме, пожаре, перерыве в работе более 30 календарных дней;
5) целевой инструктаж (при выполнении разовых работ, ликвидации аварий, бедствий, катастроф) [13].
6.1.2 Мероприятия по обеспечению нормальных санитарно-технических условий
В процессе труда человек вступает во взаимодействие с предметами, орудиями труда и другими людьми. Кроме того, на него воздействуют различные факторы производственной обстановки, в которой протекает труд. Все это в совокупности характеризует определенные условия труда человека. От условий труда в большей степени зависят здоровье и работоспособность человека, его отношение к труду и его результаты, поэтому улучшение условий труда придает очень большое значение.
Если системами, противодействующими воздействиям вредных факторов на организм, не обеспечиваются нормативные параметры вредных выделений в рабочей зоне, то необходимо выдавать рабочим средства индивидуальной защиты.
Многие производственные процессы сопровождаются выделением в воздух рабочей зоны различного рода загрязнений и тепловых излучений. Вредные вещества проникают в организм человека главным образом через дыхательные пути, а также через кожные покровы и слизистые оболочки.
Для защиты органов дыхания от вредных газов и паров, присутствующих в воздухе в концентрациях, не превышающих ПДК более чем в 15 раз, рекомендуется противогазовый респиратор РПГ-67.
Глаза необходимо защищать при работе с концентрированными химическими веществами, а также при эксплуатации шлифовального и полировального оборудования. Для защиты глаз пригодны полузакрытые или герметичные очки с обыкновенными или коррегирующими бесцветными безосколочными стеклами. Для защиты глаз от пыли и брызг едких жидкостей рекомендуются очки типа ЗПС-80, ЗП2–80, ЗПЗ-80. [15]
Огромное значение для нормализации воздушной среды при восстановлении гильз имеет вентиляция, с помощью которой можно достичь удаления загрязненного или нагретого воздуха из помещений и подачей в него свежего воздуха.
В зависимости от способа перемещения воздуха различают вентиляцию естественную и механическую.
При естественной вентиляции воздух поступает и удаляется через щели, окна, двери и т.п. Если перемещение воздуха производят с помощью вентиляторов, то такую вентиляцию называют механической. В зависимости от направления потока воздуха вентиляция бывает приточной и вытяжной. По зоне действия различают общеобменную, местную и смешанную вентиляции.
Местную механическую вентиляцию проектируют в случае фиксированных мест вредных выделений в конструкции оборудования или технологического процесса. У гальванических ванн, абразивно-заточного и другого оборудования, имеющего места интенсивного вредного выделения, проектируют зонты, бортовые, щелевые и другие устройства для их местного удаления. Кроме того, в помещениях с таким оборудованием проектируют общеобменную вентиляцию, чтобы уменьшить концентрацию загрязнений в окружающем воздухе.
Правильное проектирование и рационально выполненное освещение помещений на предприятии оказывает положительное влияние на работающих, способствует повышению качества продукции, благоприятствует более высокой производительности труда, обеспечению его безопасности, снижает утомляемость и травматизм на производстве, сохраняет высокую трудоспособность в процессе труда.
Учитывая это, рационально использовать смешанное освещение, в котором будет сочетаться естественное, а именно боковое односторонне освещение и искусственное (рабочее) освещение.
К рациональному освещению будут предъявляться следующие требования: соблюдение норматива освещенности, равномерное распределение светильников; в поле зрения не должна быть прямой и отраженной блеклости. Нормы освещенности для различных помещений ремонтных предприятий указаны в справочной литературе [14].
Большое влияние на самочувствие работающих оказывает шум, создаваемый оборудованием. Сильный шум вызывает перегрузку слухового аппарата, слуховое утомление, понижает внимание, воздействует на элемент центральной нервной системы, что может содействовать возникновению несчастного случая.
Причиной возникновения шума является вибрация. Для снижения вибрации, воздействующей на работающих, применяют следующие методы: ослабление вибрации в источнике, применение средств виброзащиты; расположение станков на 1-м этаже помещения, на отдельных фундаментальных плитах; применение амортизаторов (резиновой прокладки).
Одним из важнейших мероприятий является соблюдение требований техники безопасности рабочими при работе на станках: чистку, смазку, регулировку механизмов и установку деталей производить при остановленном станке с выключенным электродвигателем; измерения и другие рабочие приемы производить только при остановленном станке; запрещается работать на неисправном станке и т.д.
6.1.3 Мероприятия по обеспечению безопасности оборудования
Основными техническими средствами охраны труда являются защитные устройства.
Для предотвращения захвата, удара рабочими механизмами все виды передач различных станков и установок, используемых при восстановлении гильз должны иметь оградительные устройства – кожухи, щиты, экраны, козырьки, планки, барьеры (сплошные и сетчатые). Кроме того применяют: блокировочные устройства (механические, электронные, электрические, пневматические, гидравлические), устройства, к которым относятся системы защиты от поражения электрическим током, устройства сигнализации.
Для безопасности эксплуатации при нормальном режиме работы электроустановок необходимо обеспечить защитное заземление.
При обнаружении нагрева трущихся деталей, появлении гари или дыма станок нужно немедленно остановить и приступить к тушению пожара имеющимися средствами, вызвать пожарную команду. Загоревшийся двигатель или электропроводку необходимо тушить сухим песком или огнетушителем (углекислотным или порошковым). При значительном распространении пожара, когда его нельзя ликвидировать имеющимися на участке средствами, рабочие будут эвакуироваться через заранее предусмотренное необходимое количество дверей [14].
6.2 Безопасность труда при восстановлении гильз гальваномеханическим способом, предложенным в конструктивной разработке
В конструктивной разработке данного дипломного проекта предложено приспособление для восстановления внутренней поверхности гильз цилиндров двигателей гальваномеханическим способом. Характерной особенностью является использование разнообразных химических веществ. Работа с такими веществами создает опасность отравлений, ожогов и профессиональных заболеваний.
Вдыхание вредных веществ приводит к поражению верхних дыхательных путей и общетоксичному воздействию. Попадание кислот и щелочей на кожу может вызвать раздражение или ожог.
Наряду с химическими опасными и вредными факторами технологический процесс гальваномеханического железнения характеризуется и физическими факторами: шумом, вибрацией и др.
При восстановлении гильз гальваническими покрытиями одним из основных факторов является локальное выделение вредных веществ. Поэтому для вентиляции необходимо применять систему местной вытяжной вентиляции, не объединенной с вентиляционными системами других помещений.
Для местной вентиляции будем использовать вытяжной зонт. Размеры зонта:
![]()
м;
м;
м;
;
мм.
Размеры
,
, Н
назначаются из конструктивных соображений.
Требуемую производительность отсоса, обеспечивающая оптимальную эффективность улавливания, находим по формуле:
,
где
– предельная производительность отсоса, характеризующая полное улавливание струи;
– коэффициент, характеризующий улавливание вредных веществ. Находят по графику в зависимости от содержания вредных веществ в приточном и вытяжном воздухе (
=1,3).
Относительный предельный расход отсоса [15]:
;
где
– расход воздуха в струе.
м3
/с;
м3
/с.
Скорость истечения загрязненной приточной струи:
м/с,
где Q – производительность источника по теплоте, Вт.
м3
/с
Производительность отсоса:
м3
/с=3664,44 м3
/ч
Принимаем вентилятор ВОК – 4,0 производительностью 4500 м3 /ч, мощность электродвигателя 180 Вт.
Схема местной вытяжной вентиляции представлена в приложении 3.
Отсасываемый от оборудования и помещений загрязненный воздух должен компенсироваться поступлением такого же количества чистого воздуха. По объему отсасываемого и нагнетаемого воздуха и по производительности выпускаемых вентиляторов рассчитывают необходимое количество вентиляционных агрегатов.
Для очистки загрязненного воздуха, удаляемого вентиляторами, предусматривают специальные очистные устройства.
6.3 Обеспечение пожарной безопасности при восстановлении гильз
При восстановлении гильз могут возникнуть различные опасности в пожарном отношении. По технологии ремонта здесь используется открытый огонь при сварке; электрооборудование, склонное к воспламенению; легко воспламеняющиеся жидкости.
Опасными и вредными факторами пожара (ОФП), воздействующими на людей, являются: открытый огонь, повышенная температура окружающей среды и предметов, токсические продукты горения, дым, пониженная концентрация кислорода, падающие части строительных конструкций; при взрыве – ударная волна, разлетающиеся части и вредные вещества.
Участки, цехи, склады группируют по признакам пожарной опасности. Кузнечные, сварочные, термические, окрасочные разделяют несгораемыми стенами, перегородками и перекрытиями.
В ремонтных мастерских необходим один пожарный щит типа ЩП-СХ возле наиболее пожароопасного места где производятся сварочные работы. В других менее опасных местах устанавливается по одному порошковому огнетушителю вместимостью 5 л [13].
В разделе безопасности жизнедеятельности дипломного проекта представлен анализ общих вопросов охраны труда, рассмотрены основные вредные факторы, возникающие в процессе ремонта и их влияние на организм человека, предложены мероприятия для обеспечения нормальных условий труда.
Для обеспечения безопасности оборудования предложены защитные и огорадительные устройства, чтобы исключить поражение электрическим током необходимо применение заземляющих устройств.
При соблюдении правил безопасности возникновение несчастных случаев на производстве будет минимальным.
7. Экономическое обоснование проекта
7.1 Определение экономической эффективности конструкторской разработки
Для оценки экономической эффективности конструкторской разработки необходимо рассчитать затраты на изготовление конструкции и ее балансовую стоимость, себестоимость единицы ремонтной продукции, удельные капитальные вложения и удельные приведенные затраты, коэффициент потенциального резерва эффективности конструкции, показатели снижения трудоемкости и роста производительности труда, срок окупаемости дополнительных капитальных вложений, годовую экономию или дополнительную прибыль.
7.1.1 Затраты на изготовление приспособления [16]
Ск = См + Сп.л. + Сз.п. + Со.п. (7.1)
где См – стоимость материалов (основных и вспомогательных), применяемых при изготовлении конструкции, руб.;
Сп.д. – стоимость покупных деталей, узлов, агрегатов, руб.;
Сз.п. – заработная плата с отчислениями производственных рабочих, занятых изготовлением и сборкой конструкции, руб.;
Со.п. – общепроизводственные (цеховые) накладные расходы, руб.
1. Стоимость основных материалов определяется по выражению [7]:
См
=
, (7.2)
где Mi – масса израсходованного материала i – го вида, руб.;
Цi – цена одного килограмма материала 1-го вида, руб.;
Масса материала М (по видам) определяется по формуле [16];
(7.3)
где Мг – масса готовой детали, кг;
А и n – постоянные зависящие от вида материала детали, способов и методов ее изготовления, наличия механической обработки и т.д. ([16], приложение 1, 2).
Уровень цен принимается по фактическим затратам на их приобретение и доставку на ремонтное предприятие.
М1 – масса двух ванн, кг;
М2 – масса опорной плиты, кг;
М3 – масса корпуса, кг;
М4 – масса двух призм, кг;
М5 – масса валов, кг;
М6 – масса крышки шестерен, кг;
М1 = 1,68 ∙ 340,94 = 46,23 кг.
М2 = 1,18 ∙ 150,96 = 15,88 кг.
М3 = 1,68 ∙ 70,94 = 10,46 кг.
М4 = 1,68 ∙ 4,80,94 = 7,34 кг.
М5 = 1,2 ∙ 2,60,98 = 3,06 кг.
М6 = 1,18 ∙ 1,320,96 = 1,54 кг.
ΣМi = М1 + М2 + М3 + М4 + М5 + М6 (7.4)
ΣMi = 46,23 + 15,88 + 10,46 + 7,34 + 1,54 =81,45 кг.
Все детали конструкции кроме валов изготовлены из стали Ст3. Цена стали Ст 3 – 15 руб./кг. Валы изготовлены из стали 20. Цена – 18 руб./кг.
См = 81,45 ∙ 15 + 3,06 ∙ 18 = 1276,83 руб.
2. Стоимость покупных деталей (Сп.д. ) узлов и агрегатов по ценам их приобретения с учетом затрат на их доставку составляет 3670 руб.
Покупные детали: Насос НШ-10 – 495 руб.
Насос НШ-50 – 850 руб.
Трубопровод – 320 руб.
Регулятор температуры – 1905 руб.
Доставка: 100 руб.
3. Заработная плата производственных рабочих, занятых на сборке конструкции и изготовлении деталей к ней (Сз.п. ), рассчитывается по формуле [16]:
Сз.п. = Со.з.п. + Сд.з.п + Ссоц (7.5)
где Со.з.п. - основная заработная плата, руб.;
Сд.з.п. - дополнительная заработная плата, руб.,
Ссоц – отчисления на социальные нужды, руб.
Основная заработная плата определяется произведением:
Со.з.п. = (Тиз + Тсб ) ∙ Сч (7.6)
где Тиз – трудоемкость изготовления элементов изделия, чел.-ч;
Тсб – трудоемкость сборки, чел.-ч:
Сч – часовая тарифная ставка рабочих, исчисляемая по среднему
разряду, руб. Сч = 50 руб.
Трудоемкость изготовления элементов изделия определяется на основе пооперационных расчетов. Примерная трудоемкость изготовления некоторых деталей приведена в приложениях 3 [16].
Тиз = 10,2 ч.
Трудоемкость сборки конструкции (Тсб ) определяется по выражению:
Тсб
= Кс
∙
(7.7)
где Кс – коэффициент, учитывающий соотношения между полным и оперативным временем сборки (принимаем равным 1,08):
– трудоемкость сборки отдельных элементов конструкции.
(Приложение 4) [16].
Σtc 6 = 6t1 + 14t2 + 2t3 +2t4 + 3t5 (7.8)
где t1 – трудоемкость завертывания винта, чел.-ч.;
t2 – трудоемкость завертывания болта, чел.-ч.;
t3 – запрессовка втулки, чел.-ч.;
t4 – пригонка шпонки к валу, чел.-ч.;
t5 – установка шестерни и муфты на вал, чел.-ч.;
Σt сб = 6 ∙ 0,008 + 14 ∙ 0,01 + 2 ∙ 0,03 + 2 ∙ 0,45 + 3 ∙ 0,033 = 1,247 чел.-ч.
Тсб = 1,08 ∙ 1,247 = 1,35 чел.-ч.
Со.з.п. = (1,35+10,2) ∙ 50 = 577,5 руб.
Дополнительную заработную плату можно принять в размере 5… 12% от основной [16]:
(7.9)
руб.
Отчисления на социальные нужды определяются по формуле [7]:
Ссоц = Кот ∙ (Со.з.п. + Сд.з.п. ) (7.10)
где Кот – коэффициент отчислений. Кот =0,395.
Ссоц = 0,395 ∙ (577,5 + 57,5) = 250,83 руб.
Сз.п. = 577,5 + 57,5 + 250,83 = 885,83 руб.
4. Общепроизводственные расходы определяем по формуле [16]:
(7.11)
где Roп – процент общепроизводственных расходов, Roп = 3,8%.
руб.
Ск = 1276,83 + 3670 + 885,83 + 21,95 = 5854,61 руб.
7.1.2 Балансовая стоимость конструкции
Для определения балансовой стоимости конструкции (Бк ) к затратам на ее изготовление добавляются расходы на транспортировку, доставку и монтаж в размере 10… 12% при предположении этих расходов [16].
руб. (7.12)
Бк = Ск + Соп =5854,61 + 644 = 6498,61 руб.
7.1.3 Себестоимость ремонта единицы ремонтной продукции
По сравнительным вариантам (базовому и проектируемому) определяем себестоимость ремонта единицы ремонтной продукции.
1. Полная заработная плата , рабочих занятых на этой конструкции рассчитывается по формуле [16]:
Сз.п. = Со.з.п. + Сд.з.п. + Ссоц (7.13)
где Со.з.п. – основная заработная плата, руб.
Сд.з.п. – дополнительная заработная плата, руб.:
Ссоц – отчисления на социальные нужды, руб.
Основная заработная плата определяется по формуле [16]:
(7.14)
где Счi – часовая тарифная ставка i – го разряда, pуб. Счi = 34 руб. (3 разряд);
Лi – количество работников, оплачиваемых по i-му разряду, чел.
Лi = 1.
γ – ритм выполнения операции, шт./ч.
Величина γ рассчитывается по формуле [16]:
(7.15)
где Л – количество рабочих в операции; чел.;
Туд – трудоемкость единицы ремонтной продукции (работы.), чел.-ч/шт.
Туд п = 1,132 чел.-ч/шт. – для проектируемого варианта
Туд б = 2,218 чел. ч/шт. – для базового варианта
![]()
![]()
руб.
руб.
Дополнительную оплату труда (Сд.з.п. ) и отчисления на социальные нужды (Ссоц ) рассчитываем по методике, изложенной в пункте 7.1.1.
руб.
руб.
Ссоц п = 0,395 ∙ (38,5 + 3,85) = 16,73 руб.
Ссоц б = 0,395 ∙ (73,4 + 7,34) = 31,89 руб.
Сз.п. п = 38,5 + 3,85 + 16,73 = 59,08 руб.
Сз.п. б = 73,4 + 7,34 + 26,39 = 107,13 руб.
2. Амортизационные отчисления определяются по формуле [16]:
(7.16)
где Бк – балансовая стоимость конструкции (оборудования), руб.;
а – норма амортизации, %;
Q – годовой объем работ на данной операции, шт.
руб./шт.
3. Затраты на ремонт и техническое обслуживание подсчитываем аналогично амортизационным отчислениям [16]:
(7.17)
где r – норма отчислений на ремонт и техническое обслуживание, %
(r = 6,5…10%) [9].
руб./шт.
4. Стоимость ремонтных материалов (Ср ), электроэнергии (Сэ ), вспомогательных материалов (Св ) определяют исходя из существующих на них цен и норм расхода на единицу объема ремонтной продукции.
Стоимость электроэнергии [16]:
(7.18)
где Кс – коэффициент спроса. Кс = 0,6;
Ру – мощность установки по электродвигателю. Ру = 2,8 кВт;
С – стоимость 1 кВт∙ч. С = 0,8 руб.;
Фоб – годовой фонд времени оборудования, ч. Фоб = 1706 ч.
руб./шт.
При ремонте используются ремонтный и вспомогательный материал стоимостью: Ср = 15 и Св = 30.
Себестоимость единицы ремонтных работ определяем, как сумму найденных слагаемых по вариантам [16]:
И = Сз.п. + А + Р + Сэ + Ср + Св (7.19)
Ип = 59,08 + 0,26 + 0,394 + 1,638 + 15 + 30 = 106,372 руб.
Иб = 107,13 + 0,26 + 0,394 + 1,638 + 15 + 30 = 154,422 руб.
7.1.4 Удельные капитальные вложения
Удельные капитальные вложения определяются по сравнительным вариантам удельных капитальных вложений [16]:
(7.20)
руб./шт.
![]()
7.1.5 Удельные приведенные затраты
Удельные приведенные затраты рассчитываются по формуле [9]:
(7.21)
где Ен – нормативный коэффициент эффективности капиталовложений
(Ен = 0,12) [16].
руб./шт.
руб./шт.
7.1.6 Показатель снижения трудоемкости, % [16]:
(7.22)
%
7.1.7 Показатель роста производительности труда, в разах [16]:
(7.23)
![]()
7.1.8 Срок окупаемости дополнительных капитальных вложений, лет [16]:
(7.24)
где Цп н Цб – новая и старая отпускная цена. В нашем случае равны.
г.
7.1.9 Дополнительная прибыль рассчитывается по формуле [16]:
П = [(Иб
– Ип
) – (Цп
– Цб
)/m] ∙ Qп
(7.25)
П = (154,422 – 106,372) ∙ 1400 = 67270 руб.
Результаты расчета заносятся в таблицу 7.1.
Внедрение данной конструкторской разработки возможно и целесообразно, так как трудоемкость восстановления внутренней поверхности гильзы снизится на 48,9%, что является очень высоким показателем. Производительность труда возрастает почти в 2 раза. Дополнительная прибыль в год составит 67270 руб.
Показатели экономической эффективности разработки
| Наименование показателя |
Исходный вариант |
Проектируемый вариант |
| Балансовая стоимость, руб. |
- |
6498,61 |
| Годовой объем ремонтных работ, шт. |
1400 / J |
1400 |
| Трудоемкость единицы объема работ, чел.-ч/шт. |
2,218 |
1,132 |
| Показатель снижения трудоемкости, % |
- |
48,9 |
| Показатель роста производительности труда, раз. |
- |
1,96 |
| Себестоимость единицы объема работ, руб./шт. |
154,42 |
106,37 |
| Удельные капитальные вложения, руб./шт. |
- |
4,64 |
| Годовая экономия от снижения себестоимости (или дополнительная прибыль), руб. |
- |
67270 |
| Удельные приведенные затраты, руб./шт. |
154,42 |
106,93 |
| Ритм операции, шт./ч. |
0,451 |
0,833 |
| Срок окупаемости дополнительных капитальных вложений, лет. |
- |
0,1 |
7.2 Технико-экономическая оценка проекта
Экономическая оценка проектных решений по совершенствованию технологии и организации производственного процесса проводится на основе сравнения показателей стоимости восстановления внутренней поверхности гильзы цилиндра двигателя Д-240 гальваномеханическим способом в случае износа гильзы до размеров, превышающих ремонтные и стоимостью новой гильзы.
7.2.1 Себестоимость восстановления гильзы
Себестоимость расточки гильзы
Себестоимость восстановления гильзы с учетом балансовой стоимости конструктивной разработки была посчитана в пункте 7.1.3. Но для анализа экономической эффективности необходимо знать себестоимость ремонта с учетом балансовых стоимостей всего оборудования, поэтому к себестоимости восстановления из пункта 7.1.3. прибавляются амортизационные отчисления и затраты на ремонт расточного станка модели 278.
1. Амортизационные отчисления определяются по формуле [16]:
(7.26)
где Бк – балансовая стоимость станка модели 278, руб.;
а – норма амортизации, %;
Q – годовой объем работ на данной операции, шт.
руб./шт.
2. Затраты на ремонт и техническое обслуживание подсчитываем аналогично амортизационным отчислениям [16]:
(7.27)
где r – норма отчислений на ремонт и техническое обслуживание, %
(r = 6,5…10%) [16].
руб./шт.
7.2.2 Себестоимость гальваномеханического нанесения покрытия гильзы
1. Полная заработная плата , рабочих занятых на восстановлении гильзы [16]:
Сз.п. = Со.з.п. + Сд.з.п. + Ссоц (7.28)
где Со.з.п. – основная заработная плата, руб.
Сд.з.п. – дополнительная заработная плата, руб.:
Ссоц – отчисления на социальные нужды, руб.
Основная заработная плата определяется по формуле [16]:
(7.29)
где Счi – часовая тарифная ставка i – го разряда, pуб. Счi = 34 руб. (3 разряд);
Лi – количество работников, оплачиваемых по i-му разряду, чел.
Лi = 1.
γ – ритм выполнения операции, шт./ч.
Величина γ рассчитывается по формуле [16]:
(7.30)
где Л – количество рабочих в операции; чел.;
Туд – трудоемкость единицы ремонтной продукции (работы.), чел.-ч/шт.
Туд п = 1,132 чел.-ч/шт.
![]()
руб.
Дополнительную оплату труда (Сд.з.п. ) и отчисления на социальные нужды (Ссоц ) рассчитываем по методике, изложенной в пункте 4.5.1.
руб.
Ссоц = 0,395 ∙ (38,5 + 3,85) = 16,73 руб.
Сз.п. = 38,5 + 3,85 + 16,73 = 59,08 руб.
2. Амортизационные отчисления определяются по формуле [16]:
(7.31)
где Бк – балансовая стоимость хонинговального станка 3Б833, руб.;
а – норма амортизации, %;
Q – годовой объем работ на данной операции, шт.
руб./шт.
3. Затраты на ремонт и техническое обслуживание подсчитываем аналогично амортизационным отчислениям [16]:
(7.32)
где r – норма отчислений на ремонт и техническое обслуживание, %
(r = 6,5…10%) [7].
руб./шт.
Стоимость ремонтных материалов (Ср ), электроэнергии (Сэ ), вспомогательных материалов (Св ) определяют исходя из существующих на них цен и норм расхода на единицу объема ремонтной продукции.
Стоимость электроэнергии [16]:
(7.33)
где Кс – коэффициент спроса. Кс = 0,6;
Ру – мощность установки по электродвигателю. Ру = 2,8 кВт;
С – стоимость 1 кВт∙ч. С = 0,8 руб.;
Фоб – годовой фонд времени оборудования, ч. Фоб = 1706 ч.
руб./шт.
При ремонте используются ремонтный и вспомогательный материал стоимостью: Ср = 15 и Св = 30.
Таким образом полная себестоимость восстановления гильзы будет находиться по формуле [16]:
И = Сз.п. + А + Р + Сэ + Ср + Св (7.34)
И = 59,08 + 11,08 + 16,28 + 1,64 + 30 + 15 = 133,08 руб.
7.3 Анализ экономической эффективности проекта
Для того чтобы оценить эффективность восстановления необходимо знать стоимость гильзы. Гильза двигателя Д-240 стоит в среднем 250 руб. Тогда можно сравнить стоимость новой гильзы и затраты на восстановление и определить, имеет ли смысл восстанавливать гильзы гальваномеханическим способом.
Прибыль от восстановления одной гильзы составляет:
Пц = Инц – Иц = 300 – 133,08 = 116,92 руб. (7.35)
Следовательно, годовая прибыль составляет:
Пгц = Пц ∙ Q = 116,92 ∙ 1400 = 163688 руб. (7.36)
Сделав расчеты по нахождению себестоимостей ремонта гильзы при программе 1400 штук в год и сравнив их с ценами новых можно сделать вывод, что предложенная технология восстановления гильз с внедрением конструкторской разработки будет выгодной. Прибыль в этом случае будет составлять 163688 руб. в год.
Заключение
В дипломном проекте рассмотрены различные виды гильз, рассмотрены их особенности, их роль в цилиндре двигателя. Указаны основные дефекты гильз, факторы, влияющие на появление различных дефектов.
Рассмотрены различные технологии восстановления гильз двигателей. Из них была выбрана технология восстановления гильз гальваномеханическим способом, как наиболее простой и экономически эффективный способ ремонта гильз.
Было предложено приспособление для восстановления гильз гальваномеханическим способом на хонинговальном станке 3Б833, что позволит восстанавливать гильзы без приобретения дорогостоящего оборудования.
При выполнении дипломного проекта также уделено внимание вопросам охраны труда. Был сделан анализ основных вредных факторов, которые могут возникнуть при восстановлении гильз двигателей, а также проведен расчет местной вытяжной вентиляции для удаления вредных газов при гальваномеханическом нанесении покрытий.
При экономическом анализе было подтверждено, что применение приспособления экономически оправдано, так как себестоимость восстановления гильзы намного ниже цены новой гильзы. Годовая прибыль при восстановлении составит 163688 рублей в год.
Список использованной литературы
1. Хрулев А.Э. Ремонт двигателей зарубежных автомобилей. Производственно-практ. издание – М.: Издательство «За рулем», 2005.
2. spb.motor.ru – Мотор технологии
3. Н.С. Ждановский, А.В. Николаенко. Надежность и долговечность автотракторных двигателей. – М.: КолосС, 2001.
4. Дюмин, И.Е. Повышение эффективности ремонта автомобильных двигателей. – М.: Транспорт, 1999.
5. А. Хасуи, О. Моригаки. Наплавка и напыление. Пер. с яп. В.Н. Попова, под ред. В.С. Степина, Н.Г. Шестеркина. – М.: Машиностроение, 1985.
6. Черемпей В.А., Петров Ю.Н., Корнейчук Н.И. Особенности гальваномеханического хромирования. – М.: МДНТП, 2001.
7. Яниогло Ф.П. Конструктивные особенности установки для гальваномеханического осаждения покрытий. Кишинев: изд. КСХИ, 1983.
8. Гальванические покрытия в машиностроении. Справочник. В 2-х томах. Под ред. М.А. Шлугера. – М.: Машиностроение, 2003.
9. Некрасов С.С. Обработка материалов резанием. – М.: Агропромиздат, 1998.
10. Дарко А.В., Шпиро Р.С. Сопротивление материалов: 5-ое издание. М.: Высшая школа, 1989.
11. Матвеев В.А., Пустовалов И.И. Техническое нормирование ремонтных работ в сельском хозяйстве. – М.: Колос, 1979.
12. Основы технологии производства и ремонта автомобилей: Метод. указания. Сост. А.Д. Полканов, Вологда: ВоГТУ, 2003 г.
13. Шкрабак В.С., Луковников А.В., Тургиев А.К. Безопасность жизнедеятельности в сельскохозяйственном производстве. – М.: КолосС, 2004.
14. Северный А.Е., Колчин А.В., Буренко Л.А., Валяев В.М. Обеспечение безопасности при техническом сервисе сельскохозяйственной техники. – М.: ФГНУ «Росинформагротех», 2001.
15. Зотов Б.И., Курдюмов В.И. Безопасность жизнедеятельности на производстве. – 2-е изд., перераб. и доп. – М.: КолосС, 2004.
16. В.В. Лебедянцев. Экономическая оценка эффективности мероприятий по совершенствованию ремонтно-обслуживающего производства в агропромышленном комплексе. – Издательский центр ОГАУ, 2002.
Похожие рефераты:
Разработка технологического процесса ремонта цилиндрической крышки дизеля ПД-1М
Технология обработки конструкционных материалов
Проектирование цеха ремонта поршневых компрессоров
Организация поста технического обслуживания и ремонта карбюраторов двигателей легковых автомобилей
Испытательная станция турбовинтовых двигателей ТВ3–117 ВМА–СБМ1 серийного производства
Модернизация двигателя мощностью 440 квт с целью повышения их технико-экономических показателей
Усовершенствование технологического процесса механической обработки детали "Стакан"
Устройство и принцип работы автомобиля ЗиЛ-130
Анализ эффективности работы двигателя внутреннего сгорания
Полные ответы на билеты по автоделу (экзамен 2002)
Соединения деталей и узлов машин
Технология электроосаждения цинкового покрытия
Разработка участка обкатки и испытания автомобильных двигателей внутреннего сгорания