| Похожие рефераты | Скачать .docx |
Курсовая работа: Расчетная часть механического оборудования предприятий общественного питания
Федеральное агентство по образованию
Пензенская государственная технологическая академия
Факультет институт промышленных технологий
Кафедра «Пищевые производства»
Дисциплина «Оборудование предприятий общественного питания»
Курсовой проект
На тему
«Расчетная часть механического оборудованияпредприятий общественного питания»
Выполнил: студент группы 06ТП1
Ласкеева Светлана Александровна
Руководитель: Новикова Алла Валентиновна
Пенза, 2010г.
Содержание
Введение
1. Характеристика технологического процесса
2. Анализ конструкций
3. Расчетная часть
3.1 Расчет производительности
3.2 Расчет мощности электродвигателя
4. Монтаж и ремонт оборудования.
5. Правила эксплуатации оборудования
Заключение
Литература
Введение
Эффективная работа производства предприятия питания зависит не только от того, какое оборудование там установлено, но и от многих других его показателей: соответствия потребностям заведения, профессионального монтажа, удобства в обслуживании, чёткого соблюдения правил эксплуатации, бережного обращения и др.
Для того, чтобы максимально облегчить повседневный труд поваров, значительно повысить производительность труда, уменьшить травматизм на рабочем месте на предприятиях питания применяются машины и механизмы, т.е. механическое оборудование. Механическое оборудование, применяемое на предприятиях питания, относится к классу технологических машин, предназначенных для первичной обработки продуктов и приготовления полуфабрикатов.
Спрос на механическое оборудование постоянно растёт за счёт открытия новых предприятий общественного питания. Устойчивым спросом пользуется очистительное оборудование, предназначенное для удаления с продуктов поверхностного слоя с пониженной пищевой ценностью слоя (кожицы с овощей и фруктов, чешуи с рыбы и др.). Широко используются машины для очистки корнеплодов. Поскольку из овощей, подвергающихся очистке, наибольший удельный вес приходится на картофель, машины для очистки картофеля носят название картофелеочистительных машин (картофелечисток), хотя на них могут очищаться и корнеплоды.
Как правило, степень механизации процессов первичной обработки овощей зависит от мощности предприятия. На предприятиях питания малой и средней мощности в овощных цехах устанавливаются картофелечистки периодического действия. Машин для очистки овощей выпускают много, ведь очистка картофеля может производиться термическим, химическим и механическим способами. Но сегодня разговор только о механическом способе и, соответственно, о механических овощечистках.
В данном курсовом проекте мною будет сделан расчет картофелечистки дискового типа, производительностью 50 кг/ч.
1.Характеристика технологического процесса
На предприятиях питания первичная обработка овощей производится по следующей технологической схеме: сортировка, мытьё, очистка, доочистка, мойка и измельчение. Все перечисленные операции, выполняемые в овощных заготовочных цехах, могут быть механизированы, кроме доочистки.Как правило, степень механизации процессов первичной обработки овощей зависит от мощности предприятия.
Рассмотрим в качестве примера технологический процесс производства полуфабриката «Картофель сырой очищенный» на поточной линии с механическим способом очистки.
При переработке картофеля на поточно-механизированных линиях его сортируют и калибруют в овощехранилищах. В цех направляют только средний и крупный картофель, причем каждую партию раздельно с целью уменьшения отходов.
Перед обработкой на линии картофель рекомендуют замачивать на 2...3 ч для снижения расхода воды при последующем мытье. Целесообразно замачивать старый вялый картофель для восстановления тургора клубней и сокращения времени последующей очистки. Замачивать картофель следует в цементированных закромах-ваннах в количестве, не превышающем дневного объема переработки его на линии, или на гидротранспортерах.
Картофель подают в загрузочный бункер, откуда он поступает в вибромоечную машину.
Во избежание поломки очистительных машин картофель после моечной машины пропускают через камнеловушку. Последняя представляет собой ванну с концентрированным раствором поваренной соли (массовая доля 20 %). Проходя через камнеловушку, клубни всплывают на поверхность раствора, а камни и комья земли оседают на дно.
Из камнеловушки клубни направляют в картофелеочистительную машину периодического действия с дисковыми рабочими органами, а камни и землю периодически выгружают. Сущность механического способа очистки состоит в том, что наружный покров картофеля сдирается о шероховатую поверхность рабочего органа и стенки рабочей камеры машины. При этом между поверхностью клубня, шероховатой поверхностью рабочего инструмента и стенками рабочей камеры должно быть относительное движение. В дисковых картофелеочистительных машинах большая часть клубней располагается у стенок рабочей камеры. Если произвести разрез камеры во время обработки продукта, то расположение клубней будет иметь вид, изображенный на рис.1.

Клубни, расположенные на диске, продвигаются к стенкам и как бы выталкивают находящиеся около них клубни вверх. Этому способствуют расположенные на диске волны. Они поднимают находящийся у стенки рабочей каморы клубень, а под него попадает клубень, перемещающийся от центра диска к стенке. Попавшие в верхнее положение клубни скатываются по нижележащим в центральную часть диска. При этом вся масса клубней вращается в направлении движения диска. Каждый клубень интенсивно поворачивается вокруг своей оси тяжести, что в значительной мере способствует перемещению и равномерной очистке всех клубней. Траекторию движения отдельного клубня с некоторыми упрощениями можно описать в следующей последовательности. Клубень, упавший на центральную часть диска (положение I), начинает вращаться вместе с ним (положение II). По достижении определенной угловой скорости вращения клубень за счет центробежной силы отбрасывается на край диска (положение III). Прижимаясь к стенке рабочей камеры, клубень затормаживается, и его скорость становится меньше. Волна диска, имеющая максимальную высоту у края диска, настигает клубень, ударяет его и проворачивает. В этот момент происходит интенсивное сдирание кожицы с поверхности клубня. При этом волна сообщает клубню движение в сторону вращения диска (положение IV). Проходя под клубнем, волна поднимает его вверх. Этому способствуют также соседние клубни, находящиеся на диске. Они как бы вытесняют клубни, находящиеся у стенки. При этом они интенсивно поворачиваются, и вся масса клубней вращается (положения V—VII). Вращаясь вдоль стенки рабочей камеры, клубень теряет свою скорость и его центробежной силы оказывается недостаточно для прижатия к стенке, в результате чего клубень скатывается в центр диска. Траектория его движения направлена вниз по спирали (положение VIII). Происходит как бы закручивание верхнего слоя клубней в центральную часть диска.
Описанные траектории движения клубней являются приближенными, так как, вращаясь в общей массе, клубни сталкиваются и изменяют характер своего движения. Выявленные траектории движения клубней в дисковых картофелеочистительных машинах позволяют дать некоторые рекомендации по выбору основных параметров при конструировании этих машин.
Шероховатая поверхность картофелечисток выполняется из абразивной массы, состоящей из мелкозернистого карбида кремния и связующих - смолы и алебастра. Равномерность очистки будет зависеть от равномерности соприкосновения всей поверхности клубня с шероховатыми рабочими поверхностями машины, а также от интенсивности прижатия клубня к этим поверхностям и скорости относительного движения между ними. В то же время слишком сильное воздействие клубней на поверхности рабочего органа и стенки рабочей камеры приводит к повреждению клубней. Из таких клубней вымываются крахмальные зёрна, они быстро темнеют после обработки и их консистенция становится более мягкой. Вот это как раз и является существенным недостатком механического способа очистки. Образовавшаяся при очистке мезга смывается с клубней и абразивных поверхностей машины непрерывно поступающей водой и выводится из рабочего пространства в мезгосборник, откуда перекачивается в крахмальный агрегат.
Из картофелеочистительной машины клубни подают на конвейер ручной дочистки; отходы направляются по транспортеру для переработки на крахмал.
Дочищенные клубни картофеля для предохранения от потемнения сульфитируют, для этого их пропускают сначала через ванну с проточной водой, а затем направляют в сульфитацион-ную машину.
В сульфитационной машине клубни обрабатывают 5 мин водным раствором натрия бисульфита (натрия пиросульфита или натрия пиросернистого кислого) массовой долей 0,5... 1,0 % в пересчете на S02 .
По качеству полученный полуфабрикат должен отвечать следующим требованиям: клубни чистые, невялые, несморщенные, без остатков глазков и темных пятен различного происхождения, белого или кремового цвета. После варки они имеют консистенцию, запах и вкус, свойственные свежеочищенному картофелю в отварном виде.
Допустимый срок хранения и реализации картофеля сульфитированного: при 15... 18 °С — 24 ч, при 2...6 °С — 48 ч.
2. Анализ конструкций
В последнее время отечественная промышленность и ряд зарубежных фирм выпускают в основном дисковые картофелеочистительные машины с рабочими органами в виде металлических вращающихся дисков волнообразной формы (б), выполненных из шероховатых материалов. На поверхности имеются от двух до четырех волн, высота которых увеличивается от центра диска к его краям. Иногда волны выполняют отдельно из металла или другого материала и устанавливают на диск. Некоторые картофелеочистительные машины периодического действия отечественного и зарубежного производства (МОК – 150, МОК – 300, Lp – 90 и др.) имеют рабочие органы в виде вогнутой чаши с плавным переходом от горизонтальной поверхности к наклонной.
Конусные картофелеочистительные машины имеют рабочие органы в виде вращающихся шероховатых усеченных конусов (а). Если используется абразивный материал, конусную абразивную чашу устанавливают на металлическое основание. На нижней стороне рабочих органов картофелеочистительных машин периодического действия расположены вертикальные лопасти для удаления отходов.
В картофелеочистительных машинах непрерывного действия применяются роликовые рабочие органы в виде усеченных конусов (в), выполненных из абразивного материала и установленных в соответствии с диаметрами.
Также могут использоваться цилиндрические ролики, поверхность которых покрыта гибкой нитью (щетками). Эти рабочие органы применяются для очистки поверхности клубней при обработке термическим способом.

Картофелеочистительные машины периодического действия
К дисковым картофелеочистительным машинам относятся машины МОК – 150, МОК – 300, МОЛ – 100, МООЛ – 500М, и другие. Кроме того, картофелеочистительные машины с дисковыми рабочими органами выпускают многие зарубежные фирмы.
Принцип действия картофелеочистительных машин с дисковыми рабочими органами одинаков и может быть рассмотрен на примере машины МОК – 150.
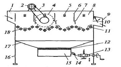
Картофелеочистительная машина МОК – 150 (Рис.2) состоит из рабочей камеры, загрузочного и приводного устройств, разгрузочного люка, пульта управления и станины.
Машина состоит из рабочей камеры, загрузочного и приводного устройств, разгрузочного люка, пульта управления и станины. Рабочая камера 12 машины выполнена в виде пустотелого цилиндра, на вертикальных стенках которого закреплен цилиндр 9 с отверстиями. Сверху рабочая камера закрыта загрузочным лотком 10, через окно которого подаются овощи для очистки. Рабочим органом машины служит вращающийся металлический диск 6, на верхней плоскости которого укреплен абразивный диск 7 с волнами 13. На нижней стороне диска есть две лопасти 5, предназначенные для продвижения очисток (мезги) к сливному патрубку 4. Рабочий орган укреплен на вертикальном валу 14. Вал вращается в двух подшипниках 15. Вращение вертикальному валу передается от электродвигателя 2 через понижающую клиноременную передачу 3. Для выгрузки очищенного продукта из рабочей камеры предусмотрен разгрузочный люк 8, закрываемый откидной дверцей.
Плотное прилегание дверцы к корпусу машины обеспечивается специальным уплотняющим запором с эксцентриком. Подача воды в рабочую камеру осуществляется через загрузочный лоток посредством ниппеля 11, к которому вода подается через гибкий резиновый шланг. Для слива воды и отходов на сливной патрубок надевается шланг 16, по которому мезга сливается в трап.
Электродвигатель установлен вертикально на станине 1, которая с помощью болтов закреплена на фундаменте высотой 100 мм над уровнем пола.
Сбоку корпуса, рядом с загрузочным лотком, смонтирован пульт управления, на котором размещены кнопки Пуск и Стоп.
Рис. 2


Принцип действия. При включении электродвигателя вращение через клиноременную передачу передаётся вертикальному рабочему валу, а от него рабочему органу. Клубни, поступающие в рабочею камеру , вовлекаются во движение рабочим органом и под действием центробежной силы перемещаются от центра к стенке. При этом между клубнем и абразивной поверхностью рабочего органа возникает сила трения, направленная в противоположную сторону от относительного движения, в результате чего клубень закручивается вокруг собственной оси, проскальзывает, и его кожица сдирается микрозубцами абразивной поверхности. Одновременно клубни поворачиваются, перекатываются, что обеспечивает соприкосновение клубней с шероховатыми поверхностями рабочего органа и стенок. Соприкасаясь с наклонной частью рабочего органа – волной, в результате полученного толчка клубни поднимаются вверх, а на их место поступают другие клубни. Затем клубни скатываются вниз, на рабочий орган. Мезга смывается водой.
Картофелеочистительные машины МОК – 300 и МОЛ – 100 по устройству и принципу действия аналогичны МОК-150, но отличаются от неё габаритными размерами, мощностью электродвигателя и некоторыми конструктивными особенностями.
Картофелеочистительная машина МООЛ-500М. Предназначена для очистки картофеля, моркови и лука. По устройству и принципу действия аналогична МОК-150. Особенность конструкции — применение в качестве рабочего органа промышленного шлифовального абразивного круга. Для подъема клубней на рабочем органе смонтированы накладные металлические волны. Патрубок для отвода мезги установлен снаружи рабочей камеры.
Картофелеочистительные машины МООЛ – 250/125 имеют такое же назначение и принципиальное устройство, что и машина МООЛ – 500М, но отличаются от неё габаритными размерами, мощностью электродвигателя и некоторыми конструктивными особенностями.
Картофелеочистительный механизм УММ – 5 (Рис.3).

Овощеочистительный механизм УММ-5 приводится в действие универсальным приводом УММ-ПС (УММ-ПР). Он представляет собой корпус 1, верхняя часть которого, выполненная в виде пустотелого цилиндра, является рабочей камерой для очистки овощей. Сверху рабочая камера закрыта загрузочной воронкой 2. Воронка имеет окно, закрываемое съемной крышкой 3. Рабочим органом механизма служит вращающийся металлический диск 7, на верхней плоскости которого укреплен волнообразный диск 6, изготовленный из абразивного материала. На нижней стороне металлического диска имеются две лопасти 5, предназначенные для продвижения очисток (мезги) к сливному патрубку (на рис. не показан). Рабочий орган укреплен на вертикальном валу 12. Вал вращается в шариковых подшипниках. Вращение вертикальному валу передается через повышающую коническую передачу 11. К нижней части корпуса винтами прикреплен хвостовик 10, которым механизм крепится к приводу универсальной кухонной машины. В хвостовике размещен горизонтальный вал 8, вращающийся в двух подшипниках скольжения. Для предотвращения вытекания смазки в хвостовике установлена уплотняющая манжета 9. На конце горизонтального вала имеется четырехгранное отверстие, в которое вставляется выходной вал привода для передачи движения от приводного устройства к механизму.Для выгрузки очищенного продукта из рабочей камеры в цилиндрической части корпуса предусмотрен люк, закрываемый откидной дверцей 13. С целью предотвращения вытекания воды через разгрузочный люк дверца по внутреннему периметру имеет резиновую прокладку. Плотное прилегание дверцы к корпусу механизма обеспечивается специальным уплотняющим запором с эксцентриками. Закрывается дверца рукояткой 14.Подача воды в рабочую камеру осуществляется посредством штуцера 4, к которому вода от водопроводной сети подается через гибкий резиновый шланг. На конце шланга укреплена накидная гайка, с помощью которой он навинчивается на резьбу штуцера. Для слива воды и отходов на сливной патрубок надевается шланг, по которому вода и отходы сливаются в трап.
К конусным картофелеочистительным машинам относятся машины типа МОК-125, МОК-250, МОК-350, МОК-400, МОК-1200, К7-МОК-125 и др., имеющие принципиально одинаковое устройство и различающиеся габаритами, мощностью электродвигателей и некоторыми конструктивными особенностями.
Принцип действия картофелеочистительных машин с конусными рабочими органами рассмотрен на примере машины МОК – 250 (Рис.4).

В верхней части машины расположен цилиндрический корпус 15, внутреннее пространство которого образует рабочую камеру. Рабочим органом машины является вращающийся конус, выполненный в виде литого алюминиевого корпуса 18 с закрепленной на нем конической чашей из абразивного материала 16. Коническая чаша крепится к корпусу гайкой 19, а по окружности корпуса — фасонным кольцом 17. На верхней поверхности плоской части конической чаши для лучшего перемешивания обрабатываемого продукта имеются три волны.
Боковая поверхность рабочей камеры, расположенная над рабочим органом, облицована абразивными сегментами 14. Нижняя часть корпуса (под коническом частью рабочего органа) служит сборником отходов. Во время очистки продукта отделенные частицы смываются водой и проходят через зазор между стенками камеры и конусом в нижнюю часть цилиндра, откуда выбрасывается лопастями в сливной патрубок.
Сверху рабочая камера закрыта крышкой 10, изготовленной из нержавеющей стали. Снизу к крышке прикреплена обечайка (отбойник) 13, которая направляет продукт при движении его в рабочей камере от стенок к центру.
В крышке имеется окно для загрузки продукта в рабочую камеру. Для предотвращения разбрызгивания воды и выбрасывания корнеклубнеплодов во время их очистки загрузочное окно закрывается откидной крышкой 12. Плотное прилегание крышки к корпусу рабочей камеры обеспечивается прокладкой. Вода в рабочую камеру подается из штуцера 11.Для разгрузки картофеля в рабочей камере имеется разгрузочный люк, закрываемый во время работы дверцей 7. Для предотвращения вытекания воды через разгрузочный люк дверца снабжена резиновой уплотняющей прокладкой 9. Открывается дверца с помощью ручки 6. Одновременно ручка служит запирающим устройством дверцы. С внутренней стороны дверца имеет прилив (выступ) 8, наталкиваясь на который корнеклубнеплоды изменяют направление своего движения.
Движение рабочему органу передается от электродвигателя 2, установленного вертикально в нижней части машины. Передаточным механизмом является клиноременная передача 4, с помощью которой движение от электродвигателя передается рабочему валу 5. Для натяжения ремней предусмотрена возможность перемещения двигателя с целью увеличения межосевого расстояния между шкивами.Вал, на который насаживается рабочий орган, вращается в двух шариковых подшипниках 21. Подшипники устанавливаются в стакане 22, который болтами крепится к корпусу рабочей камеры. От вытекания смазки из подшипников и попадания на них воды из рабочей камеры в нижней и верхней крышках стакана предусмотрены уплотняющие манжеты 20. Верхняя часть корпуса рабочей камеры имеет фланец, который устанавливается на четырех стойках 23. Стойки укреплены на опорной плите 24 с четырьмя ножками 26. На одной из ножек находится болт 25 для присоединения провода заземления. Пространство между стойками закрыто облицовкой 3. В последней сделаны жалюзи 1 для поступления и выброса охлаждающего двигатель воздуха. Машина устанавливается на полу или фундаменте высотой 60 — 100 мм и крепится четырьмя анкерными болтами М-18. Подача воды и электропитания осуществляется через отверстие в опорной плите трубами диаметром 15 мм (1/2").
Рядом с машиной в полу предусматривается устройство трапа. Вода и образовавшиеся отходы из сливного патрубка машины с помощью резинового шланга направляются непосредственно в трап. Для предотвращения растекания воды по полу цеха место установки одной или нескольких картофелеочистительных машин иногда огораживается невысоким бортиком.
Электропусковое устройство устанавливается, как правило, на стене в непосредственной близости от машины в легко доступном месте. При установке нескольких машин в ряд расстояние между ними должно быть не менее 0,7 м, а расстояние между картофелечистками и стенкой — не менее 0,5 м.
Принцип действия. Продвижение по горизонтальной части конусной чаши происходят так же, как в дисковых картофелеочистительных машинах, но угол подъёма волны здесь ниже и составляет 17…19. В связи с этим клубни поднимаются волнами только на наклонную поверхность рабочего органа под действием центробежной силы они поднимаются вверх, ударяется об отбойник в крышке и падают на вращающийся орган. В процессе движения клубни проскальзывают, соприкасаясь с шероховатыми поверхностями, происходит сдирание кожицы.
Картофелеочистительная машина непрерывного действия.
Машина КНА-600М (Рис.5)

1 - загрузочное окно; 2 — электродвигатель; 3— клиноременная передача, 4 — цилиндрическая передача; 5 — коллектор для подачи воды; 6 перегородка; 7— заслонка; 8 — секция рабочей камеры; 9 — разгрузочный лоток; 10 — поворотная заслонка; 11 — валик; 12 — сетка; 13 — регулировочный механизм; 14 — сливной патрубок; 15 — крахмалоотстойник; 16—рама; 17 — ванна; 18 абразивные ролики
Машина состоит из рамы, на которую через резиновую прокладку установлены корпус привода, боковая, передняя и задняя стенки, образующие прямоугольную коробку. Внутри коробки крепится внутренний каркас, который образует рабочую камеру машины. Рабочая камера разделена перегородками на четыре секции. Рабочими органами машины являются вращающиеся абразивные валики. Дно первой секции состоит из шести валиков, остальных секций — из пяти. Валики расположены по всей ширине рабочей камеры и вращаются в направлении к разгрузочному окну. Каждый валик выполнен в виде металлического стержня, на который насажены 12 роликов, изготовленных из абразивного материала. Ролики имеют форму усеченных конусов. Рядом стоящие ролики совмещаются на стержне одинаковыми диаметрами. В результате этого валик имеет волнистую форму, что во время очистки клубней обеспечивает большую поверхность соприкосновения их с абразивной поверхностью валиков. Для прохода картофеля из секции в секцию в перегородках имеются окна, ширина которых регулируется специальными заслонками. Окна расположены в противоположных сторонах перегородок.
Валики приводятся в движение от электродвигателя, расположенного в верхней части машины. Каждый абразивный валик одним концом укреплен в подшипнике, а другим зацеплен с валиком приводного механизма. Движение к рабочим органам передается от двигателя через клиноременную передачу и систему зубчатых передач. Для безопасной работы клиноременная передача закрыта предохранительным щитком.
Двигатель укреплен на специальных направляющих, по которым он может передвигаться для обеспечения натяжения ремней. Передвижение двигателя осуществляется натяжным винтом. Загрузка продукта осуществляется через загрузочное окно, а выгрузка через разгрузочный лоток, который имеет регулировочную заслонку, позволяющую менять сечение выходного окна. Через коллектор душа в каждую секцию рабочей камеры подается вода, которая смывает частицы очищенной кожуры с клубней и абразивной поверхности рабочих валиков. Вода вместе с отходами (мезгой) проходит между роликами и попадает в ванну, а оттуда удаляется в мезгосборник.
Принцип действия. С транспортера клубни через загрузочное окно попадают в первую секцию рабочей камеры машины. Здесь клубни падают на быстровращающиеся абразивные ролики. Клубни в рабочей камере машины очищаются за счет трения их об абразивные ролики. При работе машины картофель располагается во всех четырех секциях, занимая объем в каждой секции рабочей камеры, близкий к полуцилиндрическому. При вращении роликов клубни постоянно подбрасываются, перекатываются, поворачиваясь к абразивным поверхностям различными участками своей поверхности, и с них сдираются частицы поверхностного слоя. Клубни, находящиеся у последнего валика каждой секции, наползают (или набрасываются) на расположенные перед ними неподвижные перегородки. Те клубни, которые к этому моменту находятся против окон в перегородках, переходят в следующую секцию, а их место занимают соседние клубни. Таким образом, возникает передвижение клубней по ширине рабочей камеры. Следовательно, передвижение клубней в машине происходит при вращении роликов и постоянном поступлении в машину новых порций клубней. Так как окна расположены в противоположных сторонах перегородок, прежде чем попасть в следующую секцию каждый клубень проходит предыдущую секцию вдоль всей ширины рабочей камеры
3. Расчетная часть
3.1 Расчет производительности
Рассчитать дисковую картофелеочистительную машину.
Исходные данные: производительность машины Q = 50 кг/ч, средний диаметр клубня
, продолжительность цикла обработки порции продукта 5 минут, обрабатываемый продукт – картофель.
1. Вычисляем объём камеры из формулы 1(Расчет производительности) при насыпной массе картофеля
и коэффициент заполнения рабочей камеры
![]()
, кг/с, (1)
где
- масса единовременно загружаемого в рабочею камеру продукта, кг; Тц – продолжительность обработки порции продукта, с; V – геометрический объём рабочей камеры, м;
- насыпная масса продукта;
- коэффициент заполнения рабочей камеры, t3, tв – соответственно, продолжительность загрузки и удаления порции продукта из рабочей камеры, с; t0 – продолжительность обработки продукта, с.
![]()
2. Определяем диаметр рабочей камеры
![]()
3. Проверяем условие обеспечения циркуляции клубней на рабочем органе и возможности перемещения их:
. Поскольку D>Dmin, то условие обеспечения циркуляции клубней на рабочем органе выполняется.
4. Вычисляем диаметр рабочего диска при принятом радиальном зазоре между ним и стенкой рабочей камеры
по формуле:
![]()
5. Общую высоту рабочей камеры принимаем равной диаметру камеры, т.е.
. Высота чаши составляет
, высота обечайки
Тогда высота цилиндрической части рабочей камеры составляет
H= 0,3 - 0,1- 0,05 = 0,15м.
6. По полученным размерам рабочей камеры уточняем объём камеры для обработки продукта
![]()
Принимаем V=12л.
7. Массу порции загружаемого продукта находим из формулы 1:
M= 0,012*650*0,6 = 5 кг
8. Уточняем теоретическую производительность машины по формуле 1:
![]()
3.2 Расчет мощности электродвигателя
9. Минимальную частоту вращения рабочего органа определяем по формуле

Принимаем минимальное расстояние от центра вращения рабочего органа до центра тяжести клубня
и коэффициент трения между продуктом и абразивной поверхностью f = 1,0.
10. Минимальное число оборотов рабочего органа, необходимое для попадания клубня на стенку рабочей камеры определяем:
![]()
![]()
Принимаем расстояние от оси вращения до центра тяжести клубня r = rk = 0,12м и коэффициент проскальзывания Кск = 0,6.
11. Определяем действительную чистоту вращения рабочего органа:
n = 1,6nmin, n = 1,6* 235,6 = 370 об\мин.
12. Мощность, необходимую для преодоления сил трения между рабочим органом и клубнями, клубней друг от друга и стенку камеры рассчитываем по формуле
![]()
где Мтр – момент трения между рабочим органом и продуктом, Н*м, Ттр – суммарная сила трения, Н, rтр – радиус приложения суммарной силы трения, м, ( для дисковых картофелеочистительных машин = 0,33 D),
- коэффициент учитывающий, что не все подброшенные клубни создают силы трения = 0,8 – 0,9, n – частота вращения очистительного диска, об/мин:
![]()
13. Мощность затраченную на подбрасывание клубней, вычисляем по формуле
![]()
где Нпд – высота подброса клубней, м, принимается равной полезной высоте рабочей камеры, z – число волн на очистительном диске, шт, Кск – коэффициент проскальзывания клубня относительно диска = 0,5
Вт
14. Принимаем механический КПД = 0,7, определяем мощность электродвигателя
![]()
кВт.
расчет картофелечистка дисковый поточный линия
4. Монтаж и ремонт оборудования
Под монтажом следует понимать совокупность операций, включающих
распаковку оборудования, установку его на фундамент, подключение к коммуникациям, пуск, испытание и сдачу в эксплуатацию. Монтажные работы могут производиться как на вновь строящемся, так и на действующем предприятии при оснащении его новым оборудованием или реконструкции.
Монтаж оборудования осуществляется по проектно-технической монтаж оборудования, техническая и исполнительная документация на оборудование.
К проектно-сметной документации относятся рабочие чертежи, сводная спецификации оборудования и монтажных материалов, смета на производство монтажа, включающая стоимость оборудования, материалов и монтажных работ, и расчетно-пояснительная записка к проекту.
Рабочие чертежи состоят из поэтажных планов и разрезов производственных площадей с размещением на них монтируемого технологического оборудования; установочных чертежей отдельных машин и аппаратов с указанием размеров фундаментов и отверстий под фундаментные болты; монтажно-коммуникационных схем трубопроводов, электропроводки и вентиляции. В проект производства работ входят:
-календарные графики передачи строительной части под монтаж и графики проведения монтажных работ;
- календарный график поставки оборудования, материалов, металлоконструкций и других деталей;
-технологическая схема монтажа оборудования (последовательность выгрузки и перемещения оборудования, порядок сборки);
- перечень монтажных механизмов, приспособлений, инструментов, лесов и подмостков, необходимых для выполнения монтажных работ;
-сведения о потребности в рабочей силе по отдельным специальностям;
- перечень мероприятий по технике безопасности и охране труда.
При техническом обслуживании картофелеочистительных машин их включают в работу на холостом ходу, при этом обращают внимание на характер шума, вращение рабочего органа, плотность прилегания разгрузочной дверцы, натяжение ремня. Проверяют наличие масла в редукторе, герметичность соединений водяных трубопроводов и рабочей камеры, так как через не плотности влага может попасть на электродвигатель и электропроводку. Проверяют подачу воды в рабочую камеру и слив загрязненной воды, при необходимости отверстие для удаления отходов прочищают.
Для замены абразивных инструментов снимают верхнюю крышку и с помощью отвертки удаляют расклинивающие пластинки, затем снимают сегментную облицовку и посредством съемника вынимают диск (чашу). Перед установкой новой чаши проверяют состояние двух упорных подшипников выходного вала и зацепление пары цилиндрических косозубых колес. Замену смазки в них проводят один раз в год. После установки новых абразивных сегментов и чаши проверяют между ними зазор. Крепление абразивов к диску должно быть прочным, покачивание их не допускается.
Качество ремонта механического оборудования в основном зависит от правильного выполнения сборочных операций механических передач движения, которые включают три этапа: установку подшипников, сборку кинематических пар и регулировку передачи. Последовательность и содержание этапов сборочной операции зависят от конструкции механизма, принятой схемы регулирования и характера производства. В то же время некоторые сборочные элементы могут быть собраны отдельно (насосы, редукторы и т. п.) и поставлены на оборудование независимо от других элементов.При сборке пользуются специальными приспособлениями, которыми должно быть оснащено рабочее место ремонтника. Подгоночные работы, требующие механической обработки деталей, должны быть сведены до минимума.
5. Правила эксплуатации оборудования
Прежде чем поступить к очистки овощей, проводят внешний осмотр машины, определяют её санитарное состояние, убеждаются в отсутствии посторонних предметов внутри рабочей камеры, проверяют заземление, состояние электропроводки и правильность сборки.И ещё одно: осматривая машину перед работой, не забудьте прочистить форсунку, через которую идёт в рабочую камеру вода, особенно в картофелеочистительных машинах с дисковыми органами. Из форсунки подаётся две струи (на диск и на стенки), поэтому прочистить надо обе прорези и к тому же проследить, чтобы струи были направлены вниз (а не вверх или в сторону).
Запрещается включать машину при снятой крышке и открытой дверцы разгрузочного лотка. Далее включают машину и проверяют её работу на холостом ходу. Предназначенные для очистки овощи должны быть откалиброваны и тщательно вымыты. И нельзя забывать, что во время загрузки машины необходимо следить за тем, чтобы вместе с корнеклубнеплодами в рабочую камеру машины не попадали камни, комки почвы и другие посторонние предметы, которые могут вывести из строя абразивное покрытие.
Включают машину нажатием кнопки «Пуск», открывают водопроводный кран, и вода поступает в рабочею камеру. Общий расход воды не должен превышать 1л на 1 кг очищаемого продукта. Далее открывают крышку загрузочного лотка и загружают в рабочею камеру порцию подготовленного продукта, определенной инструкцией по эксплуатации. Увеличение или уменьшение порции овощей против нормативной приводит к снижению производительности машины и качества очистки, а также к увеличению отходов. При увеличении порций картофеля, загружаемого в рабочую камеру машины, значительно увеличивается время цикла его обработки, что приводит к снижению общей производительности машины. Уменьшение количества одновременно загружаемого картофеля приводит также к снижению производительности машины и увеличению отходов, так как лишний свободный объём рабочей камеры позволяет клубням передвигаться с увеличенной скоростью, что приводит к увеличению центробежной силы, действующей на клубень.
Закрыв крышку загрузочного лотка, производят очистку овощей; при этом необходимо следить за выводом из машины воды с мезгой. После окончания очистки нужно разместить под разгрузочным лотком ёмкость для сбора очищенных овощей, перекрыть подачу воды в рабочею камеру, осторожно открыть дверцу разгрузочного лотка и выгрузить очищенные овощи.Продолжительность очистки продукта определяют визуально, открыв на некоторое время верхнюю крышку загрузочного отверстия. Время обработки клубней картофеля и корнеплодов зависит от состояния кожуры: молодые клубни обрабатывают 2 мин., старый, вялый картофель - 5 мин. Процесс очистки целесообразно осуществлять до тех пор, пока полностью не очистится 90% клубней. Полностью очищенным считается клубень, у которого кожура сохраняется в углублениях, а на остальной поверхности имеется не более трёх участков с кожурой, наибольший размер которых не превышает 1…3 мм.
После выгрузки очищенных овощей вновь закрыть дверцу загрузочного люка и повторить операцию. После окончания очистки выключить машину нажатием кнопки «Стоп» и закрыть кран подачи воды в рабочею камеру. В конце работы отключить автоматический выключатель.
После окончания работы проводят санитарную обработку машины: её очищают, тщательно промывают струёй воды рабочею камеру, освобождая от грязи и очисток, насухо вытирают наружную поверхность. При очистки машины следует пользоваться волосяными щетками.
Заключение
В данном курсовом проекте мною был сделан расчет дисковой картофелеочистительной машины, производительностью 50 кг/ч, была, дана характеристика технологического процесса производства полуфабриката «Картофель сырой очищенный» на поточной линии с механическим способом очистки. Также я провела анализ конструкций картофелеочистительных машин периодического и непрерывного действий, рассмотрела монтаж, ремонт и правила эксплуатации картофелеочистительных машин периодического действия.
Дисковые картофелечистки имеют рабочий орган в виде вращающегося диска, верхняя поверхность которого имеет волнообразную форму и выполнена из абразивного материала. На поверхности диска имеются 2…4 волны, высота которых постепенно увеличивается от середины диска к его краям. В центре диска высота волн стремится к нулю. По своей высоте эти волны значительно выше, чем волны на днище конического рабочего органа. На нижней стороне рабочих органов картофелечисток периодического действия расположены вертикальные лопасти для удаления отходов.
В ходе проведения расчета были получены следующие данные: теоретическая производительность – 60 кг/ч, мощность – 0,4 кВт.
Также была сделана графическая часть.
Литература
1. Технология продукции общественного питания: в 2 т./ под ред. А.С. Ратушного. – М.: Колос С, 2004. – 760 с.
2. Механическое оборудование предприятий общественного питания: учебное пособие для начального проф. Образования: справочник / В. Д. Елхина. – М. : Издательский центр «Академия», 2006. – 336с.
3. Радченко Л.А., Организация производства на предприятиях общественного питания/ Л.А. Радченко. – Р-н/Д: Феникс, 2005. – 325.
4. Каталог оборудования фирмы «Русский проект» - 2003.
5. Профессиональная кухня: сто готовых проектов: технический каталог/ А.Д. Ефимов, Т.Т. Никуленкова, Н.В. Вуколова, М.И. Ботов. – М.: Издательский дом «Ресторанные ведомости», 2004. – 257 с.
Похожие рефераты:
Механическая, кулинарная обработка рыбы
Организация предприятия общественного питания
Строение, химический состав плодов и овощей
Разработка агротехнических приемов повышения урожайности картофеля
Очистка газообразных выбросов от аэрозолей
Рынок, анализ ассортимента, экспертиза качества и конкурентоспособность свежих овощей
Оборудование предприятий общественного питания
Реконструкция пункта послеуборочной обработки зерна
Механическая обработка овощей и грибов, технология приготовления полуфабрикатов из них
Машины механического типа с дополнительной подачей воздуха воздуходувкой
Установка для переработки отходов слюдопластового производства
Разработка проекта молодежного кафе высшей категории на 85 посадочных мест
Правила приемки картофеля сорта "Гатчинский 1" для длительного хранения