| Скачать .docx |
Курсовая работа: Проект автоматической системы технологического оборудования для обработки основания гидрораспределителя очистного комбайна 2РКУ10
Министерство образования и науки Украины
Донецкий национальный технический университет
Механический факультет
Кафедра «Металлорежущие станки»
КУРСОВАЯ РАБОТА
По дисциплине: «Теория проектирования автоматизированных станочных комплексов»
На тему: «Проект автоматической системы технологического оборудования для обработки основания гидрораспределителя очистного комбайна 2РКУ10»
Выполнил,
студент группы МС-01аИ.Н.Самойлов
Проверил,
д. т. н. Л. П. Калафатова
Нормоконтроллер,
к. т. н.А.Д. Молчанов
ДОНЕЦК 2006
Реферат
Курсовая работа содержит: 23 с., 6 табл., 2 рис., 5 источников, 6 приложений.
В данной курсовой работе рассматривается процесс проектирования автоматической линии технологического оборудования, которая позволила бы при минимальных затратах добиться заданной производительности.
Цель работы: спроектировать оптимальную структурно-компоновочную схему автоматической линии для условий серийного производства детали «Основание». Реализовать структурную схему на практике, выбрав конкретное технологическое оборудование; описать ее работу с помощью циклограммы.
Курсовая работа включает: пояснительную записку, которая содержит все необходимые сведения о проектировании автоматической линии; чертеж компоновки автоматической линии с обозначением всех позиций; циклограмма работы автоматической линии, эскизы наладок на все операции
АНАЛИЗ, ПРОИЗВОДИТЕЛЬНОСТЬ, РОБОТ, ТРАНСПОРТНАЯ СИСТЕМА, АТОМАТИЧЕСКАЯ ЛИНИЯ, ЭКОНОМИЧЕСКИЕ ПОКАЗАТЕЛИ, ЦИКЛОГРАММА
Содержание
Введение
1. Технологическая подготовка
1.1 Анализ конструкции детали на технологичность
1.2 Анализ базового технологического процесса обработки детали
1.3 Разработка операционного технологического процесса
1.4 Выбор режимов резания и расчет технологической производительности
1.5 Перечень холостых операций при реализации технологического процесса
1.6 Определение требуемой производительности
2. Определение рациональной структуры системы технологического оборудования
3. Робототехнические комплексы
4. Транспортные системы загрузочных устройств для промышленных роботов
5. Расчет экономических показателей
1. Технологическая подготовка
1.1 Анализ конструкции детали на технологичность
Деталь основание – типа диск. Деталь изготовлена из стали 45 ГОСТ 1050-88. Это конструкционная углеродистая сталь, хорошо обрабатываемая резанием, имеющая следующий химический состав и механические свойства (табл. 1.1.1):
Таблица 1.1.1 – Химико-механические свойства стали 45
| Сталь 45 | Химические свойства | Механические | ||||||
| C,% | Si,% | Mn,% | Cr,% | P,% | S,% | sв, МПа | s-1, МПа | |
| Содержание | 0,42…0,5 | 0,17…0,37 | 0,5…0,8 | 0,25 | 0,035 | 0,04 | 590 | 231 |
На чертеже представлены все необходимые виды, сечения и разрезы, чтобы уяснить конструкцию детали. Деталь является достаточно жесткой, так как отношение длины детали к ее диаметру меньше 10. Заменить конструкцию сборной является нецелесообразно. Деталь имеет достаточно простую форму. Все поверхности доступны для измерений и обработки.
При проектировании детали допущена такая конструкторская ошибка, как использование указания параметра шероховатости по системе Rz.
Конструкция детали позволяет использовать высокопроизводительное оборудование, стандартные инструменты и оснастку на всех операциях.
Деталь в целом технологична. Все допущенные конструкторские ошибки на чертеже исправлены.
1.2 Анализ базового технологического процесса обработки детали
Заводской технологический процесс изготовления детали – основание разработан для условий мелкосерийного производства. Применяемое оборудование является универсальным. Точность поверхностей достигается по методу пробных проходов и промеров; разметки, которые требуют участия высококвалифицированных станочников, а тем самым увеличивается себестоимость детали. В качестве заготовки используют штамповку.
Приспособления для обработки корпуса имеют также универсальный характер (например: тиски, патроны). Специальные приспособления не применяют, так как значительные затраты на их изготовление экономически не оправдываются. Применяемый режущий инструмент также является универсальным (стандартные резцы, сверла, фрезы), как и измерительный инструмент (штангенциркуль, микрометр, и др.). Установка основания осуществляется в универсальные приспособления с выверкой относительно стола станка и инструмента, однако этот способ требует много времени, но для мелкосерийного производства его использовать целесообразно. Структура операций является одноместной, одно-инструментальной.
1.3 Разработка операционного технологического процесса
Для разработки маршрутно-операционного технологического процесса расставим на чертеже обрабатываемые поверхности арабскими цифрами, в последовательности, которая определяет маршрут обработки детали ОСНОВАНИЕ
Операционный технологический процесс обработки детали КОРПУС в условиях неавтоматизированного производства.
005 Токарная
Установ А
Подрезать торец 1
Точить поверхность 2
Точить поверхность 3
Точить канавку 4
Точить фаску 5
Точить фаску 6
Точить канавку 7
Нарезать резьбу 8
010 Токарная
Установ А
Подрезать торец 9
Точить фаску 10
015 Радиально-сверлильная
Установ А
Засверлить 2 отв.11
Досверлить 2отв.11
Сверлить 8 отв.12
Зенкеровать 8 отв.12
Установ Б
5.Засверлить 2 отв.13
020 Радиально-сверлильная
Установ А
Сверлить 2 отв. 11 на проход
Сверлить 2 отв. 13
Зенковать 2 фаски 14
Нарезать резьбу в 2 отв.13
Установ Б
5.Сверлить отв 15
6.Зенковать фаску 16
7.Нарезать резьбу в отв 15
1.4 Выбор режимов резания и расчет технологической производительности
Выбор режимов резания осуществляется в соответствии с общемашиностроительными нормативами для технического нормирования работ на металлорежущих станках. Результаты расчетов занесены в таблицу 1.4.1.
Таблица 1.4.1 – Расчет машинного времени выполнения операций
| Наименование | Инструмент | Параметры режимов резания | |||||||
| Операции | Перехода | D, мм | L, мм | ||||||
| 1 | 2 | 3 | 4 | 5 | 6 | 7 | 9 | 10 | 11 |
| Токарная | 1. Подрезать торец 1 | Т5К10Резец подрезной | 1 | 0,5 | 170 | 515 | 105 | 52,5 | 0,2 |
| 2. Точить поверхность 2 | Резец подрезной Т5К10 | 2,5 | 0,8 | 95 | 302 | 100 | 60 | 0,25 | |
| 3. Точить поверхность 3 | Резец подрезной Т5К10 | 2,5 | 0,8 | 95 | 319 | 94,8 | 24 | 0,09 | |
| 4. Точить канавку 4 | Резец специальный Р6М5 | 4,6 | 0,25 | 73 | 256 | 100 | 4,6 | 0,14 | |
| 5. Точить фаску 5 | Резец отогнутый Т5К10 | 4 | 0,5 | 120 | 382 | 100 | 4 | 0,02 | |
| 6. Точить фаску 6 | Резец отогнутый Т5К10 | 4 | 0,5 | 120 | 382 | 100 | 4 | 0,02 | |
| 7. Точить канавку 7 | Резец специальный Р6М5 | 1,0 | 0,25 | 73 | 250 | 94,8 | 1,8 | 0,03 | |
| 8. Нарезать резьбу 8 | Резец резьбовый Т5К10 | 1,5 | 0,2 | 73 | 244 | 95 | 19 | 0,04 | |
| Токарная | 1.Подрезать торец 9 | Т5К10Резец подрезной | 1,0 | 0,5 | 170 | 541 | 100 | 50 | 0,18 |
| 2.Тоить фаску 10 | Резец отогнутый Т5К10 | 4 | 0,5 | 120 | 382 | 100 | 4 | 0,02 | |
| Радиально-сверлильная | 1. Засверлить 2 отв.11 | Сверло Р6М5 | 2,5 | 0,1 | 38,8 | 2471 | 5 | 25 | 0,2 |
| 2. Досверлить 2 отв.11 | Сверло Р6М5 | 2,5 | 0,1 | 38,8 | 2471 | 5 | 33 | 0,28 | |
| 3. Сверлить 8 отв. 12 | Сверло Р6М5 | 1,85 | 0,07 | 45,5 | 3600 | 4 | 4 | 0,128 | |
| 4.Зенкеровать 8 отв.12 | Зенкер Р6М5 | 0,075 | 0,3 | 30 | 2388 | 4 | 4 | 0,048 | |
| 5.Засверлить 2отв.13 | Сверло Р6М5 | 2,5 | 0,1 | 38,8 | 2471 | 5 | 5 | 0,042 | |
| Радиально-сверлильная | 1. Сверлить 2 отв.11 на проход | Сверло Р6М5 | 5,5 | 0,2 | 30,6 | 609 | 16 | 58 | 0,952 |
| 2. Сверлить 2 отв. 13 | Сверло Р6М5 | 2,6 | 0,2 | 25,5 | 796 | 10,2 | 24 | 0,3 | |
| 3. Зенковать2 фаски 14 | Зенковка Р6М5 | 0,25 | 0,25 | 21,8 | 680 | 12 | 1 | 0,01 | |
| 4.Нарезать резьбу в 2 отв.13 | Метчик Р6М5 | 1,5 | 0,2 | 33,4 | 532 | 12 | 20 | 0,374 | |
| 5.Сверлить отв.15 | Сверло Р6М5 | 5,1 | 0,2 | 25,5 | 796 | 10,2 | 24 | 0,15 | |
| 6. Зенковать фаску 16 | Зенковка Р6М5 | 0,25 | 0,25 | 21,8 | 680 | 12 | 1 | 0,006 | |
| 7.Нарезать резьбу в отв.15 | Метчик Р6М5 | 1,5 | 0,2 | 33,4 | 532 | 12 | 20 | 0,187 | |
Рассчитаем технологическую производительность:
, (1)
где
- машинное время выполнения всех операций.
Суммарное машинное время складывается из всех операций, а именно:
= ![]()
.
.
1.5 Перечень холостых операций при реализации технологического процесса
Для выполнения этого этапа определим все холостые операции, которые необходимо выполнить для реализации всех рабочих операций. Холостые операции содержат действия, которые связаны с ориентацией заготовки в пространстве, подачу заготовки в рабочую зону, закрепление ее на рабочей позиции, и т.д. Результаты выбора холостых операций оформляем в таблицу 1.5.1.
Таблица 1.5.1 – Перечень холостых операций, необходимых для выполнения рабочих операций ТП
| Наименование рабочей операции | Наименование холостой операции |
Токарная Подрезать торец 1 Точить поверхность 2 Точить поверхность 3 Точить канавку 4 Точить фаску 5 Точить фаску 6 Точить канавку 7 Нарезать резьбу 8 |
1.1. Ориентация детали 1.2. Подать деталь в рабочую зону 1.3. Закрепить деталь 1.4. Подвести резец на быстром ходу 1.5. Отвести резец на быстром ходу 1.6. Сменить инструмент 1.7. Раскрепить деталь 1.8. Удалить деталь из рабочей зоны |
2. Токарная Подрезать торец 9 Точить фаску 10 |
2.1. Ориентация детали 2.2. Подать деталь в рабочую зону 2.3. Закрепить деталь 2.4. Подвести резец на быстром ходу 2.5. Отвести резец на быстром ходу 2.6. Раскрепить деталь 2.7. Удалить деталь из рабочей зоны |
3. Радиально-сверлильная Засверлить 2 отв. 11 Досверлить 2 отв. 11 Сверлить 8 отв. 12 Зенкеровать 8 отв. 12 Засверлить 2 отв. 13 |
Ориентация детали Подать деталь в рабочую зону Закрепить деталь Подвести шпиндель на быстром ходу Отвести шпиндель на быстром ходу Провернуть траверсу Раскрепить деталь Переустановить деталь Удалить деталь из рабочей зоны |
4. Радиально-сверлильная Сверлить 2 отв. 11 на проход Сверлить 2 отв. 13 Зенковать фаску 14 Нарезать резьбу в 2 отв. 13 Сверлить отв. 15 Зенковать фаску 16 Зенковать фаску 20 Нарезать резьбу в отв. 15 |
Ориентация детали Подать деталь в рабочую зону Закрепить деталь Подвести шпиндель на быстром ходу Отвести шпиндель на быстром ходу Раскрепить деталь Переустановить деталь Удалить деталь из рабочей зоны |
1.6 Определение требуемой производительности
Определение требуемой производительности в условиях неавтоматизированного производства определяется по формуле:
, (2)
где
- производительности в условиях неавтоматизированного производства шт/смену;
- время выполнения холостых операций,
.
шт/смену.
Считаем условно, что требуемая производительность для условий крупносерийного и массового производств должна быть в 6-7 раз больше, чем для условий неавтоматизированного производства. Таким образом, производительность для условий автоматизированного производства определяется:
шт/смену
2. Определение рациональной структуры системы технологического оборудования
При обработке на автоматической линии детали «Основание» технологический процесс дифференцируется на составные части, которые выполняются в разных позициях на разных станках. В процессе обработки – от заготовки к готовой продукции – изделие передается последовательно из позиции в позицию, где получает заданный объем технологического воздействия таким образом, что на каждой позиции выполняется лишь определенная часть обработки. При этом принятые методы, маршрут и режимы обработки, технологические базы и режущий инструмент должны обеспечить выполнение заданных требований качества (точность размеров, шероховатость поверхности и др.).
Известно, что увеличение степени дифференциации технологического процесса обработки сопровождается возрастанием технологической производительности обработки k0.
Данную структуру можно реализовать на практике двумя способами:
- с использованием станков, возле которых находятся промышленные роботы для загрузки и выгрузки заготовок, и транспортная система для перемещения заготовок от позиции к позиции;
- с использованием специальных силовых головок, которые производят обработку заготовок прямо на транспортере;
использование агрегатных станков;
комбинации перечисленных вариантов.
Приведем 2 варианта технологических процессов для условий автоматизированного производства.
1 ВАРИАНТ
Технологический процесс.
1 СТАНОК – Токарный. tр=0,79 мин.
2 СТАНОК – Токарный. tр=0,2 мин.
3 СТАНОК – Агрегатный. tр=0,476 мин.
1позиция-сверлить 2 комбинированных отверстия 11совместно.
tр=0,476 мин.
2 позиция-сверлить 8 комбинированных отверстия 12 совместно.
tр=0,006 мин.
3позиция-зенкеровать 8 комбинированных отверстия 12
совместно tр=0,006 мин.
4позиция-сверлить и зенковать отверстие 15. tр=0,15 мин.
5позиция- нарезать резьбу в отверстии 15. tр=0,187 мин.
4 СТАНОК – Вертикально-сверлильный. tр=0,686 мин.
Лимитирующей позицией является токарная операция, для которой tр=0,79 мин. Производим укрупненный расчет цикловой производительности QЦ для данного варианта по формуле:
деталей/смена,
где ТЦ – время рабочего цикла АЛ, мин;
мин,
tр(q) - время машинной обработки на лимитирующей позиции, мин;
- время несовмещенных вспомогательных ходов цикла.
Кисп=0,75 – ожидаемый коэффициент использования АЛ.
Уточненный расчет полной производительности выполним по формуле:
,
где Кзаг=0,85 – коэффициент загрузки линии как характеристика технических и организационных условий ее эксплуатации;
- время несовмещенных вспомогательных ходов цикла;
∑tр – суммарные собственные внецикловые затраты (простой на единицу продукции), мин/шт.
Внецикловые затраты определяются по формуле:
,
где ∑tин – ожидаемые суммарные внецикловые затраты по инструменту;
∑tос – ожидаемые усредненные внецикловые затраты по оснащению.
Затраты времени из-за выхода из строя инструмента определяются по формуле:
,
где tр – машинное время выполнения составной операции конкретным инструментом, мин;
Т - нормативная стойкость инструмента, мин;
tз - время, необходимое для замены инструмента при его износе, мин;
tпр - средняя продолжительность простоев из-за случайных сбоев в работе и поломок инструмента, которые приходятся на период его стойкости, мин.
Значение tз и tпр для разных типов инструментов занесены в таблицу 2.1.
Таблица 2.1 – Расчет времени потерь по инструменту
№ п/п |
Инструмент | ( |
|||
1. 2. 3. 4. 5. 6. 7. |
Резец подрезной Т5К10 Резец проходной Т5К10 Резец канавочный специальный Р6М5 Резец отогнутый Т5К10 Резец отогнутый Т5К10 Резец канавочный специальный Р6М5 Резец резьбовый Р6М5 |
0,2 0,34 0,14 0,04 0,03 0,04 0,2 |
30 30 30 30 30 30 30 |
0,35 0,35 0,35 0,35 0,35 0,35 0,35 |
0,002 0,004 0,0016 0,0005 0,0004 0,0005 0,002 |
| 8. | Сверло Æ16 | 0,476 | 45 | 1,12 | 0,0118 |
9. 10. 11. 12. 13. 14. |
Сверло Æ3.75 Зенкер Æ4 Сверло Æ10,2/зенковкаÐ300 Метчик Æ12 Сверло Æ10,2/зенковкаÐ300 Метчик Æ12 |
0,016 0,006 0,15 0,187 0,15 0,187 |
15 15 45 45 45 45 |
1,18 1,18 1,12 1,27 1,12 1,27 |
0,0012 0,0005 0,0037 0,0053 0,0037 0,0053 |
| 0,0425 | |||||
Расчет ожидаемых внецикловых затрат по оборудованию (для одной позиции) tос производим по формуле:
tос
,
где tп – средняя продолжительность простоев j-го нормализованного узла, который входит в состав оснащения конкретной позиции;
tр – время работы j-го нормализованного узла при выпуске единицы продукции;
k – общее количество нормализованных узлов в оснащении конкретной позиции.
Таблица 2.2 – Расчет потерь по оборудованию первого варианта
| Наименование позиции | Наименование механизмов | Время простоев на 100 мин. работы |
Время работы j– го нормализованного узла |
Простои конкретных механизмов |
| 1 | 2 | 3 | 4 | 5 |
| 1. Токарная | 1.Узел подачи и загрузки заготовки 2.Шпиндельный блок с механизмом фиксации и приводом вращения 3.Узел поперечных суппортов 4.Узел продольных суппортов 5.Гидравлическое оборудование 6.Электрооборудование 7.Система охлаждения 8.Транспортер стружки |
0,55 0,18 0,07 0,06 0,17 0,65 0,08 0,24 |
0,79 0,79 0,39 0,4 0,79 0,79 0,79 0,79 |
0,0043 0,0014 0,0003 0,0002 0,0013 0,0051 0,0006 0,0019
|
| 2. Токарная | 1.Узел подачи и загрузки заготовки 2.Шпиндельный блок с механизмом фиксации и приводом вращения 3.Узел поперечных суппортов 4.Узел продольных суппортов 5.Гидравлическое оборудование 6.Электрооборудование 7.Система охлаждения 8.Транспортер стружки |
0,55 0,18 0,07 0,06 0,17 0,65 0,08 0,24 |
0,2 0,2 0,18 0,02 0,2 0,2 0,2 0,2 |
0,0011 0,0004 0,0001 0,00001 0,0003 0,0013 0,0002 0,0005
|
| 3. Агрегатная | 1.Узел подачи и загрузки заготовки Механизмы фиксации Гидравлическое оборудование Электрооборудование Система охлаждения Транспортер стружки Силовой стол с гидроприводом Поворотный стол Силовая головка |
3,3 0,18 0,65 3,43 0,72 0,24 1,2 0,1 0,18 |
0,476 0,476 0,476 0,476 0,476 0,476 0,476 0,476 0,476 |
0,0157 0,0009 0,0031 0,0163 0,0034 0,0011 0,0057 0,0005 0,0009
|
| 4. Вертикально-сверлильная | 1.Узел подачи и загрузки заготовки 2.Шпиндельный блок с механизмом фиксации приводом вращения 3.Гидравлическое оборудование 4. Электрооборудование 5. Система охлаждения 6. Транспортер стружки 7.Подъёмно-поворотный стол |
0,55 0,18 0,17 1,43 0,08 0,24 0,13 |
0,674 0,674 0,674 0,674 0,674 0,674 0,674 |
0,0037 0,0012 0,0011 0,0096 0,0005 0,0016 0,0009
|
Таким образом:
мин.
Производительность данного варианта:
деталей/смену.
2 ВАРИАНТ
Технологический процесс.
1 СТАНОК – Токарный. tр=0,79 мин.
2 СТАНОК – Токарный. tр=0,2 мин.
3 СТАНОК – Агрегатный. tр=0,476 мин.
1позиция-сверлить 2 комбинированных отверстия 11совместно
tр=0,476 мин.
2 позиция-сверлить 8 комбинированных отверстия 12 совместно
tр=0,006 мин.
3позиция-зенкеровать 8 комбинированных отверстия 12
совместно tр=0,006 мин.
4позиция-сверлить и зенковать отверстие 15 tр=0,15 мин.
5позиция- нарезать резьбу в отверстии 15 tр=0,187 мин.
4 СТАНОК – Агрегатный. tр=0,187 мин.
1 позиция – сверлить и зенковать 2 комбинированных отверстия
13 совместно tр=0,231 мин.
2 позиция – нарезать резьбу в отверстии 13. tр=0,325 мин.
Таблица2.3 – Расчет потерь по оборудованию второго варианта
| Наименование позиции | Наименование механизмов | Время простоев на 100 мин. работы |
Время работы j– го нормализованного узла |
Простои конкретных механизмов |
| 1 | 2 | 3 | 4 | 5 |
| 1. Токарная | 1.Узел подачи и загрузки заготовки 2.Шпиндельный блок с механизмом фиксации и приводом вращения 3.Узел поперечных суппортов 4.Узел продольных суппортов 5.Гидравлическое оборудование 6.Электрооборудование 7.Система охлаждения 8.Транспортер стружки |
0,55 0,18 0,07 0,06 0,17 0,65 0,08 0,24 |
0,79 0,79 0,39 0,4 0,79 0,79 0,79 0,79 |
0,0043 0,0014 0,0003 0,0002 0,0013 0,0051 0,0006 0,0019
|
| 2. Токарная | 1.Узел подачи и загрузки заготовки 2.Шпиндельный блок с механизмом фиксации и приводом вращения 3.Узел поперечных суппортов 4.Узел продольных суппортов 5.Гидравлическое оборудование 6.Электрооборудование 7.Система охлаждения 8.Транспортер стружки |
0,55 0,18 0,07 0,06 0,17 0,65 0,08 0,24 |
0,2 0,2 0,18 0,02 0,2 0,2 0,2 0,2 |
0,0011 0,0004 0,0001 0,00001 0,0003 0,0013 0,0002 0,0005
|
| 3. Агрегатная | 1.Узел подачи и загрузки заготовки 2.Механизмы фиксации 3.Гидравлическое оборудование 4.Электрооборудование 5.Система охлаждения 6.Транспортер стружки 7.Силовой стол с гидроприводом 8.Поворотный стол 9.Силовая головка |
3,3 0,18 0,65 3,43 0,72 0,24 1,2 0,1 0,18 |
0,476 0,476 0,476 0,476 0,476 0,476 0,476 0,476 0,476 |
0,0157 0,0009 0,0031 0,0163 0,0034 0,0011 0,0057 0,0005 0,0009
|
| 4. Агрегатная | 1.Узел подачи и загрузки заготовки 2.Механизмы фиксации 3.Гидравлическое оборудование 4.Электрооборудование 5.Система охлаждения 6.Транспортер стружки 7.Силовой стол с гидроприводом 8.Поворотный стол 9.Силовая головка |
3,3 0,18 0,65 3,43 0,72 0,24 1,2 0,1 0,18 |
0,187 0,187 0,187 0,187 0,187 0,187 0,187 0,187 0,187 |
0,0062 0,0003 0,0012 0,0064 0,0013 0,0004 0,0022 0,0002 0,0003
|
Таким образом:
мин.
Производительность данного варианта:
деталей/смену.
3. Роботизированные комплексы
При обслуживании металлорежущих станков промышленные роботы (ПР) выполняют следующие вспомогательные операции: установку заготовок в рабочей зоне станка и снятие обработанной детали с укладкой ее на конвейер, в ориентирующий магазин и т. п.; контроль размеров заготовок и обработанных деталей; очистку базовых поверхностей деталей, заготовок и фиксирующих приспособлений станка от грязи и стружки; проверку правильности базирования и фиксации заготовок в зажимных приспособлениях станка; смену захватов, а также режущего и вспомогательного инструмента. ПР может осуществлять поиск, опознавание детали и перебазирование ее в процессе обработки. При обслуживании группы станков ПР обеспечивает межстаночное транспортирование деталей.
Типовым примером одностаночного РТК с встроенным ПР являются комплексы на базе ПР мод. M10П.62.01 и его модификаций. Достоинством таких РТК является их компактность, так как робот закрепляется непосредственно на станке, не занимая дополнительной площади. ПР может быть закреплен в различных положениях в зависимости от схемы загрузки станка и оснащен двухместным захватом.
Как правило, указанные РТК содержат тактовые накопители, предназначенные для транспортирования деталей в зону работы ПР. Заготовки могут располагаться либо непосредственно на накопителе, либо на спутниках, закрепленных на накопителе. Возможна также работа ПР и со стационарной многопозиционной тарой.
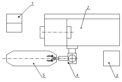
Планировка РТК с ПР мод. М10П.62.01, закрепляемым на передней стенке станины станка, показана на рис. 3.1.РТК укомплектован тактовым столом 5, на котором устанавливается запас заготовок, достаточный для двух- восьмичасовой работы комплекса. В состав РТК входит также система 3 управления станком.
Тактовый стол подает заготовку на фиксированную позицию, : которой ее снимает рука ПР 4 н устанавливает в рабочую зону станка 2. После обработки готовая деталь снимается и устанавливается роботом в ту же позицию тактового стола. Затем система 7 управления роботом формирует сигнал для перемещения тактового стола на один шаг: готовая деталь перемещается на другую позицию, а на ее место поступает новая заготовка.

Рисунок 3.1 – Планировка РТК со встроенным в станок ПР
Роботизированный комплекс для связи двух агрегатных станков (рис. 3.2) выполнен на базе однорукого или двурукого ПР мод. КМ10Ц4201 грузоподъемностью 10 или 5x2 кг и двух агрегатных станков мод. 3X4242 и 3X4243. Комплекс предназначен для выполнения различных технологических операций, включающих переходы сверления, нарезании резьб, обточки и фрезерования деталей типа корпусов, фланцев массой до 10 кг в условиях мелкосерийного производства.
Автоматический манипулятор в составе комплекса выполняет загрузку станка заготовками из магазина и передачу заготовок со станка на станок.

Рисунок 3.2 – РТК для связи агрегатных станков: 1,2 – агрегатные станки, 3 – механизм разгрузки станка на конечной операции обработки, 4 – системы управления комплексом, 5 – магазин, 6 – заготовки, 6 – ПР
4. Транспортные системы загрузочных устройств для промышленных роботов
Транспортные системы являются одним из основных элементов автоматизированного производства в любой отрасли промышленности. Кроме основных функций — перемещения изделий и материалов, транспортные системы могут изменять ориентацию, производить накопление и адресование изделий, осуществлять обработку изделий и материалов в процессе перемещения. Наиболее полно возможности транспортных систем реалзованы в автоматических линиях, нашедших широкое применение в массовом производстве. В автоматических линиях полностью решены вопросы загрузки и выгрузки ТМ, передачи изделий с одного участка на другой. В этих линиях обычно применяются специальные или специализированные транспортеры, предназначенные для перемещения одного или нескольких видов изделий. Необходимость частой переналадки технологического оборудования на другой тип изделий, характерна для большинства современных быстросменных и многономенклатурных производств, сопряжена с большими материальными и временными затратами, исключающими применение традиционных автоматических линий.
Широкое использование ПР в качестве универсальных питателей позволило расширить возможности и области эксплуатации автоматических линий. В роботизированных автоматических линиях — объем использования транспортных систем существенно уменьшается, так как ПР наряду с загрузкой выгрузкойодновременно выполняет операцию перемещения изделий от одной ТМ к другой. Основная задача транспортеров в РТК состоит в загрузке-разгрузке ПР изделиями и материалами, поступающими, например, из магазинов, складов, соседних ПР, расположенных за их рабочей зоной.
Несмотря на принципиальные сходства конвейеров, выполняющих загрузку ПР или ТМ, следует отметить отличия конвейеров ПР от конвейеров ТМ, которые заключаются в более высокой степени универсальности, меньшем числе дополнительных устройств изменения ориентации, высокой мобильности, лучших условиях наладки и обслуживания.
Из всего многообразия транспортных средств наибольшее применение для загрузки ПР нашли конвейеры (транспортеры), которые классифицируются по следующим признакам: природе сил, перемещающих изделия; виду движения; положению несущего органа в пространстве; характеру связи между изделием и несущим органом; назначению.
В зависимости от природы сил, перемещающих изделия, конвейеры делятся на механические, пневматические, электромагнитные, вибрационные, гравитационные (самотечные). Находят применение комбинированные конвейеры, которые характеризуются воздействием нескольких сил на перемещаемый предмет. К комбинированным конвейерам относится большой класс полусамотечных конвейеров, а также пневмомеханические, пневмоэлектромагнитные и др.
По виду перемещения конвейеры делятся на две группы: непрерывные и дискретные. В свою очередь дискретные конвейеры могут быть с постоянным и переменным ритмом. Переменный ритм задается ПР или ТМ.
По положению несущего органа в пространстве конвейеры I могут быть горизонтальными, вертикальными, наклонными » смешанными. При этом различают замкнутые и разомкнутые I конвейерные схемы.
Связь между изделием и несущим органом конвейера бывает жесткой и гибкой. Жесткая связь исключает потерю ориентации изделий за счет механических элементов, ограничивающих перемещения изделий относительно несущего органа. К этим конвейерам относятся штанговые, грейферные, толкающие и др. Гибкая связь определяется силами трения между соприкасающимися поверхностями изделия и несущего органа. В этом случае положение изделия на конвейере однозначно не определено и в процессе перемещения возможна потеря ориентации.
По назначению различают конвейеры для насыпных грузов, жидкостей и штучных изделий.
5. Расчет экономических показателей
Показателем экономической эффективности являются неполные приведенные затраты.
Неполные приведенные затраты (с учетом принятых допущений):
=![]()
где К – стоимость технологического оборудования;
З – заработная плата (считаем постоянной).
Составим таблицу 3, в которой укажем стоимость каждой единицы оборудования.
Таблица 3.1 – Стоимость оборудования для первого варианта
| № обор. | Наименование оборудования | Наименование узла | Стоимость узла, у.е. | Количество узлов в оборудовании | Стоимость оборудования |
| 1 | Токарный автомат | - | 12000 | - | 12000 |
| 2 | Токарный автомат | - | 12000 | - | 12000 |
| 3 | Агрегатный станок | Стол поворотный | 240 | 1 | 240 |
| Силовая головка | 1000 | 5 | 5000 | ||
| Насадка | 500 | 3 | 1500 | ||
| Стол силовой | 600 | 5 | 3000 | ||
| 4 | Вертикально-сверлильный станок | - | 6000 | - | 6000 |
| 39740 |
Таблица 3.1 – Стоимость оборудования для второго варианта
| № обор. | Наименование оборудования | Наименование узла | Стоимость узла, у.е. | Количество узлов в оборудовании | Стоимость оборудования |
| 1 | Токарный автомат | - | 12000 | - | 12000 |
| 2 | Токарный автомат | - | 12000 | - | 12000 |
| 3 | Агрегатный станок | Стол поворотный | 240 | 1 | 240 |
| Силовая головка | 1000 | 5 | 5000 | ||
| Насадка | 500 | 4 | 2000 | ||
| Стол силовой | 600 | 5 | 3000 | ||
| 3 | Агрегатный станок | Стол поворотный | 240 | 1 | 240 |
| Силовая головка | 1000 | 2 | 2000 | ||
| Насадка | 500 | 2 | 1000 | ||
| Стол силовой | 600 | 2 | 1200 | ||
| 38180 |
Из таблицы 3 окончательно выбираем второй вариант, который отличается наиболее низкими значениями приведенных затрат. Для данного варианта приведены эскизы карт наладок.
Чертеж компоновки автоматической линии приведен в приложении А. Циклограмма работы автоматической линии приведена в приложении Б. Эскизы наладок в приложениях В, Г, Д, Е.
Вывод
В данной курсовой работе рассматривался процесс проектирования автоматической линии технологического оборудования.
Поставленная цель работы - спроектировать оптимальную структурно-компоновочную схему автоматической линии для условий серийного производства детали «Основание» - была полностью достигнута, при этом было выполнено основное требование к проектируемой линии: обеспечена требуемая производительность при наилучших экономических показателях.
Курсовая работа включает данную пояснительную записку, которая содержит все необходимые сведения о проектировании автоматической линии; эскизы карт наладок; чертеж компоновки автоматической линии с обозначением всех позиций и спецификацией; циклограмма работы автоматической линии.
Список использованной литературы
1. Справочник нормировщика-машиностроителя. Т.2. Техническое нормирование станочных работ.
2. Роботизированные производственные комплексы. Ю.Г.Козырев, А.А. Кудинов, В.А. Булатов и др., Под ред. Ю.Г.Козырева, А.А. Кудинова. – М.: Маш-е, 1987, - 272с.
3. Горбацевич А.Ф., Шкред В.А. Курсовое проектирование по технологии машиностроения. - Мн: Выш. школа, 1983. - 256 с.
4. Справочник Технолога-машиностроителя. Т. 1 /Под ред. А.Г.Косиловой и Р.К.Мещерякова. - Г.: Машиностроение, 1985. - 656 с.; Справочник Технолога-машиностроителя. Т. 2 /Под ред. А.Г.Косиловой и Р.К.Мещерякова. - Г.: Машиностроение, 1985. - 496 с.
5. Балабанов А.Н. Краткий справочник технолога-машиностроителя. - Г.: Издательство стандартов, 1992. - 464 с.