| Скачать .docx |
Курсовая работа: Проектирование редуктора
Содержание
Введение
1Пояснительная записка
Назначение и выбор конструкции редуктора
Выбор сорта масла
Выбор посадок
Сборка редуктора
2 Расчетная часть проекта
Исходные данные для проектирования
Содержание расчета
Выбор электродвигателя и кинематический расчет
Расчет редуктор
Предварительный расчет валов редуктора
Конструктивные размеры шестерни и колеса
Конструктивные размеры корпуса редуктора
Расчет открытой передачи
Проверка долговечности подшипников
Проверка прочности шпоночных соединений
Уточнённый расчет валов
Список используемой литературы
Введение
В современное время развитие народного хозяйства зависит от машиностроения. Для современного машиностроения характерно:
• Повышение требований к техническому уровню
• Повышение требований к качеству и надежности
• Увеличение сроков долговечности техники
Основные требования, предъявляемые к создаваемой машине:
• Высокая производительность
• Надежность
• Технологичность
• Ремонтопригодность
• Минимальные габариты и масса
• Удобство эксплуатации
• Экономичность
• Техническая эстетика
Все эти требования учитывают в процессе проектирования.
При расчетах, конструировании и изготовлении машин должны строго соблюдаться государственные стандарты (ГОСТы), отраслевые стандарты(ОСТы), стандарты предприятий(СТП).Основы надежности закладываются при проектировании изделия, при выборе оптимальных вариантов конструкции. В данном курсовом проекте сконструирован привод подвесного конвейера.
Привод состоит из цилиндрического редуктора и конической передачи. В пояснительной записке выполнены геометрические и прочностные расчеты механических передач, валов, подобраны подшипники, выполнен их расчет на долговечность. В графической части курсового проекта выполнен сборочный чертеж редуктора, рабочие чертежи ведомого вала и зубчатого колеса.
1. ПОЯСНИТЕЛЬАЯ ЗАПИСКА
1.1 Назначение и выбор конструкции редуктора
Редуктором называют механизм, выполненный в виде самостоятельного агрегата с целью понижения частоты вращения ведомого вала и увеличения вращающего момента на ведомом валу. Редуктор состоит из зубчатых или червячных колес, валов, подшипников, крышек подшипников, корпуса и др.
Редукторы широко применяют в приводах различных рабочих машин в разных отраслях машиностроения. Соединение редуктора с двигателем осуществляется с помощью муфты или ременных и цепных передач. Редукторы классифицируют по типам, типоразмерам и исполнениям.
Тип редуктора определяют– по виду применяемых зубчатых передач и порядку их размещения в направлении от быстроходного вала к тихоходному, по числу ступеней передачи и по расположению геометрической оси тихоходного вала в пространстве.
Редукторы бывают цилиндрические, конические, коническо – цилиндрические, червячные, червячно – цилиндрические, цилиндрическо – червячные, планетарные, волновые и т.д.
По числу ступеней передач различают редукторы одноступенчатые, двухступенчатые, трехступенчатые.
По расположению геометрической оси тихоходного вала в пространстве различают редукторы: горизонтальные и вертикальные.
Типоразмер редуктора определяет тип и главный размер тихоходной ступени для цилиндрических и червячных передач главным параметром является межосевое расстояние, конической – внешний делительный диаметр. Другими параметрами зубчатых редукторов являются коэффициент ширины зубчатых колес, модули зубчатых колес, углы наклона зубьев, а для червячных редукторов дополнительно коэффициент диаметра червяка.
Исполнение редуктора определяют передаточное число, вариант сборки, форма концевых участков валов. Основная энергетическая характеристика редуктора – номинальный вращающий момент на тихоходном валу.
Цилиндрические редукторы применяют для передачи движения между валами, оси которых параллельны.
Наиболее распространены вертикальные и горизонтальные цилиндрические ре-дукторы с прямыми и шевронными зубьями.
Максимальное передаточное число одноступенчатого цилиндрического редуктора по ГОСТу равно 12,5. Высота одноступенчатого редуктора с таким или близким к нему передаточным числом больше, чем двухступенчатого с тем же значением. По-этому практически редукторы с передаточным числом, близким к максимальному, применяют редко, ограничиваясь 6.
Выбор горизонтальной и вертикальной схемы для редукторов всех типов обу-словлен удобством общей компоновки привода.
1.2 Выбор сорта масел
Смазывание зубчатого зацепления производится окунанием зубчатого колеса в масло, заливаемое внутрь корпуса до погружения колеса на всю длину зуба.
Контактное напряжение и средняя окружная скорость колес
σн=487,13 МПа
υ=0,62 м/с
Кинематическая вязкость приблизительно равна 40*10-6 м/с (1.табл.10.8).
Принимаем масло индустриальное И-40А (1.табл.10.10).
Подшипники смазываем пластичным смазочным материалом, закладываемым в подшипниковые камеры при монтаже.
Принимаем солидол марки УС-2(1.табл.9.14)
Объем заливаемого масла вычисляем по формуле
Vм=0,6*Pтр.
Vм=0,5*3,3=1,65 дм3=1,65 л
Уровень масла hм, мм, вычисляем по формуле
hм= Vм/(a*b),
где a,b–размеры рабочей камеры, м;
a=2,8 дм3 (по построению);
b=1,3 дм3 (по построению).
hм= 1,65/(2,8*1,3)=0,45 дм=45 мм
1.3 Выбор посадок
Посадка шестерни и колеса на вал H7/t6 (ГОСТ 25347–82).
Посадка муфты на вал редуктора H7/p6 (ГОСТ 25347–82).
Шейки валов под подшипники выполняем с отклонением вала k6. Отклонения отверстий в корпусе под наружные кольца по H7 (ГОСТ 25347–82).
Следующие посадки принимаем, пользуясь справочными данными:
Шейки валов под войлочные уплотнения выполняем с отклонением вала h8.
1.3 Сборка редуктора
Перед сборкой внутреннюю полость редуктора тщательно очищают и покрывают маслостойкой краской.
Сборку производят в соответствии со сборочным чертежом редуктора, начиная с узлов валов:
В ведущий вал закладывают шпонку и напрессовывают шестерню до упора в бурт; на вал надевают кольца, маслоотражатели и напрессовывают шарикоподшипники, нагретые масле; в камеры вставляют распорные кольца.
Аналогично монтируют ведомый вал.
На корпус центруют крышку редуктора штифтами.
Заворачивают подшипниковые крышки и закладывают войлочное уплотнение.
Проверяют провинчиванием валов отсутствие заклинивания подшипников (валы должны поворачиваться от руки) и закрепляют подшипниковые крышки с войлочным уплотнением болтами, крепят крышку редуктора.
Затем ввертывают пробку маслоспускного отверстия с прокладкой и жезловый маслоуказатель.
Заливают в корпус масло и закрывают смотровое отверстие крышкой с прокладкой из технического картона.
Собранный редуктор обкатывают и подвергают испытанию на стенде по программе, установленной техническими условиями.
2. РАСЧЕТНАЯ ЧАСТЬ ПРОЕКТА
2.1 Исходные данные для проектирования

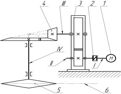
Рисунок 1– Привод к подвесному конвейеру
1–двигатель; 2–МУВЗ; 3–цилиндрический редуктор; 4–коническая передача; 5–ведущие звездочки конвейера; 6–тяговая цепь.
I,II,III,IV– валы, соответственно,– двигателя, быстроходный и тихоходный редуктора, рабочей машины.
Таблица 1–Исходные данные
| Исходные данные | Значения величин |
| Тяговая сила цепи F, кН | 5,5 |
| Скорость грузовой цепи υ, м/с | 0,55 |
| Шаг грузовой цепи p, мм | 80 |
| Число зубьев звездочки z | 9 |
| Допускаемое отклонение скорости грузовой цепи δ, % | 3 |
| Срок службы привода L, лет | 6 |
2.2 СОДЕРЖАНИЕ РАСЧЕТА
2.2.1 Выбор электродвигателя и кинематический расчет
Общий КПД привода ηвычисляют по формуле
η = η1* η2* (η3)2* η4 ,
где η1- КПД цилиндрического редуктора ,η1=0,98 (1.табл. 1.1.);
η2- КПД конической передачи, η2=0,97 (1.табл. 1.1.);
η3- КПД, учитывающий потери пары подшипников качения, η3=0,99
(1.табл. 1.1.);
η4- КПД, учитывающий потери в опорах вала подвесного конвейера, η4=0,99 (1.табл. 1.1.).
η=0,98*0,97*(0,99)2*0,99=0,92
Мощность на валу подвесного конвейера P, кВт, вычисляют по формуле
P=F*υ ,
где F -тяговая сила цепи, F=5,5 кH;
υ -скорость тяговой цепи, υ=0,55 м/с.
P=5,5*0,55=3,025 кВт
Требуемую мощность электродвигателя Pтр., кВт, вычисляют по формуле
Pтр. =P/ η
Pтр.=3,025/0,92=3,3 кВт
Частоту вращения вала подвесного конвейера n3, об/мин, вычисляют по формуле
n3=(60*103*υ)/(z*p) ,
где p- шаг грузовой цепи, p=80*10-3м;
z- число зубьев, z = 9.
n3=(60*103*0,55)/(9*80)=45,8 об/мин
Угловую скорость ω3, рад/с, вычисляют по формуле
ω3=π* n3/30
ω3=3,14*45,8/30=4,8 рад/с
Выбираем электродвигатель 4А112MВ6У2
Pдв. = 4,0 кВт
nдв. =1000 об/мин (1.табл. П1)
s = 5,1%
dдв.= 32 мм (1.табл.П2)
Номинальную частоту вращения электродвигателя nдв., об/мин, вычисляют по формуле
nдв. =n-s
nдв. =1000-51=949 об/мин
Угловую скорость электродвигателя ωдв., рад/с, вычисляют по формуле
ωдв.= π* nдв. /30
ωдв.=3,14*949/30=99,3 рад/с
Общее передаточное отношение iвычисляют по формуле
i = ωдв. /ω3
i =99,3/4,8=20,68
Принимаем iред,= 4 (1.стр.36).
Передаточное число открытой передачи iо.п. вычисляют по формуле
iо.п. = i / iред,
iо.п. =20,68/4≈5
Таблица 2 – Частоты вращений и угловые скорости валов редуктора и вала подвесного конвейера
Вал A n1=nдв.=949 об/мин ω1=ωдв.=99,3рад/с
Вал B n2=n1/ iо.п.=237,3 об/мин ω2= ω1/ iо.п.=24,83 рад/с
Вал C n3=47,5 об/мин ω3=4,8 рад/с
Вращающий момент на валу шестерни T1, H*м , вычисляют по формуле
T1=Pтр./ ω1
T1=3300/99,3=33,2 H*м
Вращающий момент на валу колесаT2,H*м, вычисляют по формуле
T2=T1* iред
T2=33,2*4=132,8 H*м
Вращающий момент на валу колеса конической передачи T3,H*м, вычисляют по формуле
T3=T2* iо.п.
T3=135,9*5=664 H*м
2.2.2 Расчет редуктора
Принимаю для шестерни 40ХН, термическая обработка-улучшение,
твердость HB 280.
Принимаю для колеса 40ХН, термическая обработка-улучшение, твердость
HB 250.
Допускаемое контактное напряжение [σн], МПа, вычисляют по формуле
[σн]= σн lim b*KHL/[SH] ,
где σн lim b=2HB+70-предел контактной выносливости при базовом числе циклов;
KHL-коэффициент долговечности, KHL=1;
SH- коэффициент безопасности, SH=1,1.
Допускаемое напряжение для шестерни [σн1], МПа, вычисляют по формуле
[σн1]= (2*HB1+70)*KHL/[SH]
[σн1]=(2*280+70)*1/1,1=572 МПа
Допускаемое напряжение для колеса [σн2], МПа, вычисляют по формуле
[σн1]= (2*HB2+70)*KHL/[SH]
[σн1]=(2*250+70)*1/1,1=518 МПа
Допускаемое контактное напряжение [σн], МПа, вычисляют по формуле
[σн]=0,45*([σн1]+ [σн2])
[σн]=0,45*(572+518)=491 МПа
Межосевое расстояние aω, мм, вычисляют по формуле
aω=Kа*(iред.+1)*3√((T2*KHβ)/( [σн]2*(iред.)2*ψba)),
где Kа–коэффициент для прямозубой передачи, Kа=49,5;
iред.–передаточное число редуктора, iред.=4;
T2–вращающий момент на ведомом валу, T3=132,8 Н*м;
KHβ–коэффициент учитывающий неравномерность распределения на-грузки
по ширине венца, KHβ=1;
[σн] – допускаемое напряжение для материала колес, [σн]=491 МПа;
ψba–коэффициент ширины венца по межосевому расстоянию, ψba=0,25.
aω=49,5*(4+1)*3√((132,8*1*103)/( 4912*42*0,25))=127,8 мм
Принимаю aω=125 мм (1.ст.36)
Нормальный модуль зацепления mn, мм, вычисляют по формуле
mn=(0,01÷0,02)* aω
mn=(0,01÷0,02)*125=(1,25÷2,5) мм
Принимаю mn=2 мм ( 1.ст.36)
Число зубьев шестерни z1 вычисляют по формуле
z1=(2* aω)/ ((iред.+1)*mn)
z1=(2*125)/(5*2)=25
Принимаю z1=25
Число зубьев колеса z2 вычисляют по формуле
z2= z1* iред.
z2=25*4=100
Принимаю z2=100
Уточняю
iред.= z2/ z1
iред.=100/25=4
Делительные диаметры d1,d2, мм, вычисляют по формуле
d1=mn* z1
d2=mn* z2
d1=2*25=50 мм
d2=2*100=200 мм
Проверка
aω=( d1+ d2)/2
aω=(50+200)/2=125 мм
Диаметры вершин зубьев da1, da2, мм, вычисляют по формуле
da1= d1+2*mn
da2= d2+2*mn
da1=50+4=54 мм
da2=200+4=204 мм
Диаметр впадин зубьев df1, df2, вычисляют по формуле
df1= d1-2,5*m
df2= d2-2,5*m
df1= 50-2,5*2=45 мм
df2= 200-2,5*2=195 мм
Ширину колеса b2, мм, вычисляют по формуле
b2= ψba* aω
b2=0,25*125≈32 мм
Ширину шестерни b1, мм, вычисляют по формуле
b1= b2+5
b1=32+5=37 мм
Коэффициент ширины шестерни по диаметру ψbd вычисляют по формуле
ψbd=b1/d1
ψbd=37/50=0,74
Окружную скорость колёс υ, м/с, вычисляют по формуле
υ=ω2*d1/2
υ=24,83*50*10-3/2=0,62 м/с
Принимаю 8-ую степень точности (1.ст.32)
Контактное напряжение σн, МПа, вычисляют по формуле
σн=(310/ aω)*√(T2*KH*(iред.+1)3)/(b2*(iред.)2)≤ [σн],
где KH= KHα* KHβ* KHυ–коэффициент нагрузки,
где KHα–коэффициент, учитывающий неравномерность распределения
нагрузки между зубьями, KHα=1,06 (1.табл.3.4)
KHβ–коэффициент, учитывающий неравномерность распределения
нагрузки по ширине венца, KHβ=1,025 (1.табл.3.5)
KHυ–динамический коэффициент, KHυ=1,11.табл.3.6)
KH=1,06*1,025*1,1=1,19
σн=(310/ 125)*√(132,8*1,19*(4+1)3*103)/(32*(4)2) ≤ [σн]=491 МПа
σн=487,13 МПА< [σн]=491МПа
Условие прочности выполнено
Окружную силу Ft, H, вычисляют по формуле
Ft=2*T1/d1
Ft=2*33,2*103/50=1328 H
Радиальную силу Fr, H, вычисляют по формуле
Fr= Ft*tgα,
где α–угол зацепления, α=20о
Fr=1328*tg20о=483 H
Напряжение изгиба σf, МПа, вычисляют по формуле
σf=( Ft*Kf*Yf* Yβ* Kfα)/(b*mn)≤ [σf],
где Kf= Kfβ* Kfυ–коэффициент нагрузки,
где Kfβ–коэффициент, учитывающий неравномерность распределения
нагрузки по длине зуба, Kfβ=1,065 (1.табл.3.7)
Kfυ–динамический коэффициент, Kfυ=1,2 (1.табл.3.8)
Kf=1,065*1,2=1,23
Yf1– коэффициент формы зуба шестерни, Yf1=3,61(1.стр.42)
Yf2– коэффициент формы зуба колеса, Yf2=3,60(1.стр.42)
Kfα– коэффициент, учитывающий неравномерность распределения
нагрузки между зубьями, Kfα=0,92
σf2=( Ft*Kf*Yf2* Kfα)/(b2*mn)≤ [σf]
σf2= (1328*1,23*3,60*0,92)/(32*2)=84,5 МПа< [σf]=206 МПа
Условие прочности выполнено
2.2.3 Предварительный расчет валов редуктора
Ведущий вал
Диаметр выходного конца dв1,мм, вычисляем по формуле
dв1=3√ (16*Tk1)/(π*[τk]),
где Tk1 –вращающий момент на валу, Tk1=135,9 Н*м;
[τk]–допускаемое напряжение на кручение, [τk]=25 МПа.
dв1=3√(16*33,2*103/3,14*25=18,9 мм
Принимаем dв1=30 мм
Принимаем диаметр под подшипниками dп1=35 мм
Ведомый вал
Диаметр выходного конца dв2,мм, вычисляем по формуле
dв2=3√ (16*Tk2)/(π*[τk])
dв2=3√ (16*132,8*103)/(3,14*25)=30 мм
Принимаем dв2=35 мм
Принимаем диаметр под подшипниками dп2=40 мм
Принимаем диаметр под колесом dк2=45 мм
2.2.4 Конструктивные размеры шестерни и колеса
Шестерня
Шестерню выполняем за одно целое с валом
Делительный диаметр шестерни d1=50 мм
Внешний диаметр шестерни da1=54 мм
Ширина шестерни b1=37 мм
Колесо
Делительный диаметр колеса d2=200 мм
Внешний диаметр колеса da2=204 мм
Ширина венца b2=32 мм
Диаметр ступицы колеса dст, мм, вычисляем по формуле
dст≈1,6*dк2
dст≈1,6*60=96 мм
Принимаем dст=96 мм
Длину ступицы колеса lст, мм, вычисляем по формуле
lст≈(1,2÷1,5)* dк2
lст≈(1,2÷1,5)*40=(48÷60) мм
Принимаем lст=60 мм
Толщину обода колеса δ0, мм, вычисляем по формуле
δ0=(2,5÷4)*mn
δ0=(2,5÷4)*2=5÷8 мм
Принимаем δ0=8 мм
Толщину диска C, мм, вычисляем по формуле
C=0,3* b2
C=0,3*32=9,6 мм
Принимаем С=10 мм
2.2.5 Конструктивные размеры корпуса редуктора
Толщину стенок корпуса и крышки δ, δ1,мм, вычисляем по формулам:
δ=0,04*aω+2
δ1=0,032*aω+2
δ=0,04*250+1=12мм
δ1=0,032*250+1=10 мм
Принимаем δ= 12мм
δ1=10 мм
Толщину верхнего пояса корпуса и крышки b, b1,мм, вычисляем по формуле
b=b1=1,5* δ
b=b1=1,5*12=18 мм
Толщину нижнего пояса p, мм, вычисляем по формуле
p=1,5* δ
p=1,5*12=18 мм
р2=(2,25÷2,27) δ
р2=(2,25÷2,27)12=15÷33мм
Принимаем p2=30 мм
Диаметр фундаментных болтов d1, мм, вычисляем по формуле
d1=(0,03÷0,036)*aω+12
d1=(0,03÷0,036)*250+12=19,5÷21 мм
принимаю : d1=20мм
Принимаем фундаментные болты с резьбой М20
Диаметр болтов, крепящих крышку к корпусу у подшипника, d2, мм, вычисляем по формуле
d2=16мм
d3=12мм
2.2.6. Расчет открытой передачи
Принимаем для шестерни сталь 40Х, термическая обработка-улучшение,
твердость HB 270.
Принимаем для колеса сталь 40Х, термическая обработка-улучшение, твер-дость HB 245.
Допускаемое контактное напряжение [σн], МПа, вычисляют по формуле
[σн]= σн lim b*KHL/[SH] ,
где σн lim b=2HB+70-предел контактной выносливости при базовом числе цик¬лов;
KHL-коэффициент долговечности, KHL=1;
SH- коэффициент безопасности, [SH]=1,15.
[σн]= 560*1/1,15=487 МПа
Внешний делительный диаметр колеса de2, мм, вычисляют по формуле
de2=Kd*3√(T3*KHβ*i)/([σH]2*(1-0,5*ψbRe)2* ψbRe) ,
где Kd–для колес с прямыми зубьями, Kd=99;
T3–вращающий момент на ведомом валу, T3=664 Н*м;
KHβ–коэффициент, учитывающий неравномерность распределения нагрузки
по ширине венца, KHβ=1,35(1.табл.3.1.);
i–передаточное число редуктора, i=4;
[σH]–допускаемое напряжение для материала колес, [σH]=487 МПа;
ψbRe–коэффициент ширины венца по отношению к внешнему конусному
расстоянию, ψbRe=0,285.
de2=99*3√(664*1,35*5*103)/(4872*(1-0,5*0,285)2*0,285)=444 мм
Принимаем de2=450мм (1.ст.49)
Число зубьев шестерни z1=25
Число зубьев колеса z2 вычисляют по формуле
z2= z1* i
z2=25*5=125
Внешний окружной модуль me, мм, вычисляют по формуле
me= de2/ z2
me=450/125=3,6
Уточняемзначение de2
de2= me* z2
de2=3,6*125=450 мм
Углы делительных конусов δ1, δ2, в градусах, вычисляют по формулам
ctg δ1=i
ctg δ1=5
δ1=11,3o
δ2=90o- δ1
δ2=90o-14,04o=78,7o
Внешнее конусное расстояние Re, мм, вычисляют по формуле
Re=0,5* me*√ (z12+ z22)
Re=0,5* 3,6*√ (252+ 1252)=229,5 мм
Ширину венца b, мм, вычисляют по формуле
b= ψbRe* Re
b=0,285*229,5≈65,4 мм
Внешний делительный диаметр шестерни, de1, мм, вычисляют по формуле
de1= me* z1
de1=3,6*25=900 мм
Средний делительный диаметр шестерни d1, мм, вычисляют по формуле
d1=2*( Re-0,5*b)*sin δ1
d1=2*( 229,5-0,5*65,4)*sin (11,3o)=77,12 мм
Внешний диаметр колеса dae2, мм, вычисляют по формуле
dae2= de2+2* me*cos δ2
dae2= 450+2* 3,6*cos (78,7º)=452 мм
Средний окружной модуль m, мм, вычисляют по формуле
m= d1/ z1
m=77,12/25=3,08 мм
Коэффициент ширины шестерни по среднему диаметру ψbd, вычисляют по формуле
ψbd=b/d1
ψbd=65,4/77,12=0,85
Среднюю окружную скорость колёс υ, м/с, вычисляют по формуле
υ=ω1*d1/2
υ=99,4*77,12/2000=3,83 м/с
Принимаем 7-ую степень точности.
Контактное напряжение σн, МПа, вычисляют по формуле
σн=(335/( Re-0,5*b) )*√(T3*KH*√(i2+1)3)/(b*i2)≤ [σн],
гдеKH= KHα* KHβ* KHυ–коэффициентнагрузки,
где KHα–коэффициент, учитывающий неравномерность распределения
нагрузки между зубьями, KHα=1 (1.табл.3.4)
KHβ–коэффициент, учитывающий неравномерность распределения
нагрузки по ширине венца, KHβ=1,27 (1.табл.3.5)
KHυ–динамический коэффициент, KHυ=1 (1.табл.3.6)
KH=1*1*1,27=1,27
σн=(335/ 196,8)*√(664*1,27*√(52+1)3*103)/(65,4*(5)2) ≤ [σн]=487 МПа
σн=445,1 МПА< [σн]=487 МПа
Условие прочности выполнено
Окружную силу Ft, H, вычисляют по формуле
Ft=2*T2/d1=2*T2* cos βn /( mn* z1)
Ft=2*132,8*103/77,12=3444 Н
Радиальную силу для шестерни равной осевой силе для колеса Fr1, Fа2, H, вычисляют по формуле
Fr1= Fа2= Ft*tgα* cos δ1,
где α–угол зацепления, α=20о
Fr1= Fа2=3444*tg20о*cos 11o=1230 H
Осевую силу для шестерни равную радиальной силе для колеса Fа1, Fr2, Н,
вычисляют по формуле
Fа2= Fr1= Ft*tg α*sin δ1
Fа1= Fr2=3444* tg 20о*sin 79о=1230 Н
Напряжение изгиба σf, МПа, вычисляют по формуле
σf=( Ft*Kf*Yf)/(b*m)≤ [σf],
где Kf= Kfβ* Kfυ–коэффициент нагрузки,
где Kfβ–коэффициент, учитывающий неравномерность распределения
нагрузки по длине зуба, Kfβ=1,49 (1.табл.3.7);
Kfυ–динамический коэффициент, Kfυ=1 (1.табл.3.8).
Kf=1,49*1=1,49
Эквивалентное число зубьев zυ1, zυ2, вычисляют по формулам
для шестерни zυ1= z1/ cos δ1
для колеса zυ2= z2/ cos δ2
для шестерни zυ1= 25/ cos 11о =26
для колеса zυ2= 125/ cos 79о=655
Yf1– коэффициент формы зуба шестерни, Yf1=3,88(1.стр.42)
Yf2– коэффициент формы зуба колеса, Yf2=3,60(1.стр.42)
Допускаемое контактное напряжение [σf], МПа, вычисляют по формуле
[σf]=(G0limb)/[Sf],
где G0limb–предел контактной выносливости при базовом числе циклов
для шестерни G0limb=1,8*270=490 МПа
для колеса G0limb=1,8*245=440 МПа
[Sf]–коэффициент безопасности, [Sf]=1,75(1.стр.344).
Допускаемое напряжение [σf1], [σf2] вычисляют по формуле
для шестерни [σf1]=490/1,75=280 МПа
для колеса [σf2]=440/1,75=251 МПа
Находим отношение [σf]/Yf
для шестерни 280/3,88=72 МПА
для колеса 251/3,60=70 МПа
Дальнейший расчет следует вести для зубьев колеса, для которого найдено
меньшее отношение
σf=( Ft*Kf*Yf2)/(b*m)< [σf]
σf=( 3444*1,49*3,60)/(65,4*3,08)=91,7 МПа< [σf]=251 МПа
Условие прочности выполнено
2.2.7 Проверка долговечности подшипников
Таблица 3–Подшипники в редукторе
Условное
обозначение
подшипника d D B C C0
мм кН
107 35 62 14 15,9 8,5
408 40 110 27 63,7 36,5
Ведущий вал
Ft1=1328 H Fr1=483 H
l1=0,05 м
Вертикальная плоскость
∑М2=0
Ry1*2*l1-Fr1*l1=0
Ry1= Fr1*l1/(2*l1)
Ry1= 483*0,07/(2*0,07)=241,5 Н
∑М1=0
Fr1*l1-Ry2*2*l1=0
Ry2= (Fr1*l1)/(2* l1)
Ry2=(483*0,05)/(2* 0,05)=241,5 Н
Проверка
∑Fiy=0
- Ry2-Ry1+Fr1=0
-241,5-241,5+483=0
Горизонтальная плоскость
Rx2= Rx1= Ft1/2
Rx2= Rx1=1328/2=664 Н
Суммарную реакцию Pr, H, вычисляют по формуле
Pr=√ (Rx)2+ (Ry)2
Pr1=√6642+241,52=707 Н
Pr2=√6642+241,52=707 Н
Осевую нагрузку подшипников Pa, Н, вычисляют по формуле
Pa=Fa1
Pa= 0 Н
Рассмотрим правый подшипник
Отношение
Pa/ C0=0/8500=0
Отношение
Pa/ Pr2=0/707=0<e
Эквивалентную нагрузку Pэ2, Н, вычисляют по формуле
Pэ2=V*Pr2*Kб*Kт,
где V–коэффициент, V=1(1.П7);
Kб– коэффициент, Kб=1,2(1.табл.9.19);
Kт– коэффициент, Kт=1(1.табл.9.20).
Pэ2= 1*707*1,2*1=848,4 Н
Расчетную долговечность L2, млн.об, вычисляют по формуле
L2=(C/Pэ2)3,
где C–динамическая грузоподъемность, C=15,9 кН (табл.2).
L2=(15,9/0,85)3=6 500 млн.об.
Расчетную долговечность Lh2, ч, вычислят по формуле
Lh2=(L2*106)/(60*n),
где n–частота вращения ведущего вала, n=949 об/мин (табл.1).
Lh2=(6 500*106)/(60*949)≈ 115 000ч
Данная долговечность приемлема
Ведомый вал
Ft2=1328 H Ft3=3444 H l3=0,08 м
Fr2=483 H Fr3=1230 H d3/2= 0,039 м
l2=0,05 мFa3=1230 H
Вертикальная плоскость
∑М4=0
-Ry3*2*l2+Fr2*l2-Fr3*l3+Fa3*d3/2=0
Ry3= (Fr2*l2-Fr3*l3+Fa3*d3/2)/ (2*l2)
Ry3= (483*0,05-1230*0,08+1230*0,039)/ (2*0,05)= -262,8 Н
∑М3=0
Ry4*2*l2-Fr2*l2-Fr3*(l3+2* l2)+Fa3*d3/2=0
Ry4= (Fr2*l2+Fr3*(l3+2* l2)-Fa3*d3/2)/ (2*l2)
Ry4= (483*0,05+1230*(0,08+2*0,05)-1230*0,039)/ (2*0,05)=1975,8 Н
Проверка
∑Fiy=0
Ry3+Ry4- Fr2- Fr3 = 0
-262,8+1975,8 - 483 -1230 = 0
Горизонтальная плоскость
∑М4=0
Rx3*2*l2-Ft2*l2-Ft3*l3=0
Rx3= (Ft2*l2+Ft3*l3)/( 2*l2)
Rx3=(1328*0,05+3444*0,08)/( 2*0,05)=3419,2 Н
∑М3=0
Rx4*2*l2+Ft2*l2-Ft3*(l3+2*l2)=0
Rx4=(Ft3*(l3+2*l2)- Ft2*l2)/( 2*l2)
Rx4= (3444*(0,08+2*0,05)- 1328*0,05)/( 2*0,05)=5535,2 Н
Проверка
∑Fix=0
-Rx3+Rx4+Ft2- Ft3 = 0
-3419,2+5535,2+1328-3444=0
Суммарную реакцию Pr, H, вычисляют по формуле
Pr=√ (Rx)2+ (Ry)2
Pr3=√3419,22+262,82=3429 Н
Pr4=√5535,22+1975,82=5877 Н
Осевую нагрузку подшипников Pa, Н, вычисляют по формуле
Pa=Fa3
Pa= 1230 Н
Рассмотрим правый подшипник
Отношение
Pa/ C0=1230/36500=0,033
Отношение
Pa/ Pr4=1230/5877=0,21<e=0,24
Эквивалентную нагрузку Pэ4, Н, вычисляют по формуле
Pэ4=V*Pr4*Kб*Kт,
где V–коэффициент, V=1(1.П7);
Kб– коэффициент, Kб=1,2(1.табл.9.19);
Kт– коэффициент, Kт=1(1.табл.9.20).
Pэ4= 1*5877*1,2*1=7052 Н
Расчетную долговечность L4, млн.об, вычисляют по формуле
L4=(C/Pэ4)3,
где C–динамическая грузоподъемность, C=63,7 кН (табл.2).
L4=(63,7/7,052)3= 737 млн.об.
Расчетную долговечность Lh4, ч, вычислят по формуле
Lh4=(L4*106)/(60*n),
где n–частота вращения ведомого вала, n=237,3 об/мин(табл.1).
Lh4=(737*106)/(60*237,3)≈ 52 000 ч
Данная долговечность приемлема
2.2.8 Уточненный расчет валов
Принимаем для валов Сталь 45, термическая обработка–нормализация.
Пределы выносливости σ-1, τ-1, МПа вычисляют по формуле
σ-1=0,43*[σв]
τ-1=0,58* σ-1,
где [σв]–предел прочности, [σв]=570 МПа (1.табл.3.3).
σ-1=0,43*570=245 МПа
τ-1=0,58*245=142 МПа
Ведущий вал
Сечение А-А (под муфтой)
Концентрация напряжений вызвана наличием шпоночной канавки.
Изгибающий момент М1, Н*мм, по ГОСТ 16162-78 вычисляют по формуле
М1=2,5*√T1*(L/2),
где L–длина посадочного участка полумуфты, L=0,08 м.
М1=2,5*√33,2*1000*(0,08/2)=18,2 Н*мм
Момент сопротивления сечения W1, мм3, вычисляют по формуле
W1=π*(dв1)3/32-(b1*t1*(dв1-t1)2/(2*dв1)),
W1=3,14*(30)3/32-(10*5*(30-5)2/(2*30))=2,13*103 мм3
Амплитуду и максимальное напряжение цикла по нормальным напряжениям συ, МПа, вычисляют по формуле
συ= σmax= М1/ W1
συ= σmax=18,2*103/2,13*103=8,5 МПа
Коэффициент запаса прочности по нормальным напряжениям sυ вычисляют по формуле
sσ= σ-1/(( kσ/ εσ)* συ),
где kσ=1,6 (1.табл.8.5);
εσ=0,88 (1.табл.8.8).
sσ= 245/((1,6/0,88)*22,2)=6,07
Момент сопротивления кручению Wк1, мм3, вычисляют по формуле
Wк1=π*(dк1)3/16-(b1*t1*(dк1-t1)2/(2*dк1)),
Wк1= 3,14*(30)3/16-(10*5*(30-5)2/(2*30))=4,23*103 мм3
Амплитуду и среднее напряжение цикла касательных напряжений τυ, МПа,
вычисляют по формуле
τυ= τm= τmax/2=0,5*T1/ Wк1
τυ= τm= τmax/2=0,5*33,2*103/4,23*103=3,92 МПа
Коэффициент запаса прочности по касательным напряжениям sτ вычисляют по формуле
sτ= τ-1/(( kτ/ ετ)* τυ+ψττm),
где kτ=1,5 (1.табл.8.5);
ετ=0,77 (1.табл.8.8);
ψτ–коэффициент, ψτ=0,1.
sτ= 142/((1,5/0,77)*3,92+0,1*3,92)=17,15
Коэффициент запаса прочности s вычисляют по формуле
s= (sσ* sτ)/(√( sσ)2+( sτ)2)≥[s]
s= (6,07*17,15)/(√(6,07)2+(17,15)2) = 5,72>[s]=2
Полученный коэффициент соответствует нормативам
Ведомый вал
Сечение Б-Б
Концентрация напряжений вызвана напрессовкой подшипника.
Суммарный изгибающий момент М2, Н*мм, вычисляют по формуле
М2=√(Mx2)2+(My2)2,
где Mx2, My2–изгибающие моменты под правым подшипником,
Mx2=50,43*103 Н*мм
My2=275,52*103 Н*мм
М2=√50,43*103)2+(275,52*103)2=280*103 Н*мм
Момент сопротивления сечения Wнетто2, мм3, вычисляют по формуле
Wнетто2=π*(dп2)3/32
Wнетто2=3,14*(40)3/32)=6,28*103 мм3
Амплитуду и максимальное напряжение цикла по нормальным напряжениям συ, МПа, вычисляют по формуле
συ= σmax= М2/ W2
συ= σmax=280*103/6,28*103=44,6 МПа
Коэффициент запаса прочности по нормальным напряжениям sυ вычисляют по формуле
sσ= σ-1/(( kσ/ εσ)* συ),
где kσ/ εσ =2,7 (1.табл.8.7);
sσ= 245/(2,7*44,6)=2,04
Момент сопротивления кручению Wкнетто2, мм3, вычисляют по формуле
Wкнетто2=π*(dп2)3/16
Wкнетто2= 3,14*(40)3/16=12,56*103 мм3
Амплитуду и среднее напряжение цикла касательных напряжений συ, МПа,
вычисляют по формуле
τυ= τm= τmax/2=0,5*T2/ Wкнетто2
τυ= τm= τmax/2=0,5*132,8*103/12,56*103=5,29 МПа
Коэффициент запаса прочности по касательным напряжениям sτ вычисляют по формуле
sτ= τ-1/(( kτ/ ετ)* τυ+ψττm),
где kτ/ ετ =2,02 (1.табл.8.7);
ψτ–коэффициент, ψτ=0,1.
sτ= 142/(2,02*5,29+0,1*5,29)=12,7
Коэффициент запаса прочности s вычисляют по формуле
s= (sσ* sτ)/(√( sσ)2+( sτ)2)≥[s]
s= (2,04*12,7)/(√(2,04)2+(12,7)2)=2,02>[s]=2
Полученный коэффициент соответствует нормативам
Таблица 4–Коэффициенты запаса прочности в опасных сечениях
Опасные сечения А-А Б-Б
Коэффициент запаса прочности s 5,72 2,02
Во всех сечениях s>[s]=2
2.2.9 Проверка прочности шпоночных соединений
Шпонка под полумуфтой
dв1=30 мм
b×h×l= 10×8×60
t1=5 мм
T1=33,2 Н*м
Напряжение смятия σсм, МПа, вычисляют по формуле
σсм=2*T2/( dв1*(h-t)*(l-b))≤ [σсм]
σсм=2*33,2*1000/( 30*(8-5)*(60-10))=14,75 МПа< [σсм] =120 МПа
Условие прочности выполнено
Шпонка под колесом
dк2=45 мм
b×h×l= 14×9×50
t=5,5 мм
T2=132,8 Н*м
σсм=2*132,8*1000/( 45*(9-5,5)*(50-14))=46,8 МПа< [σсм] =120 МПа
Условие прочности выполнено
Шпонка под конической шестерней
dв2=35 мм
b×h×l= 10×8×60
t=5 мм
T2= 132,8 Н*м
σсм=2*132,8*1000/( 35*(8-5)*(60-10))= 50,6 МПа< [σсм] =120 МПа
Условие прочности не выполнено, ставлю 2 шпонки.

