| Похожие рефераты | Скачать .docx |
Курсовая работа: Расчет печи и процессов горения
1. Методы использования тепловых вторичных ресурсов
1.1 Использование тепловых ВЭР возможно по трем направлениям

Рис. 1.1 - Схема нагревательной печи с регенерацией теплоты уходящих газов [1]:
1 — горелка; 2 — рабочий объем печи; 3 — нагреваемые детали;
4 — воздухонагреватель

Рис. 1.2 - Схема установки для осушки компрессорного воздуха [1]:
1 — теплообменник; 2 — конденсатор или вымораживатель;
3 — холодильная машина
1.2 Установки для внешнего теплоиспользования
Тепловые ВЭР газовых потоков с высокой (> 400 °С) и средней (100—400 °С) температурой обычно используют для производства пара и горячей воды с помощью паровых или водогрейных котлов-утилизаторов. Котлы-утилизаторы очень широко применяются в промышленности. Широко распространены в настоящее время системы испарительного охлаждения элементов высокотемпературных печей. В печах многие элементы приходится делать из металла — прежде всего это несущие и поддерживающие балки, на них ложиться большая нагрузка, которую не выдержат огнеупорные материалы. Практически невозможно делать из огнеупоров и подвижные элементы, особенно те, которые должны герметично закрываться, например завалочные окна, шиберы, перекрывающие проходное сечение газоходов и т. п. Но металлы могут работать только при умеренных температурах до 400—600 °С, а температура в печи намного выше. Поэтому металлические элементы печей делают полыми и внутри них циркулирует охлаждающая вода. Для исключения образования накипи и загрязнений внутри охлаждаемых элементов вода должна быть специально подготовленной. Кроме того, эту воду нужно охлаждать или сбрасывать. И в том, и в другом случае происходит загрязнение окружающей среды.
Все эти недостатки исключаются, если в охлаждаемые элементы печи подают воду из контура циркуляции парового котла-утилизатора (рис. 1.3).
Охлаждаемые элементы печи здесь выполняют роль испарительной поверхности, в которой теплота уже не сбрасывается в окружающую среду, а идет на выработку пара. Питание котлов осуществляется химически очищенной водой, поэтому накипи и загрязнений внутри охлаждаемых элементов не образуется, и срок их службы в 1,5—3 раза больше, чем при охлаждении необработанной проточной водой.

Рис. 1.3 - Упрощенная схема котла-утилизатора с системой испарительного охлаждения [1]:
1 — питательный насос; 2 — водяной экономайзер; 3 — испарительная поверхность котла; 4— пароперегреватель; 5— барабан котла; 6 — охлаждаемые элементы печи; 7— циркуляционный насос
Система испарительного охлаждения может работать и как самостоятельный паровой котел, но мощность его будет слишком малой. При комплексном подходе к утилизации теплоты от газов и охлаждаемых элементов конструкции печи значительно сокращаются затраты на вспомогательное оборудование, коммуникации, обслуживание и т. п.
Иногда удается использовать теплоту раскаленных твердых продуктов. На многих металлургических комбинатах сейчас работают установки охлаждения (технологи говорят «сухого тушения») кокса (УСТК), в которых охлаждается выгружаемый из коксовых батарей кокс с температурой свыше 1000 °С.
Особая сложность этой установки состоит в том, что кокс — горючий материал. Поэтому для его охлаждения используют инертный азот, а всю установку герметизируют, по возможности предотвращая утечки азота.
Раскаленный кокс в специальных вагонах быстро (поскольку на воздухе он горит) транспортируется от коксовой батареи и загружается в герметичную фор-камеру 1 (рис. 1.4), затем поступает в камеру тушения 2, в которой он снизу вверх продувается инертным газом. За счет постепенной выгрузки снизу кокс плотным слоем движется сверху вниз противотоком к охлаждающему газу. В результате кокс охлаждается с 1000—1050 °С до 200—250 °С, а газ нагревается с 180—200 °С до 750—800 °С. Через специальное отверстие 3 и пылеосадительную камеру 4 газы попадают в котел-утилизатор 5. В нем за счет охлаждения 1 т кокса получают примерно 0,5 т пара достаточно высоких параметров р = 3,9—4,0 МПа и t = 440—450 °С. После котла-утилизатора охлажденный газ еще раз очищают от пыли в циклоне 6 и вентилятором 1 вновь направляют в камеру тушения под специальный рассекатель для равномерного распределения по сечению камеры.
Сухой способ охлаждения по сравнению с традиционным, когда раскаленный горящий кокс действительно «тушат», поливая водой, позволяет не только получить дополнительную энергию (утилизировать ВЭР), но и повышает качество кокса, уменьшает его потери за счет выгорания в процессе тушения, исключает расход воды, а главное — позволяет избежать загрязнения атмосферы паром и коксовой пылью.
Аналогичные схемы утилизации теплоты других твердых веществ можно использовать только при достаточно большой производительности,иначе это будет экономически не выгодно по причинам, указанным выше. Производительность УСТК по коксу составляет 50—56 т/ч.

Рис. 1.4 - Схема установки для сухого тушения кокса [1]
1.3 Использование низкопотенциальных вторичных энергоресурсов
Наиболее сложно найти применение низкопотенциальным тепловым ВЭР (< 100 °С). В последнее время их используют для отопления и кондиционирования промышленных и жилых зданий, применяют тепловые насосы для повышения температурного потенциала или для получения холода. Такие ВЭР используют только на отопление близко расположенных теплиц или рыбоводных хозяйств.
В промышленных условиях охлаждение дымовых газов до температуры ниже 100 °С весьма затруднительно прежде всего из-за конденсации водяных паров. Холодные стенки труб, по которым циркулирует нагреваемая среда, запотевают и подвергаются интенсивной коррозии. Чтобы исключить коррозию, промышленные подогреватели воздуха иногда изготавливают из некорродирующихся стеклянных труб. Если нет вибрации, такие трубы работают достаточно долго.
Для подогрева воды низкотемпературными газами (t< 100 °С) начинают использовать контактные экономайзеры, представляющие собой обычные смесительные теплообменники типа градирни (рис. 1.5).
Вода в них нагревается за счет теплоты контактирующих с ней газов. Поверхность контакта капель воды с газом большая, и теплообменник получается компактным и дешевым по сравнению с рекуперативным (трубчатым), но вода насыщается вредными веществами, содержащимися в дымовых газах. В некоторых случаях это допустимо, например, для воды, идущей в систему химводоподготовки в котельных или на ТЭС. Если загрязнение воды недопустимо, то ставят еще один теплообменник, в котором «грязная» вода отдает теплоту «чистой» и возвращается в контактный экономайзер.

Рис. 1.5 - Схема смесительного теплообменника (градирни) [1]:
1 — насадка (кольца Рашига); 2— каплеотбойник;
3— вытяжной вентилятор
Змеевики, по которым циркулирует «чистая» вода, можно установить и внутри контактного экономайзера вместо насадки.
1.3.1 Направление и общие схемы использования отработавшего пара
Отработавший производственный пар имеет давление 0,1—0.3 МПа, а иногда и 1 МПа, т. е. колеблется в широких пределах. Однако, несмотря на широкий диапазон колебания давления отработавший (иногда называют мятым) пар в основном имеет низкое давление.
Отработавший пар многих производств загрязнен механическими и агрессивными химическими примесями. Некоторые производственные агрегаты работают с переменной нагрузкой, что ведет к образованию прерывистых потоков отработавшего пара. Все это усложняет использование отработавшего пара и вызывает необходимость предварительной очистки пара от загрязнения, преобразования прерывистых потоков отработавшего пара в постояный поток тепла, а также повышения давления отработавшего пара с помощью тепловых трансформаторов [1].
Отработавший производственный пар используют для технологических целей, теплоснабжения, выработки электроэнергии, комбинированно для целей выработки электроэнергии и теплоснабжения, получения холода.
Использование отработавшего пара для технологических целей чрезвычайно разнообразно и определяется в каждом отдельном случае характером технологического процесса. Например, пропарка бетона,подача пара в газогенератор при получении смешанного или водяного газа, нагрев аммиака на заводах азотной промышленности, разофев вязкого мазута, увлажнения доменного дутья и т.п.
Это направление является наиболее простым по исполнению, капитальные затраты и эксплуатационные расходы не значительны, а энергетический эффект весьма высок, так как коэффициент регенерации тепла зависит только от температуры отводимого конденсата и составляет не менее 85%, а при использовании конденсата в технологическом процессе равен 100%.
Получение холода. Потребности промышленности в холоде непрерывно возрастают. Крупными потребителями холода являются заводы химической, металлургической, пищевой и других отраслей промышленности. Холод все больше применяется в технологических процессах, для кондиционирования воздуха, получения искусственного льда, а также для процессов, связанных с низкими температурами.
Подавляющее большинство предприятий оснащено в настоящее время компрессионными холодильными машинами. Эти машины сложны и дороги, а главное — для производства холода затрачивают очень много электрической энергии. Электрическую энергию могут заменить тепловые отходы, имеющиеся в избытке почти на каждом химическом, металлургическом, нефтехимическом предприятии, т. е. как раз в тех отраслях производства, которые являются основными потребителями холода. Холод за счет тепловых отходов получают в абсорбционных холодильных машинах. Перспективным является также использование для этих целей сезонных излишков тепла ТЭЦ.
Абсорбционные холодильные машины могут устанавливаться как самостоятельные автономные установки, так и в сочетании с установками теплоснабжения и выработки электроэнергии. Применение автономных холодильных установок может быть оправданно лишь тогда, когда холодоснабжение осуществляется круглогодично. Поскольку в большинстве случаев холодоснабжение носит сезонный (летний) характер, то более рационально осуществлять комплексное использование тепла отработавшего пара.
1.3.2 Принципиальные схемы использования теплоты производственной воды
Вода широко применяется для охлаждения конструктивных элементов огнетехнических установок, а также в производственных процессах, протекающих при низких температурах, для искусственного охлаждения технологического продукта или аппаратуры. Примерами могут служить: водяное охлаждение металлургических печей, печей химических производств; охлаждения горячей серной кислоты после контактного аппарата или конденсатора; охлаждение водой различных нефтепродуктов; охлаждение конденсаторов паровых турбин, масло- и воздухоохладителей генераторов на электростанциях, конденсаторов смешивающего типа выпарных батарей алюминиевых растворов на глиноземных заводах; охлаждение рубашек цилиндров двигателей внутреннего сгорания и т.д.
Конечная температура охлаждающей воды колеблется в интервале 293—363 К, не превышая в большинстве случаев 232—433 К.
Нагретую производственную воду можно использовать для теплоснабжения и горячего водоснабжения, агротеплофикации и для выработки электроэнергии.
Теплоснабжение. Использование нагретой производственной воды для теплоснабжения часто затруднено из-за сезонного характера отопительной нагрузки. График потребления такой воды можно несколько выровнять, внедряя горячее водоснабжение. Большие избытки неиспользованной нагретой воды, особенно в летний период, рационально утилизировать в абсорбционно-холодильных установках.
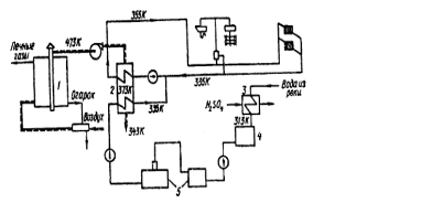
Возможным вариантом использования производственной воды для теплоснабжения является нагревание вентиляционного воздуха, поступающего в производственные помещения. Интересны комбинированные схемы, предусматривающие одновременное использование охлаждающей воды и какого-либо другого вида ВЭР, например использование тепла горячего воздуха из колчеданных печей и тепла охлаждающей воды из сернокислотных холодильников. По этой схеме (рис. 1.6) горячий воздух из валов колчеданных печей 1 с температурой 473 К используют в первой зоне теплообменника 2 для нагрева воды на нужды централизованного теплоснабжения комбината и жилого поселка. Температура горячего воздуха после теплообменников составляет 343 К.

Рис. 1.6 - Комбинированная схема использования тепла горячего воздуха охлаждающей воды [1]
Охлаждающую воду из сернокислотных холодильников используют для восполнения утечек из тепловых сетей и покрытия нагрузок горячего водоснабжения поселка и комбината. Воду для охлаждения кислоты подают из реки в холодильники 3, в которых она нагревается до 313 К. Затем отправляют в промежуточный сборный бак 4, откуда насосом перекачивают к водоподготовительной установке 5. После очистки от механических примесей устранения временной жесткости и деаэрации подпиточную воду подают в теплообменник 2, где она подогревается до 335 К. Подпиточную и обратную воду после смешения подают насосом во вторую зону теплообменника 2, где она подогревается до 355 К и поступает в тепловые сети.
1.4 Тепловые аккумуляторы
Экономичность и техническая возможность использования ВЭР зависит от того, насколько производство и потребление энергии соответствует друг другу. Однако в условиях эксплуатации возникает несоответствие между производством и потреблением энергии. Это вызывает большие потери и технические затруднения в работе установок.
Выравнивание эксплуатационных условий теплосиловых и теплоиспользующих установок в значительной мере обеспечивается аккумулированием тепла в виде пара, горячей или теплой воды в аккумуляторах тепла. В общем случае несоответствие между производством и потреблением энергии может быть вызвано непостоянством притока и колебаниями расхода ее потребителями.
Аккумуляторы тепла в зависимости от состояния аккумулирующей среды бывают паровые, пароводяные и водяные[1].
Паровые аккумуляторы работают без воды, и аккумулирование происходит только за счет изменения объема аккумулятора при постоянном давлении пара (колокольные аккумуляторы) или за счет изменения давления пара при постоянном объеме аккумулятора (купольные аккумуляторы). Паровые аккумуляторы рассчитаны на давление 0,1—0,2 МПа. Они очень громоздки, так как их размеры зависят от удельного объема аккумулируемого пара, который очень высокий при низких давлениях. Высокая первоначальная стоимость и значительные тепловые потери делают эти аккумуляторы нерентабельными, и в настоящее время они не применяются.
Пароводяные аккумуляторы аккумулируют пар конденсацией с помощью воды в момент повышения давления в аккумуляторе. Аккумулятор разряжается испарением воды при понижении давления в аккумуляторе, поэтому они называются аккумуляторами понижающегося давления.
Водяные аккумуляторы аккумулируют теплую или горячую воду при постоянном давлении. Водяные аккумуляторы бывают циркуляционного и вытесняющего типа. В аккумуляторах циркуляционного типа изменение степени зарядки происходит за счет изменения количества находящейся в аккумуляторе воды, в аккумуляторах вытесняющего типа — за счет изменения в нем количества горячей воды, вытесняемой холодной водой или наоборот. Водяные аккумуляторы сами пар не отдают, а включены лишь в систему подогрева воды. Эти аккумуляторы способны снимать пики нагрузки большой длительности в связи с большой удельной аккумулирующей способностью объема. Пароводяные аккумуляторы могут экономично покрывать пики нагрузки продолжительностью только в несколько часов.
Пароводяные аккумуляторы. К числу широко применяемых аккумуляторов понижающего давления относятся пароводяные аккумуляторы Рато и Рутса.
Термодинамические основы работы этих аккумуляторов состоят в том, что каждому значению давления насыщенного пара соответствует строго определенная температура. При изменении давления смеси воды и пара должна измениться и температура этой смеси до температуры насыщения при новом давлении. При повышении давления часть пара конденсируется к выделившаяся теплота парообразования вызывает повышение температуры. При понижении давления снижается температура смеси и освобождающееся тепло служит для испарения части воды. Однако, несмотря на тождественность принципа действия, эти аккумуляторы отличаются не только конструктивным оформлением, но и областью применения.
Аккумуляторы Рато предназначены для выравнивания колебаний в поступлении отработавшего пара от машин периодического действия и машин, работающих с переменной нагрузкой, при использовании его в установках с постоянной нагрузкой. Эти аккумуляторы работают при низких давлениях (ниже 0,2 МПа) и при перепаде давления у аккумулятора от 0,2 до 0,1 МПа (обычно 0,12—0,1 МПа), обладают небольшой выравнивающей способностью. Таким образом, аккумуляторы Рато используются в узкой области для выравнивания мгновенных колебаний паровой нагрузки. Их работа аналогична работе, выполняемой маховиком в периодически действующих машинах.
Водяные аккумуляторы. Основным назначением водяных аккумуляторов является создание «запаса тепла» в питательной воде. В аккумуляторах вытесняющего типа это осуществляется конденсацией избыточного пара из котлов, а в аккумуляторах циркуляционного типа — непосредственным отбором горячей воды из котла в аккумулятор.
Особую группу в установках подготовки горячей воды для отопления, в производственных целях и для бытовых нужд представляют аккумуляторы, которые обогреваются как острым, так и отработавшим паром, а также используют другие виды ВЭР[1].
1.5 Использование низкотемпературных продуктов сгорания в промышленности
В связи с переходом многих стационарных установок на природный газ, продукты сгорания которого не содержат твердые частицы и оксиды серы, для использования физического тепла низкотемпературных уходящих газов можно применять более простые, дешевые и менее металлоемкие контактные теплообменники (рис. 1.7). Это дает возможность не только сократить стоимость утилизационной установки, но и обеспечивает глубокое охлаждение уходящих газов ниже точки росы, которая для сгорания природного газа составляет 50—60 °С. При этом используется не только физическое тепло уходящих газов, но и теплота конденсации содержащихся в них водяных паров.
Насадкой в контактном экономайзере служат керамические кольца Рашига размером 50*50 мм. Рабочая насадка укладывается высотой 1 м в шахматном порядке. Каплеулавливающая насадка высотой 0,2 м загружается «внавал». Вода может нагреваться в этих экономайзерах до 50—60 °С. Нагретая вода используется для производственных и бытовых нужд.
Аналогичные теплообменники можно применять для утилизации тепла уходящих газов некоторых промышленных печей, сушилок, газовых турбин и других тепловых установок, работающих на природном газе.

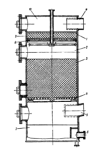
Рис. 1.7 - Блочный контактный экономайзер [1]:
1 — корпус; 2, 7, 10— средняя, нижняя и верхняя секции; 3 — рабочая насадка; 4 — опорная решетка рабочей насадки; 5 — патрубок подвода; 6 — штуцер отбора горячей воды; 8— опорная решетка каплеулавливающей насадки; 9— слой каплеулавливающей насадки; 11 — патрубок отвода газов
Продукты сгорания природных газов применяются также в контактных газопых сушилках в различных отраслях промышленности.
2. Расчет печи
2.1 Расчет процесса горения топлива в топке котла
Определяем низшую теплотворную способность топлива (в кДж/кг) по формуле:
![]()
![]()
![]()
![]()
где CH4 ,C2 H4 и т.д. – содержание соответствующих компонентов в топливе, % об.
Получим:
![]()
или
,
Пересчитаем состав топлива в массовые проценты. Результаты пересчета сведены в таблице 2.1.
Таблица 2.1
| Компоненты |
Молекулярная масса Mi |
Мольная доля ri |
Mi · ri |
Массовый %
|
| CH4 |
16 |
0,900 |
14,4 |
78,12 |
| C2 H6 |
30 |
0,040 |
1,2 |
6,50 |
| C3 H8 |
44 |
0,023 |
1,012 |
5,54 |
| н-C4 H10 |
58 |
0,025 |
1,45 |
7,86 |
| CO2 |
44 |
0,002 |
0,088 |
0,47 |
| N2 |
28 |
0,010 |
0,28 |
1,51 |
| Итого |
1,000 |
18,43 |
100,00 |
Определяем элементарный состав топлива в массовых процентах.
Содержание углерода:
![]()
,
где
- число атомов углерода в данном компоненте топлива;
Содержание водорода:
![]()
,
где
– число атомов водорода в данном компоненте топлива.
Содержание кислорода:
%,
где
– число атомов кислорода в молекуле СО2.
Содержание азота:
%,
где
– число атомов азота в молекуле.
Определяем теоретическое количество воздуха, необходимого для сгорания 1кг топлива:
![]()
,
Фактический расход воздуха:
,
или
,
где
– коэффициент избытка воздуха, равный 1,06;
- плотность воздуха при нормальных условиях.
Определяем количество продуктов сгорания, образующихся при сгорании 1кг топлива:
,
,
,
.
Суммарное количество продуктов сгорания:
![]()
Проверка:
.
Содержанием влаги пренебрегаем.
Объемное количество продуктов сгорания:
,
,
,
.
Суммарный объем продуктов сгорания:
.
Плотность продуктов сгорания при н.у.:
.
Расчет теплосодержания продуктов сгорания на 1 кг топлива при заданной температуре производится по формуле:
,
где Т – температура продуктов сгорания, К;
Ci – средние массовые теплоемкости продуктов сгорания, кДж/кг×К (их значения находим по табл.2 [2] методом интерполяции);
![]()
кДж/кг.
Результаты расчета значений теплосодержания представим в виде таблицы 2.2.
Таблица 2.2
| Т, К |
300 |
500 |
700 |
1100 |
1500 |
1700 |
1900 |
| qt , кДж/кг |
550 |
4745 |
9060 |
15860,9 |
20451,1 |
28517,6 |
39219,5 |

Рисунок 2.1 – График зависимости температура-энтальпия
2.2 Расчет коэффициента полезного действия печи, тепловой нагрузки и расхода топлива
Коэффициент полезного действия трубчатой печи:
,
где
,
– соответственно потери тепла с уходящими дымовыми газами и потери тепла в окружающую среду в долях от низшей теплотворной способности топлива.
Потери тепла в окружающую среду qпот
. принимаем 6 % (0,06 в долях) от низшей теплотворной способности топлива, т.е.
.
Температура уходящих дымовых газов определяется равенством:
, К,
где Т1 – температура нагреваемого продукта на входе в печь, К;
DТ – разность температур теплоносителей на входе сырья в змеевик камеры конвекции; принимаем DТ = 120 К;
К.
При этой температуре определяем потери тепла с уходящими газами:
кДж/кг.
Итак, определяем к.п.д. печи:
.
Расчет полезной тепловой нагрузки трубчатой печи производим по формуле:
,
где
– производительность печи по сырью, кг/ч;
,
,
– соответственно теплосодержания паровой и жидкой фазы при температуре Т2
, жидкой фазы (сырья) при температуре Т1
, кДж/кг;
e – доля отгона сырья на выходе из змеевика трубчатой печи.
Теплосодержание паров нефтепродуктов определяется по таблицам приложения [2]:
кДж/кг.
Теплосодержаниt жидких нефтепродуктов определяется по таблицам приложения [2]:
кДж/кг;
кДж/кг.
Рассчитываем полезную тепловую нагрузку печи:
.
Определяем полную тепловую нагрузку печи:

= 21956 кВт.
Часовой расход топлива:
кг/ч.
2.3 Расчет поверхности нагрева радиантных труб и размеров камеры радиации
Поверхность нагрева радиантных труб:
, м2
,
где
- количество тепла, переданного нефти в камере радиации, кВт;
- теплонапряжение радиантных труб, кВт/м2
.
Количество тепла, переданное в камере радиации:
,
где
- кпд топки;
- энтальпия дымовых газов на выходе из камеры радиации при температуре Тп, кДж/кг топлива.
Примем Тп=1100 К и по диаграмме определяем
кДж/кг топлива.
Ранее было принято, что потери тепла в окружающую среду составляют 6%. Пусть 4% из них составляют потери в топке. Тогда:
.
и
кДж/ч или 14512 кВт.
Примем теплонапряжение радиантных труб 67 кВт/м2 .
, м2
.
Выбираем трубы диаметром 127х8 мм с полезной длиной lтр =9,5 м. число радиантных труб:
.
Принимаем печь беспламенного горения с двухрядным экраном двухстроннего облучения, с горизонтальным шахматным расположением труб и двумя нижними конвекционными секциями.
По существующим нормам принимаем шаг размещения экранных труб S=0,25 м, расстояние между вертикальными рядами радиантных труб S1 =0,215 м. расстояние от излучающих стен до экрана принимаем αт =1 м [2].
Высота радиантной камеры:
, м
где
- число труб в одном вертикальном ряду,
- расстояние от верхней и нижней труб вертикального ряда до пола и потолка соответственно, 0,25 м.
м.
Ширина радиантной камеры:
м.
Объем камеры радиации:
м3
.
Теплонапряжение топочного объема:
кВт/м3
.
Для обеспечения равномерного нагрева каждой трубы экрана по окружности и по длине принимаем для проектируемой печи газовые горелки ВНИИНефтехиммаша типа ГБП2а теплопроизводительностью
=69,78 кВт.
Количество горелок:
.
Принимаем для каждой из двух излучающих стен топки по 160 горелок: 20 горелок по длине, 8 по высоте. Размер горелки 0,5х0,5 м, поэтому площадь излучающей стены печи:
R=(0,5·20)(0,5·8)=40 м2,
А двух стен 80 м2 .
3. Эксергетический и тепловой баланс печи
3.1 Эксергетический баланс печи
,
где
– эксергия исходного топлива, кДж/кг;
![]()
– эксергия атмосферного воздуха, кДж/кг;
–эксергия продуктов сгорания, кДж/кг;
,
где Т0 – температура окружающего воздуха, К;
Тк – температура горения, определяется по диаграмме температура – энтальпия, К:
кДж/кг
– потери эксергии в окружающую среду, кДж/кг:
кДж/кг
- потери эксергии вследствие необратимости процесса горения, кДж/кг, вычисляется из эксергетического баланса.
Эксергетический КПД печи:
.
Эксергетическая диаграмма представлена на рис. 2.3.

Рис. 2.2 – Эксергетическая диаграмма
3.2 Тепловой баланс печи
Уравнение теплового баланса для трубчатой печи выглядит так:
![]()
Расчет теплового баланса ведется на 1 кг топлива.
Статьи расхода тепла:
,
где qпол ., qух ., qпот . – соответственно полезно воспринятое в печи сырьем, теряемое с уходящими из печи дымовыми газами, теряемое в окружающую среду, кДж/кг.
Статьи прихода тепла:
,
где Cт , Cв , Cф.п. – соответственно теплоемкости топлива, воздуха, форсуночного водяного пара, кДж/кг;
Tт , Tв , Tф.п. – температуры топлива, воздуха, форсуночного водяного пара, К.
Явное тепло топлива, воздуха и водяного пара обычно невелико и ими часто в технических расчетах пренебрегают.
Итак, уравнение теплового баланса запишется в следующем виде:
,
,
,
кДж/кг.
Диаграмма тепловых потоков представлена на рис. 2.3.

Рис. 2.3 – Тепловая диаграмма
Список использованных источников
1 Латыпов Р.Ш., Шарафиев Р.Ф. Техническая термодинамика и энерготехнология химических производств. – М.: Энергоатомиздат. – 1995. – 344 с.
2 Кузнецов А.А., Кагерманов С.М., Судаков Е.Н. Расчеты процессов и аппаратов нефтеперерабатывающей промышленности. Ленинград.: Химия. – 1974. – 344 с.
Похожие рефераты:
Усовершенствование технологии установки висбрекинга
Топливо в структуре энергетических ресурсов
Автоматизация известково-обжиговой печи
Гелиоэнергетика: состояние и перспективы
Реконструкция котла - утилизатора КСТ-80
Химия, элементы таблицы Менделеева
Проект реконструкции цеха первичной переработки нефти и получения битума на ОАО «Сургутнефтегаз»
Энергоэкономическая эффективность применения авиационных двигателей на ТЭС