| Похожие рефераты | Скачать .docx |
Курсовая работа: Развитие пространственного мышления школьников на уроках черчения
Оглавление
Введение..........................................................................................................2
Глава 1. Психолого-педагогические проблемы развития пространственного мышления на уроках черчения......................................................................4
1.1. Сущность понятия «пространственное мышление»...............................4
1.2. Характеристика пространственного мышления как психологического контента...........................................................................................................6
1.3. Использование пространственного мышления в черчении и технологии.......................................................................................................9
1.4. Возрастные особенности учащихся 8 классов.....................................12
Глава 2. Применение методов развития пространственного мышления на уроках черчения..............................................................................................16
2.1. Роль и место проблемы развития пространственного мышления на уроках черчения.....................................................................................................16
2.2. Учебно-тематический план занятий......................................................20
2.3. Планы-конспекты уроков.......................................................................25
Заключение......................................................................................................33
Список литературы.........................................................................................36
Приложения.....................................................................................................39
Введение
Развитие пространственного мышления, происходит в процессе овладения ребенком накопленными человечеством знаниями и является одной из существенных характеристик онтогенеза психики ребенка. Высокий уровень развития пространственного мышления является необходимым условием успешного усвоения разнообразных общеобразовательных и специальных технических дисциплин на всех этапах обучения, подчеркивая тем самым актуальность данной темы исследования.
Пространственное мышление является существенным компонентом в подготовке к практической деятельности по многим специальностям.
По утверждению многих исследователей практика обучения постоянно обнаруживает слабое развитие пространственного мышления учащихся, начиная с начальной школы и кончая вузом.
Кроме того, опыт работы преподавателей средних и высших учебных заведений, а также психологов и педагогов-исследователей показывает, что учащиеся часто не справляются с задачами как теоретического, так и практического характера, требующих для своего решения сформированности специфического вида мыслительной деятельности, обеспечивающего анализ пространственных свойств.
Недостатки в данной области образования сказываются на успеваемости учащихся по различным школьным предметам как, например, черчение.
Все это свидетельствует о том, что средняя общеобразовательная школа не создает достаточных условий для развития пространственного мышления, так как школьное обучение строится таким образом, что словесно-логическое мышление получает преимущественное развитие. Хотя это и соответствует тенденциям развития детского мышления, но обедняет интеллект ребенка.
Можно сказать, что в настоящее время процесс становления пространственное мышление изучен не полностью. Неизвестны в полной мере условия его полноценного формирования в школьном возрасте. До сих пор не было проведено достаточно полного сравнительного исследования уровня развития пространственного мышления в зависимости от характера учебной деятельности на различных возрастных этапах.
Цель исследования – разработать методы развития пространственного мышления учащихся на уроках черчения в 8 классе.
Предмет исследования – применение методов развития пространственного мышления на уроках черчения.
Объект исследования – учебный процесс в 8 классах.
Задачи исследования:
- проанализировать существующие в педагогике подходы к разработке и применению методов и приемов развития пространственного мышления у школьников;
- разработать тематический план и планы-конспекты уроков черчения с применением методов развития пространственного мышления у учащихся 8 классов.
Методы исследования:
– анализ теоретических источников по теме исследования;
– обобщение передового опыта ученых-педагогов;
– наблюдение;
– беседа;
– поиск решения педагогических ситуаций;
– анализ работы учащихся.
Глава 1. Психолого-педагогические проблемы развития пространственного мышления на уроках черчения
1.1. Сущность понятия «пространственное мышление»
Задача дифференциации учащихся в системе непрерывного образования требует разработки и применения таких диагностических методик, которые позволяли бы выявлять и оценивать психические свойства и качества, значимые для успешности усвоения различных систем знаний, овладения рядом профессий, для личностного развития в целом. К таким свойствам личности можно отнести пространственное мышление, которое обеспечивает ориентировку в пространстве — видимом или воображаемом[11].
Пространственное мышление - вид умственной деятельности, обеспечивающий создание пространственных образов и оперирование ими в процессе решения практических и теоретических задач[22]. Это сложный процесс, куда включаются не только логические (словесно-понятные) операции, но и множество перспективных действий, без которых мышление протекать не может, а именно опознание объектов, представленных реально или изображённых различными графическими средствами, создание на этой основе адекватных образов и оперирование ими по представлению. Являясь разновидностью образного мышления, пространственное мышление сохраняет все его основные черты, и тем самым отличается от словесно-дискурсивных форм мышления. Это различие мы видим, прежде всего, в том, что пространственное мышление оперирует образами; в процессе этого оперирования происходит их воссоздание, перестройка, видоизменение в требуемом направлении. Образы здесь являются и исходным материалом, и основной оперативной единицей, и результатом мыслительного процесса. Это не означает, конечно, что при этом не используются словесные знания. Но, в отличие от словесно-дискуссивного мышления, где словесные знания являются основным содержанием, в образном мышлении слова используются как средства интерпретации уже выполненных в образах преобразований.
Пространственное мышление формируется на всех этапах онтогенеза под влиянием различных обучающих воздействий[6], имеет ярко выраженную индивидуальную специфику, особенности ее проявления в разнообразных видах деятельности (игровой, учебной, профессиональной).
Содержанием пространственного мышления является оперирование пространственными образами на основе их создания с использованием наглядной опоры (предметной или графической, разной меры общности и условности). Оперирование пространственными образами определяется их исходным содержанием (отражение в образе геометрической формы, величины, пространственной размещенности объектов); типом оперирования (изменение в ходе оперирования положения объекта, его структуры); полнотой, динамичностью образа (наличием в нем различных характеристик, их системности, подвижности и т. п.).
Все эти особенности пространственного мышления отражают процесс работы с образом, позволяют выявлять его качественное своеобразие, фиксировать возрастные и индивидуальные особенности проявления этого процесса, что весьма существенно в диагностических целях.[19]
Важно подчеркнуть, что особенности пространственного мышления нельзя выявить в полной мере, используя для этого различные головоломки, пространственно-комбинаторные игры и т. п.
В реальной практике (игровой, учебной профессиональной) пространственное мышление всегда включено в решение различных задач, опирается на систему знаний, которые не могут (и не должны) нивелироваться. Этой точки зрения придерживаются многие прогрессивные тестологи, которые разрабатывают новые конструкции тестовых методик. Как считают многие из них, современные диагностические методики должны фиксировать не только общую результативность (продуктивность) выполнения заданий, но и процессуальную сторону его выполнения, так как без этого трудно выявлять индивидуальные различия между людьми, оценивать их не только количественно, но и качественно, корригировать обучающие воздействия и т. п.
Важно, чтобы диагностические методики способствовали выявлению индивидуальных стратегий решения тестовых задач, проверке устойчивости их проявления на разном материале, фиксировали особенности проработки этого материала. Только на этой основе можно дифференцировать людей по уровню развития пространственного мышления, выявлять качественные его особенности, давать рекомендации к его развитию и использованию в различных видах деятельности с учетом целей и задан этой деятельности, требований к ее осуществлению[12].
Конечно, содержание, структуру, условия формирования и другие особенности пространственного мышления можно исследовать в индивидуальных (лабораторных) экспериментах. Однако разнообразные практические задачи, которые приходится решать психологам в современных условиях (профориентация, профотбор, выбор учеником предметов для углубленного изучения и т. п.), требуют проведения массовых исследований, получения оперативной информации об особенностях умственной деятельности учащихся, которая должна дополняться сведениями об их школьной успешности, клиническими наблюдениями за учебным поведением, педагогическими характеристиками и др.
1.2. Характеристика пространственного мышления как психологического контента
Одной из разновидностей образного мышления является пространственное мышление, которое, обладая всеми характерными особенностями образного мышления, имеет свои специфические черты[12]. Пространственное мышление в своих наиболее развитых формах формируется на графической основе, поэтому ведущими образами являются для него зрительные образы. Переход от одних зрительных образов, отражающих пространственные свойства и отношения, к другим, постоянно наблюдается в решении тех задач, где используются разнотипные графические изображения. На их основе возникают не только отдельные образы, адекватные каждому изображению, но их целостная система.
Умение мыслить в системе этих образов и характеризует пространственное мышление. В пространственном мышлении проявляются основные характерные черты образного мышления, такие как: динамизм, перекодирование образов, оперирование ими в целях создания новых и др. В частности, для создания пространственных образов и оперирования ими в процессе решения задач (практических, профессиональных, графических) важным является выбор пространственной системы отсчета. Последнее, например, не является существенным моментом в создании образов в их предметном, вещественном содержании.
Можно сказать, что пространственное мышление, как компонент в решении практических задач, связанных с ориентацией на местности, в мире вещей и природных явлений формируется гораздо раньше, чем образное мышление. Это особенно отчетливо проявляется в раннем онтогенезе. Исходя из теоретических положений С.Л. Рубинштейна, И.С. Якиманской был реализован подход к изучению пространственного мышления как динамического единства субъективного и объективного, их тесного и неразрывного взаимообогащения в процессе деятельности[3]. Экспериментально показано, что формы и уровни пространственного мышления определяются с одной стороны, объективным содержанием материала, (характером его наглядности, условности, обобщенности), а с другой стороны,- познавательной активностью субъекта, реализуемой в процессе решения задач, требующих создания пространственных образов и оперирования ими. Уровень этой активности зависит от овладения субъектом средствами деятельности, т.е. способами представливания. Исходя из того, что оперирование образами это особый вид деятельности представливания, который не совпадает ни по своему содержанию, ни по условиям осуществления, ни по результатам с процессом создания образа, И.С. Якиманская тем самым получила возможность определить основную функцию пространственного мышления, под пространственным мышлением подразумевается свободное оперирование пространственными образами, созданными на различной наглядной основе, их преобразований с учетом требований задачи"[3].
Основу пространственного мышления как разновидности образного мышления составляет деятельность представливания, протекающая в разнообразных формах, на разном уровне. "Мы выделяем два уровня этой деятельности: создание образа и оперирование им"- пишет И.С. Якиманская[3]. Внутри каждого из этих уровней можно выделить различные типы и создания образов и оперирования ими, что по Якиманской обусловлено определенными конкретными условиями. При создании любого образа, в том числе и пространственного, мысленному преобразованию подвергается наглядная основа, на базе которой образ возникает. При оперировании образом мысленно видоизменяется уже созданный на этой основе образ, нередко в условиях полного отвлечения от него. Автор рассматривает умение создавать образы и оперировать ими,- как определенный уровень развития образного (пространственного) мышления. Оперирование образами может различаться 13 по уровню сложности, что создает основу для изучения возрастных и индивидуальных особенностей образного мышления. Преобразование образов имеет место на всех стадиях онтогенеза. Как следует из ряда публикаций (А.В. Запорожец, Н.Н. Поддьяков, О.К. Тихомиров, Ж. Пиаже), - компетентность в области образного мышления является итогом сложных онтогенетических процессов происходящих в течение детства и отрочества[2, 13]. Интенсивно формирующиеся в дошкольном детстве процессы наглядно-образного мышления и творческого воображения играют важную роль не только в жизни маленьких детей, но и в деятельности взрослого человека-рабочего, инженера, ученого, писателя,- отмечал А.В.Запорожец. Он писал, что в области математики и теоретической физики, где, казалось бы, отвлеченное абстрактное мышление должно иметь исключительное значение, первостепенную роль играет интуитивное, наглядно-образное познание действительности. Об этом свидетельствуют воспоминания Н.Винера, П.Капицы, А.Эйнштейна. Сходные идеи высказывает и Дж. Брунер[6]. Он подчеркивает, что познание мира носит, прежде всего, чувственный и двигательный характер. Ничто не может быть включено в мысль, не пройдя сначала через все наши чувства и, особенно через двигательную активность, направленную во внешний мир. Сенсомоторное отображение действительности не формируется исключительно только в первые годы, оно продолжает развиваться на протяжении всей жизни человека: мы учимся не только ходить, но и кататься на лыжах и др. К этому способу отображения действительности добавляется, так называемое, иконическое отображение. Ребенок интериоризирует и откладывает в памяти образы воспринятых им реальных объектов. Такое представление мира с помощью мысленных образов служит первым шагом к символическому представлению и характерно для школьного возраста. В подростковом и юношеском периоде мир образов постепенно уступает место понятиям. Это еще один способ познания. Условием для его развития служит речь. Каждый из трех способов представления - действенный, образный и символический - отражает события своим особым образом. Каждый из них 14 накладывает свой отпечаток на психическую жизнь ребенка в разных возрастах. В интеллектуальной жизни взрослого человека эти три формы сохраняются и развиваются.
1.3. Использование пространственного мышления в черчении и технологии
Проблемой формирования пространственного мышления, пространственного воображения у учащихся, результатом вышеуказанных процессов являются пространственные представления, без которых освоить данный предмет просто невозможно. Развитие воображения – важнейшее условие овладения умением строить и читать чертеж и графической деятельностью в целом. Вместе с тем процесс обучения черчению служит одним из наиболее важных средств развития воображения[21].
Важнейшим условием, обеспечивающим формирование представлений о технических деталях, является обучение учащихся приемам рассмотрения и запоминания деталей, а также и приемам их воспроизведения по памяти. На уроках учащиеся обучаются приемам анализа детали: мысленного ее расчленения на те геометрические тела, из которых она состоит, и выделения всех ее элементов (выступов, выемок, отверстий и т. д.). Это в свою очередь требует мысленного проведения границ каждого геометрического тела (там, где в детали эти тела не разграничены).
Кроме того, нахождение геометрических тел предъявляет требования к приемам абстракции: учащиеся должны мысленно выделить в каждом геометрическом теле его существенные признаки. Так, например, учащиеся под руководством учителя рассматривают брусок прямоугольной формы с пазом. Они констатируют, что этот брусок представляет собой сочетание нескольких прямых четырехугольных призм, и показывают их существенные признаки (два основания равны и параллельны, боковые грани — прямоугольники); аналогично они рассматривают форму паза и общую форму бруска.
Важнейшим принципом, направленным на обучение, является следующее положение: в начале усвоения нового материала в курсе черчения учащиеся обучаются элементарным приемам, которые характеризуются дополнительной опорой на наглядный материал, а затем методика должна обеспечить перестройку приемов так, чтобы учащийся создавал образы без дополнительной опоры, т.е. мысленно, деятельностью воображения. Переход учащихся от действий с дополнительной опорой к мысленным при формировании образов воображения выявляет закономерность, состоящую в том, что в усвоении знаний и умений большую роль играет переход от фактических действий, или действий с наглядным материалом, к мысленным действиям, т. е. к действиям в уме.
Этот переход должен осуществляться своевременно. Если учащихся слишком долго обучать «наглядным» способам учебной работы, не включающим деятельность воображения, то это может затруднить развитие их пространственных представлений[5].
В дальнейшем учащиеся обучаются приемам создания образов с помощью деятельности воображения. Учитель не дает учащимся картонные трехгранные углы, а предлагает воспроизвести мысленно те действия, которые они выполняли фактически, при усвоении наглядного приема: представить трехгранный угол и стоящую в нем техническую деталь, мысленно провести перпендикуляры из его вершин на грани трехгранного угла, представить проекции на эти грани, мысленно повернуть правую и нижнюю грани.
В этом случае прием создания образа выражается в следующем: учащиеся создают образы проекций с помощью дополнительных представлений (трехгранного угла, спиц). Это достигается деятельностью воображения. При этом учащиеся осуществляют переход от фактических действий с наглядным материалом (в предварительном обучении) к мысленным действиям с опорой на дополнительные представления. После этого учащиеся обучаются более сложному для них приему. Учитель ставит перед ними следующую задачу: научиться представлять проекции заданной детали без опоры на дополнительные образы, т.е. не представляя трехгранный угол. Этот прием создания образа заключается в следующем: рассмотрев форму детали, мы последовательно мысленно «видим» ее три плоскостных изображения. Иначе говоря, мы последовательно представляем себе три проекции в соответствующих местах на листе бумаги и затем зарисовываем их. Переход к этому способу характеризуется тем, что исчезает опора на дополнительные представления, что связано с усложнением деятельности воображения. При овладении этим способом многие учащиеся испытывают, серьезные затруднения. Они не могут «увидеть» предмет в «плоскостном виде», т. е. они не могут отвлечься от третьего измерения. Если учащимся все же удается представить мысленно ту или иную проекцию предмета, то этот образ легко исчезает или искажается. В целях преодоления трудностей учащиеся возвращаются к предыдущему приему: они создают образ с помощью дополнительных представлений.
Важное место в курсе черчения занимает овладение приемами, которые нужны учащимся для создания образов при чтении чертежа. Учитель объясняет учащимся, что чтение чертежа включает:
- рассмотрение чертежа (включая все его детали и условные обозначения) и соотнесение его элементов по трем проекциям;
- создание образа предмета на основе этого чертежа. Этот последний процесс является сложным и имеет две неразрывно связанные стороны.
Во-первых, учащийся мысленно объединяет три проекции, т.е. синтезирует их, и, во-вторых, он мысленно наполняет проекции третьим измерением.
1.4. Возрастные особенности учащихся 8 классов
Учащиеся 8 класса относятся к подростковому возрасту[5].
Подростковый возраст это весьма сложный, таящий в себе опасность кризисных явлений, период в жизни ребенка. В этот период организм ребенка претерпевает кардинальные изменения, развертывается процесс полового созревания. У подростка возникает ощущение собственной взрослости. У него возникает представление о себе уже не как о ребенке, он стремится быть и считаться взрослым. Отсюда у ребенка возникает новая жизненная позиция по отношению к себе, к окружающим людям, к миру. Он становится социально активным, восприимчивым к усвоению норм, ценностей и способов поведения, которые существуют среди взрослых.
Поэтому период подросткового возраста характерен тем, что здесь начинается формирование морально нравственных и социальных установок личности ученика, намечается общая направленность этой личности.
Подросток стремится к активному общению со сверстниками, и через это общение он познает самого себя. У него возникают потребности, которые он должен удовлетворять только сам (потребность в общении со сверстниками, дружбе и любви). Родители и вообще взрослые не могут при всем желании решить проблемы подростков, связанные с их новыми потребностями, между тем как удовлетворение всех основных потребностей младших школьников зависит в основном, от родителей. Все это часто болезненно сказывается на отношении учащихся к взрослым, в том числе и учителю, и к учению.
Общая картина работы учащихся на уроках по сравнению с младшими классами ухудшается. Ранее примерные и аккуратные ученики позволяют себе не выполнять задания. Тетради ведутся неряшливо. У многих учеников меняется почерк, он становится неразборчивым и небрежным. При решении математических задач некоторые подростки не проявляют нужной настойчивости и прилежания[22].
В этом возрасте дети обнаруживают особую расположенность к совместным действиям. Склонность к активному времяпрепровождению ярко обнаруживается в играх. Рост умственных сил проявляется в интересе к играм и умственным упражнениям. Многие любят задачи на сообразительность, осваивают шахматы и т.п.
Таким образом, рост умственных и физических сил изменяет характер активности подростков: в гораздо большей степени, чем раньше, их начинают привлекать занятия, требующие определенного упорства и самостоятельности.
Одним из важных средств, активизирующих учебный процесс, является побуждение познавательной потребности. Познавательная потребность занимает важное место в общем психологическом развитии личности, и особенно ее мотивационно-потребностной сферы. Познавательная потребность - это мотивационно-личностное образование, которое почти на всем протяжении школьного возраста проявляется в любознательности учащихся, находя отражение в системе его учебных и вне учебных интересов.
Выделяют два уровня познавательных потребностей у учащихся 13-17 лет.
1) Любознательность (характерна для учащихся 7-9 классов).
2) Целенаправленная познавательная деятельность (чаще всего наблюдается у учащихся 10-11 классов)[16].
Значительно менее очевидно, хотя, может быть, гораздо более важную роль в успешности обучения играет воля учащегося. Начинать воспитание воли следует с приобретением привычки решать задачи сравнительно незначительной трудности. Систематически преодолевая сначала небольшие трудности, а со временем и значительные, учащиеся тренируют и закаляют свою волю.
На умственные процессы и, следовательно, на успешность обучения влияет так же ряд факторов, которые с виду не имеют к ним никакого отношения. Это такие стороны личности человека, как эмоции, чувства, настроение в данные момент, темперамент, характер и другие.
Только при условии того, что если задача доступна учащемуся, если цели ее решения ясны, если он чувствует свое движение вперед, то создающиеся при этом положительные эмоции облегчают дальнейшее решение.
Вопрос о влиянии внушения и самовнушения чрезвычайно важен в обучении решению задач. Педагог должен проявлять чуткость в своих беседах с учащимися. Всевозможные замечания вроде таких, что " у тебя все равно ничего не получится ", способны в сильнейшей степени деморализовать учащегося, особенно подростка. И наоборот, уверенное убеждение, что "задача должна решиться потому, что ты серьезно занимаешься, а ты не хуже других", во многих случаях сыграет свою положительную роль.
Может быть, еще большую роль играет самовнушение. Если учащийся почему-то пришел к выводу, что "он не способен", что "ничего не получится", то, конечно, сколько времени он ни сидел бы над задачей, он все равно задачи не решит. Такое самовнушение подростка парализует его волю, лишает его концентрации мысли, и он не сможет мобилизовать столько энергии на преодоление стоящих перед ним задач, сколько он мог бы проявить в нормальных условиях. В этом случае надо добиться перелома в психике учащегося-подростка, вселить в него уверенность в своих силах, возбудить волю. Возможно, что учащемуся, потерявшему веру в себя, целесообразно сначала дать для решения самые простые задачи, чтобы дать ему возможность поверить в свои силы[10].
Глава 2. Применение методики развития пространственного мышления на уроках черчения
2.1. Роль и место развития пространственного мышления на уроках черчения
На основе длительных теоретических и экспериментальных исследований для определения сформированности у учащихся пространственного представления, их полноты, осмысленности, действительности, научности, в качестве критерия оценки Н.Д. Мацько предлагает принять следующие умения:
1. Распознавать данный объект среди объектов реальной действительности. 2. Распознавать объект среди изображений.
3.Устанавливать взаимосвязи между словом, представлением, изображением и объектом реальной действительности.
4. Воспроизводить в воображении объект (представления памяти.)
5. Воспроизводить представления памяти (словесно, графически, в виде модели.)
6.Создавать в воображении новые объекты (представление воображения)
7. Воспроизводить представления воображения (словесно, графически, в виде модели.)
На основе этих умений ею же определяются уровни сформированности пространственного представления у учащихся.
Уровень I (Аккумулятивный). Накопление и узнавание пространственных признаков и отношений. Учащиеся накапливают разнообразные пространственные представления, учатся узнавать разнообразные пространственные объекты, их отдельные признаки и отношения. Они могут дать название объекту, найти его на рисунке среди предметов реальной действительности. Но дифференцированость между различными категориями пространственных признаков неустойчива, часто отсутствует соответствие между образом и словом и наоборот. Представления у учащихся неполные (умение 1-4).
Уровень II (Репродуктивный). Воспроизведение представления памяти. У учащегося развита способность воспроизводить (в представлении, словесно, на рисунке, в виде модели) известные им пространственные признаки и отношения. У них значительно расширился запас пространственной терминологии, накоплены разные виды пространственного представления и отношений: учащиеся, умеют устанавливать связи между пространством, количествами и временными представлениями. Слово уже приобретает сигнальное значение и вызывает у учащегося соответствующее представление (умение 1-5).
Уровень III (Конструктивный). Самостоятельное конструирование пространственного образа. Учащиеся активно используют как опору в мыслительной деятельности уже оформленные представления в синтезе с количественными и временными отношениями. Они умеют давать словесное описание пространственных признаков и отношений, опираясь на отдельные элементы пространственных понятий (о форме, величине, расстоянии и др.) На основе сформированных пространственных представлений они создают новые представления и оперируют ими, пользуясь словесным описанием, числовыми данными, рисунками (умение 1-5, частично 6,7).
Уровень IV (Интеллектуальный). Мысленное оперирование пространственными представлениями. У учащегося богатый запас пространственного представления, терминологии, они легко дифференцируют пространственные признаки и отношения. Для этого уровня характерно уже умение перемещать мысленно пространственные объекты (симметрия, перенос, поворот), находить на рисунке положение фигуры после её перемещения, вид перемещения и т.д. (умение 1-7)
Уровни не относятся конкретно к определённым классам и не рассматриваются изолировано, как временные периоды, которые строго переходят один в другой. Уровни между собой тесно связаны, переплетаются и можно полагать, что каждый предшествующий является основной, подготавливающей последующий. При формировании пространственного представления эти уровни могут сосуществовать при оперировании разным содержанием у одних и тех же детей и одним и тем же содержанием у разных детей. Особое место в формировании представлений отводится чтению и построению графических изображений. При построении графического изображения главной задачей является перевод представления об объекте в плоскостное его изображение, при чтении решается противоположная задача: на основе восприятия плоскостного изображения мысленно, в представлении, воспроизводится форма, размеренность, положение объекта и выясняются необходимые сведения, взаимосвязи и отношения. Представления об объекте при чтении и построении графических изображений формируются не только в результате непосредственного узнавания или припоминания, а в результате целой системы умственных действий, направленных на преобразование данных восприятия и мысленное воспроизведение образа. Чтение и построение нельзя свести непосредственно к навыкам, они являются осмысленными умениями, в которых лишь отдельные действия автоматизированы.
Целью данного курса является обучение учащихся графической грамоте. Овладев базовым курсом в VIII – IX классах, школьники должны научиться выполнять и читать комплексные чертежи (эскизы) несложных деталей и сборочных единиц, их наглядные изображения; понимать и читать простейшие архитектурно-строительные чертежи, кинематические и электрические схемы простых изделий.
Важнейшие задачи курса – развитие образного мышления учащихся и ознакомление их с процессом проектирования, осуществляемого средствами графики.
В процессе изучения графики надо научить учащихся аккуратно работать, правильно организовывать рабочее место, рационально применять чертежные и измерительные инструменты, владеть наиболее простыми приемами работы с красками.
Большая часть учебного времени выделяется на упражнения и самостоятельную работу. Наряду с репродуктивными методами обучения необходимо использовать методы проблемного обучения, вовлекая школьников в процесс сотворчества.
Изучение теоретического материала должно гармонично сочетаться с выполнением обязательных графических работ. Конкретный материал подбирает для них учитель, руководствуясь данным в программе распределением часов как условным. Очередность и сроки выполнения работ также определяет учитель.
В процессе обучения графике необходимо широко пользоваться наглядными учебными пособиями: таблицами, моделями, деталями, различными изделиями, чертежами и т. д. Рекомендуется также использовать кинофрагменты, диафильмы по черчнию и другие современные технические средства обучения (по возможности, контролирующие и обучающие программы автоматизированных обучающих систем с широким использованием средств машинной графики).
Все графические работы должны выполняться с соблюдением правил и техники оформления чертежей, установленных стандартами.
Индивидуальные графические работы выполняются на отдельных листах соответствующих стандартных форматов. Их затем брошюруют и подшивают в альбом. Тренировочные и фронтальные упражнения выполняются в рабочих тетрадях формата А4 (на бумаге в клетку).
Оптимальным условием обучения является гармония политехнической и эстетической, гуманитарной направленности обучения графике, реализация творческих способностей личности учащегося. Такой подход позволяет выявлять и развивать разносторонние склонности и способности учащихся. Желательно, чтобы в процессе изучения отдельных разделов графики учащиеся выполняли заказы школы, различных организаций и предприятий по их художественно-графическому оформлению. Следует создавать условия для украшения учащимися своих домов, квартир, комнат. Жилище надо рассматривать не как «утилитарную среду обитания», а как объект эстетического осмысления человеком самого себя и своей жизни. Поэтому полезно поручать учащимся выполнение дизайн-проектов бытового интерьера или различных машин и механизмов, зданий и сооружений (для тех, кто проявляет интерес к технике, графике, художественно-оформительским работам).
2.2. Учебно-тематический план занятий
1. Простые геометрические фигуры
№ п/п |
Тема | К-во час |
Цели Воспит. Развив. |
Способы деятельности | Приемы развития пространственного мышления |
||
| 1 | Введение, цели и задачи курса, линии, деление отрезков и углов, правила отношений | 1 | Формирование S-S отношений, ответственность за принятое решение | Развитие глазометра, навыков деления отрезков и углов | Воспринимают информацию, осмысливают, запоминают, формируют правила и способы их контроля и осуществляют, овладевают алгоритмом практических действий. | Исследование конкретных геометрических объектов-фигур и преобразований | |
| 2 | Плоские геометрические фигуры | 1 | Формирование S-S отношений, ответственность за принятое решение | Развитие глазометра | Овладевают алгоритмом практических действий, познавательная деятельность | конструктивные задачи, прикладные задачи | |
| 3-4 | Центральное проецирование | 2 | Формирование S-S отношений, создание механизмов самоконтроля | Развитие образного мышления, глазометра | Овладевают алгоритмом практических действий, познавательная деятельность | проекционные стереометрические задачи | |
| 5-6 | Параллельное проецирование | 2 | Формирование S-S отношений, ответственность за принятое решение, формирование качеств | Развитие образного мышления, глазометра | Воспринимают информацию, осмысливают, запоминают, овладевают алгоритмом практических действий | задачи на проектирование геометрических тел, построение сечений | |
| 7-9 | Изображение предметов на основе плоских геометрических фигур | 3 | Целеустремленность, настойчивость, усидчивость, эстетический вкус | Развитие творческих способностей образного мышления | Овладевают приемами анализа с целью постановки проблемы и способов ее решения, создают наглядный образ, получают знания, элементы творческой работы. | диагностические задачи на проверку сформированности пространственных представлений. | |
2. Геометрические тела
№ пп |
Тема | Кол-во час | Цели Воспит. Развив. |
Способы деятельности | Приемы развития пространственного мышления |
Формула контроля | |
| 10-12 | Изображение объемных геометрических тел | 3 | Формирование S-S отношений, формирование качеств аккуратности | Развитие образного мышления | Усваивают и запоминают информацию, овладевают алгоритмом практических действий, выполняют упражнения | привлечение неплоских пространственных образов при рассмотрении вопросов планиметрии |
взаимопроверка, инд. контроль |
| 13-14 | Изображение группы геометрических тел по заданному образцу | 2 | Формирование S-S отношений, чувства количества, поддержки, ответственности | Развитие образного мышления и пространственного воображения | Усваивают новые знания, овладевают алгоритмом практических действий, выполняют работу в группах | создание целостного геометрического образа с опорой на наглядность |
взаимоконтроль, инд. контроль |
| 15-16 | Преобразования с формы куба и цилиндра | 2 | Усидчивость, целеустремленность, упорство, терпение | Развитие абстрактного мышления | Овладевают алгоритмом практических действий, создают новые образы, преобразуют традиционные формы | создание ситуаций, способствующих активному оперированию геометрическим образом |
консультации, инд. контроль |
| 17-18 | Геометрические тела и предметы окружающего мира. Дизайн детского парка «Сказочная поляна» | 1 | Любовь к национальной культуре, эстетический вкус | Развитие логическо-го мышления | Создают наглядный образ, умозаключения, получают знания, решают задачи, проектируют | творческое конструирование новых геометрических образов. |
экспертиза |
| 19-20 | Творческая работа | 3 | Любовь к национальной культуре, эстетический вкус | Развитие творческих способнос-тей, образного мышления | Проектируют | мысленно производить различные геометрические преобразования над исходным геометрическим образом |
ярмарка идей, экспертизы |
Учащиеся должны знать:
- правила оформления чертежей;
- приемы работы чертежными инструментами;
- приемы построения сопряжения;
- основные сведения о, чертежном шрифте;
- основы прямоугольного проецирования на одну, две и три перпендикулярные плоскости и иметь понятие о способах построения аксонометрических изображений.
Учащиеся должны уметь:
- анализировать форму предмета по чертежу и с натуры, анализировать графический состав изображений;
- читать и выполнять комплексные чертежи (эскиз) и наглядные изображения несложных предметов;
- выбирать оптимальное количество видов на чертеже, осуществлять некоторые преобразования формы и пространственного положения предметов и их частей.
Обновление содержания школьного образования в условиях его модернизации, введение нового базисного учебного плана инициируют новые подходы к графическому образованию учащихся.
Курс черчения направлен на формирование графической культуры учащихся, творческого потенциала личности. Понятие «графическая культура» широко и достаточно многогранно. Применительно к обучению учащихся под графической культурой подразумевается достигнутый ими уровень освоения графических методов и способов передачи информации, который оценивается по качеству выполнения и чтения чертежей.
Черчение является той учебной дисциплиной, в процессе изучения которой учащиеся овладевают технологическими приемами оперирования различными видами графических изображений и графической деятельности.
Через графическую деятельность реализуются одновременно такие познавательные процессы, как ощущение, восприятие, представление, мышление и др., благодаря чему у школьников создается общность многих психических функций.
Школьный графический компонент образования должен обеспечить:
- формирование у учащихся основ графической грамоты, навыков графической деятельности;
- осуществление связи обучения с практикой (производством, технологией и др.), знакомство школьников с устройством машин, механизмов и т.д.;
- подготовку учащихся к конструкторско-технологической и творческой деятельности, различным видам моделирования;
- развитие пространственных представлений школьников, их наблюдательности, глазомера, измерительных навыков и др.;
- формирование эстетического, художественного вкусов, элементов общей культуры.
Цель обучения предмету конкретизируется в основных задачах:
- формировать знания об основах прямоугольного проецирования на одну, две и три плоскости проекции, способах построения изображений на чертежах (эскизах), а также построения прямоугольной изометрической проекции и технических рисунков;
- научить читать и выполнять несложные чертежи, эскизы, аксонометрические проекции, технические рисунки деталей различного назначения;
- развивать статические и динамические пространственные представления, образное мышление на основе анализа формы предметов и ее конструктивных особенностей, мысленного воссоздания их пространственных образов по проекционным изображениям, словесному описанию и пр.;
- научить самостоятельно пользоваться учебными материалами;
- формировать умения применять графические знания в новых ситуациях.
Реализация многообразия связей черчения с другими курсами образовательной области «Технология» проводится в рамках единой системы графического образования учащихся. На уроках черчения приводятся в систему и обогащаются графические знания, приобретенные ими в процессе трудового обучения: виды графических изображений, типы линий, технологические базы, изображение и обозначение резьбы и др. Кроме того, связь с трудовым обучением выражается в применении таких общих приемов работы, как чтение чертежей, изготовление и контроль по чертежам изделий, выполнение эскизов, исполнение измерительных инструментов, работа со справочной литературой. Специфическим видом мыслительной деятельности, объединяющим черчение и труд, являются преобразования (масштабные, пространственные, конструктивные и др.).
В процессе изучения методов графических изображений следует опираться на опыт учащихся, приобретенный на занятиях по изобразительному искусству. Необходимо использовать знания о форме, перспективном методе ее изложения, техническом рисунке и др.
При ознакомлении с геометрическими построениями используются знания и умения, полученные на уроках математики в 8-х классах. К началу изучения курса черчения учащиеся знакомы с такими понятиями, как точка, прямая, луч, угол, полуплоскость, треугольник, четырехугольники и их свойства. Умеют измерять отрезки и углы; знают равенство треугольников. Имеют представления о перпендикуляре и могут построить серединный перпендикуляр отрезка. Знают признаки параллельности двух прямых и их свойства, знакомы с понятием поперечного масштаба и др.
2.3. Планы-конспекты уроков
План – конспект урока по черчению №1
Тема: «Аксонометрические проекции. Получение аксонометрических проекций».
Тип урока: комбинированный.
Оборудование: чертежные инструменты, тетрадь, учебник, плакат.
Цель: Ознакомить учащихся с темой «Аксонометрические проекции».
Задачи:
РАЗВИВАЮЩАЯ: развитие творческого мышления.
ВОСПИТАТЕЛЬНАЯ: воспитание познавательного интереса к предмету, формирование самостоятельности.
ОБРАЗОВАТЕЛЬНАЯ: научить построению разверток.
Методы и приемы развития пространственного мышления:
- выполнение задач на проектирование геометрических тел;
- творческое конструирование новых геометрических образов.
Оформление доски:
Фронтальная диметрическая проекция Изометрическая проекция

ZZ
X
XY
Y
Построение аксонометрических проекций плоских фигур (квадрат)
Фронтальная диметрическая проекция Изометрическая проекция

a
Xa
a/2
XaY
Y
Структура урока:
1. Организационный момент (проверка присутствующих, сообщение темы урока (2-3минуты));
2. Изучение нового материала (Аксонометрические проекции).
Ход урока:
Получение аксонометрических проекций:
На рисунке, который нанесен на доске, показано, как получается одно из наглядных изображений. Передняя и задняя грани куба расположены параллельно плоскости проекции Р.
Проецируя куб вместе с осями координат X0 Y0 Z0 на плоскость Р параллельными лучами, направленными к ней под углом, меньшим 900, получают косоугольную фронтальную диметрическую проекцию (фронтальная диметрическая проекция). Если грани куба наклонить к плоскости под равными углами и спроецировать куб вместе с осями координат на плоскость перпендикулярными к ней лучами, то получится еще одно наглядное изображение, которое называется прямоугольной изометрической проекцией (изометрическая проекция). Фронтальная диметрическая и изометрическая проекции объединяются еще одним названием – аксонометрические проекции (от греч. «Аксонометрия» – измерение по осям).
Оси x, y, z на плоскости аксонометрических проекций называются аксонометрическими. Когда стоят такие проекции, размеры откладывают вдоль этих осей. Аксонометрические проекции относят к наглядным изображениям.
Построение аксонометрических проекций:
Построение начинают с проведения аксонометрических осей x, y, z.
Оси фронтальной диметрической проекции располагают так: ось x - горизонтально, ось y – под углом 450 к горизонтальной линии, ось z – вертикально. Ось y проводят с наклоном влево или вправо. По осям x и z откладывают натуральные размеры, по оси y – сокращенные в 2 раза.
Оси изометрической проекции располагают так: оси x и y располагают под углом 300 к горизонтальной линии (1200 между осями). По осям x, y, z откладывают натуральные размеры.
Рассмотрим построение аксонометрических проекций плоских геометрических фигур, расположенных горизонтально. Построение начинают с проведения аксонометрических осей x и y. Вдоль оси Х откладываем отрезок a, равный стороне квадрата, вдоль оси Y- отрезок а/2 для фронтальной диметрической проекции и отрезок а для изометрической проекции. Проводят отрезки, параллельные отложенным отрезкам.
Теперь рассмотрим построение аксонометрических проекций плоскогранных предметов. Запишите в своих тетрадях алгоритм построения аксонометрических проекций:
Проводим оси. Строим переднюю грань детали, откладывая действительные размеры: высоту вдоль оси Z, ширину вдоль оси X.
Из вершин полученной фигуры проводим ребра параллельно оси Y. Вдоль них откладываем толщину детали: для фронтальной диметрической проекции – сокращенную в 2 раза; для изометрической – действительную.
Через полученные точки проводим отрезки прямых, параллельные ребрам передней грани.
Удаляем лишние линии. Обводим видимый контур и наносим размеры. Обратите внимание, что при нанесении размеров на аксонометрической проекции предмета выносные линии проводят параллельно аксонометрическим осям, размерные линии – параллельно измеряемому отрезку.
Построение изометрической и фронтальной диметрической проекций, в общем одинаковы. Разница лишь в расположении осей и в длине отрезков, откладываемых вдоль оси Y.
Подведение итогов урока:
- дети научились создавать исходный геометрический образ, т. е. в графической модели передавать форму, размеры и взаимное расположение отдельных элементов объекта;
- мысленно производить различные геометрические преобразования над исходным геометрическим образом;
- .мысленно изменять структуру геометрического образа.
Задание на дом: прочитать § 6, 7 и ответить на вопросы в конце них. Построить аксонометрическую проекцию детали (любую), изображенной на рисунке 63.
План – конспект урока по черчению №2
Тема: «Аксонометрические проекции предметов, имеющих круглые поверхности. Технический рисунок».
Тип урока: комбинированный.
Оборудование: чертежные инструменты, тетрадь, учебник, плакат.
Цель: Ознакомить учащихся с темой «Аксонометрические проекции предметов, имеющих круглые поверхности».
Задачи:
1. РАЗВИВАЮЩАЯ: развитие творческого и пространственного мышления.
2. ВОСПИТАТЕЛЬНАЯ: воспитание познавательного интереса к предмету, формирование самостоятельности.
3. ОБРАЗОВАТЕЛЬНАЯ: научить построению аксонометрических проекций предметов, имеющих круглые поверхности, а также выполнению технического рисунка.
Методы и приемы развития пространственного мышления:
- создание целостного геометрического образа с опорой на наглядность;
- создание ситуаций, способствующих активному оперированию геометрическим образом
Оформление доски:
Построение фронтальной диметрической проекции.

ZZ
YY
XX
Построение овала.

A A
a b a b
O O
d c d R c
X Y A X Y
B a b B
R1 O R1
CD
XdcY
B
Структура урока:
1. Организационный момент (проверка присутствующих, сообщение темы урока (2-3минуты));
2. Повторение пройденного материала (5 минут);
3. Изучение нового материала (Аксонометрические проекции предметов, имеющих круглые поверхности).
Ход урока:
Повторение пройденного материала: Назовите, какие вы знаете виды аксонометрических проекций? Чем они отличаются друг от друга? Перечислите общие этапы построения аксонометрических проекций.
Изучение нового материала:
Фронтальные диметрические проекции окружностей:
Для того чтобы сохранить на аксонометрическом изображении некоторые элементы без искажений (например, окружности) применяют фронтальную диметрическую проекцию. Построение фронтальной диметрической проекции детали с цилиндрическим отверстием выполняют так:
Пользуясь осями X, Y, Z, строим тонкими линиями очертания внешней формы детали.
Находим центр отверстия на передней грани. Через него параллельно оси Y проводим ось отверстия и откладываем на ней половину толщины детали. Получаем центр отверстия, расположенный на задней грани.
Из полученных точек как из центров проводим окружности, диаметр которых равен диаметру отверстия.
Удаляем лишние линии и обводим видимый контур детали.
Изометрические проекции окружностей:
Изометрическая проекция окружности – кривая, которая называется эллипсом. В практике черчения вместо них строят овалы.
Овал – замкнутая кривая, очерченная дугами окружностей. Овал удобно строить, вписывая в ромб, который является изометрической проекцией квадрата. Построение овала выполняют в следующей последовательности:
Строим ромб со стороной, равной диаметру изображаемой окружности. Для этого проводим через точку О изометрические оси X и Y. На них от точки О откладываем отрезки, равные радиусу изображаемой окружности. Через точки a, b, c и d проводим прямые, параллельные осям; получаем ромб. Большая ось овала располагается на большой диагонали ромба.
Вписываем в ромб овал. Для этого из вершин тупых углов (точек А и В) описываем дуги. Их радиус R равен расстоянию от вершины тупого угла до точек a, b или с,d соответственно.
Через точки В и a, В и b проводим прямые. В пересечении прямых Вa и Вb с большей диагональю ромба находим точки C и D. Эти точки будут центрами малых дуг. Их радиус R1 равен Са или Db. Дугами этого радиуса плавно соединяем большие дуги овала.
Мы рассмотрели построение овала, лежащего в плоскости, перпендикулярной оси Z. Овалы, находящиеся в плоскостях, перпендикулярных оси X и оси Y, строят также, только построение ведут на осях X и Z или Y и Z.
Способ построения аксонометрических проекций предметов, имеющих круглые поверхности:
Находим центр отверстия на передней грани. Определяем направление изометрических осей для построения ромба. Из найденного центра проводим оси и откладываем на них отрезки, равные радиусу окружности.
Строим ромб. Проводим его большую диагональ.
Вписываем большие дуги. Находим центры для малых дуг.
Проводим из найденных центров малые дуги.
Такой же овал строим на задней грани, но обводим лишь видимую его часть.
Технический рисунок:
Технический рисунок – изображение, выполненное от руки, по правилам аксонометрии с соблюдением пропорций на глаз. При этом придерживаются тех же правил, что и при построении аксонометрических проекций: под теми же углами располагают оси, размеры откладывают вдоль осей или параллельно им.
Для упрощения работы по выполнению наглядных изображений часто пользуются техническими рисунками. Технические рисунки удобно выполнять на бумаге в клетку (тетрадный лис, миллиметровка).
Для построения окружности сначала на осевых линиях от центра на расстоянии, равном радиусу окружности, наносим 4 штриха. Затем между ними наносим еще 4 штриха. В заключении проводим окружность.
Овал легче нарисовать, вписав его в ромб. Для этого, как и в предыдущем случае, сначала наносим штрихи внутри ромба, намечающие форму овала.
Для большего отображения объемности предмета на технических рисунках наносят штриховку. При этом предполагается, что свет падает на предмет слева сверху. Освещенные поверхности оставляют светлыми, а затемненные покрывают штриховкой, которая тем чаще, чем темнее поверхность предмета.
Подведение итогов урока:
- дети научились сохранять в памяти геометрический образ;
- анализировать и синтезировать геометрические образы;
- рассматривать объект с разных точек зрения;
Задание на дом: прочитать § 8, 9 и ответить на вопросы в конце них. Задание 3 стр. 56 и задание 1,2 стр. 57.
Заключение
Общеобразовательный предмет «Черчение» постоянно претерпевает изменения, которые определены социальными процессами, происходящими в обществе. Совершенствуется, обновляется, пересматривается графическая подготовка школьников с информационных и культурологических позиций. Информатизация общества создала предпосылки и обусловила необходимость пересмотра целей, задач, содержания школьного курса черчения, что обусловило разработку новых учебных программ по черчению.
Новые цели и задачи курса черчения вызвали необходимость расширения предметной области черчения за счет введения материала о графическом языке, представляющем собой совокупность изобразительной и знаковой систем отображения информации о трехмерных объектах, созданных человеком. «Черчение» понимается как учебная дисциплина, изучающая графический язык общечеловеческого общения, основанный на системе методов и способов графического отображения, передачи и хранения геометрической, технической и другой информации об объектах и правилах выполнения, чтения некоторых видов графических изображений. Должное внимание уделяется освещению исторических аспектов появления графического языка, совершенствованию его методов, развитию систем, составляющих его.
Таким образом, приобщение к графической культуре становится целью обучения черчению, которая конкретизируется в основных задачах:
- изучении графического языка общения, передаче и хранении информации о предметном мире с помощью различных методов и способов отображения ее на плоскости и правилах считывания;
- освоении правил и приемов выполнения и чтения чертежей различного назначения;
- развитии логического и пространственного мышления, статических, динамических пространственных представлений;
- развитии творческого мышления и формировании элементарных умений преобразовывать форму предметов, изменять их положение и ориентацию в пространстве.
Формирование графической культуры школьников неотделимо от развития образного (пространственного), логического, абстрактного мышления средствами предмета, что реализуется при решении графических задач. Курс черчения у школьников формирует аналитические и созидательные (включая комбинаторные) компоненты мышления и является основным источником развития статических и динамических пространственных представлений учащихся.
Творческий потенциал личности развивается посредством включения школьников в различные виды творческой деятельности, связанные с применением графических знаний и умений в процессе решения проблемных ситуаций и творческих задач. Процесс усвоения знаний включает в себя четыре этапа: понимание, запоминание, применение знаний по правилу и решение творческих задач. Этапы связаны с деятельностью по распознаванию, воспроизведению, решению типовых и нетиповых задач, требующих применения знаний в новых ситуациях. Без последнего этапа процесс обучения остается незавершенным. Поэтому процесс усвоения учебного материала каждого раздела должен содержать решение пропедевтических творческих задач, локально направленных на усвоение соответствующих знаний. Систематическое обращение к творческим задачам создает предпосылки для развития творческого потенциала учащихся, который в конце обучения реализуется при решении задач с элементами технического конструирования. Творческая деятельность создает условия для развития творческого мышления, креативных качеств личности учащихся (способности к длительному напряжению сил и интеллектуальным нагрузкам, самостоятельности и терпения, умения доводить дело до конца, потребности работать в полную силу, умения отстаивать свою точку зрения и др.). Результатом творческой работы школьников является рост их интеллектуальной активности, приобретение положительного эмоционально-чувственного опыта, что в результате обеспечивает развитие творческого потенциала личности.
Перечисленные концептуальные положения взаимосвязаны, взаимообусловлены и раскрывают современные представления о графической подготовке школьников.
Список литературы
1. Адаменко А.С. Творческая техническая деятельность детей и подростков. - М, 2003г. - с. 38-40.
2. Анастази А. В. Психологическое тестирование: в 2 кн. Кн. I. М, 2002г. – с. 217.
3. Анисимов Н.Н. и др. Учебное пособие для техникумов, 3-е изд., перераб. и доп. - М.: Стройиздат, 2003 г. – с. 368.
4. Алексеев В.Е. Организация технического творчества учащихся. - М. 2004 г. - с. 23-38.
5. Бабанский Ю.К. Педагогика. – М.: Просвещение, 2004г. - с. 33-37.
6. Безрукова В.С. Педагогика. Проективная педагогика. - Екатеринбург: «Деловая книга», 2005г. - с. 11-13.
7. Ботвинников А.Д., Виноградов В.Н., Вышепольский И.С. Черчение. Учебник для 7-8 классов общеобразовательных учреждений. - М.: Просвещение, 2004г. - с. 56-60.
8. Вакуленко В.А. Опорный конспект по предмету Организации и методика производственного обучения. - М, 2003 г. – с. 11-13.
9. Василенко Е.А., Жукова Е.Т. Карточки-задания по черчению для 8 класса. Пособие для учителя. – М.: Просвещение, 2004г. – с. 208.
10. Виноградов В.Н.. Внеклассная работа по черчению в школе. Издание второе, дополненное. - М.: Просвещение, 2005г. - с. 47.
11. Волков И.П. Приобщение к творчеству. - М.: Просвещение, 2002 г. - с. 59-64.
12. Возрастные и индивидуальные особенности образного мышления учащихся / Под ред. И. С. Якиманской. – М, 2004г. – с. 97.
13. Гуревич К. М., Акимова М. К.. Борисова Е. М. Психологическая диагностика. Разработка, проверка и применение школьного теста умственного развития // Психологические проблемы рационализации трудовой деятельности. - Ярославль, 2005г. – с. 17-22.
14. Зархин В. Г. Опыт компьютерной диагностики умственного развития // Научно-практические проблемы школьной психологической службы: Тезисы докладов: В 2 т. Т. 1. – М, 2004г. – с. 25.
15. Зимняя А.И. Педагогическая психология // 2-ое издание. - М.: Логос, 2005г. - с. 48.
16. Ильина Т.А. Педагогика школы. - М, 2002г. - с. 18-22.
17. Кадаяс Х.-М. X. Особенности пространственного мышления учащихся с художественными и математическими склонностями: Автореф. канд. дис. - М, 2005г. – с. 37.
18. Карточки-задания по черчению: 8 класс. Пособие для учителя//под ред. В.В.Степаковой. - М.: Просвещение, 2005 г. – с. 64.
19. Крутецкий В.А. Психология - М, 2004 г. - с. 11-28.
20. Махмутов М.И. Современный урок. Вопросы теории - М, 2002г. - с. 37-40.
21. Павлова А.А., Симоненко В.Д. Графика // Технология: Сб. программ. - М.: Просвещение, 2005г. – с.112.
22. Павлова А.А., Корзинова Е.И. Графика в средней школе. - М.: Владос, 2003г. – с. 56-58.
23. Преображенская Г.П., Кучукова Т.В. , Беляева И.А. Черчение. Рабочая тетрадь №1. основные правила оформления чертежей. Построение чертежа “плоской” детали. 8 класс. - М.: Вентана-Граф, 2004г. - с. 12-15.
24. Проблемы диагностики умственного развития учащихся // Под ред. 3. И. Калмыковой. - М, 2005г. – с. 232.
25. Ройтман И.А. Методика преподавания черчения. - М.: Владос, 2003г. – с. 27-34.
26. Скакун В.А. Методика производственного обучения. Ч. 1-2 - М. 2002г. -
с. 22-27.
27. Спетанова В.В. Методическое пособие по черчению, графические работы. - М.: Просвещение, 2001г. – с. 72.
28. Степакова В.В., Анисимова Л.Н.Черчение. Учебник для учащихся общеобразовательных учреждений. Под редакцией В.В.Степаковой. Допущено Министерством образования Российской Федерации. - М.: Просвещение, 2005г. - с. 44-47.
29. Степакова В.В. Рабочая тетрадь по черчению. М.: Просвещение, 2002г. – с. 34.
30. СтепаковаВ.В. Методическое пособие по черчению. Графические работы. – М.: Просвещение, 2004г. – с. 37.
31. Черчение: Сборник авторских программ. - М.: Просвещение, 2005г. – с. 44-52.
32. Якиманская И. С. Развивающее обучение. - М, 2003г. – с. 114.
33. Якиманская И. С. Развитие пространственного мышления школьников. М, 2005г. – с. 272.
Приложения
Приложение 1.
Поурочное планирование учебного материала по черчению 8 класс
1. Правила оформления чертежей. Значение черчения в практической деятельности людей. Краткие сведения об истории развития чертежей. Современные методы выполнения чертежей с использованием ЭВМ. Цели, содержание и задачи изучения черчения в школе.
2. Инструменты, принадлежности и материалы для выполнения чертежей. Рациональные приемы работы инструментами. Организация рабочего места.
3. Понятие о стандартах. Линии: сплошная толстая – основная, штриховая, сплошная тонкая, сплошная волнистая, штрихпунктирная и тонкая штрихпунктирная с двумя точками.
4. Графическая работа “Линии чертежа”.
5. Некоторые сведения о нанесении размеров (выносная и размерная линии, стрелки, знаки диаметра и радиуса; указание толщины и длины детали надписью; расположение размерных чисел).
6. Применение и обозначение масштаба.
7. Графическая работа “Чертеж плоской детали”.
8. Сведения о чертежном шрифте. Буквы, цифры и знаки на чертежах.
9. Способы проецирования. Проецирование центральное и параллельное, прямоугольное проецирование.
10. Расположение видов на чертеже и их названия. Определение необходимого и достаточного количества видов на чертеже. Понятие о местном виде.
11. Выполнение чертежей предметов на одной, двух и трех взаимно перпендикулярных плоскостях проекций.
12. Практическая работа “Моделирование по чертежу”.
13. Косоугольная фронтальная диметрическая и прямоугольная изометрическая проекции. Направление осей, показатели искажения, нанесение размеров.
14. Аксонометрические проекции плоских деталей.
15. Аксонометрические проекции объемных деталей.
16. Эллипс как проекция окружности. Построение овала.
17. Понятие о техническом рисунке. Технические рисунки и аксонометрические проекции предметов. Выбор вида аксонометрической проекции и рационального способа ее построения. Графическая работа “Технический рисунок”.
18. Чтение и выполнение чертежей. Анализ геометрической формы предметов. Самостоятельная работа “Анализ геометрической формы предметов”.
19. Проекции геометрических тел. Мысленное расчленение предмета на элементарные геометрические тела.
20. Чертежи групп геометрических тел.
21. Нахождение на чертеже вершин, ребер, образующих и поверхностей тел, составляющих форму предмета.
22. Графическая работа “Чертежи и аксонометрические проекции предметов”.
23. Порядок построения изображений на чертежах. Построение вырезов на геометрических телах. Порядок построения третьего вида по двум данным.
24. Графическая работа “Построение третьего вида по двум данным”.
25. Нанесение размеров на чертежах с учетом формы предметов. Использование знака квадрата.
26. Развертки поверхностей некоторых тел.
27. Анализ графического состава изображений, Геометрические построения (деление окружности на равные части, сопряжения).
28. Графическая работа “Чертеж детали с использованием геометрических построений”. Порядок чтения чертежей.
29. Графическая работа “Выполнение чертежа предмета в трех видах с преобразованием его формы”.
30. Выполнение эскизов деталей. Графическая работа “Эскиз и технический рисунок детали”.
31. Графическая работа “Выполнение эскизов деталей с включением элементов конструирования”.
32. Итоговая контрольная работа.
33. Решение нестандартных задач.
Приложение 2.
Примеры графических работ, направленных на развитие навыков пространственного мышления.
Методы и приемы:
- упражнения на умение читать изображения и изображать пространственные объекты;
- упражнение на оперирование пространственными образами.
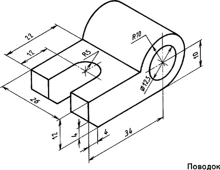
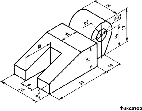
ГРАФИЧЕСКАЯ РАБОТА 1. Выполните чертеж одной из машиностроительных деталей в трех видах.
| Вариант 1 |
![]() |
| Вариант 2 |
![]() |
| Вариант 3 |
![]() |
| Вариант 4 |
![]() |
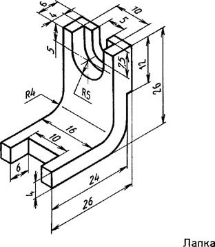
ГРАФИЧЕСКАЯ РАБОТА 2. Выполните чертеж одной из мебельных скоб в трех видах.
| Вариант 1 |
![]() |
| Вариант 2 |
![]() |
ГРАФИЧЕСКАЯ РАБОТА 3.Выполните чертеж одной из лапок швейной машины в трех видах.
| Вариант 1 |
![]() |
| Вариант 2 |
![]() |
Похожие рефераты:
Развитие логического мышления учащихся при решении задач на построение
Развитие пространственных представлений на занятиях конструированием у старших дошкольников
Использование компьютерных технологий в изучении наглядной геометрии
Основы проектирования и конструирования
Методика изучения раздела "Графика" в 8 классе
Структура и содержание теоретико-методологического обеспечения педагогической интеграции
Теоретические основы индивидуального подхода учащихся к выбору профессии
Зрительная образная память у дошкольников с нарушениями зрения
РАЗВИТИЕ И ДИАГНОСТИКА МЫШЛЕНИЯ В ПОДРОСТКОВОМ ВОЗРАСТЕ
Художественно-конструкторская деятельность как основа формирования элементов дизайнерского мышления
Особенности развития наглядно-образного мышления в старшем дошкольном возрасте







