| Похожие рефераты | Скачать .docx |
Дипломная работа: Методичне забезпечення занять шкільного радіотехнічного гуртка
Методичне забезпечення занять шкільного радіотехнічного гуртка
ДИПЛОМНА РОБОТА
ВСТУП
Становлення України як економічно міцної європейської держави вимагає інтенсифікації виробництва за рахунок його інтелектуалізації. За таких умов, пріоритетного значення набуває проблема формування у молоді готовності до використання досягнень науково-технічного прогресу, зокрема в галузі новітніх інформаційних технологій, особливо – сучасних технологій роботи в локальних мережах ЕОМ та в глобальних телекомунікаційних мережах, залучення її до винахідницької та раціоналізаторської діяльності.
Усе це вимагає якісної реорганізації як загальноосвітньої так і професійної підготовки молоді, істотного підвищення рівня та якості навчання. Зараз, в освітній політиці, намітилась тенденція до підсилення індивідуального підходу, розвитку творчих здібностей майбутніх спеціалістів, опираючись, насамперед, на їх самостійну роботу, активні форми та методи навчання: дискусії, моделювання виробничих ситуацій тощо. Підвищується роль процесу творчої технічної діяльності у формуванні особистості, здатної в майбутньому, до високопродуктивної технікоємкої виробничої діяльності.
Технічна творчість в Україні має свою історію. Бурхливий розвиток промисловості в Європі, у минулому столітті, не оминув і українських земель. Потреба в інженерно технічних фахівцях спонукала до відкриття технічних шкіл – ремісничих та інженерних (у Львові з 1844 р., у Києві з 1848 р.). Фахівці гуртувалися у технічні спілки. У 1877 р. у Львові виникло Технічне товариство, яке у 1908 році за ініціативою інж. Л. Левинського переросло у “Всеукраїнське технічне товариство”. З 1904 року у Львові діяло «Товариство прихильників української науки, літератури і штуки». Починаючи з 1929 року активно працювала Науково-технічна комісія Наукового товариства ім. Шевченка. У Харкові й Києві в 1921-23 рр. створено Всеукраїнську асоціацію інженерів.
Усі ці інституції вважали за потрібне, через видання різноманітних часописів, зокрема “Технічні вісті” (Львів, 1908 р.), “Науково-технічний вісник” (Киів), “Життя і знання”, “Господарсько-кооперативний часопис”, науково-популярне видання “Самоосвіта”, формувати українську технічну термінологію, “поширювати технічне шкільництво та популяризацію технічних знань”
Проблема розвитку творчого потенціалу особистості знайшла своє відображення у дослідженнях багатьох психологів та педагогів. Зокрема психологічні аспекти творчої діяльності висвітлено в працях Л.С.Виготського, Т.В.Кудрявцева, О.М.Леонтьєва та ін.
Педагогічні та дидактичні аспекти розвитку творчих здібностей учнів знайшли своє відображення в роботах Г.С.Альтшуллера, В.Г.Розумовського, Ю.С.Столярова, Д.О.Тхоржевського та ін.
Політехнічне навчання учнів вимагає розвитку пізнавального інтересу, технічного мислення, елементів конструкторсько-технологічних знань та умінь. Працюючи над об’єктами конструювання, учні засвоюють принципи їх роботи, поглиблюють свої знання з фізики, математики, набувають навичок в читанні креслень, складанні ескізів, плануванні технологічного процесу та організації творчої діяльності.
Позакласна робота учнівських об’єднань в галузі техніки, технічної творчості є логічним продовженням та доповненням їх освітньої діяльності започаткованої на уроках, зокрема на уроках трудового навчання. Це сприяє поглибленню знань школярів в галузі технічних наук, виробленню цінних практичних умінь та навичок, виховує дисциплінованість та культуру праці.
Зусиллями багатьох педагогів-дослідників, дидактів, вчителів-практиків ще радянської доби накопичено певний досвід роботи з юними техніками, визначено організаційні форми навчально-виховного процесу, розроблено методичні основи занять з учнями середнього та старшого шкільного віку з різних напрямків технічної творчості.
Разом з тим, оновлення змісту навчання, вимог до якості загальноосвітньої підготовки молоді, якісні зміни (спричинені розвитком науково-технічного прогресу), що відбуваються в житті суспільства, вимагають розвитку і вдосконалення процесу технічної творчості учнів. Це зумовило вибір теми нашого дослідження “Методичне забезпечення занять шкільного радіотехнічного гуртка (розділ “ Елементи цифрової техніки”)”.
Об’єкт дослідження – позакласна робота з технічної творчості в загальноосвітніх школах.
Предмет дослідження – науково-методичні основи організації занять шкільного радіотехнічного гуртка.
Мета роботи полягає у розробці методичного забезпечення до вивчення розділу “Елементи цифрової техніки” на заняттях шкільного радіотехнічного гуртка.
Завдання дипломної роботи.
1. проаналізувати педагогічну, методичну, науково-популярну та спеціальну літературу з питань організації творчої технічної діяльності школярів;
2. вивчити теоретико-педагогічні підходи стосовно організації і функціонування технічних гуртків (радіоелектронний напрям) та розробити модель процесу вивчення розділу “Елементи цифрової техніки” на заняттях шкільного радіотехнічного гуртка;
3. спроектувати та виготовити електронний прилад на базі цифрових логічних елементів;
4. підготувати методичні рекомендації керівникам гуртків щодо організації навчально-виховного процесу.
Практичну значущість роботи вбачаємо в тому, що на основі узагальнень, отриманих внаслідок аналізу психолого-педагогічної, методичної та спеціальної літератури, власного досвіду роботи підготовлено методичні рекомендації стосовно вивчення розділу “Елементи цифрової техніки” в процесі занять шкільного радіотехнічного гуртка; на основі розроблених критеріїв щодо відбору об’єктів конструювання, запропоновано для повторення ряд практичних радіоелектронних схем; спроектовано та виготовлено електронний прилад («Фототир»)
Вважаємо, що дана робота буде корисною для вчителів шкіл, працівників позашкільних навчальних закладів, всіх тих, хто займається проблемою підготовки молоді до творчої технічної діяльності.
Розділ 1. ПОЗАКЛАСНА РОБОТА З ТЕХНІКИ, ЯК ОДИН З ОСНОВНИХ ШЛЯХІВ ПІДВИЩЕННЯ ЕФЕКТИВНОСТІ ФОРМУВАННЯ ЗНАНЬ ТА УМІНЬ ШКОЛЯРІВ
1.1 Особливості творчої технічної діяльності та її значення для всебічного розвитку особистості
В педагогічній науці розвитку творчих здібностей дитини приділено особливу увагу. Поряд з численними статтями та методичними рекомендаціями існують і фундаментальні дослідження в яких проаналізовано філософський, психолого-педагогічний та фізіологічний аспект творчості.
Для педагогічної практики особливе значення має константація того, що розвиток творчих здібностей особистості неможливий без засвоєння творчого досвіду попередників. Оволодіння цим досвідом, на відміну від засвоєння інших елементів культури, передбачає обов’язкове залучення учнів до практичної діяльності; і ця діяльність, особливо в початках, повинна носити здебільшого відтворювальний, репродуктивний характер. З цього приводу відомий російський педагог С.І.Гессен застерігав: «Вимога точного виконання заданого, «чистоти роботи» є необхідною умовою кожного уроку. Передчасне перетворення уроку в творчість, призводить не до виховання творців, а до виховання дилетантів, що задовольняються розпливчатістю контурів, наближеністю виконання завдання, яка закриває усі вірогідні шляхи до дійсної творчості». І далі «…передчасно перетворившись у творчість вона вироджується у практику поверхневого дилетантизму, виховує невігластво в роботі замість творчості…».
Навчання творчості, виховання в школярів рис творчої особистості є складною, багатоступеневою та багатовекторною проблемою. Будь-яка творчість грунтується як на вроджених так і набутих якостях людини – уяві, загальних та специфічних здібностях, інтуїції, набутому досвіді, знаннях та уміннях.
Працюючи над проблемою виховання творчих потенцій особистості відомий український педагог В.О.Сухомлинський добивався того, щоби думка не лише збуджувала уяву дитини, але, образно кажучи, була на кінцях її пальців. Багаторічна робота з дітьми навела вченого на думку про те, що існує пряма залежність між «діями руками і думкою» людини. «Думка удосконалює трудовий процес, а рука розвиває розум, сигналізуючи йому про тонкощі виконуваної дії. Однак таку функцію виконує не будь-яка праця, а, насамперед, складна, творча праця, в процесі якої проявляється здатність до вдумливого аналізу фактів, явищ, причинно-наслідкових зв’язків та закономірностей».
Досвід роботи передових шкіл, численні педагогічні дослідження та спостереження свідчать про те, що підготовка учнів до творчої технічної діяльності, під час їх навчання в школі, цілком можлива. Технічна творчість дітей має багато спільного з технічною творчістю дорослих і разом з тим характеризуватися своїми особливостями.
Вивчаючи сам процес технічної творчості, вчені поділяють його на окремі етапи. Так, французький психолог Ж.Рібо виділяв у процесі творчості три фази: визрівання ідеї, відкриття або винахід і перевірку. Інженер П.К.Енгельмейєр виділяв у технічній творчості стадії інтуїтивного проблиску ідеї і усвідомлення її винахідником, створення плану або схеми винаходу та ремісничу стадію його втілення.
Більш розгорнуту схему етапів винаходу запропонував американський психолог Росмен. Він виділяв сім етапів винаходу: 1) розуміння потреби винаходу; 2) аналіз цієї потреби; 3) ознайомлення із наявною інформацією; 4) формулювання усіх існуючих об'єктивних розв'язків; 5) їх критичний аналіз; 6) зародження ідеї нового винаходу; 7) експериментальна перевірка.
Російський психолог П.М.Якобсон у книзі "Процес творчої роботи винахідника" запропонував виділити такі стадії процесу винаходу: 1) період інтелектуальної творчої готовності; 2) усвідомлення потреби; 3) зародження ідеї - формулювання завдання; 4) стадія пошуків розв'язання; 5) отримання принципу винаходу; 6) перетворення принципу у схему; 7) стадія технічного оформлення (креслення, розрахунки, модель, перевірка винаходу).
Близьку до цього аналізу схему етапів винаходу, запропонував С.М. Василейський.
І. Попередня фаза: 1) усвідомлення потреби; 2) бажання її матеріального втілення; 3) формулювання завдання винаходу.
ІІ. Центральна фаза: 1) пошуки розв'язання; 2) отримання принципу рішення ; 3) початкове науково-технічне та економічне обгрунтування проекту винаходу; 4) початкова практична реалізація проекту (побудова моделі).
ІІІ. Заключна фаза: 1) більш детальне технічне та економічне обгрунтування проекту; 2) виготовлення робочих креслень; 3) виготовлення експериментального зразка винаходу.
Г.С. Альтшулер у своїй книзі "Как научиться изобретать" формулює три основні стадії творчості винахідника: аналітична, оперативна та синтетична.
Аналітична стадія творчості винахідника - це ланцюжок логічних операцій, в якому прослідковується чітка закономірність чергування деяких ланок. Ця стадія умовно поділена на п'ять етапів: 1) формулювання завдання; 2) представлення ідеального кінцевого результату; 3) визначення реально можливих перешкод в процесі конструювання (віднайдення протиріччя); 4) знаходження причини виникнення протиріч; 5) визначення умов, за яких можливе їх подолання.
Після аналітичної, настає оперативна стадія творчого процесу. Суть її полягає в усуненнні протиріч (адміністративних, технічних, фізичних) шляхом внесення змін в об'єкт. Характерним, для цієї стадії, є творчий пошук, який, на думку Г.С.Альтшулера, у загальному, вигляді повинен проходити однаково практично для усіх випадків: І) перевірка можливих змін у самому об'єкті ( машині, технологічному процесі). Це, насамперед, зміна розмірів, форми, матеріалу, компоновки складових частин та ін.; 2) перевірка можливості поділу об'єкта на незалежні частини; 3) перевірка можливості змін параметрів зовнішнього середовища (температури, тиску, вологості, запиленості, освітленості та ін.); 4) перевірка можливості змін у суміжних (таких, що працюють спільно з даним об’єктом) об'єктах; 5) дослідження прообразів об’єкту конструювання з інших галузей техніки ; 6) дослідження прообразу технічного об’єкту в природі; 7) повернення, в випадку необхідності, до вихідного стану завдання та уточнення його умов.
Остання, заключна сгадія творчого процесу – синтетична. Тут винахідник прагне до узагальнень та пошуку нових об'єктів, куди б можна було трансформувати його творчі доробки.
Аналізуючи наведені (різними авторами) приклади умовного поділу процесу творчої технічної діяльності можна знайти в них багато спільного. Зокрема, усі вони виділяють три найважливіші складові етапу творчого процесу: 1) усвідомлення потреби в створенні нового; 2) робота над матеріалізацією задуму; 3) реалізація.
Отже, у загальному вигляді, процес технічної творчості уявляється більшості дослідникам практично однаковим. Разом з тим, коли йдеться про деталізацію вказаних етапів творчого процесу, то тут має місце деяка розбіжність. Висновки вчених відображають не стільки послідовність етапів творчої діяльності, скільки логіку, у якій вона повинна проходити. На практиці, здебільшого, творчі процеси відображають типологічні та індивідуальні особливості самого винахідника.
Розглянувши суть процесу творчої технічної діяльності у трактуванні психологів, перейдемо до питання, якого характеру трудову діяльність слід відносити до технічної творчості. Зазначемо, що під даним поняттям розуміють цілеспрямовану діяльність людини, яка завершується створенням чогось нового, що має суспільну цінність. Сюди можна віднести роботу над удосконаленням знарядь праці, технологічних процесів, планування праці тощо.
Як показують дослідження І.І.Смагіна, для творчої технічної діяльності дітей характерні ті самі закономірності, що й для дорослих людей, а саме: 1) усе, що створюється дітьми, незалежно від суспільного значення наслідків праці, є результатом копіткої напруженої діяльності; 2) творча діяльність дітей наближена до творчої діяльності дорослих й за значенням основних психічних компонентів; 3) для творчої діяльності дітей характерні ті ж самі етапи, що й для творчості дорослих.
Разом з тим, вивчення наслідків творчої праці учнів показує, що творча діяльність дітей має ряд особливостей.
1. Створювані продукти дитячої праці, здебільшого, не є новими для суспільства; вони є новими лише для самих дітей. Отже, таке нове має суб'єктивний характер. Проте, з точки зору психологічної науки, праця учнів не позбавлена творчого характеру, оскільки в процесі праці учні відкривають для себе елементи чогось нового, раніше їм невідомого. Це принциповий момент, оскільки для розвитку творчих здібностей учнів характер новизни (об'єктивний чи суб'єктивний) не має особливого значення.
2. Навчальний характер творчої технічної діяльності дітей висуває на перший план не результати , а лише підготовку школярів до цієї діяльності в майбутньому. Тому основною метою творчої діяльності учнів є набуття ними досвіду практичної роботи з конструювання технічних об’єктів.
3. Творча діяльність учнів відзначається невисоким рівнем самостійності.
Все це наштовхує на думку, що творча технічна діяльність дітей є можливою за умови систематичного та цілеспрямованого педагогічного впливу. При цьому потрібні певні умови:
1. Створення необхідної обстановки для самостійних дій учнів у процесі праці.
Відоме положення про те, що формування всіх якостей та властивостей особистості відбувається в процесі діяльності, повною мірою стосується і розвитку творчих сил та здібностей. При цьому трудова діяльність повинна забезпечувати досить високий рівень інтелектуальної активності. Ця теза передбачає можливість самостійності учнів у процесі праці. На заняттях у навчальних майстернях дане завдання може бути успішно розв'язане під час виконання трудових завдань, де відсутня регламентація дій учнів.
2. Підведення учнів до творчої ідеї.
В умовах практичної діяльності людей у сфері матеріального виробництва творча ідея виникає під впливом запитів громадського життя, вимог часу. В умовах роботи шкільної майстерні (на уроках трудового навчання, заняттях технічних гуртків) потребу в творчості, в намаганні критично оцінювати та якісно перетворювати (удосконалювати) навколишні предмети необхідно виховувати, використовуючи при цьому весь набір педагогічного інструментарію починаючи від створення проблемних ситуацій, психологічного тренінгу типу «Ви це можете. Вам це під силу» і закінчуючи безпосередньою участю школярів над практичною реалізацією проекту. При цьому рівень самостійності учнів повинен бути якомога вищим.
3. Застосування різних педагогічних прийомів стимулювання інтелектуальної активності учнів при виконанні ними завдань творчого характеру.
Вивчення трудової діяльності учнів на уроках праці показало, що при дотриманні зазначених вище умов, рівень активності учнів не завжди буває однаковим, оскільки вони не в однаковій мірі мобілізують свої психофізіологічні потенції для розв'язання завдань творчого характеру. Зокрема, учні середнього шкільного віку ще легко переключають свою увагу з одного предмета на інший, їх вольові дії імпульсивні, інтереси не досить стійкі. Все це позначається на їхній діяльності. Застосування спеціальних педагогічних прийомів сприяє тому, що ці учні з більшим інтересом виконують завдання, стають уважнішими під час роботи, більше зусиль докладають для подолання труднощів, що виникають у процесі праці. Внаслідок цього і результати роботи стають значно кращими.
Вже говорилось про значення технічної творчості для підвищення продуктивності праці, а значить і для підвищення рівня добробуту членів суспільства. Технічна творчість у цьому аспекті має надзвичайно велике значення. Проте не менш важливе значення має вона і для всебічного розвитку підростаючого покоління. У процесі технічної творчості створюються умови для формування тих якостей характеру, що мають, вирішальне значення у становленні особистості.
Необхідною умовою розвитку технічної творчості дітей є формування в них таких психологічних та інтелектуальних якостей, які дають людині можливість швидко орієнтуватися в умовах сучасної техніки. У процесі творчої діяльності важливу роль відіграють і пізнавальні процеси, і потреби, і почуття, і вольові дії.
Пізнання починається з відчуття та сприйняття, розвиток яких дає можливість відображати предмети та явища реальної дійсності у всій їх повноті та точності. У процесі технічної творчої діяльності в учнів виробляється вміння акцентувати увагу на окремих якостях та властивостях матеріалів, сприймати конструктивні особливості деталей, вузлів та виробів у цілому.
Виконуючи окремі операції з монтажу, налагодження, випробування виробів в учнів виробляється вміння правильно оцінювати просторові відношення лінійних розмірів геометричних фігур та тіл, що є важливим компонентом технічної діяльності учнів.
Спостережливість - одна з основ творчої діяльності. Учні привчаються закріплювати результати спостережень у формі короткого запису, схеми, малюнка, що допомагає краще зосереджувати увагу, підвищує почуття відповідальності, привчає до точності та самоконтролю.
У процесі технічної творчості розвивається увага учнів, оскільки їм доводиться планувати технологічний процес, проектувати як окремі деталі так і вузли виробу, їх взаємодію під час складання та налагоджування. Планування та виготовлення виробів підвищеної складності потребують особливої концентрації уваги з боку учнів. Концентрована увага необхідна, наприклад, під час складання робочих креслень, розмічання, тощо. В інших випадках, навпаки, важливо вміти розподіляти увагу між кількома об'єктами, предметами та явищами (випробовування моделей, перевірка роботи складного приладу, де необхідно стежити одночасно як за роботою цілого виробу так і його частин). Виконання деяких робіт потребує систематичного переключення уваги, наприклад, під час випробування керованих моделей, градуювання приладів, виконання лабораторних робіт та ін.
Надзвичайно велике значення для технічної творчості має стійкість уваги. Важливо, щоби учень зміг зберегти концентрацію своєї уваги до кінця виконання роботи, не відволікаючись сторонніми враженнями. Отже, учні вчаться вмінню своєчасно концентрувати, розподіляти та переключати увагу, зберігаючи її сталість, тобто вчаться володіти нею.
У процесі творчої технічної діяльності можна створити спеціальну обстановку навчання, викликати інтерес та прагнення учнів удосконалювати свою діяльність. Позитивні емоціональні реакції морального або естетичного характеру благотворно впливають на хід та результати навчального процесу. В ході тривалих занять вони можуть перетворюватись на сталі почуття, риси особистості. У процесі технічної творчості створюються умови для формування вольових якостей учнів, оскільки останнім доводиться зустрічатись з новими незвичайними умовами праці, з великими труднощами в роботі, терпіти часті невдачі в процесі виготовлсння та налагодження виробів. Роботу, як правило, доводять до завершення лише ті учні, які мають достатню силу волі, вміють терпляче, наполегливо добиватися своєї мети, долати труднощі в роботі, не пасують перед невдачами.
Особливе місце й роль у творчості учнів належить технічному мисленню. Як вказує ряд дослідників воно спрямоване на пізнання технічних та технологічних явищ і процесів, на пізнання суттєвих зв'язків між ними. Для технічного мислення характерні такі якості, як гнучкість, оперативність, активність у розв'язанні ряду спеціальних питань. Людина з розвиненим технічним мисленням володіє системою узагальнених знань, навичок, розуміє технічні взаємозв'язки конструкцій, функції окремих деталей. Учні, котрим притаманний технічнй спосіб мисленням, можуть легко читати креслення, визначаючи при цьому кількість деталей, з яких складається виріб. Знаючи властивості оброблюваних матеріалів, вони вміють вибирати такі з них, які найбільше відповідають технічним умовам.
Під час обговорення конструктивного вирішення технічного об’єкту чи його складових, учні вчаться критично аналізувати процес і результати своєї праці, бачити позитивне й негативне. Так виховується вимогливість, принциповість, критичність та інші риси сучасної людини.
Творча технічна діяльність має неабияке значення для вироблення естетичних смаків школярів. Естетичний аспект творчості, як і будь-якої іншої діяльності, має безпосереднє відношення до її якості й ефективності. Естетика допомагає учням відчувати красу й досконалість виробу, пропорції основних його частин, гармонію форм і ліній, формує в учнів культуру трудових дій.
Розвивати естетику праці, формувати в учнів позитивне ставлення до процесу праці та її результату – це вимога часу, вимога соціального прогресу.
1.2 Завдання та основні форми організації позакласної роботи з технічної творчості
Головною метою позакласної та позашкільної роботи в усіх її формах є залучення учнів до активної участі у суспільно-корисній діяльності, стимулювання їх самостійності, ініціативи, розвиток індивідуальних інтересів, нахилів, здібностей.
Займаючись в технічних гуртках, учні навчаються конструювати, розробляти технологічні процеси, виготовляти різноманітні технічні об'єкти. Аналогічна робота, щоправда, проводиться й на уроках трудового навчання, однак тут учитель обмежений часом, змістом та обсягом навчальної програми. На заняттях гуртка створюються більш сприятливі умови для виявлення ініціативи учнів. Гуртковій роботі учень може приділити значно більше часу; тут створюються більш сприятливі умови для практичного застосування знань та умінь. Досвід показує, що учні, працюючи в гуртках, надзвичайно захоплені своєю діяльністю, не шкодуючи часу вони здатні приймати й матеріально втілювати оригінальні рішення. Свідченням цьому є виставки технічної творчості, котрі періодично організовують міські та районні загальноосвітні навчально-виховні заклади.
Працюючи в гуртках учні набувають певних теоретичних знань та практичних умінь. Безперечно, у більшості випадків, ці знання та вміння пов'язані з тими, котрі набувають учні в процесі вивчення шкільних навчальних дисциплін, зокрема на уроках трудового навчання, проте тут вони якісно доповнюють, поширюють та поглиблюють їх. В окремих випадках досягається безпосередня наступність між трудовим навчанням та позакласною роботою. Наприклад, під час занять технічних гуртків з столярної, слюсарної та швейної справи, з електромонтажних робіт і обробки матеріалів на верстатах учні закріплюють свої знання та вміння набуті на уроках трудового навчання. Буває і так, що зв'язок між трудовим навчанням та позакласною роботою відбувається більш опосередковано. Тобто знання отримані на уроках є лише відправним пунктом в освоєнні більш складних питань передбачених програмою гуртка. Наприклад, займаючись авіамоделізмом чи судномоделізмом, працюючи над створенням радіотехнічних пристроїв учні використовують свої знання з елементів машинознавства, електротехніки, обробки матеріалів (яких вони набули на уроках трудового навчання), як відправні, в освоєнні нових, більш специфічних.
Тому позакласну роботу не слід розглядати лише як продовження роботи започаткованої на уроках. Вона може виходити за межі освітніх предметів, передбачених навчальним планом школи. У зв'язку з цим створюються додаткові умови для розширення уявлень учнів про основи сучасного виробництва. У цьому аспекті, особливу увагу заслуговують виробничі екскурсії. Усі промислові підприємства, мають багато спільного в організації виробництва. Разом з тим вони можуть мати зовсім різне устаткування і технологію залежно від характеру продукції, ії кількості. Тому чим ширше учні ознайомлюються з роботою промислових підприємств, тим краще виконується завдання їх політехнічної освіти.
Позакласну роботу будують за принципами, до певної міри відмінними від принципів організації роботи в класі. До таких принципів належать добровільність, самодіяльність та колективність.
Участь у позакласній роботі не є обов'язковою. Тут займаються учні, які виявили бажання глибше вивчити той чи інший навчальний предмет, детальніше ознайомитися з певною галуззю народного господарства. Тому при визначенні змісту позакласної роботи велику увагу слід приділяти індивідуальним нахилам учнів. Тільки в такому випадку можна забезпечити результативність її функціонування , високу активну участь школярів.
Саме на врахуванні особистого інтересу учнів ґрунтується і другий принцип позакласної роботи - самодіяльність. Дуже часто учні приходять у гурток із своїми планами, намірами, самі пропонують об'єкт роботи, над яким хотіли б працювати. Звичайно, слід по можливості задовольняти бажання учнів, проте не варто забувати, що учні, особливо середнього шкільного віку, не завжди здатні об'єктивно оцінити свої можливості. Як свідчать результати педагогічних спостережень, світоглядні пізнання підлітків хоч і досить обширні, проте характер їх (змістова наповненість) є поверхневим. Часто школярі (не підозрюючи цього) готові братися за роботу, яка їм не під силу. Тому завдання вчителя (керівника гуртка) допомогти учням правильно дібрати об'єкт роботи, який відповідав би їх бажанням і водночас був посильним для практичного виконання.
Як правило, робота над проектуванням та виготовленням відносно складних технічних об’єктів (діючі моделі літаків, макети-копії суден, радіоелектронні автоматичні пристрої та ін.), викликає у школярів більшу захопленість та зацікавленість. Щоб зробити можливим виготовлення складних об'єктів у процесі гурткових занять, останні повинні грунтуватися на колективній діяльності учнів. Іншими словами, обсяг робіт, пов'язаний з виготовленням об'єкту підвищеного рівня складності, повинен бути доручений для виконання групі учнів відповідно до їх побажань та здібностей. Це сприятиме згуртуванню колективу, виховує почуття взаємоповаги, відповідальності за доручену справу.
Систематична та цілеспрямована робота з юними техніками в позаурочний час, розвиток їх внутрішніх творчих потенцій можливі лише при вдалому використанні та поєднанні відповідних форм організації цієї роботи. При цьому, обов’язково, слід враховувати специфіку кількісного та вікового складу учнів, стан матеріальної бази, кваліфікацію педагогічних кадрів тощо.
Розрізняють три основні форми організації позакласної роботи: масову, групову та індивідуальну.
До масової форми відносять такі заходи, які охоплюють значну кількість учнів. Це, насамперед, виставки, лекції і доповіді, виробничі екскурсії, тематичні вечори та ін.
Найхарактернішою ознакою групової форми організації позакласної роботи є гурток – добровільне об’єднання учнів, які проявляють підвищений інтерес до певного виду науково-практичної діяльності. Основу роботи такого об’єднання складає колективне вивчення питань проектування та конструювання технічних об’єктів, експериментування, раціоналізаторська діяльність. Гурток може бути поділеним на підгрупи (бригади), в яких учні працюють над вирішенням споріднених завдань. В окремих випадках виникає потреба самостійної роботи учнів (підготовка доповіді, реферату). Це і є індивідуальна форма організації позакласної роботи.
Безперечно, такий поділ форм організації позакласної роботи є дещо умовним, оскільки на практиці всі вони перебувають в тісному взаємозв’язку, взаємодоповнюють, підсилюють та збагачують цілісний процес навчально-виховної роботи школи.
Характеристика діяльності основних видів технічних гуртків.
Загальнотехнічні гуртки. Основним видом трудової діяльності учнів є виготовлення широкого спектру саморобок (починаючи від іграшок та нескладних моделей-прототипів технічних об’єктів до виробів чисто практичного призначення – совки, дитячі стільчики тощо). Об’єм теоретичних знань, отримуваний гуртківцями, здебільшого, обмежений відомостями необхідними для виконання практичних робіт. Основним конструкційним матеріалом, з яким доводиться працювати гуртківцям є деревина, листовий матеріал, дріт. Школярі виконують столярні та слюсарні роботи, користуючись ручними інструментами.
Гуртки технічного моделювання. Діяльність учнів в цих гуртках зводиться до побудови моделей відповідних технічних об’єктів (літаків, машин, кораблів), починаючи з виготовлення елементарних моделей згідно інструкції. Тут гуртківці отримуюють початкові уявлення про відповідні галузі техніки, фізичні основи роботи технічних пристроїв, конструкційні матеріали. Школярі набувають практичних умінь у виконанні розрахунково графічних, монтажно-налагоджувальних, регулювальних, оздоблювальних робіт, у вирішенні конструкторсько-технологічнмх завдань.
Конструкторсько-спеціалізовані гуртки (електро-, радіотехнічні, промислової автоматики). На заняттях, гуртківці отримують початкові знання з електроніки, радіотехніки, поглиблюють знання фізичних та технічних основ радіозв’язку, отримані під час вивчення шкільного курсу фізики, набувають певних практичних умінь розрахунку та монтажу електричних кіл, складання електро- і радіосхем, обробки конструкційних матеріалів. Гуртки по створенню діючих технічних пристроїв. Об’єм набутих тут старшокласниками теоретичних знань та практичних умінь сприяє успішному виконанню робіт, повязаних з побудовою функціонально діючих технічних об’єктів. Тому поряд з проектними, розрахунково-графічними та іншими видами конструкторських робіт, великої питомої ваги набувають технологічні, монтажно - складальні, налагоджувальні операції, експлуатаційні випробування. Учні знайомляться з основами дизайну в технічному конструюванні, вимогами ергономіки до технічних об’єктів та ін.
Навчально-технічні гуртки. Трудова дільність гуртківців спрямована на проектування технічних пристроїв які сприяють підвищенню ефективності та якості навчання – це, насамперед, тренажери, контролюючі прилади, екзаменатори та ін. Школярі набувають певних раціоналізаторських знань та умінь, досвіду удосконалення навчальних посібників.
Гуртки виробничих професій (слюсарів, токарів, фрезеровщиків). Основним видом діяльності гуртківців є вивчення виробничої техніки, оволодіння новаторськими прийомами обробки матеріалів, впровадження наукової організації праці на робочих місцях. Гуртківці детальнo ознайомлюються з широким колом вимірного та різального інструменту, особливостями конструкційних матеріалів, основами машинознавства, теорією різання матеріалів; набувають відповідних умінь та навичок, вчаться творчо їх використовувати,
Гуртки художньо-технічного конструювання. Для цих гуртків характерна єдність технічного і естетичного компоненту творчої діяльності учнів. Поряд з вивченням основ дизайну школярі набувають знань про властивості матеріалів, способи їх обробки та оздоблення.
Безумовно, наведена класифікація не претендує на повне охоплення всіх видів існуючих технічних гуртків. Однак, вона відображає основні напрямки у розвитку технічної творчості школярів, визначає зміст роботи окремих гуртків, сприяє максимальному узгодженню змісту цієї роботи з шкільною програмою трудового навчання.
У системі позакласних занять, в області техніки, значне місце відводиться масовим заходам, як ефективній формі впливу на широку аудиторію учнів з метою розвитку у них пізнавального інтересу до техніки, технічної творчості. Традиційними вже стали доповіді, повідомлення, вечори, зустрічі, на яких обговорюються питання використання техніки в умовах сьогодення, необхідність її розвитку та вдосконалення виробничих процесів; проблеми екології, відновлювальних та невідновлювальних джерел енергії тощо. Всі ці заходи, здебільшого, супроводжуються демонстрацією (виставкою) учнівських робіт з технічного конструювання, екскурсіями на виробничі підприємства.
Все це сприяє активному залученню широкого кола учнів до творчої технічної діяльності.
Можливість широкого вибору форм позакласної роботи з техніки дозволяє у різних умовах і різними засобами вирішувати багатоцільові та багатоаспектні навчально-виховні завдання.
Таким чином творчу технічну діяльність учнів слід розглядати не як самоціль, а як один із способів підвищення ефективності навчально-виховного процесу школи.
Головна роль в організації та проведенні позакласної роботи з техніки належить учителю трудового навчання. Успіх, у цій ділянці навчально-виховного процесу школи, великою мірою залежить від рівня його фахової підготовки, організаторських здібностей, вміння захопити учнів, дохідливо пояснити суть проблеми, навчити працювати з літературою, допомогти кожному визначити головний напрям роботи та ін
Розглянуті методичні прийоми і форми організації позакласної роботи, у своїй сукупності, сприяють активному залученню школярів до різних видів технічної творчості, створюють добрі передумови для надання їй суспільної значимості та виробничої скерованості.
Розділ 2. ОКРЕМІ АСПЕКТИ ОРГАНІЗАЦІЇ РОБОТИ ШКІЛЬНОГО РАДІОТЕХНІЧНОГО ГУРТКА
2.1 Місце розділу «Елементи цифрової техніки» в програмі радіотехнічного гуртка, та методичні рекомендації щодо його вивчення
З огляду на те, що цифрова обробка інформації практично вже стала основною складовою роботи пристроїв не лише електронної автоматики, але й усієї радіоелектронної апаратури, ця тема набуває особливого значення. Ознайомлення з основами роботи цифрових електронних пристроїв, з фізичною суттю процесів, що проходять при цьому, слід проводити в школі на уроках математики, фізики, інформатики, трудового навчання. Особливої уваги, в реалізації цього завдання, заслуговують шкільні технічні гуртки і, насамперед, гуртки радіоелектронного напрямку. Саме тут, на наш погляд, найбільш невимушено (нагадаємо, що гурток є добровільним об’єднанням учнів за інтересами) проходитиме засвоєння азів роботи цифрової техніки, набуття практичних умінь з конструювання цифрових електронних блоків.
Аналіз існуюючих програм технічних гуртків радіоелектронного напрямку показує, що усі вони, без винятку, передбачають вивчення вказаного розділу. Кількість годин – залежить, насамперед, від специфіки гуртка і становить 8-40% від загальної кількості. При цьому, співввідношення годин, відведених на теоретичні та практичні заняття становить 1 до 2. Це свідчить про відносну складність теми та неможливість її опанування без знання теоретичних основ функціонування цифрової техніки. Тому програми передбачають, насамперед, ознайомлення учнів з основами математичної логіки, двійковою системою числення, різновидами логічних операцій та їх технічною реалізацією, принципом роботи логічних елементів І, АБО, НЕ, їх електричними і часовими параметрами, навантажувальною здатністю тощо.
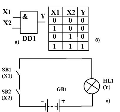
Рис. 1. Логічні елементи на комутаційних пристроях:
а, б – таблиця істинності елемента І; елемент І;
в, г – таблиця істинності елемента АБО; елемент АБО;
д, е – таблиця істинності елемента НЕ; елемент НЕ.
В процесі вивчення розділу, особливу увагу слід приділити логіці обробки інформації функціональними вузлами, практиці отримання синтезу електронних схем на основі законів алгебри логіки, набутті практичних умінь роботи з інтегральними схемами.
Наявність великого числа функціональних вузлів цифрової техніки, необхідність послідовного та глибокого вивчення принципу їх роботи вимагає від керівника гуртка не лише ретельного планування, а й визначення найбільш доцільних форм та метотів проведення гурткових занять.
Підвищити ефективність навчального процесу, надати йому більшої динамічності та колоритності можна за умови добре продуманої та організованої дослідно-експериментальної роботи гуртківців. Пояснення логічних операцій доцільно супроводжувати їх моделюванням на основі коммутаційних пристроїв (кнопок та вимикачів), ввімкнених у найпростіше электричне коло (рис.1).
Це необхідно, насамперед, для того, щоб учні краще зрозуміли зв'язок між математичним описом логічної послідовності і його електричним еквівалентом, засвоєли принцип побудови таблиці істинності.
В аналогічній послідовності слід будувати процес вивчення законів алгебри логіки. Тут доцільно подати спрощений алгоритм синтезу однотактних автоматів, вказати на потребу мінімізації їх структурної формули. Практичну частину заняття слід присвятити синтезу схем найпростіших автоматів та їх реалізації на комутаційних пристроях.
В ході вивчення елементів цифрової техніки, доцільно ознайомити гуртківців з історією виникнення цифрової електроніки, перспективах розвитку елементів цифрової електроніки, основних факторах, що стимулюють цей розвиток.
При вивченні кожної підгрупи цифрових ІС необхідно, після пояснення теоретичного матеріалу, проводити лабораторну роботу, спрямовану на закріплення отриманих знань та фронтальну практичну роботу з застосуванням ІС досліджуваних функціональних підгруп та видів.
При проведенні лабораторних та практичних робіт доцільно використовувати спеціальні модулі, призначені для імітації логічних рівнів вхідних сигналів та забезпечення візуального контролю за станом виходів цифрових ІС.
Модуль СЛР – статических логічних рівнів (рис.2), у початковому стані, має рівні логічного 0 на виходах XI, ХЗ, Х5, Х7 та рівні логічної 1 на виходах Х2, Х4, Х6, Х8. При замиканні контактів кнопок SВ1—SВ4 стани виходів змінюються на протилежні. При їх розмиканні - на виходах ХІ-Х8 відновлюються вихідні стани. У модулі використано малогабаритні кнопки типу КМТ-1.

Рис. 2

Рис. 3
Модуль ГОІ – генератор одиничного імпульсу (рис.3) – виробляє одиночний імпульс позитивної (вихід XI) або негативної (вихід Х2) полярності при одноразовому замиканні контактів кнопки SВ1. Про проходження імпульсу з виходу генератора сигналізує спалах світлодіода НL1. У модулі використано малогабаритну кнопку типу КМ-1 та світлодіод видимого спектру випромінювання.

Рис. 4
Модуль ГІ – генератор імпульсів (рис.4) – при замиканні контактів кнопки SB1 генерує електричні сигнали прямокутної форми. Частоту сигналу можна змінювати, у певних межах, резистором R1. Діапазон регулювання частоти можна також змінити, підключивши до клем ХТ1, ХТ2 додатковий конденсатор. При номіналах елементів, зазначених на схемі, частоту генератора можна змінювати в діапазоні 0,1 - 1Мгц. Індикація світлодіода НL1 свідчить про наявність імпульсів на виході генератора. У модулі використано малогабаритну кнопку типу КМТ-1 та світлодіод видимого спектру випромінювання.
Модуль І – індикації (рис.5) – призначений для забезпечення візуального контролю за станом входів та виходів цифрових ІС. Робота індикаторів НL1-НL8 свідчить про подачу на відповідні входи модуля рівнів логічної 1. У модулі використано світлодіоди видимого спектру випромінювання.
Зауважимо, що подані схеми модулів сумісні з цифровими інтегральними схемами ТТЛ (мікросхеми цієї серії виготовлені за, так званою, біполярною технологією; вони містять елементи, подібні на окремо виготовлені (дискретні) біполярні транзистори, діоди і резистори, причому діоди виготовляють на основі транзисторів – звідси й назва ТТЛ – транзисторно-транзисторна логіка). Аналогічні модулі доцільно виготовити і для роботи з ІС КМОН (ці мікросхеми будують за так званою МОН-технологією – метал-оксид-напівпровідник).

Рис. 5
Підвищений інтерес до цієї серії мікросхем викликаний у зв'язку з їх малою споживаною потужністю, що дозволяє виготовляти конструкції з автономним джерелом живлення.
В процесі вивчення розділу “Елементи цифрової техніки”, окрім виконання лабораторних робіт, програмою радіотехнічних гуртків передбачено практичне конструювання нескладних електронних блоків, що містять цифрові інтегральні схеми. Це сприятиме кращому засвоєнню теоретичного матеріалу, виробленню практичних умінь роботи з цифровими мікросхемами, розширенню загального політехнічного світогляду школярів.
2.2 Розробка лабораторних робіт до розділу «Елементи цифрової техніки»
Ефективність процесу вивчення розділу “Елементи цифрової техніки”, усвідомленого сприйняття та засвоєння учнями теоретичних основ функціонування сучасних електронних приладів залежить від багатьох як об’єктивних так і суб’єктивних чиннників, зокрема, організаційних форм та методів проведення занять, дидактичних підходів, прийомів тощо.
Чільне місце в цьому процесі відведено лабораторному практикуму.
Залучення учнів до виконання лабораторних робіт на заняттях шкільного радіотехнічного гуртка в ході вивчення розділу “Елементи цифрової техніки”, переслідує такі основні цілі:
- закріплення теоретичних знань з основ математичної логіки;
- вироблення вміння застосовувати їх у практичній діяльності (синтез електронних схем на логічних елементах);
- закріплення практичних умінь з радіотехнічного експерименту:
- розвиток творчих конструкторських здібностей;
- виховання культури праці.
Зміст кожної лабораторної роботи містить основні теоретичні відомості, які стосуються виконуваного експерименту, запитання для самоконтролю глибини і якості їх засвоєння. Лабораторні завдання не лише пов’язують елементи теорії з виконанням експерименту, а й являють собою основу для самоконтролю результатів, оскільки усі розрахункові вихідні дані моделюються експериментом.
ЛАБОРАТОРНА РОБОТА №1
Тема. Дослідження роботи логічних елементів
Мета роботи: ознайомитись з принципом роботи та основними характеристиками найпростіших логічних елементів.
Обладнання: монтажна плата, радіодеталі (згідно поданих схем), паяльник, монтажні проводи, авометр.
Теоретичні відомості
Сучасна цифрова інтегральна мікросхема — це мініатюрний електронний блок, що містить у своєму корпусі транзистори, діоди, резистори та інші активні і пасивні елементи,— загальне число яких може сягати декількох десятків і навіть сотень тисяч! В залежності від числа елементів, розрізняють мікросхеми малого ступеня інтеграції, мікросхеми середнього ступеня інтеграції, великі інтегральні мікросхеми і надвеликі інтегральні мікросхеми. Мікросхеми малого ступеня інтеграції можуть містити 10 — 30, а надвеликі - 100 і більше тисяч як активных так і пасивних елементів.
Досліди, експерименти, про які піде мова на лабораторному практикумі, розраховані на використання мікросхем серії К155. Мікросхеми саме цієї серії є найбільш використовуваними в радіоаматорських конструкціях: генераторах, ігрових автоматах, вимірювальних приладах тощо.
До серії К155 входять більш 80 мікросхем різного ступеня інтеграції і функціонального призначення. Основою багатьох з них служать логічні елементи — електронні блоки, що реалізують найпростіші функції алгебри логіки.
Логічних елементів, що працюють як самостійні цифрові мікросхеми малого ступеня інтеграції і як компоненти мікросхем більш високого ступеня інтеграції, можна нарахувати кілька десятків. Їх основу становлять елементи І, АБО, НЕ, І-НЕ. Елементи І, АБО, НЕ — основні, а елемент І-НЕ є комбінацією елементів І та НЕ.

Що ж являють собою ці «цеглинки» цифрової техніки, яка логіка їх дії? Відразу уточнимо: в основу роботи логічних елементів (та й цифрових мікросхем взагалі), покладено двійкову систему числення, яка базується на двох цифрах - одиниці (1) та нулі (0). Звідси й узагальнена назва розглянутих логічних елементів мікросхем та створюваних на їх базі приладів — цифрові. Ці дві цифри двійкової системи числення дозволяють записувати і «запам'ятовувати» практично будь-які числа. Наприклад, десяткове число 24, в двійковій системі числення, записується як 11000. Щоб отримати цей результат (перетворити число десяткової системи числення, в число будь-якої іншої системи) необхідно скористатись правилом ділення десяткового числа на основу тієї системи числення в яку треба перетворити дане число (тобто на 2, коли мова йде про двійкову систему числення). Остача від ділення на два може бути рівною 0 або 1. Значення остачі присвоюють молодшому розряду шуканого двійкового числа. Результат першого ділення знову ділять на два. Остачу (0 або 1) присвоюють наступному розряду двійкового числа. Подібну процедуру повторюють доти, поки результат ділення не дорівнюватиме нулю. Остача від останньої дії є значенням старшого розряду двійкового числа.
Особливо зручною дана система числення виявилася для програмування і роботи ЕОМ.
Відповідно до прийнятої системи числення електричний сигнал невеликого (чи нульового) рівня напруги, що складає десяті долі вольта, вважають логічним 0, а сигнал більш високого рівня напруги (у порівнянні з логічним 0 може сягати декількох вольт) - логічної 1. Наприклад, говорять: «на вхід елемента (чи мікросхеми) подано сигнал логічної 1». Це значить, що на вхід елемента (чи мікросхеми) подано електричний сигнал напруга якого сягає декілька вольт.

Рис. 6
Отже, рівнями (величинами електричних сигналів) на вході та виході логічних елементів, вираженими цифрами двійкової системи числення, характеризують електричний стан і роботу усіх цифрових мікросхем.
Графічне зображення логічного елемента І подано на рис.6а. Його умовним графічним символом є знак “&” (так в англ. мові позначають сполучник “і”), який ставлять усередині прямокутника. Ліворуч — два (може бути і більше) логічних входи – Х1 та Х2, праворуч — вихід Y. Логіка дії елемента така: сигнал логічної 1, з'явиться на виході лише тоді, коли сигнали такого ж рівня будуть подані на всі його входи.
Зрозуміти цей процес допоможе електричний аналог елемента (рис. 6в), зібраний з послідовно з'єднаних джерела живлення GВ1, вимикачів SВ1, SВ2 та лампи розжарення НL1. Вимикачі імітують наявність (присутність) електричного сигналу на вході аналога, а лампа - індикує рівень сигналу на виході. Розімкнутий стан контактів вимикачів відповідає сигналу логічного О, замкнутий - логічної 1. Доки контакти вимикачів не замкнуті (на обох входах логічний 0), електричне коло аналога розімкнуте, лампа не світиться. Неважко здогадатись: лампа засвітиться лише тоді, коли контакти кнопок SВ1 та SВ2 будуть замкнутими. У цьому і полягає логічний зв'язок між вхідними і вихідними сигналами елемента.
Про стан і логічний зв'язок між вхідними та вихідними сигналами в елементі І свідчить так звана таблиця істинності (рис. 6б.).

Рис. 7
Умовним символом наступного логічного елемента - АБО є цифра 1, розміщена усередині прямокутника (рис.7а.).
Даний елемент, як і попередній, може мати два і більше входи. Сигнал логічної 1 на виході Y, появиться лише при подачі такого ж сигналу на вхід Х1, або на вхід Х2, або ж одночасно на обидва входи. Щоб переконатися в такій логіці дії елемента АБО, слід провести дослід з його електричним аналогом (рис. 7в.). Лампа НL1 засвічуватиметься тоді, коли будуть замкнуті контакти кнопки SВ1, або SВ2.
На основі цих спостережень можна побудувати таблицю істинності для логічного елемента АБО (рис. 7б.)

Рис. 8
Умовним символом логічного елемента НЕ є також цифра 1 розміщена у лівому верхньому куті прямокутника (рис.8а). Але в нього, на відміну від попередніх, лише один вхід і стільки ж виходів. Невеликий кружечок, яким починається лінія зв'язку вихідного сигналу, символізує логічне заперечення «не» на виході елемента. Мовою цифрової техніки «не» означає, що даний елемент є інвертором - електронним пристроєм, вихідний сигнал якого протилежний вхідному. Інакше кажучи, поки на його вході діє сигнал логічного О, на виході присутній сигнал логічної 1 і, навпаки.
Електричний аналог елемента НЕ можна зібрати за схемою, поданою на рис. 8в. Електромагнітне реле К1, повинно мати групу нормально замкнутих контактів. Поки контакти кнопки SВ1 розімкнуті, обмотка реле знеструмлена і його контакти залишаються замкнутими; лампа НL1 – світить. При замиканні контактів SB1 (імітація появи вхідного сигналу), реле спрацьовує. Його контакти, розмикають коло живлення лампи. Погасла лампа символізує появу логічного 0 на виході Y.
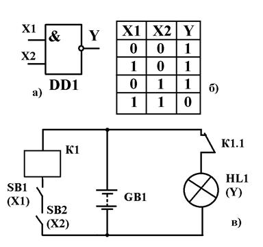
Здебільшого, логічні елементи являють собою комбінацію схем І, АБО, НЕ. Так, наприклад, логічний елемент І-НЕ є комбінацією елементів І та НЕ. На його графічному зображенні (рис.8.1а) є знак «&», а на лінії вихідного сигналу - невеликий кружечок, що символізує логічне заперечення. Ці елементи, в основному, мають один вихід та два (може бути й більше) входів.

Рис. 8.1
Зрозуміти принцип дії такого логічного елемента допоможе його електричний аналог (рис. 8.1в.).
Послідовно з обмоткою реле включено два вимикачі SВ1 та SВ2, контакти яких імітують стан вхідних сигналів.
Коли контакти кнопок розімкнуті (лампа світиться), то на виході присутній сигнал логічної 1. Замкніть контакти одного з вимикачів у вхідному колі. Як на це зреагує індикаторна лампа? Вона продовжує світитись.
А якщо замкнути контакти обох вимикачів? У цьому випадку електричне коло, утворене батареєю живлення, обмоткою реле та контактами вимикачів буде замкнутим, реле спрацює, і своїми контактами розімкне коло живлення лампи. Таким чином, при наявності логічної 1 на обох входах, на виході буде сигнал логічного 0.
Логічний елемент І-НЕ має ще одну істотну властивість:
якщо його входи з'єднати разом і подати на них сигнал логічної 1, на виході елемента буде сигнал логічного 0. І навпаки, при подачі на об'єднаний вхід сигналу логічного О на виході елемента буде сигнал логічної 1. У цьому випадку елемент І-НЕ стає інвертором, тобто виконує функцію логічного елемента НЕ.
Промислові інтегральні мікросхеми того чи іншого призначення будують, в основному, на базі логічних елементів І-НЕ або АБО-НЕ. На основі таких елементів можна будувати схеми, які реалізують практично будь-які логічні функції.
Завдання
1. На макетній платі змонтуйте електронну схему подану на рис.9.
Виводи 7 та 14 мікросхеми підключіть відповідно до мінусової та плюсової шини джерела живлення.
2. Переконавшись в правильності монтажу та надійності з’єднань, подайте на схему живлення.
3. Виміряйте напругу на першому, другому та третьому виводах мікросхеми. Запишіть результати вимірювань.
4. Від’єднайте резистори R1 та R2 від виводів мікросхеми; виміряйте напругу на її входах та виході. Запишіть результати вимірювань.
5. До входів 1 і 2 мікросхеми знову під’єднайте резистори і, почергово вмикаючи та розмикаючи вимикачі SA1, SA2, виміряйте величину напруги на виводах мікросхеми. Запишіть результати вимірювань.

Рис. 9
Контрольні запитання
1. Чому в обчислювальній техніці застосовують двійкову систему числення?
2. Які існують логічні схеми?
3. В чому полягає відмінність логічних схем І, АБО, НЕ одна від одної? Поясніть їх принцип роботи.
4. Охарактеризуйте особливості роботи логічних елементів мікросхеми К155ЛА3.
Література
1. Паскалев Ж. Первые шаги в вычислительной технике. – М.: Радио и связь, 1987.
2. Партин А.С., Борисов В.Г. Введение в цифровую технику. – М.: Радио и связь, 1987.
3. Гайдучок Г.М., Ткачук Р.З. Юному радіоаматору. – К.: Радянська школа, 1980.
ЛАБОРАТОРНА РОБОТА №2
Тема. Дослідження роботи RS-тригера
Мета роботи: вивчити принцип дії та дослідити характеристику RS-тригера; ознайомитись з сферою його використання; набути практичних умінь роботи з цифровими інтегральними схемами.
Обладнання: монтажна плата, радіодеталі (згідно поданої схеми), електронний вольтметр типу ВК7-9Б, паяльник, монтажні проводи.
Теоретичні відомості
Тригер - це логічний електронний пристрій, який може перебувати в одному з двох стійких станів – одиничному або нульовому. Перехід від одного стану до іншого здійснюється внаслідок подачі електричних сигналів на строго визначені входи. При відсутності цих сигналів тригер зберігає свій вихідний (початковий) стан.
У загальному вигляді, тригер можна розглядати як пристрій, що має декілька керуючих входів та два виходи. В серії тригерів RS-тригери - найпростіші. Щоправда промисловість не випускає їх в окремому інтегральному виконанні, тому, зазвичай, їх складають з логічних елементів, наприклад, 2І-НЕ. Схему такого тригера подано на рис.10а.
Він утворений двома елементами 2І-НЕ з перехресними зворотніми зв’язками між входами та виходами. У RS-тригера є два незалежних входи та стільки ж виходів. Перший вхід - вивід 1 елемента DD1.1, другий - вивід 5 елемента DD1.2; виходи - відповідно виводи 3 та 6.Щоб краще зрозуміти та засвоєти принцип роботи RS-тригера, доцільно змоделювати подану схему тригера на монтажній платі. Звіривши монтаж дослідного тригера із його схемою і переконавшись у відсутності помилок та надійності паяних з’єднань, подайте живлення. Відразу ж повинен спалахнути один з світлодіодів. Припустимо, що це буде НL1. Значить, першим одиничний стан прийняв елемент DD1.1. Про це засвідчать і покази вольтметра, підключеного до його виходу (вив.3) — тут повинен бути рівень логічної 1; принагідно виміряйте напругу на виході другого елемента (вив.6) — тут буде рівень логічного О.
Рис. 10
Записавши результати вимірiв, короткочасно замкніть контакти кнопки SВ1. Що змінилося? Нічого. Як і раніше горить тільки світлодіод НL1. А тепер замкніть контакти кнопки SВ2. Відразу ж світлодіод НL1 згасне, натомість спалахне світлодіод НL2. Елемент DD1.1 перейде в нульовий стан, а DD1.2 — в одиничний. У такому стані елементи можуть знаходитися досить тривалий час (доки не вимкнуть живлення). Але варто натиснути кнопку SВ1, як елементи одразу ж переключаться в протилежний стан.
Проаналізуємо роботу досліджуваного тригера. Відомо, що непідключення вхідного виводу елемента 2І-НЕ рівнозначне подачі на нього рівня логічної 1. Цей рівень на виводі 5 був, очевидно, дещо вищим аніж на виводі 1. Тому при включенні живлення на виході елемента DD1.2 відразу ж з'явився рівень логічного О. Це спричинило встановлення елемента DD1.1 в одиничний стан. При цьому рівень, що з'явився на виході цього елемента (логічна 1), одразу ж подано на другий вхід елемента DD1.2 (вив. 4). Це утримує його в одиничному стані. Імітація подачі імпульсу негативної полярності на вхідний вивід 1 елемента DD1.1 (кнопкою SВ1) не зможе змінити його стану, оскільки в цей час на другому його вхідному виводі 2 присутній рівень логічного 0.
Коли ж натиснути кнопку SВ2, то на вхід елемента DD1.2 (вив. 5) буде подано імпульс негативної полярності. Переключаючись в одиничний стан, цей елемент рівнем логічної 1, що присутня на його виході (вив. 6), переключить елемент DD1.1 у нульовий стан. При цьому на другому вході елемента DD1.2 (вив.4) появиться рівень логічного 0, який підтримує елемент в одиничному стані.
Так, по черзі натискуючи кнопки вхідних кіл, можна переключати тригер з одного стійкого стану в інший і тим самим керувати пристроями цифрової техніки, підключеними до його виходів.
Стан RS-тригера характеризують рівні сигналу на його так званому прямому виході. Цей вихід позначають буквою Q (вив.3). Якщо на даному виході присутній рівень логічної 1, то вважають, що тригер знаходиться в одиничному стані, а якщо присутній рівень логічного 0 — у нульовому.
При одиничному стані тригера на його другому виході (вив.6) буде рівень логічного 0 і, навпаки. Тому цей вихід позначають такою ж буквою Ō (риска поверх букви вказує на те що сигнал інвертований).
Вхід, через який тригер встановлюють в одиничний стан (вив.1), позначають буквою S (початкова буква англійського слова Sеt - встановлення). Вхід, через який тригер переключають у нульовий стан (вив.5), позначають буквою R (початкова буква англійського слова Reset - повернення).
Стан тригера, залежно від рівня сигналів на його входах, ілюструє таблиця, подана на рис.10б. Якщо на обидва входи тригера подати рівні логічного 0 (натиснувши одночасно обидві кнопки), на обох його виходах буде рівень логічної 1. Такий стан тригера суперечить логіці його дії, тому подібне поєднання сигналів слід вважати недопустимим.
Присутність на обидвох входах одночасно рівня логічної одиниці не змінює стану трігера (на це вказують хрестики в таблиці). Щоб перевірити на практиці останнє твердження, під’єднайте виводи 1 і 5 мікросхеми (через резистор опором 1 кОм) до плюсової шини джерела живлення; при цьому контакти кнопок SB1 та SB2 повинні бути розімкнутими.
RS-тригери найбільш широко використовують як комірки зберігання цифрової інформації, тобто як елемент памяті електронного приладу.
Завдання
1. Ознайомтесь з теоретичними відомостями.
2. Використовуючи макетну плату, складіть схему RS-тригера подану на рис. 10а.
3. Пересвідчившись в правильності монтажу та надійності з’єднань, подайте на схему живлення.
4. Дотримуючись послідовності (описаної в теоретичних відомостях) дослідіть роботу тригера. Запишіть результати дослідження.
5. Співставте результати. Зробіть висновки.
Контрольні запитання
1. Що означають літери R,S,Q на схематичному позначенні тригера?
2. Які керуючі сигнали слід подавати на входи логічних схем?
3. Що таке тригер? Яке його функціональне призначення?
4. Охарактеризуйте принцип роботи RS-тригера.
Література
1. Гончаренко С.У., Хаїмзон І.І. Учням про цифрову електроніку. – К.Радянська школа, 1991.
2. Паскалев Ж. Первые шаги в вычислительной технике. – М.: Радио и связь, 1987.
3. Партин А.С., Борисов В.Г. Введение в цифровую технику. – М.: Радио и связь, 1987.
4. Гайдучок Г.М., Ткачук Р.З. Юному радіоаматору. – К.: Радянська школа, 1980.
ЛАБОРАТОРНА РОБОТА №3
Тема. Дослідження роботи тригерів з розширеною логікою
Мета роботи: ознайомитись з основними характеристиками D- та JK-тригерів, сферою їх використання, принципом дії; набути практичних умінь роботи з цифровими інтегральними схемами.
Обладнання: монтажна плата, радіодеталі (згідно поданої схеми), електронний вольтметр типу ВК7-9Б, паяльник, монтажні проводи, генератор прямокутних імпульсів, осцилограф.
Теоретичні відомості
Відомо, що RS-тригер переключається в протилежний стан відразу ж після зміни рівнів сигналу на його вході. Такі тригери називають асинхронними з установлювальними входами або звичайними тригерами. Однак у пристроях цифрової техніки частіше використовують синхронні тригери керовані тактовими імпульсами. Найбільш поширеними серед них є D-тригери та JK-тригери.

Рис. 11
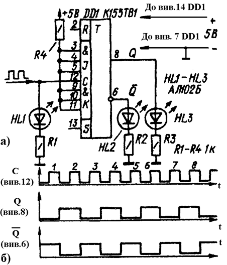
D-тригер (в серії К155 найбільшою популярністю користуються D-тригери мікросхеми К155ТМ2) має чотири логічних входи та два виходи – прямий і інверсний (рис. 11).
Вхід D – вхід прийому цифрової інформації, С – вхід тактових імпульсів синхронізації, джерелом яких, здебільшого, є генератор прямокутних імпульсів. Входи R і S D-тригера виконують аналогічну функцію, що і відповідні входи RS-тригера: при подачі рівня логічного 0 на вхід R тригер приймає нульовий стан, на вхід S – одиничний.
По входах D і С він може функціонувати як комірка пам'яті прийнятої інформації або ж як лічильний, тобто тригер з лічильним входом.

Рис. 12
Для кращого засвоєння та осмислення логіки дії D-тригера пропонуємо провести декілька дослідів.
Виконайте монтаж мікросхеми К155ТМ2 на макетній платі, з'єднайте вивід 14 із плюсовою, а вивід 7 - з мінусовою шиною джерела живлення (рис.12а). До виводів прямого й інверсного виходів тригера (вив.5 та 6) під’єднайте світлодіодні індикатори (вони допоможуть визначити стан тригера). Аналогічний індикатор під’єднайте і до вив.3 (він буде індикувати наявність та тривалість тактових імпульсів синхронізації). На платі змонтуйте також кнопковий вимикач SВ1 та резистор R4, але до входу D цей ланцюжок поки що не під’єднуйте.
Подайте на схему живлення. Відразу ж повинен спалахнути один з вихідних індикаторів. Якщо це буде світлодіод НLЗ, то це означає, що тригер прийняв одиничний стан, а якщо НL2 - нульовий. Тепер почергово декілька разів замкніть виводи 1 і 4 (R i S) на мінусову шину джерела живлення. Ви будете мати змогу пересвідчитись, що по цих входах D-тригер працює так як і RS- тригер.
Під’єднайте до вив.2 (інформаційний вхід мікросхеми) резистор R4 та вимикач SВ1. Занотуйте початковий стан тригера, а потім декілька разів підряд натисніть кнопку. Як реагує тригер? Ніяк - продовжує горіти той же індикатор.
Короткочасним з'єднанням входу R або S з мінусовою шиною джерела живлення переключіть тригер в інший стійкий стан і знову декілька разів натисніть кнопку SВ1. І тепер, як бачите, тригер не реагує на вхідні сигнали. Чому? Тому що на вхід С не надходять синхронізуючі імпульси (вони повинні бути позитивної полярності).
Для дослідної перевірки D-тригера джерелом синхронізуючих імпульсів може бути генератор прямокутних імпульсів. Підє’днайте його вихід з виводом 3 (вхід С) тригера, та встановіть найбільшу тривалість (тобто найменшу, близько 1Гц, частоту) генерованих імпульсів і, ввімкнувши живлення, стежте за станом індикаторів. Якщо тригер знаходився в нульовому стані, а контакти кнопки SВ1 були розімкнуті, то по фронту першого ж імпульсу на вході С (вив.3) тригер повинен переключитися в одиничний стан і не реагувати на наступні тактові імпульси. Але варто замкнути контакти кнопки SB1, щоб подати на інформаційний вхід рівень логічного 0, і тригер по фронту чергового тактового імпульсу відразу переключиться в протилежний стан. Тривалість рівнів сигналів на інформаційному вході D повинна бути значно більшою за тривалість імпульсів на вході С.
Роботу тригера в такому режимі проілюстровано на графіку (рис.12б.).
Приймемо, що на початку досліду, коли контакти кнопки були незамкнутими, сигнал на вході D відповідав рівню логічної 1, тригер знаходився в нульовому стані (на виході Q - логічний 0, на виході Ō — логічна 1). Перший же імпульс на вході C своїм фронтом переключить тригер в одиничний стан (момент t1 ). На спад цього імпульсу та й на наступні тригер не реагує зберігаючи тим самим прийнятий стан.
У результаті замикання контактів кнопки SB1, третій тактовий імпульс своїм фронтом (момент t2 ) переключить тригер у нульовий стан, який зберігається до приходу шостого імпульсу (до моменту коли кнопку SB1 відпустили і на вході D встановився рівень логічної 1). Дальше, при зміні рівнів вхідного сигналу, тригер переключився в нульовий стан по фронту сьомого тактового імпульсу, а по фронті восьмого — в одиничний.
З цього дослідження можна зробити висновки, які характеризують логіку роботи D-тригера в режимі прийому інформації:
- якщо на вході D - логічна 1, тригер встановлюється по фронту першого тактового імпульсу на вході С в одиничний стан, а якщо на вході D - логічний 0, то в нульовий стан;
- на спади синхронізуючих імпульсів D-тригер не реагує;
- кожна зміна стану тригера означає запис в його пам’ять прийнятої інформації, яка може зберігатись або ж бути передана іншим логічним пристроям цифрової техніки.
Наступний дослід – дослідження D-тригера в режимі обліку, тобто як тригера з лічильним входом. Для цього від входу D (вив.2) потрібно від’єднати резистор та вимикач і цей вхід з’єднати з інверсним виходом Ō (рис.13). Тепер інформаційним входом тригера буде вхід С, на який слід подати серію імпульсів.

Рис. 13
Як тепер поводиться тригер? По фронту першого ж вхідного імпульсу він приймає одиничний стан, по фронту другого імпульсу - нульовий, по фронту третього - знову одиничний і т. д. Отже, у такому режимі роботи тригер по фронту кожного вхідного імпульсу змінює свій логічний стан на протилежний. У результаті, частота імпульсів на кожному з виходів тригера виявляється вдвічі меншою від частоти вхідних імпульсів.
Висновок напрошується сам собою: у такому режимі D-тригер ділить частоту вхідного сигналу на 2, тобто виконує функцію двійкового лічильника. J K – тригер

Рис. 14
Серед мікросхем серії К155 JK-тригером є мікросхема К155ТВ1 (рис. 14). У цієї мікросхеми дев'ять входів, та два виходи - прямий й інверсний. По входах R і S цей тригер працює як RS-тригер. Входи J і K - управляючі, причому кожен з них має по три входи (виводи 3-5 та 9-11), об'єднані за схемою логічного елемента 3І ( про це свідчать знаки «&» проставлені біля цих виводів). Вхід С за своїм функціональним призначенням тотожний аналогічному входу D-тригера. У режимі прийому та зберігання інформації він служить входом тактових імпульсів; у режимі обліку - інформаційним входом.

Рис. 15
Дослідну перевірку роботи JK-тригера також доцільно проводити на макетній платі.
Послідовність виконання дій наступна:
- мікросхему підключіть до відповідних шин джерела живлення, а до входу С (вив.12) та прямого й інверсного виходу (вив.8 та 6) підключіть світлодіодні індикатори (рис.15а);
- подайте живлення; зразу ж повинен спалахнути один з вихідних індикаторів (HL2 або HL3);
- замкніть короткочасно, на загальну шину вивід 2, потім вивід 3, дальше знову вивід 2 і т.д.; при цьому вихідні індикатори повинні почергово засвічуватись та гаснути (таким чином можна перевірите працездатність мікросхеми взагалі і JK-тригера зокрема);
Дослідіть тригер у режимі обліку вхідних імпульсів. Для цього об'єднайте виводи усіх входів J і К і через резистор R4 з'єднайте їх із плюсовою шиною джерела живлення, щоби подати на них напругу, яка відповідає рівню логічної 1. На вхід С подайте від генератора серію імпульсів і за часом засвічування та тривалістю горіння індикаторів побудуйте графіки роботи тригера в такому режимі. Вони повинні вийти такими ж, як і на рис.15б. Неважко завважити, що ці графіки дуже нагадують графіки роботи D-тригера включеного в режимі обліку (див. попередні дослідж.), тільки зміщені вправо на тривалість одного імпульсу. Це зміщення пояснюється тим, що D-тригер змінює свій стан на протилежний по фронту, а JK-тригер по спаду вхідного імпульсу. Кінцевий же результат однаковий - тригер ділить частоту вхідних імпульсів на 2.
Завдання
1. Ознайомтесь з теоретичними відомостями.
2. Використовуючи макетну плату, складіть схему D-тригера зображену на рис.13.
3. Пересвідчившись в правильності монтажу та надійності з’єднань, подайте на схему живлення.
4. Дотримуючись послідовності (описаної в теоретичних відомостях) дослідіть роботу тригера. Запишіть результати дослідження.
5. Для дослідження JK-тригера (дослідна схема подана на рис.15), виконайте пункти 1 - 4. Запишіть результати дослідження.
6. Співставте результати. Зробіть висновки.
Контрольні запитання
1. В чому полягає суть процесу поділу частоти тригером?
2. В чому полягає відмінність тригерів RS-, D- та JK-типів?
3. Яке призначення інформаційного входу D-тригера? Як він позначається на схемі?
4. Чому тривалість імпульсів на інформаційному вході D-тригера повинна бути більшою за тривалість імпульсів на вході С?
Література
1. Гончаренко С.У., Хаїмзон І.І. Учням про цифрову електроніку. – К.Радянська школа, 1991.
2. Паскалев Ж. Первые шаги в вычислительной технике. – М.: Радио и связь, 1987.
3. Партин А.С., Борисов В.Г. Введение в цифровую технику. – М.: Радио и связь, 1987.
4. Гайдучок Г.М., Ткачук Р.З. Юному радіоаматору. – К.: Радянська школа, 1980.
ЛАБОРАТОРНА РОБОТА №4
Тема. Дослідження роботи лічильників імпульсів
Мета роботи: ознайомитись з принципом роботи та схемотехнікою цифрових лічильників імпульсів, їх основними характеристиками та сферою використання; набути практичних умінь роботи з цифровими інтегральними схемами.
Обладнання: монтажна плата, радіодеталі (згідно поданої схеми), паяльник, монтажні проводи, генератор прямокутних імпульсів, осцилограф.
Теоретичні відомості
Лічильники імпульсів - невід'ємні вузли мікрокалькуляторів, електронних годинників, таймерів, частотомірів та інших пристроїв цифрової техніки. Вони призначені для підрахунку кількості імпульсів; перетворення послідовності імпульсів в паралельний двійковий код; ділення частоти вхідного імпульсного сигналу. Основу їх складають тригери з лічильним входом. За функціональним призначенням та логікою дії лічильники імпульсів поділяють на чотири основні групи: прямої лічби (підсумовуючі), зворотної лічби (віднімаючі), реверсивні (підсумовуючі та віднімаючі), подільники частоти.
Найпростішими однорозрядними лічильниками імпульсів є JK- та D-тригери, які працюють в режимі обліку. Вони рахують вхідні імпульси по модулю 2 (кожен імпульс переключає тригер у протилежний стан). Один такий тригер рахує до одного, два послідовно з’єднаних – до трьох, n тригерів – до 2n – 1 імпульсів. Результат обліку формується в заданому коді, який може зберігатися в пам’яті лічильника або ж бути переданий іншим пристроям цифрової техніки.
На рис.16 зображено схему трирозрядного двійкового лічильника імпульсів. Для кращого засвоєння принципу роботи такого лічильника змоделюйте його на макетній панелі; підключіть до прямих виходів тригерів світлодіодні індикатори (як це робили на попередніх практикумах). Від генератора, подайте на вхід лічильника серію імпульсів частотою 1...2 Гц і, за світловими сигналами індикаторів, побудуйте графіки роботи лічильника.

Рис. 16
Якщо в початковий момент усі тригери лічильника знаходилися в нульовому стані (його встановлюють вимикачем SВ1, подаючи на R-входи тригерів рівень логічного 0), то по спаду першого імпульсу (графік б на рис.16) тригер DD1 переключиться в одиничний стан — на його прямому виході з'явиться рівень логічної 1 (графік в, рис.16). Наступний імпульс переключить тригер DD1 у нульовий стан, а тригер DD2 — в одиничний (графік г, рис.16). По спаду третього імпульсу тригери DD1 та DD2 будуть перебувати в одиничному стані, а DD3 - ще буде знаходитись у нульовому. Четвертий імпульс переключить перші два тригери в нульовий стан, а третій в одиничний. Восьмий імпульс переключить усі тригери в нульовий стан; почнеться наступний цикл роботи лічильника імпульсів.
Вивчаючи графіки, неважко завважити, що кожен старший розряд лічильника відрізняється від молодшого подвоєним числом обліку. Так, період імпульсів на виході першого тригера у 2 рази більший періоду вхідних імпульсів, на виході другого тригера - у 4 рази, на виході третього тригера — у 8 раз. Іншими словами, такий лічильник працює у цифровому коді 1-2-4.
У пристроях цифрової техніки найбільш поширинеми є чотирирозрядні лічильники імпульсів, що працюють у цифровому коді 1-2-4-8.

Рис. 17
Лічильники-подільники рахують вхідні імпульси до певного моменту (він заданий коефіцієнтом числення), після чого формують сигнал, який опрокидує тригери в нульовий стан - починається новий цикл лічби.
На рис. 17 зображено схему та графіки роботи дільника з коефіцієнтом числення 5. Тут, уже відомий, трирозрядний лічильник доповнено логічним елементом 2І-НЕ (DD4.1), який і визначає зазначений коефіцієнт обліку.
Суть роботи лічильника полягає в наступному. При перших чотирьох вхідних імпульсах (після установки тригерів у нульовий стан) пристрій працює як звичайний двійковий лічильник імпульсів. При цьому на одному або обидвох входах елемента DD4.1 діє рівень логічного 0, тому цей елемент перебуває в одиничному стані. По спаду п'ятого імпульсу на виходах першого і третього тригерів появляться рівні логічної одиниці (вони одночасно появляться і на входах елемента DD4.1), які спричинять появу логічного нуля на виході DD4.1. При цьому, формується короткий імпульс негативної полярності, що переключає тригери у вихідний нульовий стан. З цього моменту починається наступний цикл роботи лічильника.
Перевірте роботу такого лічильника-подільника, змоделювавши його на макетній платі.
На практиці, функції лічильників та подільників виконують спеціально розроблені мікросхеми підвищеного ступеня інтеграції. У серії К155, наприклад, це лічильники типу К155ИЕ1, К155ИЕ2, К155ИЕ4 та інші.
Завдання
1. Ознайомтесь з теоретичними відомостями.
2. Використовуючи макетну плату, зберіть схему трирозрядного лічильника імпульсів подану на рис. 16.
3. Пересвідчившись в правильності монтажу та надійності з’єднань, подайте на схему живлення.
4. Дотримуючись послідовності (описаної в теоретичних відомостях) дослідіть його роботу. Накресліть часові діаграми роботи лічильника.
5. Для дослідження лічильника-подільника (дослідну схему зображено на рис. 17), виконайте пункти 1 - 4. Запишіть результати дослідження.
6. Співставте результати. Зробіть висновки.
Контрольні запитання
1. В чому полягає суть процесу поділу частоти?
2. Охарактеризуйте принцип роботи лічильника-подільника.
3. Яке призначення виконує логічний елемент 2І-НЕ в лічильниках-подільниках?
Література
1. Гончаренко С.У., Хаїмзон І.І. Учням про цифрову електроніку. – К.Радянська школа, 1991.
2. Паскалев Ж. Первые шаги в вычислительной технике. – М.: Радио и связь, 1987.
3. Партин А.С., Борисов В.Г. Введение в цифровую технику. – М.: Радио и связь, 1987.
4. Гайдучок Г.М., Ткачук Р.З. Юному радіоаматору. – К.: Радянська школа, 1980.
2.3 Відбір об’єктів конструювання
Творча технічна діяльність являє собою комплексну пізнавально-перетворюючу діяльність, яка складається із множини взаємозв’язаних компонентів, таких, як теоретичні дослідження, експерименти, вирішення технічних завдань, побудова технічних об’єктів, їх випробування. Завдяки цій діяльності учні набувають поглиблених знань про навколишній світ, переконуються в правильності власних міркувань, які в процесі технічної діяльності підтверджуються або ж спростовуються, набувають важливих практичних умінь та навичок.
Одним з головних чинників підвищення ефективності занять радіотехнічних гуртків є практична робота з конструювання технічних об’єктів. Тому, при їх відборі, потрібно ретельно враховувати інтереси, здібності та можливості школярів. Робота над об’єктами конструювання пов’язана з застосуванням ряду трудових операцій. Всі вони повинні бути передбачені тематикою гуртка. Окрім того, слід дотримуватись оптимального співвідношення часу, який затрачається на виконання кожної з цих операцій.
Таким чином, при відборі об’єктів конструювання, керівник гуртка опиняється перед необхідністю враховувати цілий ряд вимог.
Спробу сформувати узагальнені критерії відбору об’єктів праці зробило багато авторів методичних посібників та дослідників проблеми трудового навчання та виховання. Так Д. О. Тхоржевський виділяє наступні критерії:
- вироби повинні бути суспільно корисними:
- технологія виготовлення виробів повинна складатись із операцій, передбачених навчальною програмою;
- робота повинна бути посильною для учнів (з огляду точності виготовлення) і вкладатись, в заплановані на виготовлення норми часу;
- за признеченням та особливостями конструкції вироби повинні бути доступні розумінню учнів.
В. М. Аридін [3] вважає, що при відборі об’єктів конструювання, керівник гуртка повинен виходити з таких міркувань:
- доступність розуміння учнями принципу роботи технічного пристрою;
- розуміння суті фізичних процесів при виготовленні та налагодженні виробу;
- можливість виготовлення за відведений час;
- освітня та виховна цінність виробу;
- наявність необхідних матеріалів та обладнання.
Г. Є. Левченко акцентує увагу на такі функції об’єктів праці як комплексність, технологічність, типовість трудових операцій, естетичність, трудоємкість, безпечність [14]. «При відборі об’єктів конструювання важливо правильно розрахувати відносну питому вагу самостійності школяра, які творчі елементи проявляє він, які емоції і почуття збуджує у нього виготовлення даного виробу...».
На основі вказаних критеріїв нами відібрано та рекомендовано для повторення ряд електронних схем, які можуть бути предметом практичної діяльності учнів на заняттях радіотехнічного гуртка, зокрема під час вивчення розділу “Елементи цифрової техніки”.
Робота по виготовленню об’єктів конструювання створює добру основу для системного формування політехнічних знань, розвитку трудових навичок учнів, сприяє формуванню відповідальності за доручену справу, виробляє акуратність в роботі та наполегливість в досягненні мети.
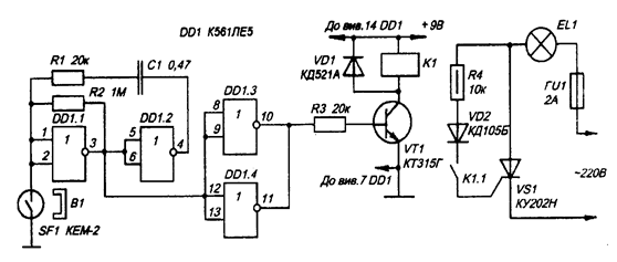
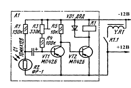
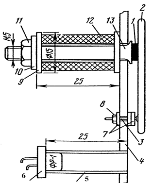
Фотореле. Для дистанційного керування радіоелектронними пристроями при допомозі світлового променя використовують фотореле.
Найпростіше фотореле можна виготовити на базі мікросхеми К155ЛА3 (рис.18). Датчиком освітленості є фотодіод VI типу ФД-3, який ввімкнено до входу мікросхеми DD1. Для підвищення чутливості й надійності роботи мікросхеми, її входи 1 та 2 об'єднано. Вихід мікросхеми під’єднано до транзисторного ключа V2.
Якщо, при ввімкненому живленні, фотодіод затемнений, то на ньому винекне деякий спад потенціалу, зменшиться потенціал і на виході елемента DD1.1, транзистор V2 відкриється, реле K1 спрацює.

Рис. 18.
Якщо фотодіод освітити, то його опір зменшиться і спад напруги на вході МС DD1 зменшиться практично до нуля. Тоді потенціал на виході інвертора значно зросте, транзистор V2 закриється реле К1 буде знеструмлене.
Резистори R1 та R2 обмежують струм бази транзистора V2. Діод V3 запобігає пробою транзистора V2 (він шунтує ЕРС самоіндукції, яка виникає в обмотці реле при його знеструмленні). Резистори типу МЛТ-0,25; транзистор V2 - МП13—МП16, МП39—МП41; реле РЭС15 або будь-яке інше із струмом опрацювання до 20 мА та опором обмотки 300— 400 Ом.

Рис. 19
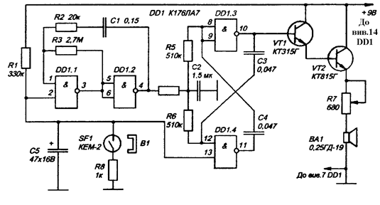
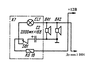
Пристрої охоронної сигналізації. На рис. 19 зображено схему сигналізатора типу «сирена». В ньому передбачено затримку спрацювання сигналізації на 10 секунд. В момент розмикання контактів геркона SF1 конденсатор C5 починає заряджатися через резистор R1. Приблизно через 10 секунд на входах 2, 13 мікросхеми DD1 з'явиться логічна "1" і спрацьовує сигналізація. Резистор R8 зменшує струм розряду конденсатора C5.
На логічних елементах DD1.2, DD1,2 зібрано модульований мультивібратор. З конденсатора C2 знімають пилкоподібні імпульси, які забезпечують модулювання частоти мультивібратора з перехресними резистивно-ємнісними зворотніми зв'язками на логічних елементах DD1.3, DD1.4. Тобто відбувається перетворення напруги на конденсаторі С2 в частоту. Девіація частоти змінює тембр звучання гучномовця BA1. Підсилювач потужності виконано на транзисторах VT2, VT3.
Пристрої світлової сигналізації. Світлова сигналізація в охоронних електронних пристроях є ефективним попереджувальним засобом. На рис. 20 зображено схему такого сигналізатора.

Рис. 20
Коли віддалити магніт B1 від геркона, то мультивібратор на логічних елементах DD1.1, DD1.2 починає генерувати імпульси з частотою 1 Гц. Вільний елемент DD1.4 ввімкнуто паралельно до DD1.4 для поліпшення навантажувальних характеристик. Транзистор VT1, що працює в ключовому режимі, керує реле K1, яке своїми контактами K1.1 з частотою 1 Гц то відкриває, то закриває тринiстор VS1, який комутує живлення лампи (її потужність може сягати 200 Вт).
Детектори наближення. Принцип побудови ємнісних "детекторів наближення" ґрунтується на використанні грані зриву та виникненні генерації.
На рис.21 зображено схему "детектора наближення" на основі ємнісного реле. На елементах DD1.1, DD1.2 виконано мультивібратор. При налагодженні, значення резистора R1 та конденсатора C1 зменшують доти, доки генерація (при приєднаній антені) не зірветься. Коли наблизити руку до антени WA1 (нею може бути металевий предмет), - генерація повинна відновитись. Елементи DD1.3, DD1.4 підсилюють та формують частотний сигнал. Конденсатор C4 унеможливлює короткочасні хибні спрацювання. Провідники, що з'єднують антену з пристроєм сигналізації, потрібно робити якомога короткими.

Рис. 21

Рис. 22.
Пристрої на інфрачервоних променях. Інфрачервоне випромінювання займає невидиму для ока частину електромагнітного спектра. ІЧ промені мають такі ж властивості, як і видимі. Тобто, розміщуючи пристрої, треба враховувати, що на проходження променів будуть впливати туман, дощ, сніг та інші перешкоди, які траплятимуться на їхньому шляху.
На рис. 22 показано схему випромінювача ІЧ променів, модульованих частотою мультивібратора, виконаного на елементах DD1.1, DD1.2 мікросхеми DD1 типу К561ЛЕ5.
Резистори R1, R2 приєднані між входами та виходами елементів мікросхеми, забезпечують м'який режим збудження. Паралельно приєднані елементи DD1.3, DD1.4 зменшують вплив навантаження на режим робити мультивібратора. Транзистори VT1, VT2 утворюють підсилювач потужності. Це два емітерні повторювачі, з'єднані послідовно. Для досягнення максимального підсилення струму треба, щоб наступний транзистор був потужнішим від попереднього. Резистор R4 обмежує струм через світлодіоди HL1 – HL3.
Частота генерації визначається залежністю
ƒ = 0,4 √Uж / RC
де Uж - напруга живлення, В; R=R1=R2, МОм; C=C1=C2, мкФ.
Для Uж = 9 В частота генерації ƒ = 5 кГц.

Рис. 23
На рис. 23 показано схему приймача ІЧ променів. Фотодіод працює у фотодіодному режимі (є ще фотогенераторний режим). При освітленні опір фотодіода зменшується і на його виводах з'являється електрорушійна сила, пропорційна до освітлення. Конденсатор С1 усуває вплив ймовірних повільно змінних джерел на режим роботи. На збірці з двох польових транзисторів типу КПС104Г створено послідовно балансний каскад, коефіцієнт підсилення якого становить 300-400. Така схема потребує великого вхідного опору в наступному каскаді, має малу верхню частоту пропускання. На транзисторі VT3 реалізовано емітерний повторювач з великим вхідним та малим вихідним опорами. На діодах VD2, VD3 виконано амплітудний випрямляч з подвоєнням напруги. Транзистор VT4 підсилює та інвертує випрямлений сигнал. До емітера транзистора VT5 (вихід A) можна приєднати виконавчі пристрої звукової та світлової сигналізації.

Рис. 24
Така схема може працювати на відстані, яка не перевищує 4 метри від випромінювача.
Перемикач гирлянд. На мікросхемі DD1 (рис.24) зібрано симетричний мультивібратор частоту коливань якого можна змінювати в межах 195-205 Гц змінним резистором R2. Через інвертори DD1.3 і DD1.4 прямокутні імпульси мультивібратора надходять на тригери DD2.1 та DD2.2 (вони виконують роль подільника частоти). Вихідні сигнали тригерів надходять на підсилювачі струму VT1-VT4, а дальше, через конденсатори С3-С6 на управляючі електроди тиристорів VS1-VS4, в анодні кола яких включені гирлянди ламп EL1-EL4.
В залежності від співвідношення частот мультивібратора і освітлювальної мережі вони або плавно засвічуютьчся і різко гаснуть, або навпаки, різко засвічуються і плавно гаснуть. Швидкість цього процесу можна регулювати змінним резистором R2.
КОМПЛЕКСНА ПРАКТИЧНА РОБОТА
ФОТОТИР. На відміну від описаних в науково-популярній літературі пропонований фототир, на нашу думку, найбільш повно уособлює в собі якості пневматичного тиру: в момент вистрілу чути характерний звук пневматичної гвинтівки, а при попаданні в мішень - вона опрокидується. В даному фототирі, окрім цього передбачено цифровий індикатор кількості вистрілів.

Рис. 25
Будову фототиру розглянемо за його структурною схемою (рис.25). Він складається з десяти вузлів: шести однотипних фотореле (вузли А1-А6), світлового пістолету (вузол А7), блоку живлення (вузол А8), лічильника кількості вистрілів (вузол А9) та газорозрядних цифрових індикагорів (вузол А10).

Рис. 26
Чутливим елементом фотореле (рис.26) є фоторезистор R2, величина опору якого безпосередньо залежить від інтенсивності його освітлення. До моменту, коли на фоторезистор не попадає світлова "куля" опір його досить великий і струм в колі подільника, утвореного цим же резистором, є досить малий. При цьому транзистор VT1 є відкритим (цього досягають, при налагодженні, підбором величини резистора RЗ), а VT2 – закритий; реле К1 - знеструмлене.
В момент попадання променя світла на фоторезистор, його опір різко зменшується, при цьому зменшується і напруга на ньому. Іншими словами, на фоторезисторі формується імпульс, який поступає через конденсатор С1 на базу транзистора VT1. На деякий час цей транзистор закривається, натомість VT2 - відкривається: спрацьовує реле К1, яке своїми контактами подає напругу на обмотку електромагніта. Магнітне поле, утворене цим електромагнітом, "опрокидуе" фігурку мішені. Аналогічно працюють й інші фотореле (вузли А2-А6).
Світлову "кулю" формує пістолет, в корпусі якого розміщена лампа EL1, конденсатор С2, резистор R6 та перемикач B1 (рис. 27). В початковому положенні, коли контакти перемикача знаходяться у вказаному на схемі положенні, конденсатор С2 заряджається через резистор R6 до напруги яка дещо перевищує напругу блоку живлення. В момент замикання контактів кнопки В1 конденсатор швидко розряджається через лампу EL1 і паралельно підключені динамічні головки BАІ i ВА2. Лампа при цьому спалахуэ, а динамычних головок чути звук, який імітує звук пострілу.

Рис. 27

Рис. 28.
Одночасно з пострілом включається в роботу вузол А9 (рис. 29). На його вході стоїть мультивібратор, виконаний на елементах DD1.1 i DD1.2. Запускається він імпульсом, який формують динамічні головки.
Вихідний імпульс мультивібратора подається на лічильники DD2, DD4, стан яких дешифрується мікросхемами DD3 та DD5. Стан лічильників відображають цифрові індикатори HG1 та HG2 (вузол А1О). Перед початком роботи фототиру лічильники необхідно обнулити (натиснути кнопку В2).

Рис. 29
Блок живлення (див.принципову схему рис. 29) складається з трьох випрямлячів із стабілізованою вихідною напругою, випрямляч на діодному мості VD3 живить фотореле, обмотки електромагнітів, світловий пістолет. Випрямляч на діодному мості VD5 призначений для живлення лічильника. Змінна напруга величиною 180В з обмотки трансформатора Т1 подається на однопівперіодний випрямляч (діод VD6), а з нього на аноди газорозрядних індикаторів. Для повторення вказаної конструкції, необхідні наступні радіодеталі: постійні резистори МЛТ вказаної на схемі потужності, підстроювальні (RЗ у вузлах АІ-А6) - СПЗ-1а; фоторезистори ФР-1, конденсатори СЗ,С8 - МБМ або інші малогабаритні; електролітичні конденсатори типу К5О-б, К50-12 з зазначеною на схемі робочою напругою; транзистори фотореле - серії МП40-МП42 з коефіцієнтом передачі струму не менше 50. Транзистори VТЗ - будь-які з серії П213-П217, VТ4 -будь-який з серії КТ807 (його необхідно встановити на радіатор виготовлений з листового алюмінію товщиною 2 мм при габаритних розмірах 30 х 20мм). Діоди VD1 блоків фотореле - будь-які із серії Д9, Д220; діодні блоки VDЗ, VD5 - будь-які із серії КЦ402, КЦ405; діод VD6 - будь-який розрахований на зворотню напругу не менше ЗООВ. Динамічні головки потужністю 1-2 Вт (опір звукової котушки - б-1О ом). Трансформатор блоку живлення намотано на магнітопроводі Ш16х20. Первинна обмотка трансформатора містить 2355 витків проводу ПЭВ-1 (діаметр проводу - 0,12 мм.), обмотка ІІ - 2050 витків проводу ПЭВ-1- 0,1 мм; обмотка ІІІ - 129 витків ПЭВ-1 - 0,31 мм; обмотка ІV 75 витків ПЭВ-1 - 0,2б мм.

Рис. 30
Деталі вузлів А1-А6 змонтовано на одній платі. Плати з деталями та данамічні головки кріплять в середині корпусу. На боковій панелі корпусу розміщено: тумблер включення живлення, запобіжники, роз'єм для підключення шнура світлового пістолета, кнопка встановлення лічильника вистрілів у нульове положення. В стволі пістолета розміщена лампа і фокусуюча лінза, а в рукоятці - решта деталей вузла А7.
Фоторезистор (рис.30), встановлено в середині непрозорої трубки 5, яку змонтовано на передній панелі корпусу. Над фоторезистором розміщені електромагніти. Котушку електромагніта 12 намотано на пласмасовому каркасі 9. Для намотки використано провід діаметром 0,16 мм (800 витків проводу котушки намотано "внавал").
Котушку одівають на магнітопровід 13. Ним може бути болт М6, відповідної довжини. Перед монтажем шестигранну головку болта доцільно обточити (надати їй циліндричної форми) і дещо вкоротити.
При допомозі постійного магніта 1 до магнітопроводу котушки кріпиться фігурка (мішень), яка крім того, насаджена на вісь3 (рис. 31). Таке кріплення дозволяє утримувати її в вертикальному положенні.

Рис. 31
При влучному попаданні, на обмотку електромагніту подається електричний струм, внаслідок чого навколо котушки утворюється постійне магнітне поле, яке і відштовхує постійний магніт встановлений на мішені (мішень опрокидується).
Світловий промінь пістолета фокусують так, щоби при відстані 5м, на передню стінку фототиру падав яскравий світловий промінь (при цьому діаметр даного світлового пучка повинен бути мінімальним).
Слід забезпечити також можливість вільного обертання мішені навколо осі. Якщо, при влучному попаданні, мішень не опрокидується, то в такому випадку, слід змінити полярність включення виводів обмоток. У випадку необхідності, коректують чутливість світлового реле так, щоб воно надійно реагувало лише на світловий промінь пістолета і не було чутливим до інтенсивності навколишнього освітлення.
ПРАВИЛА БЕЗПЕЧНОЇ ПРАЦІ ПРИ ВИКОНАННІ ПРАКТИЧНИХ РОБІТ НА ЗАНЯТТЯХ ГУРТКА РАДІОТЕХНІЧНОГО КОНСТРУЮВАННЯ
Керівник гуртка повинен постійно тримати в полі зору питання дотримання гуртківцями правил безпечної праці. З цією метою, вже на першому занятті необхідно провести інструктаж з безпеки праці та зробити відповідний запис у журналі гурткової роботи (форма запису не є строго регламентованою, але тут повинно бути наступне: прізвище та ім’я школярів, дату проведення та зміст інструктажу, підписи гуртківців та керівника гуртка). Такий інструктаж необхідно проводити не менше двох разів на рік.
При проведенні інструктажу слід керуватись основними положеннями правил безпечної праці та "Правилами безпечної праці і виробничої санітарії для шкільних навчальних і навчально-виробничих майстерень, а також навчальних комбінатів, цехів і підприємств, в яких проходить трудова підготовка учнів".
Керівнику гуртка необхідно:
1) під час проведення гурткових занять постійно знаходитись в приміщенні гуртка;
2) створювати належні умови праці гуртківцям та вимагати дотримання ними правил безпечної праці;
3) проводити поточний інструктаж з правил безпечної праці;
4) слідкувати за технічним станом і своєчасно приймати міри по відновленню або вилученню з користування несправного електроінструменту, радіомонтажного, слюсарного і столярного інструменту, електроарматури тощо;
5) зберігати інструменти індивідуального та загального користування в спеціально відведеному для цього місці;
б) вміти правильно надати першу медичну допомогу потерпілому від опіків, порізів, електротравм;
7) знати призначення та спосіб використання медичних препаратів, що знаходяться в аптечці лабораторії;
8) своєчасно поповнювати аптечку перев'язочним матеріалом та дезинфікуючими препаратами;
Гуртківці зобов’язані:
- дотримуватись правил внутрішнього розпорядку в радіолабораторії;
- використовувати інструмент лише за призначенням;
- тримати на робочому місці тільки ті матеріали, інструменти, прилади, які необхідні для виконання поточної роботи;
- припиняти роботу за першою ж вимогою керівника гуртка;
- повідомляти керівника гуртка про виявлені дефекти інструментів, електроарматури, ізоляції електропроводу тощо;
- при появі сторонніх запахів відключити живлення електроспоживачів і негайно повідомити керівника гуртка.
Окрім загальних правил безпечної праці, специфіка роботи гуртка зобов'язує особливо ретельно дотримуватись вимог електробезпеки:
- напруга живлення електропаяльників не повинна перевищувати 42В;
- шнури електропаяльників повинні бути оснащені вилками, конструкція яких виключає можливість іх підключення до розеток з напругою 220В;
- періодично перевіряти паяльники на відсутність короткого замикання між корпусом та нагрівальним елементом;
- електроспоживачі, розраховані на напругу живлення більше 42В повинні бути надійно заземлені;
- при монтажі, налагодженні та ремонті вузлів радіоелектронної апаратури необхідно використовувати інструмент з ізольованими ручками;
- монтаж і заміну елементів в схемах слід проводити лише при відключеному живленні;
- подавати напругу на схему слід лише після ретельної перевірки відповідності електричних з'еднань принциповій схемі;
- заборонено залишати без нагляду апаратуру, яка знаходиться під напругою;
- заборонено використовувати саморобні запобіжники, а також блокувати кола аварійного відключення електроспоживачів;
- заборонено торкатись струмопровідних частин електрообладнання, а також визначати наявність напруги на дотик.
Робота з горючими та легкозаймистими рідинами вимагає ретельного дотримання правил пожежноі безпеки. Слід пам'ятати, що такі речовини, як ефіри, спирти, бензин, ацетон, дихлоретан є надзвичайно леткими і їх пари, при великій концентрації становлять більшу пожежно-вибухову небезпеку аніж самі рідини. Не слід тримати на робочому місці легкозаймисті рідини у великих кількостях.
Не можна працювати з ними поблизу відкритого вогню.
Підігрівати такі рідини, у випадку крайньої необхідності, можна лише на "водяній ванні"; категорично заборонено користуватись при цьому відкритим вогнем.
Робота з кислотами та лугами також погребує підвищеної уваги та дотримання особливих заходів безпечної праці. Кислоти та луги, при попаданні на шкіру людини, викликають опіки. Особливо небезпечним є їх попадання в очі. Вдихання випарів кислот і лугів також шкодить здоров’ю.
При роботі з кислотами та лугами необхідно:
- користуватись захисними окулярами;
- пам'ятати, що кислоту завжди вливають до води, а не навпаки; інакше, в результаті бурхливої реакції, пройде інтенсивне розбризгування кислоти;
- при приготуванні лужних розчинів, воду слід доливати до лугу;
- при хімічній обробці металів (травлення, оксидування, анодування тощо) занурювати і виймати з розчину вироби необхідно при допомозі спеціальних приспосіблень;
- приміщення, де проводяться роботи, повинно мати добру вентиляцію.
Памятайте: при хімічних опіках шкіри уражене місце слід добре промити проточною водою і остаточно нейтралізувати: кислоту – 3% розчином питтєвої соди; луг – 1% розчином оцтової кислоти.
Висновки
1. Розвиток творчих здібностей особистості неможливий без засвоєння творчого досвіду попередників. Оволодіння цим досвідом, на відміну від засвоєння інших елементів культури, передбачає обов’язкове залучення учнів до практичної діяльності; ця діяльність, особливо в початках, повинна носити, здебільшого, відтворювальний, репродуктивний характер.
2. Навчальний характер творчої технічної діяльності дітей висуває на перший план не результати , а лише підготовку школярів до цієї діяльності в майбутньому. Виходячи з цього, основною метою творчої діяльності учнів слід вважати набуття досвіду практичної роботи з конструювання технічних об’єктів.
3. Головною метою позакласної та позашкільної роботи в усіх її формах є залучення учнів до активної участі у суспільно-корисній діяльності, стимулювання їх самостійності, ініціативи, розвиток індивідуальних інтересів, нахилів, здібностей.
4. Ознайомлення з основами роботи цифрових електронних пристроїв, з фізичною суттю процесів, що проходять при цьому, слід проводити в школі на уроках математики, фізики, інформатики, трудового навчання. Особливої уваги, в реалізації цього завдання, заслуговують шкільні технічні гуртки і, насамперед, гуртки радіоелектронного напрямку.
5. Підвищити ефективність навчального процесу, надати йому більшої динамічності та колоритності можна за умови добре продуманої та організованої дослідно-експериментальної роботи гуртківців.
6. Залучення учнів до виконання лабораторних робіт на заняттях шкільного радіотехнічного гуртка в ході вивчення розділу “Елементи цифрової техніки”, переслідує такі основні цілі:
- закріплення теоретичних знань з основ математичної логіки;
- вироблення вміння застосовувати їх у практичній діяльності (синтез електронних схем на логічних елементах);
- закріплення практичних умінь з радіотехнічного експерименту;
- розвиток творчих конструкторських здібностей;
- виховання культури праці.
7. При відборі об’єктів конструювання слід враховувати наступне:
- можливість їх практичного застосування;
- відповідність завданням реалізації програми гуртка;
- доступність та посильність у виготовленні;
8. Практичні заняття, в ході яких гуртківці працюють над виготовленням об’єктів конструювання, створюють добру основу для системного формування політехнічних знань, розвитку трудових умінь учнів, сприяють формуванню відповідальності за доручену справу, виробляють акуратність в роботі та наполегливість в досягненні мети.
Похожие рефераты:
Экзаменационные вопросы по курсу "Международная торговля" \укр\
Вопросы и ответы к экзамену по курсу «История экономических учений»
Предмет та метод економічного аналізу
Шпоры по финансовому менеджменту
Шпаргалки по учету, анализу и аудиту в РБ
Билеты к экзамену по статистике с-х
Шпаргалки к госэкзаменам по Банковсому Делу
Динамічна пам'ять, принципи її організації і роботи