| Скачать .docx |
Реферат: Ферромагнетики
Міністерство освіти та науки України
Національний університет „Львівська політехніка”
Курсова робота
На тему:”Ферромагнетики”
З курсу: „Матеріалознавство”
Виконав:
Студент гр.ЕА-21
Перевірив:
Васьків
Львів-2003
Зміст:
Вступ......................................................................................3
1) Початкове намагнічування......................................................................5
2) Модель внутрішньої будови ферромагнетика..........................................7
2) Магнітне поле в речовині........................................................................7
3) Намагніченість.........................................................................................8
4) Магнітна проникність різних тіл. Тіла парамагнітні і діамагнітні.....9
5) Циклічне перемагнічування....................................................................11
6) Рух парамагнітних і діамагнітних тіл у магнітному полі.
Досліди Фарадея............................................................................................14
7) Молекулярна теорія магнетизму.............................................................17
8) Магнітний захист.......................................................................................18
9) Особливості феромагнітних тіл................................................................20
10) Властивості ферромагнетиків і якісні основи природи
Ферромагнетизму......................................................................................28
11) Вивчення гистерезиса ферромагнітних матеріалів..................................32
12) Основи теорії ферромагнетизму...............................................................32
13) Ферромагнітні матеріали............................................................................35
14) Магнітні властивості деяких магніто-м”яких матеріалів........................37
15) Магнітні властивості деяких магніто-твердих матеріалів.......................38
16) Експерементальне вивчення властивостей ферромагнетиків...................39
Висновки................................................................................................................44
Список використаної літератури..........................................................................46
Вступ
Ферромагнетизм, один з магнітних станів кристалічних, як правило, речовин, що характеризується рівнобіжною орієнтацією магнітних моментів атомних носіїв магнетизму. Рівнобіжна орієнтація магнітних моментів (мал. 1) установлюється при температурах Т нижче критичної Q і обумовлена позитивним значенням енергії межэлектронного обмінної взаємодії. Феромагнітна упорядкованість магнітних моментів у кристалах (атомна магнітна структура - коллінеарна або неколлинеарна) безпосередньо спостерігається і досліджується методами магнітної нейтронографії. Речовини, у яких встановився феромагнітний порядок атомних магнітних моментів, називають ферромагнетиками. Магнітна сприйнятливість (ферромагнетиків позитивна (c > 0) і досягає значень 104-105 гс/э, їхня намагніченість J (або індукція В = Н +4p) росте зі збільшенням напруженості магнітного поля Н нелінійно і в полях 1-100 э досягає граничного значення Js - магнітного насичення. Значення J залежить також від "магнітної передісторії" зразка, це робить залежність J від Н неоднозначної (спостерігається магнітний гистерезис).
У магнітному відношенні всі речовини можна розділити на слабомагнітні
( парамагнетики й діамагнетики) і сильнонамагнічені (феромагнетики).

Пара- і діамагнетики при відсутності магнітного поля ненамагнічені і характеризуються однозначною залежністю J від H.
Ферромагнетиками називають речовини (тверді), що можуть мати спонтанну намагніченість, тобто намагнічені вже при відсутності зовнішнього магнітного поля. Типові представники ферромагнетиків – це залізо, кобальт і багато їхніх сплавів.
Початкове намагнічування
Під дією зовнішнього магнітного поля, створеного струмом у котушці, накладеної на сталевий магнитопровід, відбувається процес орієнтації доменов у магнитопроводе і зсув їхніх границь. Це приводить до намагнічування сталевого магнитопроводу, причому намагніченість збільшується зі збільшенням зовнішнього магнітного поля.
Намагніченість М феромагнітного матеріалу росте тільки до граничного значення, називаного намагніченістю насичення Мs. Залежність намагніченості М від напруженості поля М(H) показана на мал. 2 штриховою лінією. На тім же малюнку показана лінійна залежність B0(H)=0М. Складаючи ординати кривій 0М(H) і прямій М0(H), одержуємо ординати новій кривій B(H) - кривій первісного намагнічування (рис 2). Криву B(H) можна розділити на чотири ділянки :
1) майже лінійна ділянка 0а, що відповідає малим напряженностям поля, показує, що магнітна індукція збільшується відносно повільно і майже пропорційно напруженості полючи;
2) майже лінійна ділянка аб, на якому магнітна індукція В росте також майже пропорційно напруженості поля, але значно швидше, ніж на початковій ділянці ;
3) ділянка бв - коліно кривій намагнічування, що характеризує уповільнення росту індукції B;
4) ділянка магнітного насичення - ділянка , розташована вище крапки в; тут залежність знову лінійна, але ріст індукції B дуже сильно уповільнений у порівнянні з другим. Магнітна індукція, що відповідає намагниченности насичення, називається індукцією насичення Bs.
Таким чином, залежність магнітної індукції від напруженості поля у феромагнітного матеріалу досить складна і не може бути виражена простою розрахунковою формулою. Тому при розрахунку магнітних ланцюгів, що містять ферромагнетики, застосовують зняті експериментально криві намагнічування B(H) магнітних матеріалів. Крива намагнічування вперше була отримана експериментально в 1872 році професором Московського університету А. Г. Столетовым.
![]() |
Абсолютна магнітна проникність ферромагнетика визначається для довільної крапки А кривої намагнічування (мал. 3) через тангенс кута нахилу січної 0А к осі абсцис, тобто
Де mв, mн, mм - масштаби відповідних величин .
Крива зміни магнітної проникності r для феромагнітного матеріалу дана на тім же мал. 3. Як видно з графіка, магнітна проникність з ростом напруженості поля змінюється в досить широких границях, що утрудняє її застосування для розрахунків. На кривій Мr(H) відзначають два характерних значення магнітної проникності:
початкове (мал. 3)
2. максимальне
Початкова магнітна проникність характеризує можливість використання ферромагнетика в слабких магнітних полях. Максимальна магнітна проникність визначає верхню границю використання матеріалу. Так, наприклад, для листової електротехнічної сталі Мн=250-1000, а Мmax=500-30000.
Модель внутрішньої будови ферромагнетика

Модель внутрішньої будівлі ферромагнетика служить для пояснення утворення доменів у ферромагнетику і їхньої переорієнтації при намагнічуванні.
Прилад складається з рамки з дном з органічного скла і встановленими на ньому двадцятьма вістрями. Вістря розміщені в чотири ряди на відстані приблизно 15 мм друг від друга. На кожне вістря насаджений сталевий намагнічений циліндрик з одним закругленим торцем. Зверху рамка закрита склом, що охороняє циліндрики від зіскакування з вістря. Прилад пристосований для горизонтальної діапроекции.
При випадковому розташуванні магнітиків останні мимовільно групуються так, що в кожній групі магнітики мають визначену орієнтацію (домени, або області мимовільного намагнічування). Під дією зовнішнього магнітного поля всі магнітики орієнтуються уздовж його силових ліній.
Для демонстрації потрібний проекційний апарат із пристосуванням для горизонтальної проекції і смугові магніти.
Магнітне поле в речовині.
Якщо в магнітне поле, утворене струмами в провідниках увести деяку речовину, поле зміниться. Це пояснюється тим, що будь-яка речовина є магнетиком, тобто здатна під впливом магнітного поля намагнічуватися – здобувати магнітний момент М. Цей магнітний момент складається з елементарних магнітних моментів mo , зв'язаних з окремими частками тіла М = mo.
В даний час встановлено, що молекули багатьох речовин володіють власним магнітним моментом, зумовленим внутрішнім рухом зарядів. Кожному магнітному моменту відповідає елементарний круговий струм, що створює в навколишньому просторі магнітне поле. При відсутності зовнішнього магнітного поля магнітні моменти молекул орієнтовані безладно, тому зумовлене ними результуюче магнітне поле дорівнює нулю. Дорівнює нулю і сумарний магнітний момент речовини. Останнє відноситься і до тих речовин, молекули яких при відсутності зовнішнього поля не мають магнітних моментів.
Якщо ж речовину помістити в зовнішнє магнітне поле, то під дією цього поля магнітні моменти молекул здобувають переважну орієнтацію в одному напрямку, і речовина намагнічується – його сумарний магнітний момент стає відмінним від нуля. При цьому магнітні поля окремих молекул уже не компенсують один одного, у результаті виникає поле B. Інакше відбувається намагнічування речовин, молекули яких при відсутності зовнішнього поля не мають магнітного моменту. Внесення таких речовин у зовнішнє поле индукує елементарні кругові струми в молекулах, і молекули, а разом з ними і всією речовиною здобувають магнітний момент, що також приводить до виникнення поля В1 . Більшість речовин при внесенні в магнітне поле намагнічуються слабо. Сильними магнітними властивостями володіють тільки феромагнітні речовини : залізо, нікель, кобальт, багато їхніх сплавів та ін.
Намагніченість.
Термін «магнетики» застосовується до всіх речовин при розгляді їхніх магнітних властивостей. Ступінь намагнічення магнетика характеризується магнітним моментом одиниця об'єму. Цю величину називають намагніченістю і позначають J. Вона являє собою магнітний момент одиничного обсягу
Намагніченість є величиною векторною. Вона зростає зі збільшенням індукції В ( чи напруженості Н ) магнітного поля.
Величина , що одержала назву відносної магнітної проникності середовища, показує, у скількох разів магнітна індукція поле в даному середовищі більше, ніж магнітна індукція у вакуумі. Величину називають магнітною сприйнятливістю. Якщо у всіх точках речовини вектор J однаковий, говорять, що речовина намагнічена однородно.
Магнітна проникність різних тіл. Тіла парамагнітні і діамагнітні.
Магнітна сприйнятливість може бути як позитивною, так і негативною. Якщо вона <0, то вектор J антирівнобіжний вектору Н. Магнетики, що володіють такою властивістю, називають діамагнетиками . При м.в.>0 вектор J рівнобіжний вектору Н. Магнетики, що володіють такою властивістю, називають парамагнетиками. У більшості випадків по модулю магнітної сприйнятливості парамагнетиків перевищують магнітні сприйнятливості діамагнетиків. Залежність намагніченості цих двох типів магнетиков від напруженості поле є лінійної.
Слід зазначити, що лінійна залежність J(H) для парамагнетиків спостерігається тільки в області слабких полів і при високих температурах. У сильних полях і при низьких температурах J(H) поступово виходить на «насичення». Як у діамагнетиках, так і в парамагнетиках під час відсутності магнітного поле намагніченість дорівнює нулю.
У приведеній нижче таблиці показані значення магнітної проникності для деяких парамагнітних і діамагнітних речовин
| Парамагнітні Речовини |
Магнітна Прониц-ть |
Діамагнітні Речовини |
Магнітна прониц-ть |
| Азот (газоподібний) |
1,000013 |
Водень (газоподібний) ...... |
0, 999937 |
| Повітря (газоподібний) |
1,000038 |
Вода ........ |
0, 999991 |
| Кисень (газоподібний) |
1,000017 |
Скло ...... |
0, 999987 |
| Кисень (рідкий) . . |
1,0034 |
Цинк ........ |
0, 999991 |
| Ебоніт ........ |
1,000014 |
Срібло ...... |
0, 999981 |
| Алюміній ...... |
1,000023 |
Золото ....... |
0, 999963 |
| Вольфрам ...... |
1,000175 |
Мідь ........ |
0, 999912 |
| Платина ....... |
1,000253 |
Вісмут ....... |
0, 999824 |
Табл.1
Виміри показують, що магнітна проникність усіх речовин відмінна від одиниці, хоча в більшості випадків ця відмінність дуже мала. Але особливо чудовим виявляється той факт, що в одних тіл величина магнітної проникності >1 , а в інших вона <1, тобто внесення в магнітне поле одних речовин збільшує магнітний потік, а інших речовин - зменшує цей потік. Перші з цих речовин називаються парамагнітними, а другі - діамагнітними. Як показує таблиця 1, відмінність величини м.п. від одиниці як у парамагнітних, так і в діамагнітних речовин невелико.
Потрібно особливо підкреслити, що для парамагнітних і діамагнітних тіл величина проникності не залежить від напруженості зовнішнього, що намагнічує поле, тобто являє собою постійну величину, що характеризує дану речовину. Як ми побачимо нижче, це не має місця для заліза й інших подібних з ним (феромагнітних) тел.
За допомогою дуже ретельних вимірів можна знайти зміну магнітного поля і визначити величину магнітної проникності різних матеріалів..
Вплив парамагнітних і діамагнітних речовин на величину магнітного потоку ми пояснюємо так само, як і вплив речовин феромагнітних, тим, що до магнітного потоку, створюваному струмом в обмотці котушки, приєднується потік, що виходить з елементарних амперівых струмів. Парамагнітні тіла збільшують магнітний потік котушки. Це збільшення потоку при заповненні котушки парамагнітною речовиною вказує на те, що й у парамагнітних речовинах під дією зовнішнього магнітного поле елементарні струми орієнтуються так, що напрямок їхній збігається з напрямком струму обмотки (мал. 1). Невелика відмінність від одиниці вказує лише на те, що у випадку парамагнітних речовин цей додатковий магнітний потік дуже невеликий, тобто що парамагнітні речовини намагнічуються дуже слабко.

Мал. 1. Діамагнітні речовини усередині котушки послабляють магнітне поле соленоїда.
Елементарні струми в них спрямовані протилежно току в соленоїді.
Зменшення магнітного потоку при заповненні котушки діамагнітною речовиною означає, що в цьому випадку магнітний потік від елементарних струмів спрямований протилежно магнітному потоку котушки, тобто що в діамагнітних речовинах під дією зовнішнього магнітного поле виникають елементарні струми, спрямовані протилежно струмам обмотки (мал. 1). Малість відхилень від одиниці й у цьому випадку вказує на те, що додатковий потік цих елементарних струмів невеликий.
Крім діа- і парамагнетиків існує велика група речовин, що володіють спонтанною намагніченістю, тобто маючих не рівну нулю намагніченість навіть під час відсутності магнітного поле. Ця група магнетиков одержала назву ферромагнетиків . Для них залежність J(H) є нелінійною функцією, і повний цикл перемагнічування описується петлею гистерезиса. У цих речовинах магнітна сприйнятливість сама залежить від Н
Циклічне перемагнічування
Розглянемо процес перемагнічування ферромагнетиків.
Допустимо , що кільцевий магнитопровод з феромагнітного матеріалу не намагнічений і струму у витках котушки ні, тобто B=0 і H=0 (початок координат на мал. 4). При поступовому збільшенні струму , що намагнічує, тобто МДС (магніто-рушійна сила), а отже, і напруженості поля від нуля до деякого найбільшого значення
магнітна індукція збільшується по кривій початкового намагнічування (Оа) і досягає відповідного максимального значення Ba.
Якщо потім струм і напруженість поля зменшуються, то і магнітній індукції зменшується, при відповідних значеннях напруженості магнітна індукція трохи більше , ніж при збільшенні напруженості. Крива зміни магнітної індукції (ділянка aб на мал. 4) розташовується вище кривій початкового намагнічування. При нульових значеннях струму і напруженості поля магнітна індукція має деяке значення Br, називане залишковою індукцією (відрізок Про на мал.).

Таким чином, магнітна індукція у феромагнітному матеріалі залежить не тільки від напруженості поля, але і від попереднього стану ферромагнетика. Це явище називається гистерезисом. Воно обумовлено ніби внутрішнім тертям, що виникає при зміні орієнтації магнітних моментів доменів.
При зміні напрямку струму , що намагнічує, а, отже, і напрямку напруженості поля і поступовому збільшенні струму зворотного напрямку напруженість полючи досягає значення Hc, називаного коэрцитивной силою (відрізок Ов), при якому магнітна індукція B=0. При подальшому збільшенні струму і напруженості полючи магнитопровод намагнічується в протилежному напрямку і при напруженості полючи Hг = -Ha магнітна індукція досягне значения Bг = -Ba. Потім при зменшенні струму і напруженості поля до нуля магнітна індукція Bд стає рівною -Bб. Нарешті, при наступній зміні напрямку струму і напруженості поля і збільшення її до колишнього значення На магнітна індукція збільшиться також до колишнього значення Ba. Розглянутий цикл перемагнічування ферромагнетика по кривій абвгдеа називається гістерезисним циклом (петлею гистерезиса).
Така симетрична замкнута петля гистерезиса (мал.) виходить у дійсності тільки після декількох перемагнічувань зі збільшенням струму до значення Іa. При перших циклах перемагнічування петля несиметрична і незамкнута. Найбільша замкнута петля, що може бути отримана для даного феромагнітного матеріалу, називається граничної (мал. 5). При напруженості полючи H > Hmax виходить уже безгістерезисна ділянка кривій B(H).
Якщо для даного феромагнітного матеріалу, вибираючи різні найбільші значення струму Іa, одержати кілька симетричних петель гистерезиса (мал. 5) і з'єднати вершини петель, то одержимо криву, називану основній кривій намагнічування, близьку до кривої початкового намагнічування.

Циклічне перемагнічування можна застосувати для розмагнічування магнитопровода, тобто для зменшення залишкової індукції до нульового значення. З цією метою магнитопровід піддають впливові змінюються по напрямку і поступово зменшуваного магнітного поля.
Періодичне перемагнічування зв'язане з витратою енергії, що, перетворюючи в тепло, викликає нагрівання магнітопровода. Площа петлі гистерезиса пропорційна енергії, витраченої при одному циклі перемагнічування. Енергія, витрачена на процес перемагнічування, називається втратами від гистерезиса. Потужність утрат на циклічне перемагнічування, що виражається звичайно у ватах на кілограм, залежить від матеріалу, максимальної магнітної індукції і числа циклів перемагнічування в секунду або , що теж, частоти перемагнічування.

Рух парамагнітних і діамагнітних тіл у магнітному полі. Досліди Фарадея. Притягання залізних предметів до магнітів є найбільш простим і кидається в очі проявом магнітного поля й історично послужило основою всього розвитку навчання про магнетизм. Воно зводиться до впливу магнітного поле на орієнтовані молекулярні струми заліза, що намагнітилося. Так само, але тільки значно слабкіше повинне діяти магнітне поле і на парамагнітні тіла, тому що й у парамагнітних тілах орієнтація елементарних струмів відбувається так само, як у феромагнітних: магнітний потік елементарних струмів підсилює, хоча і незначно, магнітний потік що орієнтує поле і, отже, парамагнітні тіла притягаються до магніту (мал. 2, а).

Мал. 2. а) При намагнічуванні парамагнітного чи феромагнітного тіла на найближчому до магніту кінці виникає полюс, різнойменний з полюсом магніту, що намагнічує. Парамагнітне тіло притягається до магніту,
б) У тих же умовах на найближчому до магніту кінці діамагнітного тіла виникає полюс однойменний. Діамагнітне тіло відштовхується від магніту.
На відміну від тіл парамагнітних діамагнітні тіла зменшують магнітний потік котушки. Це означає, що в діамагнітному тілі під дією зовнішнього поле виникають елементарні колові струми такого напрямку, що їхнє магнітне поле протилежне напрямку зовнішнього магнітного поле. Отже, і дія зовнішнього магнітного поле на діамагнітні тіла протилежно по напрямку дії його на тіла ферро-и парамагнітні, тобто діамагнітні тіла відштовхуються від магніту (мал. 2, б).
|
|
|
|
Мал.3
Ми можемо виразити цей факт і трохи інакше. Коли ми підносимо до магніту яке-небудь залізне тіло, то воно намагнічується так, що на тій стороні його, що звернена до магніту, виникає полюс, різнойменний з полюсом магніту; те ж має місце й у випадку парамагнітного тіла (мал. 2, а). Навпроти, у випадку діамагнітного тіла на стороні, найближчої до полюса магніту, що намагнічує, виникає полюс, однойменний з цим полюсом магніту (мал. 2, б). Мал. 3 пояснює, чому парамагнітні тіла притягаються до магніту, а діамагнітні відштовхуються від нього.
Саме такі дії і були виявлені Фарадеєм. У 1845 р., викомалтовувавши сильний електромагніт, Фарадей установив здатність усіх тіл намагнічуватися і відкрив, що одні тіла притягаються до магніту, а інші відштовхуються від нього. Він запропонував для перших назва парамагнітних, для других назва діамагнітних. Індукційні досліди з пари- і діамагнітними тілами, були зроблені значно пізніше, коли магнітні властивості діамагнітних і парамагнітних тіл були уже встановлені на підставі досліджень Фарадея.
По силі чи притягання відштовхування можна судити і кількісно про здатність тіла намагнічуватися, тобто можна визначити величину магнітної проникності для даної речовини. Цей метод виміру величини , заснований на вивченні чи притягання відштовхування маленького тіла з даної речовини, теоретично більш складний, чим описаний раніше метод, заснований на вимірі э.д. с. індукції. Але зате він набагато дошкульніше і, крім того, придатний для виміру , у маленькому зразку речовини, тоді як для виміру М по індукційному способі потрібно заповнити досліджуваною речовиною усю внутрішність котушки.
У тих випадках, коли удається вимірити і тим і іншому способу, виходять результати, що погодяться.
Приклад 1 : Полюса сильного електромагніта на мал. 3 зрізані не паралельно один одному, так що унизу відстань між ними значно менше, ніж нагорі. Між ними підвішується на нитці кулька з різних випробуваних матеріалів. Верхній кінець нитки прикріплений до спіральної пружинки, розтягання якої дозволяє вимірити силу, що діє з боку магнітного поле на кульку (пружинні ваги). Виявляється, що якщо кулька виготовлена з алюмінію, чи вольфраму платины, те ця сила спрямована вниз (пружинка розтягується), а у випадку срібла, золота, чи міді вісмуту вона спрямована нагору (пружинка скорочується).
Приклад 2: При дослідженні магнітної проникності рідких тіл часто надходять так. Рідину наливають у колінчату трубку й одне з колін поміщають між полюсами сильного електромагніта (мал 4).Рідина в цьому коліні чи піднімається опускається в залежності від того, чи є вона парамагнітної чи діамагнітний.
Молекулярна теорія магнетизму. Теорія, що пояснює розходження в магнітних властивостях речовин на основі вивчення будівлі окремих часток цих речовин - їхніх чи атомів молекул,- одержала назву молекулярної теорії магнетизму. Ця теорія дуже складна і багато в чому ще не довершена. Тому тут ми не можемо розбирати її скільки-небудь докладно. Укажемо лише на основні причини розходження між властивостями парамагнітних і діамагнітних тел.
Кожне тіло, і парамагнітне і діамагнітне, представляється нам у цілому ненамагніченим доти, поки на нього не діє зовнішнє магнітне поле. Але обумовлюється це в тілах парамагнітних і в тілах діамагнітних різними причинами. Діамагнітними є тіла, кожна частка яких - чи атом молекула - знаходячись поза магнітним поле, не має магнітні властивості.
Тільки зовнішнє магнітне поле перетворює їх в елементарні магніти (викликає елементарні струми), певним чином спрямовані. Навпроти, частки парамагнітних речовин уже самі по собі, ще до того, як на них початок діяти зовнішнє поле, являють собою елементарні магніти (елементарні струми). Тут роль зовнішнього магнітного поле зводиться до визначеної орієнтації, упорядкуванню розташування цих магнітиків. Поки поле не діяло, усі вони були розташовані безладно, хаотично, і речовина в цілому представлялося нам ненамагничеиным. У магнітному ж полі ці елементарні магніти вибудовуються в більшій чи меншій мері рівнобіжними ланцюжками і речовина в цілому намагнічується.
У чому ж складається розходження між будівлею часток діамагнітних і парамагнітних речовин? В атомах усіх тіл є велике число електронів, що рухаються. Кожний з них і являє собою амперів елементарний круговий струм. Але в атомах діамагнітних речовин до внесення їх у магнітне поле магнітні дії цих окремих струмів взаємно компенсують один одного, так що атом у цілому не є елементарним магнітом. Коли ми вносимо таку речовину в магнітне поле, то на кожен електрон, що рухається, діє сила Лоренца, і сукупна дія всіх цих сил, як показує розрахунок, приводить до того, що в атомі индуцируется визначений струм, тобто атом здобуває властивості елементарного магнітика. Тому що ці струми є індукованими, то напрямок їхній, відповідно до правила Ленца, повинне бути протилежно напрямку струму в котушці, що створює зовнішнє магнітне поле, тобто магнітний потік від цих струмів повинний послабляти потік зовнішнього поле, і діамагнітне тіло відштовхується від магніту.
В атомах парамагнітних речовин магнітні дії окремих електронів не цілком компенсують один одного, так що атом у цілому і сам по собі є елементарним магнітом. Дія зовнішнього магнітного поле упорядковує розташування цих елементарних струмів (магнітиків), причому струми орієнтуються так, що їхній напрямок переважно збігається з напрямком струму котушки, що створює зовнішнє магнітне поле. Тому магнітний потік від елементарних струмів у цьому випадку підсилює потік котушки, і парамагнітне тіло притягається до магніту.
Строго говорячи, діамагнетизм є загальною властивістю усіх речовин. Зовнішнє магнітне поле робить і на атоми парамагнітних речовин таке ж индуцирующее дія, як на атоми діамагнітних речовин. Але в парамагнітних речовинах ця дія перекривається більш сильною дією, що орієнтує, зовнішнього магнітного поле, що упорядковує власні елементарні струми атомів.
Зі сказаного ясно, що властивості парамагнітних тіл можна було б пояснити і за допомогою гіпотези Кулона про елементарні магнітики. Однак явища діамагнетизму показують неприйнятність цієї гіпотези, тому що зовнішнє поле не може орієнтувати елементарні магнітики назустріч полю, що потрібно б було допустити для пояснення діамагнетизму. Тільки теорія молекулярних струмів дозволяє, як ми бачили, за допомогою явищ індукції пояснити діамагнітні властивості речовини поряд з парамагнітними.
Ми бачимо, таким чином, що діамагнетизм і парамагнетизм порозуміваються розходженнями в будівлі самих чи атомів молекул речовини.
Магнітний захист. Саме собою зрозуміло, що. намагнічування феромагнітних, парамагнітних і діамагнітних тіл відбувається не тільки тоді, коли ми поміщаємо їх усередину соленоїда, але і взагалі завжди, коли речовина міститься в магнітне поле. В усіх цих випадках до магнітного поля, що існувало до внесення нашого тіла, додається магнітне поле, обумовлене намагнічуванням речовини, у результаті чого магнітне поле змінюється. Зі сказаного раніше ясно, що найбільш сильні зміни поле відбуваються при внесенні в нього феромагнітних тіл, зокрема заліза. Зміна магнітного поле навколо феромагнітних тіл дуже зручно спостерігати, комалтаючись картиною силових ліній, одержуваної за допомогою залізних обпилювань.
На мал. 5 зображені, наприклад, зміни, що спостерігаються при внесенні шматка заліза прямокутної форми в магнітне поле, що раніш було однорідним.
|
|
Мал. 5 Зміна магнітного поле при внесенні в нього шматка заліза.
Як бачимо, поле перестає бути однорідним і здобуває складний характер: в одних місцях воно підсилюється, в інші - послабляється.
Дуже цікаво і практично важлива картина, що спостерігається при внесенні в магнітне поле замкнутої залізної судини, наприклад кульової форми.
Як видно з мал.6, у результаті додавання зовнішнього магнітного поле з полем заліза, що намагнітилося, поле у внутрішній області кулі майже зникає. Цим комалтаються для створення магнітного чи захисту магнітної экранировки, тобто для захисту тих чи інших приладів від дії зовнішнього магнітного поле. Картина, що ми спостерігаємо при створенні магнітного захисту, зовні нагадує створення електростатичного захисту за допомогою провідної оболонки. Однак між цими явищами є глибоке принципове розходження. У випадку електростатичного захисту металеві стінки можуть бути як завгодно тонкі. Досить, наприклад, посріблити поверхня скляної судини, поміщеного в електричному полі, щоб усередині судини не виявилося електричного поле, що обривається на поверхні металу. У випадку ж магнітного поле тонкі залізні стінки не є захистом для внутрішнього простору: магнітні поле проходять крізь залізо, і усередині судини виявляється деяке магнітне поле. Лише при досить товстих залізних стінках ослаблення поле усередині порожнини може зробитися настільки сильним, що магнітний захист здобуває практичне значення, хоча й у цьому випадку поле усередині не знищується цілком. І в цьому випадку ослаблення поле не є результат обриву його на поверхні заліза; магнітні силові лінії аж ніяк не обриваються, але як і раніше залишаються замкнутими, проходячи крізь залізо.

Мал.6.Порожня залізна куля внесена
в однорідне магнітне тіло
Зображуючи графічно розподіл силових ліній у товщі заліза й у порожнині, одержимо картину мал.7 яка і показує, що ослаблення поле усередині порожнини є результат зміни напрямку силових ліній, а не їхнього обриву.
Особливості феромагнітних тіл. особливістю феромагнітних тіл є їхня здатність до сильного намагнічування, унаслідок якої магнітна проникність цих тіл має дуже великі значення. У заліза, наприклад, величина досягає значень, що у тисячі разів перевершують значення в парамагнітних і діамагнітних речовин. Намагнічування феромагнітних тіл було вивчено в досвідах А. Г. Столетова й інших учених.
Ці досліди показали, поверх того, що, на відміну від парамагнітних і діамагнітних речовин, магнітна проникність феромагнітних речовин сильно залежить від напруженості магнітного поле, при якій роблять її вимір. Так, наприклад, у слабких полях магнітна проникність , залоза досягає значень 5—6 тисяч, а в сильних полях значення , падають до кількох сотень і нижче.
Намагнічування тіла, поміщеного в магнітне поле, наприклад, усередину соленоїда зі струмом, викликає зміна магнітного потоку. Тому величину намагнічування матеріалу можна характеризувати різницею тим часом магнітним потоком, що дає соленоїд з перетином у 1 див2 , заповнений даною речовиною, і тим потоком, що дає при тім же струмі цей соленоїд без сердечника в повітрі (чи, точніше, у вакуумі). Якщо порожній соленоїд дає потік Фо, а заповнений — потік Ф, то, відповідно до теорії магнітної проникності, Ф= Фо. Таким чином, величина
J=Ф-Фо= ( - 1)*Фо являє собою той додатковий магнітний потік, що створюється намагніченою речовиною. Цю величину ми і будемо називати намагнічуванням даної речовини. Намагнічування залежить від магнітної проникності речовини і від величини потоку Фо, у якому виробляється намагнічування.
Звертається увага на те, що ми вибираємо соленоїд з визначеною площею перетину (1 див2 ), тому що величина потоку залежить від площі перетину соленоїда.
У розділі магнітна проникність, коли нас цікавило відношення потоків Ф/Фо, ця обставина не мала значення, тому що величина площі перетину входить і в чисельник і в знаменник цього відношення. Але за міру намагнічування ми вибрали різницю цих потоків; тому перетин соленоїда повинен бути цілком визначене і ми умовимося брати його рівним 1 див2 .
Вивчення залежності намагнічування заліза й інших феромагнітних матеріалів від напруженості зовнішнього магнітного поле виявляє ряд особливостей цих речовин, що мають важливе практичне значення. Візьмемо шматок ненамагніченого заліза, помістимо його в магнітне поле і будемо вимірювати намагнічування заліза J, поступово збільшуючи напруженість зовнішнього магнітного поле H. Намагнічування J зростає спочатку різко, потім усе повільніше і, нарешті, при значеннях H біля кількох сотень ерстед намагнічування перестає зростати:
всі елементарні струми вже орієнтовані, залізо досягло магнітного насичення. Графічно залежність величини J(H) в описуваному досвіді зображується кривої ОА на мал. 8. Горизонтальна частина цієї кривої поблизу А відповідає магнітному насиченню.
Досягши насичення, почнемо послабляти зовнішнє магнітне поле. При цьому намагнічування заліза зменшується, але убування це йде повільніше, ніж раніш йшло його зростання. Залежність між величинами J(H) у цьому випадку зображується галуззю кривий АС на мал. 8. Ми бачимо, таким чином, що тому самому значенню H можуть відповідати різні значення намагнічування (точки х, х и х" на мал. 8) у залежності від того, чи підходимо ми до цього значення з боку малих чи з боку великих значень H. Намагнічування заліза залежить, стало бути, не тільки від того, у якім полі даний шматок знаходиться, але і від попередньої історії цього шматка. Це явище одержало назву магнітного гистерезиса.
Коли зовнішнє магнітне поле стає рівним нулю, залізо продовжує зберігати деяке залишкове намагнічування, величина якого характеризується відрізком ОС нашого графіка. У цьому і полягає причина того, що з чи заліза сталі можна виготовляти постійні магніти.
Для подальшого розмагнічування заліза потрібно прикласти зовнішнє магнітне поле, спрямоване в протилежну сторону. Хід зміни намагнічування J при зростанні напруженості цього протилежно спрямованого поле зображується галуззю CDE кривої. Лише коли напруженість цього поле досягне визначеного значення (у нашому досвіді значення, зображуваного відрізком OD), залізо буде цілком розмагнічена (точка D). Таким чином, величина напруженості що розмагнічує поле (відрізок OD) є мірою того, наскільки міцно утримується стан намагнічування заліза. Її називають коэрцитивной силою. При зменшенні напруженості поле зворотного напрямку і потім при зростанні напруженості поле первісного напрямку хід зміни намагнічування заліза зображується галуззю кривої EC' A. При новому повторенні всього циклу розмагнічування, перемагнічування і повторного намагнічування заліза в первісному напрямку форма цієї кривої повторюється.
|
Мал. 8. Крива намагнічування залоза: залежність намагнічування I від напруженості зовнішнього магнітного поле H . Стрілки вказують напрямок процесу |
{Галузь ОА зображує хід намагнічування вихідного ненамагніченого матеріалу і не повторюється при повторних циклах. Для того щоб знову відтворити галузь ОА, необхідно привести матеріал у первісний ненамагнічений стан. Для цього досить, наприклад, сильно нагріти його.}
З мал. 8 видно, що ця крива, що зображує хід залежності намагнічування заліза J від напруженості зовнішнього поле H, має вид петлі. Її називають петлею гистерезиса для даного сорту чи заліза сталі. Форма петлі гистерезиса є найважливішою характемалтикою магнітних властивостей того чи іншого феромагнітного матеріалу.
Зокрема, знаючи її, ми можемо визначити такі важливі характемалтики цього матеріалу, як його магнітне насичення, залишкове намагнічування і коэрцитивную силу.

| . Мал. 9. Криві намагнічування для різних сортів заліза і сталі: / — м'яке залізо; 2 — загартована сталь; 3 — незагартована сталь. |
На мал. 9 показана форма петлі гистерезиса для різних сортів заліза і сталі. За формою цієї петлі можна вибрати матеріал, що щонайкраще підходить для тієї чи іншої практичної задачі. Так, для виготовлення постійних магнітів необхідний матеріал з великий коэрцитивной силою (сталь і особливо спеціальні сорти кобальтової сталі); для електричних машин і особливо для трансформаторів вигідні матеріали з дуже малою площею петлі гистерезиса, тому що вони, як виявляється, найменше нагріваються при перемагнічуванні; для деяких спеціальних приладів важливі матеріали, магнітне насичення яких досягається при малих полях і т.д.
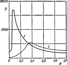
На відміну від тіл парамагнітних і діамагнітних для ферромагнетиків величина М = Ф/Фо не залишається постійної, а залежить від напруженості зовнішнього що намагнічує поле Н. Ця залежність для магнітного сплаву (пермаллоя) і для м'якого заліза показана на мал.10. Як ми бачимо, дана величина має малі початкові значення в слабких полях, потім наростає до максимального значення і при подальшому збільшенні поле в котушці знову зменшується.
Важливо відзначити, що при досягненні визначеної температури магнітна проникність феромагнітних тіл різко падає до значення, близького до 1. Ця температура, характерна для кожної феромагнітної речовини, зветься точки Кюрі. {Мова йде не про тім нагріванні під дією вихрових струмів Фуко, що випробують усі метали, поміщені в перемінне магнітне поле, але про нагрівання феромагнітних тіл, обумовленому їх перемагнічуванням і зв'язаному зі своєрідним внутрішнім тертям у перемагничиваемом речовині.}
При температурах вище точки Кюрі усі феромагнітні тіла стають парамагнітними. У заліза точка Кюрі дорівнює 767°С, у нікелю 360°С, у кобальту близько 1130°С. У деяких феромагнітних сплавів точка Кюрі лежить поблизу 100°С.

Мал. 10. Залежність від Н у магнітного сплаву пермаллоя (1) і в м'якого заліза (2).
Періодичне перемагнічування феромагнітного зразка зв'язано з витратою енергії на його нагрівання. Площа петлі гистерезиса пропорційна кількості теплоти, що виділяється в одиниця об'єму ферромагнетика за один цикл перемагнічування.
При температурах нижче точки Кюрі феромагнітний зразок розбитий на малі області мимовільної (спонтанної) однорідної намагніченості, називані доменами. Лінійні розміри доменів порядку (10-5 — 10-4 м). Усередині кожного домена речовина намагнічена до насичення .
Під час відсутності зовнішнього магнітного поле магнітні моменти доменів орієнтовані в просторі так, що результуючий магнітний момент розмагніченого зразка дорівнює нулю.
Намагнічування феромагнітного зразка в зовнішнім магнітному полі складається, по-перше, у зсуві границь доменів і росту розмірів тих доменів, вектори магнітних моментів яких близькі в напрямку до магнітної індукції В поле, і, по-друге, у повороті магнітних моментів цілих доменів по напрямку поле В. У досить сильному магнітному полі досягається стан магнітного насичення, коли весь зразок намагнічений по полю і його намагніченість J не змінюється при подальшому збільшенні В.
Виміру гіромагнітного відношення для ферромагнетиків показали, що елементарними носіями магнетизму в них є спінові магнітні моменти електронів . У сучасній квантово-механічній теорії феромагнетизму пояснена природа мимовільної намагніченості ферромагнетиків і природа виникнення сильного внутрішнього поле .
Феромагнітними властивостями можуть володіти кмалтали речовин, атоми яких мають не заповнені електронами внутрішні оболонки , так що проекція результуючого спінового магнітного моменту на напрямок магнітного поле відмінна від нуля. За певних умов завдяки обмінній взаємодії між електронами сусідніх атомів, що має особливу квантово-механічну природу, виявляється стійким такий стан ферромагнетика, коли спини електронів всіх атомів у межах одного домена орієнтовані однаково. У такий спосіб виникає спонтанне намагнічування доменів до насичення. При нагріванні ферромагнетика до точки Кюрі тепловий рух руйнує області спонтанної намагніченості і речовина утрачає свої особливі магнітні властивості.
При відсутності зовнішнього магнітного поле магнітні моменти окремих доменів орієнтовані хаотично і компенсують один одного, тому результуючий магнітний момент ферромагнетика дорівнює нулю і ферромагнетик не намагнічений. Зовнішнє магнітне поле орієнтує по полю магнітні моменти не окремих атомів, як це має місце у випадку парамагнетиків, а цілих областей спонтанної намагніченості. Тому з ростом Н намагніченість J і магнітна індукції У вже в досить слабких полях ростуть дуже швидко. Цим порозумівається також збільшення м ферромагнетиків до максимального значення в слабких полях. Експерименти показали, що залежність У від Н не є такий плавний, а має східчастий вид. Це свідчить про те, що усередині ферромагнетика домени повертаються по полю стрибком.
При ослабленні зовнішнього магнітного поле до нуля ферромагнетики зберігають залишкове намагничение, тому що тепловий рух не в змозі швидко дезорієнтувати магнітні моменти настільки великих утворень, якими є домени. Тому і спостерігається явище магнітного гистерезиса. Для того щоб .ферромагнетик розмагнітити, необхідно прикласти коэрцитивную силу; розмагнічуванню сприяють також струшування і нагрівання ферромагнетика. Точка Кюрі виявляється тією температурою, вище якої відбувається руйнування доменної структури.
Існування доменів у ферромагнетиків доведено експериментально. Прямим експериментальним методом їхнього спостереження є метод порошкових фігур. На ретельно відполіровану поверхню ферромагнетика наноситься водяна суспензія дрібного феромагнітного порошку (наприклад, магнетиту). Частки осідають переважно в місцях максимальної неоднорідності магнітного поле, тобто на границях між доменами. Тому осілий порошок окреслює границі доменів і подібну картину можна сфотографувати під мікроскопом. Лінійні розміри доменів виявилися рівними lO-4 —lO-2 див.
Подальший розвиток теорії феромагнетизму Френкелем і Гейзенбергом, а також ряд експериментальних фактів дозволили з'ясувати природу елементарних носіїв феромагнетизму. В даний час установлено, що магнітні властивості ферромагнетиків визначаються спіновими магнітними моментами електронів. Установлено також, що феромагнітними властивостями можуть володіти тільки кмалталічні речовини, в атомах яких маються недобудовані внутрішні електронні оболонки з нескомпенсованими спинами. У подібних кмалталах можуть виникати сили, що змушують спінові магнітні моменти електронів орієнтуватися паралельно один одному, що і приводить до виникнення областей спонтанного намагнічення. Ці сили, називані обмінними силами, мають квантову природу — вони обумовлені хвильовими властивостями електронів.
Тому що феромагнетизм спостерігається тільки в кмалталах, а вони мають анізотропію, то в монокмалталлах ферромагнетиків повинна мати місце анізотропія магнітних властивостей (їхня залежність від напрямку в кмалталі). Дійсно, досвід показує, що в одних напрямках у кмалталі його намагніченість при даному значенні напруженості магнітного поле найбільша (напрямок легчайшего намагнічення), в інші — найменша (напрямок важкого намагнічення). З розгляду магнітних властивостей ферромагнетиків випливає, що вони схожі на сегнетоэлектрики .
Існують речовини, у яких обмінні сили викликають антипаралельну орієнтацію спінових магнітних моментів електронів. Такі тіла називаються антиферромагнетиками. Їхнє існування теоретично було передвіщено Л. Д. Ландау. Антиферромагнетиками є деякі з'єднання марганцю (Mn, Mn2 ),заліза (Fe, Fe2 ) і багатьох інших елементів. Для них також існує антиферомагнітна точка Кюрі (точка Нееля*), при якій магнітне упорядкування спінових магнітних моментів порушується й антиферромагнетик перетворюється в парамагнетик.
Останнім часом велике значення придбали напівпровідникові ферромагнетики-феррити, хімічні сполуки типу Me*Fe2 O3 , де Me—ион двовалентного металу (Мn, З, Ni, Сu, Mg, Zл, Cd, Fe). Вони відрізняються помітними феромагнітними властивостями і великим питомим електричним опором (у мільярди раз більшим, ніж у металів). Феррити застосовуються для виготовлення постійних магнітів, ферритових антен, сердечників радіочастотних контурів, елементів оперативної пам'яті в обчислювальній техніці, для покриття плівок у магнітофонах і відеомагнітофонах і т.д.
Властивості ферромагнетиків і якісні основи природи феромагнетизму
Особливий клас магнетиків утворюють речовини, у яких магнітна проникність у сотні і тисячі разів перевищує магнітну проникність звичайних матеріалів. Ці речовини одержали назва ферромагнетиків. До них відносяться залізо, нікель, кобальт і їхні з'єднання і сплави. Іншою відмінною рисою ферромагнетиков є те, що їхня намагніченість J залежить від Н нелінійно, причому при великих полях настає стан магнітного насичення (мал.2). Оскільки залежність J від Н нелинійна, то і магнітна сприйнятливість m залежить від напруженості (мал.2). Крім нелінійної залежності між J і Н (або між В и Н) для ферромагнетиків характерно також наявність явища гистерезиса (мал.3). Це явище полягає в тім , що процес намагничения ферромагнетика необоротний у більшій своїй частині, тому крива намагничения не збігається з кривій размагничения. Якщо спочатку розмагнічений зразок намагнітити в поступово зростаючому магнітному полі по кривій 0-1 (крива первісного намагничения), а потім зменшити напруженість магнітного поля, то індукція У випливає не по первісній кривій 0-1, а змінюється відповідно до кривій 1-2.
Коли напруженість полючи стане рівної нулеві (крапка 2), намагничення не зникає і характеризується величиною Вr (відрізок 0-2 на мал.3), що називається залишковою індукцією. Намагніченість має при цьому значення Jr, називане залишковою намагніченістю. Намагніченість звертається в нуль лише під дією полючи Нc (відрізок 0-3 на мал. 3) зворотні напрямки . Величина напруженості полючи Нс називається коерцитивной силою ферромагнетика. Існування залишкової намагніченості уможливлює виготовлення постійних магнітів. Постійний магніт тим краще зберігає свої властивості, чим більше величина коерцитивної сили матеріалу, з якої він виготовлений.
Дослідами Эйнштейна і ДЕ Гааза було доведено, що відповідальним за магнітні властивості ферромагнетиків є власні (спінові ) магнітні моменти електронів (а не орбітальні , як у диа- і парамагнетиков). Атоми елементів, що володіють феромагнітними властивостями (Fe, Co, Nі), мають деяку особливість. У них порушується послідовність заповнення місць в оболонках і шарах: перш ніж цілком "забудується" нижня оболонка, починається заповнення вище розташованої оболонки. У результаті електронні спіни деяких внутрішніх оболонок виявляються нескомпенсиро- ванними. Таким чином, феромагнітними властивостями можуть володіти тільки такі речовини, в атомах яких маються недобудовані внутрішні електронні оболонки. Крім того, дослідження феромагнітних кристалів дозволили виявити в них області з мимовільної (спонтанної ) намагніченістю - так називані домени, лінійні розміри яких 1-10 мкм (мал.).
|
|
Мал. Доменна структура ферромагнетика:
а) під час відсутності зовнішнього поля,
б) при наявності зовнішнього поля
У межах кожного домена нескомпенсовані спини орієнтовані в одному напрямку , тобто речовина в домені знаходиться в стані магнітного насиченні і володіє визначеним магнітним моментом. Напрямку цих моментів для різних доменов різні, так що під час відсутності зовнішнього поля сумарний момент завжди дорівнює нулю.
Сили, що змушують магнітні моменти електронів вибудовуватися паралельно один одному, називаються обмінними. Їхнє пояснення в рамках класичної фізики неможливо (дається тільки квантовою механікою). Якщо помістити ферромагнетики в зовнішнє магнітне поле, то спочатку, при слабких полях, спостерігається зсув границь доменів (область 0-а кривій намагничения на мал.3). У результаті цього відбувається збільшення розмірів тих доменов, магнітні моменти яких складають з напрямок полючи Н менший кут за рахунок доменов, у яких кут між Pm і H більше . При збільшенні Н має місце поворот магнітних моментів доменів у напрямку полюя (область А-1 кривій намагничения на мал.3). При цьому моменти електронів у межах домена повертаються одночасно, без порушення паралельності один одному. Ці процеси є необоротними, що і служить причиною гистерезиса.
Для кожного ферромагнетика мається визначена температура Тс, при якій області спонтанного намагничения розпадаються і речовина утрачає феромагнітні властивості (стає звичайним парамагнетиком). Ця температура називається крапкою Кюрі.
Точки Кюрі деяких речовин:
|
||||||||||||||||||||||||||
Розглянуто залежність магнітної проникності від напруженості магнітного поля для ферромагнетиків.

Приведені значення температури Кюрі для ряду магнетиків.
Вивчення гистерезиса феромагнітних матеріалів
Дозволяє одержувати петлю гистерезиса феромагнітних матеріалів; визначати коерцетивну силу і роботу перемагнічування за один цикл.
Основи теорії феромагнетизму.
На відміну від діамагнетизму і парамагнетизму, що є властивостями окремих чи атомів молекул речовини, феромагнітні властивості речовини порозуміваються особливостями його кмалталічної структури. Атоми заліза, якщо взяти їх, наприклад, у пароподібному стані, самі по собі диамагнитны чи лише слабко парамагнитні. Феромагнетизм є властивість заліза у твердому стані, тобто властивість кмалталів заліза.
У цьому нас переконує ряд фактів. Насамперед на це вказує залежність магнітних властивостей заліза й інших феромагнітних матеріалів від обробки, що змінює їхня кмалталічна будівля (загартування, отжиг). Далі виявляється, що з парамагнітних і діамагнітних металів можна виготовити сплави, що володіють високими феромагнітними властивостями. Такий, наприклад, сплав Гойслера, що майже не уступає по своїх магнітних властивостях залозу, хоча він складається з таких слабко магнітних металів, як мідь (60%), марганець (25%) і алюміній (15%). З іншого боку, деякі сплави з феромагнітних матеріалів, наприклад сплав з 75% заліза і 25% нікелю, майже не магнитны. Нарешті, самим вагомим підтвердженням є те, що при досягненні визначеної температури (точка Кюрі) усі феромагнітні речовини утрачають свої феромагнітні властивості.
Феромагнітні речовини відрізняються від парамагнітних не тільки дуже великим значенням магнітної проникності і її залежністю від напруженості поле, але і дуже своєрідним зв'язком між намагнічуванням і напруженістю що намагнічує поле. Ця особливість знаходить своє вираження в явищі гистерезиса з усіма його наслідками: наявністю залишкового намагнічування і коэрцитивной сили.
У чому причина гистерезиса? Вид кривих мал. 8 і 9, - розходження між ходом наростання намагнічування ферромагнетика при збільшенні поле Н и ходом його розмагнічування при зменшенні Н,- показує, що при зміні намагнічування ферромагнетика, тобто при чи збільшенні зменшенні напруженості зовнішнього поле, орієнтація і дезорієнтація елементарних магнітів не відразу випливає за полем, а відбувається з відомим відставанням. Докладне вивчення процесів намагнічування і розмагнічування заліза й інших феромагнітних речовин показало, що феромагнітні властивості речовини визначаються не магнітними властивостями окремих чи атомів молекул, що самі по собі парамагнитны, а намагнічуванням цілих областей, називаних доменами,- невеликих ділянок речовини, що містять дуже велика кількість атомів.
Взаємодія магнітних моментів окремих атомів ферромагнетика приводить до створення надзвичайно сильних внутрішніх магнітних полів, що діють у межах кожної такої області і що вибудовують, у межах цієї області, всі атомні магнітики паралельно один одному, як показано на мал. 11. Таким чином, навіть при відсутності зовнішнього поле феромагнітна речовина складається з ряду окремих областей, кожна з який мимовільно намагнічена до насичення. Але напрямок намагнічування для різних областей по-різному, так що внаслідок хаотичності розподілу цих областей тіло в цілому виявляється у відсутності зовнішнього поле ненамагииченным.
Під впливом зовнішнього поле відбувається перебудова і перегрупування таких «областей мимовільного намагнічування», у результаті якої одержують перевагу ті області, намагнічування яких паралельно зовнішньому полю, і речовина в цілому виявляється намагніченим.
Один із прикладів такої перебудови областей мимовільного намагнічування показаний на мал. 11. Тут схематично зображені дві суміжні області, напрямки намагнічування яких перпендикулярне друг до друга.
При накладенні поле Н частина атомів області В, у який намагнічування перпендикулярне до поля, на границі її з областю А, у якій намагнічування рівнобіжне полю, повертається, так що напрямок їхнього магнітного моменту стає рівнобіжним полю. У результаті область А , намагнічена паралельно зовнішньому полю, розширюється за рахунок тих областей, у яких напрямок намагнічування утворить великі кути з напрямком поле, і виникає переважне намагнічування тіла по напрямку зовнішнього поле. У дуже сильних зовнішніх полях можливі і повороти напрямку орієнтації всіх атомів у межах цілої області.
При знятті (зменшенні) зовнішнього поле відбувається зворотний процес розпаду і дезорієнтації цих областей, тобто розмагнічування тіла. Через великі в порівнянні з атомами розмірів «областей мимовільного намагнічування» як процес орієнтації їх, так і зворотний процес дезорієнтації відбувається з набагато великими утрудненнями, чим установлення чи орієнтації дезорієнтації окремих чи молекул атомів, що має місце в парамагнітних і діамагнітних тілах. Цим і порозумівається відставання намагнічування і розмагнічування від зміни зовнішнього поле,
т. е. гистерезис феромагнітних тел.
|
|
| Мал. 11. Схема, що ілюструє орієнтацію молекулярних магнітів у «областях мимовільного намагнічування» А и В. а) Зовнішнє магнітне поле відсутнє; б) під дією зовнішнього магнітного поле Н області А и В перебудовуються. Ефект Баркгаузена Баркгаузена ефект - стрибкоподібна зміна намагніченості ферромагнетиків при безперервній зміні зовнішніх умов, наприклад магнітного поля. При повільному намагнічуванні феромагнітного зразка у вимірювальній котушці, надягнутої на зразок, у ланцюзі котушки з'являються імпульси струму , обумовлені стрибкоподібною зміною намагніченості М зразка. Особливо яскраво Баркгаузена ефект виявляється в магніто-м'яких матеріалах на крутих ділянках кривої намагнічування і петлі гистерезиса, де доменна структура змінюється в результаті процесів зсуву границь феромагнітних доменів. Наявні у ферромагнетику різного роду неоднорідності (сторонні включення , дислокації, залишкові механічні напруги і т.д.) перешкоджають перебудові доменної структури. Коли границя домена, зміщаючи при збільшенні магнітного поля Н, зустрічає перешкоду (наприклад, стороннє включення ), вона зупиняється і залишається нерухомої при подальшому збільшенні полючи. При деякому зрослому значенні поля границя переборює перешкоду і стрибком переміщається далі, до чергової перешкоди, вже без збільшення поля. Через подібні затримки крива намагнічування ферромагнетика має східчастий характер (мал.). Залежність намагніченості від магнітного поля
мал. Стрибкоподібна зміна намагніченості може бути викликана не тільки полем, але іншими зовнішніми впливами (наприклад, плавною зміною напруг або температури), при яких відбувається зміна доменної структури зразка. Ефект Баркгаузена - один з безпосередніх доказів доменної структури ферромагнетиків, він дозволяє визначити обсяг окремого домена. Для більшості ферромагнетиків цих обсягів дорівнює 10-6-10-9 див 3. Вивчення Баркгаузена ефекту дозволило краще зрозуміти динамікові доменної структури і встановити зв'язок між числом стрибків і основних характеристик петлі гистерезиса (коэрцитивной силою і т.д.). За аналогією з ефектами Баркгаузена у ферромагнетиках стрибки переполяризації в сегнетоэлектриках також називаються стрибками Баркгаузена. Технічна реалізація ефекту Баркгаузена Схема технічної реалізації представлена на мал. Схема спостереження ефекту Баркгаузена
Позначення: 1 - котушка з феромагнітним стрижнем; 2 - амперметр; 3 - ємність ; 4 - реостат з опором R(t); U(t) - імпульсна напруга ; L(t) - індуктивність котушки 1.
При зміні R(t) стрибкоподібно змінюється намагніченість феромагнітного стрижня, що стрибкоподібно змінює частоту коливань стрілки амперметра (суперпозиція частот коливань). Застосування ефекту Використовується при визначенні обсягів доменов у ферромагнетиків. |
Феромагнітні матеріали
Феромагнітні матеріали поділяються на двох груп: магнітно-м'які і магнітно-тверді.
а) Магнітно-м'які матеріали (таблиця №1) застосовуються в якості магнитопроводів (сердечників) у пристроях і приладах , де магнітний потік постійний (полюсні башмаки і сердечники вимірювального механізму) або перемінний (наприклад, магнитопровід трансформатора). Вони мають низьке значення коерцитивной сили Hc (нижче 400А/м), високою магнітною проникністю і малими утратами від гистерезиса. До цієї групи матеріалів відносяться : технічне залізо і низкоуглеродистые стали, листові електротехнічні сталі, железоникелевые сплави з високою проникністю (пермаллои) і оксидні ферромагнетики - феррити й оксифери.
Технічне залізо зі змістом вуглецю до 0,04%, вуглеродні сталі і чавун широко застосовуються для магнитопроводів, що працюють в умовах постійних магнітних полів . Технічне залізо має високу індукцію насичення (до 2,2 Тл), високою магнітною проникністю і низкою коерцитивной силою.
Електротехнічні сталі - це сплави заліза з кремнієм (1-4%). Шляхом зміни змісту кремнію і застосуванням різних технологічних прийомів виходять сталі із широким діапазоном магнітних властивостей. Кремній поліпшує властивості технічного заліза: збільшуються початкової і максимальна магнітні проникності, зменшується коерцитивная сила, зменшуються втрати енергії від гистерезиса, збільшується питомий електричний опір, що важливо для зменшення так званих вихрових струмів , що виникають при циклічно змінюється магнітному полі і що нагрівають магнитопровод.
Сталі, з низьким змістом кремнію, мають низьку магнітну проникність, велику індукцію насичення і великих питомих втрат, вони застосовуються в установках і приладах ланцюгів постійного струму або перемінного струму низької частоти. Сталі з високим змістом кремнію застосовуються в тих випадках, коли потрібно мати високу магнітну проникність у слабких і середніх полях і малі утрати від гистерезиса і вихрових струмів , унаслідок чого вони можуть застосуються для магнитопроводов, що працюють при підвищеній частоті струму .
Розглянемо деякі види магніто-м'яких матеріалів, що найбільше часто застосовуються в промисловості.
Пермаллои - це сплави різного процентного вмісту заліза і нікелю, а деякі з них , крім того, молібдену, хрому, кремнію, алюмінію. Пермаллои мають високу магнітну проникність, у 10-15 разів більшу, ніж у листової електротехнічної сталі. У цих сплавах індукція насичення досягається при малих напряженностях полючи (від десятих часток до декількох сотень амперів на метр). Одні з них мають низьку індукцію насичення Bs (близько 0,6 -0,8 Тл), інші - відносно високу (1,3 - 1,6 Тл). До першої групи відносяться высоконикелевые пермаллои, що наприклад містить 79% нікелю і 3,8% молібдену, у якого Мн=22000; Мmax=120000; Bs=0,75Тл. До другої групи відносяться низконикелевые пермаллои, що наприклад містять 45% нікелю, у якого Мн=2500; Мmax=23000; Bs=1,5Тл.
У пермаллоів із прямокутною петлею гистерезиса (мал. 6) ступінь прямокутности петлі характеризується відношенням залишкової індукції Br до максимальної індукції Bmax, під якою розуміють індукцію при напруженості поля, у 5-10 разів перевищуючу коерцитивну силу. Це відношення досягає 0,85-0,99. Коерцитивна сила таких пермаллоів лежить у межах від 1 до 30 А/м.
Магнітні властивості пермаллоів у сильному ступені залежать від технології їхнього виготовлення.
У таблиці приведені дані про магнітні властивості деяких магніто-м'яких матеріалах. Такі матеріали намагнічуються у відносно слабких магнітних полях і мають високі значення початкової µн і максимальної µmax магнітних проникностей, малим значенням коерцитивної сили Hc . Значення Bmax - максимальної магнітної індукції - відповідає намагніченості насичення ферромагнетиків.
Магнітні властивості деяких магніто-м'яких матеріалів
| Ферромагнетик |
Вmax Tл |
µн |
µmax |
Нс А/м |
Властивості |
| Альсифер |
1,1 |
20000 |
117000 |
1,8 |
Відрізняється механічною твердістю і крихкістю. Володіє малої коер-ою силою і високими значеннями магнітних проникностей. Питомий ел. опір 0,6 мком·м. Йде на виготовлення магнитопро-д, корпусів приладів . |
| Пермаллои високо - нікелеві |
0,70-0,75 |
14000-50000 |
60000-300000 |
0,8-4,8 |
Сплав, що володіє високою магнітною проникністю і невеликою коер-ою силою. Застосовується для виготовлення сердечників слабкострумових транс-ів звукового діапазону, дроселів і т.д. |
| Електротехнічна сталь |
2 |
200-600 |
3000-8000 |
9,6-64,0 |
Сталь електротехнічна (тран-а) використовується для виготовлення сердечників транс-ов, дроселів, эл. машин і т.д. |
| Ферриты нікель-цинкові і марганець-цинкові |
0,18-0,40 |
100-6000 |
3000-10000 |
8-120 |
|
| Залізо (технічно чисте , хв. у домішок) |
2,16 |
250 |
7000 |
64 |
|
| Магнитопроводы ГАММАМЕТ® 412А |
1,12 |
600 000 |
1,2 |
Область застосування: магнітні підсилювачі, імпульсні трансформатори, дроселі насичення, магнітні ключі. Температура Кюрі 610 °C Щільність: 7400 кг/м3 Питоме электросопротивление: 1,25•10-6 Ом•м |
У таблиці приведені дані про магнітні властивості деяких магніто-м'яких матеріалах. Такі матеріали намагнічуються у відносно слабких магнітних полях і мають високі значення початкової µн і максимальної µmax магнітних проникностей, малим значенням коэрцитивной сили Hc . Значення Bmax - максимальної магнітної індукції - відповідає намагніченості насичення ферромагнетиків
б) Магнітно-тверді матеріали (таблиця №2) призначені для виготовлення постійних магнітів усілякого призначення. Ці матеріали характеризуються великий коерцитивною силою і великою залишковою індукцією.
До магнітно-твердих матеріалів відносяться : вуглеродні, вольфрамові, хромисті і кобальтові сталі; їхній коерцитивная сила 5000-8000 А/м, залишкова індукція 0,8 - 1Тл. Вони мають ковкість, піддаються прокатці, механічній обробці і випускаються промисловістю у виді смуг або аркушів.
До магнітно-твердих матеріалів, що володіють кращими магнітними властивостям, відносяться сплави: альни, альниси, альнико й ін. Вони характеризуються коэрцитивной силою Hc =20 000*60 000 А/м і залишковою індукцією Br=0,4*0,7 Тл.
Магнітні властивості деяких магніто-твердих матеріалів
У таблиці приведені основні дані про магнітні властивості деяких магніто-твердих матеріалів. Ці матеріали намагнічуються в порівняно сильних магнітних полях і мають великі значення коерцитивної сили Hc, великою залишковою магнітною індукцією Br, великими значеннями щільності енергії магнітного поля ω=Br ּHc і порівняно малими значеннями магнітної проникності.
| Ферромагнетик |
Нс , А/м |
Вr , Tл |
ωmax , Дж/м3 |
Властивості |
| Альни-3 |
40000 |
0,5 |
7200 |
Сплави мають великі значення коэрцитивной сили і залишковою індукцією. Щільність 6900 кг/м3 (альни) і 7100 кг/м3 (альнико). Застосовуються для виготовлення литих постійних магнітів. |
| Альнико-15 |
48000 |
0,75 |
12000 |
|
| Альнико-18 |
52000 |
0,90 |
19400 |
|
| Магнико |
40000 |
1,23 |
32250 |
Высококоерцитивний сплав, щільністю 7000кг/м3. Сплав використовується для виготовлення постійних магнітів. Магніти з магнико при рівномірній магнітній енергії в 4 рази легше магнітів зі сплаву альни. |
Експериментальне вивчення властивостей ферромагнетик і в.
Великий внесок в експериментальне вивчення властивостей ферромагнетиков вніс А. Г. Столетов. Запропонований ним експериментальний метод полягав у вимірі магнітного потоку Фm у феромагнітних кільцях за допомогою балістичного гальванометра.
Тороід, первинна обмотка якого складалася з N1 витків, мав сердечник з досліджуваного матеріалу (наприклад, відпаленого заліза). Вторинна обмотка з N2 витків була замкнута на балістичний гальванометр G (мал. А). Обмотка N1 включалася в ланцюг акумуляторної батареї Б. Напруга , прикладена до цієї обмотки, а, отже, і силу струму І1 у ній можна було змінювати за допомогою потенціометра R1. Напрямок струму змінювалося за допомогою комутатора К.

При зміні напрямку струму в обмотці N1 на протилежне, у ланцюзі обмотці N2 виникав короткочасний індукційний струм і через балістичний гальванометр проходив електричний заряд q , що дорівнює відношенню узятого зі зворотним знаком зміни потокосцепления вторинної обмотки до електричного опору R у ланцюзі гальванометра:
Якщо сердечник тонкий , а площа поперечного переріза дорівнює S, то магнітна індукція полюя в сердечнику
Напруженість магнітного поля в сердечнику обчислюється по наступній формулі
![]() |
:

де Lср - середня лінія сердечника. Знаючи B і H можна знайти намагніченість.
Розглянемо ще один спосіб експериментального вивчення властивостей ферромагнетиков (на наш погляд один з найбільш наочних).
Даний метод аналогічний попередній , але відмінність полягає в тому, що в місце гальванометра застосовується електронний осциллограф. За допомогою осциллографа Осц (див. нижче схему) ми одержуємо наочне підтвердження явища магнітного гистерезиса, спостерігаючи петлю на екрані приладу .
Розглянемо пристрій експериментальної установки .

Напруга знімається з потенціометра Rр пропорційно намагнічує струм І, а отже, напруженості поля в експериментальному зразку Эо. Далі, сигнал, що знімається з реостата Rр, подається на вхід (Х), тобто на пластини горизонтального відхилення осциллографа.
З входу інтегруючого ланцюжка (пунктирний прямокутник на схемі) знімається напруга Uc, що пропорційно швидкості зміни магнітної індукції, тобто подається на вхід (Y) осциллографа, пластини вертикального відхилення .
Ферромагнетики без металів?
Відомо, що магнітними властивостями володіє так названа тріада залізо - кобальт - нікель, ще деякі метали і сплави. Властивість феромагнетизму, власне, і одержало назву від заліза, що очолює цю групу. Однак у металів істотний недолік : вони важкі ! І хто б відмовився від магнітних матеріалів легше? Стабільні при звичайній кімнатній температурі і магнітні властивості, що зберігають, невиразно довгий час, вони могли б знайти широкий спектр застосування: від створення "невагомих" електромоторів до розробки нових методів збереження інформації.
За останні роки експериментатори не раз виявляли слабкі феромагнітні властивості в органічних полімерів. Звичайно, для практичного застосування в якості "магнітів" такі з'єднання не годили , однак, як говориться, слід був узятий... І от у 1991 році дві групи вчених практично одночасно (з інтервалом у якусь пару місяців) обнародували отримані ними цікаві результати.
Хімікам Токійського університету на чолі з Мінорові Киносита вдалося синтезувати феромагнітну органічна сполука тільки з легких елементів! У його склад входять вуглець, водень, азот і кисень. Це органічний кристал, за структурою стосовний до гетероциклическим з'єднань . Виразна назва "паранитрофенилнитронилнироксид", на щастя , у побутовому хімічному побуті скорочують до скромного символу p-NPNN. На думку Кунио Авага, одного з творців нової речовини, його феромагнітні властивості порозуміваються наявністю в молекулах p-NPNN так званих непарних електронів, внаслідок чого ці молекули - з хімічної точки зору - поводяться аналогічно іонам металів. У результаті взаємодії спинов непарних електронів останні вступають у "феромагнітне спарювання", орієнтуючи молекули речовини в одному напрямку . Таким чином, магнітні властивості отриманого органічного кристала залежать від способу "упакування" складових його молекул. Узагалі ж для більшості твердих органічних речовин характерно зовсім інше - їхньої молекули вступають у "антиферомагнітне спарювання", так що p-NPNN у своєму роді унікальний.
Хімічна формула ферромагнетика без металу. Відзначено непарні електрони, взаємодія яких додає речовині магнітні властивості (зв'язок N-0).
Але... завжди є своє "але". По-перше, магнітні властивості p-NPNN виявляються при температурі нижче 0,65 ДО (кімнатного її не назвеш). По-друге, його феромагнетизм усе-таки слабкий. Розроблювачі кажуть:
створити сильний магніт тільки з органічного матеріалу, без включення металів, "у принципі досить складно".
Група хіміків зі США, очолювана Джоэлем Міллером, синтезувала органометаллический ферромагнетик на основі ванадію й органічної групи тет-рацианоэтилена. Він зберігає магнітні властивості майже до 350 ДО, що відповідає 77° С, і температурний критерій, отже, дотриманий... На жаль, без "але" не обійшлася й тут: речовина виявилося вкрай нестабільним і при взаємодії з повітрям швидко розкладається навіть при звичайній кімнатній температурі.
Проте перші кроки по шляху до органічного магніту зроблені. І в цьому напрямку поспішно кинулися багато хімічних лабораторій...
Висновки
Останнім часом у зв'язку з мікромініатюризацією радіоелектронної апаратури виявляється великий інтерес до вивчення і викомалтання для обробки інформації специфічних доменних структур- смугових, циліндричних доменів (ЦМД) і ряду інших. Довгий час мікромініатюризація магнітних елементів і пмалтроїв значно відставав від мікромініатюризації напівпровідникових пмалтроїв. Однак, в останні роки тут досягнуті великі успіхи. Вони зв'язані з можливістю викомалтання одиничного магнітного домена як елементарного носія інформації. Звичайно таким носієм інформації є ЦМД. Він формується за певних умов у монокмалталлических чи пластинках плівках деяких ферритов.
Доменна структура таких тонких ферритових плівок дуже специфічна. Характер доменів і границь між ними істотно залежить від товщини плівки. При малій товщині через те, що фактор, що розмагнічує, у площині плівки на багато порядків менше, ніж у напрямку нормалі до неї, намагніченість розташовується паралельно площини плівки. У цьому випадку утворення доменів із протилежними напрямками намагнічування по товщині плівки не відбувається. У плівках, товщина яких більше деякої критичний, можливе утворення доменів смугової конфігурації. Плівка розбивається на довгі вузькі домени шириною від часток мікрометра до декількох мікрометрів, причому сусідні домени намагнічені в протилежних напрямках уздовж нормалі до поверхні. Такі магнітні плівки одержали назва «закритичних», їхня товщина знаходиться в межах 0,3-10 мкм
Додаток зовнішнього магнітного поле, спрямованого перпендикулярно площини плівки зі смуговими доменами, приводить до зміни розмірів і форми доменів. При збільшенні поле відбувається зменшення довжини смугових доменів, а потім найменший домен перетворюється в циліндричний. У деякому інтервалі значень зовнішнього магнітного поле в плівці можуть існувати як смугові домени, так і ЦДМ. Подальше збільшення поле приводить до того, що ЦДМ зменшується в діаметрі, а оставшиеся смугові домени перетворюються в циліндричні. ЦДМ можуть зникнути (коллапсировать) при досягненні деякого значення поле і, таким чином, уся плівка намагнітиться однородно. Уперше ЦДМ спостерігалися в плівках ортоферритов – речовинах, що мають хімічну формулу
Rfe3 , де R- рідкоземельный елемент.
ЦДМ можуть викомалтовуватися для створення запам'ятовуючих і логічних пмалтроїв. При цьому наявність домена в даній крапці плівки відповідає значенню «1», а відсутність –значенню «0». Для збереження і передачі інформації за допомогою ЦДМ потрібно уміти формувати домени, зберігати їх, переміщати в задану крапку, фіксувати їхня чи пмалутність відсутність (тобто зчитувати інформацію), а також руйнувати непотрібні ЦДМ.
Список використаної літератури :
1. Іродів И.Е. «Електромагнетизм». Основні закони
М. ; Лабораторія базових знань, 2000
2. Павлов П.В., Чубів А.Ф. “Фізика твердого тіла”
М. – Вища школа, 2000
3. Яворский Б.М., Детлаф А.А. “Довідник по фізиці”
М. –наука.Физматлит, 1996
4. Елементарний підручник фізики під ред. Ландсберга Г.С. “Електрика і магнетизм”
М. – Наука, 1975
5. Трофимова Т.И. “Курс фізики”
М. – Вища школа, 1999







