| Скачать .docx |
Реферат: Производство заготовок валов
Вариант 1
Опишите технологический процесс производства заготовок валов диаметром не ниже 150 мм. Вал ответственного назначения.
Для изготовления наиболее ответственных деталей, для которых требуется материал особой прочности в крупных сечениях, используются хромоникельмолибденованадиевые стали. Примерами таких деталей являются: поковки валов и цельнокованных роторов турбин, валы высоконапряженных трубовоздуходувных машин, детали редукторов и т.д.
Для работы в указанных условиях наиболее подходит материал – сталь 36Х2Н2МФА (легирующими элементами в данной стали являются Cr, Ni, Mo, и V), т.к. она обладает высокой прочностью, пластичностью и вязкостью и низким порогом хладноломкости. Этому способствует высокое содержание никеля. Молибден, присутствующий в стали, повышает ее теплоемкость. Эту сталь можно использовать при 400-500 о С. Также данная сталь обладает высокой прокаливаемостью (критический диаметр свыше 100 мм), что позволяет упрочнять термической обработкой крупные детали. Даже в очень больших сечениях (1000 – 1500 мм и более) в сердцевине после закалки образуется бейнит, а после отпуска сорбит.
Недостатками высоколегированных хромоникельмолибденованадиевых сталей являются трудность их обработки резанием и большая склонность к образованию флокенов. При их обнаружении бракуют всю партию паковок. Также данные стали являются дорогими и их следует применять только в том случае если более дешевые стали не обеспечивают требования, предъявляемые к изделию.
Так как в данном случае не указаны требования предъявляемые к изделию, то будем считать что свойства стали данного изделия соответствуют предъявляемым.
Химический состав, термическая обработка и механические свойства стали 36Х2Н2МФА
| Содержание элементов, % |
Термическая обработка |
Механические свойства |
Порог хладноломкости, о С |
Обрабатываемость резанием |
|||||||||||
| С |
Mn |
Cr |
Ni |
другие элементы |
Закалка (tзак , о С, среда) |
Отпуск (tзак , о С, среда) |
dв |
d0,2 |
d |
y |
aн, кгс*м/см2 |
tв |
tн |
HB |
Kn |
| кгс/мм2 |
% |
||||||||||||||
| 0,33-0,4 |
0,25-0,5 |
1,3-1,7 |
1,3-1,7 |
0,2-0,3 Mo 0,1-0,18 V |
850, масло |
600, воздух |
120 |
110 |
12 |
50 |
8 |
- 60 |
- 140 |
229 |
0,4 |
Буква А в конце марки означает, что сталь выплавлена по улучшенной технологии и со специально сниженным содержанием серы и фосфора (£ 0,030% каждого).
Производство чугуна
Исходные материалы: железные руды; флюс (СаСО3 ); топливо (кокс, мазут); огнеупорные материалы.
Железная руда - это природное минеральное сырье. Кроме железа в руде содержатся Al2 О3 , SiC2 (это пустая порода) и вредные примеси: мышьяк, фосфор более 1%.
Доменные флюсы нужны для удаления из печи тугоплавкой пустой породы, руды и золы топлива. Доменным флюсом служит известняк
СаС03 ®СаО + С02
Топливо в доменной печи является не только источником тепла, но и восстановителем железа из его оксидов. Кокс - это кусковое топливо, получаемое путем окисления коксуяцихся углей. Используют природный газ СН4 - метан, мазут, угольную пыль.
Схема подготовки руды и плавке
дробление ® обогащение ® окускование ® агломерация® ®скатывание.
Дробление необходимо для того, чтобы получить нужную степень измельчения, руды для плавни (10-30 мм), для агломерации – менее 5-8 мм.
Сортировку руды по классам крупности проводят на механических грохотах и установках типа гидроциклоп, где разделение частиц происходит под действием центробежной силы.
Основной способ обогащения - магнитный. Он состоит в том, что тонкоизмельченную руду помещают в магнитное поле, где магнитные частицы отделяются от пустой породы.
А: томерация - это окускование мелкого железного сырья путем спекания (puc.1).

Ркс.1. Схема процесса спекания:
1- колосниковая решетка; 2-постель; 3-слой агломерирующей шихты; 4-зона спекания; 5-слой агломерата
На решетку загружают слой агломерате – постель, чтобы не было просыпания мелкой шихта через зазоры. Затем засыпают агломерируемой шихты: железосодержащие компоненты (агло-руда) – 70%; флюсы (измельченный известняк) – 20%; топливо (мелкий кокс, угольная мелочь и пиль) – 5-7%; марганцевая руда 1%.
Агломерируемую шихту увлажняют (4-6%) и тщательно перемешивают во вращающихся барабанах, при этом шихта окомковывается, что повышает ее газопроницаемость. После зажигания газовыми горелками топлива начинается его горение (рис.2). Воздух для горения просасывается через слой шихты с помощью вакуумных устройств, остаточное давление 6-10 МПа.
Зона горения постепенно перемещается вниз до постели колосников. При температуре 1300-16ОО°С происходит спекание шихты в пористый продукт – агломерат. После сортировки на грохоте куски крупностью 10-40 мм использует для плавки, менее 10 ми направляют на переработку. При спекании из руды удаляются вредные принеси (сера, мышьяк), разлагаются карбонаты.
Окатывание. Шихта из измельченных концентратов, флюса, топлива увлажняется и при обработке во вращающихся барабанах, тарельчатых чашах, приобретает форму шариков - окатышей диаметром до 30 им. Окатыши высушивают и обжигают (1200-1350°С) на обжиговых машинах. Использование агломерата и окатышей исключает отдельную подачу флюса-известняка в доменную печь при плавке, т.к. флюс в необходимом количестве входит в их состав.
Выплавка чугуна
Чугун выплавляют в печах (рис.2) шахтного типа - доменных печах. Сущность процесса - восстановление оксидов железа, входящих в состав руды, оксидом углерода, водородом и твердым углеродом.
Доменная печь имеет до 40 мм стальной кожух, выложенный внутри огнеупорным шамотным кирпичом. Шамот получают из обожженной и сырой глины – это нейтральный по химическим свойствам (50-60% SiO2 30-45 % Al2 O3 ), наиболее распространенный и дешевый огнеупорный материал (толщина до 700 мм). Для уменьшения нагрузки на нижнюю часть печи ее верхнюю часть, начиная от распара, сооружают на стальном кольце с опорными колоннами. Нижнюю часть горна выкладывают из особо огнеупорных материалов - графитизированных блоков (толщина стенок до 1500 мм). Для повышения стойкости огнеупорной кладки в ней устанавливает металлические водяные холодильники (3/4 высоты печи)
|
|
Рис.2. Схема доменной печи;
I - чугунная летка; 2 -горн; 3- фурма; 4- заплечики;
5 -распар; 6 -шахта; 7 -колошник; 8- засыпной аппарат;
9 -шлаковая летка
Для выплавки 1 т чугуна расходуется 1,8 т офлюсованного агломерата, 500 кг кокса.
Печь загружают шихтовыми материалами по мере необходимости, непрерывно подают воздушное литье и удаляют доменные газы, периодически выпуская чугун и шлак.
Шихтовый материал загружает при помощи засыпного аппарата, шихту задают отдельными порциями по мере опускания протравляемых материалов. Навстречу им снизу вверх движется поток горячих газов, образующихся при сгорании топлива.
Горение топлива. В районе воздушных фурм происходит полное сгорание кокса: C + O2 = + Q и природного газа: CH4 + +2O2 =CO2 + 2H2 + Q. В фокусе горения температура 1800-2000°С. Продукты сгорания взаимодействуют с раскаленным коксом: CQ2 + C = 2CО-Q; H2 О(пар) + С(кокс) =Н2 +СО - Q . Образуется смесь восстановительных газов, в которых СО - главный восстановитель железа из его оксидов
Восстановление железа в доменной печи
Восстановителями являются оксид углерода CO2, твердый углерод и водород. Восстановлена твердым углеродом - прямое, газами - косвенное.
Косвенное восстановление происходит за счет углерода по реакции в шахте печи: 3Fe2 О3 + CO=2Fe2 О4 + CO2 + Q, Fe3 О4 + СО=3FeО+C02 -Q, FeO+CO=Fe+CO2 +Q. За счет СО и H2 восстанавливаются все высшие оксиды железа до низшего и 40-6О% металлического железа.
Прямое восстановление происходит твердым углеродом при температуре 950-1000° в зоне распара печи: FeO+ Cтв =Fe + CO-Q.
В доменной печи железо восстанавливается почти полностью. Потери со шлаком - 0,2-1%. Образование металлического железа начинается при 400-500°С (в верхней части шахты печи) и заканчивается при 1300-1400°С (в распаре,). В шахте печи наряду с восстановлением железа происходит его науглероживание по реакции: ЗFе + 2СО=Fe3 С + CO2 + Q, и образуется сплав железа с углеродом. С повышением содержания углерода (1,8–2%) температура плавления понижается до 1200-150°С. Стекая каплями в горн, расплав смывает куски раскаленного кокса и дополнительно науглероживается. При отекании сплава в горн в нем растворяются восстановленные Мn, Si, образуя сложный железоуглеродистый сплав - чугун (3,7-4% С). Его конечный состав устанавливается в горне и зависит от состава, свойства и количества шлака. Закись марганца MnO восстанавливается только прямым путем - твердым углеродом при 1100°С по реакции: МnО + С=Мn+СО-Q. Восстановление кремния из SiO3 - по реакции: SiO2 +2C=Si+CO-Q при I450°C. Фосфор восстанавливается СО, водородом, а также твердив углеродом.
Значение шлака очень велико, его состав и свойства определяют конечный состав чугуна. В районе распара образуется первичный шлак. При стенании вниз и накоплении в горне шлак существенно изменяет состав: в нем растворяются SiO2 , Al2 O3 . Для выплавки передельных чугунов, литейных и других всегда подбирают шлаковые режимы (исходя из определенных свойств получаемого чугуна). При выплавке передельного чугуна состав шлака: 40-50% СаО; 38-40% SiO2 ; 7-I0% Al2 O3 .
Продукты доменной плавки: передельный чугун, литейный чугун, доменные ферросплавы, шлак, колошниковый газ
Производство стали
Для производства высококачественных легированных сталей используют два основных способа: кислый мартеновский процесс и выплавка в электродуговых печах.
В мартеновских печах при выплавке легированных сталей, когда в ванну вводят значительное количество ферросплавов, охлаждается металл. Из-за трудности нагрева металлической ванны количество одновременно присаживаемых ферросплавов ограничивают 3% массы металла. Поэтому высоколегированные стали, за редким исключением, в мартеновских печах не выплавляют. Избегают выплавлять и стали с повышенным содержание тугоплавких элементов (вольфрам, молибден). Кроме этих недостатков, данный процесс обладает другими: экологические, опасность разрушения при охлаждении печи. В настоящее время, по ряду определенных причин, от данного способа получения стали отказываются.
Плавильные электропечи имеют преимущества по сравнению с другими плавильными агрегатами, так как в них можно получать высокую температуру металла, создавать окислительную, восстановительную, нейтральную атмосферу и вакуум, что позволяет выплавлять сталь любого состава, раскислять металл с образованием минимального количества неметаллических включений – продуктов раскисления. Поэтому электропечи используют для выплавки конструкционных, высоколегированных, инструментальных, специальных сталей и сплавов.
Нам необходимо получить высококачественную легированную сталь 36Х2Н2МФА, где "36" - среднее содержание углерода в сотых долях процента. Такую сталь целесообразнее получить в электродуговых печах (рис.3)
Сущностью любого металлургического передела чугуна в сталь является снижение содержания углерода и примесей путем их избирательного окисления и перевода в шлак и газы в процессе плавки.
Исходные материалы: передельный чугун и стальной лом (скрап), железная руда, окалина (источник О2 ), флюс-известняк - в основных печах, кварцевый песок - в кислых, топливо (электрический ток).
|
|
Рис.3. Схема электродуговой печи
Печь питается трехфазный переменный током и имеет три цилиндрических электрода из графитизированной массы. Между электродами и металлической шихтой под действием тока возникает электрическая дуга, электроэнергия превращается в теплоту, которая передается металлу и шлаку излучением. Рабочее напряжение 160-600 В, сила тока 1-1О кА. Во время работы печи длина дуги регулируется автоматически, путем перемещения электродов. Стальной кожух печи футерован огнеупорным кирпичом.
Печь загружают при снятом своде. Печь может наклоняться в сторону загрузочного окна и летки.
Производят плавку не углеродистой шихте. В печь загружают стальной лом – 90%, чушковый передельный чугун – до 10%, электродный бой, кокс, известь – 2-3%.
Опускают электроды и включают ток. При плавлении металл накапливается на поддоне печи. Во время плавления шихте кислородом воздуха, оксидами шихты и окалины окисляется железо, кремний, фосфор и частично углерод. Оксид кальция из извести и оксиды железа образуют основной железистый юлах, способствующий удалению фосфора из металла.
После нагрева металла и шлака до температуры 1500-1540o C в печь загружают руду и известь и проводят период "кипения"; происходит дальнейшее окисление углерода. Когда содержание углерода будет меньше заданного на 0,1%, кипение прекращают и удаляют шлак из печи. Затем удаляет серу и приступают н раскислению металла, доведению химического состава до заданного. Раскислёние проводит осаждением и диффузионным методом. После удаления шлака в печь подают силикомарганец и силикокальций - раскислители. Затем загружают известь, плавиковый шпат и шамотный бой. После расплавления флюсов и образования высокоосновного шлака на его поверхность вводят раскислительную смесь, углерод кокса и кремний ферросилиция, восстанавливают оксид железа в шлаке, содержание его в шлаке ниже, и кислород из металла переходит в шлак. По мере раскисления и понижения содержания FеО шлак становится белым. Раскисление под белым шлаком длится 30-60 мин.
Для определения химического состава металла берут пробы, затем в печь вводят легирующие элементы в виде ферросплавов для получения заданного химического состава металла. Порядок ввода определяется сродством легирующих элементов к кислороду. Конечное раскисление выполняют алюминием и силинокальцием и выпускают металл из печи в ковш, из которого его разливают в изложницы.
При использовании дуговых печей большой вместимости выплавка высококачественной конструкционной стали выполняется с использованием специальных технологий: вакуумирование стали, внепечная обработка синтетическим известково-глиноземистым шлаком, продувка аргоном и т.д.
Легированные и высококачественные стали разливают в слитки массой 500кг – 7т., а некоторые высоколегированные стали в слитки массой в несколько килограммов. Для обычных углеродистых сталей используют разливку сверху, а для легированных и высококачественных сталей используют разливку сифоном в изложницы.
В изложницах сталь затвердевает и получаются слитки, которые подвергают дальнейшей обработке. Поверхность слитка получается чистой.
Схема сифонной разливки стали в изложницы
Сталью заполняются одновременно несколько изложниц: сталь плавно, без разбрызгивания заполняет изложницы (меньше раковин и пустот, плен оксидов от брызг металла, затвердевающих на стенках изложницы)

Рис.4. Схема сифонной разливки стали в изложницы;
1 - ковш; 2 - жидкая сталь; 3 - центровой лигнин; 4 - огнеупорные трубы; 5 - изложницы; 6 - поддон; 7 - прибыльная надставка
Вакуумно-дуговой переплав для повышения качества металла

Процесс осуществляют в вакуумных дуговых печах с расходуемым электродом. Расходуемый электрод 3 изготовляют механической обработкой слитка. Его закрепляют на водоохлаждаемом штоке 2 и помещают в корпус 1 печи и далее в медную водоохлаждаемую изложницу 6. Из корпуса печи откачивают воздух до остаточного давления 0,00133 кПа.
При подаче напряжения между расходуемым электродом-катодом 3 и затравкой-анодом 8 возникает дуга. Выделяющаяся теплота расплавляет конец электрода; капли жидкого металла 4, проходя зону дугового разряда, дегазируются, заполняют изложницу и затвердевают, образуя слиток 7. Дуга горит между расходуемым электродом и жидким металлом 5 в верхней части слитка на протяжении всей плавки. Сильное охлаждение слитка и разогрев дугой ванны металла создают условия для направленного затвердевания слитка, вследствие чего неметаллические включения сосредотачиваются в верхней части слитка, а усадочная раковина в слитке мала. Такие слитки содержат мало газов, неметаллических включений, отличаются высокой равномерностью химического состава, повышенными механическими свойствами. Из слитков изготовляют ответственные детали турбин, двигателей, авиационных конструкций. Масса слитков достигает 50 т.
Получение заготовки.
Ковка – вид горячей обработки металлов давлением, при котором металл деформируется с помощью универсального инструмента. Металл свободно течет в стороны, не ограниченные рабочими поверхностями инструмента, в качестве которого применяют плоские или фигурные (вырезные) бойки, а также различный подкладной инструмент. Полученные заготовки называют поковками.
Ковка является единственно возможным способом изготовления тяжелых поковок (до 250т.) типа валов гидрогенераторов, турбинных дисков, коленчатых валов судовых двигателей, валов прокатных станов и т.д. Исходными заготовками для ковки тяжелых крупных паковок служат слитки массой до 320 т.
Процесс ковки состоит из чередования в определенной последовательности основных и вспомогательных операций. Каждая операция определяется характером деформирования и применяемым инструментом.
Высоколегированные стали склонны к интенсивному упрочнению, поэтому для их ковки целесообразнее использовать пресс, а не молот. Ввиду малой скорости деформирования на прессах разупрочняющие процессы, возврат и рекристаллизация, успевают произойти полнее, и упрочнение снижается. Ввиду того, что высоколегированные стали имеют пониженную пластичность, нужно выбирать такие приемы ковки, при которых значительно снижаются растягивающие напряжения.
Горячую деформацию применяют для обработки труднодеформируемых, малопластичных материалов и для изготовления крупных деталей. Каждый металл должен быть нагрет до вполне определенной температуры, чтобы не получить пережог и перегрев.
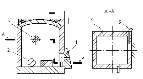
Нагревательные печи применяют для нагревания металла перед обработкой давлением. В печах теплота к заготовке передается главным образом конвекцией и излучением из окружающего пространства нагревательной камеры, выложенной огнеупорным материалом. Теплоту получают в основном сжиганием газообразного, реже жидкого, топлива (мазут).
Наиболее распространенным типом печей является камерная печь, в которой заготовки 2 укладывают на под 1 печи через окно 4 и после прогрева до заданной температуры извлекают через то же окно. Рабочее пространство печи нагревают сжиганием газа с помощью горелок 3, служащих для смешения газа с воздухом и подачи смеси в печь. Продукты сгорания отводят через дымоход 5 в рекуператор – теплообменник, в котором поступающий к горелкам воздух нагревается теплотой горячих уходящих газов. Подогрев воздуха до температуры 350 – 500 о С позволяет экономить до 25% топлива. Для нагрева крупных заготовок применяют камерные печи с выдвижным подом и специальные посадочные машины.

Рис.5 Камерная нагревательная печь
Протяжка – операция удлинения заготовки или ее части за счет уменьшения площади поперечного сечения. Протяжку производят последовательными ударами или нажатиями на отдельные участки заготовки, примыкающие один к другому, с подачей заготовки вдоль оси протяжки и поворотами ее на 90о вокруг этой оси. При каждом нажатии уменьшается высота сечения, увеличивается ширина и длина заготовки.
При протяжке круглого сечения используется вид протяжки с круга на круг (рис. 6) в вырезных бойках. Силы направленные к осевой линии заготовки способствуют более равномерному течению металла и устранению возможности образования осевых трещин.
Оборудование: гидравлические прессы – машины статического действия; продолжительность деформации на них составляет от единиц до десятков секунд. Металл деформируется приложением усилия от гидроцилиндра пресса.
Последовательность операций паковки устанавливают в зависимости от конфигурации паковки и технологических требований на нее.

Рис. 6 Протяжка с круга на круг в вырезных бойках.
Термическая обработка
Для устранения физической и химической неоднородности (сорбит, троостит, бейнит или мартенсит) и, как следствие, высокой твердости, созданных предыдущей обработкой, используют отжиг. В процессе отжига происходит уменьшение дендритной или внутрикристаллитной ликвации, которая повышает склонность стали, обрабатываемой давлением, к хрупкому разрушению, к анизотропии свойств и возникновению таких дефектов, как шиферность (слоистый излом) и флокены (тонкие внутренние трещины, наблюдаемые в изломе в виде белых овальных пятен). Нагрев при отжиге 1100 – 1200о С, так как только в этом случае более полно протекают диффузионные процессы, необходимые для выравнивания состава стали.
Общая продолжительность отжига (нагрев, выдержка и медленное охлаждение) больших садок металла достигает 5 – 100 ч. и более. В зависимости от состава стали и массы садки продолжительность выдержки составляет 8 – 20 ч.
Для удаления поверхностных дефектов слитки после отжига иногда подвергают нагреву при 670 – 680о в течение 1 – 16 ч., что снижает твердость.
Данная сталь подлежит дальнейшей закалке и высокому отпуску. Закалка применяется для повышения прочности, твердости, получения достаточно высокой пластичности и вязкости, а для ряда деталей – высокой износостойкости.
Закалка - термическая обработка, заключающаяся в нагревании стали до температуры растворения избыточных фаз, выдержке и последующем охлаждении.
Продолжительность нагрева заготовки должна обеспечить прогрев изделия по сечению и завершение фазовых превращений, но не должна быть слишком большой, чтобы не вызвать роста зерна и обезуглероживания поверхностных слоев стали.
Выбирают продолжительность нагрева в электропечи 90 с. При нагреве в электрической печи взаимодействие печной атмосферы с поверхностью нагреваемого изделия приводит к окислению и обезуглероживанию стали.
Окисление создает невозвратимые потери металла. Окисление происходит в результате взаимодействия стали с кислородом (2Fе+О2 ® 2FеО), парами воды (Fе + H2 O — FeO+H2 ) и двуокисью углерода (Fе + CO2 — FеО + СО).
Для предохранения изделий от окисления и обезуглероживания в рабочее пространство печи вводят защитную газовую среду:
1) эндотермическую;
2) эиоэтермическую (богатую, бедную);
3) диссоциированный аммиак;
4) технический азот.
Выбирают экзотермическую (богатую среду), которая используется при нагреве для отжига легированных конструкционных сталей.
Охлаждение обеспечивает получение структуры мартенсита в пределах заданного сечения изделия. Для закалки используют минеральное масло. Масло имеет небольшую скорость охлаждения в мартенситном интервале температур, что уменьшает возникновение закалочных дефектов и постоянство закаливающей способности в широком интервале температур среды (20-150°С).
Температуру масла при закалке поддерживают в пределах 60-9О°С, когда его вязкость оказывается минимальной.
При закалке в этих средах различают три периода:
1) пленочное кипение – в этот период происходит небыстрый отвод теплоты, т.е. скорость охлаждения невелика;
2) пузырьковое кипение - быстрый отвод теплоты;
3) конвективный теплообмен - теплоотвод в этот период происходит с наименьшей скоростью.
После закалки проводят отпуск – нагрев закаленной стали с последующим охлаждением с определенной скоростью. Это окончательная операция термической обработки, в результате которой сталь получает требуемые механические свойства.
Кроме того, отпуск полностью или частично устраняет внутреннее напряжение, возникающее при закалке. Для нашей заготовки применяется высокий отпуск 500-680°С. Он повышает пределы прочности и текучести, относительное сужение и ударную вязкость. Значительно повышается конструктивная прочность стали, уменьшая чувствительность к концентраторам напряжений, увеличивая работу пластической деформации при движении трещины и снижая температуру верхнего и нижнего порога хладноломкости.
Отпуск при 550–600°С в течение 1–2 ч. почти полностью снимает остаточные напряжения, возникающие при закалке. Чаще длительность отпуска составляет 1,0–6 ч., в зависимости от габаритов детали.
В результате всех проведенных мероприятий возможно получение валов диаметром не ниже 150 мм., ответственного назначения.

