| Скачать .docx |
Реферат: «Химические технологии энергонасыщенных материалов и изделий»
ФЕДЕРАЛЬНОЕ АГЕНТСТВО ПО ОБРАЗОВАНИЮ РФ
Государственное образовательное учреждение
высшего профессионального образования
«Алтайский государственный технический университет
имени И.И. Ползунова»
Бийский технологический институт (филиал)
С.Л. Раско, А.Г. Овчаренко
ЭКСПЛУАТАЦИОННАЯ БЕЗОПАСНОСТЬ
КОНДЕНСИРОВАННЫХ ВЗРЫВЧАТЫХ ВЕЩЕСТВ
Учебное пособие
Рекомендовано Сибирским региональным учебно-методическим
центром высшего профессионального образования
для межвузовского использования в качестве учебного пособия
для студентов, обучающихся по направлениям «Химические технологии энергонасыщенных материалов и изделий» и «Горное дело»
при изучении раздела дисциплины «Безопасность жизнедеятельности»
Барнаул 2006
УДК 662.2:658.382
ББК 35.63
Р-24
Раско, С. Л. Эксплуатационная безопасность конденсированных взрывчатых веществ: учебное пособие / С.Л. Раско, А.Г. Овчаренко.
Алт. гос. тех. ун-т, БТИ. - Бийск.
Изд-во Алт. гос. тех. ун-та, 2006. - 147 с.
В пособии изложены материалы по основам эксплуатационной безопасности при использовании конденсированных взрывчатых веществ. Обобщены научные и практические достижения в этой области на основе известных работ, приведены конкретные примеры. Даны основные положения теории и физические основы термодинамики взрывчатых веществ, критерии безопасности и некоторые методы их определения, а также основные меры по обеспечению безопасности при использовании взрывчатых веществ.
Учебное пособие содержит дополнительные сведения, необходимые для изучения раздела «Взрывная безопасность» курса «Безопасность жизнедеятельности». Рекомендуется студентам вузов, обучающимся по направлениям «Химические технологии энергонасыщенных материалов и изделий» и «Горное дело». Будет полезным для специалистов предприятий и организаций, занимающихся эксплуатацией взрывчатых веществ.
Рецензенты: д.т.н., профессор зав. каф. «Безопасность
жизнедеятельности» АлтГТУ им. И. И. Ползунова
Мироненко В. Ф.
д.т.н. нач. отдела промышленных ВВ
ФГУП ФНПЦ «Алтай» Петров Е. А.
ISBN 5-9257-0082-1
ã Раско С.Л., Овчаренко А.Г., 2006
ã БТИ АлтГТУ, 2006
Содержание
| ВВЕДЕНИЕ______________________________________________ |
4 |
| 1 ВЗРЫВЧАТЫЕ ВЕЩЕСТВА - ИСТОЧНИКИ ЭНЕРГИИ______ |
6 |
| 1.1 Анализ опасности взрывчатых веществ__________________ |
6 |
| 1.2 Область применения взрывчатых веществ________________ |
9 |
| 2 ОСНОВНЫЕ ПОЛОЖЕНИЯ ТЕОРИИ ВЗРЫВЧАТЫХ |
11 |
| 2.1 Основные типы взрывчатых веществ и их классификация___ |
11 |
| 2.2 Средства воспламенения и инициирования________________ |
15 |
| 2.3 Смесевые взрывчатые вещества_________________________ |
16 |
| 2.4 Физико-химические основы взрывных превращений_______ |
21 |
| 2.5 Горение взрывчатых веществ___________________________ |
25 |
| 2.6 Возбуждение взрывных превращений и начальный |
26 |
| 3 физические основы термодинамики |
30 |
| 3.1 Энергетические характеристики________________________ |
30 |
| 3.2 Стойкость взрывчатых веществ_________________________ |
33 |
| 3.3 Разрушающие факторы взрывчатых веществ______________ |
38 |
| 4 критерии безопасности ВЗРЫВЧАТЫХ ВЕЩЕСТВ____ |
65 |
| 4.1 Чувствительность к тепловому импульсу_________________ |
66 |
| 4.2 Чувствительность к механическим воздействиям__________ |
70 |
| 4.3 Критерии оценки взрывоопасности при вибрации__________ |
81 |
| 4.4 Чувствительность ВВ к разрядам статического |
88 |
| 4.5 Чувствительность ВВ к совместному воздействию_________ |
96 |
| 5 обеспечение безопасности при эксплуатации взрывчатых веществ_________________________________ |
99 |
| 5.1 Оценка разрушающей способности взрывов и безопасности человека от ударной волны_________________________________ |
100 |
| 5.2 Токсичность взрывчатых веществ и продуктов взрыва______ |
108 |
| 5.3 Оценка безопасности при механических воздействиях______ |
116 |
| 5.4 Оценка электростатической безопасности |
123 |
| 5.5 Безопасность взрывных работ при наличии блуждающих |
138 |
| Литература___________________________________________ |
143 |
Введение
Взрывчатые вещества (ВВ) как высококонцентрированный и экономичный источник энергии кроме оборонной отрасли широко применяют в различных отраслях народного хозяйства. Около 90 % всего объёма руд цветных и черных металлов в нашей стране добывают взрывным способом. Более 80 % всех промышленных ВВ используется в горнорудной промышленности. Массовые взрывы широко используются в строительстве, при сооружении плотин и насыпей, прокладке магистралей, водных каналов, нефтегазопроводов. Продолжается поиск и исследование дальнейших путей использования и управления энергией взрыва. В настоящее время применяется взрывной способ производства некоторых особенно ценных минералов и искусственных материалов, ускоряются отдельные химические процессы с использованием сверхвысоких давлений взрыва, проводятся работы по искусственному дождеванию, внедряются методы взрывного бурения.
Наряду с интенсификацией производственных процессов с использованием высокоэффективных ВВ и разработкой современных ВВ с более чувствительными компонентами выдвигаются повышенные требования безопасности работ на всех этапах соприкосновения человека с взрывчатыми материалами. Проблема безопасности была и остается актуальной на стадиях проектирования, подготовки, испытания, изготовления и применения ВВ.
Безопасность различных видов взрывных работ в значительной степени зависит от теоретических знаний и накопленного опыта при создании безопасных технологий. При контактировании человека с взрывчатыми материалами большую роль играет психологический фактор, когда понимание механизма процессов взрывного превращения позволяет более уверенно и качественно выполнять требования инструкций, правил и других нормативных документов.
К сожалению, как показывает практика, аварии и взрывы с человеческими жертвами часто происходят по причине несовершенства отдельных технических средств, ошибочных действий производственного персонала и руководителей предприятий, а также нарушений требований технологической документации вследствие безответственного отношения к работе и недостатка знаний в области безопасности технологических процессов.
Следовательно, необходимо постоянно обновлять знания в области безопасности технологических процессов всем работникам предприятий, проектных организаций и органов надзора.
В предлагаемом читателю пособии изложены материалы по основам эксплуатационной безопасности при использовании конденсированных ВВ. Под конденсированными взрывчатыми веществами понимаются порошкообразные, твердомонолитные, гранулированные, чешуированные, пластичные, эластичные, пастообразные, желеобразные и жидкие взрывчатые вещества. Обобщены научные и практические достижения в этой области на основе исследований различных ученых, приведены конкретные примеры.
В первом разделе дан краткий анализ опасности ВВ, которые при определенных обстоятельствах приводят к аварийной ситуации или катастрофам.
Во втором и третьем разделах изложены основные положения теории и термодинамики ВВ. Материал представлен в объёме, необходимом для понимания процессов возникновения и развития взрывных превращений. При этом использованы труды зарубежных и российских ученых.
В четвертом разделе описаны основные критерии безопасности ВВ, характеризующие минимальные воздействия на вещество, при которых начинаются взрывные превращения. Описаны методы и установки для их определения, приводятся экспериментальные результаты.
В пятом разделе дана оценка обеспечения безопасности при эксплуатации и испытании промышленных ВВ. Описаны критерии разрушающей способности взрыва и токсичности продуктов после взрыва. Приведена оценка электростатической безопасности и безопасности взрывных работ при наличии блуждающих токов.
В учебном пособии отражается круг вопросов по эксплуатационной безопасности ВВ, который является дополнительным материалом при изучении раздела «Взрывная безопасность» курса «Безопасность жизнедеятельности», рекомендуется студентам вузов, обучающимся по направлениям «Химические технологии энергонасыщенных материалов и изделий» и «Горное дело», а также будет полезным для специалистов предприятий и организаций, занимающихся эксплуатацией взрывчатых веществ.
Авторы не претендуют на всю полноту рассматриваемого вопроса, поэтому с благодарностью примут все пожелания и замечания по данному учебному пособию.
1 Взрывчатые вещества – источники энергии
1.1 Анализ опасности взрывчатых веществ
В нашей стране многие годы было принято, что тема трагических событий и катастроф в сфере материального производства всегда оставалась закрытой для широкой общественности. Информация о крупномасштабных взрывах и пожарах, валовых выбросах токсичных продуктов была весьма приблизительной, а о гибели людей и других тяжелых последствиях знали лишь должностные лица, не заинтересованные, как правило, в широкой огласке. Является неполной и информация о катастрофах прошлого века за рубежом в Фликсборо, Сан-Хуан-Иксуатепеке, в Бхопале и многих других местах, где погибли тысячи работающих и часть населения, проживающего вблизи промышленных объектов.
Потребовались трагические события на Чернобыльской АЭС, магистральном трубопроводе сжиженного нефтяного газа под Уфой, в хранилище жидкого аммиака в Ионаве (Литва), на нефтеперера-батывающей установке Ярославля, чтобы общество начало осознавать необходимость переоценки уровня существующей технической безо-пасности применяемых технологий, оборудования, систем управления и защиты от промышленных аварий и катастроф.
Наибольшую опасность при авариях представляют взрывчатые вещества. Для убедительности можно привести ряд исторических примеров значительного воздействия взрывчатых веществ, происшедших вследствие сознательных действий человека или аварийных ситуаций [1]. Один из самых колоссальных взрывов произошел 10 октября 1885 г. у входа в Нью-Йоркскую гавань. Под действием трех раздельных ударов, напоминающих толчки при землетрясении, в обширной зоне вокруг места взрыва произошло сотрясение почвы; на площади 400´250 м на высоту 60 м поднялся столб морской воды, выбрасывавший в воздух пену, ярко окрашенную газообразными продуктами взрыва. Этот гигантский гейзер возник в результате взрыва огромной подводной скалы, так называемый Флуд Рок (рифа Hell Gate - Адских ворот); большая часть этой скалы располагалась ниже уровня воды. Эта скала представляла собой гнейсовую массу, пронизанную кварцевыми жилами. Силою неслыханно большого заряда взрывчатого вещества она была снесена, и таким образом было устранено препятствие, затруднявшее судоходство.
Сначала в скале были проложены две шахты глубиною 20 м, которые выходили на поверхность воды, а затем вся скалистая масса была пройдена сетью штолен общей длиной 6600 м и шириною 3,5 м, при этом было вынуто около 60000 м3
породы (рисунок 1.1). Самая большая галерея была длиною 360 м; толщина сводов, подлежавших взрыву, колебалась от 3 до 6 м. Как в сводах, так и в стенках штолен было заложено в общей сложности 13280 буровых скважин глубиною 2,7 м и диаметром 12 см, заряженных патронами рекарока, герметично запаянными в медные гильзы, в которые предварительно вкладывался патрон динамита с электрозапалом, соединенным с общей сетью воспламенения. Количество израсходованных взрывчатых веществ составило 109000 кг рекарока и 19050 кг гурдинамита. Воспламенение было произведено после частичного затопления штолен водою. Хотя все заряды взорвались одновременно, получились три отдельных сотрясения соответственно трем различным средам (вода, воздух и земля), в которых удар взрыва распространяется с разной скоростью. Взорванная площадь скалы составляла 180000 м2
, а расходы исчислялись цифрою
5¼ млн. франков.
|
|
| Рисунок 1.1 - Подготовка к взрыванию рифа Флуд-Рок |
Более красноречивым доказательством передачи взрыва на расстояние была ужасная катастрофа в гавани Галифакс. Утром 7 декабря 1917 года около 9 часов французский транспорт «Монблан» с грузом боевых припасов столкнулся при входе в бухту с направляющимся навстречу ему бельгийским продовольственным транспортом «Има». «Монблан», имевший водоизмещение 3121 тонн и шедший с полным грузом, получил удар в носовую часть; запасы бензина, расположенные в переднем трюме, разлились по судну и воспламенились. В то время как команда всеми средствами пыталась побороть огонь, транспорт приблизился к набережной. Между тем горящий бензин попал в топки. Команда потеряла надежду справиться с бедствием и, будучи уверена в том, что всякая дальнейшая борьба бесполезна, оставила горящее судно. Через 17 минут после столкновения последовал взрыв, напоминающий извержение вулкана; часть города Ричмонд (штат Виржиния на юго-востоке США), расположенная амфитеатром на берегу моря, была сровнена с землей; взрывом было на месте убито 5000 и ранено 10000 человек. Убытки исчислялись сотнями млн. франков.
Действие взрыва на расстоянии было исключительное. В 7 км от бухты телеграфист был убит ударом о стену. В 10 км севернее города была разрушена колония индейцев, и многие из них были погребены под развалинами. Даже на расстоянии 100 км были выбиты оконные стекла.
21 сентября 1921 г. в Оппау подрывы, производившиеся в складе искусственного удобрения (смесь нитрата и сульфата аммония), вызвали величайший взрыв, подобный извержению вулкана. На том месте, где хранилось 4500 тонн соли, зиял кратер длиною 165 м, шириною
96 м и глубиною 18,5 м. При этом было убито 509 человек и 1917 жителей окружающей местности пострадали.
Возникшие взрывные волны достигли самых высоких слоев воздуха, и оттуда, как бы с неба, распространились на далекие расстояния. В 360 км от места взрыва, в горной долине Энгодина, исполинский взрыв был воспринят как звуковая волна.
6 июня 1989 г. газета «Правда» сообщила о трагедии вблизи железнодорожной станции г. Арзамаса. Утром 4 июня взлетели на воздух три крытых вагона с промышленными ВВ, предназначенными для геологов, горняков, строителей. Общая масса ВВ составляла 120 тонн.
В результате взрыва были разрушены большой жилой массив, станционные постройки; погибло большое число людей. Очевидцы наблюдали, что вначале возник высокий столб пламени, затем прошел гул, и в небо начал подниматься серый «гриб». Из первых сообщений стало известно, что погибли 68 человек, полностью разрушено 150 жилых домов. О силе взрыва можно судить также из сообщений очевидцев, наблюдавших, как за километр от места взрыва летели куски рельсов, в кирпичном здании на расстоянии 0,5 км от железной дороги наблюдались пробоины в полуразрушенных стенах. На железнодорожном пути на месте взрыва образовалась воронка «вполовину футбольного поля» и глубиной около 30 м. За взрывом последовал пожар от воспламенения природного газа, выходящего из разрушенного магистрального подземного трубопровода, который пересекал железнодорожный путь. В сообщениях газет упоминалось о материальном ущербе, исчисляемом в 400 млн. руб.
Данные примеры показывают колоссальную мощность источников энергии ВВ, которые могут кроме полезного действия принести сокрушительные разрушения с негативными последствиями.
В химической индустрии мира в среднем каждые 2 месяца происходит одна катастрофа. За период с начала 1984 г. до конца первого полугодия 1985 г. зарегистрировано 90 крупных аварий, при которых погибло около 5 тысяч человек. Более половины промышленных катастроф в период 1900-1990 гг. приходится на 1970-1990 гг., причем треть из них – на 80-е годы; одновременно возрос их разрушительный эффект.
На химико-технологических объектах нашей страны за 1980-2000 гг. произошло примерно 180 крупных промышленных взрывов с тяжелыми последствиями. Отмечается неуклонное увеличение их числа за последние годы [2]. При этом локальные взрывы и пожары, ежегодное число которых исчисляется тысячами, при неблагоприятном стечении обстоятельств могут вызвать цепное развитие аварий до катастрофических масштабов.
1.2 Область применения взрывчатых веществ
На протяжении многих веков ВВ состоят на службе у человека.
И сегодня существуют области человеческой деятельности, где без взрывчатых веществ обойтись невозможно. Это использование их в военном деле и в промышленных целях.
Взрывчатыми веществами снаряжаются боеприпасы различных типов: ракеты, снаряды, мины, торпеды, авиационные бомбы и др. ВВ являются основным средством, обеспечивающим поражение живой силы, боевой техники и разрушение объектов различного назначения.
Для доставки боеприпасов до цели широко используются метательные ВВ – пороха. Пороховой заряд сообщает боеприпасу скорость, необходимую для его переброски на дальние расстояния или поражения быстродвижущихся целей.
Появление новых видов современного оружия не только не снизило значения ВВ и порохов, а, наоборот, расширило область их применения. Они используются в противотанковых и зенитных управляемых ракетах, ракетах оперативно-тактического назначения, авиационных и глубинных бомбах. Для осуществления взлета современных истребителей применяются пороховые стартовые ускорители.
Даже в ядерном и термоядерном оружии не обходятся без взрывчатых веществ. Чтобы произошел ядерный взрыв, необходимо быстрое соединение нескольких частей ядерного заряда (делящегося вещества), масса которых в отдельности меньше, а в сумме больше критической. Быстрое соединение субкритических масс ядерного заряда достигается взрывом обычного ВВ.
ВВ находят применение и в народном хозяйстве [3]. С помощью ВВ выполняются разнообразные работы. Энергия взрыва принята на вооружение человека как одно из многих средств ускорения и значительного снижения трудоемкости горных и земляных работ. С помощью взрыва почти мгновенно можно получить необходимую глубину для прокладки дороги в горах или котлован для устройства сооружения. ВВ с успехом используются при строительстве плотин, каналов, для углубления и расширения рек и водоемов. При добыче полезных ископаемых взрыв очень часто является единственным средством.
Подземный взрыв может быть источником звуковых или сейсмических волн. Направление движения и скорость этих волн зависят от свойств горных пород. Произведя небольшой подземный взрыв и регистрируя на некотором расстоянии от места взрыва с помощью измерительных приборов время прибытия сейсмических волн, можно получить данные о расположении невидимых отражающих поверхностей, рассчитать их глубину, угол наклона и изучить структуру пород. Взрывом осуществляют резку и сварку металлов. Взрыв является средством научного исследования. При взрыве имеют место очень высокие температуры, скорости и давления. Это позволяет изучить явления, возникающие при сильном воздействии на вещество, и способствует раскрытию новых свойств материи.
Приведенными примерами не исчерпывается все многообразие случаев практического использования ВВ. Способы и область применения ВВ постоянно совершенствуются одновременно с разработкой новых ВВ, обладающих более эффективными взрывчатыми свойст-вами.
2
ОСНОВНЫЕ ПОЛОЖЕНИЯ ТЕОРИИ ВЗРЫВЧАТЫХ
ВЕЩЕСТВ
2.1 Основные типы взрывчатых веществ и их классификация
Взрывчатые вещества весьма разнообразны по своему химическому составу, физическим свойствам и агрегатному состоянию. Известно много ВВ, представляющих собой твердые, жидкие и газообразные вещества. В принципе взрывчатым веществом может быть любая смесь горючего с окислителем. Самое древнее ВВ – дымный порох, который представляет собой смесь двух горючих (уголь и сера) с окислителем (калиевая селитра). Другой вид подобных смесей – оксиликвиты – представляют собой смесь тонкодисперсного горючего (мох, опилки и т.д.) с жидким кислородом.
Необходимым условием получения ВВ из горючего и окислителя является их тщательное перемешивание. Однако как бы тщательно не были перемешаны составные части смеси, невозможно добиться такой равномерности состава, при которой с каждой молекулой горючего соседствовала бы молекула окислителя. Поэтому в механических смесях скорость химической реакции при взрывном превращении никогда не достигает максимального значения. Такого недостатка не имеют взрывчатые химические соединения, в молекулу которых входят атомы горючего (углерода, водорода) и атомы окислителя (кислорода).
К взрывчатым химическим соединениям, молекулы которых содержат атомы горючих элементов и кислорода, относятся сложные азотнокислые эфиры многоатомных спиртов, так называемые нитроэфиры, и нитросоединения ароматических углеводородов.
Взрывчатые вещества по своим свойствам делятся на инициирующие , бризантны е и метательные . В некоторых случаях говорят соответственно о первичных, вторичных ВВ и порохах.
Характерной особенностью инициирующих ВВ (ИВВ) является их способность детонировать под влиянием простого внешнего импульса (луча огня, удара, трения и т.д.), тогда как для детонации бризантных ВВ (БВВ) требуется предварительный взрыв инициирующего ВВ. Деление ВВ на инициирующие и бризантные до некоторой степени условно. Так, для ряда ИВВ можно создать такие условия, при которых горение не переходит в детонацию, т.е. ИВВ ведут себя как бризантные ВВ. И наоборот, некоторые бризантные ВВ в особых условиях воспламенения через сравнительно короткое время детонируют, т.е. ведут себя как инициирующие ВВ. Как в первом, так и во втором случаях требуются особые условия.
Способность ИВВ детонировать от простого импульса требует чрезвычайно осторожного обращения с ними и, что особенно важно, при работе с ними не пользоваться большими количествами единовременно.
Пороха, благодаря особенностям своей структуры, а именно
однородности и монолитности пороховых элементов, обеспечивают устойчивое и равномерное горение. Даже при давлениях от 4000 до 5000 атмосфер пороха устойчиво горят не детонируя. Однако при достаточном начальном импульсе можно вызвать также и детонацию порохов. Таким образом, хотя три группы ВВ и выполняют различные функции, однако органического различия между ними нет.
Ниже приведены общие характеристики некоторых представителей ИВВ, БВВ и порохов, наиболее широко используемых в военных и промышленных целях.
Инициирующие взрывчатые вещества
Гремучая ртуть Hg(OCN)2 - кристаллическое вещество белого или серого цвета с плотностью 4,307 г/см3 . Заряд гремучей ртути в прессованном виде (давление прессования 300 кг/см2 ) имеет плотность, равную 3,3 г/см3 . При действии луча огня гремучая ртуть воспламеняется, но горение быстро переходит в детонацию. При увеличении давления прессования условия перехода горения гремучей ртути в детонацию ухудшаются. Запрессованная под давлением более 800 кг/см2 в корпусе гильзы капсуля-детонатора №8 гремучая ртуть сгорает без детонации (явление перепрессовки гремучей ртути). Увлажнение её резко снижает чувствительность к внешним воздействиям. В присутствии влаги гремучая ртуть взаимодействует с металлическим алюминием, поэтому ее не прессуют в алюминиевую оболочку.
Гремучая ртуть достаточно чувствительна к лучу огня. Применяется для снаряжения капсулей-детонаторов и в ударных составах для снаряжения капсулей-воспламенителей.
Азид свинца Pb(N3 )2 - кристаллическое вещество белого цвета с плотностью 4,71 г/см3 . Плотность прессованного заряда азида свинца 3,9 г/см3 .
Азид свинца под влиянием внешнего воздействия детонирует без предварительного горения. Благодаря этой особенности азид свинца в отличие от гремучей ртути не перепрессовывается и при увлажнении практически не теряет чувствительности к внешним воздействиям. Взаимодействует с металлической медью, образуя особо чувствительный к механическим воздействиям азид меди. Процесс образования азида меди ускоряется в присутствии влаги и углекислоты воздуха.
С металлическим алюминием азид свинца не реагирует.
Азид свинца применяется для снаряжения капсулей-детонаторов, однако вследствие относительно малой чувствительности азида свинца к лучу огня при снаряжении капсулей-детонаторов поверх слоя азида свинца всегда присутствует небольшой слой более чувствительного к лучу огня тринитрорезорцината свинца (тенереса).
Тенерес (ТНРС, тринитрорезорцинат свинца, стифнат свинца) C6 H(NO2 )3 O2 Pb - кристаллическое вещество желтого цвета с плотностью 3,1 г/см3 . Хотя ТНРС и относят к разряду инициирующих ВВ, однако переход горения в детонацию в его зарядах происходит только при насыщенной плотности, причем и в этом случае предварительно сгорает сравнительно большая для инициирующих ВВ масса вещества (0,5 г в корпусе гильзы капсуля-детонатора №8).
ТНРС весьма чувствителен к лучу огня и поэтому применяется в капсулях‑детонаторах, снаряженных азидом свинца, чтобы облегчить воспламенение последнего. Применяется в ударных составах для снаряжения капсулей-воспламенителей.
Бризантные взрывчатые вещества
Тротил
(ТНТ, тол, тринитротолуол) C6
H3
(NO2
)3
СН3
- кристаллический продукт бледно-желтого цвета с плотностью 1,66 г/см3
, температурой плавления 80,8 °С. Насыпная плотность тротила примерно
0,9 г/см3
, плотность литых зарядов примерно 1,56 г/см3
.
Тротил представляет собой пластичное вещество, легко поддающееся прессованию (в заводских условиях получают заряды плотностью 1,60 г/см3 ). Тротил малочувствителен к механическим воздействиям. Заряды тротила в литом виде не детонируют от капсуля‑детонатора №8. Промышленностью выпускается как кристаллический, так и чешуированный тротил.
Тротил является одним из основных бризантных ВВ и применяется для снаряжения различных боеприпасов как в чистом виде (прессованием, заливкой, шнекованием), так и в смесях с аммиачной селитрой и другими веществами.
Тетрил (тринитрофенилметилнитрамин) С6 H2 (NO2 )3 NCH3 NO2 – кристаллическое вещество желтого цвета с плотностью 1,72 г/см3 . Температура затвердевания тетрила 128,7 о С. Тетрил достаточно пластичен, поэтому прессованием удается получить изделие с плотностью до 1,67 г/см3 . Скорость детонации тетрила выше, чем скорость детонации тротила. Тетрил заметно более чувствителен к внешним воздействиям, чем тротил. Применяется для снаряжения капсулей‑детонаторов в качестве вторичного заряда, а также в виде прессованных шашек в качестве промежуточного детонатора для усиления действия капсуля‑детонатора.
Гексоген
(циклотриметилентринитроамин) C3
H6
N6
O6
– белое кристаллическое вещество с плотностью 1,8 г/см3
. При температуре
203,5 о
С плавится с разложением. Гексоген относится к группе мощных бризантных ВВ. Скорость детонации гексогена лежит выше скорости детонации тротила и тетрила. Гексоген чувствителен к внешним воздействиям, поэтому для снаряжения боеприпасов применяется не в чистом виде, а с добавлением различных флегматизаторов. Гексоген применяется в смесях с другими, менее чувствительными бризантными ВВ, а также как вторичный заряд для снаряжения капсулей‑дето-наторов.
ТЭН
(пентаэритриттетранитрат) C(CH2
ONO2
)4
– белое кристаллическое вещество с плотностью 1,77 г/см3
и температурой плавления 141 о
С. Прессуется ТЭН трудно (расслаивается при высоких давлениях прессования). Относится, как и гексоген, к мощным бризантным ВВ. ТЭН более чувствителен, чем гексоген, к внешним воздействиям.
В герметичной оболочке горение ТЭН сравнительно легко переходит в детонацию. Применяется для изготовления детонирующих шнуров и снаряжения капсулей-детонаторов в качестве вторичного заряда, в флегматизированном виде – для снаряжения мелкокалиберных зарядов.
Метательные взрывчатые вещества (пороха)
Характерное отличие порохов от ВВ заключается в том, что горение не переходит в процесс детонации даже при больших плотностях заряжания. Однородная структура и высокая плотность пороховых зерен обеспечивают их устойчивое и равномерное горение.
Черный порох
(дымный порох) представляет собой смесь 75 % селитры, 10 % серы и 15 % угля. Однородная масса черного пороха имеет плотность 1,5-1,6 г/см3
, а для прессованных образцов до
1,7-1,9 г/см3
. Дымный порох легко воспламеняется от луча огня и чувствителен к механическим воздействиям. Применяется для изготовления огнепроводного шнура, а также в качестве воспламенительных зарядов при воспламенении бездымного пороха.
Бездымный порох (коллоидный) представляет собой сложную смесь, основными компонентами которой являются пироксилин (коллоксилин) и нитроглицерин.
Существует много различных рецептур бездымных порохов, которые влияют как на внешний вид пороха, так и на его баллистические качества (скорость горения и её зависимость от давления, мощность, температура и т.д.). Например, пироксилиновые пороха имеют в своем составе до 98 % пироксилина, а баллиститные (нитроглицериновые) наряду с пироксилином содержат также в виде нелетучего растворителя нитроглицерин в количестве от 25 до 45 %.
Все бездымные пороха относятся к категории ВВ, стойкость которых обязательно проверяется в течение хранения их на складах. Это определяется тем, что в состав порохов входят пироксилин и нитроглицерин, т.е. вещества, имеющие в составе молекул эфирную группу.
2.2 Средства воспламенения и инициирования
При производстве различных испытаний ВВ в качестве средств воспламенения и инициирования применяется огнепроводный (бикфордов) шнур, детонирующий шнур, капсуль‑детонатор и электродетонатор.
Огнепроводный шнур состоит из внешней оплетки и сердцевины, представляющей собой плотно спрессованный дымный порох. Обычно оболочкой шнура является трехслойная оплетка из льняной или джутовой нити. Огнепроводный шнур применяется для передачи луча огня капсулю-детонатору или пороховому заряду в заданный промежуток времени. Скорость горения шнура порядка 1 см/с.
Детонирующий шнур в отличие от огнепроводного шнура, имеет сердцевину из взрывчатого вещества, способного детонировать при малых диаметрах. Для изготовления детонирующего шнура применяются смеси горючей ртути с тетрилом (гремучертутнотетриловый шнур) или чистые ВВ, например ТЭН (тэновый шнур). Детонирующий шнур предназначен для передачи детонации от одного заряда к другому и для одновременного возбуждения детонации ряда зарядов.
Внешний вид детонирующего шнура отличается от внешнего вида огнепроводного цветом наружной оплетки (оплетка детонирующего шнура красная или оранжевая). Скорость детонации шнура от 7000 до 7700 м/с.
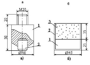
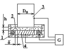
Капсуль-детонатор №8
представляет собой металлическую гильзу диаметром 7 мм и длиной 47±1 мм, снаряженную инициирующим или инициирующим и бризантным веществом (комбинированный капсуль‑детонатор). Основное назначение капсулей-детонаторов – возбуждение детонации различных зарядов бризантных ВВ. На рисун-
ке 2.1 приведен схематический разрез капсуля‑детонатора №8.
Как видно на фигуре, поверх инициирующего ВВ запрессовывается чашечка с отверстием, назначение которой – обеспечить стойкость заряда при механических воздействиях.
Электродетонатор мгновенного действия состоит из капсуля‑детонатора, в гильзу которого вмонтирован электровоспламенитель (рисунок 2.2). В практике наиболее распространенным является твердокапельный электрозапал, состоящий из двух проводников, к концам которых припаян константановый мостик. Концы проводов и мостик путем обмакивания в воспламенительный состав покрываются каплей этой массы. При пропускании тока через электрозапал мостик накаливается и воспламеняет воспламенительный состав капли, в результате чего возникает мощный луч огня. Комбинацию электрозапала и капсуля‑детонатора называют электродетонатором мгновенного действия.
|
|
|
| 1 – гильза; 2 – тетрил; 3 – азид Рисунок 2.1 – Схема капсуля-детонатора №8 |
1 – корпус; Рисунок 2.2 – Схема электровоспламенителя |
2.3 Смесевые взрывчатые вещества
Смеси на основе жидких нитропарафинов и солей гидразина (астралиты)
Жидкие ВВ давно привлекали внимание исследователей в связи с повышенной плотностью, малым критическим диаметром, способностью целиком заполнять зарядный объём и тем самым обеспечивать высокую концентрацию энергии и эффективность взрывания. Жидкие ВВ не растворяются в воде, не смешиваются с ней и являются водоустойчивыми. Обладают хорошей текучестью даже при минусовых температурах, что облегчает механизацию зарядных работ. Наибольший интерес представляют жидкие нитропарафины и ВВ на их основе. Особое внимание в этом классе соединений уделяется нитрометану, который имеет явно выраженные взрывчатые свойства. Нитрометан предназначен для взрывных работ в нефтедобывающей и горной промышленности для внутрипластового взрывания.
| В таблице 2.1 приведены свойства эвтектических бинарных смесей нитропарафинов с аммиачной селитрой [7]. Видно, что по энергетическим характеристикам смесь, содержащая нитрометан, превосходит аналогичную смесь, содержащую тротил. Таблица 2.1 – Свойства смесей нитропарафинов с аммиачной селитрой |
||||||
| Наименование нитропарафинов |
Содержание аммиачной селитры в стехиометрической смеси, % |
Плотность, г/см3 |
Теплота взрыва |
Объём газов взрыва, л/кг |
Относительная эффективность к тротилу, % |
|
| весовая, кДж/кг |
объёмная, кДж/л |
|||||
| Тротил |
78,7 |
1,30 |
4200 |
5500 |
892 |
100 |
| Нитрометан |
67,0 |
1,32 |
4710 |
6210 |
930 |
112 |
| Нитроэтан |
84,0 |
1,32 |
4030 |
5290 |
950 |
95 |
| Нитро- пропан |
87,5 |
1,30 |
4000 |
5400 |
961 |
94 |
Так как нитрометан тяжелее воды и не смешивается с ней, им можно заряжать обводненные скважины через столб воды, которая в данном случае будет выполнять роль забойки. Недостатком нитрометана является его высокая летучесть.
Взрывчатые свойства нитрометана следующие: бризантность
15 мм при инициировании от шашки тетрила массой 5 г и 22 мм от шашки 10 г; работоспособность по баллистической мортире 134 % по отношению к тротилу; скорость детонации в металлической трубе 6…6,5 км/с.
При введении в нитрометан алюминия массовая энергия взрыва повышается в 1,4-1,5 раза, а объёмная в 1,6-2,0 раза. По приближенным оценкам в благоприятных условиях взрывания во взрывчатом превращении может участвовать до 25 % алюминия. Объёмная энергия таких бинарных систем от 8400 до 9660 кДж/л, что превосходит объёмную энергию алюмотола, граммонала и акватола на 28…45 %.
На основе загущенного нитрометана и измельченной селитры готовятся пластичные высокоплотные и высоководоустойчивые ВВ, не уступающие по мощности динамитам и в то же время отличающиеся от них малой токсичностью, высокой морозостойкостью, низкими чувствительностью к механическим воздействиям и стоимостью. Взрывчатые свойства пластичных нитрометановых ВВ следующие: теплота взрыва от 6300 до 7560 кДж/л, бризантность от 14 до 19 мм, работоспособность от 380 до 490 мл, скорость детонации от 4,7 до 5,8 км/с.
Смеси на основе гидрата гидразина (NH2
NH2
H2
O), за рубежом называемые астралитами, характеризуются высокими расчетными энергетическими показателями. Кроме простейшей смеси гидразина с аммиачной селитрой, запатентованы многокомпонентные жидкие составы. Взрывчатой основой в таких системах служат нитрат и перхлорат гидразина. К достоинствам жидких гидразинсодержащих ВВ можно отнести широкий температурный диапазон эксплуатации (от минус 30 до плюс 45 о
С), высокие плотность (1,3…1,4 г/см3
) и скорость детонации (7,5…8 км/с), безопасность в обращении. Благодаря высокой плотности объёмная энергия заряда в скважине может достигать
5650 кДж/л. Объём продуктов взрыва достигает 1000 л/кг. Недостатком астралитов является их низкая физическая стойкость из-за испарения гидразина. Астралиты можно готовить на месте применения смешиванием нитратов и перхлоратов гидразина с жидким аммиаком или растворами аммиачной селитры.
Смесевые эмульсионные ВВ
Несмотря на достигнутый в настоящее время уровень использования в промышленности широкого класса разработанных ВВ, работы по поиску повышения эффективности взрыва путем применения новых составов ВВ и конструкций зарядов продолжаются.
В высокоразвитых горнодобывающих странах на предприятиях, ведущих взрывные работы открытым способом, и в военном деле достаточно широко применяются смеси в виде эмульсии, сенсибилизированной ( от лат. sensibilis – чувствительный, повышение чувствительности ) ее аэрацией с алюминиевым порошком АСД, получившие название «тяжелые АНФО». При этом содержание АСД в такой смеси обычно составляет от 70 до 80 % по массе. Этот тип смесевых эмульсионных ВВ используют для заряжания механизированным способом сухих или слабообводненных взрывных скважин с поверхности. Эти ВВ имеют меньшую стоимость и улучшенные детонационные характеристики, обусловленные, главным образом, применением в гранулированной фазе пористой аммиачной селитры высочайшего качества. Скорость детонации подобного смесевого ВВ на основе плотной гранулированной аммиачной селитры (гранулит НП) при плотности зарядов 1,2 г/см3 в стальной оболочке (Æ75…100 мм) составляет всего от 2,86 до 3,26 км/с, что свидетельствует о флегматизирующем влиянии большого содержания АСД на детонационные параметры таких смесей.
Для повышения эффективности взрыва такой смеси и поднятия КПД взрыва её основной составляющей (гранулита) была предложена конструкция заряда коаксиальной формы: по оси заряда гранулита размещается линейный инициатор из сенсибилизированной эмульсии, скорость детонации которой существенно превышает стационарную скорость детонации гранулита. В роли линейного инициатора по детонационным параметрам использованы эмульсионные ВВ сибирит-1000 или сибирит-1200, которые характеризуются высокой скоростью детонации [8].
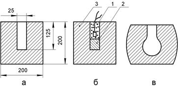
Оценка относительной работоспособности зарядов различной формы (рисунок 2.3) проводилась по методу воронки выброса.
|
|
|
| 1 – электродетонатор №8; 2 – прессованная шашка ТГ – 10 г; Рисунок 2.3 - Конструкция сплошного (а) и комбинированного (б) |
|
Критерий относительной работоспособности f – отношение масс зарядов из эталонного (m Э ) и испытываемого (m ВВ ) взрывчатых веществ, образующих при взрыве воронки одинакового объёма:
. (2.1)
При проведении эксперимента в качестве эталонного ВВ использовалась смесь гранулированного и чешуйчатого ТНТ в соотношении 50/50 по массе.
К параметрам, определяющим в первом приближении эффективность взрыва заряда ВВ в горной породе, относятся объёмная энергия Е и скорость детонации D . При этом коэффициент мощности взрывчатых веществ K= E × D является комплексным показателем, учитывающим как количество выделяемой при взрыве заряда энергии, так и скорость ее высвобождения. В относительном виде коэффициент K позволяет сравнить взрывную эффективность двух зарядов ВВ одинакового объёма, соответственно испытываемого (индекс 2) и эталонного (индекс 1).
, (2.2)
где
- плотность ВВ, кг/м3
;
Q - теплота взрыва, кДж/кг;
D – скорость детонации, км/с.
Для оценки относительной эффективности взрыва комбинированного заряда коаксиального типа, сформированного из эмульсионного ВВ сибирита-1200 и гранулита НП (рисунок 2.3 б), по сравнению с обычным зарядом гранулита НП вышеприведенная формула (2.2) примет вид:
, (2.3)
где
- доля соответственно сибирита-1200 и гранулита НП в единице объёма комбинированного заряда;
,
- соответственно плотность сибирита-1200 и гранулита НП;
DС
, DНП
, DР.НП
- соответственно скорость детонации сибири-
та-1200, гранулита НП в стационарном режиме и гранулита НП в режиме принудительной детонации.
Аналогичным образом оценивается относительное удешевление комбинированного заряда коаксиального типа в сравнении с обычным зарядом гранулита НП:
, (2.4)
где СС , СНП - цена одной тонны соответственно сибирита-1200 и гранулита НП, руб.
Результаты экспериментальных испытаний (таблица 2.2) смесевых эмульсионных ВВ показали, что применение комбинированных зарядов коаксиальной формы с осевым зарядом из эмульсионного ВВ приводит к более полному выделению энергии при взрыве гранулита НП, изготовленного с использованием плотной гранулированной аммиачной селитры.
Таблица 2.2 – Результаты экспериментальных испытаний ВВ
| ВВ |
Конструкция заряда |
Относительная работоспособность |
| ТНТ (гранулы / чешуйки 50/50) |
Сплошная |
1,00 |
| Гранулит НП |
Сплошная |
0,56 |
| Гранулит НП (пористая АС) |
Сплошная |
1,10 |
| Сибирит 2500 РЗ |
Коаксиальная |
1,00 |
| Сибирит 2500 РЗ (пористая АС) |
Коаксиальная |
1,47 |
Разработанное смесевое эмульсионное ВВ сибирит 2500 Р3 допущено Госгортехнадзором России к постоянному применению, изготовляется в процессе механизированного заряжания скважин и применяется на ряде разрезов Кузбасса.
Предложенный способ формирования комбинированного заряда коаксиальной формы из эмульсионного ВВ и ВВ типа АСД позволяет повысить эффективность использования простейших ВВ, изготовленных на основе гранулированной аммиачной селитры, использовать промышленные смесительно-зарядные машины типа МС-38.
2.4 Физико-химические основы взрывных превращений
При взрыве происходит быстрое физическое, химическое, ядерное или термоядерное превращение вещества, сопровождающееся столь же быстрым переходом возникшей при этом энергии взрыва в энергию сжатия и движения исходного вещества или продуктов его превращения и окружающей среды. Виды исходной энергии при этом могут быть различны: тепловая, электрическая, кинетическая, энергия упругого сжатия, ядерная, термоядерная и химическая.
Взрывы за счет химической энергии присущи особой группе веществ – взрывчатым веществам.
Взрывчатые вещества обладают относительной термодинамической неустойчивостью. Именно благодаря этому они способны под влиянием внешних воздействий к чрезвычайно быстрым химическим превращениям, которые сопровождаются выделением тепла и образованием газообразных продуктов. Большая скорость, с которой ВВ превращаются в газообразные продукты, является необходимым условием взрыва. Скорость взрывных превращений достигает от 9 до 10 км/с. При совершении механической работы по перемещению или разрушению требуется затратить эквивалентное количество тепловой энергии, выделяющейся при химическом превращении ВВ. Выделение тепла при химической реакции является вторым необходимым условием взрыва. Для современных ВВ теплота взрывного превращения составляет от 400 до 3000 ккал/кг. Для преобразования теплоты химической реакции в механическую работу необходимо рабочее тело. Таким рабочим телом являются газообразные продукты, количество которых при взрыве 1 кг ВВ достигает от 500 до1000 л.
Таким образом, сочетание трех факторов: большой скорости процесса, выделения большого количества тепла и газообразных продуктов – делает возможным химический взрыв.
Механизм возбуждения и распространения взрыва
Основные положения теории, объясняющей механизм возбуждения и распространения взрыва, разработаны в конце XIX века профессором Московской сельскохозяйственной академии В.А. Михельсоном. В трудах ученых Л.Д. Ландау, Я.Б. Зельдовича, К.П. Станюковича и других теория взрыва нашла свое дальнейшее развитие.
В настоящее время физическая сущность механизма возбуждения взрыва при различных воздействиях сводится к следующему [3]. В результате диссипации энергии от механических воздействий во ВВ возникают местные разогревы («горячие точки»), в которых начинается горение ВВ вначале с небольшой скоростью. Затем, в зависимости от природы ВВ и внешних условий, это горение ускоряется и переходит во взрыв или затухает. Факторами, способствующими развитию взрыва, являются повышенная склонность ВВ к воспламеняемости, резкая зависимость скорости горения от давления, высокая детонационная способность. Такая схема процесса возбуждения взрыва при механических воздействиях экспериментально подтверждена работами Ф. Боудена, Д. Иоффе [4] и других исследователей.
Сущность механизма возникновения местных разогревов состоит в следующем:
1) очаги возбуждения реакции («горячие точки») при ударе или другом механическом воздействии возникают в результате адиабатического сжатия газовых пузырьков, находящихся во взрывчатом веществе;
2) в результате воздействия происходит неравномерное течение ВВ, при котором возникают силы трения между отдельными слоями ВВ, между ВВ и соударяющимися поверхностями, между частицами ВВ и находящимися в нем твердыми инородными частицами. Это трение и является причиной появления местных разогревов;
3) очаги возбуждения возникают также за счет вязкостного разогрева ВВ в результате быстрого выдавливания его из зазора соударяющимися поверхностями.
Дальнейшее развитие процесса распространения взрыва заключается в следующем. При быстром и сильном сжатии ВВ нагреваются, в результате происходит химическая реакция, сопровождающаяся выделением большого количества энергии и образованием газообразных продуктов. Образующиеся газообразные продукты производят резкий удар по соседним слоям ВВ. Эти слои, в свою очередь, сжимаются, в них также образуется ударная волна и происходит интенсивная химическая реакция.
Ударная волна распространяется по всей массе ВВ со скоростью, равной нескольким километрам в секунду. Ударная волна имеет впереди резко очерченный фронт, на котором происходит сильное повышение давления и температуры. Непосредственно за фронтом волны происходит превращение ВВ в газообразные продукты и выделение энергии. Продукты взрыва не удаляются из зоны реакции, а движутся в направлении распространения процесса вслед за ударной волной.
Благодаря выделению энергии в процессе химической реакции и постоянному ее восполнению скорость распространения ударной волны во взрывчатом веществе может остаться постоянной. Такое распространение взрыва является детонацией ВВ. Скорость детонации определяется как скорость распространения ударной волны по заряду ВВ, т.е. детонация представляет собой наиболее совершенную форму взрыва, когда процесс протекает с постоянной и максимально возможной для данного ВВ скоростью.
Скорость детонации является одной из наиболее важных характеристик ВВ, которая определяется экспериментально разными методами (оптическим, осциллографическим, хронографическим). Наиболее простым методом определения скорости детонации является метод Дитриша, основанный на сравнении известной скорости детонации детонирующего шнура со скоростью детонации используемого заряда [5]. В таблице 2.3 приведены скорости детонации некоторых ВВ.
Таблица 2.3 - Скорость детонации некоторых ВВ
| Взрывчатое вещество |
Плотность, г/см3 |
Скорость детонации, м/с |
| Гремучая ртуть |
3,30 |
4500 |
| Азид свинца |
4,00 |
5100 |
| Тротил |
1,61 |
7000 |
| Тетрил |
1,67 |
7420 |
| ТЭН |
1,60 |
8380 |
| Гексоген |
1,60 |
7900 |
С увеличением плотности заряда скорость детонации бризантных ВВ возрастает, достигая максимума при предельной для данного ВВ плотности. Зависимости скорости детонации от плотности заряда представлены в таблице 2.4.
Таблица 2.4 – Скорость детонации ВВ от плотности заряда
| Плотность, г/см3 |
1,3 |
1,4 |
1,5 |
1,6 |
1,6 |
1,7 |
| Взрывчатое вещество |
Скорости детонации, м/с |
|||||
| Тротил |
6025 |
6320 |
6650 |
6980 |
7000 |
- |
| Тетрил |
- |
6780 |
7075 |
7400 |
- |
7650 |
| Гексоген |
- |
7380 |
7180 |
8200 |
- |
8600 |
| ТЭН |
- |
7280 |
7550 |
7880 |
- |
8240 |
Взрывчатые вещества различны по своей способности детонировать. Для каждого из них имеется некоторое наименьшее количество ВВ, необходимое для того, чтобы произошла детонация. Как было установлено академиком Ю.Б. Харитоном, мерой способности ВВ к взрыву может служить критический диаметр заряда, т.е. такой предельный диаметр, при котором детонация может распространиться по заряду. Чем меньше критический диаметр, тем больше способность ВВ к детонации. Величина критического диаметра зависит от физического состояния взрывчатого вещества. Так, критический диаметр прессованного тротила около 10 мм, а литого – 32 мм. Поэтому в заряде из прессованного тротила возбудить детонацию легче, чем в заряде из литого тротила.
2.5 Горение взрывчатых веществ
Взрыв представляет собой одну из форм химического превращения взрывчатых веществ. Другой его формой является горение. Для горения также характерны большое количество выделяемого тепла, газообразных продуктов и большая скорость процесса. И тем не менее горение принципиально отлично от взрыва. Это отличие заключается в первую очередь в механизме распространения процесса.
Как было показано выше, распространение взрыва обусловлено прохождением по заряду ВВ ударной волны, возбуждающей в каждом последующем слое интенсивную химическую реакцию, сопровождающуюся выделением тепла. Распространение же процесса горения по взрывчатому веществу обусловлено передачей тепла от одного слоя к другому за счет теплопроводности, диффузии и излучения газообразных продуктов горения.
Принципиальное отличие в механизме распространения взрыва и горения предопределяет различные скорости этих процессов: скорость горения всегда меньше скорости распространения звука в данном веществе, скорость взрыва превосходит скорость звука в заряде ВВ. Отличием механизмов распространения взрыва и горения объясняется и различное их воздействие на внешнюю среду: продукты горения осуществляют метание тел в сторону наименьшего сопротивления, взрыв вызывает дробление преград, соприкасающихся с зарядом или находящихся на некотором расстоянии от места взрыва.
Процесс горения ВВ довольно сложен и изучен еще далеко не полностью. Большой вклад в изучение процесса горения внесли: академик Н.Н. Семенов, профессора К.К. Андреев, А.Ф. Беляев, Я.Б. Зельдович и другие [3]. Сущность процесса горения представляется следующим образом.
При нагревании ВВ происходит плавление и испарение тонкого слоя вещества. Образующиеся пары нагреваются до температуры, при которой начинается процесс самовоспламенения с последующей интенсивной химической реакцией, которая сопровождается выделением тепла и газообразных продуктов. Продукты горения нагревают следующий слой ВВ, в котором повторяются также физические процессы и химические реакции. За счет образования газообразных продуктов горения давление у горящей поверхности ВВ повышается. Газы расширяются и оттекают от поверхности вещества. Давление над поверхностью зависит от соотношения между скоростью газопритока и скоростью газооттока. Скорость газопритока зависит от скорости горения ВВ, которая для различных веществ разная и по-разному зависит от давления. Если с увеличением давления скорость горения растет быстрее, чем скорость газооттока, то давление будет возрастать и горение перейдет во взрыв.
Инициирующие ВВ имеют большую скорость горения, существенным образом возрастающую с увеличением давления. Поэтому их горение, как правило, является неустойчивым и переходит во взрыв.
Если же при повышении давления скорость горения растет медленнее скорости газооттока, то образующиеся газы успевают расшириться и горение будет носить устойчивый характер. Именно этим объясняется устойчивое горение тротила и других бризантных ВВ, у которых скорость горения мала и в малой степени зависит от давления.
Однако горение бризантных ВВ в некоторых случаях также может перейти во взрыв. Это случается, когда ВВ жидкие или имеют рыхлую пористую структуру. При горении пористого ВВ горячие газообразные продукты проникают через поры в глубь вещества и зажигают его. В результате возрастают поверхность горения и соответствующим образом увеличивается скорость газопритока. Давление растет, и горение переходит во взрыв.
Пироксилин, имеющий пористую структуру, не представлялось возможным использовать для метательных целей до тех пор, пока не нашли способ устранить его пористость. Получение пироксилиновых порохов в принципе и заключается в придании пироксилину плотной структуры.
Благодаря плотной структуре пороха горят устойчиво. Горение является наиболее характерным видом их взрывного превращения.
2.6 Возбуждение взрывных превращений и начальный
импульс
Наличие взрывчатых свойств у того или иного вещества определяет его потенциальную способность к взрывным превращениям в форме горения или детонации. Чтобы вызвать взрывное превращение, необходимо на взрывчатое вещество оказать определенное внешнее воздействие. Это внешнее воздействие называют начальным или инициирующим импульсом. Возможность возникновения взрывного превращения под действием начального импульса зависит от количества энергии, сообщаемой при этом ВВ.
В зависимости от природы ВВ его взрывное превращение можно вызвать различными начальными импульсами: тепловым (нагревом, лучом огня), механическим (ударом, трением, прострелом пулей), взрывным (взрывом другого ВВ).
Вид начального импульса влияет на характер взрывного превращения, что учитывается для тех или иных условий применения ВВ.
В настоящее время достигнут определенный уровень исследований проблемы ударно-волнового инициирования ВВ. В работе [6] показаны механизм возникновения источников локальной генерации тепла при инициировании ВВ и сравнение эффективности элементарных процессов в веществе.
При инициировании жидких и твердых (литых, прессованных) ВВ существуют принципиальные отличия, которые являются следствием того, что жидкие ВВ гомогенны, а твердые, изготовленные каким-либо из известных технологических способов, гетерогенны. Поэтому критические параметры ударно-волнового инициирования для однородных бездефектных систем существенно выше, чем для структурно-неоднородных с пористостью от 1 до 3 %. Это связано с тем, что для гомогенных ВВ необходимо в течение определенного времени прогреть объём за фронтом инициирующей ударной волны.
Модель формирования детонационных волн в гомогенных ВВ (например, нитрометан и его смеси) была предложена Чепменом и уточнена А.Н. Дреминым и сотрудниками [3]. Определение критических условий инициирования детонации для гомогенных ВВ сводится к задаче адиабатического теплового взрыва в условиях изменяющейся во времени температуры с заданным начальным давлением инициирующей ударной волны (УВ).
Гетерогенные же ВВ являются химически однородными, но структурно они неоднородны. Для данной группы ВВ существенны процессы, протекающие на неоднородностях структуры непосредственно за фронтом УВ. При этом для гетерогенных ВВ влияние температурного фона из-за объёмного разогрева значительно, особенно на стадии резкого ускорения инициирующей УВ и установления стационарной детонации. Критические параметры инициирования и пространственно-временная картина течения за фронтом инициирующей УВ для данной группы зависят от баланса между энергией, вводимой в ВВ ударной волной, и энерговыделением от разложения. При этом к локализации выделения энергии приводят следующие структурные дефекты в материале заряда:
· макроуровневые срезы и разрушения на неоднородностях структуры заряда;
· разрыв сплошности течения вблизи пустот, на границах кристаллов и включений;
· дробление и впрыск вещества в полости материала;
· макрокумулятивные эффекты в порах;
· внутрикристаллические дефекты.
Совокупность структурных неоднородностей в веществе – источников локальной генерации тепла – представлена схемой на рисун-
ке 2.4.
|
|
||
|
|
|
|
|
|
|
|
|
|
|
|
|
|
||
| Рисунок 2.4 - Механизм локальной генерации тепла [6] |
||
Превалирующая роль того или иного механизма локальной генерации тепла до настоящего времени не выяснена. Условия начала разложения в очаге могут быть достигнуты при любом механизме генерации тепла в зависимости от физико-механической структуры и свойств ВВ, его пористости, совокупности термокинетических характеристик и характера действующей нагрузки. Однако эффективность этих механизмов не равнозначна и по проведенным оценкам может быть в порядке возрастания представлена следующим образом (рисунок 2.5): деформационный разогрев – ударно-волновой разогрев – фрикционное тепловыделение – вязкопластический локальный разогрев.
|
|
| Рисунок 2.5 - Сравнение эффективности элементарных |
Необходимо отметить, что достаточный для начала химической реакции разогрев в очаге еще не гарантирует распространения процесса в объёме и, следовательно, создания предпосылок формирования самоподдерживающейся инициирующей ударной волны и ее перехода в детонационную. Последнее возможно только в тех случаях, когда создаются необходимые условия для суммирования энергии элементарных процессов, когда развитие процесса в очагах приобретает коллективный характер и роль газодинамики становится преобладающей. В результате возрастает влияние фронтальных процессов и формируется локальная зона максимума давления и массовой скорости, а именно ударно-волновой комплекс с энерговыделением в непосредственной близости от фронта, способный при определенных условиях перестроиться в стационарный, детонационный.
3 Физические основы термодинамики взрывчатых веществ
3.1 Энергетические характеристики
Критериями действия взрыва являются количество тепла, выделяемое при взрыве, объём образующихся газообразных продуктов и температура взрыва.
Для взрывчатых веществ количество тепла, выделяющееся при взрыве, является очень важной характеристикой, определяющей возможность использования того или иного ВВ в соответствующих условиях. Чем больше выделилось тепла, тем выше температура продуктов взрыва, выше давление, а следовательно, и существеннее воздействие продуктов взрыва на окружающую среду. В реальных условиях применения ВВ не вся теплота, выделяющаяся при взрыве, переходит в механическую работу. Часть ее расходуется на нагревание оболочки, в которую заключено ВВ, и окружающей среды.
Количество тепла, выделяющееся при взрыве 1 кг ВВ, называется теплотой взрыва.
Теплота взрыва является важной энергетической характеристикой, определяющей работоспособность ВВ. Количество тепла, выделяемое в результате процесса, протекающего с участием газов, зависит от того, происходит процесс в постоянном или переменном объёме. Полагают, что при детонации ВВ химическая реакция успевает закончиться раньше, чем начнется расширение газообразных продуктов взрыва, и выделение тепла происходит при постоянном
объёме.
Для сравнения энергетических возможностей различных ВВ пользуются величиной QV , то есть теплотой взрыва, определяемой при постоянном объёме. Теплота взрыва некоторых взрывчатых веществ QV приведена в таблице 3.1.
Таблица 3.1 – Теплота взрыва некоторых ВВ
| Взрывчатое вещество |
Теплота взрыва QV , ккал/кг |
| Азид свинца |
367 |
| Гремучая ртуть |
414 |
| Тротил |
1000 |
| Пикриновая кислота |
1030 |
| Тетрил |
1090 |
| Гексоген |
1300 |
| ТЭН |
1400 |
| Нитроглицерин |
1490 |
Теплота взрыва определяется экспериментально или расчетным путем. Экспериментальное определение теплоты взрыва производится в калориметрической установке по количеству тепла, поглощенного массой установки при взрыве внутри нее определенного количества ВВ [5].
В основе вычисления теплоты взрыва лежит открытый в 1840 году русским химиком Г.И. Гессом основной закон термохимии, который представляет собой частный случай закона сохранения энергии. В соответствии с этим законом тепловой эффект химической реакции не зависит от того, какие были промежуточные вещества при протекании реакции, а зависит только от состава исходных веществ и конечных продуктов реакции.
Согласно закону Гесса теплота взрыва QV равна алгебраической разности между теплотой образования продуктов взрыва и теплотой образования взрывчатого вещества:
QV = Q 1 - Q 2 ,
где Q 1 - теплота образования всех продуктов взрыва, равная сумме теплот отдельных продуктов взрыва;
Q 2 - теплота образования взрывчатого вещества.
Теплота образования различных веществ приведена в специальных таблицах [22]. Продукты взрывного превращения могут быть определены методом газового анализа или рассчитаны теоретически.
Точно определить состав продуктов взрыва методом газового анализа довольно трудно, так как газовому анализу подвергаются уже охлажденные продукты взрыва, а состав охлажденных продуктов в силу ряда обстоятельств может отличаться от первоначального состава, соответствующего максимальной температуре и давлению взрыва. Поэтому чаще всего состав продуктов взрыва определяют расчетным путем [9].
При этом исходят из следующих соображений. Подавляющее большинство ВВ представляет собой органические вещества, состоящие из атомов углерода, водорода, кислорода и азота. Состав продуктов взрыва определяется главным образом соотношением горючих составляющих (углерода, водорода) и кислорода.
Приведем некоторые особенности расчета теплоты взрыва. Все ВВ условно делят на 3 группы:
· к первой группе относят ВВ с количеством кислорода, достаточным для полного сгорания горючих элементов (например, нитроглицерин);
· ко второй группе - ВВ с количеством кислорода, недостаточным для полного сгорания, но достаточным для полного газообразования (например, гексоген);
· к третьей группе - ВВ с количеством кислорода, недостаточным для полного газообразования (например, тротил).
Руководствуясь общими закономерностями физической химии и термодинамики, можно достаточно точно подсчитать состав продуктов взрыва. Для этого необходимо составить уравнение реакции взрывного превращения. Приближенные реакции взрывного превращения для ВВ первой и второй групп могут быть составлены достаточно просто. Считают, что в результате взрыва ВВ, относящихся к первой группе, образуются лишь продукты полного сгорания CO2 и H2 O. С учётом этого реакцию взрывного превращения, например, нитроглицерина можно представить следующим образом:
2C3 H5 (ONO2 )3 =6CO2 +5H2 O+0,5O2 +3N2 . (3.1)
Для взрывчатых веществ второй группы пользуются правилом, согласно которому кислород, входящий в молекулу взрывчатого вещества, сначала окисляет весь углерод до окиси углерода, а затем оставшаяся часть кислорода распределяется поровну между водородом и образовавшейся окисью углерода, в результате чего образуются вода и углекислый газ. Руководствуясь этим положением, можно написать уравнение взрывного превращения, например, гексогена:
C3 H6 O6 N6 =3CO+1,5O2 +3H2 +3N2 =1,5CO+1,5CO2 +1,5H2 O+1,5H2 +3N2 . (3.2)
Для третьей группы ВВ составить уравнение реакции несколько труднее. Зная реакцию взрывного превращения и состав продуктов взрыва, нетрудно подсчитать их объём V 0 , приведенный к нормальным условиям (при 0 о С и давлении 760 мм.рт.ст.) и отнесенный к килограмму ВВ:
, (3.3)
где 22,4 – объём 1 грамм-моля газа при нормальных условиях, л;
n – количество молей газообразных продуктов, образующихся при взрыве 1 моля ВВ;
М – молекулярная масса ВВ, г.
Зная теплоту взрыва и состав продуктов взрыва, легко вычислить температуру взрыва:
,
где CV – теплоёмкость продуктов взрыва в зависимости от изменения температуры.
3.2 Стойкость взрывчатых веществ
Немаловажным критерием безопасности ВВ при хранении является стойкость взрывчатых веществ. ВВ способны не только взрываться от действия начальных импульсов, но и самопроизвольно разлагаться и претерпевать различные физико-химические превращения в процессе длительного хранения. Поэтому при определении срока служебной пригодности ВВ обязательно нужно учитывать такое их свойство, как стойкость (стабильность). С учётом этого свойства определяются условия применения и безопасного обращения с ВВ после истечения определенных сроков хранения. Различают химическую и физическую стойкость ВВ.
Химической стойкостью называют способность ВВ сохранять в процессе длительного хранения неизменными химический состав и химические свойства. Она зависит от природы ВВ, наличия в них примесей других веществ, условий хранения. Применяемые в настоящее время для снаряжения ВВ разлагаются крайне медленно. Они обладают большой химической стойкостью. Это значит, что ВВ могут храниться десятилетиями, практически не изменяя своего химического состава и химических свойств.
Физическая стойкость характеризует склонность ВВ к физическим изменениям (физическое состояние, структура, механическая прочность, форма и размеры) самопроизвольно или под влиянием внешних причин.
Природа и механизм этих изменений для разных ВВ могут быть различными. Так, например, при длительном хранении в условиях жаркого климата (t > +40 о С) недостаточно очищенного тротила, получаемого по ускоренной технологии, из него выделяется оливково-желтоватая маслянистая жидкость, получившая название тротилового масла. Тротиловое масло представляет собой легкоплавкую эвтектическую смесь динитротолуолов и тротила. Выделение тротилового масла приводит к разрыхлению ВВ и потере зарядом монолитности, что влечет изменение его взрывчатых характеристик.
Ограниченной физической стойкостью обладают аммонийно-селитренные ВВ, отличающиеся высокой гигроскопичностью и сильной увлажняемостью. Склонность к увлажнению является крупным недостатком аммонийно-селитренных ВВ, ограничивающим их применение и затрудняющим изготовление и снаряжение изделий.
Основной причиной усадки аммотоловых изделий является самопроизвольное слипание и укрупнение кристаллов аммиачной селитры, сопровождающееся уменьшением объёма изделия. Укрупнению кристаллов способствует повышенная влажность аммотола и переход аммиачной селитры из одной модификации в другую. Аммиачная селитра, обладая свойством полиморфизма (модификация форм кристаллов), существует в пяти кристаллических модификациях, каждая из которых стабильна в определенных температурных условиях. Переход из одной модификации в другую (рекристаллизация) происходит при температуре ниже 18, 32, 85 и 125 о С. Этот переход сопровождается изменением плотности и соответственно объёма вещества. Если при хранении изделий или боеприпасов температура окружающего воздуха поднимается выше 32 о С, то наблюдается «рост» зарядов, так как переход через указанную температуру приводит к модификационным превращениям аммиачной селитры, связанным с увеличением объёма. Поэтому хранение изделий, снаряженных аммотолами, в различных климатических условиях сопровождается многократными полиморфными превращениями, которые могут привести к разрушению изделий. Повышенная влажность аммотоловых зарядов снижает их восприимчивость к детонации, уменьшает скорость детонации и может привести к неполным, а также к затухающим взрывам, переходящим в выгорание.
Изменение объёма, или так называемый «рост» ВВ, происходит у некоторых прессованных зарядов за счет остаточной деформации.
В результате такого «роста» невозможно без предварительной обработки ввернуть взрыватель в боеприпасы, что приводит к дополнительным мероприятиям по безопасности. Поэтому очень важно своевременно обнаружить «рост» ВВ.
Химическая стабильность (стойкость) ВВ характеризует скорость разложения ВВ при хранении и определяет способность его сохранять химический состав и связанные с ним физико-химические и взрывчатые свойства в течение гарантийного срока хранения. Она зависит от химической природы ВВ, наличия или отсутствия в нем нестойких примесей или компонентов, несовместимых друг с другом, а также от условий хранения. При низкой стойкости ВВ хранение больших количеств может привести к самоускоряющемуся разложению и взрыву.
Для отдельных ВВ в основе процесса медленного термического распада разложения лежит, как правило, реакция мономолекулярного распада, протекающая в соответствии с уравнением Аррениуса. Константа скорости реакции К находится в экспоненциальной зависимости от температуры Т :
, (3.4)
где В – предэкспонента (константа уравнения Аррениуса);
Е – энергия активации реакции распада;
R – универсальная газовая постоянная.
Особенностью распада взрывчатых веществ по сравнению с обычными химическими реакциями является необычайно высокое значение как предэкспоненты, так и энергии активации.
В обычных условиях, т.е. при невысоких температурах, химически чистые ВВ достаточно стойкие. Так, если принять для константы скорости первичной мономолекулярной реакции распада, например нитроглицерина, значения В
=10-18,64
и Е
=183540 Дж/моль, то период полураспада, рассчитанный по формуле Z
1,2
=ln2/К
, в зависимости
от температуры можно представить в виде следующей таблицы (таблица 3.2).
Таблица 3.2 - Период полураспада в зависимости от температуры
| Температура, о С |
0 |
20 |
40 |
60 |
| Предэкспонента скорости |
10-64,34 |
10-13,95 |
10-10,93 |
10-9,2 |
| Период полураспада, лет |
4,8× 108 |
2× 106 |
1870 |
35 |
Катализировать процесс разложения могут не только продукты собственного распада, но и некоторые примеси. Такими свойствами, в частности, обладают примеси азотной кислоты. Вот почему в технологическом процессе получения нитроэфиров и других мощных ВВ предусмотрена их тщательная отмывка от примесей азотной кислоты и других нестойких продуктов.
В таблице 3.3 приведены энергии активации и кинетические коэффициенты медленного химического разложения ряда индивидуальных взрывчатых веществ [7].
Таблица 3.3 - Энергии активации и кинетические коэффициенты
разложения ряда индивидуальных ВВ
| Вещество |
Е , кДж/моль |
lgB |
Вещество |
Е , кДж/моль |
lgB |
| Нитроглицерин |
179 |
18 |
Нитрат |
170 |
13,8 |
| Диэтиленгликольдинитрат |
178 |
16,5 |
Тротил |
225 |
19,0 |
| ТЭН |
197 |
19,8 |
Гексоген |
199 |
18,5 |
Методы определения химической стойкости ВВ
Для оценки стойкости ВВ обычно определяют скорость их разложения при повышенных температурах, в пределе – при температуре вспышки. Для сокращения времени испытания ограничиваются определением скорости только начальной стадии разложения.
Стойкость нитроглицерина и нитроэфиросодержащих ВВ определяют йодокрахмальной пробой, по которой продукты разложения (окислы азота) улавливаются чувствительной йодокрахмальной бумажкой. Окислы азота, воздействуя на бесцветный ион йода в йодистом калии, переводят его в элементарный йод, который с крахмалом окрашивается в бурый цвет. Для более четкого обнаружения реакции йодокрахмальную бумажку перед испытанием смачивают до половины водным раствором глицерина. Тогда на границе раздела сухой и влажной бумажки видна ясно различимая цветная полоса. Нитроглицерин, предназначенный для приготовления нитроэфиросодержащих ВВ, не окрашивает бумажку в течение 30 минут, нитроэфиросодержащие ВВ – в течение 10 минут [5].
Реологические свойства
К реологическим свойствам относятся пластичность и текучесть ВВ.
Пластичность – способность ВВ легко деформироваться под воздействием небольших нагрузок и сохранять придаваемую им форму. Пластичные промышленные ВВ характеризуются высоковязкой структурой, обусловленной наличием в них пластификаторов и связующих, в динамитах в виде динамитного желатина (раствор нитроклетчатки в нитроглицерине или нитрогликоле), в водосодержащих ВВ – в виде водного геля. Пластичные свойства ВВ зависят от вязкости динамитного желатина и его содержания в ВВ.
К пластичным промышленным ВВ относятся динамиты, содержащие взрывчатую желатину, и высоковязкие водосодержащие ВВ (акваниты, акваналы, гелеобразные акватолы). При очень высокой вязкости желатина и значительном содержании его в составе ВВ приобретают резиноподобную структуру, деформация становится упругой, ВВ теряет свойство пластичности. К таким ВВ, в частности, относятся динамиты, содержащие более 60 % желатины.
Текучесть – способность ВВ вытекать из емкостей под действием силы тяжести. Этим свойством помимо собственно жидких ВВ обладают низковязкие суспензии – смеси жидкостей и порошкообразных наполнителей. Как и жидкости, такие системы могут перекачиваться по трубам и шлангам с помощью насосов различной конструкции.
Некоторые пластичные ВВ при хранении приобретают структуру твердого тела и вновь становятся пластичными при разминании. Такое явление называется тиксотропией. Для стабилизации пластичности в состав ВВ вводят добавки поверхностно-активных веществ, таких как алкиламины.
Исследования структурно-механических (реологических) свойств показали, что водосодержащие ВВ как с алюминием, так и сенсибилизированные тротилом, по характеру аномалии вязкости относятся к неньютоновским жидкостям с ярко выраженными вязкопластичными и тиксотропными свойствами. При снижении вязкости увеличивается текучесть водосодержащих ВВ, которая обратно пропорциональна вязкости. Вязкость и пластичность ВВ определяется с помощью консистометра Геплера, которым измеряют скорость проникновения иглы с шариком на конце в массу вещества или деформацию цилиндриков из ВВ при действии на них в течение определенного времени заданной нагрузки. В таблице 3.4 приведены данные об изменении пластичности динамита и водосодержащего ВВ, определенные на консистометре
Геплера.
Таблица 3.4 – Пластичность динамита и водосодержащего ВВ
| ВВ |
Усадка (мм) столбиков диаметром 10 мм высотой |
|||
| -10 |
-15 |
-20 |
-25 |
|
| Динамит |
4,14 |
1,50 |
0,81 |
0 |
| Водосодержащее ВВ |
4,8 |
0,37 |
0,27 |
0 |
Для определения пластичности ВВ чаще пользуются более простым прибором – пенетрометром (от лат. penetro - проникаю). Пластичность оценивается в этом случае скоростью проникновения иглы пенетрометра. Ниже приведены результаты испытания водосодержащего ВВ (ВВВ) пенетрометром (таблица 3.5).
Таблица 3.5 – Результаты определения пластичности пенетрометром
| Содержание воды в ВВ, % |
4 |
6 |
8 |
10 |
| Время проникновения иглы до основания столбика из ВВ высотой 40 мм, с |
180 |
50 |
30 |
10 |
В полевых условиях пластичность ВВ качественно можно оценить по способности изделий разминаться в руке и сплющиваться в шпуре или скважине при нажатии забойником.
3.3 Разрушающие факторы взрывчатых веществ
Детонация ВВ
Детонация представляет собой самоподдерживающийся процесс перемещения по ВВ со сверхзвуковой скоростью ударного фронта (скачка давления), сопровождающийся химическим превращением вещества. Химическая реакция возникает в результате адиабатического сжатия и разогрева вещества в ударном фронте. Комплекс из ударного фронта и зоны химической реакции называется детонационной волной . Давление на ударном фронте имеет порядок от десятков атмосфер (газы) до сотен тысяч атмосфер (мощные бризантные вещества). Установившаяся (стационарная) детонационная волна распространяется по ВВ с постоянной скоростью (от 1 до 10 км/с). Постоянство параметров детонационной волны объясняется тем, что потери энергии, связанные со сжатием и вовлечением в движение вещества, компенсируются теплом, выделяющимся в ударно-сжатом ВВ при его химическом превращении.
Первую математическую модель детонационной волны в газах, опирающуюся на теорию ударных волн, в виде гидродинамической теории детонации разработали в конце прошлого века одновременно несколько ученых – В.А. Михельсон в России, Д.Л. Чепмен в Англии, Е. Жуге во Франции. Эта модель не рассматривает кинетики (пространственно-временных характеристик) химической реакции в детонационной волне, а представляет ударный фронт в ней формально в виде поверхности разрыва, отделяющей исходное вещество от продуктов его химического превращения. В подвижной системе координат процесс представляется таким образом, что в ударный фронт втекает вещество в исходном состоянии и вытекает из него в виде продуктов своего химического превращения. В этом случае, как и в теории ударных волн, но с учётом энерговыделения при детонации, основные соотношения между начальными и конечными параметрами состояния вещества, а также кинематическими параметрами детонации – скоростью перемещения фронта (скоростью детонации) D и массовой скоростью движения продуктов превращения за фронтом U находят из законов сохранения массы, количества движения (импульса) и энергии в волне.
Развитие эта теория получила в работах Я.Б. Зельдовича [10],
Д. Неймана, В. Деринга, независимо предложивших модель детонационной волны, учитывающую физическую зону превращения исходного ВВ в конечные продукты (зону «химпика»). Основные представления об этой модели дают рисунки 3.1 и 3.2. На рисунке 3.1 схематически показан профиль детонационной волны в координатах «давление-расстояние», а на рисунке 3.2 - PV‑диаграмма волны.
|
|
|
| Рисунок 3.1 - Профиль |
Рисунок 3.2 - PV-диаграмма |
Согласно данной модели исходное вещество с начальными параметрами P 0 , V 0 (точка А на рисунке 3.2) сжимается в ударном фронте до состояния, отвечающего точке В. В этом состоянии в результате адиабатического сжатия и разогрева в веществе возникает экзотермическая реакция взрывного превращения, заканчивающаяся в точке С, называемой точкой Жуге или Чепмена-Жуге и лежащей на адиабате продуктов детонации (адиабате Гюгонио). Процесс превращения сопровождается расширением нагретых газообразных продуктов детонации (ПД), поэтому давление ПД в точке Жуге Рж примерно в два раза ниже, чем в точке В. За точкой Жуге (плоскостью Чепмена-Жуге) происходит дальнейший спад давления в ПД вследствие их расширения (волна разгрузки). Прямую АВ, являющуюся касательной к адиабате Гюгонио в точке Жуге, называют прямой Михельсона.
На рисунке 3.1 адиабатическому сжатию вещества отвечает прямая АВ с очень малым наклоном относительно оси абсцисс, что свидетельствует о крайне малом времени сжатия и малой толщине сжатого слоя. Зоне химического пика отвечает участок ВС на кривой спада давления, точка излома С отвечает точке Жуге, участок за этой точкой характеризует спад давления в расширяющихся продуктах детонации.
Исходя из гидродинамической модели, основными соотношениями для детонационной волны являются, согласно законам сохранения:
| массы |
|
(3.5) |
| импульса |
|
(3.6) |
| энергии |
|
(3.7) |
где U – массовая скорость движения продуктов взрыва за фронтом;
D - скорость детонации ВВ;
Е 1 , Е 2 – внутренняя энергия продуктов взрыва соответственно в начальном и конечном состоянии;
Qвзр – теплота взрыва;
V 0 и P 0 – соответственно удельный объём и давление исходного вещества;
P и V – соответственно давление и удельный объём продуктов детонации.
Совместное решение уравнений (3.5) и (3.6) дает формулы для расчета кинетических параметров детонации:
, (3.8)
. (3.9)
Данные выражения являются одной из форм записи уравнения ударной адиабаты Гюгонио для продуктов детонации.
Большинство исследователей пришли к выводу, что при
r0
³1 г/см3
скорость детонации (D
) может быть описана линейной зависимостью вида
D= A+ B (r0 ) (3.10)
или, как это предложил М.А. Кук:
D 2 = D 1 + M (r2 -r1 ), (3.11)
где D 2 и D 1 – скорость детонации при плотности ВВ соответственно r2 и r1 ;
М – размерный коэффициент.
М.А. Кук в качестве усредненного коэффициента М рекомендует величину 3500. Значения коэффициентов А , В и величин D 1,0 (плотность 1,0 г/см3 ) и D 1,6 (плотность 1,6 г/см3 ) для некоторых веществ приведены в таблице 3.6 [7].
Таблица 3.6 – Значения коэффициентов А , В и величин D 1,0 и D 1,6 для некоторых ВВ
| Вещество |
А , км/с |
В |
D 1,0 , км/с |
D 1,6 , км/с |
| Тротил |
1,84 |
3,20 |
5,10 |
6,97 |
| Гексоген |
2,40 |
3,59 |
6,08 |
8,03 |
| Гексоген флегматизированный |
2,12 |
3,80 |
– |
– |
| Октоген |
2,56 |
3,48 |
6,09 |
8,08 |
| Октоген флегматизированный |
1,09 |
4,31 |
– |
– |
| ТЭН |
2,25 |
3,41 |
5,90 |
7,85 |
Приведенные основные соотношения в детонационной волне приемлемы для случая плоской волны, когда вся потенциальная химическая энергия реализуется в детонационной волне и определяет параметры детонации – её скорость, давление и другие. В случае неодномерного течения за ударным фронтом параметры детонации в определенных границах становятся зависимыми от поперечных размеров заряда, как это впервые показал Ю.Б. Харитон. Так как зона химического превращения в детонационной волне имеет конечные размеры, то за время химической реакции (участок ВС на рисунке 3.2) образующиеся сжатые газообразные продукты стремятся к расширению в радиальном направлении. В результате этого в зону реакции с боковой поверхности входит волна разрежения, а охваченная ею масса вещества теряется как поставщик энергии относительного ударного фронта. Так как глубина проникновения волны разрежения обратно пропорциональна радиусу заряда, то относительные потери энергии в детонационной волне должны уменьшаться с увеличением радиуса заряда, т.е. детонация может устойчиво распространяться по заряду, если продолжительность реакции t в волне меньше времени разброса вещества q в радиальном направлении. Исходя из этого, существует такой минимальный диаметр заряда d кр , при котором еще возможно устойчивое распространение детонации. Этот диаметр называется критическим диаметром детонации . Его величина находится из условий устойчивости:
|
|
|
|
(3.12) |
где а - ширина зоны реакции;
d з – диметр заряда взрывчатого вещества;
w - скорость волны разрежения, равная скорости звука в расширяющихся продуктах детонации;
U – массовая скорость.
При d
з
>d
кр
потери энергии в детонационной волне должны уменьшаться, а параметры волны соответственно возрастать, асимптотически приближаясь к своему максимуму. Диаметр заряда, при котором параметры детонации близки к максимальным (рисунок 3.3), называют предельным диаметром детонации d
пр
. Детонацию, протекающую в заряде с d
кр
< d
з
< d
пр
, называют детонацией в неидеальном
режиме.
Критический диаметр зависит от многих физико-химических факторов и уменьшается с увеличением реакционной способности ВВ, которая зависит от природы вещества, его физического состояния – размеров частиц, пористости (плотности) заряда, для смесевых ВВ – от равномерности смешивания. На рисунке 3.4 приведена зависимость критического диаметра заряда тротила от плотности при различных размерах частиц.
|
|
|
| Рисунок 3.3 - Зависимость |
Рисунок 3.4 - Зависимость |
Критические диаметры детонации в стеклянных трубках для некоторых веществ при их плотности около 1,0 г/см3 и размере частиц от 0,05 до 0,20 мм приведены в таблице 3.7.
Таблица 3.7 – Критические диаметры детонации некоторых ВВ
в стеклянных трубах при плотности 1,0 г/см3
и размере частиц
от 0,05 до 0,20 мм
| Вещество |
d кр , мм |
| Азид свинца |
0,01-0,02 |
| ТЭН |
1,0-1,5 |
| Гексоген |
1,0-1,5 |
| Тротил |
8-10 |
| Нитроглицерин |
1-2 |
| Аммонит 6Ж В |
10-12 |
Для жидких и газообразных ВВ имеются другие объяснения критических условий распространения детонации. Они основываются на механизме срыва реакции на стенке. Соответственно значение dкр определяется не временем собственно реакции в детонационной волне, а временем индукции этой реакции, развивающейся по законам теплового взрыва. При диаметре меньше критического теплового взрыва не происходит. Такой механизм [11] позволяет объяснить очень малый диапазон между значениями dкр и dпр для жидких ВВ.
Для твердых промышленных ВВ характерен большой разрыв между величинами dкр и dпр , их отношение может достигать 10. Так, например, значение dкр тонкодисперсных аммонитов в открытых зарядах диаметром 40 мм составляет 150 мм, а максимальная скорость детонации фиксируется в зарядах диаметром более 200…300 мм (рисунок 3.5). В прочных оболочках этот разрыв сужается.
Определение скорости детонации
Сущность определения скорости детонации заключается в измерении времени прохождения детонационной волны между двумя заданными точками с помощью хронографа или сравнении определяемой скорости детонации с известной скоростью детонации. Например, сущность метода определения скорости детонации в конденсаторном хронографе (рисунок 3.6) заключается в том, что за время детонации заряда определенной длины происходит разряд конденсатора C через сопротивление R .
Зная ёмкость конденсатора C и его начальный и конечный заряды q 0 и q t , время разряда, т. е. время детонации t, вычисляется по фор-муле:
. (3.13)
|
|
| 1 – гранулит АС-4; 2 – граммонит 79/21; 3 – аммонит 6ЖВ; Рисунок 3.5 - Зависимость скорости детонации гранулированных |
|
|
| Рисунок 3.6 - Схема конденсаторного хронографа |
Особенность данного метода, дающая возможность определять скорость детонации на малых участках (от 5 до 10 см), заключается в механизме размыкания тока. Для разрыва цепи тока в хронографе использованы два стальных стержня 3 и 4, соприкасающихся с испытуемым зарядом 2. На свободных концах к стержням пришлифованы металлические контакты 3а и 4а, которые только силой сцепления удерживаются на стержне. При прохождении детонационной волны стержень испытывает толчок, пришлифованная пластинка отскакивает и тем самым нарушает контакт. Действие устройства заключается в следующем. До детонации заряда конденсатор С заряжается от батареи Е . Начальный заряд q 0 может быть определен, если переключатель Р установить на баллистический гальванометр G и измерить количество электричества по гальванометру. В момент прохождения детонационной волны стержень 3 испытывает удар и контакт 3а разрушается, при этом батарея оказывается отключенной от цепи и конденсатор разряжается через сопротивление R . При достижении детонационной волной второго стержня нарушается контакт 4а и цепь С- R разрывается. После чего с помощью переключателя Р измеряется остаточный заряд q t .
Более простым и распространенным методом определения скорости детонации является метод Дотриша, заключающийся в сравнении определяемой скорости детонации с известной скоростью детонации детонирующего шнура [5].
Наиболее точным методом определения скорости детонации и параметров фронта детонации являются осциллографические и фоторегистрирующие методы, например, с помощью камер ждущей и скоростной фоторегистрации (ЖФР, СФР).
Формы работы взрыва
В общем случае коэффициент полезного действия взрыва зависит от многих факторов: характера работы взрыва, физико-механических свойств объектов разрушения, свойств ВВ и их взаимосвязи [12]. Схематически работу взрыва можно описать на примере типового случая дробления и выброса горной породы при взрыве углубленного заряда (рисунок 3.7).
Возникающая впереди фронта расширяющихся продуктов взрыва волна сжатия (ударная волна) сжимает массив горных пород и вызывает в нем тангенциальные напряжения, приводящие к образованию радиальных трещин. При отражении волны от свободной поверхности возникают растягивающие усилия, приводящие к образованию кольцевых трещин, вблизи от поверхности – откольные явления.
|
|
| 1 - зона вытеснения; 2 - зона раздавливания; 3 - зона трещин Рисунок 3.7 - Схема действия взрыва (а) и образования |
Таким образом, в результате ударно-волновой составляющей действия взрыва в массиве, в дополнение к естественным трещинам, образуется объёмная сетка трещин, которая намечает контуры отдельностей, т.е. форму и размеры кусков породы. Работу разрушения завершают расширяющиеся продукты взрыва, которые сдвигают горную массу с частично нарушенными связями. При этом трещины расширяются и окончательно формируются куски раздробленной породы. При последующем выбросе горной массы куски дополнительно дробятся в результате соударения.
Описанная схематически картина дробления, сдвига и выброса горной массы указывает на две основные формы работы, совершаемой продуктами взрыва: работу дробления и работу перемещения горной массы. Первую называют бризантным или дробящим действием взрыва, вторую – фугасным или метательным действием.
Бризантное действие взрыва осуществляется за очень короткий интервал времени порядка 10-6 …10-5 с и пропорционально головной части импульса взрыва. Фугасное действие пропорционально полному импульсу взрыва I и совершается в течение миллисекунд.
, (3.14)
где p – давление продуктов взрыва, кг/см2 ;
m – масса заряда, кг;
t к – время достижения ПД давления окружающей среды, с;
Qвзр – теплота взрыва, ккал/кг.
Таким образом, бризантное действие обусловлено динамическим ударом продуктов детонации, находящихся под очень высоким давлением (от 20000 до 500000 кгс/см2 ), и наблюдается лишь в непосредственной близости от заряда ВВ. На бризантном действии основано применение ВВ в осколочных снарядах, бомбах, гранатах и других боеприпасах; в промышленности для разрушения горных выработок и бетонных конструкций.
В последние годы значительное внимание учеными уделяется изучению бризантного действия ВВ на иерархическую структуру геофизической среды, в том числе и при взрывном дроблении горных пород и бетонных блоков. Так, например, в работе [13] приведены результаты исследования по определению влияния массы m (г) заряда ВВ на величину кусков взорванного материала.
Опыты проводили с искусственными средами – бетонными блоками в форме куба, что позволило исключить из экспериментов влияние таких трудноконтролируемых параметров структурных сред, как трещиноватость и неоднородность. Опыты проводились с различными типами зарядов ВВ и различными величиной и прочностью бетонных блоков. Полученный в результате взрыва кусковой материал разделялся ситовым анализом по фракциям, для них определялся средний размер куска и массовая доля каждой фракции в общей массе раздробленного материала.
На рисунке 3.8 на основе экспериментальных данных представлены гистограммы в полулогарифмических координатах распределения кусков бетона при разрушении внутренним взрывом.
Получены двухмодальные распределения Р
(l)
кусков по размерам. Полимодальность распределений свидетельствует о наличии в раздробленном материале кусков бетона с характерным размером
массой Q
, равным значению абсциссы максимумов. Такие куски встречаются чаще всего. По полученным данным построены зависимости характерных
(m
) и средних размеров кусков l
(m
) при разрушении блоков внутренним взрывом (рисунок 3.9).
Данные зависимости удовлетворительно описываются выражениями:
=
80,89m
-0,936
,
(3.15)
l = 70,39 m - 1,382
|
|
|||
| Масса заряда m, г: 1-22,5; 2-15,3; 3-10; 4-5,5; 5-2,45 Рисунок 3.8 - Распределение кусков бетона по размерам |
|||
|
|
|||
| Рисунок 3.9 - Зависимости |
|||
Аналогичные исследования выполнены при разрушении бетонных блоков накладными зарядами.
Таким образом, результаты разрушения бетонных блоков наружными и внутренними взрывами свидетельствуют о наличии характерных размеров кусков
. Величина их монотонно снижается с увеличением массы зарядов ВВ и находится в корреляционной связи со средним размером кусков l
раздробленного материала. Описанная работа [13] представляет научный интерес, так как результаты взрывного дробления бетонных блоков накладными и внутренними зарядами взрывчатого вещества (т.е. бризантное действие ВВ) рассмотрены с позиции иерархии размеров образовавшихся кусков и установлено, что характерный размер кусков нелинейно зависит от массы зарядов, причем существует связь между характерным
и средним l
размерами кусков раздробленного материала:
=
1,149 m
0,446
l
.
Оценка бризантности взрывчатых веществ
Наиболее простым и распространенным методом испытания на бризантность является проба на обжатие свинцовых столбиков, проба Гесса (рисунок 3.10). Для испытаний применяется свинцовый столбик 2 диаметром 40 мм и высотой 60 мм, который устанавливается на массивной стальной плите 1 в вертикальном положении.
|
|
| Рисунок 3.10 - Схема прибора определения бризантности |
На столбик 2 помещают стальную пластинку 3 толщиной 10 мм и диаметром 41 мм, на которой устанавливается заряд 4 испытываемого ВВ массой 50 г диаметром 40 мм в бумажной оболочке. При взрыве заряда ВВ свинцовый столбик деформируется. Мерой бризантности ВВ является величина обжатия, т.е. разность высот столбика до и после обжатия.
Более точно бризантность оценивают, как это показано в работах П.Ф. Похила и М.А. Садовского, величиной a:
a = Dh /( h 0 - Dh ) = Dh / hk , (3.16)
где a - коэффициент бризантности;
Dh - величина обжатия столбика (бризантность);
h 0 – высота столбика до обжатия;
hk – высота столбика после обжатия.
Функция a учитывает увеличение сопротивления столбика по мере обжатия. В таблице 3.8 приведены величины бризантности и показателя a для некоторых ВВ при плотности 1 г/см3 .
Таблица 3.8 – Величина бризантности Dh
, мм и показатель a
для некоторых ВВ
| Показатели |
Тротил |
Аммониты |
Детонит М |
|||
| 6ЖВ |
скальный |
ПЖВ-20 |
АП-5ЖВ |
|||
| Бризантность, мм |
16 |
14 |
18 |
13 |
14 |
17 |
| a |
0,364 |
0,305 |
0,43 |
0,277 |
0,305 |
0,396 |
Методы определения работоспособности ВВ
Газообразные продукты реакции, образующиеся при горении или детонации ВВ, имеющие высокую температуру и находящиеся в сильно сжатом состоянии, способны производить определенную механическую работу, которая проявляется в виде фугасного действия бризантных веществ.
Количество механической работы, совершенной продуктами взрывчатого вещества, зависит от целого ряда условий, причем главными из них являются скорость процесса, удельный объём газообразных продуктов и предельные значения давления и температуры газов, до которых они снижаются при производстве работы. Очевидно, что чем ниже будут конечные значения температуры и давления, тем меньше энергии останется неиспользованной в процессе расширения газов взрыва.
Работоспособность ВВ можно выразить величиной удельной энергии или удельной работоспособности
, (3.17)
где Е – удельная работоспособность;
P 0 – давление продуктов реакции;
V 0 k – объём газообразных продуктов реакции;
Т – температура продуктов взрыва.
Работа, производимая ВВ при практическом их применении, составляет небольшую долю ее максимального теоретического значения, в лучшем случае не более 30…50 %, что еще более затрудняет оценку действительно возможной работоспособности по вычисленным значениям. Поэтому чаще предпочитают сравнивать работоспособность на основе величин, полученных опытным путем.
Для определения относительной работоспособности наиболее широко используется метод свинцовой бомбы (проба Трауцля). Принятая на II Международном конгрессе прикладной химии в качестве стандартной, бомба Трауцля (ГОСТ 4546-81) представляет собой массивный свинцовый цилиндр с несквозным осевым каналом, на дно которого помещают заряд исследуемого ВВ массой 10 г в бумажной гильзе. Свободную часть канала бомбы засыпают сухим кварцевым песком. После взрыва в бомбе образуется характерное вздутие (рисунок 3.11), объём которого и является мерой относительной работоспособности ВВ. Величины относительной работоспособности V (см3 ), определенные этим методом для наиболее характерных веществ, приведены в таблице 3.9.
Таблица 3.9 – Значения относительной работоспособности V
(см3
)
для некоторых взрывчатых веществ
| Взрывчатое вещество |
V , см3 |
| Тротил |
285-310 |
| Гексоген |
475-495 |
| Аммонит 6ЖВ |
360-380 |
| Аммонал №3 |
460-480 |
| Детонит М |
440-460 |
| Аммонит ПЖВ |
265-290 |
| Угленит Э-В |
130-170 |
|
Рисунок 3.11 - Схема по определению работоспособности (фугасности) ВВ в свинцовой бомбе
Более точным методом определения работоспособности является метод баллистического маятника , основой которого является груз, подвешенный на жестких тягах к неподвижной опоре. При воздействии на маятник потока продуктов взрыва или ударной волны, он получает какое-то количество движения и отклоняется на некоторый угол, по которому и судят о величине работоспособности.
Тротиловый эквивалент
Широкое распространение получила оценка работоспособности (мощности) ВВ в виде тротилового эквивалента . Это – относительная величина, выражающая работоспособность данного ВВ через показатель работоспособности тротила. За этот эталон принимается тротил с плотностью 1,5 г/см3 и с теплотой взрыва 4186 кДж/кг (1000 ккал/кг).
Исходя из определения, тротиловый эквивалент dT можно выразить уравнением:
, (3.18)
где X и T - индексы, которые относятся соответственно к исследуемому ВВ и к тротилу;
- идеальная работоспособность;
- идеальный термодинамический коэффициент по-лезного действия взрыва;
Qвзр – удельная теплота взрыва, кДж/кг.
В другой, адекватной по физическому смыслу, трактовке тротиловый эквивалент определяется как отношение масс тротила mТ
и данного ВВ mХ
, обладающих равной работоспособностью (
), и описывается выражением
. (3.19)
Если мерой работоспособности служит величина энергии генерируемой в воздухе ударной волны, то исходя из уравнения (3.19) тротиловый эквивалент может быть охарактеризован как отношение масс тротила и исследуемого ВВ, генерирующих ударные волны равной интенсивности .
Экспериментально тротиловый эквивалент чаще всего находят путем измерения параметров ударной волны в воздухе. Находят такие массы тротила, которые генерируют ударные волны такой же интенсивности, как единицы масс исследуемых ВВ. Выбор именно этого метода объясняется тем, что процесс формирования ударной волны в воздухе в наибольшей мере приближается к идеальному адиабатическому расширению продуктов взрыва, производящему уплотнение воздуха.
Ударная воздушная волна и ее параметры
Ударная волна (УВ) – наиболее мощный поражающий фактор при взрыве. Она образуется за счет колоссальной энергии, выделяемой в центре взрыва, что приводит, как было показано, к наличию огромной температуры и давления. Раскаленные продукты взрыва при стремительном расширении производят резкий удар по окружающим слоям воздуха, сжимают их до значительного давления и плотности, нагревая до высокой температуры. Такое сжатие происходит во все стороны от центра взрыва, образуя фронт ударной воздушной волны (УВВ). Вблизи центра взрыва скорость распространения УВВ в несколько раз превышает скорость звука. По мере движения скорость ее распространения падает. Снижается и давление во фронте. В слое сжатого воздуха, называемого фазой сжатия УВВ (рисунок 3.12), наблюдаются наиболее разрушительные последствия.
|
|
| Рисунок 3.12 - Фазы и фронт ударной воздушной волны (УВВ) |
Параметры воздушных ударных волн рассчитываются по закону подобия взрывных волн, суть которого состоит в том, что при взрыве зарядов сферической формы параметры УВ являются функциями только массы ВВ или ее энергетического эквивалента и расстояния от геометрического центра взрыва и не зависят от детонационных параметров ВВ . Этот закон выведен из теории точечного взрыва при следующих допущениях: энергия при взрыве заряда выделяется мгновенно и сосредоточенно, а возникающие в воздухе сферические УВ распространяются без диссипативных потерь, их параметры уменьшаются с увеличением расстояния от центра взрыва только вследствие увеличения поверхности волны и соответствующего уменьшения в ней плотности энергии. На основании этих допущений выведены конкретные виды функций параметров УВ от массы заряда и расстояния:
1. Избыточное давление определяется разностью между фактическим давлением воздуха в данной точке и атмосферным давлением (Ризб =Рф -Рат = DР ). При проходе фронта ударной волны избыточное давление воздействует на человека со всех сторон
. (3.20)
2. Скоростной напор воздуха (динамическая нагрузка, т.е. поток энергии) обладает метательным действием. Совместное воздействие этих двух параметров УВВ приводит к разрушениям объектов и жертвам
. (3.21)
3. Импульс избыточного давления
. (3.22)
4. Длительность фазы сжатия
. (3.23)
5. Длина ударной волны
, (3.24)
где
- размерные коэффициенты;
m – масса ВВ, кг;
R – расстояние от центра заряда, м;
r – радиус заряда, м.
Заряды имеют сферическую форму.
В выражениях (3.20)-(3.24) коэффициенты
отражают энергетические эквиваленты единицы массы ВВ. Соответственно они являются индивидуальными характеристиками каждого ВВ. Численно они равны соответствующему параметру волны, измеренному при взрыве 1 кг ВВ на расстоянии 1 м от центра заряда.
Если же массу ВВ заменить на ее энергетический эквивалент, например, на величину hn
Q
взр
, т.е. на ту часть энергии взрыва, которая переходит в ударную волну, то коэффициенты
становятся постоянными величинами, не зависящими от вида ВВ. В таком виде формулы часто используют для решения обратной задачи: нахождения показателя hn
и величины идеальной работоспособности ВВ
по измеренным параметрам ударной волны.
На практике зависимости выражают через так называемые приведенные величины, например, приведенные расстояния
. Тогда параметры ударной волны становятся функциями приведенных расстояний. Справедливость выражений (3.20)-(3.23) была проверена М.А. Садовским для реальных зарядов тротила [15]. Им было установлено, что зависимость для импульса ударной волны соблюдается с удовлетворительной точностью, а избыточное давление более точно описывается выражением типа полинома:
. (3.25)
С помощью формул (3.20) и (3.25) можно определить тротиловый эквивалент исследуемого ВВ. На рисунке 3.13 приведены кривые изменения давления в ударной волне в зависимости от приведенного расстояния при взрыве тротила на поверхности земли и в воздухе.
|
|
| 1 – взрыв на поверхности земли; 2 – взрыв в воздухе Рисунок 3.13 - Зависимость давления в воздушной ударной |
Большой интерес представляют ударные воздушные волны в ближней зоне действия взрыва как с точки зрения безопасности (при проведении аварийно-спасательных работ), так и при практическом использовании, например, при разделке судов или других конструкций на металлолом [16]. В этом случае зачастую взрывные работы приходится вести в стесненных условиях: в доках, вблизи конструкций и сооружений, внутри отсеков кораблей и т.п. Поэтому важно правильно оценить действие взрывов на окружающие сооружения и конструкции, организовать их защиту и рассчитать предельно-допустимый эффективный заряд. Для этого необходимо знать параметры поля взрыва, прежде всего в ближней зоне действия.
В работе [17] показано, что в ближней к заряду зоне, т.е. на расстоянии R =(1…15)r 0 (r 0 - радиус заряда), геометрический закон подобия выполняется только для одного и того же взрывчатого вещества при его постоянной плотности r0 . На малых расстояниях от заряда на параметры УВВ влияет начальная скорость продуктов взрыва. При этом скорость фронта УВВ сферического заряда D (м/с) рассчитывается по формуле [17]:
, (3.26)
где A
, n
– постоянные величины, принимающие определенные значения в различных интервалах аргумента
;
- расчетный аргумент (безразмерная величина);
- полная энергия взрыва заряда, ккал;
R - расстояние от места взрыва, м;
QV – удельная теплота взрыва, ккал/кг;
m – масса заряда, кг.
Зависимость (3.26) уточнена авторами Л.А. Шушко, Ю.А. Каганер в работе [18] на основании обработки данных целого ряда испытаний и собственных экспериментов, в которых исследовались сферические заряды различных ВВ (бризантных и инициирующих, индивидуальных и смесевых, в твердом состоянии и жидких). При этом диапазон начальных плотностей ВВ охватывал все виды зарядов (насыпные, прессованные и сплавы) и составлял от 0,4 до 1,68 г/см3
. В результате исследований получены следующие значения постоянных зависимости (3.26): А
=271, n
=2/3 в интервале 0,005 £ x £ 0,07 и А
=112, n
=1 при
0,07 < x £ 0,2.
Параметры ударной воздушной волны, вычисленные по этому соотношению, наиболее близки к полученным для литого заряда ТГ 50/50 при r0 =1,67 г/см3 , D =7700 м/с и QV =1140 ккал/кг. Уточненная зависимость (3.26) приведена на рисунке 3.14 и принимает вид
. (3.27)
Таким образом, зная параметры УВВ в ближней зоне и при распространении на значительные расстояния, можно не только произвести расчет разрушающего действия взрыва, но и определить безопасные расстояния до конструкций защитных сооружений.
Воздействие ударной воздушной волны на человека
При взрыве образуется очаг поражения с ударной волной и световым излучением. В очаге взрыва можно выделить три сферических зоны (рисунок 3.15) [14].
|
|
| 1 – зависимость Рисунок 3.14 - Зависимость D 1 (x) для сосредоточенного заряда |
|
|
| Рисунок 3.15 - Очаг поражения при взрыве ВВ |
Зона I детонационной волны находится в пределах облака взрыва, радиус которого определяется как
,
где m – масса продуктов взрыва, кг.
В пределах зоны I избыточное давление можно считать постоянным и равным 1,7…2,0 МПа.
Зона II – зона действия продуктов взрыва, которая охватывает всю площадь разлета продуктов взрыва ВВ в результате их детонации. Радиус зоны II в 1,7 раза больше радиуса зоны I, т.е. R 2 =1,7R 1 , а избыточное давление по мере удаления уменьшается до 0,3…0,4 МПа.
Зона III – зона действия УВВ. Здесь формируется фронт УВВ.
Воздействие УВВ на человека может быть косвенным или непосредственным. При косвенном поражении УВВ, разрушая постройки, вовлекает в движение огромное количество твердых частиц, осколков стекла и других предметов массой до нескольких грамм при скорости до 35 м/с. Так, при величине избыточного давления порядка 60 кПа плотность таких опасных частиц достигает 4500…5000 шт./м2 . Наибольшее число пострадавших – жертвы косвенного воздействия УВВ.
Непосредственное поражение УВВ людей приводит к травмам:
· крайне тяжелые (обычно несовместимы с жизнью) наблюдаются при воздействии избыточного давления величиной свыше 100 кПа;
· тяжелые (сильная контузия организма, поражение внутренних органов, потеря конечностей, сильное кровотечение из носа и ушей) возникают при избыточном давлении от 60 до 100 кПа;
· средние (контузия, повреждение органов слуха, кровотечение, вывихи) имеют место при избыточном давлении от 40 до 60 кПа;
· легкие (ушибы, вывихи, временная потеря слуха, общая контузия) наблюдаются при избыточном давлении от 20 до 40 кПа.
Эти же параметры УВВ приводят к разрушениям, характер которых зависит от нагрузки, создаваемой УВВ, и реакций предмета на действия этой нагрузки. Поражения объектов, вызванные УВВ, можно характеризовать степенью их разрушений в зависимости от расстояния (зоны разрушений).
Зона полных разрушений является зоной, в которой восстановить разрушенные объекты невозможно. Массовая гибель всего живого. Занимает до 13 % всей площади очага поражения. Здесь полностью разрушены строения, до 50 % противорадиационных укрытий, до 5 % убежищ и подземных коммуникаций. Сплошных пожаров не возникает из-за сильных разрушений, срыва пламени ударной волной, разлета воспламенившихся обломков и засыпки их грунтом. Эта зона характеризуется величиной избыточного давления более 50 кПа.
Зона сильных разрушений занимает площадь до 10 % очага поражения. Строения сильно повреждены, убежища и коммунальные сети сохраняются, 75 % укрытий сохраняют свои защитные свойства. Есть местные завалы, зоны сплошных пожаров. Зона характеризуется избыточным давлением от 30 до 50 кПа.
Зона средних разрушений наблюдается при избыточном давлении от 20 до 30 кПа, занимает площадь до 15 % очага поражения. Строения получают средние разрушения, а защитные сооружения и коммунальные сети сохраняются. Могут быть местные завалы, участки сплошных пожаров, массовые санитарные потери незащищенного населения.
Зона слабых разрушений характеризуется избыточным давлением от 10 до 20 кПа и занимает до 62 % площади очага поражения. Строения получают слабые повреждения (разрушения перегородок, дверей, окон), могут быть отдельные завалы, очаги пожаров, а у людей – травмы.
Рельеф местности оказывает влияние на распространение УВВ: на склонах холмов, обращенных в сторону взрыва, давление выше, чем на равнинной местности (при крутизне склона 30 градусов давление на нем на 50 % выше), а на обратных склонах - ниже (при крутизне склона 30 градусов – в 1,2 раза). В лесных массивах избыточное давление может оказаться на 15 % выше, чем на открытой местности, но по мере углубления в лес скоростной напор уменьшается. Метеоусловия оказывают влияние только на слабую УВВ, т.е. с избыточным давлением менее 10 кПа. Летом наблюдается ослабление УВВ по всем направлениям, а зимой – ее усиление, особенно в направлении ветра. Дождь и туман оказывают влияние на УВВ при избыточном давлении до
30 кПа. Снегопад не снижает давления УВВ.
Кумулятивное действие взрыва
Действие взрыва можно усилить в определенном направлении, например, в сторону разрушаемого объекта. Такое направленное действие взрыва основано на явлении кумуляции (cumulatio – увеличивать, суммировать), заключающемся в том, что заряды, имеющие на поверхности выемку, обеспечивают в направлении последней повышенный разрушительный эффект (впервые явление кумуляции наблюдалось в 1864 г. русским военным инженером М.М. Божевским).
Если заряд 1 (рисунок 3.16) взрывчатого вещества имеет выемку 2 в виде конуса, то при взрыве заряда 1 газообразные продукты, движущиеся от поверхности конуса по нормали, образуют сходящийся поток, имеющий вид мощной тонкой струи. Сущность явления кумуляции состоит в концентрации, направлении энергии взрыва и создании уплотненного газового потока в области кумулятивной выемки 2. В результате столкновения и сжатия продуктов взрыва кумулятивный поток приобретает высокую плотность, скорость, температуру и давление.
Одним из интереснейших физических эффектов, реализующихся за счет создания условий, обеспечивающих кумуляцию энергии, является формирование высокоскоростных кумулятивных струй при взрыве осесимметричного заряда ВВ с выемкой, облицованной тонкой металлической оболочкой. Благодаря большой скорости (до 10 км/с) такие кумулятивные струи обладают высокой пробивной способностью, определяемой (в соответствии с гидродинамической теорией проникновения) их длиной и плотностью материала.
|
|
| 1 – заряд ВВ; 2 – выемка; 3 - детонатор Рисунок 3.16 - Схема действия кумулятивного заряда |
Изменяя форму и размеры заряда ВВ и кумулятивной облицовки, а также материал облицовки, можно реализовать различные режимы кумуляции и варьировать пробивное действие кумулятивных зарядов в широких пределах. Наибольшим пробивным действием обладают кумулятивные заряды, формирующие высокоградиентные кумулятивные струи из достаточно высокоплотных материалов, обладающих хорошей пластичностью. При рациональном выборе конструктивных параметров таких зарядов и прецизионной технологии их изготовления, глубина пробития стальной преграды может составлять свыше десяти диаметров заряда, что близко к ее предельному значению. Дальнейший рост пробивного действия заряда связан с поиском новых нетрадиционных путей управления процессами кумуляции и реализацией новых физических эффектов.
Одним из таких путей, позволяющих «вторгнуться» в физические механизмы процессов, определяющих эффективность функционирования кумулятивного заряда, с целью изменить характер их протекания в нужном направлении, является использование различных вариантов электромагнитных воздействий. В зависимости от решаемой задачи такие воздействия могут приводить как к увеличению, так и к снижению пробивного действия кумулятивного заряда. Данные работы по явлению электромагнитных воздействий на эффект кумуляции проводились в МГТУ им. Баумана (г. Москва) совместно с институтом гидродинамики им. М.А. Лаврентьева (г. Новосибирск) [20]. Электромагнитные воздействия, осуществляемые на различных стадиях функци-онирования кумулятивного заряда, представлены на рисунке 3.17.
|
|
| Рисунок 3.17 - Варианты электромагнитных воздействий управления кумулятивным эффектом взрыва [20] |
К числу воздействий, направленных на снижение пробивного действия, относятся создание аксиального магнитного поля в облицовке кумулятивного заряда непосредственно перед его подрывом (см. рисунок 3.17, воздействие 1,), пропускание мощного электрического тока по кумулятивной струе (воздействие 2) и создание поперечного к направлению движение струи магнитного поля в материале проводящей преграды (воздействие 3). На повышение пробивной способности кумулятивного заряда направлены «мягкое» токовое воздействие на струю (воздействие 4), а также варианты создания продольного низкочастотного (воздействие 5) и высокочастотного (воздействие 6) магнитных полей в области деформирования струи в полете до ее взаимодействия с преградой. Воздействия 2, 4, 5 и 6 на сформировавшуюся кумулятивную струю ориентированы на управление процессом ее деформирования и последующего разрушения. Воздействие 1 позволяет влиять на процесс схлопывания облицовки и формирование кумулятивной струи в начальной стадии.
Представление, например, о степени снижения пробития преграды кумулятивным зарядом при электродинамическом воздействии различной интенсивности дает рисунок 3.18, где приведены кривые изменения разрядного тока, протекающего через кумулятивную струю, полученные в экспериментах с зарядом диаметром 50 мм при его действии на стальную (рисунок 3.18 а) и алюминиевую (рисунок 3.18 б) преграды (при размещении одного из электродов непосредственно на преграде).
|
|
|
| а) – при действии на стальную преграду, б) – при действии Рисунок 3.18 - Эффект пробития кумулятивного заряда диаметром 50 мм при пропускании по струе токовых импульсов различной формы |
|
Для каждой кривой указана глубина пробития преграды, соответствующая данному режиму электродинамического воздействия. В отсутствие воздействия глубина пробития стальной преграды составляет 210 мм, а алюминиевой преграды – 365 мм.
Наиболее вероятные физические причины снижения глубины пробития преграды кумулятивной струей при электродинамическом воздействии – это развитие магнитогидродинамической (МГД) неустойчивости перетяжечного типа и объёмное разрушение материала струи. Оба этих механизма обусловлены действующими на струю при протекании по ней тока пондеромоторными нагрузками, эквивалентными приложенному к поверхности струи магнитному давлению
,
где
0
=4p×
10-7
Гн/м – магнитная постоянная;
I – сила тока, протекающего по кумулятивной струе, А ;
r - радиус шейки кумулятивной струи, мм.
Объёмное разрушение кумулятивной струи проявляется в виде радиального рассеивания материала струи при ее выходе из межэлектродного промежутка. Это влечет за собой последующее уменьшение средней плотности материала элементов струи и, как следствие, снижение ее пробивной способности.
Таким образом, учеными [20] экспериментально и теоретически показана возможность электромагнитного управления кумулятивным эффектом взрыва. Снижение пробития достигается пропусканием мощного импульсного электрического воздействия по кумулятивной струе, созданием аксиального магнитного поля в кумулятивной облицовке непосредственно перед подрывом заряда, а также созданием поперечного магнитного поля в материале проводящей преграды. На повышение пробивной способности струи за счет увеличения ее предельного удлинения ориентированы варианты воздействия на нее продольного низкочастотного и высокочастотного магнитных полей, а также «мягкое» токовое воздействие.
4 Критерии безопасности ВЗРЫВЧАТЫХ ВЕЩЕСТВ
В технической литературе и научных публикациях к взрывчатым характеристикам ВВ относят чувствительность веществ к различным внешним воздействиям (механическим, тепловым), приводящим, как правило, к их воспламенению. С точки зрения механизма физико-химических процессов, протекающих в них, такая трактовка отражает действительную сущность протекающих реакций в веществах. Однако с точки зрения безопасности процессов при эксплуатации ВВ, в частности, при перевозке, хранении и снаряжении, правильнее будет характеризовать чувствительность к внешним воздействиям как критерий безопасности , что отражает действительную сущность перерабатываемых веществ на стадии эксплуатации. Поэтому такая трактовка более приемлема и понятна для обслуживающего персонала в условиях эксплуатации, где чаще возникают аварийные ситуации непрогнозируемых воздействий на ВВ.
Взрывчатые вещества при обычных условиях обладают определенной степенью устойчивости. Это позволяет сравнительно легко получать ВВ в промышленных масштабах, подвергая их при этом целому ряду как химических, так и физических воздействий. Однако подобная устойчивость ВВ к внешним воздействиям имеет определенную границу. Независимо от того, проявляется ли внешнее воздействие в виде нагревания, удара, трения или иного вида энергии, при переходе определенного предела воздействия во взрывчатом веществе возникает экзотермический процесс распада, который, начавшись хотя бы в одной точке ВВ, распространяется в дальнейшем по всей массе ВВ в виде вспышки, горения или детонации.
Чувствительность ВВ к внешним воздействиям определяется тем минимальным внешним воздействием, которое вызывает в системе ВВ процесс взрывного превращения. Такой минимальный порог инициирования (внешнего воздействия) ВВ и будет являться критерием безопасности вещества по отношению к тому или иному виду воздействия с учётом коэффициента безопасности.
Чувствительность ВВ к таким видам воздействий, как нагрев, удар, трение, достаточно изучены и определяются стандартными методами [5, 7], в то время как информация по чувствительности к электрической искре, вибрации и совместным воздействиям на ВВ крайне ограничена.
Критерии безопасности ВВ, являющиеся основными критериями при оценке эксплуатационной безопасности объектов:
· чувствительность к тепловому импульсу;
· чувствительность к удару;
· чувствительность к трению;
· чувствительность к электростатическому разряду;
· чувствительность к совместным воздействиям.
4.1 Чувствительность ВВ к тепловому импульсу
Обычно тепловые воздействия подразделяются на гомогенный – равномерный подогрев всей массы ВВ до некоторой критической температуры с развитием процесса разложения ВВ по законам теплового взрыва - и локальный нагрев в виде поджигания со значительным градиентом температуры. Соответственно определяют чувствительность ВВ к прогреву и к поджиганию (воспламеняемость).
Определение температуры вспышки
Мерой чувствительности ВВ к нагреву обычно служит температура их вспышки, устанавливаемая при определенных условиях опыта. Если поместить навеску ВВ в объём с достаточно высокой постоянной или медленно возрастающей температурой, то через некоторое время вещество прогревается до температуры окружающей среды и может произойти вспышка. Механизм вспышки в этих условиях соответствует механизму теплового взрыва и определяется соотношением теп-
лоприхода в результате экзотермических реакций в нагретом веществе и теплоотвода в окружающую среду.
Температура вспышки ВВ зависит от количества испытываемого ВВ, скорости нагрева и других условий опыта, определяющих условия теплоприхода и теплоотвода.
Наиболее распространены два варианта определения температуры вспышки.
1. Определенное количество ВВ (обычно 0,05 г) в пробирке помещают в металлическую баню, заполненную легкоплавким сплавом Вуда (сплав: Bi (50 %), Pb (25 %), Sn (12,5 %) и Cd (12,5 %), имеющий температуру плавления tпл ~ 68 0 С] и предварительно нагретую до 100 о С. Дальнейший нагрев производится со скоростью 20 о С в минуту. Отмечают температуру сплава в момент вспышки и характер вспышки ВВ.
2. Второй метод заключается в установлении зависимости изменения периода индукции t или задержки вспышки от температуры. По этому методу температуру сплава поддерживают постоянной и в предварительно вставленную нагревшуюся пробирку вводят навеску ВВ, замеряя время с момента помещения ВВ в пробирку до его вспышки. Этот метод позволяет полнее характеризовать отношение ВВ к тепловому воздействию, в частности, найти такие кинетические параметры, как энергия активации E и предэкспоненциальный множитель B , характеризующие тепловую стабильность ВВ исходя из выражения
, (4.1)
где R – универсальная газовая постоянная, равна 8,314 Дж/(Кмоль);
T – температура вспышки, ºС.
В таблице 4.1 приведены известные значения температуры вспышки при нагревании для некоторых ВВ. Зависимость температуры вспышки ВВ от массы заряда объясняется тем, что теплоприход пропорционален объёму ВВ, а теплоотвод – его поверхности. С увеличением массы ВВ температура вспышки снижается. С увеличением скорости нагрева ВВ температура вспышки возрастает. При слишком медленном нагреве бóльшая часть ВВ успевает разложиться при низких температурах без вспышки. При быстром достижении температуры, превышающей температуру кипения ВВ, оно превращается в пар, вспышка вследствие меньшей плотности и меньшего самоускорения распада возникает труднее.
Таблица 4.1 – Значения температуры вспышки при нагревании
для некоторых ВВ
| Вещество |
Температура вспышки (о С) при нагревании |
|||
| со скоростью 20 о С в минуту |
при постоянной температуре с задержкой |
|||
| 5 мин. |
1 мин. |
5 с |
||
| Нитроглицерин |
200-205 |
200-205 |
- |
222 |
| Аммонит 6ЖВ |
280-320 |
220-300 |
336 |
380-400 |
| Тротил |
295-300 |
300 |
309 |
475 |
| Алюмотол |
- |
- |
315 |
- |
| Аммонит ПКВ-20 |
- |
- |
365 |
- |
Определение воспламеняемости ВВ
Одной из важнейших характеристик чувствительности ВВ к тепловым воздействиям является его способность воспламеняться от внешнего источника тепла. Необходимое количество подводимого тепла Q зависит от свойств ВВ и внешних условий и определяется выражением:
, (4.2)
где l - коэффициент теплопроводности ВВ, Вт/(м× К);
Ur – скорость горения ВВ, м/с;
Tn – температура поверхности ВВ, ºС;
T 0 – начальная температура ВВ, ºС.
При порционном подводе тепла существенное значение имеет скорость его подвода к поверхности ВВ с учётом теплоотвода в глубь вещества, определяющего температуру на поверхности ВВ и ее градиент по толщине заряда. Исходя из этого, мерой чувствительности ВВ к поджигающему импульсу может быть либо минимальное количество тепла при заданной скорости его подвода, необходимое для поджигания при постоянных условиях опыта, либо некоторые переменные величины, определяющие режим горения при постоянном значении теплового источника. В качестве таких переменных величин могут быть использованы начальная температура ВВ или давление окружающей газовой среды, поскольку скорость горения большинства ВВ с давлением связана линейной зависимостью. В соответствии с указанным принципом созданы и развиваются экспериментальные методы оценки воспламеняемости ВВ.
Наиболее простым в экспериментальном исполнении является метод определения чувствительности ВВ к лучу огня от огнепроводного шнура. По этому методу в пробирку, укрепленную на штативе, помещают навеску испытываемого ВВ (обычно 1 г), вводят отрезок огнепроводного шнура длиной от 5 до 10 мм так, чтобы он касался поверхности ВВ. После зажигания огнепроводного шнура фиксируют воспламенение или отказ. В другом варианте этого метода отрезок шнура помещают на некотором расстоянии от поверхности ВВ. Мерой воспламеняемости в этом случае служит максимальное расстояние, на котором еще воспламеняется ВВ.
При сравнительной оценке чувствительности к лучу огня, кроме величины температуры вспышки, немаловажную роль играет и то минимальное количество вещества, которое необходимо воспламенить для обеспечения условий распространения процесса по всему объёму.
К.К. Андреевым и П.П. Поповой предложено оценивать воспламеняемость ВВ по его критическому диаметру горения. По этому методу определяется минимальный диаметр заряда исследуемого ВВ в стеклянной оболочке, при котором в подожженном с торца заряде устойчиво распространяется горение. Критический диаметр горения определяют в среде сжатого азота при давлении от 9,8 до 10,8 МПа в стальной бомбе. Заряд ВВ с торцевой поверхностью поджигается нихромовой спиралью накаливания. А.И. Романовым и Л.В. Дубновым предложена методика оценки воспламеняемости ВВ по так называемому давлению поджигания. Согласно этой методике, фиксируется то минимальное (критическое) давление среды, при котором поджигается и горит ВВ. По этой методике (рисунок 4.1) заряд 3 ВВ массой от 100 до 120 г в бумажной или стеклянной оболочке диаметром от 32 до
36 мм помещают в толстостенную манометрическую бомбу 2, в которой с помощью сжатого азота создано некоторое давление. В качестве постоянного источника воспламенения используются прессованные шашки из малогазового состава массой 1 г и диаметром, равным диаметру испытываемого заряда. Воспламенитель поджигается нихромовым мостиком накаливания.
|
|
| 1 – датчик давления; 2 – корпус бомбы; 3 – заряд ВВ; Рисунок 4.1 - Схема установки для определения критического |
| В практике нередко происходит поджигание заряда ВВ взрывными волнами от соседних зарядов, например, при аварийных ситуациях при хранении ВВ, боеприпасов или в шпурах, когда расстояние между зарядами не превышает расстояние передачи детонации. Поэтому представляет интерес оценить воспламеняемость ВВ под воздействием такого рода импульсов. Разработана методика оценки воспламеняемости ВВ под воздействием воздушной волны, получаемой в ударной трубе (рисунок 4.2). |
|
|
| Рисунок 4.2 - Принципиальная схема установки для оценки воспламеняемости в ударной трубе |
По данной методике [7] навеску 3 исследуемого ВВ диаметром
10 мм и массой 10 г помещают в плексигласовую обойму, которую вставляют в секцию 2 низкого давления ударной трубы с внутренним диаметром 50 мм. Длина секций высокого 1 и низкого 2 давлений соответственно 1130 и 2730 мм. На конце секции низкого давления предусмотрен отсек с плексигласовыми смотровыми окнами, через которые вакуумным фотоэлементом СЦВ-4 фиксируется момент вспышки исследуемого ВВ. Сигнал от фотоэлемента 5 через усилитель поступает на двухлучевой катодный осциллограф 7 (ОК-17М). В секции низкого давления размещены также датчики давления 4 из титаната бория для измерения скорости движения ударной волны и запуска осциллографа. Сигналы с пьезодатчиков фиксируются электронным хронографом 6 «Нептун». Скорость ударной волны измеряют на мерной базе длиной 1380 мм, причем последний по ходу ударной волны пьезодатчик служит одновременно для запуска осциллографа ОК-17М, на который подается сигнал с фотоэлемента СЦВ-4. В эксперименте измеряют скорость ударной волны, по которой рассчитывают остальные параметры ударной волны и величину задержки вспышки ВВ.
4.2 Чувствительность ВВ к механическим воздействиям
При выполнении взрывных работ взрывные материалы подвергаются различного рода механическим воздействиям в процессе испытания, транспортировки, заряжания, нахождения во взорванной породе или массиве в виде отказавших изделий ВВ. При ведении взрывных работ на ВВ и средства взрывания могут оказывать влияние как статические (растирание ВВ между породой и элементами заряжающих устройств, кусками породы), так и динамические воздействия (удары по ВВ при случайном разбуривании патрона, при метании ВВ в шпур или скважину, удары кусков породы при погрузке).
Важнейшим вопросом эксплуатационной безопасности являются не только факт и уровень воздействия, ведущего к началу реакции во взрывчатом веществе, но и то, что эта реакция приводит к взрыву заряда. Известно, что у промышленных ВВ, особенно гранулированных и водонаполненных, критический диаметр заряда от 30 до 40 мм и более, а минимально детонирующая величина заряда на 1-2 порядка больше, чем величины навесок, применяемых в стандартных пробах для определения чувствительности ВВ к внешним механическим воздействиям (трению, удару). Следовательно, стандартные методы испытания ВВ на чувствительность к удару и трению, предназначенные для испытания малых навесок ВВ, неприемлемы для испытания смесевых промышленных ВВ, состоящих из нескольких компонентов, особенно крупнодисперсных. Поэтому рядом институтов и организаций были разработаны специальные пробы для промышленных ВВ и средств взрывания, принцип которых состоит в максимальном приближении условий воздействия на заряд ВВ к реальным условиям, которые могут встретиться при взрывных работах.
Анализируя многообразие факторов, определяющих возможность взрыва в результате механических воздействий на ВВ, К.К. Андреев и другие [21, 22] пришли к выводу, что чувствительность ВВ к механическим воздействиям не может быть охарактеризована одним интегральным показателем. Если при испытаниях в каких-то условиях одно из сравниваемых ВВ окажется чувствительней, чем другое, то при изменении условий испытаний эти ВВ по своей чувствительности могут поменяться местами. Например, известно, что азид свинца является несравненно более опасным по чувствительности к механическим воздействиям, чем тротил. Однако при испытании на удар по стандартной методике в хорошо подогнанном приборчике №1 азид свинца дает значительно меньше взрывов, чем тротил. Это показывает условность результатов, получаемых при испытаниях ВВ по стандартным методам, и объясняется тем, что тротил, имеющий более высокую текучесть, в тех же условиях продавливается в зазоры и взрывается.
Из сказанного следует, что на основании результатов испытания данного ВВ в конкретных условиях далеко не всегда можно предвидеть, как поведет себя это ВВ в каких-то других условиях, например, при тех механических воздействиях, которым оно может подвергнуться в условиях промышленного применения. Поэтому с точки зрения безопасности технологических процессов на всех этапах производства и применения ВВ необходимо иметь полный комплекс критериев безопасности.
4.2.1 Чувствительность к удару
Чувствительность ВВ к удару
определяют в основном на копрах, состоящих из двух, иногда из трех строго параллельных вертикальных направляющих, по которым свободно перемещается груз, производящий удар по ВВ. Груз в верхней части снабжен механическими или электромагнитными захватами, фиксирующими его на определенной высоте. На прочном фундаменте (рисунок 4.3) помещается массивная наковальня 1, на которой располагается штемпельный прибор (№1 или №2) с навеской ВВ 5. Прибор №1 состоит из металлического поддона 2, направляющей обоймы (муфты) 3 и двух поршеньков 4, между торцами которых помещена навеска (обычно от 0,02 до
0,05 г) исследуемого ВВ. В качестве поршеньков применяют ролики от подшипников, отличающиеся высокой степенью постоянства механических свойств и точности размеров. Ролики в приборчике №1 точно пригнаны к каналу обоймы и не имеют фасок на торцах, так что ВВ при ударе будет сжиматься, не имея возможности свободно течь. Прибор №2, предложенный Н.В. Холево [27], отличается от прибора №1 наличием кольцевой канавки в обойме на уровне расположения навески ВВ, что позволяет оценить чувствительность ВВ в условиях его истечения.
|
|
| а) прибор №1; б) прибор №2 Рисунок 4.3 - Штемпельные приборы для размещения навески ВВ |
Некоторые малотекучие, непластичные ВВ, такие, например, как пироксилин, не дающие взрывов в приборе №1, т.е. в условиях затрудненного течения, обнаруживают высокую частость взрыва в приборе №2. Напротив, ВВ, обладающие высокой текучестью, могут проявлять большую чувствительность в приборе №1, чем в приборе №2. При испытании жидких ВВ навеску помещают в чашечку из мягкого металла, чтобы исключить выплескивание ВВ из прибора №2 при
ударе.
Критерием чувствительности при испытаниях на копрах считают минимальную высоту падения груза, при которой происходит взрыв, или частость взрыва при постоянной высоте груза. Эти методы определения чувствительности к удару позволяют выявить влияние условий деформации вещества на вероятность возбуждения взрыва и правильно оценить условия безопасности ВВ при ударе.
При определении чувствительности к удару по нижнему пределу навеску вещества (0,12 г) подпрессовывают в штемпельном приборе под давлением до 300 МПа. По этому методу определяют максимальную высоту падения груза массой 10 кг (нижний предел), при которой получаются все отказы или не более одного взрыва из 25 определений. Взрывом обычно считают звуковой эффект, вспышку, дымообразование или обугливание ВВ. В том случае, когда при падающем грузе
10 кг нижний предел меньше 30 мм, определяют нижний предел с грузом массой 2 кг. Если отсутствуют взрывы при падения груза с высоты 500 мм, испытания прекращают и указывают, что нижний предел для испытываемого образца составляет более 500 мм.
При определении чувствительности к удару по частости взрывов испытания выполняют при постоянной высоте падения груза, равной 250 мм. Навеска ВВ составляет от 0,050 до 0,005 г. По этому методу чувствительность ВВ характеризуется частостью взрывов Х (%).
, (4.3)
где N – число взрывов;
n – число определений.
Результаты определения чувствительности некоторых веществ по описанным методикам приведены в таблице 4.2 [7].
Зависимости частости взрывов от давления прижатия, полученные на копре Боудена‑Козлова [23], приведены на рисунке 4.4. Как видно из зависимостей величины давлений прижатия для вторичных ВВ, соответствующие 100 % взрывов на кривой частости лежат в интервале от 5000 (ТЭН) до 11000 атмосфер (тротил).
Для характеристики относительной чувствительности ВВ при имитации условий эксплуатации (падение на жесткое основание, защемление между жесткими поверхностями и др.) испытания проводят на большом копре БК-6. В этом случае используют навеску исследуемого вещества массой 3 г, диаметром 41 мм и толщиной 10 мм. В качестве характеристики чувствительности принят нижний предел, выраженный максимальной высотой падения груза массой 24 кг, при которой не наблюдается разложения ВВ в 25 опытах. Характеристики относительной чувствительности некоторых веществ, определенные на большом копре БК-6, по частости взрывов (%) при высоте падения груза 2000 мм массой 24 кг приведены в таблице 4.3.
Таблица 4.2 – Чувствительность ВВ к удару
| Вещество |
Нижний предел в приборе №2 при грузе массой 10 кг, мм |
Частость взрывов при высоте падения груза 250 мм, % |
|||||
| Масса прибора №2 |
Масса стандартного прибора |
||||||
| 10 кг |
5 кг |
2 кг |
10 кг |
5 кг |
2 кг |
||
| Детонит М |
70 |
100 |
96 |
4 |
52 |
- |
- |
| Динамит |
30 |
4 |
- |
- |
100 |
90 |
40 |
| Тетрил эта |
150 |
24 |
- |
- |
44 |
- |
- |
| Аммонит |
250 |
12 |
- |
- |
12 |
- |
- |
| Тротил по- образный |
500 |
0 |
- |
- |
28 |
- |
- |
| Алюмотол |
500 |
0 |
- |
- |
44 |
- |
- |
| Аммонит |
500 |
0 |
- |
- |
20 |
- |
- |
| Граммонит |
500 |
0 |
- |
- |
4 |
- |
- |
Таблица 4.3 – Относительная чувствительность некоторых ВВ
на копре БК-6
| ВВ |
Частость, % |
ВВ |
Частость, % |
| ТЭН |
100 |
Тротил чешуированный |
20 |
| Динамит 62%‑й |
100 |
Тротил порошкообразный |
24 |
| Алюмотол |
84 |
Аммонит ПЖВ-20 |
28 |
| Детонит |
84 |
Аммонит 6ЖВ-24 |
24 |
| Граммонит 79/21 |
48 |
Аммиачная селитра |
0-4 |
|
|
| 1 – гремучая ртуть; 2 – тетразен; 3 – ТНРС; 4 – азид свинца; 5 – ТЭН; 6 – гексоген; 7 – тетрил; 8 – пикриновая кислота; 9 - тротил Рисунок 4.4 - Зависимости частости взрывов Х/ от давления прижатия, полученные на копре Боудена‑Козлова |
Для большинства испытанных ВВ относительная чувствительность, определенная при испытаниях на большом копре БК-6, согласуется с рядом по чувствительности, полученным при испытаниях на копре с малыми навесками. В то же время у некоторых ВВ, например, алюмотола, чувствительность к удару при испытаниях на большом копре БК-6 выше, чем при испытании на копре с малыми навесками.
В последнее время рядом исследователей разработаны методы оценки характеристик чувствительности ВВ к удару, связанных с передачей взрыва из-под бойка несжатому веществу. По этому методу навеску ВВ помещают в приборчик таким образом, чтобы она полностью заполняла кольцевой канал и пространство между роликами. При ударе под бойком ВВ сжимается и вытесняется в кольцевой канал. Между роликами остается тонкий слой ВВ, в котором и возникает первичный очаг разложения. Показателями чувствительности ВВ по этому методу служат предельный диаметр и минимальный подпор. Предельным диаметром называют минимальный диаметр ролика, при котором хотя бы в одном из десяти испытаний происходит взрыв. Подпор Р характеризует сопротивление ВВ вытеканию из-под роликов, его изменяют варьированием массы навески m 1 исследуемого ВВ, при которой получены взрывы:
,
где mmin – минимальная навеска исследуемого ВВ, при которой происходит полный взрыв, г;
VК – объём кольцевого канала, мм3 ;
r - плотность кристаллов ВВ, г/см3 .
Для приборов с роликами диаметром 10, 20, 40 мм значение m 1 равно соответственно 0,1; 0,3; 0,9 г.
Наиболее объективную информацию о безопасных величинах ударных нагрузок при механическом воздействии на ВВ можно получить при испытаниях, приближенных к реальным условиям эксплуатации. В МакНИИ (Украина) разработаны стенды [24] для определения чувствительности ВВ к ударным нагрузкам. Ударным нагрузкам при эксплуатации могут подвергаться отказавшие заряды, а также патроны ВВ в процессе механизированного заряжания. Конструкция стенда для определения опасности взрыва ВВ при ударных нагрузках показана на рисунке 4.5.
|
|
| Рисунок 4.5 - Стенд МакНИИ для оценки чувствительности ВВ |
Стенд состоит из бронекабины 1, внутри которой по направляющим с помощью ходового винта 2 перемещается захватывающий механизм 3 с грузом 4. При набегании роликов захватывающего механизма на сбрасывающие кулачки 5, установленные на заданной высоте, груз 4 освобождается и падает, ударяя по бойку 6, подвешенному на пружинах. Цикличность воздействий осуществляется реверсивным двигателем 7. Перемещая сбрасывающие кулачки вдоль направляющих, а также изменяя массу груза, можно регулировать энергию удара в пределах от 3 до 70 кгс·м. Под бронекабиной имеется бронениша 8 с массивной дверью. В броненише устанавливаются образцы ВВ 9.
|
|
|
| 1 – корпус; 2 - ролик |
1 – основание; 2 – оболочка; |
| Рисунок 4.6 – Конструкции бойка (а), навески ВВ (б) |
|
В качестве бойков 10 используются стандартные ролики подшипников (рисунок 4.6 а). Навеска ВВ (рисунок 4.6 б) помещается в бумажный цилиндр, надетый на стальной диск-подложку. В качестве диска также используется ролик от роликоподшипника. Диаметр диска от 40 до 50 мм. Величина навески ВВ принимается такой, чтобы ее высота при насыпной плотности была равна 35 мм, что соответствует диаметру патронов, применяемых на практике. По навеске ВВ с помощью бойка наносится удар, который может вызвать полный взрыв или вспышку. В разделе 5 приведена оценка безопасности при механическом воздействии на данном стенде.
4.2.2 Чувствительность к трению
Чувствительность ВВ к трению определяют применительно к требованиям техники безопасности при изготовлении и использовании ВВ. Применяемые методы в той или иной мере имитируют трение ВВ при смешивании, патронировании, транспортировании по трубам и шнекам и выполнении других технологических операций.
В лабораторных условиях чувствительность к трению определяют в основном тремя методами: при помощи фрикционного маятника (рисунок 4.7); на приборе Боудена-Козлова [7]; истиранием ВВ между двумя стальными поверхностями, одна из которых вращается, например, на приборе И-6-2 [25].
|
|
| Рисунок 4.7 - Схема фрикционного маятника |
Фрикционный маятник состоит их стальной наковальни 1, на которой помещается навеска испытываемого вещества 2 (обычно 7 г), и маятника в виде стального стержня с укрепленным на конце его башмаком 3. На наковальне имеются три поперечные канавки, в которых удерживается ВВ при прохождении над ней башмака маятника. Силу трения между башмаком и наковальней можно регулировать изменением высоты подъема маятника, массой добавочного груза и применением башмаков с трущейся поверхностью из различных материалов. ВВ считается выдержавшим испытание, если оно в десяти опытах при башмаке из твердой фибры с дополнительным грузом массой 20 кг и высоте подвеса маятника 1,5 м не взрывается и не горит. Результаты сравнительных испытаний некоторых веществ по этому методу приведены в таблице 4.4.
Таблица 4.4 – Результаты испытаний чувствительности некоторых ВВ к трению
| Вещество |
Тротил |
Тетрил |
Гексоген |
ТЭН |
Нитрогликоль |
Нитроглицерин |
|
| Число взрывов из 10 опытов |
0 |
0 |
2 |
5 |
7 |
10 |
|
При испытании на приборе Боудена и Гартона навеску ВВ к верхней поверхности прямоугольного стержня прижимают стальным роликом, который, в свою очередь, прижимается болтом. Груз маятника поднимают на определенную высоту и затем дают ему свободно ударить по стержню, подвергая ВВ быстрому сдвигу. В видоизмененном приборе Козлова для поджатия ВВ применяется гидравлический пресс. Навеска ВВ сжимается между двумя стальными роликами диаметром 10 мм. Удар маятника передается верхнему подвижному ролику, который перемещается между неподвижными упорами и нижним роликом, закрепленным в муфте. Характеристикой чувствительности при этом испытании является давление прижатия ВВ при заданной частости взрывов или же частость воспламенения от работы трения. Работа трения A (кг·см) вычисляется по формуле В.С. Козлова [5]:
, (4.4)
где m - коэффициент внешнего трения между поверхностью ролика и ВВ;
Рпр – усилие нормального прижатия (давление), кг/см2 ;
S – площадь ролика, см2 ;
– величина смещения ролика, см.
Определение чувствительности ВВ к трению на приборе И-6-2 основано на истирании навески ВВ, помещенной в специальный прибор между двумя стальными плоскими или шарообразными поверхностями, одна из которых вращается с частотой 5,4 с-1 . При таком испытании навеску вещества в измельченном виде массой 0,30±0,05 г помещают в сборку, закрепляемую в держателе. При этом создается нужное давление прижатия, измеряемое динамометром, после чего включают вращение пуансона, которое автоматически выключается по истечении 3 с. За характеристику чувствительности ВВ к трению принимают максимальное давление прижатия, при котором еще не возникает взрывного разложения в 10 последовательных определениях. В случае отсутствия взрывов при давлении 300 МПа испытания повторяют в более жестких условиях – с добавкой к ВВ кварцевого песка (в количестве 0,01 г). Результаты испытаний некоторых веществ с кварцевым песком по этому методу приведены в таблице 4.5.
Таблица 4.5 – Результаты определения чувствительности к трению
некоторых ВВ
| Вещество |
Нижний предел чувствительности, МПа |
Вещество |
Нижний предел чувствительности, МПа |
| ТЭН |
31 |
Аммонит ПЖВ-20 |
215 |
| Гексоген |
49 |
Детонит М |
231 |
| Тетрил |
65 |
Граммонит 79/21 |
250 |
| Динамит |
88,5 |
Аммонит 6ЖВ |
250 |
| Тротил |
190 |
Аммиачная селитра |
300 |
| Алюмотол |
210 |
Без кварцевого песка для ТЭНа, гексогена и тетрила нижний предел чувствительности составил соответственно 170, 150 и 250 МПа, для остальных веществ – 300 МПа.
4.2.3 Чувствительность к разбуриванию
Чувствительность ВВ к разбуриванию имеет особенно важное значение, так как при взрывании в шахтах зачастую остаются так называемые «стаканы» с остатками отказавшего ВВ, не обнаруживаемые при осмотре забоя. При попадании бура на остатки ВВ во время бурения возможен взрыв ВВ. В МакНИИ предложен метод оценки чувствительности промышленных ВВ к разбуриванию, по которому в шпур, пробуренный в блоке песчаника, помещают патрон испытываемого ВВ массой от 100 до 200 г. Сверху по направляющим в шпур опускается буровая штанга со стандартными угольными или породными коронками, приводимая во вращение электродвигателем. Установка позволяет вести разбуривание с частотой вращения 8,3; 16,6; 25 с-1 , т.е. позволяет испытывать ВВ при нормальных и форсированных режимах работы. Осевое усилие регулируется сменными грузами.
Первоначальное осевое усилие (масса подвижной системы 35 кг) подобрано таким образом, что обеспечивается максимальная возможная нагрузка на сверло, при которой частота вращения еще не снижается. Результаты испытаний определяются частостью взрывов, число опытов выбирается в зависимости от требуемой точности оценки.
4.3 Критерии оценки взрывоопасности при вибрации
Критерии оценки взрывоопасности при получении и переработке взрывчатых материалов с применением вибрации существенно отличаются от рассмотренных выше критериев механических воздействий. Оценка критических и безопасных параметров механического воздействия на ВВ часто проводятся по критериям, взятым из тепловой теории воспламенения [4], или по критериям, определяющим переход горения во взрыв [3, 26]. При этом не учитывается специфика процесса разложения ВВ под действием механической нагрузки, в частности, возможность ускорения разложения твердых ВВ за счет механоактивации их частиц, понижения химической и физической стабильности ВВ при достаточно длительной обработке.
Одной из главных причин возникновения нештатных ситуаций при работе с взрывоопасными материалами является способность ВВ разлагаться, загораться или взрываться под действием внешних механических и тепловых нагрузок. Длительная практика обращения с ВВ позволила установить их относительную взрывоопасность при механических воздействиях и расположить их в ряд по мере возрастания взрывоопасности при изготовлении и применении. В результате получен опорный ряд ВВ (гремучая ртуть, азид свинца, ТЭН, октоген, гексоген, тетрил, тротил [3, 20, 23]), который построен преимущественно по оценкам чувствительности к удару и трению.
Разные методы оценки с применением различных типов испытательных устройств и приборов часто дают неоднозначные ряды чувствительности, не совпадающие с опорным рядом. Причинами такого несоответствия являются разные условия нагружения ВВ, что приводит к различию деформационных и усталостных процессов и механизмов их разрушения. При этом во многих случаях не учитываются химическая стойкость, кинетические, физико-химические и электрические характеристики ВВ, а о чувствительности к удару и трению судят по частости появления взрывов, по высоте падения груза определенной массы в заданных конструкциях роликовых приборов (см. рисунок 4.3), на которой взрыв еще не возбуждается (нижний предел); по удельной работе удара или трения (4.4) либо напряжению, способному вызвать взрыв при ударе по открытому объёму ВВ [7]. Механизмы возбуждения взрыва при разных видах воздействия существенно отличаются и остаются еще не изученными, но ясно одно: из-за неоднородности твердых и жидких ВВ имеет место локализация деформационных и тепловых процессов на дефектах кристаллической структуры твердых ВВ, на пустотах и пузырьках газа в объёме жидких ВВ, при высокой неоднородности смесевых ВВ.
Взрывоопасность ВВ зависит не только от способности к возбуждению взрыва, но и от способности к его распространению, т.е. от передачи химической реакции на другие участки образца, находящиеся под нагрузкой, или на ненагруженную часть, расположенную рядом с образуемой. Существующие методы оценки чувствительности, рассмотренные выше (к удару, сдвигу, трению) неприменимы для оценки чувствительности ВВ к вибрации, поскольку не учитывают ее основных особенностей: периодичности изменения напряжений и деформаций, большой общей продолжительности процесса и малой длительности каждого цикла нагружения.
При работе с ВВ необходимо надежно определить параметры внешнего механического воздействия, при которых возникают прогрессивное разложение, горение и взрыв, т.е. установить зависимости степени разложения a и вероятности взрыва Wi
от частоты w, амплитуды A
, ускорения колебаний
, динамической нагрузки РД
и ее отношения к статической составляющей общей нагрузки (РД
/РСТ
), энергии вибрации Е
, поглощенной образцом, общего времени вибрации t
[28]:
| Wi
=U
1
(w, A
, |
(4.5) |
| a =U
2
(w, A
, |
Для нахождения этих зависимостей Н.П. Логиновым разработана и предложена следующая методика. Навеска ВВ массой 0,05 г подвергается воздействию вибрационной и статической нагрузок с заданными параметрами на вибростенде. Перед началом испытаний ВВ помещают между двумя стальными роликами в роликовом приборе (см. рисунок 4.3), подпрессовывают до определенного статического давления и включают вибратор, который в течение некоторого времени создает циклическую нагрузку с заданными параметрами. В процессе эксперимента с помощью термопары, введенной через нижний ролик или муфту в зону контакта ВВ с поверхностью ролика или муфты, непрерывно измеряют температуру образца. Вероятность взрыва Wi определяют по результатам десяти параллельных опытов, в которых регистрируются взрыв или отказ.
Степень разложения a определяют по результатам опытов с образцами ВВ путем размещения роликового прибора в герметичной камере, установленной на вибростенде. Камера обеспечивает накопле-ние газообразных продуктов, выделяющихся из образцов ВВ в ходе его разложения, вызванного вибрацией, при заданных параметрах вибрационного, статического и термического воздействий.
Для ускорения определения Wi при массовых испытаниях время вибронагружения ограничивалось до 30 с. В проведенных опытах установлена зависимость вероятности взрыва от определяющих параметров некоторых широко используемых ВВ. Исходя из этих данных установлены критические параметры вибрации для сравнительно чувствительных к вибрации ВВ, способных взрываться при частотах колебаний от 40 до 200 Гц, амплитудах колебаний от 0,05 до 6 мм. Но некоторые ВВ, например, тринитротолуол (ТНТ), тринитробензол (ТНБ), аммонит 6ЖВ, игданит, аммиачно-селитренные ВВ с добавлением нефтепродуктов в указанных условиях механического воздействия не взрываются. Поэтому для них вместо вероятности возникновения взрыва использованы в качестве критериев степень (a) или скорость (d a/ dt ) разложения с целью классификации их по чувствительности к вибрации. Степень разложения a находят из уравнения
a=(DPi /DPП ) ×100%, (4.6)
где DPi – избыточное давление газов за определенное время (с точностью до 10 Па);
DPП - избыточное давление газов при полном разложении того же количества ВВ в такой же герметичной камере или при его полном сгорании.
Некоторые данные по оценке чувствительности ВВ к вибрации представлены в таблице 4.6.
Из таблицы 4.6 следует, что чувствительность гексогена, ТНТ и аммонита 6ЖВ зависит от частоты, амплитуды, ускорения колебаний и отношения динамической нагрузки к статической. При высоких значениях этих параметров достигаются пороговые значения параметров вибронагружения, при которых происходит переход медленного разложения во взрыв. Однако до достижения критических значений указанных параметров вибронагружения классификация ВВ по чувствительности к вибрации, не превышающей критических значений ее параметров, неосуществима, потому что эти ВВ не взрываются при реально достижимых значениях параметров вибрации.
Таблица 4.6 – Чувствительность некоторых ВВ к вибрации
| ВМ |
w, Гц |
А , мм |
а , м/с2 |
РД , МПа |
РСТ , МПа |
РД / РСТ |
Wi , % |
a, % |
| Гексоген |
150 |
0,60 |
13,5 |
350 |
21 |
16,7 |
100 |
100 |
| 135 |
0,62 |
11,4 |
364 |
42 |
8,7 |
80 |
80 |
|
| 135 |
0,52 |
9,6 |
347 |
67 |
5,2 |
10 |
10 |
|
| 135 |
0,40 |
7,3 |
342 |
84 |
4,1 |
0 |
1,7 |
|
| 100 |
0,15 |
1,5 |
300 |
600 |
0,5 |
0 |
0,7 |
|
| Тротил |
150 |
0,60 |
13,5 |
350 |
21 |
16,7 |
0 |
1,1 |
| 135 |
0,65 |
11,9 |
58 |
12 |
4,8 |
0 |
0,7 |
|
| 135 |
0,50 |
9,1 |
58 |
24 |
2,5 |
0 |
0,5 |
|
| 90 |
0,65 |
5,3 |
26 |
12 |
2,2 |
0 |
0,3 |
|
| 50 |
0,40 |
3,2 |
26 |
36 |
0,7 |
0 |
0,2 |
|
| Аммонит |
150 |
0,60 |
13,5 |
350 |
21 |
16,7 |
0 |
0,7 |
| 135 |
0,62 |
11,4 |
58 |
12 |
4,7 |
0 |
0,3 |
|
| 90 |
0,65 |
5,2 |
26 |
12 |
2,2 |
0 |
0,2 |
|
| 50 |
0,65 |
3,2 |
26 |
21 |
1,2 |
0 |
0,1 |
Из данных таблицы 4.6 следует также, что только гексоген при частоте w от 135 до 150 Гц имеет вероятность взрывов Wi
от 0 до
100 %, а ТНТ и аммонит 6ЖВ не взрываются даже при повышении частоты колебаний до 150 Гц, но все они при вибронагружении даже с низкими параметрами вибрации химически разлагаются. Поскольку степень разложения для любого ВВ можно измерить предлагаемым в данной методике способом, этот показатель вполне пригоден для определения безопасных или критических параметров вибровоздействия при использовании вибрационной технологии в ходе получения и переработки ВВ. По аналогии со степенью разложения ВВ при тепловых воздействиях, используемой в качестве характеристики химической стабильности ВВ при нагревании, допустимое значение степени разложения за время пребывания ВВ в активной зоне виброустановки не должно превышать 1 % массы единовременной загрузки ВВ. Вибрационную нагрузку, способную вызвать разложение более 1 % ВВ в ходе технологической операции, следует считать недопустимой по соображениям безопасности и сохранения эксплуатационных свойств ВВ.
В качестве характеристики безопасности технологических операций с ВВ при вибрационном воздействии Н.П. Логиновым [28] предложен новый критерий, называемый коэффициентом взрывобезопасности Кб , который характеризует степень удаленности энергетических показателей, соответствующих конкретному виду механического воздействия, от критических значений энергетических параметров, найденных для данного ВВ при испытаниях на виброустановке.
Для определения энергонапряженности работы любой виброустановки необходимо установить средний уровень затрат энергии на совершение определенной работы, достаточной для достижения требуемого технического эффекта, а затем сравнить его с критическим уровнем энергонапряженности, который соответствует уровню энергонапряженности, вызывающему разложение более 1 % ВВ за время воздействия вибронагрузки на одну и ту же порцию ВВ либо вызывающему воспламенение или взрыв. Кроме того, коэффициент безопасности должен учитывать физические, физико-химические, механические свойства конкретных ВВ или их наиболее взрывоопасных компонентов.
В общем виде предполагаемый коэффициент безопасности выражается зависимостью
Кб =Кэ × Кв × Кт × Км , (4.7)
где Кэ – коэффициент энергонапряженности при вибрационной обработке;
Кв – коэффициент, учитывающий удаленность заданной температуры от начальной температуры ВВ и температуры его вспышки;
Кт – коэффициент, который учитывает удаленность фактической температуры переработки от температуры плавления ВВ;
Км - коэффициент, учитывающий изменение механических характеристик ВВ при вибрационной обработке.
Коэффициенты рассчитывают по следующим зависимостям:
, (4.8)
для виброустановки с электромеханическим вибратором
Wкр =2me А wкр 2 , (4.9)
Wф =2me А wф . (4.10)
где Wкр и Wф – соответственно критическое и фактическое значение энергии, затраченной при виброобработке ВВ, отнесенной к его массе, кДж/кг;
me – масса дисбаланса вибратора (масса эксцентрикового вала, центр тяжести которого смещен от его горизонтальной оси вращения на величину эксцентриситета), кг;
wкр , wф - соответственно критическое и фактическое значение угловой частоты колебаний, Гц;
А – амплитуда, м;
m 1 – масса ВВ в испытательном приборе на виброустановке, кг;
m 2 – масса ВВ в натурном виброаппарате, кг.
Учёт свойств и реакционной способности ВВ при определении значения Кб осуществляется путем введения коэффициента Кв , связанного с температурой вспышки Тв , начальной Т 0 и максимальной Т i температурами вибрационной обработки:
. (4.11)
Таким же образом с помощью коэффициента Кт учитывается влияние перехода из твердого фазового состояния ВВ (или его компонентов) в жидкое или пластическое состояние, что может привести при вибрации к появлению кавитационного эффекта в жидкой среде, схлопыванию газовых полостей и к локальному резкому повышению температуры и давления с нежелательными последст-виями для данного производства:
, (4.12)
где Тпл – температура плавления ВВ, К;
Тф – фактически достигаемая температура ВВ.
Коэффициент Kм оказывает влияние таких физико-механических показателей ВВ, как предел прочности при растяжении, сжатии, сдвиге, а также относительной неупругой деформации образца ВВ до момента разрушения:
, (4.13)
где sпр – предел прочности при растяжении, Н/м2 ;
s0 – начальное напряжение, действующее на образец ВВ до вибрации, Н/м2 ;
si – максимальное напряжение, действующее при виброобработке, Н/м2 ;
e0 , ei – относительная деформация образца ВВ в начальный момент времени и в текущий момент виброобработки;
eп – предельная относительная деформация ВВ перед разрушением.
При подстановке значений коэффициентов в уравнение (4.7) получен обобщенный коэффициент взрывоопасности для различных технологических операций с применением вибрации.
Экспериментально установлено, что при Кб >>1 технологическая безопасность обеспечивается полностью, с большим запасом, а при 1<Кб <10 ее недостаточно для обеспечения безаварийной работы с ВВ, и поэтому необходимо либо уменьшить параметры вибронагрузки и температуру, либо заменить технологическое оборудование более безопасным.
Результаты экспериментов и вычисленные значения Кб с учётом уравнений (4.7)‑(4.13) приведены в таблице 4.7 для некоторых ВВ.
Таблица 4.7 – Параметры некоторых взрывчатых веществ
при вибротранспортировании
| Номер опыта |
ВМ |
w, Гц |
А , мм |
а , м/с2 |
РД , МПа |
РСТ , МПа |
|
t , c |
m , г |
Wi , % |
а , % |
Кб |
| 1 |
Гексоген |
110 |
1,5 |
18,2 |
23,6 |
12 |
1,90 |
30 |
0,1 |
10 |
3 |
0 |
| 2 |
80 |
0,8 |
5,1 |
6,7 |
12 |
0,56 |
30 |
0,5 |
0 |
0,72 |
15,2 |
|
| 3 |
50 |
0,8 |
2,0 |
2,6 |
12 |
0,22 |
60 |
0,5 |
0 |
0,42 |
58,5 |
|
| 4 |
30 |
1,5 |
1,8 |
2,3 |
12 |
0,19 |
60 |
0,5 |
0 |
0,12 |
76 |
|
| 5 |
ТНТ |
150 |
1,5 |
33,7 |
43,8 |
24 |
1,80 |
30 |
0,1 |
0 |
1,2 |
1 |
| 6 |
110 |
0,8 |
9,7 |
12,6 |
12 |
1,05 |
30 |
0,5 |
0 |
0,28 |
12,4 |
|
| 7 |
80 |
1,0 |
6,4 |
8,3 |
12 |
0,69 |
30 |
0,5 |
0 |
0,24 |
19,7 |
|
| 8 |
50 |
2,0 |
5,0 |
6,5 |
8 |
0,81 |
30 |
0,5 |
0 |
0,20 |
25,8 |
|
| 9 |
Аммонит 6ЖВ |
150 |
1,5 |
33,7 |
42,0 |
24 |
1,68 |
30 |
0,1 |
0 |
1,0 |
1 |
| 10 |
80 |
1,0 |
6,4 |
8,2 |
12 |
0,68 |
30 |
0,5 |
0 |
0,28 |
20 |
|
| 11 |
Гексоген |
50 |
3,0 |
7,5 |
1,75 |
0,01 |
175 |
30 |
10 |
0 |
0,02 |
210 |
| 12 |
ТНТ |
50 |
3,0 |
7,5 |
1,75 |
0,01 |
175 |
30 |
10 |
0 |
0,01 |
316 |
Критические параметры вибрационной нагрузки и тепловой энергии для гексогена, способные вызывать прогрессивное разложение с переходом его во взрыв, составляют:
wкр =110 Гц, А =1,5 мм, mе =0,23 Н×м, Т 0 =323 К, Кб =15,2.
При данных параметрах вибропрессование является безопасным, но близким к границе предельных параметров нагружения. Поэтому для повышения коэффициента Кб желательно уменьшить частоту или амплитуду колебаний, либо то и другое вместе. Использование коэффициента Кб для оценки взрывобезопасности при вибротранспортировании ВВ (см. таблицу 4.7) показало, что при отсутствии больших динамических и статических нагрузок на ВВ и при сравнительно низких частотах и амплитудах колебаний вибротранспортирование может быть взрывобезопасным. Но в этом случае необходимо учитывать возможность электризации частиц ВВ и их пыления при периодическом отрыве слоя ВВ от грузонесущего элемента установки.
В связи с такими особенностями при определении безопасных условий, нужно предусмотреть меры по снятию зарядов статического электричества [29] и обеспечению необходимой влажности воздушной среды.
Таким образом, Н.П. Логиновым [28] впервые предложен новый критерий взрывобезопасности и способ расчета коэффициента взрывобезопасности переработки ВВ при использовании вибрационной технологии, основанной на сравнении экспериментально найденных критических параметров вибрационного воздействия на ВВ с учётом вероятности их взрывов и степени разложения с параметрами разрабатываемого или используемого вибрационного оборудования, что позволяет повысить уровень безопасности и оптимизировать технологию вибрационной обработки ВВ с учётом их физико-химических и механических свойств.
4.4 Чувствительность ВВ к разрядам статического
электричества
Многие производственные процессы, особенно с применением диэлектрических материалов, сопровождаются образованием и накоплением электростатических зарядов. Статическая электризация чаще всего наблюдается при трении или скольжении поверхностей диэлектриков друг относительно друга или по поверхности металлов, при механическом разрушении диэлектриков, отрыве поверхностей одна от другой, распылении твердых и жидких аэрозолей, движении частиц в газовом потоке и пр. [29, 30, 31].
Пневматическое транспортирование промышленных ВВ и заряжание ими взрывных полостей сопровождаются электризацией. Уровень электризации в основном определяется состоянием контактирующих поверхностей и зависит от многочисленных факторов, в том числе от состава, дисперсности и влажности ВВ, скорости пневмотранспортирования, материала и электрического сопротивления трубопровода, влажности воздуха и т.п. Возникающие электростатические разряды при этом могут стать источниками воспламенения пылевоздушных смесей (ПВС), особенно при пневмозаряжании, когда образование пылевоздушных смесей возможно и вне трубопроводов. Наибольшей чувствительностью к искровым разрядам отличаются пылевоздушные смеси ВВ, они же отличаются и высокой электризуемостью, особенно пыли диэлектриков. Поэтому критерий чувствительности ВВ к электрической искре является основополагающим критерием с точки зрения электростатической безопасности, по которому можно оценить степень опасности воспламенения и разработать соответствующие меры.
Определение минимальной энергии зажигания пылевоздушных смесей проводится в основном по методу подачи заданной энергии искрового разряда в известный объём концентрации порошка. Один из вариантов установки определения чувствительности к искровому разряду представлен на рисунке 4.8.
|
|
| Рисунок 4.8 - Схема установки для определения минимальной энергии зажигания ПВС |
Установка состоит из камеры 1, в которой распыляется и поджигается пылевоздушная смесь; киловольтметра 2; блока зарядки рабочего конденсатора 3; блока управления 4, с помощью которого автоматически синхронизируется работа распылителя 5 и искрообразующего устройства; счетного механизма 6, предназначенного для регистрации числа искровых разрядов. Дозатор (распылитель) 5 предназначен для создания и поддержания заданной концентрации ПВС исследуемого вещества до образования в ней искрового разряда. Искровой разряд образуется в момент выхода заслонки 7 из межэлектродного пространства под действием электромагнита 8. Искровой разряд формируется в межэлектродном промежутке (высоковольтный электрод 9 - заземленный электрод 10) с конденсатора С через индуктивность L от блока заданного напряжения 3.
Минимальная энергия воспламенения Wмин (Дж) рассчитывается из уравнения
, (4.14)
где С – ёмкость разрядной цепи, Ф;
U 1 и U 2 – напряжение на разрядной емкости соответственно до и после пробоя искрового промежутка, В.
Минимальная энергия зажигания пылевоздушных смесей может быть также рассчитана аналитически по формуле, полученной на основе обработки экспериментальных данных:
, (4.15)
где U (м/с)– скорость распространения пламени, определяемая как
, (4.16)
где Sуд – удельная поверхность дисперсной фазы, мм2 /г;
К – параметр, определяемый теплофизическими свойствами горючей ПВС.
Зависимость (4.16) качественно подтверждается экспериментально.
Поскольку чувствительность ВВ к искровому разряду зависит от их физического состояния и может колебаться в широких пределах при изменении влажности, плотности, дисперсности порошков, то ее принято определять для наиболее опасной аэровзвеси. Значения минимальных энергий воспламенения аэровзвесей некоторых взрывчатых веществ в зависимости от дисперсности приведены в таблице 4.8 [32].
Таблица 4.8 – Значения минимальных энергий воспламенения
аэровзвесей ВВ в зависимости от дисперсности
| Вещество |
Дисперсность, мкм |
Минимальная энергия воспламенения, мДж |
| Гексоген |
150 |
3 |
| Тротил |
100-300 |
2,8-3 |
| Алюминиевая пудра |
50-100 |
9,6-60 |
| Аммонит 6ЖВ |
125 |
1500 |
| Гранулит АС-8 |
200-300 |
1600 |
| Игданит |
200-300 |
1900 |
| Аммиачная селитра |
100-300 |
2000 |
Из компонентов промышленных ВВ наибольшей чувствительностью характеризуется гексоген, тротил и алюминиевая пудра.
Для поиска минимальных пределов воспламенения от электростатических разрядов при разбавлении ПВС инертными газами или при разрежении среды используют установку, позволяющую проводить исследование зависимости чувствительности к искре в замкнутом пространстве (рисунок 4.9).
В этой установке, в отличие от установки, представленной на рисунке 4.8, где концентрация пылевоздушной смеси (ПВС) создается при свободном падении частиц, заданная концентрация достигается за счет взвешивания.
|
|
| Рисунок 4.9 - Принципиальная схема установки определения |
ПВС создается в известном объёме (4 см3 ) в диэлектрической сборке 1, которая установлена на якоре электромагнита 2, управляемого источником питания G 2 . Электростатическая энергия от конденсатора Ск поступает в межэлектродное пространство с помощью вакуумного выключателя ВВ-20 от высоковольтного источника G 1 через ограничительное сопротивление R . Полное смешивание газовой смеси с частицами достигается при помощи вентилятора 3 через крышку сборки из мелкоячеистого капронового сита. Сборка 1, электромагнит 2 и вентилятор 3 размещены в герметичной стальной испытательной камере 4, из которой воздух откачивается вакуумным насосом 5.
Результаты испытаний на данной установке порошкообразного циркония, используемого как один из компонентов для инициирующих составов, приведены на рисунках 4.10 и 4.11.
Нижним пределом содержания кислорода в среде азота является 10 % при оптимальной для воспламенения концентрации порошка в смеси 50 кг/м3 , при других концентрациях порошка такая смесь не воспламеняется (см. рисунок 4.10). При снижении остаточного давления в камере от значения атмосферного до 400 мм. рт. ст. (при содержании кислорода 21 %) минимальная энергия зажигания циркония увеличивается на несколько порядков, что снижает чувствительность циркония при использовании. Результаты испытаний порошкообразного циркония на данной установке позволили разработать рекомендации по безопасной технологии переработки порошка в производстве (см. рисунок 4.11).
|
|
| Рисунок 4.10 - Чувствительность к искре ПВС циркония |
|
|
| Рисунок 4.11 – Возможность воспламенения циркония |
Для пастообразных взрывчатых веществ, например, гексопласта, или литых твердых образцов сборка для испытаний представляет несколько иную конструкцию, изображенную на рисунке 4.12. Устройство позволяет определить чувствительность к сканирующему разряду за счет вращения подложки 1 с образцом 2 относительно подвижного высоковольтного электрода 3. Кроме того, за счет смещения осевого центра заземленного электрода 4 относительно центра вращающейся подложки, одновременно можно выявить оптимальную величину разрядного промежутка l (мм) при воспламенении образцов.
|
|
| 1 – подложка; 2 – ВВ; 3 – высоковольтный электрод; 4 – заземленный электрод; 5 – генератор высоковольтного напряжения; 6 – блок Рисунок 4.12 - Устройство определения чувствительности |
Для оценки электризуемости ВВ наиболее важными характеристиками являются их удельное объёмное (rV , Ом×м) и поверхностное (rS , Ом) электрические сопротивления, которые определяются в соответствии с ГОСТ 6433.2-81 по схеме измерения (рисунок 4.13). В качестве измерительного прибора используется тераомметр типа ЕК6-7.
Удельные сопротивления веществ определяются по следующим формулам:
,
, (4.17)
где RV и RS – соответственно измеренное объёмное и поверхностное сопротивление материала, Ом;
D 0 – диаметр измерительного электрода, м;
h – толщина исследуемого образца, м;
d - зазор между измерительным и охранным электродами, м.
|
|
| 1 – охранный электрод; 2 - исследуемый материал; Рисунок 4.13 - Схема измерения удельных электрических |
Установлено, что материалы и продукты способны электризоваться в том случае, если удельное объёмное сопротивление их превышает 106 Ом×м. При оценке сравнительной электризации различных ВВ обычно используют установки [7], основанные на принципе образования электростатических зарядов при ударе частиц пылегазовоздушной струи о наклонную преграду, выполненную из различных конструкционных материалов.
Электризуемость выражают потенциалом (В) или удельным зарядом вещества (Кл/кг), находящегося в металлической емкости, после ссыпания в него контактируемых частиц порошка. Электрические характеристики и сравнительная способность к электризации некоторых ВВ приведены в таблице 4.9 [7].
Таблица 4.9 – Электростатические характеристики некоторых ВВ
| Вещество |
Влажность, j, % |
Электрические |
Электризуемость при ударе о пластину, В |
||
| rV , Ом×м |
rS , Ом |
латунь |
алюминий |
||
| Гексоген |
0,01 |
1015 |
1016 |
5000-7000 |
- |
| Тротил |
0,01 |
2×1013 |
1011 |
4000 |
- |
| Аммонит 6ЖВ |
0,04 |
5,7×1010 |
7,5×1010 |
650 |
1000 |
| 0,03 |
9,6×105 |
2,1×107 |
900 |
1500 |
|
| Аммонал |
0,16 |
1,2×106 |
108 |
900 |
1100 |
| 0,47 |
1,5×105 |
2×107 |
500 |
800 |
|
| Аммонит скальный №1 |
0,05 |
1,7×107 |
1,5×107 |
2000 |
1900 |
| Гранулит АС-8 |
0,33 |
3,5×108 |
2,7×108 |
50 |
50 |
| 0,77 |
2,8×107 |
1,6×107 |
0 |
0 |
|
| Гранулит М |
0,08 |
2,1×107 |
1,5×107 |
90 |
- |
| 0,50 |
1,1×105 |
1,3×106 |
0 |
- |
|
Наиболее высокую электризуемость имеют гексоген и тротил. Существенно меньше электризуется аммиачная селитра, особенно в гранулированном виде. Диэлектрические свойства и соответственно электризуемость промышленных ВВ, основным компонентом которых является гигроскопичная аммиачная селитра, как правило, снижаются при повышении их влажности и увеличении размеров частиц. На электризуемость ВВ влияют следующие факторы: относительная влажность воздуха, концентрация ВВ и скорость его перемещения в пневмопотоке, профиль пневмотранспортной линии (число поворотов и крутизна) и материал ее внутренней поверхности.
Интенсивность электризации в пневмотранспортных магистралях пропорциональна скорости потока в степени 1,8 и определяется как [29]:
J = æpDL mu1,8 ,
где J – ток электризации, мкА;
æ – коэффициент электризации, мкКл×с0,8 /м3,8 ;
m - массовая концентрация транспортируемого материала в потоке, кг/кг;
u - средняя по сечению скорость транспортируемого воздуха, м/с;
D и L – диаметр проходного сечения и длина трубы, м.
Большие электростатические заряды могут образовываться в потоке ВВ, поступающего из пневмопровода в приемный бункер или зарядную полость, а также в облаке пыли, выходящем с отработанным воздухом из устья шпура или скважины. Поэтому при оценке электростатической безопасности процессов транспортирования ВВ необходимо иметь данные по параметрам электризации, полученные на производственных установках или приближенных к ним.
4.5 Чувствительность ВВ к совместному воздействию
Кроме достаточно изученных и описанных выше воздействий на ВВ в процессе подготовки, переработки и эксплуатации, могут возникать сопутствующие воздействия, например, возникновение электростатического разряда с одновременным механическим воздействием при защемлении, ударе или других механических нагрузках на ВВ. Хотя такие факторы имеют малую вероятность появления, тем не менее, исключать их из оценки комплексной безопасности нельзя, поскольку в современных условиях разработка новых более эффективных и мощных ВВ (угленитов, граммонитов и др.) с использованием более чувствительных компонентов требует всестороннего подхода к условиям их безопасной переработки. На рисунке 4.14 представлена схема модельной установки определения чувствительности ВВ совместного воздействия факторов (электростатический разряд и скользящее трение).
|
|
| Рисунок 4.14 - Схема установки определения чувствительности ВВ |
Конструктивно устройство представляет элемент фрезерного станка, на станине которого закреплена диэлектрическая подложка 1 с исследуемым веществом 2. На вещество воздействует стальной заземленный имитатор скольжения 3 с определенной скоростью движения и заданным давлением прижатия Р
(кг/см2
). В подложку введен высоковольтный электрод 4, на который электростатический разряд синхронно поступает с генератора импульсов 5 при замыкании контактной группы SA, механически связанной с имитатором. В качестве исследуемого вещества был испытан состав ВВ на основе граммонита с различными флегматизирующими и горючими добавками. Чувствительность совместного воздействия (механическое трение и электрический разряд) оценивалась частостью
,%.
В таблице 4.10 приведены результаты экспериментов, из которых следует, что при определенных факторах механической нагрузки и электрического разряда (V=
1,8 м/с, W
=162 мДж) при раздельном их воздействии, образец не воспламеняется (
=0). При совместном же воздействии данных факторов (Р
, V
, W
) существует пропорциональная зависимость вероятности воспламенения от энергии электрического разряда при варьировании электрической емкости и напряжения на конденсаторе С
генератора 5.
Таблица 4.10 – Экспериментальные данные по чувствительности
состава ВВ к совместному воздействию
| Вид воздействия |
V , м/с |
C , пФ |
U , кВ |
W , мДж |
|
| Механическое |
0,8 |
- |
- |
- |
0 |
| Электрический разряд |
- |
20×103 |
7,5 |
112 |
0 |
| Совместное |
0,8 |
20×103 |
7,5 |
112 |
100 |
| Механическое |
1,8 |
- |
- |
- |
0 |
| Электрический разряд |
- |
20×103 |
9,0 |
162 |
0 |
| Совместное |
1,8 |
20×103 |
6,5 |
92 |
100 |
| Совместное |
1,8 |
10×103 |
5,0 |
47 |
14 |
| Совместное |
1,8 |
10×103 |
5,5 |
57 |
25 |
| Совместное |
1,8 |
10×103 |
6,5 |
68 |
40 |
| Совместное |
1,8 |
10×103 |
7,0 |
93 |
50 |
| Совместное |
1,8 |
4,7×103 |
5,0 |
33 |
9 |
| Совместное |
1,8 |
2,8×103 |
6,0 |
31 |
16 |
| Совместное |
1,8 |
7,8×102 |
9,0 |
27 |
50 |
| Совместное |
1,8 |
7,8×102 |
9,5 |
20 |
100 |
Учитывая, что значения Wмин определялись в окрестности пробивного напряжения, для качественного объяснения полученных результатов может быть применена модель электромеханического пробоя [33], согласно которой электрическая прочность материала пропорциональна механической прочности. В рамках этой модели и объясняется влияние сопутствующего механического воздействия имитатора на воспламеняемость от искровых разрядов. Сопутствующие механические воздействия совершают часть работы, необходимой для пробоя, понижают значение пробойного напряжения Uпр , а следовательно, и минимальную энергию зажигания Wмин .
5 обеспечение безопасности при эксплуатации ВЗРЫВЧАТЫХ ВЕЩЕСТВ
Эксплуатационная безопасность заключается в совокупности всех мероприятий по обеспечению безопасности работ с ВВ на всех этапах, начиная со стадии изготовления опытных образцов в лабораторных условиях на ручных операциях и заканчивая уничтожением неиспользованных ВВ и их остатков после проведения взрывных работ. Перечень работ при обращении с ВВ, когда требуется обеспечение безопасности, можно охарактеризовать следующими образом:
· отработка опытных образцов, макетов и изделий на стадии проектирования;
· лабораторные испытания образцов на заданные характеристики;
· натурные испытания готовых изделий и полуфабрикатов на испытательных стендах и полигонах;
· собственно эксплуатация ВВ и изделий на их основе;
· сбор и уничтожение неиспользованных ВВ и их остатков.
При транспортировке, хранении, эксплуатации ВВ, человек непосредственно контактирует как с малыми навесками, так и с крупногабаритными изделиями, измеряемыми десятками тонн. На всех перечисленных этапах разработаны и действуют различные инструкции, правила, нормы, стандарты, наставления [34-37], которые регламентируют условия безопасного обращения с взрывчатыми материалами (ВМ). Практически все регламентирующие материалы разработаны на основе критериев безопасности, характеризующих чувствительность ВМ к тем или иным видам воздействий. Но, несмотря на обеспечение каждого рабочего места, участка, цеха инструкциями и наставлениями, проведение инструктажей и дополнительного обучения, аварии на объектах с использованием ВВ, приносящие разрушения и гибель людей, продолжают происходить.
Иногда человек нарушает требования безопасности, не понимая особенностей технологического процесса и результатов последствий таких нарушений. Анализ аварийных ситуаций показывает значимость человеческого фактора. Коэффициент травматизма и аварийности значительно снижается, когда человек, работая на опасных и особо опасных операциях, понимает сущность производственных операций и результаты последствий нарушений технологического процесса. Исходя из этого, ниже рассмотрены некоторые вопросы эксплуатационной безопасности, позволяющие более глубоко освоить существующие рекомендации по технике безопасности при обращении с ВВ.
5.1 Оценка разрушающей способности взрывов
и безопасности человека от
ударной волны
На основании значительных исследований на базе реальных повреждений типовых зданий и промышленных сооружений, вызванных ударными волнами при взрывах ВВ, широко используется в мировой практике формула, устанавливающая зависимость массы заряда взрывчатого вещества m (эквивалентна энергии взрыва Е ) от расстояния R , соответствующего расстоянию от места взрыва до объекта разрушения:
, (5.1)
где К – константа соответствующего уровня разрушения.
При массе m >5000 кг формула (5.1) принимает вид
или
. (5.2)
Известные и найденные по характеру разрушений тротиловые эквиваленты позволяют определить энергию взрыва Е различных ВВ. Однако при этом следует учитывать и конкретные условия взрыва.
Известно, что первоначально вся энергия сосредоточена в источ-нике в форме потенциальной энергии. В момент взрыва она переходит как в тепловую и кинетическую энергию различных областей и фрагментов системы, так и в энергию излучения.
Энергия волны взрыва как движущейся части газовой среды складывается из тепловой энергии
(5.3)
и кинетической
, (5.4)
где r - плотность ВВ;
С – теплоёмкость;
q0 , q - начальная и конечная температуры;
V – объём волны.
На поздней стадии развития процесса суммарная энергия волны Е=ЕТ
+ЕК
оказывается величиной постоянной и не изменяется во времени. Это постоянство на стадии слабого взрыва характерно для всех взрывных процессов. При взрывах конденсированных ВВ на образование воздушной ударной волны расходуется практически вся (более
90 %) энергия взрыва.
Ориентировочные значения энергетических показателей взрывоопасности Е , m , QВ и R 0 определяют по зависимостям, приведенным в [34], или другими уточненными методами, исходя из конкретных условий. Из уравнения энергетического баланса ударной волны с учётом конкретных условий определяют реально возможный эквивалент ТНТ (тринитротолуола), а по закономерностям «кубического корня» (зависимость (5.2)) - реальные расстояния R соответствующих уровней разрушения, площади, описываемые этими радиусами, а также другие параметры воздействия ударной волны на объекты.
Выделяется пять зон опасности, соответствующих следующим значениям константы К (формула (5.1)):
1) К =3,8 – полное разрушение зданий;
2) К =5,6 – 50%-ное разрушение зданий;
3) К =9,6 – разрушение зданий без обрушения;
4) К =28 – умеренное разрушение зданий с разрушением дверей, оконных переплетов, кровли, внутренних перегородок;
5) К =56 – малые повреждения с разрушением »10 % остекления.
Более точно разрушающую способность взрывов можно характеризовать избыточным давлением, воздействующим на объект. В таблице 5.1 приводятся уровни разрушения некоторых зданий и соответствующие им избыточные давления, при которых достигается данная степень разрушения.
На рисунке 5.1 изображена соответствующая зависимость избыточного давления и приведенных расстояний [2]. Определение разрушающей способности по тротиловому эквиваленту и совмещению зависимостей радиуса разрушения и избыточного давления от приведенного расстояния является приемлемым и широко используемым для оценки взрывов.
Несмотря на некоторую неадекватность высвобождения энергии различными энергоносителями, метод совмещения энергетического эквивалента ТНТ и основных принципов «кубического корня» позволяет достаточно точно прогнозировать уровни возможного разрушения при взрывах на технологических объектах.
Таблица 5.1 – Уровни разрушения некоторых зданий при
соответствующем избыточном давлении ударной волны
| Категория повреждения |
Характеристика повреждения |
Избыточное давление, кПа |
К |
| A |
Полное разрушение здания |
70 |
3,8-5,6 |
| B |
Тяжелые повреждения, здание подлежит сносу |
33 |
5,6-9,6 |
| C |
Средние повреждения, возможно восстановление здания |
25 |
9,6-28 |
| D |
Разбито 90 % остекления |
4 |
28-56 |
| E |
Разбито 50 % остекления |
0,2 |
>56 |
| F |
Разбито 5 % остекления |
0,05 |
>56 |
|
|
| Рисунок 5.1 - Зависимость давления Р на фронте ударной волны при взрыве ВВ от приведенного расстояния (R /m 1/3 ) |
Для практических расчетов безопасности в конкретных условиях можно оценить максимальное избыточное давление, при котором объект (здание, сооружение) будет сохранять еще необходимую устойчивость. Непревышение этого давления может быть обеспечено соответствующим безопасным расстоянием RВ (от источника взрыва до объекта) или при известном расстоянии RВ уменьшением энергетического потенциала. При этом для больших значений массы m >4000 кг используется принцип Хопкинсона RВ =К m 1/3 . Однако при малых значениях m показатель степени существенно изменяется в зависимости от массы m и находится в пределах от 1/3 до 2/3. Этим объясняется то, что в ряде стран (США, Англия, Франция) используют показатель степени 1/2 при определении безопасных расстояний RВ .
При зарядах ВВ меньше нескольких тонн расстояния RВ будут несколько меньше расстояний, рассчитанных по кубической зависимости. Так, для m <100 кг расстояния RВ почти не имеют значения в целом. На рисунке 5.2 приведена зависимость значений безопасных расстояний RВ для зданий от массы m , которая может быть использована для выбора безопасных условий в случае конкретных технологических объектов.
|
|
| Рисунок 5.2 - Зависимость безопасных расстояний R
В
от массы |
Для оценки предполагаемого уровня разрушений широко применяют графический метод оценки разрушающей способности ударных волн с помощью диаграмм влияния давления взрыва Р (кПа) и импульса взрыва i (кПа·с), построенных с помощью уравнения (5.3). Примером такой диаграммы является диаграмма P- i (рисунок 5.3) для трех степеней разрушения кирпичных зданий: 1 – минимальные пов-реждения; 2 – значительные разрушения; 3 – частичные разрушения (от 50 до 75 % стен разрушено или находится на грани разрушения). Степень повреждения объекта увеличивается с ростом давления и импульса; при этом не обязательна конкретизация источника, от которого получена ударная волна. Диаграмма P- i применима для оценки возможного уровня разрушения кирпичных зданий, административных построек, легких промышленных сооружений каркасной конструкции с прочностными характеристиками, приближающимися к характеристикам кирпичных зданий. По диаграмме P- i можно установить степень повреждения конструкции при известных комбинациях значений P и i . Кривые на диаграмме представляют собой линии равной степени повреждения объектов и определяют комбинацию этих значений, необходимую для получения заданной деформации. Если на объект действуют нагрузки со значениями амплитуды и импульса, изображаемыми точкой, расположенной выше кривой, то данный объект будет поврежден, так как в этом случае деформация превысит критические значения. Для выбора безопасных условий точка, отражающая соответствующие значения давления Р и импульса i , должна лежать ниже кривой. Вертикальная часть кривой характеризует импульсный режим нагружения (А ), и для того, чтобы отклониться от линии равных степеней повреждения, необходимо изменить импульс i , поскольку изменение амплитуды нагружения не влияет на состояние объекта. Горизонтальная часть кривой – квазистатический режим нагружения (В ), и здесь для отклонения от линии равных степеней повреждения необходимо изменение амплитуды.
|
|
| 1 – граница минимальных повреждений; 2 – граница значительных повреждений; 3 – частичное разрушение зданий (от 50 до 75 % стен разрушено) Рисунок 5.3 - Диаграмма Р- i |
В области низких давлений взрыва (Р <40 кПа) преобладает квазистатический режим нагружения объектов, и за основной критерий опасности их разрушения необходимо принимать избыточное давление ударной волны. В областях высоких давлений при i >0,6 кПа×с, когда преобладает импульсный режим нагружения объектов, за основной критерий следует принимать импульс взрыва.
Для оценки разрушающей способности ударных волн и устойчивости объектов широко используют P- i диаграммы в сочетании с кривыми зависимости параметров взрывных волн от тротилового эквивалента dт (энергетического потенциала Е ) и расстояния от энергоносителя до объекта R , нанесенными в виде сетки на диаграммы. Сетка кривых R- dт , как показано на рисунке 5.4, позволяет определять различные комбинации энергии взрыва и расстояния от энергоносителя, соответствующие нагрузкам, при которых достигается заданный допустимый уровень повреждения зданий (конструкций). Кривая равной степени повреждения 1 на диаграмме P- i (см. рисунок 5.4) показывает, что к одинаковому разрушающему эффекту приводят энергоносители, эквивалентные 1/8, 1/7, 1/2, 1 и 2 кг ТНТ на расстояниях соответственно R =0,43; 0,85; 1,33; 2 и 3 м.
|
|
| Рисунок 5.4 - Зависимости избыточного давления Р
|
Такие диаграммы справедливы только для данной степени повреждения конструкции. В сложных объектах для каждого элемента конструкции, который имеет свой уровень устойчивости, на графике наносят несколько диаграмм P- i (рисунок 5.5) различных уровней повреждения (например, I и II). Это необходимо для того, чтобы учесть уровень всех возможных повреждений и предусмотреть меры, исключающие развитие аварий.
|
|
| Рисунок 5.5 - Диаграмма Р- i для оценки устойчивости (уровней разрушений) сложных объектов с разнопрочными элементами (конструкциями) |
Таким образом, безопасные расстояния по действию воздушной ударной волны от взрыва заряда ВВ на земной поверхности регламентируются Едиными правилами безопасности и могут быть вычислены по формулам (5.1), (5.2).
Радиус зоны безопасности
по действию воздушной ударной волны на человека определяется как
, (5.5)
где m – масса заряда, кг.
При наличии блиндажа радиус rmin может быть уменьшен в 1,5 раза. Предельная величина заряда при ведении взрывных работ вблизи зданий и сооружений
, (5.6)
где r ф – фактическое расстояние от места взрыва до охраняемого объекта, м.
При подземных массовых взрывах опасные расстояния по действию воздушной ударной волны могут быть определены в зависимости от величины давления в ней [38]:
, (5.7)
где m – масса заряда, кг;
h у – коэффициент перехода энергии взрыва в воздушной ударной волне, значение h у от 0,005 до 0,1;
R – длина выработки, м;
Ss – суммарная площадь сечения выработок, сообщающихся с выработкой, в которой размещен заряд, м2 ;
b - коэффициент сопротивления выработки;
- приведенный диаметр выработки, м;
n – показатель действия взрыва.
Формула (5.7) справедлива для промышленных ВВ с удельной энергией взрыва около 4300 кДж/кг (аммонит 6ЖВ). Для других ВВ массу заряда следует умножить на отношение удельных энергий используемого ВВ и аммонита 6ЖВ. Если принять максимально допустимую для человека величину давления воздушной ударной волны равной 20 кПа, то из выражения (5.7) может быть также найдено минимальное безопасное расстояние по действию ее на человека.
Зоны, опасные для людей по разлету отдельных кусков взорванной породы, в зависимости от показателя взрыва n и линии наименьшего сопротивления (ЛНС) приведены в таблице 5.2.
Таблица 5.2 – Зоны, опасные для людей по разлету породы,
в зависимости от показателя взрыва n
и ЛНС
| ЛНС |
Радиус опасной зоны (м) при значении показателя действия взрыва n |
|||||||
| для людей |
для механизмов и сооружений |
|||||||
| 1,0 |
1,5 |
2,0 |
2,5 |
1,0 |
1,5 |
2,0 |
2,5-3,0 |
|
| 1,5 |
200 |
300 |
350 |
400 |
100 |
150 |
250 |
300 |
| 2 |
200 |
400 |
500 |
600 |
100 |
200 |
350 |
400 |
| 4 |
300 |
500 |
700 |
800 |
150 |
250 |
500 |
550 |
| 8 |
400 |
600 |
800 |
1000 |
200 |
300 |
600 |
700 |
| 12 |
500 |
700 |
900 |
1200 |
250 |
400 |
700 |
800 |
| 20 |
700 |
800 |
1200 |
1500 |
350 |
400 |
800 |
1000 |
| 30 |
800 |
1000 |
1700 |
2000 |
400 |
500 |
1000 |
1200 |
Безопасные расстояния при передаче детонации между зарядами ВВ при взрывных работах рассчитываются по формуле, предложенной И.И. Таммом и М.Л. Радовским:
, (5.8)
где К
- коэффициент, зависящий от типов ВВ активного и пассивного зарядов (для тротила К
=1,5, для аммонита 6ЖВ К
=0,65);
m – масса активного заряда, кг;
Dэ – эффективный размер пассивного заряда, принимаемый равным его ширине при удвоенной высоте, м.
5.2 Токсичность взрывчатых веществ и продуктов взрыва
Важной мерой промышленной санитарии при эксплуатации ВВ является защита людей от токсичного действия ВВ и продуктов их взрыва. Контакт с ВВ и их компонентами, как и со многими другими химическими соединениями, при отсутствии защитных мер оказывает вредное воздействие на организм человека. При кратковременном их воздействии симптомы отравления могут проявляться в головокружении, головных болях, тошноте; при длительном воздействии малых концентраций развиваются хронические заболевания печени, легких и других органов. В большинстве случаев вредные вещества попадают в организм в виде пыли или паров через дыхательные пути, реже – через пищеварительный тракт или кожные покровы.
Характер воздействия вредных веществ на организм и общие требования безопасности регламентируются ГОСТ 12.0.003-84, который подразделяет вещества:
· на токсичные, вызывающие отравление всего организма или поражающие отдельные системы (ЦНС, кроветворения), вызывающие патологические изменения печени, почек;
· раздражающие, вызывающие раздражение слизистых оболочек дыхательных путей, глаз, легких, кожных покровов;
· сенсибилизирующие, действующие как аллергены (формальдегиды, растворители, лаки на основе нитро- и нитрозосоединений);
· мутагенные, приводящие к нарушению генетического кода, изменению наследственной информации (свинец, марганец, радиоактивные изотопы);
· канцерогенные, вызывающие злокачественные новообразования (циклические амины, ароматические углеводороды, хром, никель, асбест).
О сравнительной токсичности различных ВВ судят по величине предельно допустимой концентрации (ПДК) их паров или пыли в воздухе. Все вредные вещества по степени воздействия на организм человека в соответствии с ГОСТ 12.1.005-88 подразделяются на классы:
1 – чрезвычайно опасные, 2 – высокоопасные, 3 – умеренно опасные,
4 – малоопасные. Опасность устанавливается в зависимости от величины ПДК
, средней смертельной дозы и зоны острого или хронического действия. Если в воздухе содержится вредное вещество, то его концентрация не должна превышать величины ПДК
. При одновременном присутствии в воздушной среде нескольких вредных веществ, обладающих однонаправленным действием, должно соблюдаться условие:
, (5.9)
где С 1 , С 2 , С 3 , .. ,.С n – фактические концентрации вредных веществ в воздухе рабочей зоны, мг/м3 ;
ПДК 1 , ПДК 2 , ПДК 3 ,… , ПДК n – предельно допустимые концентрации этих веществ в воздухе рабочей зоны, мг/м3 .
Значения ПДК некоторых вредных ВВ и их составляющих приведены в таблице 5.3.
Таблица 5.3 – Значения ПДК некоторых взрывчатых веществ
| Вещество |
ПДК , мг/м3 |
| Тротил |
1 |
| Нитроглицерин |
2 |
| Гексоген |
1 |
| Алюминий |
2 |
| Индустриальные масла (пары, туман) |
10-300 |
| Окислы азота |
5 |
| Окись углерода |
20-30 |
| Сероводород |
10-15 |
| Пары ртути |
0,01 |
| Пары свинца |
0,01 |
| Аммиачная селитра |
10 |
Опасность отравления пылью и парами ВВ возрастает при выполнении операций с неснаряженными и непатронированными ВВ и особенно при механизированных способах их растаривания, транспор-тирования и заряжания.
Кроме пыли и паров ВВ вредное действие на человека оказывают некоторые продукты взрыва – окислы азота, окись углерода, сернистые соединения и другие. Первоначально образующаяся бесцветная окись азота NO, соединяясь с кислородом воздуха, переходит в двуокись NO2
, окрашенную в бурый цвет, которая легко адсорбируется разрыхленной горной массой, а в процессе погрузочных работ выделяется из нее. Она медленно действует на организм (скрытый период от 4 до
6 ч), вызывая отек легких.
Окись углерода (угарный газ) – бесцветный газ, несколько легче воздуха, плохо растворимый в воде. Легко адсорбируется разрыхленной породой. При непродолжительном вдыхании вызывает головные боли, тошноту, сонливость. При длительном вдыхании или выдыхании большой дозы наступает потеря сознания, удушье. Первая помощь при отравлении угарным газом – вынос пострадавшего на свежий воздух и искусственное дыхание.
Ядовитые газы в больших или меньших количествах образуются при взрыве всех промышленных ВВ. Как показано в работах Б.Д. Росси [41] и других исследователей, количество вредных веществ зависит от химического состава ВВ, его детонационной способности и других факторов, определяющих полноту химических реакций при взрывчатом превращении.
Определенное влияние могут оказывать химические, физико-механические и теплофизические свойства взрываемых горных пород. Состав продуктов взрыва в сильной степени зависит от кислородного баланса ВВ. Промышленные ВВ с положительным кислородным балансом образуют при взрыве окислы азота, причем их количество возрастает с увеличением избытка кислорода в составе ВВ. При отрицательном балансе образуется токсичная окись углерода и тем в большем количестве, чем меньше кислородный баланс ВВ.
Опытные данные по составу продуктов взрыва смесей с различным кислородным балансом, определенные в лабораторных и производственных условиях, приведены соответственно в таблицах 5.4 и
5.5 [7].
Таблица 5.4 – Состав продуктов взрыва смесей аммиачной селитры
с тротилом
| Состав смеси, % |
Кислородный баланс, % |
Содержание газов в ПВ, % |
||||||
| аммиачная селитра |
тротил |
CO2 |
CO |
NO |
H2 |
CH4 |
N2 |
|
| 95 |
5 |
+18 |
16,6 |
4,55 |
- |
0,55 |
1,2 |
76,1 |
| 88 |
12 |
+8,7 |
27,9 |
4,9 |
3,2 |
0,5 |
1,6 |
61,9 |
| 83 |
17 |
+4 |
32,1 |
5,3 |
2,4 |
1,7 |
1,6 |
57 |
| 79 |
21 |
+0,3 |
32,3 |
5,7 |
2,7 |
1,9 |
1,8 |
55,6 |
| 70 |
30 |
-8,2 |
26,6 |
13,9 |
0,7 |
2,3 |
2,2 |
54,4 |
| Таблица 5.5 – Состав продуктов взрыва смесей тротила, аммиачной |
||||||
| Состав смесей, % |
Кислородный баланс, % |
Количество ядовитых газов, л/кг |
||||
| тротил |
аммиачная селитра |
калиевая селитра |
СО |
окислы азота |
сумма в пересчете на СО |
|
| 37,6 |
62,4 |
- |
-15,3 |
125 |
2,7 |
142,6 |
| 22 |
78 |
- |
-0,7 |
30,4 |
5,5 |
66 |
| 17,6 |
82,4 |
- |
+3,5 |
20 |
13,3 |
106,5 |
| 17,6 |
62,4 |
20 |
+7,4 |
16,6 |
5,3 |
51,1 |
При взрывании в лабораторных условиях в вакуумированном сосуде (бомбе Бихеля) [5] образуется бесцветная моноокись азота (NO), которая при контакте с воздухом переходит в окрашенные окислы: азотистый ангидрид, двуокись азота, четырехокись азота (N2 O3 , NO2 , N2 O4 ). Например, в шахтных условиях образуются одновременно и примерно в равных количествах NO2 и NO. Последняя в течение довольно долгого времени может сохраняться в разрыхленной породе и постепенно переходит в двуокись. Двуокись азота легко растворяется в воде, и поэтому ее концентрация в атмосфере влажных забоев шахт быстро падает. Окись углерода в воде растворяется плохо.
В связи с сильным влиянием кислородного баланса на образование ядовитых газов, при взрывах в подземных условиях применяют ВВ с кислородным балансом, близким к нулевому.
Исследования влияния горючей оболочки патронов на образование ядовитых газов показали, что степень такого взаимодействия зависит от кислородного баланса ВВ и температуры взрыва. С увеличением этих параметров доля сгоревшей оболочки возрастает и соответственно увеличивается образование окиси углерода. Для ВВ с нулевым кислородным балансом влияние оболочки патронов невелико. Так, увеличение массы парафинового покрытия на патронах аммонита 6ЖВ с 2,3 до 4,8 г на 100 г ВВ привело к увеличению содержания CO в продуктах взрыва от 30,1 до 34,1 л на 1 кг ВВ. Тем не менее нормативными документами на патронированные ВВ ограничивается масса бумаги до
2 г и масса гидроизолирующего покрытия на патронах до 2,5 г на 100 г ВВ.
Таким образом, одной из причин образования токсичных газов – окиси углерода и окислов азота – является избыток или недостаток кислорода в составе ВВ. Однако и ВВ с близким к нулевому кислородным балансом образуют при взрыве некоторое количество ядовитых газов. Так, хорошо изготовленный аммонит 6ЖВ в патронах диаметром от 32 до 36 мм образует при взрыве около 30 л/кг окиси углерода и до 5 л/кг окислов азота. Наличие этих газов в продуктах взрыва ВВ с нулевым кислородным балансом является следствием того, что окислы азота, первоначально образовавшиеся при взрывном разложении селитры, и окись углерода, образовавшаяся при разложении тротила и других нитросоединений, при быстром охлаждении продуктов взрыва не успевают полностью прореагировать между собой с образованием нетоксичной двуокиси углерода. Часть их остается в первоначальном виде.
Описанный механизм образования ядовитых газов позволяет объяснить зависимость этого процесса от качества изготовления смесевого ВВ, диаметра патронов, величины инициирующего импульса, дисперсности ВВ и других факторов, влияющих на полноту химических реакций при взрыве, а также зависимость образования продуктов взрыва от свойств взрываемых горных пород. Так, по данным Б.Я. Светлова, в лабораторных условиях крупнодисперсный аммонит 6ЖВ (размер частиц от 0,2 до 0,5 мм) образовывал почти в пять раз больше окислов азота, чем тонкодисперсный (размер частиц менее 0,2 мм). Им же установлено, что некоторые вещества способны снижать образование ядовитых газов при взрыве ВВ, каталитически воздействуя на вторичные реакции в продуктах взрыва с участием окислов азота. К таким веществам, в частности, относятся соли или окислы щелочных металлов. Из таблицы 5.5 видно, что в составе, содержащем нитрат калия, несмотря на положительный кислородный баланс, образуется окислов азота значительно меньше, чем в составе без калиевой соли.
Свойства горных пород также могут влиять на конечный состав продуктов взрыва в результате химического воздействия вещества породы на продукты реакции, связывания или растворения их (грунтовыми водами), физического воздействия на процесс охлаждения газов, закалку и установление ложного равновесия в охлажденных газах.
В этой связи Б.Д. Росси предложил классифицировать горные породы по признаку их влияния на образование ядовитых газов при взрыве ВВ. К группе I отнесены апатиты, нефелины, калийные руды, молибденовые руды, некоторые медные и полиметаллические руды, при взрывании которых аммонитом 6ЖВ количество ядовитых газов в пересчете на условную окись углерода (для окислов азота переводной коэффициент равен 6,5) составляет мене 40 л на 1 кг ВВ. К группе II отнесены угли и вмещающие породы, свинцово-цинковые, мартитовые железные и золотоносные руды, в которых аммонит 6ЖВ образует при взрыве от 40 до 100 л/кг ядовитых газов. К группе III отнесены джеспилитовые железные руды, в которых образуется более 100 л/кг ядовитых газов.
Свойства некоторых пород могут оказывать большее влияние на образование ядовитых газов, чем свойства самого ВВ. Например, чем выше коэффициент крепости, тем больше образуется окиси углерода и в ряде случаев меньше окислов азота (таблица 5.6) [41].
Таблица 5.6 – Количество ядовитых газов в различных породах
при их взрывании
| Горная порода |
Состояние породы |
Коэффициент крепости |
Количество ядовитых газов, л/кг |
||
| CO |
NO2 |
CO+6,5NO2 |
|||
| Мартитовая руда |
Влажная |
4 |
10,3 |
5,1 |
43,5 |
| Гидрогематитовая |
Сухая |
4 |
7,0 |
5,4 |
42,1 |
| Хлоритовые |
Сухие |
6 |
18,6 |
1,3 |
27,0 |
| Гидрогематитовые |
Сухие |
8 |
29,8 |
1,2 |
37,6 |
| Джеспилиты |
Сухие |
12 |
20,4 |
4,5 |
49,7 |
| Джеспилиты |
Сухие |
12 |
34,1 |
1,2 |
41,9 |
| Влажные |
14 |
33,4 |
1,6 |
43,8 |
|
В связи с сильным влиянием свойств горных пород на образование ядовитых газов при взрывах нет единой нормы по этому показателю для различных ВВ, но соблюдается правило, что в одинаковых условиях взрывания каждое новое ВВ, предназначенное для работ в подземных условиях, должно выделять при взрыве ядовитых газов в расчете на один килограмм не больше, чем аммонит 6ЖВ, принятый за эталон.
Наиболее эффективной и необходимой мерой борьбы с образовавшимися ядовитыми газами в забое является достаточно хорошее проветривание его непосредственно после взрыва и во время уборки взорванной горной массы. На отдельных горных предприятиях для нейтрализации ядовитых газов используют водяные завесы, заслоны, а также комбинированные перемычки (воздушно-водяные перемычки). Например, на Шерегешской шахте (Кузнецкое рудоуправление) при проведении опытно-промышленных испытаний способов и средств гашения ударных воздушных волн и нейтрализации продуктов взрывания при массовых взрывах использовали водяные и комбинированные перемычки в горных выработках бурового и откаточного горизонтов [42].
Водяную перемычку (рисунок 5.6) возводили в выработке на определенном расстоянии от места взрывания. Она представляла собой деревянный каркас в виде емкости (внутри проложена полиэтиленовая пленка), наполненный водой. В нижней части каркаса располагали заряды ВВ (аммонит 6ЖВ), которые взрывали от общей коммутационной сети с зарядами массового взрыва при нулевом замедлении, что обеспечивало достаточно эффективное гашение ударной воздушной волны.
|
||
| 1 – горная выработка; 2 – вода; 3 - заряды ВВ; 4 – деревянный каркас; 5 – полиэтиленовая пленка; 6 – коммутационная сеть Рисунок 5.6 - Схема водяной перемычки в горной выработке |
При установке воздушно-водяной перемычки (рисунок 5.7) отдельные полиэтиленовые мешки, определенной формы и объёма, наполняли водой и укладывали друг на друга от почвы до кровли выработки. Емкости с водой устанавливали вогнутой стороной перемычек навстречу УВВ. В нижней части емкости размещали заряды ВВ, соединяя их общей коммутационной сетью с зарядами, расположенными в воздушной перемычке, и зарядами массового взрыва. Воздушная перемычка устанавливалась непосредственно за водяной перемычкой, со стороны, противоположной направлению ударной волны, с использованием емкостей, заполненных сжатым воздухом через клапаны из шахтной сети до избыточного давления 0,03…0,05 МПа. Воздушная перемычка взрывалась в первую очередь для образования воздушной «пробки». При взрыве водяной перемычки во вторую очередь или одновременно с воздушной образовывалась воздушно-водяная смесь, которая устремлялась направленным потоком в сторону ведения взрывных работ для нейтрализации энергии ударной волны.
В емкостях с водой размещался химический поглотитель для нейтрализации продуктов взрыва, состоящий из окиси кальция и алюминия и гидроокиси натрия в соотношении 0,5:0,3:0,2. Состав и количество химического поглотителя, который применялся для нейтрализации токсичных веществ, образовавшихся при взрывных работах, были определены по химическому составу и количеству ВВ, использованных при взрыве. Токсичные вещества, выделившиеся в результате взрыва, соприкасались с частицами химического поглотителя, распределенными равномерно по всему потоку воздушно-водяной смеси, вступали с ними в химическую реакцию и нейтрализовывались.
|
|
| 1 – горная выработка; 2 – вода; 3 - заряды ВВ; 4 – емкость со сжатым воздухом; 5 – клапан; 6 – химические поглотители; Рисунок 5.7 - Схема воздушно-водяной перемычки в горной выработке |
В результате проведенных в Шерегешской шахте [42] опытно-промышленных испытаний способов защиты горных выработок и нейтрализации продуктов взрыва путем применения водяных и воздушно-водяных перемычек при массовых взрывах установлено: разрушения горных выработок отсутствовали; нарушений электроснабжения, воздушных и водяных коммуникаций не обнаружено; скважины в смежных блоках остались в рабочем состоянии; химические поглотители, размещенные в емкостях с водой, позволили нейтрализовать до 90 % токсичных веществ, выделившихся в результате взрыва, что дало возможность сократить время проветривания шахты с 72 до 19 часов.
Таким образом, показана высокая эффективность нейтрализации токсичных продуктов взрыва и защита от ударной волны методом исполь-зования водяных и воздушно-водяных перемычек в горных выработках при массовых взрывах.
5.3 Оценка безопасности при механических воздействиях
В разделе 4.2 изложены общепринятые методы определения чувствительности к различным механическим воздействиям на ВВ, применяемые в лабораторных условиях, которые позволяют проводить оценку с учётом коэффициентов безопасности на различных операциях с ВВ. Однако на практике, например, при разбуривании или других видах работ, заряды ВВ испытывают нагрузки, намного превышающие лабораторные, поэтому исследования механических воздействий при нагрузках, превышающих нагрузки в реальных процессах, позволяют дополнительно определить безопасность воздействий и соответственно выдать рекомендации на проведение работ.
Методы исследования механического воздействия
на заряды ВВ
Для изучения механических нагрузок на ВВ, которые могут возникнуть при операциях с ВВ во время ведения взрывных работ, испытательные стенды должны воспроизводить основные типы механических напряжений, возникающих при работе. При этом величины напряжений необходимо изменять в возможно более широких пределах. Максимальные величины нагрузок должны быть выше, чем в реальных процессах. Эксперименты на стендах должны выполняться с достаточно большими навесками ВВ, обеспечивая имитацию натурных работ и в то же время полную безопасность проведения испытаний. Разработанные стенды для данных работ в Северокавказском горно-металлур-гическом институте (СКГМИ) и МакНИИ (г. Макеевка, Украина) удовлетворяют этим требованиям [39].
Исследование чувствительности ВВ при разбуривании
Чувствительность ВВ к разбуриванию имеет важное значение, поскольку большинство несчастных случаев, связанных с отказами, происходит именно при этой операции. Конструкция испытательного стенда, разработанного в МакНИИ, по определению чувствительности к разбуриванию приведена на рисунке 5.8. Стенд состоит из рамы 8, на которой укреплены стойки 3, стянутые поперечной балкой 1. По стойкам при помощи направляющих 4 перемещается закрепленное в них электросверло 6 с буровой штангой 9 и резцом 10. Штанга центрируется при помощи направляющего стакана 7. Сверло перемещается вверх при помощи троса 5, переброшенного через блок 2, лебедки 13. Вниз сверло перемещается под действием собственного веса. Осевое усилие регулируется сменными грузами 14. При необходимости сверло стопорится при помощи предохранительной чеки 15. Разбуривание проводится в песчанике 12, в котором предварительно был пробурен короткий шпур, куда помещается испытуемый патрон ВВ. Стенд устанавливается во взрывной камере. Патрон разбуривается в течение 8…12 мин. при осевом усилии 30 кгс сверлом со стандартными резцами для бурения по углю и породе. В некоторых случаях перед разбуриванием резцы нагреваются газовой горелкой до температуры 300…500 о С.
|
|
| Рисунок 5.8 - Стенд МакНИИ для определения чувствительности ВВ |
При опытах, проведенных с аммонитом ПЖВ-20 и победитом ВП-3, ни в одном из случаев не получена детонация ВВ. При разбуривании горящего скального аммонита №1 была получена детонация, в результате чего блок песчаника дал трещину. В процессе каждого опыта при разбуривании 4, 5 раз сбрасывали подвижную систему стенда на ВВ, находящееся в шпуре. Эти опыты имитировали удары по ВВ, возможные при том или ином виде механизированного заряжания. Из проведенных 1500 опытов взрывы вызвать не удалось.
Исследование опасности ВВ при ударных нагрузках
Ударным нагрузкам могут подвергаться отказавшие заряды, а также патроны ВВ в процессе механизированного заряжания или других взрывных работ. Конструкция стенда для определения опасности взрыва ВВ при ударных нагрузках приведена на рисунке 5.9.
|
|
| Рисунок 5.9 - Стенд МакНИИ для оценки чувствительности ВВ |
Стенд состоит из бронекабины 1, внутри которой по направляющим с помощью ходового винта 2 перемещается захватывающий механизм 3 с грузом 4. При набегании роликов захватывающего механизма на сбрасывающие кулачки 5, установленные на заданной высоте h , груз 4 освобождается и падает, ударяя по бойку 6, подвешенному на пружинах. Перемещая сбрасывающие кулачки вдоль направляющих, а также изменяя массу груза, можно регулировать энергию удара в пределах от 3 до 70 кгс·м. Под бронекабиной имеется бронениша 7 с массивной дверью. В броненише устанавливаются образцы 8 исследуемых ВВ. При испытании на ударные нагрузки может применяться инструмент с заостренным или плоским торцом. Острый инструмент при ударе обеспечивает более высокие удельные давления на ВВ. Удар по ВВ острым инструментом оказался менее опасным, чем удар плоской поверхностью, вследствие малой площади очагов разогрева ВВ под острием, сравнительно легкого истечения вещества из-под острия и отсутствия замкнутости возникшего очага горения, способствующего ускорению процесса. Поэтому при испытаниях на чувствительность ВВ к ударным нагрузкам предпочтительнее боевик с плоской поверхностью диаметром от 20 до 25 мм.
Исследование условий безопасности при нагрузках трения на ВВ
Для проведения исследовательской работы для узлов трения с высоким удельным давлением при контакте трущихся поверхностей в присутствии ВВ разработана и используется установка (рисунок 5.10) [39].
|
|
| Рисунок 5.10 - Установка определения чувствительности ВВ к трению при высоких удельных давлениях |
Установка позволяет моделировать работу отдельных узлов трения зарядчиков или другого оборудования при удельном давлении в контакте трущихся поверхностей более 1500 кгс/см2 , значительно превышающем допустимые напряжения для наиболее широко применяемых конструкционных материалов. Конструкция установки позволяет изменять материалы трущихся пар и обеспечивает постоянное обновление ВВ в зазоре между трущимися деталями.
Установка состоит из рычажной стойки 1, шарнирно закрепленной на основании, сменной пластины 2 и сменного валка 3 диаметром 95 мм, длиной рабочей части 100 мм. Валок вращается электродвигателем через клиноременную передачу. Скорость движения трущихся поверхностей регулируется от 0,1 до 10 м/с. С помощью набора грузов 4 и троса 5 рычажная стойка 1 вместе с закрепленной на ней сменной пластиной 2 постоянно прижимается к вращающемуся валку, образуя рычаг с отношением плечей 1:5. Конфигурация трущейся поверхности валка обеспечивает периодическое поступление новых порций ВВ из бункера 7 в рабочий зазор. Для контроля температуры в сменную пластину вмонтирована термопара 8.
Оценка вероятности взрыва от механических воздействий
На стендах, описанных выше, проводятся исследования опаснос-ти механических воздействий, которым ВВ могут подвергаться при механизированном заряжании. Исследования проводились на широко применяющихся при механизированном заряжании ВВ, а также на некоторых модельных составах.
Опасность ударных нагрузок. Условиями (факторами), от которых зависит возможность взрыва при ударе, помимо природы ВВ, являются конфигурация, размеры, материал, чистота обработки соударяющихся поверхностей, размеры и величина навески ВВ, а также условия истечения ВВ при ударе, так как при механизированном заряжании возможны нагрузки в условиях свободного или стесненного истечения ВВ из-под соударяющихся поверхностей.
При испытаниях чувствительности ВВ к удару моделирование условий удара сводилось к двум крайним случаям – удару острием и плоской поверхностью. В опытах применялись бойки стальные и армированные пластинкой ВК-15 диаметром 25 мм с углом заострения 55о . В опытах [43] использовались следующие ВВ с навесками от 30 до 40 г: модельный состав №54, имеющий максимально возможное для предохранительных ВВ IV класса содержание гексогена и приготовленный на гранулированной аммиачной селитре; модельный состав «H», подобный составу №54, но содержащий вместо гексогена желатинированные нитроэфиры и приготовленный на мелкокристаллической селитре; порошкообразный аммонит 6ЖВ. Результаты опытов, приведенные в таблице 5.7, показывают, что взрываются при ударах только составы, содержащие гексоген и нитроэфиры, причем составы с нитроэфирами более взрывоопасны и мощность их взрывов выше.
| Таблица 5.7 – Экспериментальные данные по чувствительности |
||||||
| ВВ |
Материал бойка |
Угол заострения бойка, градус |
Энергия удара, кгс·м |
Число опытов |
Число взрывов |
Частость взрывов, % |
| Состав 54 |
сталь 45 |
55 |
22 |
200 |
4 |
2,0 |
| Состав 54 |
сталь 45 |
55 |
19 |
200 |
3 |
1,5 |
| Состав 54 |
сталь 45 |
55 |
16 |
420 |
0 |
0 |
| Состав «H» |
ВК-15 |
55 |
22 |
14 |
5 |
36 |
| Состав 54 |
ВК-15 |
110 |
16 |
10 |
0 |
0 |
| Состав «H» |
ВК-15 |
110 |
16 |
10 |
2 |
20 |
| Аммонит 6ЖВ |
ВК-15 |
55 |
65 |
100 |
0 |
0 |
| Аммонит 6ЖВ |
ВК-15 |
110 |
40 |
200 |
0 |
0 |
На основании экспериментальных данных сделаны выводы по ориентации на применение тротилосодержащих составов для механизированного заряжания.
При испытании промышленных ВВ ударом плоской поверхностью в определенных условиях происходят вспышки ВВ, что может привести к возбуждению взрыва. Наличие очагов возбуждения установлено опытами, в которых использовались поддоны из дюралюминия, латуни и стали со шлифованными поверхностями, на которых оставались следы микровзрывов.
Вспышка является первой и необходимой предпосылкой возникновения взрыва. Если испытываемое ВВ мало отличается по детонационной способности, частость вспышек может служить показателем опасности их применения. С увеличением площади соударения (диаметра бойка) вероятность взрывов увеличивается: при диаметре бойка 10 мм в опытах не было вспышек и взрывов, а при диаметре бойка
20 мм и энергии удара 65 кгс·м все испытанные ВВ давали взрывы, что объясняется механизмом «горячих точек» при ударе.
Из таблицы 5.7 видно, что испытанные ВВ в результате ударов плоской поверхностью по свободно лежащему заряду дают вспышки или взрывы. Наиболее безопасными, как и при ударах заостренным бойком, оказались ВВ, не содержащие гексогена и нитроэфиров.
Из приведенных опытов сделан вывод, что для снижения травматизма целесообразно ориентироваться на применение ВВ, не содержащих чувствительных сенсибилизаторов.
На различных операциях с ВВ при эксплуатации, в том числе операции заряжания ВВ в скважины, широко применяют материалы из различных сплавов на основе алюминия и меди. В таблице 5.8 приведены результаты оценки влияния материала и чистоты его обработки на частость вспышек и взрывов [43] в опытах с зерногранулитом 79/21 на поддонах с относительно «чистой» поверхностью (Ra от 2,5 мкм до 0,63 мкм), имеющих царапины и вмятины глубиной до 1 мм. При каждом значении энергии удара проводилось от 100 до 180 опытов.
| Таблица 5.8 – Экспериментальные данные по чувствительности |
||||
| ВВ |
Число опытов |
Число вспышек |
Число взрывов |
Частость взрывов, вспышек, % |
| Детонит 6А |
14 |
8 |
4 |
86 |
| Детонит 10А |
14 |
3 |
1 |
29 |
| Победит ВП-6 |
29 |
3 |
0 |
10 |
| Тротил (гранулированный) |
29 |
16 |
0 |
55 |
| Алюмотол |
29 |
18 |
0 |
62 |
| Аммонит 6ЖВ |
29 |
7 |
0 |
24 |
| Динамон |
29 |
3 |
0 |
10 |
| Гексонит 3 |
15 |
3 |
0 |
20 |
| Гексамон |
29 |
4 |
0 |
13 |
В результате анализа данных таблицы 5.9 авторами [43] сделаны выводы:
· при соударении деталей, изготовленных из стали, дюралюминия или латуни, с энергией удара до 10 кгс×м случаев вспышек зерногранулита 79/21 не было;
· для стали, дюралюминия и латуни повышение чистоты обработки соударяющихся поверхностей снижает вероятность вспышек;
· при соударении стальных деталей с шероховатой поверхностью вероятность вспышки выше, чем при соударении деталей из дюралюминия и латуни.
| Таблица 5.9 – Экспериментальные данные по чувствительности |
|||||||
| Показатели |
Тип поддона |
Сталь |
Дюралюминий |
Латунь |
|||
| Энергия удара, кгс×м |
гладкие |
10 |
20 |
10 |
20 |
10 |
20 |
| Частость вспышек, % |
гладкие |
0 |
21 |
0 |
0 |
0 |
0 |
| Энергия удара, кгс×м |
изношенные |
10 |
20 |
- |
- |
10 |
20 |
| Частость вспышек, % |
изношенные |
0 |
48 |
- |
- |
0 |
13 |
5.4 Оценка электростатической безопасности
при
эксплуатации ВВ
Одним из перспективных направлений в области совершенствования техники и технологии взрывных работ, повышения производительности труда является механизация процессов заряжания зарядов ВВ с использованием пневмотранспорта, когда ВВ движется по шлангам к зарядным камерам потоком сжатого воздуха во взвешенном состоянии. При этом процессе возникает ряд нежелательных и опасных явлений: образование пылевого облака с различным фракционным спектром из частиц ВВ, при движении которых образуются заряды статического электричества, разряд которых может привести к вспышкам взвешенной пыли ВВ.
Обеспечение электростатической безопасности основывается на данных по электростатическим показателям, характеризующих чувствительность ВВ и средств взрывания к воздействию разрядов статического электричества (см. раздел 4) и выявлению параметров электростатических полей в производственных условиях. Явления и теоретические основы электризации пневмотранспорта изложены сотрудниками ВНИИПО, МИХМа в монографии [29] на основе работ, проводимых в лабораторных условиях на различных диэлектрических материалах. На натурных установках исследования пневмотранспорта с ВВ проводились в секторе физико-технических горных проблем Института физики Земли АН СССР, ИГД им. А.А. Скочинского, Северокавказском горно-металлургическом институте (СКГМИ), МакНИИ (г. Макеевка), Казахском политехническом институте и других предприятиях [7, 44-46].
5.4.1 Исследование опасности электростатических разрядов
в пневмозаряжающих устройствах
В процессе пневмотранспорта сыпучих ВВ за счет накопления зарядов могут возникать следующие электрические разряды.
1. Искровые разряды, при которых возможен электростатический пробой диэлектрической стенки шланга. В этом случае условие пробоя материала шланга будет [29, 47]
s £ eeо Епр , (5.10)
где s - максимальная плотность электростатических зарядов на поверхности материала, мкКл/см2 ;
e, eо – диэлектрическая проницаемость материала и вакуума соответственно;
Епр – пробивная напряженность материала (электрическая прочность), кВ/см.
2. Разряды, имеющие место при резком нарушении механической целостности пневмотранспортирующей магистрали. Пробой возможен с наэлектризованного материала на заземленные части оборудования. Тогда в выражении (5.10) значение пробивной напряженности Епр определяется свойствами газа (воздуха), в котором транспортируется ВВ. Максимальное значение пробивной напряженности для воздуха равно Епр =3×106 В/м.
3. Искровые разряды с проводящих элементов (металлические соединительные муфты) магистральных шлангов на заземленные элементы оборудования. Энергия электростатических зарядов, накапливаемых на проводящих элементах, определяется как энергия заряженного конденсатора
, (5.11)
где С – электрическая емкость металлических элементов, относительно земли, пФ;
U – потенциал на элементе, В.
4. Разряды с внутренней поверхности шланга на заземленные предметы. Условием отсутствия скользящих разрядов в соответствии с ГОСТ 12.1.018 [46] является
s £ 0,4×К ×sпр , (5.12)
где s - плотность зарядов на поверхности шланга, мкКл/см2 ;
К – коэффициент безопасности;
sпр – плотность зарядов, соответствующая диэлектрической прочности материала шланга, мкКл/см2 .
5. Электрические разряды, происходящие внутри шланга. Например, между разнополярными объёмами концентраций взвешенных частиц.
Наиболее опасными являются последние три вида разрядов, так как в этих случаях искра имеет непосредственный контакт с пылевоздушной смесью ВВ. Среди электростатических разрядов внутри шланга следует выделить разряды, скользящие по внутренней поверхности шланга, и разряды, происходящие в потоке транспортируемого материала.
На рисунке 5.11 схематично показаны искровые разряды (1, 2, 3, 4, 5), возможные при пневмотранспортировании сыпучих ВВ, а также приведена схема исследований условий образования искр с проводящих элементов пневмотранспортирующих шлангов.
|
|
| Рисунок 5.11 - Схема образования и измерения электростатических разрядов при транспортировании россыпных ВВ по диэлектрическим шлангам |
Полученные осциллограммы искровых разрядов с проводящих элементов наэлектризованных поверхностей показывают, что эти разряды происходят с интервалом 0,12…0,3 с. Указанная частота разрядов получена с емкости порядка 100 пФ, заряженной относительно земли до 10 кВ, при транспортировании аммиачной селитры с влажностью 0,1 % по диэлектрическому полиэтиленовому шлангу. Величина энергии, накопленной на различных металлических элементах шланга (хомутах, фланцах), с учётом их емкости приведена в таблице 5.10.
| Таблица 5.10 – Электростатическая энергия на элементах шланга |
||||||
| Показатели |
Емкость С , 1×10-12 Ф |
|||||
| 50 |
100 |
150 |
300 |
400 |
500 |
|
| Напряжение, В |
15000 |
9300 |
8100 |
5000 |
4300 |
3000 |
| Энергия разряда, 1×10-5 Дж |
560 |
430 |
490 |
375 |
460 |
225 |
Электрическая емкость элементов шахтного оборудования не превышает 500 пФ. Это значение емкости принято рядом стран как максимально возможная величина емкости в шахтных условиях.
В пневмозаряжающих системах маловероятно, чтобы изолированные металлические поверхности, с которых возможен разряд на заземленные предметы, имели большую емкость. Поэтому для оценки опасности этого вида искровых разрядов при подсчете энергии за емкостной параметр была принята величина 500 пФ [29].
В таблице 5.10 включены максимальные значения потенциалов, при которых наблюдались электрические разряды с проводящих элементов различной емкости.
Для оценки электростатической безопасности необходимо знать чувствительность аммиачно-селитровых ВВ к искровому разряду, при котором они воспламеняются, исходя из условий безопасности
W 0 £ KW мин , (5.13)
где W 0 – накопленная энергия при электризации, мДж;
К – коэффициент безопасности;
W мин – чувствительность ВВ к электрическому разряду, мДж.
В таблице 5.11 приведены данные, полученные в лаборатории Северокавказского горно-металлургического института, по минимальной энергии воспламенения аэровзвесей нижнего (НКП) и верхнего (ВКП) концентрационных пределов некоторых гранулированных ВВ при влажности до 1 %.
| Таблица 5.11 – Минимальная энергия зажигания некоторых ВВ |
|||||||
| Показатели |
Гранулиты |
Зерногранулит 79/12 |
Граммонал А-8 |
||||
| Дисперсность, 1×10-3 м |
- |
0,1 |
- |
0,16 |
0,05-0,063 |
0,25-0,4 |
|
| НКП, мг/м3 |
142 |
139 |
129 |
134 |
1,49 |
5,83 |
|
| ВКП, мг/м3 |
274 |
296 |
203 |
297 |
713 |
378 |
|
| Энергия, мДж |
3,1 |
3,02 |
2,97 |
2,93 |
1,05 |
1,32 |
|
Наиболее эффективным средством, предупреждающим искрообразование, является заземление проводящих элементов пневмозаряжающего оборудования. Искровые разряды по внутренней поверхности полиэтиленовых шлангов происходили при пневмотранспортировании аммиачной селитры влажностью не более 0,2 %. Длина наблюдаемых искровых разрядов не превышала 0,1 м, а разность потенциалов составляла 1 кВ. После прокладки внутрь шланга электропроводящей жилы, электростатические разряды исчезали ввиду стекания зарядов на землю по токопроводящей жиле.
5.4.2 Влияние технологических факторов пневмозаряжания
на процесс электризации
Наиболее полно проведено изучение электростатических явлений, сопровождающих пневмозаряжание россыпных ВВ в СКГМИ на экспериментальном стенде (рисунок 5.12), который состоит из заряжающего устройства 1, магистрали 2 в виде шланга длиной 60 м и диаметром от 32 до 50 мм, взрывной камеры 3 (конструкции МакНИИ), системы регистрирующих устройств (отметчик времени 4, гальванометры 5, фотодатчик 6, потенциалосъемник 7) и измерительной аппаратуры (электростатический вольтметр 8). В качестве заряжающих устройств использовались пневмозарядчики «Курама-5», «Вахш-4». Вся пневмосистема была тщательно изолирована и позволяла осуществлять движение потока ВВ по разомкнутому (свободный выброс в отдельный бункер) и замкнутому контурам. В процессе опытов изучалось влияние на процесс электризации материала шлангов и влажности воздуха, скорости движения смеси по шлангу, гранулометрического состава ВВ, радиуса закругления и длины магистрали.
|
|
| Рисунок 5.12 - Схема экспериментального стенда для исследования электрических явлений в пневмозаряжающих системах (СКГМИ) |
При определении влияния электрического сопротивления шлангов на процесс электризации использовались шланги из различных материалов с внутренним диаметром от 32 до 36 мм. Испытания на установке проводились с аммиачной селитрой влажностью от 0,30 до
0,45 % по замкнутому циклу при скорости потока от 18 до 20 м/с. Относительная влажность воздуха была в пределах 45‑50 %. По результатам исследований можно сделать вывод, что электризуемость шлангов сильно зависит от электрического сопротивления (таблица 5.12).
Таблица 5.12 – Результаты исследования электризации шлангов
из различных материалов
| Материал шланга |
Электрическое сопротивление rV , Ом×см |
Максимальный |
| Полиэтилен низкого давления |
2,1×1010 |
8000 |
| Полиэтилен высокого |
1,4×1010 |
7250 |
| Полупроводящий полиэтилен |
2,7×106 |
100 |
| Полихлорвинил (ПХВ) |
2,9×1011 |
11500 |
| Резина |
1,6×108 |
2100 |
Необходимо отметить, что при сопротивлении rV = 2,7×104 Ом×м полупроводящего материала на нем все же отмечен незначительный потенциал электризации (U =100 В), при этом скорость стекания электростатических зарядов соизмерима со скоростью накопления их при движении пневмопотока ВВ со скоростью от 18 до 20 м/с. При проведении аналогичных полигонных испытаний на Никитовском руднике [44] с электропроводящим шлангом из полиэтилена П2ЭС Олайнинского завода при механизированном заряжании скважин зерногранулитом 79/21 у шлангов, имеющих сопротивление rV £104 Ом×м, и в скважинах электризации обнаружено не было (таблица 5.13).
| Таблица 5.13 – Результаты испытаний на электризацию |
||||
| Объёмное сопротивление шлангов П2ЭС-8, Ом×м |
Общая длина шлангов, м |
Измеряемое расстояние точки замера от зарядной машины, м |
Количество ВВ, заряжаемое в смену, кг |
Потенциал электризации, В |
| 1,6×103 |
100 |
10; 50; 95 |
2500 |
0 |
| 1,2×103 |
100 |
10; 50; 95 |
2500 |
0 |
| 3×102 |
100 |
10; 50; 95 |
1800 |
0 |
| 4×102 |
100 |
10; 50; 95 |
2200 |
0 |
При увеличении относительной влажности воздуха электризация при транспортировании аммиачной селитры с размером кристаллов от 0,1 до 0,3 мм по резиновым и полиэтиленовым шлангам резко снижается (таблица 5.14). Следовательно, высокая влажность воздуха, характерная для шахтных условий, будет снижать электризацию ВВ и повышать электростатическую безопасность.
| Таблица 5.14 – Результаты испытаний шлангов на электризацию |
||||||||
| Заданные параметры |
Материал шланга |
|||||||
| полиэтилен |
резина |
|||||||
| Относительная влажность воздуха, % |
50 |
60 |
70 |
80 |
50 |
60 |
70 |
80 |
| Максимальный потенциал, кВ |
9,5 |
8,2 |
6,0 |
0,1 |
4,5 |
2,3 |
1,1 |
0,3 |
Влияние скорости транспортирования на электризацию изучалось с использованием аммиачной селитры, гранулита АС-8 и игданита, которые транспортировались по полиэтиленовому и резиновому шлангам диаметром 36 мм при относительной влажности воздуха от 45 до 50 %, влажности ВВ от 0,3 до 0,5 % (таблица 5.15). Концентрация ВВ в шланге находилась в пределах 8…10 кг на 1 м3 воздуха. Из данных таблицы 5.15 видно, что происходит интенсивный рост электризации в интервале скоростей от 5 до 25 м/с. Хотя в некоторых работах [44] отмечается, что максимальная электризация ВВ наблюдается при предельной скорости от 50 до 55 м/с, а при скорости транспортирования от 1 до 2 м/с электризация практически прекращается.
Таблица 5.15 – Результаты испытаний шлангов на электризацию
в зависимости от скорости транспортируемого ВВ
| Материал шланга |
Транспортируемое ВВ |
Величина потенциала (кВ) при скорости транспортирования, м/с |
||||
| 5 |
10 |
15 |
20 |
25 |
||
| Полиэтилен |
Аммиачная селитра |
2,7 |
5,3 |
7,6 |
8,8 |
9,4 |
| Гранулит АС-8 |
2,2 |
4,5 |
6,4 |
7,3 |
8,0 |
|
| Игданит |
0,6 |
1,3 |
2,0 |
2,6 |
2,8 |
|
| Резина |
Аммиачная селитра |
1,1 |
2,0 |
3,0 |
4,2 |
4,7 |
| Гранулит АС-8 |
0,9 |
1,5 |
2,4 |
3,1 |
3,5 |
|
| Игданит |
1,2 |
2,7 |
3,6 |
4,7 |
5,5 |
|
Полученные результаты согласуются с выражением константы генерирования æ, по величине которой проводят количественное сравнение электризуемости трубопроводов [29]:
æ=
(5.14)
где æ – коэффициент генерирования, характеризующий (применительно к условиям пневмотранспорта) электроконтактные свойства взаимодействующей пары материалов, мкКл×с0,8 /м3,8 ;
J – ток электризации, мкА;
m - массовая концентрация транспортируемого материала в потоке, кг/кг;
n - средняя по сечению скорость транспортирующего воздуха, м/с;
D и L – диаметр проходного сечения и длина трубы, м.
Влияние гранулометрического состава транспортируемого ВВ на степень электризации показано зависимостями электростатического потенциала от гранулометрического состава транспортируемого вещества различных фракций (рисунок 5.13): 0-0,25; 0,5-0,75; 1,0-1,25;
1,25-1,5 мм. Данные приведены при относительной влажности воздуха
50 %, концентрации потока 5 кг/м3
и скорости транспортирования
20 м/с.
Зависимость изменения потенциала электризации от гранулометрического состава ВВ показывает, что мелкие частицы создают более высокие потенциалы электризации. Наиболее интенсивное снижение потенциала происходит при увеличении диаметра гранул транспортируемого ВВ в диапазоне от 0,125 до 0,500 мм. Полученные результаты соответствуют классическому закону Гаусса при моделировании электризации частиц у стенки при соударении [48]:
, (5.15)
где U – потенциал частицы, В;
hC – расстояние между частицей и стенкой материала, мм;
Q – заряд частицы, Кл;
R – радиус частицы, мм.
Из формулы (5.15) следует, что потенциал электризации частицы и, следовательно, суммарный потенциал потока частиц увеличивается с уменьшением радиуса частиц R , в действительности данная зависимость гораздо сложнее, т.к. на электризацию частиц оказывают влияние гидродинамические, физические и другие факторы.
Кроме описанных выше факторов, влияющих на электризацию при транспортировании ВВ, необходимо отметить влияние кривизны трубопроводов. На рисунке 5.14 показана зависимость потенциала электризации от радиуса закругления магистрали из диэлектрического полиэтиленового шланга при транспортировании аммиачной селитры, гранулита АС-8 и игданита. Радиус закругления транспортирующего шланга изменялся от 0,25 до 3 м при скорости транспортирования
20 м/с по замкнутому циклу. Из полученных зависимостей следует, что прокладку транспортирующего шланга при пневмозаряжании следует делать так, чтобы радиусы закруглений рабочей магистрали были не менее 0,5 м. Участки закруглений необходимо изготавливать из электропроводящих материалов и заземлять.
|
|
| 1 – аммиачная селитра; 2 – гранулит АС-8; 3 - игданит Рисунок 5.13 - Зависимость электростатического потенциала |
|
|
| 1 – аммиачная селитра; 2 – гранулит АС-8; 3 - игданит Рисунок 5.14 - Зависимость потенциала электризации от радиуса |
В работе при исследовании электризации ВВ при транспортировании в плотном слое по металлическим трубам (таблица 5.16) для снижения электризуемости сформулированы рекомендации:
· необходимо трубопроводы изготавливать из нержавеющей стали;
· исключить резкие повороты трубопроводов;
· обеспечить надёжное транспортирование веществ.
Таблица 5.16 – Электризация ВВ в зависимости от материала труб
| Транспортируемое вещество |
Массовый заряд, мкКл/кг |
|
| стальной |
латунный |
|
| Алюминиевый порошок ПА-4 |
0,03 |
0,07 |
| Штатный порошок |
0,41 |
0,53 |
| Вещество ОСТ В84-1067-75 |
0,12 |
0,23 |
На основании проведенных исследований разработано специальное устройство для снижения электризации, в котором часть трубопроводов выполнена в виде многозаходной объёмной спирали.
5.4.3 Основные принципы защиты от статического электричества при пневмозаряжании
В большинстве случаев для предотвращения опасных проявлений статического электричества стараются устранить или, по крайней мере, уменьшить величину образующихся электростатических зарядов. Разряд статического электричества может быть источником воспламенения при соблюдении следующих условий:
· наличие источника электростатических зарядов;
· накопление зарядов на контактирующих поверхностях, при этом достижение пробойной напряженности электростатического поля;
· наличие горючей среды;
· энергия электростатических разрядов должна быть достаточной для воспламенения данного горючей среды.
Из данных условий следует, что отсутствие хотя бы одного из них делает невозможным возникновение взрыва или пожара от статического электричества. На этом и основаны наиболее общие методы защиты.
Условие безопасности при разрядах статического электричества записывается в виде уравнения (5.13), из которого следует, что разряды с энергией, меньше минимальной энергии зажигания ВВ, не представляют опасности. Поэтому в производственных условиях стремятся уменьшить энергию электростатических разрядов до безопасной величины. Ниже описаны основные методы, способствующие уменьшению электризации ВВ.
Отвод зарядов с помощью заземления
Заземление деталей и узлов пневмозаряжающих устройств является одним из средств защиты от накопления зарядов статического электричества. Заземление обеспечивает отвод электрических зарядов с проводящих и полупроводящих элементов. В качестве заземления для пневмозаряжающих устройств используют индивидуальные зазем-лители в виде углубленных в породу металлических стержней или труб, при этом удельное электрическое сопротивление породы должно обеспечивать сток зарядов.
Эффективный отвод зарядов статического электричества от частей и деталей машин обеспечивается при условии, если их удельное объёмное сопротивление не превышает 106 Ом×м. При этом применяемое для пневмозаряжания оборудование можно считать электростатически заземленным, если сопротивление утечки тока в любой точке при самых неблагоприятных условиях не превышает 106 Ом×м.
Рассеивание и стекание зарядов
К мероприятиям, обеспечивающим рассеивание и стекание зарядов, относятся увеличение электрической проводимости окружающей среды; снижение поверхностного или объёмного сопротивления электризующихся поверхностей [5, 49]. В качестве средств для снижения поверхностного сопротивления применяются повышение влажности воздуха (обеспечивающее образование на поверхностях проводящей влажной пленки), нанесение или обработка поверхностей элементов оборудования антистатическими веществами [50].
Увеличение утечки зарядов при повышении влажности (рисунок 5.15) [5] связано с адсорбцией на поверхности диэлектриков тонкой пленки влаги, содержащей определенное количество ионов из загрязнений и растворенных веществ, способствующих повышению проводимости материалов и образованию путей утечки зарядов статического электричества.
Время образования проводящей пленки на поверхностях изоляционных материалов значительно и может достигать 3, 4 суток. Это обусловлено скоростью изменения относительной влажности воздуха, адсорбционной способностью материала пневмопроводов и т.п. Поэтому в рудниках и шахтных условиях, даже при относительной влажности воздуха от 80 до 85 %, только что смонтированная и включенная в работу пневмозаряжающая установка не будет иметь в течение некоторого времени проводящей пленки.
|
|
| Рисунок 5.15 - Зависимость плотности зарядов на полиэтиленовой пластине при натирании шерстью от относительной влажности |
Условием стекания электростатических зарядов с поверхностей оборудования является минимальное время релаксации t, с:
, (5.16)
где g - удельная проводимость материала, 1/Ом·м.
Увлажненный рудничный (шахтный) воздух содержит в своем составе определенное количество примесей. При высокой относительной влажности окружающей среды такой воздух можно считать своеобразным электролитом. Поэтому увеличение влажности рудничного воздуха если и не оказывает существенного влияния на утечку зарядов с гидрофобных поверхностей диэлектриков, то способствует рассеиванию зарядов, накапливаемых на металлических элементах пневмозаряжающих установок. Так, при пневмотранспортировании гранулированной аммиачной селитры по полиэтиленовому шлангу при относительной влажности воздуха 80 % потенциал движущего потока составлял 100 В (см. таблицу 5.14). В то же время на соединительных металлических муфтах потенциал отсутствовал.
Таким образом, увлажнение воздуха является одним из средств борьбы со статическим электричеством, ускоряющим рассеивание и стекание зарядов с наэлектризованных поверхностей, уменьшающим вероятность накопления электростатических зарядов до опасных величин. При пневмотранспортировании россыпных ВВ в минные камеры и скважины увлажнение воздуха как меру, способствующую уменьшению накопления зарядов, целесообразно применять в сухих забоях, используя для этой цели локальные средства: орошение водой, водяные завесы и т.д.
Удобны и эффективны методы защиты от статического электричества, основанные на повышении антистатических свойств электризующегося полимера шлангов путем введения в его состав соответствующих добавок, например сажи, графита, порошков металлов, карбонильного никеля. Утечка электростатических зарядов в этом случае обеспечивается увеличением объёмной проводимости этих материалов. Ранними объектами исследований при разработке электропроводящих композиций были промышленные образцы полиэтилена и полиизобутилена. Электропроводящими наполнителями служили ацетиленовая сажа, алюминиевая пудра ПАК-3, карандашный графит и цинковая пыль. Полиизобутилен выполняет роль высокомолекулярного пластификатора.
Как показали исследования, природа электропроводящего наполнителя оказывает большое влияние на электрические свойства композиций (рисунок 5.16).
|
Содержание наполнителя, % (масс.) |
| 1 – ацетиленовая сажа; 2 - графит карандашный; 3 – алюминиевая пудра; 4 – цинковая пыль Рисунок 5.16 - Зависимость удельного сопротивления композиций |
Большинство наполнителей снижает удельное сопротивление только при концентрациях выше 40 % по массе. Такие высокие концентрации делают полимерные композиции хрупкими и непригодными для конструкционных изделий. Лучшим наполнителем является ацетиленовая сажа. Введение в полимер 20 % ацетиленовой сажи снижает ее удельное сопротивление на 1,0…10 порядков. Увеличение концентрации сажи до 40 % уменьшает сопротивление еще на три порядка.
Наибольший практический интерес из числа исследованных образцов представляют композиции на основе полиэтилена, содержащие от 20 до 40 % ацетиленовой сажи и от 20 до 40 % полиизобутилена. Для изготовления труб была выбрана электропроводящая композиция П2ЭС-5 (ТУ6-05-1135-83). Она хорошо перерабатывается экструзией, обладает высокой морозостойкостью, не набухает в воде, нетоксична и имеет температуру плавления 130 о С. Удельное объёмное и поверхностное сопротивления не превышают 106 Ом×м и 106 Ом соответственно. Полупроводящие шланги композиции П2ЭС-5 испытывались на руднике «Молибден» Турнызузского горно-обогатительного комбината при пневмозаряжании минных камер и скважин гранулитом АС-8. Высококачественные полупроводящие шланги на основе модифицированной композиции П2ЭС-5 находят широкое применение в горнодобывающей промышленности и являются одним из эффективных средств борьбы со статическим электричеством при пневмозаряжании ВВ.
Кроме применения полупроводящих полиэтиленовых композиций, для транспортировки и хранения ВВ проведены работы по разработке антистатических рецептур на основе полиуретана. Например, из полиуретана создана флегматизирующая упаковка [51] – макрокапсула, позволяющая исключить переход горения во взрыв при возможных аварийных ситуациях.
Известно, что граница перехода взрывных процессов зависит от физико-механических характеристик материала и размеров емкости для хранения продукта. Наиболее эффективным материалом, с точки зрения снижения границы переходных взрывных процессов, является антистатический высокоэластичный полиуретан, позволяющий в сочетании с конструкцией упаковки придать ей флегматизирующие свойства и получить такой же эффект безопасности транспортирования сухого взрывчатого вещества, как и при его увлажнении. Материал упаковки – полиуретановый эластомер марки ГУП-58 ТУ 75 09103-268-90 – обладает достаточными физико-механическими характеристиками, стоек к истиранию, действию озона, кислорода и слабых растворов кислот и щелочей.
В целях обеспечения заданной электропроводности (удельное объёмное электрическое сопротивление 1,5×107 Ом×м) понижения горючести в состав эластомера были введены добавочные компоненты. В результате горючесть полиуретана по сравнению с применяемым в настоящее время древесноволокнистым материалом (в качестве упаковки) снижена примерно в три раза. Конструкция полиуретановой упаковки [51] представляет собой цельнолитой прямоугольный короб, закрепленный на поддоне. Габариты упаковки могут быть различны в зависимости от количества транспортируемого материала и состава ВВ.
Предотвращение электростатических разрядов
При транспортировании сыпучих ВВ наибольшую опасность представляют искровые разряды, возникающие внутри шлангов пневмопровода. Для предупреждения электростатических разрядов внутри диэлектрического шланга пневмопровода прокладывается токопроводящий многожильный луженый провод, соединенный с наконечником шланга и пневмозаряжающим устройством, или применяются электропроводные материалы для магистрали, описанные выше. Более надежно и эффективно использование электропроводных шлангов. Существенно снижается эффект электризации и возникновения электростатических зарядов за счет увлажнения транспортируемого ВВ двумя процентами воды или раствором аммиачной селитры. Это одновременно резко снижает запыленность воздуха в магистрали и на выходе из скважины. Но количество воды не рекомендуется больше 6 %, так как может привести к смыву алюминиевого порошка с поверхности гранул и нарушению однородности заряда ВВ.
Таким образом, для обеспечения электростатической безопасности при пневмозаряжании ВВ используют следующие приемы:
· применение полупроводящих (антистатических) шлангов с удельным сопротивлением не более 106 Ом×м (в полупроводящих породах возможно применение шлангов с удельным сопротивлением не более 1010 Ом×м);
· использование токопроводной жилы, размещенной внутри шланга;
· ограничение скорости транспортирования ВВ по шлангам;
· введение в состав ВВ антистатических добавок, исключающих электризацию;
· увлажнение ВВ (до двух процентов воды);
· заземление металлического оборудования и металлических соединительных элементов шланга.
Применение перечисленных мероприятий будет способствовать значительному повышению безопасности взрывных работ в горнодобывающей промышленности и других областях, связанных с использованием ВВ.
5.5 Безопасность взрывных работ при наличии
блуждающих токов
Одним из опасных явлений при эксплуатации ВВ являются преждевременные взрывы зарядов ВВ, которые могут происходить в результате «ложного» воздействия на электродетонаторы (ЭД) различных посторонних токов, которые объединяют под общим понятием «блуждающие токи» [52]. Источниками возникновения таких токов на различных предприятиях являются: токоведущие рельсовые пути (при применении контактной электровозной откатки), токи утечки из электрических сетей, источники электромагнитных излучений, индуктивное влияние силовых сетей, грозовые разряды и т.п. При электровзрывании в зоне распространения блуждающих токов существует реальная возможность их попадания в электровзрывную сеть, что может повлечь за собой преждевременный взрыв зарядов и соответствующие непредсказуемые последствия.
Исследования многих организаций были посвящены различным мерам защиты электровзрывных сетей от преждевременных взрывов, однако в настоящее время наиболее надежной мерой считается применение специальных электродетонаторов пониженной чувствительности.
При исследовании возможных случаев взрыва электродетонаторов от блуждающих токов и разрядов статического электричества были сделаны следующие выводы [53]:
· серийно выпускаемые электродетонаторы способны взрываться как от разрядов статического электричества, так и от блуждающих токов, поскольку имеют высокую чувствительность к току. Однако при закорачивании выводов электродетонаторов (рисунок 5.17 г) опасность непредвиденных взрывов снижается;
· для обеспечения безопасности необходимо использовать электродетонаторы с пониженной чувствительностью к току (ЭДК3-1-3Т).
|
|
| а) сторонний разряд; б) разряд на разомкнутый электрод; в) разряд на замкнутый электрод; г) внутренний разряд на корпус Рисунок 5.17 - Возможные случаи воспламенения ЭД |
Рациональным при электровзрывании, по данным профессора М.И. Озерного [52], является применение четырех типов электродетонаторов по чувствительности:
1) электродетонаторы нормальной чувствительности с импульсом воспламенения КН от 0,8 до 3,0 А2 ×мс и безопасным током Jб от 0,15 до 0,18 А, предназначенные для применения в условиях, где опасность любых видов блуждающих токов исключается;
2) электродетонаторы пониженной чувствительности, величина КН
в пределах от 25 до 50 А2
×мс, значение Jб
в пределах от 0,15 до
0,18 А, предназначенные для применения в условиях, где опасность любых видов блуждающих токов исключается;
3) электродетонаторы пониженной чувствительности, значение КН в пределах от 25 до 50 А2 ×мс, величина Jб составляет 1 А, предназначенные для защиты от всех видов блуждающих токов, кроме грозовых разрядов;
4) электородетонаторы весьма низкой чувствительности с импульсом воспламенения от 1100 до 2500 А2 ×мс и Jб =5А, предназначенные для защиты от грозовых разрядов и ударов молнии.
Определение величин тяговых блуждающих токов
Блуждающие токи от работающих электровозов являются наиболее опасными. Они обнаруживаются на расстоянии до 300 м от работающих в горной выработке электровозов. Максимальные их значения наблюдаются на расстоянии 15 м и составляют J =4 А при напряжении U =14 В. Существенную опасность представляют также токи утечки при неисправной изоляции различных установок переменного тока.
Для определения степени опасности тяговых блуждающих токов рассматривается наиболее опасный случай контакта одного из проводов электровзрывной сети с токоведущим рельсом, а другого – с грунтом непосредственно около работающего электровоза (рисунок 5.18).
|
|
| 1 – генератор напряжения; 2 – электровоз; 3 – заземляющее Рисунок 5.18 - Схема к определению величины электротяговых блуждающих токов |
Ток через электродетонатор в соответствии с данной схемой определяется по формуле [54]:
, (5.20)
где JМАКС – максимальный ток, потребляемый двигателями электровоза, А;
R S - суммарное сопротивление (R S = R 1 + RВК ), включающее переходные сопротивления мест контакта проводов электровзрывной цепи с рельсом R 1 и с грунтом R 2 , а также сопротивление взрывной сети RВК , Ом;
- расстояние между тяговой подстанцией 1 и возможным местом контакта проводов электровзрывной цепи с рельсом штрека, м;
- расстояние между местом контакта и шпурами (скважинами), м;
,
, где RР
– сопротивление рельсовой колеи, Ом; RПЕР
– переходное сопротивление «рельс-грунт», Ом;
k
- удельная проводимость грунта, 1/Ом×м .
На рисунке 5.19 приведены зависимости, по которым можно определить ток JЭД для некоторых конкретных условий [54]. Наиболее рациональным является экспериментальное определение непосредственно тока JЭД с помощью амперметра.
|
|
| Рисунок 5.19 - Зависимость величины блуждающего тока, |
Оценка опасности тяговых блуждающих токов и токов
утечки
Измерение и вычисление тяговых блуждающих токов, проходящих через электродетонатор, для различных условий показывает, что при наиболее опасных (маловероятных) сочетаниях условий на пред-приятии ток через электродетонатор не может превышать более чем в три раза величину тяговых блуждающих токов (JТ ), измеренную или вычисленную по формуле 5.17:
.
В электровзрывную цепь нельзя допустить попадания токов, больших безопасного (JБ ) тока электродетонатора, для этого необходимо обеспечение условия:
J МАКС £ J Б .
Таким образом, критерием опасности тяговых блуждающих токов и токов утечки является условие:
.
Опасность остальных видов блуждающих токов, кроме грозовых разрядов, гораздо меньше, чем опасность тяговых блуждающих токов утечки.
Мероприятия по уменьшению опасности блуждающих токов
Применение электродетонаторов пониженной чувствительности может резко снизить вероятность преждевременного взрыва, но полная безопасность достигается только в сочетании с выполнением ряда профилактических мероприятий, направленных на уменьшение опасности блуждающих токов.
Наиболее важным (и обязательным) мероприятием по уменьшению опасности блуждающих токов является содержание рельсовых путей в соответствующем нормам состоянии. Необходимо постоянно следить за электрическим сопротивлением рельсовых стыков, величина которого должна быть не более сопротивления сплошного рельса длиной 3 м.
Большую роль играет время существования опасной ситуации. Необходимо стремиться к повышению быстродействия защиты, что приведет к уменьшению вероятности взрыва электродетонаторов блуждающими токами. Защитные отключения при аварийных режимах в цепях, а также профилактические мероприятия по предотвращению таких аварийных режимов являются одновременно и способами уменьшения опасности блуждающих токов. При применении электродетонаторов любых типов всегда необходимо стремиться к тому, чтобы провода электровзрывной сети находились возможно дальше от токоведущих рельсовых путей, а также от установок и металлических устройств, которые могут случайно оказаться под напряжением.
Таким образом, применение электродетонаторов нужной чувствительности, а также выполнение профилактических мероприятий сводит к минимуму возможность преждевременного взрыва ЭД блуждающими токами.
1. Штетблехер, А. А. Пороха и взрывчатые вещества / А. А. Штетблехер. - М.: ОНТИ: Главная редакция химической литературы, 1936. – 610 с.
2. Бесчастнов, М. В. Промышленные взрывы. Оценка и преду-преждение / М. В. Бесчастнов. – М.: Химия, 1991. – 432 с.
3. Андреев, К. К. Теория ВВ / К. К. Андреев, А. Ф. Беляев. - М.: Оборонгиз, 1960. – 594 с.
4. Боуден, Ф. Л. Возбуждение и развитие взрыва в твердых и жидких веществах / Ф. Л. Боуден, А. Д. Иоффе. - М.: Изд-во иностранной лит., 1955. – 119 с.
5. Аванесов, Д. С.
Практикум по физико-химическим испытаниям взрывчатых веществ / Д. С. Аванесов. – М.: Оборонгиз, 1959. -
165 с.
6. Соловьев, В. С. Некоторые особенности ударно-волнового инициирования взрывчатых веществ / В. С. Соловьев // Физика горения и взрыва. – 2000. - №6. - С. 65-69.
7. Дубнов, Л. В. Промышленные взрывчатые вещества / Л. В. Дубнов, Н. С. Бахаревич, А. И. Романов. – М.: Недра, 1988. – 358 с.
8. Жугенко, Е. И. Смесевое эмульсионное ВВ раздельного заряжания – СИБИРИТ-2500 РЗ / Е. И. Жугенко, В. Б. Иоффе, Б. Н. Кукиб, И. Ю. Сундуков // Безопасность труда в промышленности. - 2002. - №6. - С. 18-20.
9. Ильин, А. П. Состав конденсированных продуктов детонации смесевых ВВ / А. П. Ильин, А. А. Решетов // Физика горения и взрыва. - 1999. - №4.
10. Зельдович, Я. Б. Теория детонации / Я. Б. Зельдович, А. С. Компанеец. – М.: Гостехиздат, 1955.
11. Козак, Г. Д. Измерение критической толщины детонации взрывчатого раствора в тонком слое / Г. Д. Козак, В. В. Потапов, В. М. Райкова // Физика горения и взрыва. – 1999. - №5. - С. 113‑116.
12. Уртьев, П. А. Измерение давления и массовой скорости в твердых телах при динамическом нагружении / П. А. Уртьев, Р. М. Эриксон // Физика горения и взрыва. – 1986. - №5. - С. 113-126.
13. Поплавский, В. А. Иерархия кусков при взрывном дроблении бетонных блоков / В. А. Поплавский // Физика горения и взрыва. – 1998. - №1. - С. 102-105.
14. Гранин, А. С. Безопасность жизнедеятельности / А. С. Гранин, В. Н. Новиков. – М.: ФАИР-ПРЕСС, 2002. - 288 с.
15. Садовский, М. А. Механическое действие воздушных ударных волн взрыва по данным экспериментальных исследований / М. А. Садовский // Механическое действие взрыва. - М.: ИДГРАН, 1994. - С. 7-102.
16. Бабанин, В. Ф. Перспектива использования энергии направленного взрыва для разделки корпусов судов / В. Ф. Бабанин, О. П. Прокофьев // Судостроение. – 1993. - №1.
17. Рябинин, Ю. Н. О подобии воздушных ударных волн, образуемых зарядами ВВ / Ю. Н. Рябинин, И. И. Тамм // Механическое действие взрыва. - М.: ИДГРАН, 1994. - С. 203-216.
18. Шушко, Л. А. Расчёт интенсивности ударных воздушных волн в ближней зоне действия взрыва / Л. А. Шушко, Ю. А. Каганер // Физика горения и взрыва. – 1998. - №6.
19. Фридман, А. Г. О государственном надзоре в области взрывного дела / А. Г. Фридман // Безопасность труда в промышленности. - 2004. - №6. - С. 9-11.
20. Федоров, С. В. О возможностях управления кумулятивным эффектом взрыва с помощью электромагнитных воздействий / С. В. Федоров [и др.] // Физика горения и взрыва. – 2000. - №6. - С. 126-136.
21. Андреев, К. К. К вопросу об оценке чувствительности ВВ к механическим воздействиям по результатам испытаний / К. К. Андреев // ДАН СССР. – 1963. - №3. - С. 28-29.
22. Горст, А. Г. Пороха и взрывчатые вещества / А. Г. Горст. – М.: Машиностроение, 1972. - 208 с.
23. Афанасьев, Г. Т. Инициирование твердых ВВ ударом / Г. Т. Афанасьев, В. К. Боболев. – М.: Наука, 1968. - С. 30.
24. Кутузов, Б. Н. Безопасность взрывных работ в промышленности / Б. Н. Кутузов, С. А. Галаджий, С. А. Давыдов и др. - М.: Недра, 1977. - 341 с.
25. Светлов, Б. Я. Теория и свойства промышленных ВВ / Б. Я. Светлов, Н. Е. Яременко. – М.: Недра, 1973. - 208 с.
26. Беляев, А. Ф. Переход горения гетерогенных систем во взрыв / А. Ф. Беляев, А. И. Коротков. – М.: Наука, 1981.
27. Холево, Н. А. Чувствительность ВВ к удару / Н. А. Холево. – М.: Машиностроение, 1974.
28. Логинов, Н. П.
Чувствительность твердых ВВ к вибрации /
Н. П. Логинов // Физика горения и взрыва. – 1995. - №4. - С. 97-103.
29. Попов, Б. Г. Статическое электричество в химической промышленности / Б. Г. Попов [и др.]. – Л.: Химия, 1977. - 240 с.
30. Леб, Л. А. Статическая электризация / Л. А. Леб. – М.: Госэнергоиздат, 1963. - 108 с.
31. Максимов, Б. К. Статическое электричество в промышленности и защита от него / Б. К. Максимов, А. А. Обух. – М.: Энергия, 1978.
32. Таубкин, И. Г. Об опасности электризации граммонитов при пневмозаряжании шпуров и скважин / И. Г. Таубкин [и др.] // Взрывное дело. - М: Недра, 1978. - №80/37. - С. 221-228.
33. Воробьев, А. А. Электрический пробой и разрушение твердых диэлектриков / А. А. Воробьев, Г. А. Воробьев. – М.: Высшая школа, 1996. – 190 с.
34. Общие правила взрывобезопасности для взрывопожароопасных химических, нефтехимических и нефтеперерабатывающих производств – М.: Металлургия, 1988. - 86 с.
35. Правила поведения и действия населения при стихийных бедствиях, авариях и катастрофах. - М.: Воениздат, 1990. - 86 с.
36. ССБТ ГОСТ 12.1044-84 . Пожаровзрывобезопасность веществ и материалов. Показатели и методы определения. – М.: Издательство стандартов, 1985.
37. Временные рекомендации по разработке планов локализации аварийных ситуаций на химико-технологических объектах. - М.: Госпроматомнадзор, 1990.
38. Савенко, С. К. Ударные воздушные волны в подземных выработках / С. К. Савенко, А. А. Гурин, П. Р. Малый. – М.: Недра, 1976.
39. Кук, М.А . Наука о промышленных взрывчатых веществах / пер. с англ. под ред. Г.П. Демидюка, Н.С. Бахаревич. – М.: Недра,1980. - 453 с.
40. Вершинин, В. Ю. Анизотропия поля ударных волн несферических источников / В. Ю. Вершинин, Л. В. Дубнов, В. Е. Клаповский, В. Н. Минеев // Физика горения и взрыва. – 1984. - №3. - С. 56-60.
41. Поздняков, З. Г. Справочник по промышленным взрывчатым веществам и средствам взрывания / З. Г. Поздняков, Б. Д. Росси. - 2-е изд., пер. и доп. – М.: Недра, 1977. - 253 с.
42. Цинкер, Л. М. Защита горных выработок от действия ударных воздушных волн / Л. М. Цинкер [и др.] // Безопасность труда в промышленности. - 2001. - №8. - С. 16, 17.
43. Емекеев, В. И. Механизация взрывных работ в горной про-мышленности / В. И. Емекеев. – М.: Недра, 1976. - 180 с.
44. Струна, М. Г.
Контроль электростатических явлений при механизированном заряжании скважин / М. Г. Струна, Л. П. Шамрай,
В. С. Зимич // Безопасность труда в промышленности. – 1976. - №7. – С. 49, 50.
45. Демидюк, Г. П. Средство механизации и технология взрывных работ с применением гранулированных ВВ / Г. П. Демидюк, А. Н. Бугайский. – М.: Недра, 1975. - 308 с.
46. ГОСТ 12.1.018-93. Межгосударственный стандарт. Система стандартов безопасности труда. Пожаровзрывобезопасность статического электричества. Общие требования. – Введ. 1995-01-01. М.: Издательство стандартов, 1994.
47. Веревкин, В. Н. Закономерности электрообмена и электропереноса в процессах пневмозаряжания и обеспечение электростатической безопасности / В. Н. Веревкин, Б. Г. Попов // Взрывное дело. - М.: Недра, 1985. - №87/44.
48. Бусройд, Р . Течение газа со взвешенными частицами / Р. Бусройд. – М.: МИР, 1975 - 378 с.
49. Черкасов, В. Н. Защита взрывоопасных сооружений от молний и статического электричества / В. Н. Черкасов. – М.: Стройиздат, 1984. - 80 с.
50. Василенок, Ю. И. Защита полимеров от статического электричества / Ю. И. Василенок. – Л.: Химия, 1975. - 188 с.
51. Козлов, Л. Н. Полиуретановая флегматизирующая упаковка для транспортирования сухих взрывчатых материалов / Л. Н. Козлов, С. Ф. Шеврикуко, Л. Н. Иванов // Техника. Технология. Управление. – 1991. - №2. - С. 38-39.
52. Озерной, М. И. Влияние изоляции электровзрывной сети на безопасность в отношении блуждающих токов / М. И. Озерной, И. Е. Грошев, Г. Р. Елизаров // Электробезопасность на горнорудных предприятиях: сб. материалов респ. конфер. - Днепропетровск, 1974. - С. 79‑83.
53. Кушнеров, П. И.
О взрыве электродетонаторов от зарядов статического электричества и блуждающих токов / П. И. Кушнеров, И. О. Кашуба // Безопасность труда в промышленности. – 1978. - №10. -
С. 31-32.
54. Петров, Ю. С. Исследование блуждающих токов на горных предприятиях и безопасных параметров электродетонаторов: дис… канд. техн. наук / Петров Ю. С.; МГИ. – 1971. - 157 с.
Раско Станислав Леонидович
Овчаренко Александр Григорьевич
ЭКСПЛУАТАЦИОННАЯ БЕЗОПАСНОСТЬ
КОНДЕНСИРОВАННЫХ ВЗРЫВЧАТЫХ ВЕЩЕСТВ
Учебное пособие
Редактор Соловьёва С.В.
Подписано в печать 17.02.2006. Формат 60´84 1/16
Усл. п. л. - 8,06. Уч.-изд. л. - 9,25
Печать - ризография, множительно-копировальный
аппарат «RISO TR-1510»
Тираж 150 экз. Заказ 2006-19
Издательство Алтайского государственного
технического университета
656038, г. Барнаул, пр. Ленина, 46
Оригинал-макет подготовлен ИИО БТИ АлтГТУ
Отпечатано в ИИО БТИ АлтГТУ
659305, г. Бийск, ул. Трофимова, 29


































































