| Скачать .docx |
Реферат: Электротехника — база электроники
Веселовский О. Н. В., Шнейберг Я. А.
Когда стали известны опыты Стефана Грея (1729 г.), в которых он производил электризацию человека, устроившегося на волосяных качелях, в одной из поэм появились такие строки:
Безумный Грей, что знал ты в самом деле
О свойствах силы той, неведомой доселе?
Разрешено ль тебе, безумец, рисковать
И человека с электричеством связать?
Человек «связан» с электричеством и по сей день. С каждым годом, десятилетием, столетием эта связь, а точнее, знания человека об электричестве углублялись, а сфера применений электрических и магнитных явлений непрерывно расширялась. Пионерские работы XIX столетия указали многие пути проникновения электротехнических устройств и технологий в промышленность, сельское хозяйство, медицину, быт, транспорт, связь. В XX веке продолжилось триумфальное шествие электротехники во всех указанных и других направлениях. Но со временем обнаружилась такая область, где прорыв оказался по своим последствиям равнозначным новой научно-технической революции — это электроника. По аналогии с электрификацией применение электроники в народном хозяйстве стали называть электронизацией.
Зарождение электроники было исторически обусловлено и вызвано потребностями в беспроводной связи.
Открытие электромагнитных волн и первые опыты с ними показали возможность их использования для беспроводной связи. Поэтому решающее влияние на развитие электроники оказало изобретение радио. Появление электронной лампы произвело целый переворот в . технике радиосвязи!, вызвало принципиальные изменения во многих ее направлениях, изменило темпы и характер развитая приемно-передающей техники. В течение последующих лет радиотехника заметаю влияла на использование электронных приборов в энергетике и технологам. И, между прочим, не случайно, электронная лампа многое года называлась «радиолампа».
Зарождение радиоэлектроники относится к концу прошлого столетия. Открытие электромагнитных волн и их экспериментальное исследование (Д. К. Максвелл, Г. Герц) привели к созданию первых генераторов и индикаторов электромагнитных волн, положили начало разработке более совершенных приборов и устройств для возбуждения и приема этих волн.
Идея радио носилась в воздухе. Дж. Генри и Г. Гельмгольц еще в 40-х годах прошлого века устанавливают колебательный характер искрового разряда. В 1850 г. Генри наблюдал индуктивные взаимодействия двух катушек на расстоянии около 80 м. Максвелл в 1873 г. изложил сущность явления электромагнитных волн, а Герц в 1888 г. осуществил их экспериментальное исследование. Вибратор и резонатор Герца — это крупнейшие ступени в предыстории радио. Герц работал с электромагнитными волнами в диапазоне 0, 6—6 м.. Его волны были названы «лучами Герца», а от латинского «radius» — луч и вошло в жизнь слово «радио».
В 1891 т. французский физик Эдуард Бранли изобрел когерер — стеклянную трубку с металлическими опилками, оказавшуюся хорошим индикатором электромагнитных волн (впрочем, воздействие электромагнитных разрядов на изменение проводимости «плохих» контактов обнаруживалось и до Бранли).
В 1889 г. Александр Степанович Попов (1859—1906 гг.) прочел лекцию в Кронштадтском морском собрании на тему «Новейшие исследования о соотношении между световыми и электрическими явлениями». Закончил он эту лекцию словами: «Человеческий организм не имеет еще такого органа чувств, который замечал бы электромагнитные волны в эфире; если бы изобрести такой прибор, который заменил бы нам электромагнитные чувства, то его можно было бы применять к передаче сигналов на расстояние».
Насколько ясна была принципиальная постановка задачи, можно судить по статье известного ученого Крукса, опубликованной в феврале 1892 г. Там есть такие строки: «...электромагнитные волны длиной в ярд или более легко проходят через такую среду (стены, лондонский туман), которая для них прозрачна. Здесь открывается изумительная возможность телеграфирования без проводов... При реализации некоторых разумных предпосылок все это оказывается в пределах реального осуществления».

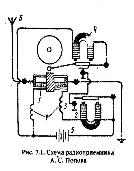
Изучив работы английского ученого О. Лоджа и французского физика Бранли и исследовав электропроводные свойства порошков различных металлов, А. С. Попов создал более совершенный, безотказно действующий индикатор электромагнитных волн и предложил оригинальный метод встряхивания когерера с помощью электромагнитного звонкового реле. Э. Бранли для восстановления чувствительности когерера встряхивал его руками. О. Лодж предложил для этих целей использовать часовой механизм. Но как автоматизировать этот процесс? Как «заставить» электромагнитную волну, воздействующую на когерер, автоматически восстановить его чувствительность? Эту проблему впервые успешно решил А. С. Попов. Присоединив к когереру вертикальный провод, он создал простейшую приемную антенну. Приемник А. С. Попова (рис. 7.1) работал следующим образом: при воздействии электромагнитной волны на когерер 1 металлические опилки слипались, сопротивление цепи уменьшалось, и якорь электромагнитного реле 2 притягивался и замыкал контактом 3 цепь «батарея 5 — звонковое реле 4», молоточек звонка притягивался к электромагниту, звонок фиксировал прием сигнала, при этом электрическая цепь размыкалась, и молоточек звонка, возвращаясь в исходное положение, ударял по когереру и восстанавливал его чувствительность; 6 — антенна; 7 — индуктивные катушки, повышавшие устойчивость работы приемника. Седьмого мая 1895 г. Попов публично демонстрировал радиоприемник, а в сентябре того же года, присоединив к схеме телеграфный аппарат Морзе, ввел запись принимаемых сигналов на ленту. Радиоприемник Попова — одно из наиболее совершенных электромагнитных автоматических устройств своего времени. Именно поэтому, а также вследствие большого влияния радиотехники на развитие промышленной электроники, здесь кратко рассмотрены первые шаги радиотехники.
В 1896 г. итальянцем Г. Маркони был получен патент на радиоприемник, схема которого была идентична схеме А. С. Попова. Поддерживаемый крупными английскими промышленниками, Г. Маркони построил мощный радиопередатчик (около 15 кВт) и сложную антенну и в 1901 г. передал радиосигналы через Атлантический океан.
В течение первого десятилетия нашего века создаются разные конструкции радиопередающих устройств — искровые, дуговые, электромашинные, совершенствуются детекторы (магнитные, термические электролитические).

Изобретение электронной лампы дало мощный импульс в развитии радиотехники. Действие электронной лампы основано на явлении термоэлектронной эмиссии, впервые наблюдавшемся, Эдисоном в 1883 г. и известном под названием «эффекта Эдисона». Занимаясь усовершенствованием электрических ламп накаливания, Эдисон обратил внимание на то, что стеклянная колба лампы сравнительно быстро покрывается темным налетом, а угольная нить перегорает. Стремясь увеличить срок службы нити и выяснить причины потемнения колбы, Эдисон произвел ряд экспериментов и обнаружил, что между угольной нитью и пластинкой (рис. 7.2) проходит электрический ток. Вначале это явление не получило правильного объяснения, но после открытия электрона было установлено, что Эдисон наблюдал эмиссию электронов. Дальнейшее изучение процессов происходивших в электрической лампе, внутри которой находился металлический электрод, соединенный с источником напряжения, показало, что подобное устройство способно пропускать ток только в одном направлению, то есть служить выпрямителем. В 1904 г, английский ученый Я; А. Флеминг разработал конструкцию двухэлектродной лампы — диода и предложил применять его в качестве детектора в радиоприемных устройствах. Но диоды, будучи еще несовершенными электровакуумными приборами, около 10 лет не получали широкого применения.
Последующие многочисленные эксперименты с двухэлектродной» лампой (Вайнтрауб, 1904 г.; Ли де Форест, 1907 г.) привели к установлению важного факта — возможности управления потоком электронов при помощи дополнительного металлического электрода — сетки. Такая конструкция трехэлектродной лампы получила название триода. Триод мог применяться не только для детектирования, но и для усиления электрических колебаний.
Исследования электронных ламп привели к открытию возможности использования триода в качестве генератора незатухающих электрических колебаний.
Над изобретением лампового генератора работали ученые разных стран. Наибольшую известность получила схема лампового генератора, предложенная в 1913 г. австрийским ученым А. Мейснером. После 1916 г. когда были освоены более совершенные методы откачки ламп, наступил период «технической зрелости» электронной лампы, и она стала основным элементом радиоэлектронных устройств. Важную роль в усовершенствовании первых конструкций приемно-усилительных и генераторных схем имели наряду с работами многих зарубежных ученых и инженеров труды наших соотечественников — Н. Д. Папалекси и М. А. Бонч-Бруевича. Так, М. А. Бонч-Бруевичем в Нижегородской радиолаборатории, организованной в 1918 г., были созданы мощные генераторные лампы с водяным охлаждением и разработана теория триода.
В изучении электровакуумных процессов и расширении области применения электронных приборов большую роль сыграло открытие явления фотоэлектрического эффекта (1887-1889 гг., Г. Герц, В. Галльвакс, А. Г. Столетов).

Наиболее полное исследование явления внешнего фотоэффекта принадлежит А. Г. Столетову, схема одного из опытов которого изображена на рис. 7.3. Им было не только доказано, что отрицательно заряженный проводник теряет заряд при освещении его лучами света, но установлен закон пропорциональности между фототоком и интенсивностью световых лучей. Важное значение для последующего практического применения фотоэффекта имело установление Столетовым безынерционности этого явления. Им впервые были проведены исследования фотоэффекта в условиях вакуума. Созданная для этих целей установка явилась, по существу, первым вакуумным фотоэлементом. Первые практически пригодные вакуумные элементы с катодами из щелочных металлов были созданы в 1910 г. (Ю. Эльстер и Г Гейгер).
Исследования свойств селена, приведшие к созданию фотоэлемента с внутренним фотоэффектом, начались еще в прошлом веке. В 1873 г. англичанином В. Смитом было описано явление уменьшения сопротивления селена под воздействием света, а в 1876 г. был создан (В. Адамсом и Р. Е. Деем) селеновый фотоэлемент с запирающим слоем. Исследованием ЭДС, возникающей при освещении селена, занимался профессор Казанского университета В. А. Ульянин (1888 г.).
Явление внешнего фотоэффекта лежит в основе разнообразных фотоэлектрических приборов, например, фотоэлементов t внешним фотоэффектом. Внутренний фотоэффект используется в фоторезисторах, фотодиодах, фототранзисторах.
Ионные приборы развивались по двум направлениям, соответствующим типу их катодов: с жидким (ртутным) катодом (ртутные вентили) и с накаливаемым катодом (газотроны и тиратроны) .
В довоенный период развитие ионной техники в основном было связано с преобразованием переменного тока в постоянный (обратное преобразование — инвертирование — зародилось позднее и применялось реже).
В нашей стране первыми появились стеклянные ртутные вентили, изготовленные в 1921 г. Нижегородской радиолабораторией для выпрямительной высоковольтной (на 4 кВ) установки Свердловской, радиостанции. К концу 20-х годов было налажено производство высоковольтных (до 15 кВ) и низковольтных вентилей (250 В, 100 А).
Потребность в более мощных выпрямителях привела к созданию металлических вентилей, первый из них, 16-анодный, был построен в 1926 г. на заводе «Электросила» <ток 500 А, напряжение 600 В). Расширение производства отечественных вентилей позволило уже в начале 30-х годов резко сократить импорт ртутно-преобразовательных установок. .
В связи с индустриализацией страны потребовалось создать более мощные преобразователи, в первую очередь для электротранспорта, металлургических и металлообрабатывающих предприятий. Конструкции вентилей совершенствуются, создаются: анодный узел, препятствующий обратному зажиганию, а затем управляющие сетки. В середине 30-х годов выпускаются мощные вентили на токи до 5000 А (в частности, для Московского метрополитена) и первые инверторы, а в 1940 г. —- вентили с цилиндрическим корпусом мощностью более 4000 кВт.,
В 30-х годах были разработаны в США ртутные вентили нового типа (игнитроны), более простые по конструкции, с полупроводниковым зажигателем, обеспечивающим кратковременную дугу зажигания в каждый период переменного напряжения. В нашей стране первые стеклянные игнитроны с карборундовым зажигателем были разработаны в 1934 г., а их серийное производство началось в 1936 г. (ток до 50 А, напряжение — 120 В).

Первые отечественные высоковольтный вентиль и стеклянный игнитрон изображены на рис. 7.4. В связи с применением игнитронов на тяговых подстанциях потребовалось увеличить мощность этих вентилей. Так, были разработаны стеклянно-металлические и цельнометаллические игнитроны с водяным охлаждением (1938— 1939 гг.). К этому времени относятся первые разработки мощных дуговых вентилей для дальних линий электропередач. Проводятся исследования в области преобразовательных схем, в частности создаются преобразователи частоты для регулирования скорости асинхронных двигателей.
В 1943—1945 гг. начинается новый этап в развитии ионных приборов — выпуск одноанодных металлических вентилей, первых вентильных комплектов. В конце 40-х годов разрабатываются серии более совершенных ртутных выпрямителей с сетками управления и с автономной системой охлаждения, а в 50-х годах — многоанодные отпаянные ртутные вентили и одноанодные металлические игнитроны, а также ртутные вентили высокого напряжения для дальних линий передач постоянного тока. В эти же годы был создан другой тип вентиля — экзитрон, в котором в отличие от игнитрона дуга зажигания создается лишь перед включением вентиля, а поддержание вспомогательного катодного пятна осуществляется непрерывно существующей (дежурной) дугой возбуждения.

Еще недавно мощные ртутные вентили использовались в преобразовательных установках, общая мощность которых достигала десятков миллионов киловатт, в частности, в дальних линиях электропередач постоянного тока. Такие ртутные вентили выдерживали рабочее напряжение до 100 кВ при максимальных токах до 900 А (рис. 7.5). Но успехи современной Полупроводниковой техники позволили создать мощные полупроводниковые тиристоры, которые имеют преимущества перед ртутными вентилями.
Ионные приборы с накаленным катодом (газотроны и тиратроны) начали изготовляться в конце 20-х годов и в основном использовались в качестве преобразователей на меньшие то.си и напряжения (по сравнению с ртутными вентилями). Первый патент на газотрон был заявлен в 1905 г. в США, но более двух десятилетий не удалось его реализовать из-за отсутствия теоретических разработок в области газоразрядных приборов. Посте освоения газотронов одна из американских фирм тщательно скрывала секрет их изготовления даже внутри страны.
Впервые газотроны были применены в системах питания радио-устройств. В начале 30-х годов разрабатываются конструкции низковольтных газотронов, а в конце первой пятилетки создаются опытные экземпляры тиратронов (например, опытный образец тиратрона ТГ-162 выдерживал ток 40 А при обратном напряжении 15 кВ). В 1935—1937 гг. выпускаются серии тиратронов с ртутным и газовым (аргон, неон) наполнением. Однако срок службы этих приборов был невелик, и поэтому велись интенсивные исследования с целью усовершенствования их конструкций.
Застуживает внимания тот факт, что для первых опытных передач электроэнергии постоянным током в 1937 г. был построен (на заводе «Светлана») тиратрон на ток 450 А и напряжение 20 кВ.
Дальнейшая электрификация страны потребовала создания газотронов и тиратронов со стабильными характеристиками, большим сроком службы, способностью работать при повышенных частотах. Создаются новые типы экранированных тиратронов, имевших более стабильные характеристики и меньшие габариты.
Осваиваются новые серии тиратронов с ртутным и газовым наполнением с предельным обратным напряжением до 3 кВ, а также маломощных тиратронов для системы регулирования и управления. Позднее стали применяться тиратроны с водородным наполнением, отличающиеся значительно меньшим временем деионизации.
Были разработаны ртутные тиратроны на токи до 85 А и напряжением анода до 20 кВ, применявшиеся в основном в низкочастотных мощных высоковольтных выпрямителях и инвенторах. Тиратроны, наполненные инертными газами, использовались в схемах автоматического управления и регулирования в неуправляемых выпрямителях.
По мере возрастания мощности электронных устройств все более начинали проявляться недостатки электронных ламп: большое потребление энергии, значительные габариты и масса, небольшой срок службы.
Эти недостатки электронных ламп вынуждали ученых и инженеров разрабатывать электронные приборы с другими принципами действия. Успешному решению этой проблемы способствовали исследования в области полупроводников.,
В нашей стране начало созданию полупроводниковых приборов было положено О. В. Лосевым, исследовавшим кристаллические детекторы и создавшему на их основе усилитель, известный под названием «кристадин».
Последние десятилетия ознаменовались широчайшим развитием исследований и практических применений полупроводниковых элементов. Как известно, полупроводники по своей удельной электрической проводимости занимают промежуточное положение между проводниками и изоляторами и отличаются тем, что их электропроводностью можно управлять посредством внешних энергетических воздействий.
Свойства полупроводниковых элементов позволяют использовать их в качестве вентилей, усилителей, генераторов и преобразователей различных видов энергии в электрическую. Так, на основе фотоэлектрических свойств полупроводников созданы фоторезисторы, фотодиоды, фототранзисторы. Использование их термоэлектрических свойств дало возможность сконструировать терморезистсры, термоэлементы, термоэлектрические генераторы, термохолодильники и термостабилизаторы. Способность полупроводников реагировать на механическое воздействие явилась основой для создания тензометров.
Первые исследования свойств полупроводников относятся еще к прошлому веку. В конце второй половины XIX столетия были построены первые термобатареи, фоторезисторы и кристаллические детекторы, но недостаточное понимание свойств полупроводников не способствовало расширению области их применения.
Толчком к техническому применению полупроводников, в частности, полупроводниковых вентилей, явилось создание в 1926—1929 гг. (Л. Грондаль) меднозакисного вентиля. Основополагающая роль в разработке теории полупроводников и их техническом применении принадлежит отечественной шкале физиков под руководством академика А. Ф. Иоффе. Эти исследования начали проводиться в конце 20-х начале 30-х годов. Так, было введено понятие дырочной проводимости, указано влияние поимесей и температуры на механизм проводимости, было установлено повышение электропроводности в сильных электрических полях, разработана теория выпрямления. Важное практическое значение имсти исследования фотоэлектрических свойств полупроводников.
Первые меднозакисные выпрямители начали изготовляться в 1928—1930 гг. на электровакуумном заводе «Светлана», они применялись в схемах автоблокировки на железнодорожном транс порте. Разработка селеновых выпрямителей началась в 1938 г. Существенные успеха в довоенные годы были достигнуты в области изготовления фотоэлементов с запирающим сдоем.
В 1940 г. во Всесоюзном электротехническом институте имени В. И. Ленина, была разработана конструкция самовозбуждаюшетося синхронного генератора (75 кВ - А) с возбуждением от селеновых выпрямителей, получившего широкое применение в послевоенные годы. С 1943 г. по инициативе А. Ф. Иоффе начинается изготовление, полупроводниковых термогенераторов. В то же время разрабатываются полупроводниковые терморезисторы, использующиеся. схемы теплового контроля и автоматики. В США налаживается производств'» детекторов из германия и кремния, применявши чел н радиолокационных установках (выпрямляющие свойства германия и кремния были обнаружены в середине 20-х — начале 30-х годов).
В послевоенные годы в нашей стране значительно увеличилось производство малогабаритных терморезисторов, фоторезисторов и вариаторов, которые получили широкое применение в автоматических устройствах управления и контроля. В 50-х годах были внедрены полупроводниковые зажигатели из карбида кремния, предназначенные для ртутных вентилей. Начинаются исследования полупроводниковых сплавов металлов — ZnSb, Mg2Sn, Mg2Pb, на основе которых были созданы термогенераторы, холодильники и микрохолодильники.
В конце 40-х годов были разработаны полупроводниковые триоды из германия, получившие название транзисторов (1948 г., Д. Бардин и. У. Браттейн, США). Так было положено начало транзисторной электроники. Эти триоды выгодно отличаются от электронных ламп малыми габаритами, меньшим потреблением энергии, надежностью действия. Например, средние размеры полупроводниковых диодов и триодов составляют 0, 015—0, 3 см3, тогда как средний размер приемно-усилительной лампы 500—100 см . Мощность, потребляемая транзистором, составляет 0, 001' Вт и менее, а аналогичные лампы только на накал расходуют до нескольких ватт.
Первые точечные транзисторы в нашей стране были изготовлены в 1949 г. (А. Красилов, С. Мадоян). В 1951—1953 гг. отечественные заводы начали массовое производство германиевых триодов и диодов, а в последующие годы — мощных германиевых выпрямителей. Но недостатки германиевых приборов, проявляющиеся при температурах свыше 50°С, заставили обратиться к кремниевым вентилям я триодам, выдерживающим температуру до 120—200°С.
В последующие десятилетия все шире применяются ферриты — ферромагнитные материалы, получаемые в результате химического соединения двухвалентных металлов (никель, марганец и окислы железа) или окислов металлов (цинк, кадмий и окислы железа). Ферриты с прямоугольной петлей гистерезиса используются для изготовления ячеек памяти и логических схем. Значительные преимущества отличают феррит-транзисторные ячейки, в которых сочетаются свойства ферритовых сердечников с усилительными свойствами транзисторов. Феррит-транзисторные ячейки применяются в устройствах вычислительной техники и автоматики.
Применение полупроводниковых приборов в электронике, автоматике, энергетике приобрело массовый характер. Все большее использование они находят в системах преобразования тока (выпрямление, инвертирование) и схемах управления мощными электроприводами. К ним относятся полупроводниковые диоды и тиристоры. Их преимущества: высокий КПД, долговечность и надежность, небольшие габариты, возможность регулирования тока и напряжения в широких пределах.
Мощные полупроводниковые диоды изготавливаются преимущественно из кремния и применяются в схемах выпрямления при напряжениях 200—4000 В и токах до 5000 А,
В качестве рабочего элемента в мощных управляемых тиристорах используют четырехслойные кристаллы кремния с чередующимися р- и «-областями. Первые приборы такого типа были описаны в 1956 г. Современные серийные тиристоры имеют воздушное или жидкостное охлаждение и рассчитаны на токи 2000 А н напряжение включения около 4000 В. Их быстрое распространение обусловлено значительными преимуществами перед тиратронами и другими ионными приборами, а также и транзисторами. Тиристоры не требуют подогрева, имеют малое радение прямого напряжения.
Одним из характерных направлений развития полупроводниковой электроники в последние десятилетия является интегральная микроэлектроника.
Начало микроэлектронике было положено в Англии в середине 40-х годов созданием тонкопленочных деталей. Однако широкое практическое применение микроминиатюризация получила только после создания транзистора»
Микроминиатюризация (уменьшение массы, габаритов, потребляемой мощности) в сочетании с повышением надежности, экономичности и возможности автоматизации производства изделий явилась важнейшим шагом на пути совершенствования радиоэлектронной аппаратуры.
Новейшим перспективным направлением микроминиатюризации явилось создание интегральных схем. Первые интегральные схемы были созданы в 1958 г. в США. Такими схемами называют микроминиатюрные функциональные узлы электронной аппаратуры, в которых элементы и соединительные проводники изготавливаются в едином технологическом цикле на поверхности или в объеме полупроводникового материала и имеют общую герметическую оболочку.
Серийный промышленный выпуск интегральных схем был начат в 1962 г. Переход к интегральным схемам позволяет комплексно решить ряд важнейших проблем: наряду с микроминиатюризацией, повышением экономичности и автоматизацией производства значительно повышаются эксплуатационные характеристики аппаратуры.
В качестве примера зависимости объема изделия от технологии его изготовления можно привести следующие цифры:
в изделиях широкого потребления с обычными вакуумными приборами в 100 см3 объема содержится одна деталь;
при замене ламп полупроводниковыми элементами одна деталь уже приходится всего лишь на 1 см3 объема;
применение микромодульного монтажа позволяет разместить в 1 см 10—20 деталей. Плотность монтажа в интегральных схемах составляет 300—1000 деталей в 1 см3. Например, в наручных электронно-цифровых часах в одном кристалле размещено 5000 транзисторов.
Одним из важнейших этапов в развитии микроэлектроники явилось создание в 70-х годах больших интегральных схем (БИС). Количество элементов в БИС достигает нескольких сотен тысяч при минимальных размерах микросхемы 2—3 мкм. Быстродействие БИС несравнимо с обычными схемами, оно измеряется миллиардными долями секунды.
На основе БИС оказалось возможным создание важнейших элементов современных электронных устройств — микропроцессоров (рис. 7.6) и микроЭВМ. Микропроцессор — управляющее цифровое устройство, выполненное по технологии больших интегральных схем (чаще на одном кристалле полупроводника) и способное осуществлять под программным управлением обработку различной информации, арифметические и логические операции. Общая структура микропроцессора почти не отличается от структуры центрального процессора малых ЭВМ.

Микропроцессор с запоминающим устройством вместе со средствами ввода-вывода данных называется микроЭВМ или компьютером.
Широчайшее применение микропроцессоры и микроЭВМ получили в 80-х годах в управлении производственными процессами, системах связи и транспорта, бытовых устройствах. По подсчетам специалистов применение микропроцессоров, в частности, а приборостроении уменьшает трудоемкость в 10 раз, стоимость в 5 раз, габариты и потребляемую энергию в 10—20 раз и на порядок повышает надежность изделий.
Предполагается, что к 2000 г. уровень интеграции микросхем повысится на порядок, и тогда размеры элементов в таких схемах будут соизмеримыми с размерами некоторых бактерий или молекул. Такие микросхемы со сверхвысокой степенью интеграции обеспечат заметное увеличение быстродействия электронных устройств
ПОСЛЕСЛОВИЕ
Изучение истории человеческого общества вообще и истории техники в частности позволяют простелить сложный взаимосвязанный и взаимообусловленный процесс становления и развития человека и техники. Человек создавал все новые и более совершенные средства труда, повышал производительность своего труда и накапливал научные знания и массу производимого продукта.
Передавая часть своих функций технике, он наделял многие технические устройства такими качествами, которые ранее были присуши только человеку. Механические, электромагнитные, электронные, лазерные, химические, биологические, информационные и другие системы позволяли человеку все более и более познавать мир и гармонию Природы, достичь поистине непредсказуемого: с одной стороны созданные человеком гигантские технические объекты обладают мощностями, соизмеримыми с геофизическими и космическими, способными уничтожить все живое на Земле, с другой — ресурсы планеты, катастрофически истощаясь, уже не в состоянии удовлетворять технические и энергетические потребности общества.
Во всех развитых странах разрабатываются новые технологии накопления, преобразования и экономии потребления энергии, идет поиск наиболее технически доступных, экологически безопасных томлив, внедряются более эффективные и энергосберегающие технологии, мысли ученых обращаются к другим видам источников энергии, и в первую очередь к Солнцу. Человечество уже ищет выход за пределы планеты.
Опасность ядерной, генной, экологической катастроф привела государства с различным общественным строем к попытке подняться выше своих социально-экономических различий во имя общечеловеческих интересов н ценностей. Глобальные проблемы встают во весь свой рост и порой отодвигают на второй план то, что еще вчера казалось главным и определяющим. Надежность и безопасность работы современных гигантов промышленности, сохранение и защита окружающей среды, комфортные и здоровые условия жизни людей всех стран и континентов — вот те проблемы, которые волнуют ныне все человечество. Именно эти потребности формируют социальный заказ современной науке и технике. Совершенно очевидно, что электротехнике и электронике принадлежит одна из ведущих ролей в ролей в реализации этого сопельного заказа.
Научно-технический прогресс остановить нельзя.
Академик А. Д. Сахаров в своей статье «Мир через полвека», отмечая стремительный «разбег» научно-технического прогресса та протяжении тысячелетий, писал: «Я глубоко убежден, однако, что огромные материальные перспективы, которые заключены в научно-техническом прогрессе, при всей их исключительной важности н необходимости, не решают все же судьбы человечества сами по себе. Научно-технический прогресс не принесет счастья, если не будет дополняться чрезвычайно глубокими изменениям социальной, нравственной и культурной жизни человечества. Внутреннюю духовную жизнь людей, внутренние импульсы юс активности трудней всего прогнозировать, но именно от этого зависит в конечном итоге и гибель, и спасение цивилизации».