| Скачать .docx |
Реферат: Учебное пособие: Методические указания по выполнению выпускной квалификационной работы по специальности
МЕТОДИЧЕСКИЕ УКАЗАНИЯ ПО ВЫПОЛНЕНИЮ ВЫПУСКНОЙ КВАЛИФИКАЦИОННОЙ РАБОТЫ по специальности 260902.65 «Конструирование швейных изделий
специализаций 260902.65-05 «Конструирование швейных изделий по индивидуальным заказам»
260902.65-13 «Конструирование и моделирование костюма на малых предприятиях» НА 2011 ГОД Москва, 2010 |
|
|
ФЕДЕРАЛЬНОЕ ГОСУДАРСТВЕННОЕ ОБРАЗОВАТЕЛЬНОЕ УЧРЕЖДЕНИЕ ВЫСШЕГО ПРОФЕССИОНАЛЬНОГО ОБРАЗОВАНИЯ «РОССИЙСКИЙ ГОСУДАРСТВЕННЫЙ УНИВЕРСИТЕТ ТУРИЗМА И СЕРВИСА» |
СК РГУТиС |
© РГУТиС экз. № __
Методические указания по выполнению выпускной квалификационной работы разработаны на основании Государственного образовательного стандарта по специальности по специальности 260902.65 «Конструирование швейных изделий».
Методические указания по выполнению выпускной квалификационной работы рассмотрены и утверждены на заседании кафедры
«Конструирование и технология швейных и трикотажных изделий»
(название кафедры)
Протокол №___ «___» __________2010 г.
Зав. кафедрой Т.В. Медведева
Методические указания по выполнению выпускной квалификационной работы разработали:
Преподаватели кафедры КТШТИ Т.В. Медведева
Н.И. Смирнова
Согласовано:
Проректор по учебной работе Н.Г. Новикова
СОДЕРЖАНИЕ
Цели и задачи дипломного проектирования………………………………………….4
Правила оформления дипломного проекта…………………………………………..6
Тематика дипломного проекта и
содержание его графической части…………………………………………………..9
Методические указания к выполнению
разделов дипломного проекта………………………………………………………..13
Литература……………………………………………………………………………. 94
Приложения…………………………………………………………………………... 97
Цели и задачи дипломного проектирования
Целью дипломного проектирования является закрепление теоретических и практических знаний студентов, полученных в процессе обучения путем самостоятельного решения инженерно-технического или научно-исследовательского специального задания, определенного квалификационной характеристикой для специальности 260902.65 «Конструирование швейных изделий».
Дипломный проект для студентов специальности 260902.65 «Конструирование швейных изделий» предполагает решение следующих задач:
- разработку проектно-конструкторской документации на проектируемую коллекцию или семейство моделей одежды в зависимости от типа производства и вида услуг на основе передовых инженерных решений, эффективных, в том числе автоматизированных, методов проектирования одежды и использование опыта предприятий, проектирующих конструкции одежды;
- художественное проектирование одежды путем закрепления знаний, полученных при изучении дисциплин “История костюма”, “Композиция костюма”,”Основы исторического и народного кроя”;
- конфекционирование материалов для проектирования моделей одежды;
- выполнение технологической части дипломного проекта с целью технологической подготовки производства на изготовление проектируемых моделей;
- выполнение расчета экономической эффективности от мероприятий проекта;
- расчет и особенности мероприятий по безопасной жизнедеятельности;
- закрепление знаний, полученных студентами при изучении специальных и общеинженерных дисциплин, а также закрепление навыков самостоятельной работы со специальной литературой и нормативной технической документацией.
Дипломный проект состоит из расчетно-пояснительной записки, объемом 100-120 страниц рукописного или 40-50 страниц машинописного текста и графической части, состоящей из не менее 8 листов формата А-4.
Дипломный проект выполняется в 7-ом или 9-ом семестрах для сокращенной программы обучения и соответственно дневной и заочной формы; в 10-ом или 12-ом семестрах – для полной программы обучения и соответственно дневной и заочной формы. Объем дипломного проекта определяется количеством часов, отводимых учебным планом на дипломное проектирование и выполняется в отведенное рабочим учебным планом время в течение 12 недель.
Пояснительная записка дипломного проекта содержит следующие разделы: введение, проектно-конструкторскую, технологическую и экономическую части, раздел по обеспечению безопасности жизнедеятельности, приложение. Содержание и сроки выполнения дипломного проекта представлены в таблице 1.
Таблица 1 – Содержание и сроки выполнения дипломного проектирования
| Наименование разделов проекта |
Сроки выполнения (по неделям семестра) |
| 1 |
2 |
| Время выполнения проекта |
10 семестр, 12 недель с 7 по 18 неделю |
| Срок выдачи темы дипломного проекта |
февраль,1 неделя |
| Утверждение задания зав. кафедрой |
7 неделя |
| Введение |
Продолжение таблицы 1
| 1 |
2 |
| 1. Проектно-конструкторская часть: |
7-8 неделя |
| 1.1. Техническое задание: |
|
| 1.1.1. Анализ технологий проектирования |
|
| 1.1.2. Выполнение предварительных НИР |
|
| 1.1.3. Определение исходных данных для проектирования |
|
1.1.4. Анализ моделей аналогов |
|
| 1.1.5. Задание базовых значений показателей качества |
|
| 1.1.6. Предъявление требований к показателям качества проектируемого изделия и определение путей их реализации |
7 |
| 1.2. Техническое предложение: |
|
| 1.2.1. Художественное проектирование моделей одежды. |
|
| 1.2.2. Художественно-конструктивный анализ проектируемого фасона изделия. |
|
| 1.2.3. Антропометрический анализ фигур. |
|
| 1.2.4. Адаптационный художественно-конструктивный анализ проектируемого фасона изделия. |
|
| 1.2.5. Выбор методов проектирования конструкций фасонов одежды. |
8 |
| 1.3. Эскизный проект: |
|
| 1.3.1. Разработка фасонов коллекции или семейства моделей. |
|
| 1.3.2. Оценка разработанных фасонов одежды по показателям качества. |
|
| 1.3.3. Конфекционирование материалов. |
|
| 1.3.4. Анализ формы поверхности проектируемых моделей. |
|
| 1.3.5. Отработка формы поверхности новых форм моделей одежды. |
10 |
| 1.4. Технический проект: |
11,12 |
| 1.4.1. Характеристика метода конструирования одежды. |
|
| 1.4.2. Установление исходных данных для разработки чертежей конструкций деталей одежды |
|
| 1.4.3. Разработка первичных чертежей конструкций деталей одежды |
|
| 1.4.4. Разработка модельных конструкций |
11,14 |
| 1.5. Рабочий проект |
|
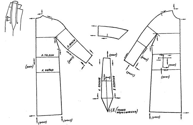
| 1.5.1. Разработка лекал верха, подкладки и подкладочных деталей |
|
| 1.5.2. Градация лекал |
|
| 1.5.3. Составление технического описания |
13 |
| 1.6. Технологическая часть |
|
| 1.6.1. Раскладка лекал и определение норм расхода материала |
|
| 1 |
2 |
| 1.6.2. Разработка графа конструктивных переходов |
|
| 1.6.3. Характеристика методов обработки изделия и оборудования |
|
1.6.4. Изготовление образца |
15 |
| 2.Безопасность жизнедеятельности |
15 |
| 3. Расчет экономической эффективности |
|
| 4. Выводы |
|
| 5. Литература |
|
| 6. Приложения |
14-18 |
| Выполнение графической части. |
11-17 |
Правила оформления дипломного проекта
Пояснительная записка дипломного проекта должна быть предельно краткой, грамотной и обоснованной, изложена четким и лаконичным языком. Переписывание материалов из учебников и других методических материалов не допускается. Изложение материалов в записке и название разделов в записке должно соответствовать содержанию работы в соответствии с таблицей 1 и действующими ГОСТ [38,39].
Пояснительная записка пишется на одной стороне листа стандартного формата от руки чернилами синего, фиолетового или черного цвета или набирается на компьютере. Заголовки пояснительной записки выделяются увеличенным расстоянием между ними и основным текстом. Подчеркивание заголовков глав и параграфов чернилами другого цвета или фломастерами не допускается. Заголовки разделов нумеруются в соответствии с содержанием, изложенным в таблице 1.
Если записка пишется от руки, то на каждой странице выполняется рамка: левое поле - 20 мм, сверху, справа и внизу-5мм. Расстояние от рамки до границ текста рекомендуется оставлять следующим: в начале строки - не менее 5 мм, в конце строки - не менее 3 мм. Расстояние от верхней или нижней строки текста до рамки должно быть не менее 10 мм. При выполнении записки на компьютере по краям страницы предусматриваются поля: сверху и снизу 2 см; слева 2,5 см; справа 1 см. Желательно использовать 14 кегль шрифта «Times New Roman»
Записка должна иметь сквозную нумерацию страниц, таблиц и рисунков. Выделение схем и графиков не допускается, так как они входят в нумерацию рисунков. Страницы нумеруются в правом верхнем углу листа с точкой или посередине листа вверху/внизу рамки между дефисами. Номера таблиц и рисунков ставят в одну строку с заголовком. Например:
Таблица 1 – Размерные признаки фигуры.
Нижняя часть таблицы закрывается. Конечными границами таблиц может служить ранее оформленная на листе рамка. При переносе таблицы на следующую страницу в правом верхнем углу указывают, например: «Продолжение таблицы 1», а вместо шапки проставляют порядковые номера имеющихся граф.
Схемы, рисунки, графики выполняются карандашом, фломастером или тушью четко и аккуратно. Они должны иметь порядковый номер и подрисуночную подпись. Например:
Рисунок 1 – Проектируемые варианты фасонов женского платья.
В пояснительной записке таблицы и рисунки помещаются после текста, в котором приводится на них ссылка. Точки в заголовках, к подписям таблиц и рисунков не ставятся.
Разделы записки начинаются с текста. Начинать разделы с рисунков и таблиц не допускаются. Повторные ссылки на рисунки и таблицы, пункты содержания, приложения, а также графическую часть работы делают следующим образом: см. рисунок 1; см. таблицу 2; см. пункт 2.3; см. приложение 1; см. таблицу П3, приложения 1; см. графическую часть, лист 2.
Приложения подписываются и нумеруются. Каждому из приложений дается номер и наименование в соответствии с последовательностью их использования в тексте записки. Например:
Приложение 1 – Модели-аналоги женского пальто.
Нумерация рисунков и таблиц в приложении дается своя, отличная от основной части записки. При этом используется сквозная нумерация с добавлением буквы П. Например:
Таблица П1 – Расчет основных конструктивных параметров деталей изделия; Рисунок П2 – Направление моды в женской верхней одежде на 2009-2010 гг.
Рекомендуется следующее расположение материала записки: титульный лист, бланк задания на дипломное проектирование, содержание, аннотация, список использованных сокращений, расчетно-пояснительная записка, список литературы, приложения к проекту. Нумерация страниц начинается с титульного листа, но страницы проставляются с аннотации.
Список литературы, используемой при разработке проекта должен быть составлен по установленным правилам: для книг - фамилии и инициалы авторов, полное название книги, издательство, год издания; для статей - фамилии и инициалы авторов, названия статей и журналов, год издания, номер журнала, страницы на которых расположена статья.
Наименование литературных источников производится в соответствии с порядком их использования в тексте записки. Ссылки на литературу осуществляются по тексту, например: «Для построения конструкции женского платья используется методика, разработанная ЦОТШЛ [21]». Номер в квадратных скобках соответствует номеру, под которым эта методика стоит в списке литературы.
Графическая часть проекта выполняется на компьютере с последующим выводом на плоттер. Допускается ее оформление простым карандашом, или черной тушью на листах ватмана с учетом требований ГОСТов ЕСКД по формату, условными обозначениями, шрифтам и масштабом в соответствии с [38]. Если на одном листе графической части имеется несколько рисунков или таблиц, то они подписываются в соответствии с правилами их оформления. На каждом листе графической части в правом нижнем углу выполняется стандартный штамп. В некоторых случаях, ввиду значительных объемов графической информации, представленной на листах, допускается применение в оформлении проектно-конструкторской документации цветных туши или карандашей, но с соблюдением требований ГОСТ ЕСКД. Не допускаются надписи в верхней части листа.
Защита дипломного проекта
Защита дипломного проекта производится перед государственной аттестационной комиссией в соответствии с графиком. К защите допускаются студенты, выполнившие дипломные проекты в полном объеме и изготовившие образец изделия проектируемой модели. Пояснительная записка и графическая часть должны быть подписаны в первую очередь дипломантом, а затем руководителем и консультантом проекта и в последнюю очередь – заведующим кафедрой.
Студент заранее готовится к защите, ориентируясь на доклад не более 10 минут. В докладе необходимо отразить используемые в проекте эффективные и современные методы по решению основной задачи, подтверждая их графической частью проекта.
Дипломант, не защитивший в срок дипломный проект, считается прослушавшим теоретический курс обучения, о чем ему выдается соответствующая справка. В этом случае квалификация инженера-конструктора ему не присваивается и диплом не выдается.
Тематика дипломного проекта и содержание его
графической части
Тематикой дипломного проектирования являются следующие варианты заданий:
· Разработка технологии проектирования различных видов одежды для реализации ее на предприятиях любых типах производств (сервиса, промышленного изготовления, смешанного) и видов услуг.
· Разработка проектно-конструкторской документации на различные виды одежды и швейные изделия.
При этом могут быть выделены следующие технологии проектирования:
· модной коллекции изделий;
· промышленной коллекции моделей изделий;
· серии моделей одежды;
· семейства моделей одежды, в том числе корпоративной;
· промышленной коллекции или семейства моделей одежды с элементами рационального гардероба;
· рационального гардероба одежды;
· моделей изделий для изготовления по образцам;
· модели изделия для изготовления на индивидуального потребителя;
· моделей изделий, выполненных из нетрадиционных материалов и др.
В качестве объекта проектирования выступают различные виды корпоративной и специальной одежды, швейные изделия для туризма, спорта, ресторанного и гостиничного бизнеса и другие швейные изделия бытового назначения, как по заказам предприятий, так и по заказам физических лиц.
Разнообразие тем дипломного проектирования также достигается выполнением индивидуальных заданий:
· Анализ технологий проектирования конструкций одежды для заданного предприятия;
· Анализ направления моды на заданный вид одежды;
· Анализ фасонов проектируемого семейства на показатели качества;
· Анализ направления моды для выделения типовых вариантов членения заданного вида одежды;
· Анализ направления моды для определения частоты встречаемости художественно-конструктивных средств заданного вида одежды;
· Анализ моделей-аналогов заданного вида одежды и др.
Дипломный проект может быть посвящен выполнению научно-исследовательской работы (НИР) или дополняться специальным индивидуальным заданием научно-исследовательского или творческого плана.
Примерная тематика научно-исследовательской работы:
· разработка информационной базы для автоматизированного выполнения проектных процедур процесса проектирования конструкций одежды;
· антропометрические исследования фигур потребителей;
· исследование взаимосвязи свойств материалов и конструкций деталей изделия;
· исследование взаимосвязи формы поверхности фасона изделия с плоскостным отображением её деталей конструкции;
· разработка новых методов проектирования конструкций одежды и др.
При выполнении дипломных проектов с приставкой «в условиях изготовления...» конкретного предприятия в записке обязательно отражаются особенности работы этого предприятия и экспериментального цеха, а именно, за исходную информацию принимаются:
· методы проектирования конструкции одежды, используемые экспериментальным цехом;
· модели-аналоги изделий, ранее спроектированные и изготовленные на этом предприятии;
· нормы расхода материала и все с ними связанные показатели;
· трудоемкость КПП;
· особенности и трудоемкость ТПП;
· трудоемкость изготовления изделий;
· трудоемкость и средства малой механизации, применяемые для изготовления изделий;
· порядок и форма изготовления технического описания на модель;
· методы оценки качества образца-эталона и другие.
Графическая часть работы определяется тематикой дипломного проекта и для его типовых решений может содержать:
· направление моды заданного ассортимента одежды;
· модели изделий коллекции или семейства в цвете;
· лист по оценке показателей качества СМКФ ;
· чертежи модельной конструкции изделий (М1:2);
· чертежи лекал изделия (М1:2);
· чертежи градуированных лекал (М1:2);
· лист по технологической части проекта;
· лист по экономической части проекта.
В пояснительной записке графическая часть проекта дается в полном объеме в М1:5. А на листы графической части, сопровождающие доклад студента, могут выноситься только отдельные (основные) детали или фрагменты. Например, чертежи градуированных лекал могут быть представлены фрагментом – градация спинки по размерам, а полочки – по ростам. Остальные детали семейства или коллекции моделей в обязательном порядке приводятся в М1:5 в пояснительной записке. Вместо традиционного выполнения графической части дипломного проекта защита может проходить в виде презентации с помощью компьютера в программной среде Microsoft PowerPoint.
В зависимости от тематики задания на листы может выноситься и другая графическая информация, а также результаты анализа, исследований и разработки.
При выполнении НИР графическая часть определяется руководителем в соответствии с заданием. Задание на дипломный проект или работу разрабатывается на 7-й неделе семестра совместно с руководителем и утверждается заведующим кафедрой (см. таблицу 1). Задание составляется по установленной форме и содержит название темы, исходные данные, детальное содержание пояснительной записки и графической части. Задание должно быть подписано студентом и руководителем. Графическая часть работы оформляется в соответствии с правилами её оформления, изложенными в [39].
Методические указания к выполнению разделов
дипломного проекта
Введение
Во введении указывается определяющее влияние процесса проектирования конструкции одежды на формирование ее качества в процессе изготовления, отмечается существующий научно-технический и организационный уровень выполнения проектно-конструкторских работ на различных типах предприятий РФ и за рубежом с акцентом на тип предприятия, соответствующий заданию. Далее отмечается:
· актуальность темы и основные направления совершенствования проектно-конструкторских работ;
· цель работы;
· объект проектирования;
· использованные в дипломном проекте инженерные и наиболее эффективные методы проектирования конструкций одежды;
· практическую и экономическую значимость работы.
Например,
· целью дипломного проекта являлась разработка промышленной коллекции корпоративной одежды для хосписа;
· объектом проектирования являлся женский комплект, состоящий из брюк, блузы и головного убора из смесовых материалов с преимущественным вложением хлопчатобумажных волокон для типовых фигур потребителей различных возрастных групп;
· при выполнении дипломного проекта использовались следующие эффективные и современные методы ППКО: инженерное задание системы «человек-одежда»; метод стандартизации «симплификация»; методы прогнозирования показателей качества; методы типового проектирования новых моделей одежды, методы конструктивного моделирования, программная среда AutoCAD b др.
В конце введения отмечают достигнутые результаты при решении основной задачи курсового проекта.
Если результаты работы внедрены на конкретном предприятии, то конце введения отмечают: «Разработанная проектно-конструкторская документация (указывается вид одежды) апробирована и внедрена (будет внедрена) на предприятии (указывается полное название предприятия), о чем свидетельствует прилагаемый к дипломному проекту акт».
При выполнении НИР во введении указывается актуальность работы, объект и цель исследования, методы исследования, научная новизна, практическая и экономическая значимость и результаты апробации работы. Например, если работа была доложена на студенческой научно-технической конференции, пишут: «Результаты работы были доложены на (название) научно-технической конференции (дата) и получили положительную оценку».
1 Проектно-конструкторская часть
Проектно-конструкторская часть выполняется в соответствии с выделенными в ГОСТ ЕСКД 2103-63 стадиями проектирования: техническое задание, техническое предложение, эскизный проект, технический и рабочий проекты [38,39].
1.1 Техническое задание
1.1.1 Анализ технологий проектирования
В разделе по результатам преддипломной практики осуществляют анализ существующей на предприятии технологии проектирования конструкций и изделия и намечают пути её совершенствования. Анализ результатов приводят в форме таблицы 1 (см. форму таблицы П1.1 в приложении 1) . В разделе 1.1.1 могут быть помещены лишь наиболее значимые её фрагменты, остальные приведены в приложении. Результаты анализа позволяют определить виды работ процесса проектирования конструкции одежды, для которых в дипломном проекте будут применены более совершенные методы проектирования конструкций (инженерное задание системы “ человек-одежда“, выполнение различных видов анализа системы “человек-одежда“ до разработки конструкторской документации, методы типового проектирования и др.), позволяющие повысить качество проектирования, сократить его сроки, повысить мобильность производства.
Результаты анализа технологий проектирования должны являться и основным материалом для расчета экономической эффективности (раздел 2) от внедрения новых, более совершенных методов и технологий проектирования конструкций одежды в дипломном проекте. Поэтому факторы, способствующие повышению эффективности процесса проектирования конструкций одежды и участвующие в расчете экономической эффективности, должны быть указанны в этом же разделе.
Далее указывается основная научно-техническая документация (ОСТы, ГОСТы, классификации и др.), необходимая для выполнения проектно-конструкторской части. В заключение раздела указываются основные направления совершенствования процесса разработки конструкторской документации на различных стадиях её проектирования с учетом возможности её реализации в проекте.
1.1.2 Выполнение предварительных НИР
Раздел выполняется только в дипломных проектах предусматривающих небольшие проектные исследования или анализ, обозначенный в теме дипломного проекта. В случае значительных объемов этого раздела, другие разделы дипломного проекта могут быть сокращены или даже ликвидированы. Содержание раздела определяется в каждом случае индивидуально руководителем проекта в соответствии с заданием. Раздел целесообразно выполнять после выполнения раздела 1.1.1, когда становятся ясными наиболее слабые и наименее совершенные методы выполнения различных видов работ процесса проектирования конструкций одежды.
Выполнение этого раздела подчиняется общим правилам выполнения НИР и поэтому выполняется в следующей последовательности:
· обоснование актуальности исследования или анализа;
· формирование цели исследования или анализа;
· определение объекта исследования или анализа;
· описание методики или плана проведения эксперимента или анализа;
· обработка результатов эксперимента или анализа;
· определение научной новизны или практической значимости выполненного исследования или анализа;
· выводы по разделу.
Целесообразно результаты раздела выносить на листы графической части дипломного проекта.
1.1.3 Определение исходных данных для проектирования
В этом разделе детализируется задание дипломного проекта в аспекте его темы. Указывается название проектируемого изделия, тип производства и вид услуг, климатическая зона, определяется и численно (см. п.1.1.4) задается уровень качества проектируемого изделия Рн. Например, изделие предназначено для экспорта, следовательно, уровень качества должен быть задан как очень высокий. Следующими уровнями могут быть: высокий, хороший, удовлетворительный. Принимают следующие нормативные значения уровней качества: для очень высокого уровня – Рн > 95% или в баллах - 95; для высокого уровня – 88% < Рн £ 95% или в баллах от 88 до 95; для хорошего – 80% < Рн £ 88% или в баллах – от 80 до 88; для удовлетворительного уровня – 70% < Рн £ 80%, в баллах соответственно от 70 до 80. Значение показателя менее 70% (менее 70 баллов) является граничным и неприемлемым для проектирования.
Критериями уровня качества являются место реализации изделия, его ценовая ниша, возможности самого предприятия (наличие или отсутствие на нем системы управления качеством, общий инженерный уровень процесса проектирования и т.п.). Заданный уровень качества является основой для выполнения следующего раздела дипломного проекта.
1.1.4 Анализ моделей-аналогов
Анализ моделей-аналогов одежды проводится для заданного вида изделия по результатам практики или по каталогам, журналам мод. Модели-аналоги (не менее 8) приводятся в приложении (вид спереди, сзади и при необходимости сбоку), о чем в тексте делается ссылка. Анализ моделей-аналогов осуществляется по потребительским и технико-экономическим показателям системы качества одежды, принятой для студентов ВУЗов, обучающихся по рассматриваемой специальности [13,18]. Целью анализа является выявление слабых мест процесса проектирования и установление соответствующего уровня требований к проектируемому изделию. Анализ моделей-аналогов производится в форме таблицы 1.1.
Суммарная оценка (Сjig
) каждого j-ого показателя качества по всем моделям-аналогам МАi
определяется как:
, где: n – число моделей-аналогов, Сi - бальная оценка по каждому показателю качества для каждой i-ой модели-аналога. Индекс g указывает, что показатели удовлетворенности рассчитываются по каждому показателю качества на горизонтальных уровнях (см. таблицу 1.1).
Таблица 1.1 – Анализ моделей-аналогов по показателям качества
| №№ п/п |
Наименование показателей качества* |
Бальная оценка моделей-аналогов по показателям качества, Сi** |
Суммарная оценка Сijv |
Процент удовлетворен- ности Pijv |
|||||||
| МА1 |
МА2 |
МА3 |
МА4 |
МА5 |
МА6 |
МА7 |
МА8 |
||||
| 1 |
2 |
3 |
4 |
5 |
6 |
7 |
8 |
9 |
10 |
11 |
12 |
| Потребительские |
|||||||||||
| 1 |
Социальные |
||||||||||
| 2 |
Функциональные |
||||||||||
| 3 |
Эргономические |
||||||||||
| 4 |
Эстетические |
||||||||||
| 5 |
Эксплуатационные |
||||||||||
| Технико-экономические |
|||||||||||
| 6 |
Технологичность |
||||||||||
| 7 |
Применение методов стандартизации |
||||||||||
| 8 |
Экономичность |
||||||||||
| Суммарная оценка, Сjig |
Соj/Соi |
- |
|||||||||
| Процент удовлетворенности Pjig |
- |
Роj /Роi |
|||||||||
| Примечание: * - показатели должны быть детализированы до единичных показателей как минимум третьего уровня (см. таблицу П1.2, приложение 1); **- максимальная оценка показателя качества составляет 3 балла - соответствует оценке “ отлично “, 2 балла - “хорошо”, 1 балл - “удовлетворительно”, 0 - “неудовлетворительно”. |
|||||||||||
Процент удовлетворенности по каждому показателю качества Pjig
для всех моделей-аналогов рассчитывается по формуле:
,
где: Мg - суммарная максимально возможная оценка по каждому показателю качества, Мg = 3´n.
Процент удовлетворенности каждой модели-аналогу Pijv
по всем показателям качества рассчитывается аналогично, используя индекс «v» по формуле:
, где Сijv
– суммарная оценка каждой модели-аналога по всем показателям качества, определяемая как:
; m – число показателей качества; Mv
– суммарная максимально возможная оценка каждой i-ой модели-аналога, Mv
= 3´m; индекс «v» обозначает, что показатели удовлетворенности рассчитываются по каждой модели-аналогу на вертикальных уровнях.
В разделе должны быть даны расчеты (по одному примеру) показателя Pjig и Pijv , а также Мg и Mv . Расчеты должны сопровождаться пояснениями и ссылками на таблицу 1.1.
Рассчитанные значения процента удовлетворенности (Pjig и Pijv ) сравнивают с нормативными (Pн). Результаты таблицы 1.1 анализируют по каждой модели-аналогу и по каждому показателю качества, а также по общему значению Ро (см. таблицу 1.1). Отмечают требования, которым не удовлетворяют модели-аналоги в соответствии с заданным уровнем качества и указывают причины несоответствия. Эта информация необходима для выполнения следующего раздела дипломного проекта, в котором эти показатели качества должны быть улучшены в первую очередь при разработке новых моделей заданного ассортимента и назначения.
1.1.5 Задание базовых значений показателей качества
Далее задают базовые значения показателей качества (Рiэт) в форме таблицы 1.2. Для этого предварительно определяют фактические значения показателей качества Рiф, путем пересчета значений Pijv из графы 5 таблицы 1.1 по каждому показателю качества. Например, если Pijv для социальных показателей составило 82%, то фактическое значение этого показателя в баллах будет равно:
Рiф = Рiм * 0,82,
где Рiм – максимально возможное значение социального показателя качества (определяется по таблице 1.2, графа 3). Полученные значения Рiф проставляют в графу 4 таблицы 1.3.
Базовое значение для каждого показателя качества (Рiэт) определяют в соответствии с принятым в п.1.1.3 уровнем качества (Рн, %):
Рiэт = Рн * Рiм.
Для тех показателей качества, которые не удовлетворяют принятому уровню качества, базовые показатели должны быть повышены таким образом, чтобы в итоге сумма базовых значений (SРiэт) оказалась в пределах для рекомендованного уровня качества, т.е. SРiэт = Рн * 100.
Таблица 1.2 – Задание базовых значений показателей качества
| № |
Показатели качества |
Количество баллов |
||
| Максимально возможное, Рiм |
Фактическое, Рiф |
Базовое, Рiэт |
||
| 1 |
2 |
3 |
4 |
5 |
| 1 |
Потребительские |
67,5 |
||
| 1.1 |
Социальные |
10,0 |
||
| 1.2 |
Функциональные |
11,5 |
||
| 1.3 |
Эстетические |
17,5 |
||
| 1.4 |
Эргономические |
15,0 |
||
| 1.5 |
Эксплутационные |
13.5 |
||
| 2 |
Технико-экономические |
32,5 |
||
| 2.1 |
Применение методов стандартизации |
11,0 |
||
| 2.2 |
Технологичность конструкции |
11,5 |
||
| 2.3 |
Экономичность |
10,0 |
||
| Итого |
S Рiм = 100 |
SРiф |
SРiэт |
|
Целесообразно при этом принимать наивысшие значения пределов заданного уровня качества. Это необходимо для того, чтобы обеспечить в процессе проектирования конструкций одежды более высокий уровень качества изделий, так как известно, что в процессе их изготовления по ряду причин уровень качества несколько снижается.
Значения коэффициентов весомостей показателей качества третьего уровня приведены в таблице П1.3 приложения 1.
Установленные базовые значения показателей качества являются контрольной информацией при окончательной оценке образца-эталона изделия в разделе 1.6.4.
1.1.6 Предъявление требований к показателям качества проектируемого изделия и определение путей их реализации
Исходными данными для раздела являются: заданный вид одежды и его назначение; тип производства и вид услуг; требования заказчика.
В разделе указываются требования, которые необходимо предъявить к проектируемому изделию: требования заказчика, социальные, функциональные, эстетические, эргономические, эксплуатационные (потребительская группа). Особое внимание уделяют технико-экономическим требованиям: возможности применения методов стандартизации на всех стадиях проекта, повышению экономичности и эффективности проекта, разработке технологичных конструкций.
Требования заказчика учитывают только для тем дипломных проектов, предусматривающих изготовление проектируемого изделия по индивидуальным заказам для основных его видов услуг. Следует различать термины «заказчик» и «индивидуальный потребитель». Последний представляет собой более широкое понятие и подразумевает как потребителя, заказавшего изделие на предприятиях сервиса, так и потребителя, который приобрел изделие в магазине. Поэтому в дипломном проекте это понятие должно быть детализировано применительно к конкретному заданию.
В этой части дипломного проекта указывают конкретные пожелания и требования заказчика, касающиеся цветовой гаммы и фасона изделия (силуэт, стиль, покрой и т.д.), вида ткани, стоимостных характеристик изделия, методов обработки и др.
При разработке конструкций моделей одежды, заготовляемых в виде полуфабрикатов или по образцам, указывают вид одежды, размер, возрастную и полнотную группы, основные требования заказчиков этого возраста и возможные варианты его социального положения. Последние влияют как на выбор материала, так и на стиль проектируемых моделей.
При установлении потребительских требований к проектируемым изделиям особый акцент делается на те требования, которые в первую очередь, в соответствии с назначением изделия, должны быть реализованы. Например, для нарядного платья определяющими будут являться эстетические требования, а для повседневного рабочего платья – эргономические, эксплуатационные, а лишь затем эстетические.
Требования должны быть изложены четко и конкретно, учитывая, что фасон изделия еще не выбран, а в соответствие с исходными данными (вид изделия, назначение, требования заказчика, его размерная характеристика и особенности телосложения), потребителю может быть предложена не одна модель изделия. Критерием выбора фасона служит только желание заказчика при условии изготовления изделия в ателье.
Социальные требования определяют соответствие спроса заказчиков на данный вид одежды; конкурентоспособность моделей; соответствие стоимости моделей одежды финансовым возможностям различных групп заказчиков и потребителей. Единичные показатели социальных требований приобретают ту или иную значимость в зависимости от вида услуг.
Функциональные требования включают в себя требования соответствия заданного вида одежды его конкретному назначению, размерной и полнотной и возрастной группе заказчика, его внешнему образу и психологическому складу. Последние требования приобретают значительный вес при изготовлении одежды по заказам населения.
Эстетические требования в первую очередь определяют направления моды на предстоящий сезон для проектируемого вида одежды с учетом назначения. К эстетическим требованиям относятся также и товарный вид изделий, который достигается совершенством отделки внешнего и внутреннего вида изделия.
Эстетические требования предъявляются ко всем видам изделий различного назначения, но не всегда может выполняться требование соответствия изделия направлению моды. Так как в рабочей и повседневной одежде, одежде для детей и лиц пожилого возраста преобладающим требованием будет являться совершенство композиции изделия. Таким образом, назначение изделия и возрастная группа заказчика предопределяют значимость эстетических требований.
Эргономические требования включают в себя требования антропометрического, гигиенического и психофизического соответствия. Антропометрическое соответствие в статике характеризуется соответствием размеров и форм тела человека размерам и форме конструкции одежды для типовой фигуры, может быть спрогнозировано на основе использования инженерных методов конструирования. Антропометрическое соответствие характеризуется удобством пользования изделием в движении.
Гигиеническое соответствие одежды характеризуется соответствием её санитарно-гигиеническим нормам и рекомендациям. Психофизиологическое соответствие характеризуется удобством пользования элементами одежды при снятии и одевании, а также минимальной массой изделия.
Эргономические требования имеют значимость практически для всех видов одежды любого назначения. В то же время для нарядной, торжественной и другой одежды требования к некоторым из ее показателей могут быть занижены и даже исключены. Например, для некоторых видов специальной одежды, в которых требования защиты от внешних факторов и кратковременность пользования выступают на первый план, позволяет пренебречь психофизическими и гигиеническими соответствиями.
Эксплуатационные требования включают показатели надежности, долговечности, ремонтопригодности изделия. Эти требования тесно связаны с назначением изделия, возрастной и социальной группами заказчика. Например, к детской и подростковой одежде не стоит предъявлять повышенные эксплуатационные требования, в то же время для средней и старшей возрастной группы значимость их возрастает. Влияет на значимость этих требований и вид изделия, его назначение.
Например, зимнее пальто и летнее платье, а с другой стороны: повседневная бытовая одежда или специальная одежда одноразового использования. В то же время к рабочей одежде, предназначенной для защиты от механических повреждений, а также, например, корсетным изделиям, предъявляют повышенные эксплуатационные требования. Эти требования зависят от качественных характеристик применяемых материалов (основных и скрепляющих), фурнитуры.
Технико-экономические требования характеризуют эффективность процесса проектирования конструкций одежды, а также влияют на технологические процессы изготовления одежды. Основными показателями этой группы требований являются: возможность применения методов стандартизации (типизации, унификации, агрегатирования и др.) при проектировании и изготовлении одежды; разработка технологичных конструкций одежды; повышение экономичности процессов проектирования и изготовления; выбор наиболее целесообразных и эффективных методов проектирования одежды.
На технико-экономические требования влияет вид услуг и организационно-технический и инженерный уровень развития предприятия, объемы производства.
В заключение раздела возможные пути реализации требований приводят в табличной форме (таблица 1.3), в которой могут быть рассмотрены только пути реализации тех требований, которые в разделе 1.1.4. получили более низкую оценку в соответствии с заданным уровнем качества.
Таблица 1.3 – Пути реализации требований к показателям качества одежды (пример)
| Наименование требований |
Пути реализации |
| 1 |
2 |
| 1. Социальные |
Организация или усиление маркетинговой службы на предприятии, повышение квалификации работников маркетинговой службы. По возможности организация сети собственных магазинов предприятия. Для показателя К111 - периодическое изучение спроса потребителей на изделия, изготовляемые предприятием. Для К211 - повышение всех показателей качества одежды до достижения процента удовлетворенности, соответствующего очень высокому уровню качества (см. раздел 1.1.4). Для К311 - то же что и для К111 , а также использование в работе предприятия классификации зрительно подобных типовых фигур. |
| 2. Функциональ- ные |
Функциональные показатели качества формируются в первую очередь на стадии технического предложения и обеспечиваются при выборе фасонов одежды, выполнении адаптационного анализа на инженерном уровне, использовании классификации зрительно-подобных типовых фигур |
| 3. Эстетические |
Реализация этих показателей зависит от квалификации исполнителей. Ее повышение возможно за счет посещения выставок, передовых предприятий, дополнительного обучения и переобучения кадров, введение должности художника или художника-консультанта. Для повышения товарного вида изделий необходимо предусмотреть комплекс мероприятий по повышению технологической подготовки производства. |
| 4. Эргономи-ческие |
Обязательная проверка и отработка конструкций одежды в материале. Использование наиболее современных и эффективных методов оценки конструкций одежды на антропометрическое соответствие, грамотное конфекционирование материалов в пакет одежды, в определенных случаях - организация опытной носки изделий. |
Продолжение таблицы 1.3
| 1 |
2 |
| 5. Эксплуата-ционные |
На предприятии конфекционированием должен заниматься соответствующий специалист, обеспечивающий грамотный набор материалов и фурнитуры в пакет одежды. В полном объеме должна использоваться нормативная литература по вопросам конфекционирования материалов. |
6. Технологич- ность конструкции |
Реализация показателя обеспечивается за счет применения инженерных методов проектирования конструкции одежды, приближения фактических значений прогрессивности, трудоемкости и материалоемкости к базовым значениям. Реализуется и обеспечивается прогнозированием показателей качества на стадии эскизного проекта и отработкой показателей технологичности на стадии технического проекта. |
7. Применение методов стандартизации. |
Обеспечивается максимальным использованием отраслевых стандартов на предприятии, полной и частичной унификацией конструкций, применением типовых методов проектирования новых фасонов одежды, инженерных методов проектирования конструкций, автоматизацией процесса проектирования, а также насыщением технологического процесса автоматическим и полуавтоматическим оборудованием и др. |
| 8. Экономичность |
Реализация требований обеспечивается сокращением производственного цикла конструкторской и технологической подготовки производства, общих затрат на проектирование изделий, а также непроизводственных расходов предприятия и др. |
Следует иметь в виду, что примеры в таблице 4 даны в общем виде. Детальное определение путей реализации требований к показателям качества осуществляется в соответствии с результатами разделов 1.1.1 и 1.1.4 для каждой конкретной проектной ситуации. Далее записывается задание на разработку изделия в виде таблицы 1.4.
Таблица 1.4 – Задание на разработку СМКФ женского пальто (пример)
| № п/п |
Показатель |
Значение показателя |
| 1 |
2 |
3 |
| 1 |
Вид изделия |
женское пальто |
| 2 |
Назначение изделия |
повседневное |
| 3 |
Сезон |
весна-осень |
| 4 |
Тип производства |
Предприятие сервиса |
| 5 |
Климатическая зона |
11 |
| 6 |
Пол |
женский |
| 7 |
Возраст |
средний, 30-45 лет |
| 8 |
Размеры |
158-96-104 – эталонная фигура и все фигуры, входящие в этот класс зрительно подобных типовых фигур (152-88-96; 164-96-104) в соответствии [3] |
| 9 |
Уровень качества изделия |
высокий |
1.2 Техническое предложение
В разделе осуществляется анализ направления моды, поиск и разработка новых фасонов одежды, художественно-конструктивный анализ проектируемого фасона изделия, адаптационный анализ и окончательный выбор методов проектирования конструкции одежды.
В этом же разделе может выполняться:
· разработка рационального гардероба;
· определение типовых вариантов членения поверхности изделия для
разработки на стадии технического проекта исходной модельной конструкции и др.
Эти виды работ выполняются после раздела 1.2.1 под номером 1.2.2.
1.2.1 Художественное проектирование фасонов одежды
В разделе описывается направление моды на текущий или перспективный период, ссылаясь на просмотренные журналы моды. Раздел представляется в виде анализа и поэтому в записке представляется очень кратко, путем перечисления модных художественно-конструктивных показателей (покрой, силуэт, силуэтная геометрическая форма, членение поверхности изделия, фактура, волокнистый состав и цвет материалов, длина изделия и т.д.) на рассматриваемый период времени без переписывания текста из журналов мод.
В разделе или в приложении приводятся эскизы модных фасонов проектируемых видов одежды в стилизованном виде, кодируя каждый фасон обозначением Мi (М1 , М2 … Мi), принимая i = 10-12. Выполняется также соответствующий лист графической части дипломного проекта. В конце раздела из представленных моделей направления моды выбирается один фасон изделия для проектирования, на который в тексте обязательно делается ссылка. Например, для проектирования выбран фасон женской куртки, представленной моделью М5 , см. рисунок 1.
При разработке семейства моделей одежды из представленных в направлении моды фасонов одежды выбирается один, который принимается за базовый фасон и также делается ссылка. Например, для проектирования семейства моделей женской куртки в качестве базового фасона выбрана модель М3 , см. рисунок 1.
При разработке промышленной коллекции выбирается не менее трех базовых фасонов. Например, для проектирования промышленной коллекции в качестве базовых фасонов женского костюма выбраны модели М5 , М7 и М8 , см. рисунок 1. При проектировании промышленной коллекции указывается базовый фасон (например, модель М5 ), относительно которого в дипломном проекте выполняется художественно-конструктивный и адаптационный анализы, а на стадии технического и рабочего проектов – разрабатывается ПКД.
1.2.2 Художественно-конструктивный анализ проектируемого фасона
Выбранный в разделе 1.2.1. фасон изделия представляется на чертеже графической модели идеальной фигуры в виде ГМО с указанием размера фигуры и масштаба. Например, проектируемый фасон женской куртки представлен на графической модели идеальной фигуры 182-84-88 на рисунке 2 в М1:8.
Анализ выполняется относительно ИФ. Предлагаемая модная форма изделий анализируется во взаимосвязи с идеальной фигурой. Анализ проводится по антропометрическим поясам фигуры, отмечая величины припусков, модные конструктивные решения, технологические приемы, используемые для создания модной формы поверхности изделия по отношению к поверхности и форме идеальной фигуры по следующей схеме [1,2]:
· характеристика вида поверхности всего изделия и его деталей. Например,
гладкой или прямой, ломаной или прямолинейной формы (складчатая, сборчатая), выпуклой или вогнутой (на каких участках);
· характеристика модели по величине (большая, средняя, малая);
· характеристика модели по силуэтным линиям. Так линия плеча характеризуется по высоте и форме (естественная, покатая, завышенная, прямая, овальная, седлообразная, естественная по длине, удлиненная, укороченная с указанием на сколько сантиметров). Приводится высота подплечика, величина расширения и специального оформления горловины, в см.
Уровень линии груди характеризуют: по уровню расположения относительно наиболее выступающих точек грудных желез (естественный, завышенный, заниженный, с указанием на сколько см); по форме и объему (уплощенная, малообъемная, среднего, большого объема, с подчеркиванием груди) с указанием ориентировочной величины прибавки к полуобхвату груди (Пг ). Например, линия груди находится на естественном месте, форма несколько уплощена, изделие малого объема, что обеспечивается величиной прибавки к полуобхвату груди Пг = 3 - 3,5 см. Уплощенная форма груди достигается уменьшенным раствором вытачки (на 0,5¸1 см), плавным оформлением ее сторон, наличием подплечика высотой 1,5 см.
Пройма характеризуется по конфигурации: округлая широкая, округлая овальная, эллипсовидная, углубленная, щелевидная, квадратная, ромбовидная. Отмечают уровень ее расположения относительно линии груди (выше и на сколько сантиметров), заднего угла подмышечной впадины (с указанием примерной величины прибавки на свободу проймы Пспр ) или линии талии (в зависимости от модели).
Линия талии может быть завышенной или заниженной, располагаться на естественном месте; быть выявленной с различной степенью: подчеркнута поясом, декоративными линиями, членениями конструктивно-декоративными линиями, вытачками; слегка обозначенная таким же способом или не подчеркнутая. Степень прилегания определяют с указанием ориентировочных величин прибавки к полуобхвату талии Пт , в см.
Аналогично рассматривается оформление изделия по линии бедер.
Линия низа по ширине может быть зауженной, равновеликой или расширенной по отношению к размерам по линии бедер, талии или груди (в зависимости от модели). Желательно дать количественную оценку (в сантиметрах), степени расширения линии низа, не забывая при этом, что этот показатель очень сильно связан с драпируемостью и жесткостью тканей. Уровень линии низа определяют также в сантиметрах относительно уровня колен. По форме линия низа может быть прямой, криволинейной, фигурной и фантазийной.
Конструкцию рукава характеризуют по его плоскостной геометрической форме в профильной и фронтальной проекциях («фонарик», прямой расширенный, типа “окорок”, фантазийный, типа “восьмерки” и т. п.). Далее отмечают форму и степень наполненности головки рукава (овальная, округлая, острая, прямоугольная, приподнятая, наполненная и т. д.). Определяют величину композиционных прибавок: к обхвату плеча (Поп ), на уровне локтя, по низу и к длине рукава (Пдрук ). Длина рукава определяется в сантиметрах относительно линии обхвата запястья (для длинного рукава) и линии локтя (для короткого).
Полученная информация необходима для выполнения адаптационного анализа, эскизного и технического проекта. Таким образом, в результате этого анализа представляется информация о:
· способах достижения формы внешней поверхности новой модели относительно фигуры манекенщицы (идеальной фигуры);
· способах оформления срезов, определяющих силуэтные линии формы изделия (плечевые, проймы, боковые, вытачки, рельефы и т.д.).
· комплексе величин композиционных прибавок, характеризующих форму изделия;
· доминирующих композиционных прибавках;
· доминирующих элементах моды [3-5],
· психологическом центре моды [14].
Результаты художественно-конструктивного анализа целесообразно свести в таблицы, форма которых представлена в приложении 1 (таблицы П1.4 и П1.5). Следует иметь в виду, что выявленные доминирующие элементы моды должны входить в число отмеченных в разделе 1.2.1 модных художественно конструктивных показателей.
Установленная в разделе информация является исходной для:
· выполнения адаптационного анализа;
· определения на стадии эскизного проекта эстетических показателе качества;
· выбора конкретных величин прибавок на стадии технического проекта;
· разработки модельной конструкции на стадии технического проекта.
1.2.3 Антропометрический анализ фигур
Антропометрический анализ состоит из двух частей [1,2]:
· Определения пути преобразования выбранного для проектирования фасона изделия в разделе 1.2.1;
· Детального антропометрического анализа.
Определения пути преобразования проектируемого фасона изделия. Вариантами пути преобразования проектируемого фасона изделия могут быть:
· Оставить без изменения;
· Адаптировать;
· Разработать предпочтительный вариант фасона изделия.
Путь преобразования определяется на основе расчета коэффициента стройности фигуры потребителя или заказчика.
Раздел начинают с указания варианта технологической цепочки выполнения антропометрического анализа:
· «Идеальная фигура – типовая фигура» (ИФ®ТФ) при изготовлении одежды по образцам, малыми партиями и массовом производстве одежды;
· «Идеальная фигура – типовая фигура – конкретная фигура» (ИФ®ТФ®КФ) при изготовлении проектируемого вида одежды по индивидуальным заказам;
· «Типовая фигура – конкретная фигура» (ТФ®КФ) в соответствии с индивидуальным заданием.
После этого указываются размеры сравниваемых фигур, способ сравнения, приводятся их чертежи в виде ГМФ и обязательно дается ссылка на номера рисунков, где они изображены с указанием масштаба. Например, антропометрический анализ выполняется путем сравнения идеальной фигуры 182-84-88 с типовой 158-100-108 по проекционным/дуговым размерным признакам. Чертежи ГМФ приведены на рисунках 3 и 4 в М1:8. При использовании дуговых размерных признаков указывается метод конструирования.
Далее определяют коэффициент стройности по формуле:
Кс1 = Об / Р или Кс2 = dпб /Р,
где: Об – обхват бедер; Р – рост фигуры, dпб –поперечный диаметр бедер. Вариант преобразования проектируемого фасона изделия определяют по таблице 1.5. Рассчитанное значение коэффициента стройности определяет последовательность дальнейших действий в дипломном проекте.
Таблица 1.5 – Классификация фигур потребителей по группам стройности
| Значения Кс1 |
Значения Кс2 |
Значения Ксв |
Значения Ксн |
Группа стройности |
Путь преобразования фасона изделия |
| £ 0,59 |
£ 0,199 |
³0,805 0,805¸0,818 (для ТФ) |
£ 0,394 0,374¸0,394 (для ТФ) |
Стройные фигуры |
Исходный фасон изделия не изменяется |
| 0,591 ¸0,684 |
0,199¸0,221 |
0,804 ¸0,769 |
0,395¸0,438 |
Условно-стройные фигуры |
Для большинства силуэтных геометрических форм исходного фасона изделия требуется адаптация |
| > 0,684 |
> 0,221 |
£ 0,768 0,681¸0,768 (для ТФ) |
³ 0,439 0,439¸0,530 (для ТФ) |
Нестройные фигуры |
Для большинства силуэтных геометрических форм исходного фасона изделия требуется разработка предпочтительного варианта |
Первый вариант действий. Если Кс1 £ 0,59 или Кс2 £ 0,199, Ксв = 0,805¸0,818, Ксн = 0,374¸0,394, то фигура потребителя или заказчика относится к стройным фигурам. В этом случае возможны два решения в зависимости от вида услуг и типа производства:
изделие изготовляется по индивидуальным заказам, поэтому антропометрический анализ фигуры производится, так как конкретная фигура заказчика может иметь особенности строения. После выполнения антропометрического анализа, если фигура не имеет особенностей строения, фасон проектируемого изделия не изменяется и пункт 1.2.4 не выполняется. Если фигура будет иметь особенности строения – фасон изделия адаптируется в разделе 1.2.4.
· для других видов услуг и промышленного изготовления одежды антропометрический анализ не выполняется, проектируемый фасон не меняется и следующим разделом для выполнения будет пункт 1.2.5.
Второй вариант действий. Если значения коэффициента стройности попадают в интервалы 0,591 < Кс1 £ 0,684 и 0,199< Кс2 £0,221, Ксв = 0,769¸0,804, Ксн = 0,395¸0,438, то фигура потребителя относится к условно-стройным, а проектируемый фасон изделия в большинстве случаев требует адаптации в разделе 1.2.4 после выполнения антропометрического анализа.
Третий вариант действий. Если Кс1 > 0,684 или Кс2 > 0,221, Ксв = 0,681¸0,768, Ксн = 0,439¸0,530, то фигура потребителя или заказчика относится к нестройным фигурам. Для нее выполняется детальный антропометрический анализ. С учетом определенных особенностей строения фигуры разрабатывается предпочтительный вариант фасона изделия в соответствии с методическими указаниями п. 1.2.4.
Сравнительный анализ фигур проводится в форме таблицы 1.6 в соответствии с выбранным методом конструирования одежды [15-18,21-24,46-53], но наиболее целесообразно использовать проекционные размерные признаки.
В таблице 1.6 указывают размеры идеальной фигуры (графа 4) и типовой (графа 5). Рассчитывают разность между соответствующими размерными признаками идеальной (Рифi ) и типовой (Ртфi )фигур по формуле:
D1 = Рифi - Ртфi .
Таблица 1.6 – Анализ измерений идеальной (размер), типовой (размер) и конкретной фигур
| № п/п |
Наименование размерного признака |
Условное обозначение |
Анализ измерений фигур, см |
||||
| ИФ |
ТФ |
D1 |
КФ |
D2 |
|||
| 1 |
2 |
3 |
4 |
5 |
6 |
7 |
8 |
Если сравнивают две фигуры: идеальную и типовую, то в таблице 1.7 присутствуют графы 1, 2, 3, 4, 5, 6. Если изделия предусматривают изготовления по индивидуальным заказам, то в таблице 1.6 присутствуют все графы, а анализ проводят последовательно, в виде двух этапов. Сначала определяют особенности и отличии строения типовой фигуры относительно идеальной фигуры, а затем конкретной (Ркфi ) – относительно типовой по формуле:
D2 = Ртфi – Ркфi .
После заполнения таблицы 1.6 проводят анализ отклонений. Должны учитываться величина отклонения Di ³ | ± iб |, где iб – величина интервала безразличия соответствующего размерного признака. Для небольших по величине размерных признаков (Шп, Шг, Шс, Вг) значительными будут отклонения ±0,3-0,5 см, для других размерных признаков учитывают отклонения большие по абсолютной величине 0,5 см. В тексте раздела указывают причину отклонения (наличие жироотложений, нарушение пропорций, осанки и др.).
Кроме того, дается визуальная характеристика конкретной фигуры и её внешнего образа: пол, возраст, основные габариты, цвет волос, глаз, лица, темперамент и др.
Темперамент человека характеризуется особенностями его психической деятельности, а именно быстротой протекания процессов возбуждения и торможения. Различают 4 типа темперамента: холерический, сангвинический, флегматический, меланхолический. Для холерического типа людей характерно быстрое возбуждение и медленное торможение эмоциональных реакций. Флегматик является полной противоположностью холерика.
Сангвинический тип темпераметра является наиболее сильным и характеризуется быстро протекающими процессами возбуждения и торможения. Меланхолический темперамент противоположен сангвиническому. В чистом виде темперамент в человеке проявляется достаточно редко. В литературе [19] имеются сведения о влиянии типа темперамента на манеру одеваться, а именно на отношение к моде, стилю, форме, покрою одежды; цветовую гамму материалов и аксессуаров.
Пользуясь литературой [1-3] определяют форму подбородка и овала лица, форму шеи, плечевого пояса по высоте и развороту, форму и высоту расположения грудных желез, живота, спины, ягодиц. бедер, тип осанки фигуры. Затем отмечают степень развития жироотложений и мускулатуры и места их наибольшего сосредоточения, форму рук (переднее, отвесное, заднее положение) и ног, тип пропорций фигуры.
При определении типа пропорций оценивают длину туловища, длину ног и размер головы по отношению к длине тела, положение линии талии, наибольший поперечный диаметр бедер во фронтальной плоскости и его расположение относительно линий обхвата талии, бедер, лобка. Оценивается длина голени и бедер.
Учитывая, что особенности строения фигуры в наибольшей степени проявляются в ее фронтальной и профильной проекциях, чертеж графической модели типовой фигуры заданного размера для наглядности может быть совмещен с чертежом графической модели идеальной фигуры.
Далее во фронтальной проекции отмечают ширину плеч по её поперечному диаметру, ширину талии, бедер, ширину ног на уровне колена, икроножной мышцы, щиколотки в сравнении с идеальной фигурой аналогично по соответствующим поперечным диаметрам.
В профильной проекции сравнивают переднезадние диаметры идеальной и типовой фигур и величины проекционных размерных признаков, определяющих степень выступания грудных желез, живота, уровень наиболее выступающей точки живота, положения корпуса, глубины талии первую и вторую.
В результате анализа должна быть определена доминирующая особенность строения типовой или конкретной фигуры.
Если сравнение фигур происходит в последовательности идеальная ® типовая ® конкретная фигура, то после определения доминирующих особенностей строения последней фигуры, их наносят на чертежи графических моделей типовой и идеальной фигур.
Чертеж совмещенных контуров графических моделей типовой идеальной и конкретной фигур должен быть выполнен четко, грамотно и с высокой точностью, с указанием масштаба и размера фигур. В подрисуночной надписи обязательно дается условное обозначение линий совмещенных контуров фигур.
При проектировании изделий, предназначенных для изготовления в условиях массового производства, пользуются классификацией зрительно подобных типовых фигур [3], указывая размер эталонной типовой фигуры, процент её встречаемости, размеры фигур, входящих в класс и общий процент встречаемости этих фигур в классе. При выполнении антропометрического анализа графическая модель типовой фигуры может быть заменена её эталонной типовой фигурой.
В заключение антропометрического анализа должны быть сделаны выводы:
· какие из особенностей строения фигуры, на которую разрабатывается проект, являются доминирующими;
· какие из доминирующих особенностей строения фигур будут оказывать влияние на антропометрическое соответствие и какие из них, в первую очередь, необходимо учесть при адаптации проектируемого фасона к фигуре потребителя;
· какие из доминирующих особенностей строения фигуры требуют разработки предпочтительных вариантов художественно-конструктивных решений изделия.
В том случае, если проектируемый фасон изделия не изменяется (т.е. фигура попадает в первую группу стройности и детальный антропометрический анализ не выполняется), он представляется на чертеже заданной типовой фигуры, о чем в тексте записки делается ссылка. Например, проектируемый вариант фасона женской куртки представлен на типовой фигуре 164-88-92 в М1:8 на рисунке 5.
1.2.4 Адаптационно-конструктивный анализ проектируемого фасона одежды
Этот раздел выполняется в случаях, если:
· заданная фигура относится к первой группе стройности, изделие должно быть изготовлено по индивидуальным заказам и по результатам пункта 1.2.3. фигура потребителя имеет значительные особенности строения. В случае если предлагаемый для проектирования фасон изделия не меняется необходимо сразу же перейти к пункту 1.2.5.
· заданная фигура относится ко второй и третьей группе стройности. По результатам пунктов 1.2.2. и 1.2.3. определяют предпочтительные варианты художественно-конструктивных показателей изделия для заданной фигуры с учетом особенностей её строения, комбинируя которые между собой, разрабатывают адаптированные и предпочтительные фасоны изделия.
Разница между адаптированным и предпочтительным вариантом фасона изделия заключается в следующем. Адаптированный вариант представляет собой предлагаемый для проектирования фасон изделия, но несколько скорректированный за счет изменения длины изделия, изменения выреза горловины и формы воротника и др.[2].
Адаптация проектируемых фасонов одежды осуществляется в первую очередь для фигур второй группы стройности. Но может осуществляться и для третьей группы стройности, при условии, что длина проектируемого фасона не выше середины икры, а его силуэтная геометрическая форма представляет собой вытянутый прямоугольник.
Адаптацию предложенного модного фасона одежды к особенностям строения фигуры выполняют на ее графической модели по антропометрическим поясам в определенном порядке с учетом ранга ХКП (таблица 1.7).
Внутреннюю проработку художественно-конструктивного решения при адаптации фасонов одежды необходимо начинать с изменения длины изделия. Затем – параметры ширины плечевого пояса, степень расширения изделия по линии низа. Для полуприлегающего силуэта необходимо корректировать степень прилегания изделия в области талии. В последнюю очередь следует изменять параметры горловины, вид застежки, форму, расположение и вид карманов.
Таблица 1.7 – Коэффициенты весомости художественно-конструктивных показателей
| Адаптированный вариант конструкции |
Предпочтительный вариант конструкции |
||||||
| Ранг |
Хi |
Наименование фактора |
Кi |
Ранг |
Хi |
Наименование фактора |
Кi |
| 1 |
2 |
3 |
4 |
5 |
6 |
7 |
8 |
| 1 |
Х2 |
Длина изделия |
0,21 |
1 |
Х1 |
Силуэтная геометрическая форма |
0,16 |
| 2 |
Х3 |
Ширина плечевого пояса |
0,18 |
2 |
Х2 |
Длина изделия |
0,15 |
| 3 |
Х8 |
Ширина изделия по линии низа |
0,13 |
3 |
Х4 |
Членение поверхности |
0,12 |
| 3 |
Х9 |
Степень прилегания изделия в области талии |
0,13 |
4 |
Х3 |
Ширина плечевого пояса |
0,09 |
| 4 |
Х5 |
Форма горловины |
0,11 |
4 |
Х5 |
Форма горловины |
0,09 |
| 5 |
Х10 |
Форма воротника |
0,10 |
4 |
Х10 |
Форма воротника |
0,09 |
| 6 |
Х6 |
Вид застежки |
0,07 |
5 |
Х6 |
Вид застежки |
0,08 |
| 6 |
Х7 |
Вид, форма и расположение кармана |
0,07 |
6 |
Х7 |
Вид, форма и расположение кармана |
0,07 |
| - |
- |
- |
- |
7 |
Х11 |
Форма рукава |
0,06 |
| - |
- |
- |
- |
8 |
Х8 |
Ширина изделия по линии низа |
0,05 |
| - |
- |
- |
- |
9 |
Х9 |
Степень прилегания изделия в области талии |
0,04 |
Предпочтительный вариант фасона одежды представляет собой изделие, которое, с одной стороны, скрывает недостатки фигуры и выгодно подчеркивает ее достоинства, а, с другой, в художественно-конструктивном построении которого использованы основные тенденции текущей или перспективной моды [2].
При разработке предпочтительных вариантов конструкций на третье место выступает изменение членения поверхности изделия (см. таблицу 1.7). Предпочтительные варианты художественно-конструктивных показателей определяются следующим образом. В таблицу 1.8 заносят художественно-конструктивные показатели проектируемой модели (силуэт, покрой и далее по антропометрическим модулям в профильной и фронтальной проекции, см. гр.2).
Так как фасон разработан с учетом направления моды, эти показатели являются элементами эстетического соответствия. Предпочтительные варианты фасонов разрабатываются в первую очередь для фигур третьей группы стройности и в большинстве случаев представляют собой новый фасон изделия. В графе 3, напротив каждого выделенного в графе 2 художественно-конструктивного показателя ставят знак функционального соответствия: «+» или «–». Знак «+» обозначает художественно-конструктивные решения, которые являются предпочтительными для заданной фигуры. Знаком «–» обозначают художественно-конструктивные показатели, которые таковыми не являются.
Таблица 1.8 – Определение предпочтительных художественно-конструктивных решений проектируемого фасона изделия
| № п./п. |
Художественно-конструктивные показатели эстетического соответствия |
Оценка степени функционального соответствия ХКП графы 2 |
Принятые предпочтительные художественно- конструктивные показатели |
| 1 |
2 |
3 |
4 |
На основе анализа граф 2 и 3, в графу 4 записывают только элементы функционального художественно-конструктивного решения со знаком «+». Напротив решений эстетического соответствия, которым присвоен знак «–», записывают предпочтительные художественно-конструктивные показатели фасона одежды на соответствующих антропометрических модулях, для которых в разделе 1.2.3. определены значительные отклонения в строении фигуры потребителя. Пример заполнения таблицы приведен в приложении 1, таблица П1.6.
Анализируя решения графы 4 и комбинируя их между собой, осуществляют адаптацию предлагаемого в п.1.2.2. фасона изделия для проектирования, или разрабатывают предпочтительный вариант фасона, который представляют на графической модели типовой или конкретной фигуры. Принятый для проектирования адаптированный вариант фасона одежды оцениваются на степень адаптированности, а предпочтительные варианты – на степень предпочтительности изделия к фигуре потребителя в форме таблицы 1.9.
При разработке адаптированного варианта фасона изделия в таблице 1.9 отсутствует графа 4, а для предпочтительного – графа 3. Наличие или отсутствие адаптированных или предпочтительных художественно-конструктивных решений отмечают соответственно знаком «+» или «-».
Таблица 1.9 -Оценка проектируемого варианта фасона по степени адаптированности
| № п/п |
Наименование ХКП рассматриваемого фасона изделия |
Адаптированные ХКПАi |
Предпочтительные ХКППi |
| 1 |
2 |
3 |
4 |
Далее рассчитывают степень адаптированности (Ка) или степень предпочтительности (Кп) проектируемого фасона по формулам:
Ка = å ХКПАi / å ХКПi ; Кп = å ХКППi / å ХКПi. ;
где å ХКПi – общее число ХКП проектируемого фасона изделия; å ХКПАi – сумма ХКП, используемых для адаптации проектируемого фасона изделия; å ХКППi – сумма ХКП, участвующих в разработке предпочтительного фасона изделия.
Расчетные значения Ка и Кп сравнивают с нормативными значениями. Фасон изделия считается адаптированным с высокой степенью, если Ка £ 0,3; имеет среднюю степень адаптации, если 0,3 <Ка < 0,5; предпочтительным – если Кп ³ 0,5.
В конце раздела на чертеже ГМФ типовой фигуры представляется разработанный адаптированный или предпочтительный вариант фасона изделия и обязательно на рисунок дается ссылка. Например, адаптированный вариант женского костюма представлен на типовой фигуре 158-100-108 в М1:8 на рисунке 5. Допускается показывать измененные контуры художественно-конструктивных показателей на чертеже ГМО другими линиями или цветом.
1.2.5 Выбор методов проектирования конструкций фасонов одежды
Выбранный (п. 1.2.2), адаптированный или предпочтительный (п. 1.2.4.) фасон проектируемого изделия, инженерно заданный в виде ГМО на типовой фигуре потребителя, содержит конкретную информацию о художественно-конструктивном построении фасона. Из технического задания известны требования, предъявляемые к показателям качества, а также уровень качества проектируемого изделия. Это позволяет определить методы проектирования и их последовательность на стадиях ЭП, ТП, РП, обеспечивающие наиболее эффективную технологию процесса [2].
Для изделий сложных фасонов перспективной моды скорее всего будут использоваться методы конструктивного моделирования одежды, основанные на разработке новых первичной конструкции (ПК), затем базовой конструкции (БК) и модельной конструкции (МК) с неоднократной их отработкой в материале на эргономическое и эстетическое соответствие, а также возможен поиск модной формы изделия в материале на стадии ЭП.
Для изделий текущей моды могут использоваться уже ранее разработанные БК изделия или ИМК.
Так, например, для изделий сложного фасона перспективной моды, изготавливаемых по индивидуальным заказам, последовательность выбранных методов проектирования может быть представлена следующей технологической цепочкой:
ОИ1 ® ПК ® ОИ2 ®БК ® МК ® ОИ3 ®ЛК® ГЛИ
В соответствии с этой технологической цепочкой на стадии ЭП осуществляется изготовление макета изделия (ОИ1 ) для поиска проектируемой формы; на стадии ТП – разработка первичной конструкции (ПК); изготовление образца изделия (ОИ2 ) и разработка базовой конструкции (БК); разработка МК методами конструктивного моделирования и проверка ее в материале (ОИ3 ). На стадии РП происходит разработка лекал изделия (ЛИ) способами, принятыми при изготовлении одежды по индивидуальным заказам и при необходимости осуществляется градация лекал изделия (ГЛИ).
При разработке СМК, например по образцам, эта цепочка будет выглядеть по другому:
СМКФ ® БК ® СМК ® ОИ® ЛК® ГЛИ®ОЭИ
ЭП ® разработка фасонов СМК ® оценка их на показатели качества;
ТП ® разработка модельных конструкций семейств с использованием методов типового проектирования на основе БК или ИМК;
РП ® разработка лекал изделия методами, принятыми в массовом производстве.
Написание этого раздела требует системных знаний процесса проектирования конструкций одежды и методов выполнения различных видов работ на стадиях ТЗ, ТПр, ЭП, ТП, РП, получаемых при изучении дисциплины «Художественное конструирование одежды для индивидуального потребителя», «Конструкторская подготовка производства», «Моделирование и оптимизация технологических процессов» и «Системы автоматизированного проектирования одежды».
1.3 Эскизный проект
На стадии эскизного проекта осуществляется разработка семейств и серий модельных конструкций, промышленных коллекций; выполняется их оценка по показателям качества; производится конфекционирование материалов; дается детальное описание утвержденных к проектированию фасонов одежды; эскизная проработка их деталей. При необходимости для изделий особо сложных форм осуществляется их отработка в материале.
1.3.1 Разработка фасонов коллекции или семейства моделей
Разработка фасонов семейств модельных конструкций (СМКФ ) осуществляется для изделий, изготавливаемых в массовом производстве или по образцам и малыми партиями в условиях изготовления одежды по индивидуальным заказам. Серии моделей в настоящее время в виду большой наполненности рынка одеждой разрабатываются редко и преимущественно на промышленных предприятиях большой или средней мощности.
Под модной коллекцией подразумевают комплект моделей одежды, объединенных одним стилевым направлением, представленный на идеальных фигурах манекенщиц и состоящий как из одного, так и из различных по ассортименту изделий.
Промышленная коллекция разрабатывается на заданный ассортимент изделия одного стилевого направления, сориентированная на возможности швейных предприятий, предназначенная и представленная на типовых потребителей.
Отличие между серией (СерМКФ ) и семейством (СМКФ ), с одной стороны, и промышленной коллекций, с другой, заключается в том, что СерМКФ и СМКФ могут разрабатываться для периодов текущей моды, промышленная коллекция всегда связана с перспективным направлением моды. Отличие между модной коллекцией моделей одежды и промышленной заключается только в возможности первой разрабатываться на основе единичных фасонов, т.е. без использования типовых методов проектирования. Технологии и методы разработки семейств, серий и промышленных коллекций детально изложены в [2].
При разработке семейств и серий фасонов модельных конструкций, а также промышленных коллекций используют методы типового проектирования или методы агрегатирования (второе название), использование которых основывается на следующих принципах:
· полная геометрическая и функциональная взаимозаменяемость деталей и узлов изделий СМК (стадия технического проекта);
· высокая технологическая однородность модельных конструкций деталей СМКФ (стадия эскизного проекта);
· высокая степень художественно-конструктивного различения фасонов СМК между собой (стадия эскизного проекта);
· инженерное задание фасонов СМКФ в виде их ГМО (стадия эскизного проекта).
В промышленности используются три метода агрегатирования: на одной БК; с использованием типовых основных деталей изделия; с использованием унифицированных зон деталей спинки, полочки, рукава. Подробно о методах агрегатирования изложено в [2]. Каждый из этих методов содержит набор декоративно-конструктивных элементов (ДКЭ) или художественно-конструктивных показателей (ХКП), за счет которых в основном обеспечивается художественно- конструктивное разнообразие фасонов СМК.
В дипломном проекте используется первый метод типового проектирования семейства – на одной БК. Другие методы более трудоемки и их использование возможно по индивидуальному заданию или при специальных разработках. Графически разработка СМКФ
одежды на одной БК может быть представлена следующим образом:
, где число фасонов в семействе n = 3¸15.
В число ДКЭ входят как унифицированные (частично или полностью) детали, так и неунифицированные. К унифицированным ДКЭ относятся воротники, манжеты, форма выреза горловины, застежка, карманы, пояса, паты и т.д. Детали БК спинки, полочки, рукава изменению не подвергаются: не вводятся членения, не практикуется изменение длины рукава или длины изделия. Поэтому достичь высокого художественно-конструктивного разнообразия фасонов СМКФ только за счет применения унифицированных деталей подчас бывает достаточно сложно.
В связи с этим используют такие ДКЭ, которые нельзя унифицировать, но значительно влияющие на зрительное различение одного фасона СМКФ от другого. К ним относятся: цвет, рисунок, как основного материала, так и отделочного, различная по цвету, форме и виду материала фурнитура, различные отделочные элементы. Использование этих показателей позволяет значительно повысить степень художественно-конструктивного разнообразия проектируемых фасонов СМК. При этом целесообразно пользоваться литературой [1-3].
Разработка промышленных коллекций подчиняется следующим требованиям:
· фасоны МК должны быть объединены единым эстетическим и техническим замыслом и отражать направление моды;
· МК коллекции разрабатываются на основе БК или ИМК, объединены в группы одновременного запуска в поток;
· промышленная коллекция моделей определенного ассортимента формируется на основе потребительского спроса и размерно-ростовочного и возрастного состава обслуживаемого населения;
· средняя сложность МК коллекции должна соответствовать средней сложности обработки, принятой на предприятии, при этом БК могут быть различных покроев и членений;
· МК коллекции должны максимально обеспечить конструктивно- технологическую однородность моделей, которая достигается за счет использования унифицированных деталей и узлов, типовых методов их обработки, однородных по свойствам материалов и фурнитуры.
Эти требования включаются в технические задания для моделирующей организации на создание промышленной коллекции. Этим же требованиям, только более детализированным и конкретным, отвечают серии и семейства МК, которые разрабатываются в экспериментальных цехах предприятия. Серии и СМКФ считаются рациональными, если показатели их качества (как потребительские, так и технико-экономические) находятся в заданных нормативных пределах, о чем будет изложено в п. 1.3.2.
Разработка промышленной коллекции или серии моделей . Проектирование промышленных коллекций моделей одежды выполняется с определенной целью. Наиболее распространенной является апробация новой моды представление на идеальных фигурах манекенщиц для последующего изготовления модных изделий небольшими партиями. В то же время, коллекции могут разрабатываться, например, для изучения спроса населения. Изделия в них могут быть остро модными и соответствовать текущей моде, они могут быть разработаны и представлены для различных возрастных групп населения и групп стройности. Промышленные коллекции разрабатываются в условиях предприятий различных типов.
Проектирование промышленных коллекций одежды осуществляется в следующей последовательности:
· Анализ журнал мод для заданного вида одежды;
· Выделение наиболее модных или предпочтительных фасонов одежды и принятие их за базовые (см.п.1.2.1);
· Определение форм изделия, соответствующих выбранным базовым фасонам и принятие их за базовые. При этом под базовой формой (БФ ) изделия понимается плоскостное отображение реальной (а не стилизованной) силуэтной формы изделия в строго фронтальной проекции.
· Определение геометрической силуэтной формы одежды (ГСФ ), которая представляет собой стилизованное отражение силуэта изделия на плоскости с использованием для ее графического представления известных геометрических фигур или их частей. Как БФ, так и ГСФ отражают различные варианты силуэтных форм одежды для каждого из основных силуэтов одежды. То есть, например, для прямого силуэта может существовать несколько БФ и несколько ГСФ. Однако число БФ всегда больше, чем число ГСФ, а несколько базовых форм изделия может быть заменено одной ГСФ, т.е. условно можно представить, что ГСФ = åБФ;
· определение по базовым формам изделий соответствующих им базовых конструкций;
· создание промышленной коллекции новых фасонов одежды на основе разработки нескольких СМКФ (семейств модельных конструкций, представленных в виде фасонов) для всех выделенных изделия первым методом агрегатирования.
По выбранным в разделе 1.2.1 базовым фасонам изделий определяются их БФ, ГСФ, дается краткое описание и схема основных деталей, а также присваивается код для каждой БК (например, БК1 , БК2 , БК3 ). Полученные данные заносятся в таблицу 1.10.
Таблица 1.10 – Каталог базовых конструкций (указать вид изделия)
| № п/п |
БФ изделия (рисунок) |
ГСФ изделия (рисунок) |
Краткое описание БФ |
Базовая конструкция (рисунок) |
Код БК |
||
| Спинка |
Полочка |
Рукав |
|||||
| 1 |
2 |
3 |
4 |
5 |
6 |
7 |
8 |
| Силуэт ГСФ Покрой Членение |
|||||||
Таким образом, промышленная коллекция или серия моделей одежды использует несколько БК. Однако они могут быть разработаны и с использованием исходных модельных конструкций (ИМК). При этом последовательность разработки промышленных коллекций будет несколько иной:
· Анализ журнал мод для заданного вида одежды;
· Выделение наиболее модных или предпочтительных фасонов одежды и принятие одного из них за базовый;
· Выбор базового фасона и по нему базовой формы изделия;
· Определение типовых, предпочтительных или модных вариантов членений поверхности для базовой формы изделия;
· Разработка нескольких ИМК для выбранной базовой формы изделия;
· Разработка для каждой ИМК семейства модельных конструкций.
Графически разработку СерМК и промышленных коллекций с использованием различных ИМК можно представить, как:

где n – число МК, разработанных на одной ИМК (или БК), k – число ИМК (БК) в серии. Причем число n для каждой ИМКi может быть разным.
БК или ИМК являются неизменными технологическими единицами для каждой группы фасонов МК в серии и характеризуются наличием технологически однородных узлов изделий (отработка узлов «воротник-горловина», «пройма-рукав», низа рукавов, застежки, карманов и т. п.).
Разработанная коллекция представляется в цвете на втором листе графической части и в записке, о чем делается соответствующая ссылка в тексте. При разработке модной или промышленной коллекции одежды рассчитывается коэффициент её художественно-конструктивного разнообразия:
Кхкр = åХКПор mi / åХКПо (1.1),
где åХКПор – сумма ХКП, определяющие художественно-конструктивное разнообразие, т.е. встречающиеся в каждом фасоне коллекции один раз, в знаменателе – общее число ХКП всех фасонов семейства, mi – коэффициент весомости ХКП (см. приложение, таблица П3).
Для модной коллекции одежды Кх должен быть равен или больше нормативного Кхкр = 0, 8.
Разработка семейства модельных конструкций. Исходной информацией для разработки СМКФ служит базовый фасон одежды, выбранный в разделе 1.2.1. Последовательность разработки СМКФ такая же, как была изложена выше, только разрабатывается одно семейство. Данные вносятся в таблицу 1.10, в которой не используются графы 1 и 8.
Базовый фасон проектируемого изделия представляют в виде чертежа ГМО на заданном размере типовой фигуры в масштабе М 1:8 или М 1:10 в двух фронтальных проекциях: вид сзади и вид спереди. Далее в цвете разрабатывают фасоны СМКФ в количестве n = 3¸6 единиц также в виде ГМО. Для фигур условно стройных или нестройных целесообразно ввести третью проекцию в ГМО – профильную. Разработанные ГМО семейства представляют в записке, о чем обязательно делается ссылка. Например, разработанные фасоны СМКФ в виде ГМО приведены на рисунке 6 в М1:8.
В заключение дается краткое описание фасонов СМКФ с анализом их отличий от базового фасона.
Разработанное СМКФ представляется также и на втором листе графической части ДП, на котором приводятся чертежи ГМО трех фасонов СМКФ (вид спереди и сзади) в масштабе М1:5 или М1:6 вместе с таблицами 1.12 и 1.16 с расчетными и нормативными значениями показателей качества семейства (таблицы см. в п. 1.3.2).
1.3.2 Оценка разработанных фасонов одежды по показателям качества
Фасоны СМКФ , представленные в виде чертежей ГМО, оцениваются по показателям:
· художественно-конструктивного разнообразия (Кхкр);
· степени новизны (Км ) и насыщенности проектируемого фасона одежды модными элементами (Кмэ);
· унификации (Ку);
· материалоемкости (а, å);
· технологической однородности ( Кто).
Если в дипломном проекте предусмотрена разработка проектно-конструкторской документации на единичное изделие, например, изготавливаемое по индивидуальным заказам или для обновления, то фасон изделия оценивается по показателям Км, Кмэ, а, å. Методы оценки показателей качества одежды по ГМО детально изложены в [1,2].
Для оценки коэффициента художественно-конструктивного разнообразия составляется перечень художественно-конструктивных показателей, встречающихся в СМКФ , пример которого приведен в таблице 1.11.
Таблица 1.11 – Перечень художественно-конструктивных показателей и их встречаемость в фасонах СМКФ (пример)
| № п/п |
Наименование ХКП фасона/фасонов семейства |
Код ХКПi |
Встречаемость ХКП в фасонах семейства |
Униф. (+) или неуниф. (-) ХКП |
||||
| МК1 |
МК2 |
МК3 |
||||||
| 1 |
2 |
3 |
4 |
5 |
6 |
|||
| 1 |
Силуэт прямой |
+ |
+ |
+ |
||||
| 2 |
Силуэтная геометрическая форма - два прямоугольника |
+ |
+ |
+ |
||||
3 |
Покрой втачной |
+ |
+ |
+ |
||||
| 4 |
Длина изделия |
+ |
+ |
+ |
||||
| 5 |
Воротник “апаш”, вариант 1 |
+ |
- |
- |
||||
| 6 |
Воротник “апаш”, вариант 2 |
- |
- |
+ |
||||
| 7 |
Изделие без воротника |
- |
+ |
- |
||||
| 8 |
Вырез V-образный |
+ |
+ |
- |
||||
| 9 |
Цвет основного материала «беж» |
+ |
+ |
+ |
||||
| 10 |
Цвет отделочного материала «коричневый» и т.д. |
- |
- |
+ |
||||
| 11… |
Отделочный материал на воротнике - “клетка” и т.д. |
+ |
- |
- |
||||
Коэффициент Кхкр рассчитывается по формуле (1) раздела 1.2.1. Рассчитанный коэффициент сравнивают с нормативным (Кхкрн = 0,3):
· При Кхкрн ³ 0,3, 50% потребителей будет замечать разницу в художественно-конструктивном построении СМКФ и семейство будет обладать достаточным (удовлетворительным) художественно-конструктивным разнообразием;
· При 0,8 < Кхкрн ³ 0,5 – художественно-конструктивное разнообразие будет хорошим, так как около 70% потребителей будут замечать разницу между фасонами семейства;
· Художественно-конструктивное разнообразие будет высоким при Кхкрн ³ 0,8. Последнее нормативное значение коэффициента применяется для оценки модных коллекций моделей (см.п.1.2.1).
Следует иметь в виду, что в большинстве случаев более низкие предпочтения и ожидания художественно-конструктивного разнообразия фасонов одежды характерны для мужского населения. Поэтому для мужской одежды значения Кхкрн принимают более низкие, чем для женской одежды.
На чертеже фасонов СМКФ , представленных в виде их ГМО в разделе 1.3.1, указывают все ХКП, влияющие на их художественно-конструктивное разнообразие участвующие в соответствии с правилами инженерной графики, используя данные таблицы 1.12.
Оценка степени новизны фасона одежды характеризуется двумя показателями: степенью соответствия проектируемого фасона изделия направлению моды (Км), степенью насыщенности фасона изделия модными (Кмэ) ХКП:
Км = å ХКПi ´ Рi / åХКПi ,
где ХКПi – каждый из n художественно-конструктивных показателей семейства фасонов или одного фасона изделия;
Рi - оценка весомости каждого ХКПi. Рi принимает следующие значения:
Рi = 0 – ХКП не соответствуют направлению моды;
Рi = 0,5 – ХКП соответствуют текущему направлению моды;
Рi = 1 – ХКП полностью соответствуют перспективному направлению моды.
Полученные значения Км сравнивают с нормативными Кмн = 0,75. Если Км ³ 0,75, то проектируемый фасон изделия отвечает перспективному направлению моды. Если находится в пределах 0,5 ¸ 0,75, то проектируемый фасон изделия относится к текущей моде. Значение Км < 0,5 характеризует фасон изделия как немодный.
Оценка степени новизны проектируемого изделия дается в форме таблицы 1.12.
Таблица 1.12 – Установление коэффициентов весомостей ХКП
| № п/п |
Наименование ХКП |
Степень соответствия направлению моды, Рi в баллах |
| 1 |
2 |
3 |
В графу 2 вписывают все ХКП проектируемого фасона, а в графу 3 – их значения весомости.
Степень насыщенности фасона изделия модными ХКП определяется по формуле:
Кмэ = å ХКПi (Рi =1) / å ХКПi.
В числителе приводится сумма всех ХКП фасона изделия, имеющих бальную оценку, равную единице (по таблице 1.13). В знаменателе дается общая сумма всех ХКП семейства фасонов одежды или одного изделия.
Если рассчитанный Кмэ попадает в пределы Кмэ ³ 0,66, фасон или СМКФ имеет высокую степень насыщенности модными элементами; если 0,4 £ Кмэ< 0,66, то фасон имеет среднюю степень насыщенности модными ХКП. Если Кмэ < 0,4, то проектируемые фасоны изделий имеют низкую степень насыщенности модными ХКП.
Для расчета коэффициента унификации
в таблице 1.12 знаком «+» или «–» отмечают наличие или отсутствие унифицированных ХКП (графа 6). Пользуясь данными таблицы 1.12 определяют коэффициенты унификации как для каждой модели СМКФ
(Куi), так и общий для всего СМКФ
(Куo): Куi = SУi / nобщ i,
,
где SУi – общее число унифицированных деталей каждой МК семейства; nоi – общее число деталей МК в комплекте лекал где n – число МК в семействе. При этом всегда Ку £ 1.
Расчетные значения Кур сравнивают с нормативным Кун, принимая Кун = 0,3 для промышленного производства. Желательно, чтобы Кур ³ Кун.
Если на предприятии используется разработка лекал из картона, то эффективность разработки СМКФ может быть определена по коэффициенту повторяемости (Кпi) как для каждой МК, так и для всего семейства (Кпо):
Кпi= nкр/ nоi; Кпo = å nкр /å nоi;
где nкр – число деталей МКi в крое. Чем чаще одна и та же деталь конструкции (лекало детали) используется в СМКФ , тем выше эффективность разработки СМКФ по этому показателю, так как общее количество лекал в комплекте лекал становится меньше. Коэффициент повторяемости должен быть больше единицы Кпр ³ 1.
Оценка материалоемкости проектируемых фасонов осуществляется по методике работы [12], определяя для каждой модели: аi – количество межлекальных потерь в раскладе лекал деталей изделия; Si – площадь лекал; Qi – расход материала на единицу изделия по следующим формулам:
Для моделей пальто и плащей (мужских и женских):
а = 16,7-3,8 х1 -2,8х2 +0,03½х3 ½+3х4 ;
S = 1,06-0,1х1 +0,0076х3 -0,15х4 + 0,014х5 ;
Для моделей женских платьев:
а = 15-1,3х1 -1,7х2 +0,03½х3 ½+1,6х6 ;
S = 0,53-0,05х1 +0,004 х3 + 0,0171 х5 -0,06х7 +0,24х8 -0,08х9 ;
где х1 = 1, если в модели рукава втачные, 0 – в противном случае;
х2 = 1, если рукава реглан, полуреглан, комбинированные (сочетание втачного с регланом), 0 – в противном случае;
х3 – расширение по низу модели по отношению к линии бедер, см, (значение фактора берется по абсолютной величине);
х4 = 1, если изделие изготавливается из искусственного меха, 0 – в противном случае;
х5 – длина изделия, см;
х6 = 1, если силуэт прилегающий; 0 – в противном случае;
х7 = 1, если рукава цельнокроеные или комбинированные (сочетание втачного или реглана с цельнокроеным), 0 – в противном случае;
х8 = 1, если силуэт изделия трапециевидный, 0 – в противном случае;
х9 = 1, если силуэт изделия прямой, 0 – в противном случае.
Если применяется материал в клетку, то количество межлекальных потерь увеличивается на величину, определяемую по формулам:
для пальто и плащей: Dа = 3,2 + 0,072S - 0,0001 S2 ;
для платьев: Dа = 2,3+ 0,072S - 0,0001S2 ;
где S – площадь клетки, см2 , S ³ 1 см2 (в расчетах значение S используется как безразмерная величина).
Если материал имеет рисунок в полоску, то количество межлекальных потерь увеличивается на величину, определяемую по формуле:
Dа = 0,66d - 0,013d2 ,
где d – ширина полосы, см; d ³ 1см (в расчетах значение d используется как безразмерная величина).
Если прибавка на свободное облегание в моделях пальто и плащей на уровне груди Пг = 9см, то площадь лекал изменится на величину
DS = 2* 10-4 (Пг -9) х5 .
Если припуск к полуобхвату груди Пг = 6см для моделей платья, то площадь лекал изменится на величину DS = 2* 10-4 (Пг -6) х16 .
Расход материала на единицу изделия определяется по формуле:
Q = S / (1 - 0,01а).
Экономичность каждой модели СМК определяют по коэффициенту:
å= 1/2 [(1 - Р) / (1 - Рmin ) + (1 - q) / (1 - qmin )];
где Р = а/amax ; Рmin = аmin / amax ;
а – расчетная величина межлекальных потерь для данной модели;
аmin и аmax – минимальные и максимальные межлекальных потери для данного ассортимента, зафиксированные в отрасли или на предприятии.
q = Q / Qmax ; qmin = Qmin / Qmax ;
Q – расчетная величина расхода материала на данную модель;
Qmin и Qmax – минимальный и максимальный расход материала на изделие данного ассортимента, зафиксированные в отрасли или на предприятии.
Qmin и Qmax могут быть определены и расчетным путем на основании принятых величин аmin и аmax. .
По результатам расчета å проводится оценка экономичности проектируемых моделей: если 0 £ å £ 0,38 – модель неэкономична; если 0,38 £ å £ 0,62 – модель спорная; если 0,62 £ å £ 1,0 – модель экономичная. Если в расчетах получился один из двух первых вариантов, фасон изделия может быть скорректирован или указаны пути снижения процента межлекальных потерь.
Технологическая однородность проектируемых фасонов одежды определяется многими факторами, но в первую очередь оценивается по трудоемкости изготовления, трудоемкости КПП и трудоемкости ТПП и подбором материалов в пакет каждого проектируемого фасона изделия СМКФ с однородными свойствами. Это позволяет использовать в технологических процессах по изготовлению изделий однотипное оборудование, средства малой механизации без их дополнительной настройки, единые методы технологической обработки изделия без переобучения рабочих.
Далее рассчитывается обобщенный показатель технологической однородности проектируемого СМКФ Кто по формуле:
Кто = å Ктч / å Ктчо ,
где Ктч – число технологических узлов изделий СМК, обрабатываемых од-
ними и теми же методами;
Ктчо – общее число технологических узлов в СМКФ .
Расчет числа технологических узлов изделий СМКФ , обрабатываемых одними и теми же методами можно рассчитать в форме таблицы 1.13.
Таблица 1.13 – Перечень технологических узлов изделий
| № п/п |
Наименование технологического узла |
Встречаемость узлов в МКi (+) или (-) |
||
| МК1 |
МК2 |
МК3 |
||
| Спинка |
||||
| 1 |
Обработка среднего среза спинки |
|||
| 2 |
Обработка шлицы |
|||
| 3 |
Стачивание плечевых вытачек |
|||
| Рукава |
||||
| 4 |
Стачивание нижних срезов рукава |
|||
| 5 |
Обработка низа рукава притачной манжетой |
|||
| 6 |
Обработка низа рукава швом в подгибку с закрытым срезом и т. д. |
|||
| …n |
||||
Таблица 1.13 может быть приведена в приложении. После ее составления подсчитывают число совпадающих технологических узлов, отмеченных знаком “+” и общее число узлов Ктчо = 3n. Рассчитанный коэффициент Ктор сравнивают с нормативным Ктон . Для промышленных предприятий большой мощности должно выполняться условие: Ктор ³ 0,75; для остальных – Ктор ³ 0,5. После расчета показателей качества делается заключение о степени соответствия разработанного СМК основным принципам агрегатирования (см п. 1.3.1).
Рассчитанные (Рiр ) и нормативные (Рiн ) значения показателей качества проектируемых фасонов СМКФ выносятся на лист графической части проекта в виде таблицы 1.14, о чем в записке делается ссылка. Например, разработанные фасоны СМКФ женского костюма в виде ГМО в М1:6 и результаты оценки его показателей качества в форме таблицы 1.14 приведены на втором листе графической части.
Таблица 1.14 – Анализ рассчитанных значений показателей качества
| № п/п |
Наименование показателя |
Услов. обозн. |
Рiр |
Рiн |
| 1 |
Коэффициент художественно-конструктивного разнообразия |
Кхкр |
||
| 2 |
Степень новизны фасона |
Км |
||
| 3 |
Степени насыщенности фасона модными элементами |
Кмэ |
||
| 4 |
Коэффициент унификации |
Ку |
||
| 5 |
Коэффициент повторяемости |
Кп |
||
| 6 |
Показатели материалоемкости: межлекальных потерь; коэффициент экономичности |
а, S |
||
| 7 |
Коэффициент технологической однородности |
Кто |
Если рассчитанные значения показателей качества находятся в пределах нормативных значений, изменений в проектируемые фасоны изделий не вносят, они могут быть утверждены и далее выполняется конфекционирование материалов.
1.3.3 Конфекционирование материалов
Раздел выполняется под руководством консультанта по швейному материаловедению в соответствие со специальными методическими указаниями.
1.3.4 Анализ формы поверхности проектируемого фасона изделия
Раздел выполняется в случае, если фасон изделия по отношению к идеальной фигуре был значительно изменен в п. 1.2.4 или изменен по результатам оценки показателей качества п. 1.3.3. в проектируемой модели. С этой целью вновь выполняют художественно-конструктивный анализ проектируемого фасона, представленного в п.1.2.4 на графической модели типовой фигуры по схеме, приведенной в п.1.2.1.
1.3.5 Эскизная проработка фасонов
В разделе выполняется детальное описание формы поверхности проектируемого фасона (обязательно ссылаясь на чертеж ГМО, где изображен проектируемый фасон изделия) с учетом выполненного раздела по конфекционированию материалов по следующей схеме:
· наименование, назначение изделия, используемый материал. Например: платье женское, повседневное для работы, из полушерстяной ткани для весеннего периода, цвет материала – синий;
· силуэт изделия и его геометрическая форма, покрой изделия, преобладающее членение поверхности изделия (горизонтальное, вертикальное, смешанное, сложное, фантазийное), вид застежки. Например: платье прямого силуэта геометрической формы “квадрат”, с типовым втачным рукавом; преобладающее членение – горизонтальное; застежка – цельная на планку на 5 петель и пуговиц, петли – обметанные, вертикально расположенные, пуговицы – диаметром 8-10 мм, выпуклые, гладкие, пластмассовые, матовые, на ножке, синего цвета;
· характеристика конструкции полочек. Например: полочки с горизонтальными рельефами, идущими через линии груди, талии, бедер; карманы боковые накладные, в форме прямоугольника, подобраны пропорционально геометрической форме силуэта;
· характеристика конструкции спинки. Например: спинка с тремя горизонтальными рельефами, проходящими через линии груди, талии и бедер;
· характеристика конструкции рукавов. Например: рукава втачные, одношовные без локтевой вытачки, зауженные, длиной 3/4, с манжетами; манжеты – круглые цельнокроеные;
· характеристика конструкции узла “воротник – горловина”. Например: вырез горловины “под горлышко”, воротник отложной с прямыми концами;
· характеристика подкладки и прокладочных деталей. Отмечают их наличие (на каких участках), способ крепления к деталям верха;
· вид отделки и цветовая гамма бортов, лацканов, низа изделия, воротника, карманов и т. д. Например: воротник, рельефы и манжеты отстрочены серым шелком двойной отделочной строчкой, ширина стежка – 3¸4 мм.
Поясные изделия описывают по силуэту, количеству продольных и горизонтальных швов, вытачек, виду застежки, пояса, карманов, количеству складок и манжет и т. д.
При проектировании семейства или серии моделей описание дают только на базовую модель, отмечая отличительные особенности ее вариантов. При выполнении описания обязательно делают ссылки на рисунки, где изображены проектируемые фасоны изделия.
Далее рекомендуют предпочтительные роста, размеры, полнотные и возрастные группы потребителей, для которых эта модель может быть изготовлена, в соответствии с классификацией зрительно-подобных типовых фигур [3], проектируемого фасона.
После выполнения описания выполняют деталировку изделия в форме таблицы 1.15.
Таблица 1.15 – Эскизная проработка проектируемых конструкций деталей
| № п/п |
Наименование детали |
Эскиз детали |
Наименование срезов |
| 1 |
2 |
3 |
4 |
Эскизы деталей выполняют таким образом, чтобы они максимально отражали их истинные форму, размеры и конфигурацию. На деталях указывают направления нити основ и места расположения контрольных знаков. Для СМКФ представляют эскизы всех деталей, входящих в семейство.
1.3.6 Отработка поверхности новых форм моделей одежды
Раздел выполняется только по разработке проектно-конструкторской документации на модную коллекцию моделей одежды, в том случае, если проектируемая форма изделия требует отработки и проверки ее в материале.
Поиск формы может осуществляться путем макетирования из бумаги или макетной ткани в соответствии со спецификой темы. В разделе описывается метод поиска новой формы и результаты практической работы, отработка формы и ее оценка осуществляется в соответствии с [3-5,7-9,11,13,60].
1.4 Технический проект
На стадии технического проекта выполняют комплекс работ по созданию первичных конструкций, базовой конструкции, исходной модельной или модельной конструкции и включает разделы по характеристике используемого метода конструирования одежды, установлению исходных данных и разработку чертежей конструкций проектируемых моделей.
1.4.1 Характеристика метода конструирования одежды
В начале раздела указывается влияние процесса разработки конструкций деталей одежды на качество готового изделия. В разделе 1.2.5 были выбраны методы проектирования конструкций фасонов одежды, в том числе метод конструирования чертежей деталей заданного вида одежды. В настоящем разделе дается его характеристика.
При разработке проектно-конструкторской документации (ПКД) для изготовления изделий в условиях предприятий сферы сервиса (индивидуальный заказ, изготовление по образцам или мелкими сериями) рекомендуется использовать Единый метод конструирования одежды, разработанный ЦОТШЛ [21-24], в условиях промышленного производства – Единую методику конструирования одежды стран-членов СЭВ [15]. Возможно использование и других методов конструирования, но в этом случае необходимо обосновать целесообразность использования данного метода.
В пояснительной записке представляется общая характеристика используемого метода конструирования, отражается его точность, трудоемкость, возможность учета особенностей телосложения фигур, свойств материалов и др.
1.4.2 Установление исходных данных и разработка основы чертежа конструкции изделия
Исходными данными для разработки чертежей конструкций проектируемого фасона изделия являются размерные признаки фигуры (типовой или индивидуальной) и припуски на свободное облегание, обеспечивающие соответствие проектируемого изделия направлению моды. Объем исходной информации зависит от используемого метода конструирования [15,21-24,47-53].
Для разработки чертежей конструкций заданного вида одежды в соответствии с темой дипломного проекта в табличной форме представляются величины размерных признаков типовой фигуры (таблица 1.17) и прибавки на свободное облегание (таблица 1.18).
Число размерных признаков, необходимых для построения чертежа конструкции, определяется используемой в проекте методикой конструирования, а их величина – по действующей нормативно-технической документацией [54-59]. При установлении исходных данных для построения чертежей в данном разделе, вместо таблицы 1.16 может быть сделана ссылка на таблицу раздела, в котором проводится сравнительный анализ типовой и индивидуальной фигур (см. раздел 1.2.3, таблица 1.5).
Таблица 1.16 – Размерные признаки __________________типовой
(мужской, женской, детской)
фигуры ________________, полнотная группа_______________
Р, Ог III , От (Об ) номер группы
| № п/п |
Наименование размерного признака |
Условное обозначение |
Величина признака, см |
| 1 |
Рост |
Р |
164 |
| 2 |
Полуобхват шеи и т.д. |
Сш |
18,2 |
Прибавки на свободное облегание (см. таблицу 1.7) устанавливаются по результатам выполненного художественно-конструктивного анализа, выбирая из заданных пределов только одно значение (см. раздел 1.2.2 и таблицу П1.5). Для зимней одежды припуски на утепляющую прокладку определяются с учетом толщины утепляющего слоя [15,21-24].
Таблица 1.17 – Прибавки на свободное облегание, предусматриваемые при
разработке чертежа конструкции _______________________
(вид одежды), (вид силуэта)
из ______________________________
(вид материала)
| № п/п |
Наименование прибавки |
Условное обозначение |
Величина прибавки, см |
| 1 |
Прибавка к полуобхвату груди и т.д. |
Пг |
10,0 |
Чертеж конструкции заданного вида одежды может быть разработан вручную или в автоматизированном режиме. При разработке чертежей конструкций в автоматизированном режиме в зависимости от используемой программы исходная информация может быть представлена в закодированном виде. Независимо от способа разработки на чертежах конструкций должны быть указаны основные конструктивные точки и конструктивные пояса.
1.4.2 Разработка первичных конструкций деталей одежды
В дипломном проекте на заданный вид одежды разрабатываются первичные чертежи конструкций проектируемой модели в виде базовой основы конструкции (БК) или исходной модельной конструкции (ИМК) с последующим нанесением фасонных особенностей для получения в итоге модельных конструкций (МК). До построения чертежей конструкций в соответствии с используемым методом конструирования выполняется предварительный расчет конструкции в табличной форме (таблица 1.18), отмечаются его цель и задачи.
Расчет основных конструктивных участков чертежей деталей (спинка, полочка, рукава) заданного вида одежды представляется в табличной форме с указанием наименования определяемых отрезков (таблица 1.19).
Если чертеж конструкции строится с помощью компьютерной техники, то исходная информация выбирается в соответствии с используемой программой. Вместо таблицы 1.19 в проекте может быть представлена распечатка координат конструктивных точек. Таблица 1.19 может быть размещена в приложении, о чем в записке делается ссылка.
На основании выполненных расчетов в пояснительной записке выполняются чертеж первичной, БК или ИМК конструкции в М1:4 или в М1:5. Срезы разработанных чертежей деталей одежды должны быть отработаны на сопряженность по форме и длине, о чем в записке делается соответствующая ссылка.
Разработанные чертежи деталей конструкции представляются в записке и на графической части дипломного проекта, о чем в записке делается ссылка. Например, разработанные чертежи деталей конструкции женского платья приведены на рисунке 6 в М1:5 и на втором листе графической части дипломного проекта в М1:2.
Таблица 1.18 – Предварительный расчет конструкции _____________________________ ______________________________
(вид одежды), (вид силуэта)
из________________ на типовую фигуру_______________________
(вид материала) (Р-Ог111 -Об (От ))
| Наименование участка |
Условное обозначение |
Распределение Сг III по участкам, см |
Распределение Пг по участкам, см |
Размеры участка, см |
| 1 |
2 |
3 |
4 |
5 |
| Спинка |
А0 а |
Шс = |
Пшс = |
Шс +Пшс |
| Пройма |
аа2 |
Сг III -[Шс +Шг +(Сг II -Сг I )] = |
Пг -(Пшс + Пшп ) |
Сг III + Пг -[Шс +Пшс +Шг + (Сг II -Сг I )+Пшп ] |
| Полочка |
а1 а2 |
Шг +(Сг II - Сг I )* = |
Пшп |
Шг +(Сг II -Сг I )+Пшп |
| Ширина изделия |
А0 а1 - Гг |
Сг III = |
Пг = |
Сг III +Пг = |
| Ширина базисной сетки чертежа |
А0 а1 |
Сг III = |
Пг = |
Сг III +Пг + Гг + S р.в. = |
| Примечание.* Ширина полочки в мужской одежде определяется: Шг +Пшг . |
||||
| Правильность предварительного расчета определяют по равенству расчетных данных в графах 2, 3, 4, с одной стороны, расчетным данным графы 5, с другой (по строкам «ширина изделия» и «ширина базисной сетки чертежа»), а также равенству суммы строк пятой графы (спинка, полочка, пройма) – «ширине изделия». Правильность расчета может быть проверена и по ширине проймы минимальной (Шпрм) из [1-5], с учетом объемности изделия. Для изделий большого объема ширина проймы расчетная должна быть значительно больше Шпрmin. |
||||
Таблица 1.19 – Расчет основных участков ___________________________
(вид конструкции - БК или ИМК)
конструкции ______________ для типовой фигуры _______________
(вид изделия) ( (Р, Ог III , От (Об ))
| Наименование участка |
Условное обозначение на чертеже |
Расчетная формула |
Расчет и величина конструктивного участка, см |
| 1 |
2 |
3 |
4 |
| Уровень расположения лопаток и т.д. |
А0 У |
0,3Дтс II |
0,3´43,1=12,9 |
После построения чертежей деталей конструкции в пояснительной записке проводится оценка сопряженности всех монтируемых и сопрягаемых срезов (плечевых, боковых и др.) по длине и по форме. Анализ сопряженности параметров узла «пройма-рукав» осуществляется с учетом технологии втачивания рукава в пройму. Можно выделить две технологии:
· С фактически равномерной посадкой по всем участкам оката рукава;
· С различной величиной посадки на различных участках оката рукава.
Для оценки соответствия сопряженности параметров рукава и проймы по первой технологии измеряются фактические длины оката рукава (Док.ф ) и проймы (Дпр.ф ) и определяется величина посадки фактическая (Ппос.ф ):
Ппос.ф.=Док.ф. - Дпр.ф (1.2)
Затем находится величина посадки проектируемая (Ппос.пр ):
Ппос.пр=Дпр.ф ´ Н, (1.3)
где, Н – норма посадки оката рукава на 1 см длины проймы, см [1-5].
Если Ппос.пр=Ппос.ф или разница находится в пределах ±0,5 см, то параметры рукава соответствуют параметрам проймы, следовательно, гарантировано качество соединения рукава с проймой. В случае значительной разницы в величинах Ппос.пр и Ппос.ф указываются возможные варианты корректировки рассматриваемых параметров.
Для второй технологии необходимо учесть длины участков (lo ), на которых посадка дается минимальной или принимается равной нулю. В этом случае фактическая величина посадки по окату рукава будет определяться по формуле (1.2), а проектируемая – по формуле (1.3):
Ппос.пр=( Дпр.ф - lo ) ´ Н, (1.3)
где lo – величина участка проймы, на котором посадка не проектируется. Обычно это участок под проймой со стороны полочки. Сравнение Ппос.пр и Ппос.ф, выполняют аналогично рассмотренному выше.
Необходимо иметь в виду, что при дифференцированной посадке норма посадки проектируемая (Нп), то есть взятая по [15,21-24,46-49], может быть равна фактической только на участке с максимальной величиной посадки, например, на верхнем участке оката рукава, обращенного к полочке.
1.4.4 Разработка модельной конструкции
Для точного воспроизведения параметров ХКП (художественно-конструктивных показателей) проектируемого фасона изделия на чертеже конструкции в дипломном проекте осуществляют перенос фасонных особенностей, используя метод геометрического подобия базовой конструкции изделия инженерно заданной системы «человек-одежда» [1]. Для переноса фасонных особенностей используется чертеж проектируемого изделия в виде ГМО в М1:10 или М1:8 на типовой фигуре заданного размера. Используют две фронтальных проекции ГМО – вид спереди и сзади.
На чертеже ГМО наносится ряд вспомогательных линий. В качестве центральных линий спинки и полочки используют вертикальную ось OZ. Все парные ХКП проектируемого изделия (карманы, вытачки, рельефы, концы воротника и др.) располагают симметрично относительно этой оси. Если изделие имеет центральную застежку, то ось OZ является средней линии полочки и проходит по центру пуговиц.
Затем на чертеж ГМО наносят основные конструктивные линии, проходящие через: яремную выемку – 1; плечевые точки – 2; выступающие точки грудных желез – 3; линию талии – 4; линию бедер – 5; коленные точки – 6; линию низа изделия – 7.
Параметры ХКП и их расположение кодируются буквенными или цифровыми обозначениями, например, горизонтальные ai , вертикальные – bj . На ГМО указываются размеры фасонных особенностей и их условное обозначение – код. Пример кодирования фасонных особенностей проектируемого изделия приведен на рисунке П1, приложения 1.
Так как фасон изделия представляется в виде ГМО, коэффициент геометрического подобия (Кгп) принимается равным масштабу ее представления: М1:8 или М1:10. Поэтому величина любого закодированного параметра будет рассчитываться по формуле:
Аi/Bj = аi * Км * Кк,
где Аi/Bj– размер детали или ее участка на чертеже конструкции; Км – масштаб, в котором выполнен чертеж ГМО; Кк – корректирующий коэффициент, учитывающий потерю точности измерений при переходе от уменьшенного масштаба (М1:8, 1:10) к М1:1 или М1:2 при ручном переносе фасонных особенностей. Можно принять Кк = 1,01 для М1:10 и Кк = 1,008 для М1:8. При этом необходимо пользоваться тонкой металлической линейкой.
По указанной формуле определяют размеры, конфигурацию и расположение всех ХКП, а также линии лацканов, бортов, воротника, исходя из того, что они располагаются по отношению к горизонтали или вертикали на чертеже базовой конструкции и ГМО примерно под одним углом. Для деталей одежды, расположенных в различных топографических зонах, и поэтому полностью невидимых на ГМО, например, ширина входа в карман (см. рисунок П1), размеры ХКП определяются с учетом их известных значений в зависимости от вида одежды и размера фигуры потребителя.
Рассчитанные значения Аi и Bj сводят в форму таблицы 1.20. Параметры ХКП Аi/Bj рассчитывают с учетом масштаба представления чертежа базовой конструкции:
· в М1:1 – для разработки чертежей модельной конструкции и лекал, используемых для раскроя изделия;
· в М1:2 – для представления чертежей модельной конструкции и лекал на графической части дипломного проекта;
· в М1:4 или М1:5 для представления чертежей модельной конструкции и лекал в записке проекта.
Таблица 1.20 – Расчет параметров ХКП модельной конструкции
(указать вид изделия) при Км =…, Кк = …
| № п/п |
Наименование ХКП, участка детали |
Величина аi/bj, см |
Величина Аi/Bj , см, для |
||
| М1:1 |
М1:2 |
М1:4 |
|||
| 1 |
2 |
3 |
7 |
8 |
9 |
Используя данные таблицы 1.20, на чертеж базовой конструкции наносят фасонные особенности в следующей последовательности:
· уточняют внешние контуры деталей (укорачивают или удлиняют линию плеч, изменяют линию горловины изделия, при необходимости корректируют длину основных деталей и др.);
· осуществляют перенос вытачек или проектирование рельефов, подрезов и драпировок методами конструктивного моделирования. Для образования складок, сборок, защипов производят коническое или параллельное расширение деталей;
· наносят линии карманов, лацканов, бортов, положение петель, пуговиц и т.д.
Разработанная модельная конструкция представляется в записке и на графической части дипломного проекта, о чем в записке делается ссылка. Например, чертеж модельной конструкции женского платья приведен на рисунке 6 в М1:4 и на втором листе графической части дипломного проекта в М1:2.
1.5 Рабочий проект
На стадии рабочего проекта разрабатываются чертежи рабочих лекал заданного вида одежды, производится градация лекал, составляется техническое описание на модель.
1.5.1. Разработка рабочих лекал
Чертежи лекал деталей одежды являются техническим документом, который определяет конструкцию, форму и размеры деталей, технические условия на их обработку и раскрой. Чертежи лекал разрабатывают на все детали, входящие в пакет изделия.
Исходными данным для разработки лекал является чертеж модельной конструкции изделия, свойства материалов, из которых рекомендуется изготавливать изделие, и выбранные методы технологической обработки.
В пояснительной записке дипломного проекта отражается комплектность лекал, рассматривается процесс разработки и оформления лекал для раскроя основных, подкладочных и прокладочных материалов, представляются в М 1:5 лекала всех деталей проектируемой модели. В графической части проекта лекала представляются на ту же модель в М 1:2.
При представлении лекал в пояснительной записке и в графической части лекала подкладки и прокладок совмещаются с основными лекалами, при этом вводятся условные обозначения линий.
Перед построением лекал проверяют сопряженность линий, длину монтируемых срезов, величину технологической обработки, положение контрольных знаков.
Разработка и оформление чертежей рабочих лекал зависят от типа производства (промышленный или предприятие сервиса) и вида оказываемых населению услуг (индивидуальный заказ, изготовление по образцам, мелкие серии).
Для построения рабочих чертежей лекал каждую деталь в отдельности со всеми ее внутренними линиями и контрольными знаками копируют с отработанного чертежа конструкции. Чертежи лекал разрабатывают на все детали изделия, включая мелкие (клапаны, листочки и др.)
При изготовлении одежды на индивидуального потребителя на предприятиях сервиса для раскроя ткани отдельными полотнами, а также для перекроя изделий при обновлении одежды, используют лекала базовых конструкций. Разработку чертежей лекал в этом случае выполняют на основе технического чертежа базовой конструкции.
Лекала деталей на женскую и мужскую одежду, а также одежду для девочек и мальчиков всех возрастных групп для раскроя изделий на индивидуального потребителя разрабатывают на типовую фигуру без припусков на швы и уточнение изделий на фигуре во время примерки.
Припуски на швы даются при раскрое изделий. Величина припусков (таблица 1.21) принимаются в соответствии с действующей в отрасли нормативно-технической документацией [32].
Таблица 1.21 – Величины припусков на швы, предусматриваемые при раскрое одежды [32]
| № п/п |
Вид шва |
Основные технологические операции |
Параметры шва, см |
| 1 |
Стачной шов |
Соединение деталей полочек. спинки по боковым и плечевым срезам, срезов рукавов, соединение рукавов с изделием |
1,0 – 1,5* |
| Соединение всех деталей подкладки и утепляющей прокладки |
1,0 – 1,2 |
||
| Обтачивание воротников, манжет, бортов, клапанов, хлястиков, поясов и др. |
0,3 – 0,7 |
||
| Притачивание манжет, воротника, стачивание разрезных вытачек, притачивание надставок к деталям из основной ткани |
0,7 - 1,0 |
||
| Стачивание деталей: из ватина; из поролона, синтепона |
0,7 – 1.0 0,4 – 0,5 |
||
| 2 |
Накладной шов с открытыми срезами |
Соединение основных деталей |
0,5 – 1,0 |
| Соединение частей прокладки |
0,3 – 0,5 |
Продолжение таблицы 1. 21
| 1 |
2 |
3 |
4 |
| 3 |
Шов в подгибку |
Подгибание низа изделий: |
|
| Пальто женское: прямого силуэта; |
5,0 |
||
| расклешенного силуэта |
3,0 |
||
| Жакета |
3,0 |
||
| Пальто мужское |
4,0 |
||
| Пиджак |
3,0 |
||
| Подгибание низа рукава: |
|||
| женская одежда |
4,0 |
||
| мужская одежда |
3,0 |
||
| Примечание.* Большая величина припуска предусматривается в изделиях из тканей со значительной осыпаемостью срезов |
|||
Кроме припусков на швы при раскрое предусматриваются также припуски на уточнение изделия по фигуре. По рекомендациям Центральной Опытно-технической швейной лаборатории величина припуска равна 2 см.
Наличие припуска по тому или другому срезу определяется сложностью модели и фигуры, степенью готовности изделия к примерке, квалификацией закройщика. Как правило, припуски на уточнение проектируются по боковому и плечевому срезам спинки или полочки (по одной из этих деталей), по локтевому срезу верхней и нижней части рукава (или только нижней).
На все детали комплекта лекал наносятся направления нитей основы и допускаемые отклонения от них (в %) в соответствии с техническими условиями на раскрой деталей. Величины допускаемых отклонений для различных деталей и видов одежды приведены в приложении 2, таблица П2.1.
Далее на лекалах отмечаются знаками или словами места технологической или влажно-тепловой обработки: сутюжить, оттянуть, припосадить.
Для правильного соединения деталей на лекалах ставятся контрольные знаки (надсечки) величиной 0,5 см. Контрольный знак наносится перпендикулярно срезу детали. Местоположение контрольных знаков обусловлено наличием посадки или влажно-тепловой обработки, а также необходимостью совмещения основных конструктивных поясов (линии талии, бедер и др.). Обязательны контрольные знаки в точках пересечения линий швов со смежными деталями. Например, на окате рукава для плечевого шва, на срезе воротника для средней линии спинки и плечевого шва [5]. Кроме того, контрольный знак ставится по срезу детали в том случае, если длина среза превышает 1 м. Назначение его – исключить перекос деталей в процессе соединения. Дополнительно ставят контрольные знаки, определяющие положение карманов, втачивание отделочных деталей и др.
С целью обеспечения возможности оперативного корректирования контуров обмелки лекал применительно к фигуре заказчика на лекалах наносят конструктивные линии и расчетные формулы с указанием направления изменения размера. Структура расчетных формул (таблица 1.22) соответствует структуре формул, используемых при построении чертежа. При нанесении формул в лекалах указываются условное обозначение размерного признака и абсолютная величина прибавки, в см.
Таблица 1.22 – Расчетные формулы, указываемые на лекалах базовых конструкций при раскрое одежды
| Номер участка |
Наименование участка конструкции |
Расчетная формула |
|
| 1 |
2 |
3 |
|
| 1 |
Длина спинки до талии |
Дтс11 + Пдтс * |
|
| 2 |
Ширина спинки |
Шс + Пшс |
|
| 3 |
Положение линии бедер: Женская одежда |
ТБ = 0,5 Дтс11 – 2 см |
|
| Мужская одежда |
ТБ = 0,5 Дтс11 – 5 см |
||
| 4 |
Положение линии груди |
Впрз11 + Пспр + 0,5Пдтс |
|
| 5 |
Длина плечевого среза спинки |
Шп + припуск на посадку или вытачку |
|
| 6 |
Расстояние от середины спинки на линии талии до конца плечевого среза |
Впк11 + Пвпк |
|
| 7 |
Ширина изделия над проймой |
Сг111 + Пг + отвод средней линии спинки + раствор вытачек по линии груди |
|
| 8 |
Ширина полочки мужская одежда женская одежда |
Шг + Пшп Шг + (Сг11 – Сг1 ) + Пшп |
|
| 9 |
Положение высшей точки горловины полочки относительно линии талии |
Дтп11 + Пдтп |
|
| 10 |
Ширина изделия по линии талии (полуприлегающий и прилегающий силуэты) |
Ст + Пт |
|
| 11 |
Ширина изделия по линии бедер |
Сб + Пб |
|
| 12 |
Ширина рукава под проймой |
Оп + Поп |
|
| Примечание* Вместо условного обозначения прибавки указывается ее абсолютная величина в см. |
|||
По линиям срезов комплекта лекал на расстоянии 1 мм от края через каждые 8-10 см ставят клеймо. По сохранности данного клейма определяется возможность использования лекал в производстве. Проверка рабочих лекал проводится по лекалам-эталонам не реже одного раза в месяц. Допускаемые отклонения – не более 0,5 мм.
На лекалах указываются:
· название лекал и наименование изделия (на одной из основных деталей, например, на полочке);
· номер технического описания; назначения лекал (верх, подкладка, прокладка);
· наименование детали (полочка, спинка и др.);
· количество деталей в крое (больше одной);
· размер изделия, выраженный полными абсолютными величинами ведущих размерных признаков типовой фигуры, например, 170-92-96;
· на одной из крупных деталей дается перечень всех лекал, входящих в комплект.
Лекала подбортов разрабатывают по основным лекалам полочки с учетом припусков на швы и уточнение по фигуре, предусматриваемые при раскрое изделия. Лекала мелких деталей (клапаны, листочки, пояса и т.д.) разрабатывают с припусками на швы (см. таблицу 1.21). Величина припусков на швы определяется свойствами материалов и конструкцией шва.
В промышленном производстве и при изготовлении изделий мелкими сериями на предприятиях сферы сервиса лекала разрабатываются на конкретные модели. Исходными данными для разработки лекал в этом случае являются чертеж модельной конструкции, свойства материалов, из которых будет изготавливаться изделие, и методы технологической обработки.
После копирования чертежа модельной конструкции к контурам предусматривают припуски на швы. Вокруг контура скопированных деталей, по перпендикуляру к линии контура, откладывают принятые в соответствии с методами обработки технологические припуски (см. таблицу 1.22), получая внешние контуры лекал. Для оформления прямолинейных срезов лекал достаточно двух точек, на криволинейных участках контура количество перпендикуляров для откладывания припусков зависит от характера кривой [5]. Контрольные знаки переносят с технического чертежа на срез по нормали к линии среза. Для моделей с асимметричным решением деталей лекала правой и левой части изделия разрабатывают отдельно. Во избежание перекосов при раскрое, детали кокетки, воротники, обтачки горловины и др. разрабатывают в полном размере, несмотря на симметричность.
На лекалах наносятся направления нитей основы и допускаемые отклонения от них, в % (см. таблицу П2.1). Если используется косой крой, направление нитей основы в этом случае устанавливают по модели. По линиям внешнего контура лекал через 8-10 см ставят клеймо, на деталях указывают условными знаками места технологической обработки, наименование изделия, номер модели, размер, наименование детали, количество деталей кроя. На одной из основных деталей приводится спецификация всех деталей, выкраиваемых из основной ткани, с указанием количества лекал и количества деталей.
Лекала подкладочных деталей разрабатывают по основным лекалам. При разработке лекал подкладки учитываются следующие требования: объемная форма создается конструктивным путем, предусматривается минимальное число членений, увеличиваются размеры деталей подкладки в верхней части изделия.
Создание объемной формы конструктивным путем обусловлено тем, что подкладочные материалы практически не поддаются влажно-тепловой обработке (сутюживание и оттягивание). При этом посадку целесообразно заменять вытачками (например, по плечевому срезу спинки), а вытачки, имеющиеся в основных деталях – защипами или мягкими складками.
По линии борта подкладка подрезается с учетом подборта. При этом в шов соединения подкладки с подбортом в женской одежде может быть перенесена верхняя вытачка. Кроме того, верхняя вытачка в женской одежде может быть перенесена в пройму, в мягкую складку или в посадку по линии соединения с подбортом. В мужской одежде (пальто, пиджак и др.) в подкладке передний срез рукава располагается по линии переднего переката, что позволяет исключить влажно-тепловую обработку в деталях подкладки.
Проектирование минимального числа членений вызвано низкой износостойкостью подкладочных материалов в швах соединений, что снижает срок эксплуатации изделий.
Размеры деталей подкладки в верхней части плечевой одежды увеличиваются с целью обеспечения свободы движения, снятия нагрузки с основных материалов и учета возможных неточностей технологического процесса [5].
Припуски к лекалам подкладки зависят от вида одежды, свойств материалов (усадка, различная способность к растяжению и формообразованию, толщина материалов), конструкции швов и методов технологической обработки (например, подкладка притачная к низу изделия или отлетная). В женских изделиях, расклешенных книзу и с отлетной по низу подкладкой, подкладка по линии низа должна быть заужена наполовину степени расширения основных деталей.
В данном разделе дипломного проекта указываются особенности разработки лекал подкладки применительно к конкретной модели принятой для изготовления образца.
Маркировка и оформление лекал подкладки аналогично лекалам, используемым для раскроя основных материалов.
При изготовлении одежды по индивидуальным заказам чертежи лекал подкладки не разрабатываются. Подрезание деталей подкладки выполняется по основным деталям после проведения примерки и уточнения изделия. При этом учитываются все требования к деталям подкладки, указанные выше. Припуски при подрезании деталей подкладки аналогичны припускам, предусматриваемым к основным деталям при разработке лекал подкладки в промышленном производстве. На деталях подкладки ставятся контрольные знаки, местоположение которых аналогично контрольным знакам, имеющимся на основных деталях изделия.
Для обеспечения формоустойчивости основных деталей изделия используются прокладочные материалы. В качестве прокладочных могут быть использованы как материалы с клеевым покрытием, так и не клеевые материалы, например, бортовка суровая, флизелин и др. Для создания большей формоустойчивости в качестве бортовых прокладок могут быть использованы и многозональные прокладки.
Производные лекала деталей клеевых прокладок разрабатывают таким образом, чтобы срезы прокладки отступали от срезов основных деталей во избежание приклеивания их к поверхности пресса. При изготовлении изделий в промышленном производстве срезы прокладочных деталей, как правило, не входят в швы соединения деталей, что позволяет уменьшить толщину швов.
На предприятиях сферы сервиса независимо от вида оказываемых услуг срезы клеевых прокладок входят в швы соединения деталей на 1 мм, что дает дополнительное их закрепление. Это связано с тем, что при изготовлении изделий могут быть использованы материалы с различными свойствами, а изменение режимов склеивания на каждый вид тканей практически невозможно.
Объемная форма в клеевых прокладках создается только конструктивным путем. Растворы вытачек высекаются, а нижние срезы прокладок располагаются по линии подгибки низа.
При изготовлении изделий на индивидуального потребителя из дорогостоящих материалов бортовые и другие виды прокладок выполняются из натуральных тканей. Форма бортовых прокладок и их слойность зависят от вида и формы изделий. Лекала прокладочных деталей в этом случае не разрабатываются, а выполняется подрезка деталей прокладок по основным деталям с учетом припусков на уточнение изделий по фигуре в процессе проведения примерки.
Лекала деталей утепляющей прокладки для зимних изделий разрабатывают по лекалам подкладки с учетом припусков заложенных в лекалах или подрезают по основным деталям с учетом припусков, даваемых при раскрое. Величина припусков при разработке лекал утепляющей прокладки или ее подрезке зависит от способа ее соединения с изделием (соединение одновременно с подкладкой или отдельно). При этом утепляющую прокладку спинки подрезают целой, раствор верхней вытачки в полочке женских изделий высекают, оставляя по 1 см с каждой стороны для соединения накладным швом. Раствор вытачки по плечевому срезу спинки заменяют посадкой. По бортовому срезу утепляющая прокладка в женских изделиях заходит за линию полузаноса на 1,5-2,0 см, в мужских изделиях подрезается с учетом подборта. По линии низа изделия и рукавов утепляющая прокладка доходит до линии подгибки, если она соединяется с изделием до соединения подкладки. Утепляющая прокладка рукавов проектируется цельновыкроенной по переднему срезу.
Маркировка и оформление лекал утепляющей прокладки аналогично оформлению основных лекал изделия.
При изготовлении изделий на индивидуального потребителя утепляющая прокладка подрезается по основным деталям или деталям подкладки (в зависимости от способа ее соединения с изделием) с учетом припусков на технологическую обработку. На деталях прокладок ставятся контрольные знаки аналогично деталям верха или подкладки.
Чертежи лекал представляются в записке и на графической части дипломного проекта, о чем в записке делается ссылка. Например, чертежи лекал верха женского костюма приведены на рисунках 7 и 8 в М1:4, а также на третьем и четвертом листах графической части дипломного проекта в М1:2.
1.5.3. Градация лекал
В дипломном проекте лекала деталей для раскроя основных материалов выполняют на базовый размер и рост в рекомендуемой для проектируемой модели полнотной группе.
Лекала деталей всех рекомендуемых с учетом классификации зрительно подобных типовых фигур (см. раздел 1.1.6) размеров, ростов и полнотных групп получают путем градации.
В текстовой части пояснительной записки указывают теоретическую основу градации лекал, применяемый метод градации и дают его краткую характеристику, устанавливают исходные линии градации.
Местоположение исходных осей градации может быть различным [15,33], но при этом величины приращений к конструктивным точкам должны быть рассчитаны относительно принятых осей.
При рассмотрении процесса градации лекал по размерам и ростам за исходные оси градации могут быть приняты [15]:
на спинке вертикальная ось совпадает с серединой спинки или линией касательной к верхней части средней линии спинки. Горизонтальная ось – линия талии;
· на полочке вертикальная ось проходит касательно к линии проймы, горизонтальная ось – линия талии;
· на рукаве вертикальная ось соединяет конечные точки переднего переката, горизонтальная ось – линия глубины оката;
· в воротнике, как правило, изменяется только длина, поэтому выбирается одна исходная ось – вертикальная, проходящая через контрольный знак (надсечку), соответствующую положению плечевого шва.
Величины перемещения конструктивных точек должны быть представлены в табличной форме. Рекомендуемые величины перемещений конструктивных точек от размера к размеру и от роста к росту в основных деталях женской и мужской одежды даны для плечевых и поясных изделий в приложении 2 (таблицы П2.2 – П2.13 и рисунки П2.1 – П2.17) [4,33].
При использовании в процессе градации лекал величин приращений, представленных в нормативно-технической документации в виде табличных данных, для облегчения процесса градации применяют систему обозначения направлений перемещения конструктивных точек (таблица 1.23). Это связано с тем, что для каждой точки в таблице обозначены знаками « + » (отсутствие знака) и «–» те направления, в которых перемещается точка при увеличении или уменьшении размера.
Схемы, предназначенные для градации деталей плечевой и поясной одежды типового покроя, называют типовыми. Типовой конструкцией плечевой
Таблица 1.23 – Система обозначения направлений перемещений конструктивных точек
| Обозначение знака |
По горизонтали |
По вертикали |
||
| при увеличении размера или роста |
при уменьшении размера или роста |
при увеличении размера или роста |
при уменьшении размера или роста |
|
| + |
вправо |
влево |
вверх |
вниз |
| - |
влево |
вправо |
вниз |
вверх |
одежды на этапе градации лекал считается конструкция изделия с втачным рукавом, состоящая из следующих деталей: спинка, полочка, отрезной бочок (мужской пиджак), рукав одношовный или двухшовный с локтевым и передним швами [31]. Модельные конструкции, имеющие дополнительные членения в виде кокеток, рельефов и др., а также детали с коническим расширением и другие покрои рукавов, относятся к нетиповым конструкциям.
Градация лекал нетиповых конструкций производится на основе типовых схем [13]. При этом используют следующие приемы [5]:
· объединение, разъединение или другое преобразование исходных деталей нетиповой конструкции до типового вида, соответствующего типовой схеме градации;
· выполнение чертежей градации деталей типового вида с использованием типовых схем градации;
· пропорциональный расчет величин перемещений конструктивных точек нетиповых линий членения, оказавшихся в результате преобразования внутри деталей типового вида;
· возврат деталей исходного и искомого размеров к первоначальному виду нетиповой конструкции (разъединение деталей, если это необходимо);
· перегруппировка деталей нетиповой конструкции (исходного и искомого размеров) с целью рационального положения осей градации и перерасчет при необходимости величин перемещений конструктивных точек.
Величины перемещений (приращений) к конструктивным точкам нетиповой конструкции определяются пропорционально-расчетным способом по формулам:
∆Хk = ∆Х1 + L1- k / L1-2 (∆Х2 -∆Х1 ),
∆Yk = ∆Y1 + L1- k / L1-2 (∆Y2 - ∆Y2 ),
где ∆Хk , ∆Yk – приращения искомой точки по горизонтали и вертикали, см; L1- k – длина отрезка между искомой точкой и точкой типовой конструкции, принятой за первую точку, см; L1-2 – длина между двумя точками типовой конструкции, величина приращений которых известна, см; ∆Х1 , ∆Х2 – величины приращений точек типовой конструкции по горизонтали, см; ∆Y1 , ∆Y 2 – величины приращений точек типовой конструкции по вертикали, см.
Если в линии членения спроектирована вытачка, раствор которой при градации не меняется, то значение приращений конструктивных точек определяется с учетом угла поворота α этой линии относительно типового положения проектируемой вытачки [13]. Величины приращений точек деталей конструкций для различных видов одежды приведены в приложении 2, таблица П2.
Расчет величин перемещений конструктивных точек осуществляется по формулам:
∆X’k = ∆Xk cos α + ∆Yk sin α ,
∆Y’k = - ∆ Xk sin α + ∆Yk cos α .
Если в смоделированных линиях членения при градации раствор вытачки меняется, то расчет величин перемещений конструктивных точек на линиях членения производят по формулам:
∆X’k = (∆Xk cos α ± n∆ α) + (∆Yk sin α ± n∆ α),
∆Yk = - (∆Xk sin α ± n∆ α) + (∆Yk cos α ± n∆ α),
где n - количество размеров, шт.
Значения углов cos α и sin α представлены в приложении 2, таблица П2.14.
Независимо от того, каким способом выполнена градация деталей нетиповых конструкций, необходимо выдержать неизменными величины межростовой и межразмерной изменчивости размерных признаков, т.е. основные параметры деталей должны изменяться от размера к размеру или от роста к росту аналогично изменению этих параметров в деталях типовой конструкции.
Чертежи градуированных лекал представляются в записке, и если это предусмотрено заданием, на графической части дипломного проекта, о чем в записке делается ссылка. Например, градуированные лекала женской куртки приведены на рисунке 8 в М1:4 и на пятом листе графической части дипломного проекта в М1:2.
1.5.4. Составление технического описания
Состав и содержание технического описания (ТО) зависит от типа производства и вида оказываемых населению услуг. В дипломном проекте техническое описание может быть представлено в данном разделе или в приложении к проекту. Техническое описание составляется на одну модель, принятую для изготовления образца изделия.
При изготовлении изделий на индивидуального потребителя ТО составляется на лекала базовой конструкции, при этом допускается что разработанная модельная конструкция является базовой конструкцией. При разработке конструкторской документации на изделия, изготовляемые мелкими сериями, по образцам или в промышленном производстве техническое описание разрабатывается на конкретную модель.
В данных методических указаниях в полном объеме рассмотрено ТО на лекала базовых конструкций и указаны изменения для других вариантов ТО.
Техническое описание на лекала базовой конструкции включает:
o титульный лист (если ТО представляется в приложении);
o эскиз модели (вид спереди в М 1:5, сзади в М 1: 10);
o рекомендуемые роста, размеры и полнотные группы ;
o описании е внешнего вида , в котором указываются:
· наименование и назначение изделия;
· силуэт, покрой, застежка;
· объем изделия, величины прибавок по линии груди, талии, бедер, обхвата плеча;
· конструктивные особенности спинки, полочки (переда), рукавов;
· вид воротника, форма бортов и лацканов;
· вид отделки;
· размерные параметры фигуры, принятые за основу при разработке конструкции (Р-Ог111 -Об (От );
· длина изделия в готовом виде, см;
· длина рукава, см.
o Технические требования к раскрою и изготовлению.
В этом разделе указывается нормативно-техническая документация [32-36], отмечаются особенности нетрадиционной технологической обработки (не предусмотренные РСТ). К особенностям раскроя и обработки могут быть отнесены: раскрой деталей под углом 450 к нитям основы, необходимость дублирования подбортов, возможность использования надставок к деталям подкладки, целесообразность окантовывания низа изделия и подбортов и др.
o Спецификация деталей представляется в табличной форме (таблица 1.24) с указанием всех деталей, входящих в пакет изделия.
Таблица 1.24 – Спецификация деталей*
| №п/п |
Наименование деталей |
Количество деталей, шт. |
|
| В лекалах |
В комплекте кроя |
||
| 1 2 |
Ткань основная Спинка Полочка и.д. |
1 1 |
2 2 |
| Примечание*. В таблицу включаются все детали, входящие в пакет изделия (основная ткань, подкладка, прокладочные детали). |
|||
o Расчеты участков конструкции представляются в табличной форме (см. таблицу 1.23), в которую включают конструктивные участки, на которых в лекалах указаны расчетные формулы (см. п. 1.5.1.). В расчетных формулах указываются условное обозначение размерного признака и абсолютная величина прибавки, в см.
o Величины измерений типовой фигуры и прибавки на свободное облегание, используемые при разработке конструкции, даются в табличной форме (таблица 1.26). При разработке ТО на поясную одежду в таблице 27 указываются измерения фигуры, используемые при разработке конструкций поясной одежды.
В графе 5 таблицы 1.26 знаком «+» отмечены участки конструкции, к которым даются прибавки на свободное облегание. Вместо знака «+» необходимо указать абсолютные величины прибавок, в см, предусмотренные к данному измерению. В графе 6 указываются величины дополнительных прибавок, предусмотренные к отдельным участкам при построении чертежей конструкций заданного вида одежды.
Таблица 1.25 – Величины измерений типовой фигуры (указать размер)__________ и прибавки на свободное облегание, заложенные в чертежи конструкций
| Порядковый номер измерения |
Наименование измерений |
Условные обозначения |
Величина измерения типовой фигуры, см* |
Прибавки на свободное облегание, см |
Примечание |
|
| 1 |
2 |
3 |
4 |
5 |
6 |
|
| 1 |
Рост |
Р |
- |
|||
| 2 |
Полуобхват шеи |
Сш |
+ |
|||
| 3 |
Полуобхват груди I |
Сг I |
- |
|||
| 4 |
Полуобхват груди II |
Сг II |
- |
|||
| 5 |
Полуобхват груди III |
Сг III |
+ |
|||
| 6 |
Полуобхват талии |
Ст |
+ |
|||
| 7 |
Полуобхват бедер |
Сб |
+ |
|||
| 8 |
Ширина груди |
Шг |
+ |
|||
| 9 |
Расстояние от линии талии сзади до высшей точки проектируемого плечевого шва у основания шеи |
Дтс II |
+ |
|||
| 10 |
Расстояние от высшей точки проектируемого плечевого шва у основания шеи до линии талии спереди |
Дтп II |
+ |
|||
| 11 |
Высота груди |
Вг II |
+ |
|||
Продолжение таблицы 1.26
| 1 |
2 |
3 |
4 |
5 |
6 |
| 12 |
Расстояние от высшей точки проектируемого плечевого шва у основания шеи до уровня задних углов подмышечных впадин |
Впрз II |
+ |
||
| 13 |
Высота плеч косая |
Впк II |
+ |
||
| 14 |
Ширина спины |
Шс |
+ |
||
| 15 |
Ширина плечевого ската |
Шп |
+ |
||
| 16 |
Обхват плеча |
Оп |
+ |
||
| 17 |
Длина руки до линии обхвата запястья |
Дрзап |
+ |
||
| Примечание* В графе 4 указываются абсолютные величины измерений типовой фигуры принятые для построения чертежа конструкции. |
|||||
o Нормы расхода материалов и площадь лекал представляются в табличной форме (таблица 1.27).
Таблица 1.27 – Нормы расхода материалов*
| Рост, см |
Длина в готовом виде, см |
Вид ткани |
Ширина ткани с кромкой, см |
Площадь лекал, см2 |
Межлекальные потери, а, % |
Норма расхода материалов, п. м |
Коэффициент использования материалов |
|
| изделия |
рукава |
|||||||
| 164 |
118 |
60,0 |
драп и т.д. |
142 |
29594 |
24,5 |
2,8 |
0,75 |
| Примечание*. В таблицу 1.27 включают все виды материалов, входящих в пакет изделия. В таблицу вносятся данные, полученные на основании фактически выполненных в дипломном проекте раскладок. |
||||||||
o Приемка, маркировка, упаковка. В этом разделе технического описания указывают нормативно-техническую документацию, в соответствии с которой осуществляется приемка, маркировка и упаковка изделий [40-44], отражают порядок приемки, маркировки изделия с указанием реквизитов на товарном ярлыке и символов ухода за изделием, отмечают способ упаковки изделия.
При разработке конструкторской документации на изготовление одежды по образцам, мелкими сериями или в промышленном производстве порядок разработки технического описания аналогичен ранее рассмотренному варианту. Отличительными особенностями в содержании технического описания являются:
· отсутствует таблица с расчетными формулами, указываемых на лекалах конструкций при раскрое одежды (см. таблицу 1.23);
· приводится дополнительная таблица спецификации материалов и фурнитуры (таблица 1.28), которая представляется перед таблицей спецификации деталей;
· вместо величин измерений типовой фигуры (см. таблицу 1.26) представляют величины измерений участков готового образца одежды с указанием допускаемых отклонений (таблица 1.29) [44].
Таблица 1.28 –Спецификация материалов и фурнитуры*
| Наименование материала или фурнитуры |
Артикул |
ГОСТ, ОСТ, ТУ (группа тканей) |
Назначение материала |
Примечание |
| 1. Костюмная ткань и т.д. |
23718/14 |
ГОСТ 15625-80 |
Основная ткань |
|
| Примечание.* В таблицу включаются все материалы, входящие в пакет изделия, скрепляющие материалы и фурнитура. |
||||
Таблица 1.29 – Линейные измерения готового изделия [26]
для фигуры _____________________
(Р, Ог III , Об , (От ))
| Номер измерения |
Место измерения |
Размер участка, см |
Допускаемые отклонения, см* |
| 1 |
Длина спинки, полочки |
+ |
±1,0 |
| 2 |
Ширина спинки |
+ |
±0,5 |
| 3 |
Ширина изделия на уровне глубины проймы |
+ |
±1,0 |
| 4 |
Длина рукава: втачного, реглан и цельновыкроенного |
+ |
±1,0 ±1,5 |
| 5 |
Длина воротника (в застежках доверху) |
+ |
±0,5 |
| 6 |
Длина брюк по боковому шву |
+ |
±1,0 |
Продолжение таблицы 1.29
| 1 |
2 |
3 |
4 |
| 7 |
Длина юбки |
+ |
±1,0 |
| 8 |
Длина пояса |
+ |
±1,0 |
| Примечание. * Величины допускаемых отклонений даны для изделий плечевой группы для школьников, подростков и взрослых. Допускаемые отклонения в поясных изделиях и в изделиях из трикотажных полотен и искусственного меха принимаются в соответствии с ГОСТ [44]. |
|||
1.6 Технологическая часть
В технологической части дипломного проекта выполняется фактическая раскладка лекал для проектируемого фасона изделия и разрабатывается графическая модель сборки конструкции изделия; осуществляется в ыбор методов обработки изделий и дается характеристика оборудования. В заключении описывается изготовление образца, результаты проведения примерки и дается оценка качества образца изделия.
В графической части типового дипломного проекта, отражающей результаты технологической подготовки производства, представляют параметры раскладки, выбранные методы обработки изделия, граф конструктивно-технологических переходов процесса обработки и сборки изделия и инструкционную карту для наиболее эффективного варианта обработки заданного узла.
1.6.1 Раскладка лекал и определение норм расхода
По разработанным лекалам с учетом выбранной ширины материалов, в масштабе 1:5, выполняются раскладки лекал деталей верха, подкладки и прокладочных деталей.
Лекала в раскладке располагают в соответствии с техническими требованиями, предусматривающими соблюдение допускаемого числа надставок к деталям, правильного направления нитей основы, ворса, рисунка материала. При изготовлении изделий с примеркой, лекала в раскладке укладывают с учетом припусков на швы к деталям и на уточнение изделия по фигуре заказчика.
Для получения экономичных раскладок лекал необходимо соблюдать следующие требования:
· раскладку лекал следует начинать с размещения крупных деталей;
· детали с прямыми срезами необходимо укладывать по кромке материала;
· фигурные (сложные) контуры деталей следует располагать внутри раскладки по возможности сопрягая их, то есть выступы одних деталей укладывать в соответствующие выемки других;
· если имеется расчетная норма расхода материала, то раскладку рекомендуется начинать с разных концов;
· межлекальные потери целесообразно компоновать в одном месте раскладки;
· с увеличением размеров изделия целесообразно применять более широкий материал.
В основе выполнения раскладки лекал должны лежать типовые схемы раскладок.
При выполнении зарисовки раскладки лекал на материале, лекала обводят тонко отточенным мелом или карандашом, соблюдая следующие требования:
· линии обводки должны быть четким, хорошо видными, иметь толщину не более 2 мм для мела и не более 1 мм для карандаша;
· внутренняя сторона линии обводки должна совпадать с контуром лекал;
· между ответственными срезами деталей, имеющими при раскрое отклонения от срезов лекал + 1 мм в раскладке должно обеспечиваться расстояние между лекалами не менее 2 мм.
Для выполнения раскладки лекал определяют норму расхода материала и процент межлекальных потерь, Вф :
,
где Sp , Sл – соответственно площадь раскладки лекал и площадь лекал изделия, см2 . Коэффициент использования материалов Ким определяют по формуле:
.
Параметры раскладки (длина раскладки Др , ширина раскладки или материала – Шр , площадь лекал – Sл , площадь раскладки – Sp , процент межлекальных потерь – Вф , коэффициент использования материалов – Ким ) сводят в таблицу 1.30.
Таблица 1.30 – Параметры раскладки лекал _________(указать вид изделия )
| Вид лекал |
Параметры |
||||||
| Др, см |
Шр, см |
Sл , см2 |
Sp , см2 |
Вф ,% |
Ким |
||
| Верха |
|||||||
| Подкладки |
|||||||
| Прокладки |
|||||||
Полученные данные сравнивают с нормативными параметрами для установления экономичности раскладки лекал в зависимости от вида и рисунка материала, его ширины, вида раскладки лекал, способа настилания материала и т.д.
Выполненные раскладки лекал приводят в записке в приложении и при возможности на графической части дипломного проекта, отражающей результаты технологической подготовки производства. Таблица 1.30 обязательно выносится на графическую часть дипломного проекта.
После зарисовки раскладки лекал на материалах верха, подкладки и на прокладочных материалах, все детали вырезают, наносят необходимые контрольные знаки для соединения деталей, указывают участки влажно-тепловой обработки.
1.6.2 Разработка графической модели сборки конструкции изделия
При изготовлении изделий на индивидуального потребителя графическую модель сборки конструкции проводят с учетом подготовки изделия к примерке. Степень готовности изделия (первичного образца) к примерке устанавливают в зависимости от фигуры потребителя, конструкции изделия, свойств материалов, квалификации закройщика, числа примерок и предоставляют в виде общей схемы, пример которой приведен на рисунке П31, приложения 3. В тексте записки на рисунок делается ссылка. Например, схема сборки женского пальто приведена на рисунке 9.
Технологический процесс изготовления одежды любого вида представляет собой набор групп операций, характеризующих обработку и сборку различных деталей и узлов в процессе получения готового изделия.
Для нахождения взаимосвязей этих групп составляют графическую модель сборки конструкции изделия (граф конструктивно-технологических переходов состояний изделия в процессе его изготовления). Отдельные элементы такого графа соответствуют относительно завершенному состоянию конструкции изделия в процессе соединения или сборки деталей или частей одежды; дуги связи между конструктивными соединениями. Для этого выписывают в горизонтальную строку все детали изделия, присваивая каждой из них порядковый номер (код).
Затем на основе анализа конструкции изделия определяют, какие детали, соединяясь с другими и проходя необходимую обработку, образуют относительно завершенные состояния конструктивных переходов.
Дальнейшее построение графа сборки конструкции изделия производится сочленением тех или иных деталей с образованием нового состояния конструкции изделия. На рисунке П32 приведен пример графа конструктивно-технологических переходов процесса обработки и сборки женского пальто. Он состоит из 8 операционных уровней. На первом и втором уровнях выполняется параллельная обработка деталей изделия, начиная с третьего уровня детали обрабатываются последовательно.
Разработанный граф представляется в записке и на листе графической части, о чем в записке делается ссылка. Например, граф конструктивно-технологических переходов для процесса обработки и сборки женского пальто приведен на рисунке 10, а также на шестом листе графической части дипломного проекта.
1.6.3 Выбор методов обработки изделий и характеристика оборудования
При оформлении раздела сначала дается краткое обоснование выбора общих тенденций в обработке изделий на основе конструктивного решения, свойств применяемых материалов и т.д.
При выборе методов обработки учитываются основные направления дальнейшего совершенствования техники и технологии швейного производства, методы обработки устанавливаются с учетом применяемого оборудования и средств технологической оснастки. Характеристику оборудования и средств технологической оснастки приводят в форме таблиц 1.31-1.33.
Таблица 1.31 –Технологическая характеристика швейных машин
| Наименование оборудования, класс, предприятие-изготовитель |
Тип стежка |
Максимальная скорость вращения главного вала, об/мин. |
Исполнительный орган перемещения материала |
Толщи на сшиваемого пакета материалов, мм. |
Длина стежка, мм. |
Применяемые |
Вид обрабатываемого материала |
Дополнительные сведения |
|
| Иглы |
Нит ки |
||||||||
| 1 |
2 |
3 |
4 |
5 |
6 |
7 |
8 |
9 |
10 |
Таблица 1.31 –Техническая характеристика прессов
| Вид оборудования, предприятие-изготовитель |
Производительность, цикл/ч |
Усилие прессования, кН (кГо) |
Температура нагрева подушек, to C |
Время, с |
||
| прессования |
отпаривания |
отсоса |
||||
| 1 |
2 |
3 |
4 |
5 |
6 |
7 |
В разделе должны быть представлены методы обработки всех узлов одной из моделей изделия в виде сборочных схем с указанием последовательности выполнения операций путем цифровой нумерации.
Таблица 1.32 – Техническая характеристика утюгов
| Марка утюга, предприятие-изготовитель |
Наименование |
Масса, кг |
Нагревательный элемент |
Давление пара, Па |
Расход пара, кг\ч |
|
| тип |
Мощность, Вт |
|||||
| 1 |
2 |
3 |
4 |
5 |
6 |
7 |
При изображении схем необходимо использовать условные обозначения в соответствии с ГОСТ 2.317-69.Пример графического представления методов обработки женского пальто приведен в приложении 3, таблица П33.
На основании выбранных методов обработки и оборудования, с учетом степени готовности изделия к примерке составляется технологическая последовательность обработки заданного узла изделия в форме таблицы 1.34.
Таблица 1.34 – Технологическая последовательность обработки узла
| № операции |
Наименование операции |
Вид работ |
Затрата времени, мин. |
Оборудование, приспособления, инструменты |
| 1 |
2 |
3 |
4 |
5 |
Инструкционная карта разрабатывается для наиболее эффективного варианта обработки заданного узла. В инструкционной карте отражаются графические схемы технологических операций по последовательности, с указанием технических условий их выполнения, вида выполняемых работ, затрат времени, применяемого оборудования, средств механизации и приспособлений. Инструкционная карта представляется в форме таблицы 1.35.
Таблица 1.35 – Инструкционная карта обработки заданного узла
| N п\п |
Техническое условие выполнения операции, мм |
Вид работ |
Затрата времени, мин. |
Оборудование, приспособление, инструменты |
| 1 |
2 |
3 |
4 |
5 |
Пример оформления инструкционной карты приведен в приложении 3, таблица П3.4. Инструкционную карту приводят на графической части дипломного проекта, о чем в записке делается ссылка. Например, инструкционная карта на обработку карманов женского пальто приведена в таблице 36, а также на шестом листе графической части дипломного проекта.
1.6.4 Изготовление образца
В дипломном проекте на одну из проектируемых моделей изготавливается первичный образец изделия. Целью изготовленного образца является отработка конструкции в материале и проверка эстетического состояния модели представленному образцу.
После выполнения раскладки лекал и раскроя образец подготавливают к примерке. Для этого на деталях кроя отмечают контрольными линиями величину припусков на швы и подгибку низа деталей, линии груди, талии, бедер, балансовые вертикали по линиям, ограничивающим ширину спинки и полочки, местоположение петель, карманов. В зависимости от принятой степени готовности изделия подготавливают к первой примерке. В случае необходимости детали проутюживают.
Примерка образца проводится на фигуре или манекене. Все измерения производят на основной стороне фигуры (в женской одежде – на правой, в мужской – на левой).
Примерка проводится в следующей последовательности:
· макет надевают на фигуру или манекен, уточняя положение средней линии полочки и спинки;
· при наличии застежки совмещают линию полузаноса, уравнивая детали по линии талии и низа и закрепляют в таком положении 2-3 булавами;
· оценивают общее впечатление об изделии и уточняют длину и ширину деталей спинки и полочки;
· проверяют длину, ширину и форму рукава, его положение в пройме;
· проверяют положение воротника в горловине, уточняя его форму и размеры;
· уточняют баланс изделия, проверяя положения горизонтальных и вертикальных линий в изделии;
· уточняют силуэт изделия, проверяя ширину изделия по линии талии, низа и растворы вытачек;
· проверяют длину изделия, горизонтальность линии низа, размещение вытачек, рельефных швов, положение петель;
· обмеляют линии горловины и проймы.
Все зафиксированные при примерке дефекты представляются в пояснительной записке в форме таблицы 1.36 с указанием характера их проявления, причин возникновения и путей устранения.
Таблица 1.36 –Характеристика дефектов и измерений, внесенных в конструкцию после проведения примерки
| Наименование дефекта |
Зарисовка внешнего вида дефектов |
Описание внешних признаков дефектов |
Причина возникновения дефектов |
Способ исправления дефектов |
Устранение дефекта ( схема) |
| 1 |
2 |
3 |
4 |
5 |
6 |
В дипломном проекте в соответствии с действующей НТД проводится оценка изготовленного образца одежды. Оценка изделия проводится по 100-бальной системе в соответствии с разделом 1.1.6. Результаты оценки качества изделия сводят в таблицу 1.37.
Таблица 1.37 –Анализ достигнутых значений показателей качества проектируемого изделия
| № п/п |
Показатели качества |
Количество баллов |
|||
| Максимально возможное, Рiм |
Фактическое, Рiф |
Базовое, Рiэт |
Фактически достигнутое в проекте, Рiфп |
||
| 1 |
2 |
3 |
4 |
5 |
6 |
| 1 |
Потребительские |
67,5 |
|||
| 1.1 |
Социальные |
10,0 |
|||
| 1.2 |
Функциональные |
11,5 |
|||
| 1.3 |
Эстетические |
17,5 |
|||
| 1.4 |
Эргономические |
15,0 |
|||
| 1.5 |
Эксплутационные |
13.5 |
|||
| 2 |
Технико-экономические |
32,5 |
|||
| 2.1 |
Применение методов стандартизации |
11,0 |
|||
| 2.2 |
Технологичность конструкции |
11,5 |
|||
| 2.3 |
Экономичность |
10,0 |
|||
| Итого |
100 |
||||
В графы 3, 4, 5 таблицы 1.37 помещают соответствующие значения показателей качества из таблицы 3 раздела 1.1.6, а в графу 6 – достигнутые значения показателей качества (Рiфп) в проекте для проектируемого изделия. Анализируя таблицу 38, отмечают какие из показателей качества Рiф были повышены в проекте и достигли базовых значений (Рiэт), указывая за счет применения каких новых технологий и методов проектирования конструкций одежды это произошло. По фактически достигнутым показателям качества (Рiфп, графа 6) устанавливают, достигнутый уровень качества одежды, сравнивая его с заданным в разделе 1.1.3.
Так как уровень качества проектируемых единичных образцов изделий всегда выше, чем при их изготовлении в технологических процессах, эффективное проектирование должно характеризоваться некоторым превышением достигнутого уровня качества в сравнении с проектируемым, т.е. Рiфп > Рiэт. Соблюдение этого условия обеспечивает сохранение заданного уровня качества в процессах изготовления изделий.
В зависимости от суммарной оценки в баллах образец может быть отнесен к той или иной категории качества.
Таблица 1.37 –Установление категории качества образца одежды
| Категория качества |
Необходимое число баллов по 100-бальной шкале |
| Высшая |
95 - 100 |
| Первая |
83 - 94 |
| Вторая |
82 и ниже |
В выводах по технологической части дипломного проекта отмечается новизна моделей, перспективность конструктивного решения, степень соответствия проектных решений всем показателям качества, прогрессивность используемого метода конструирования и оценка степени технологичности и экономичности конструкции. Дается общая оценка рекомендуемых методов обработки и оборудования, приводится комплексный показатель оценки качества ПКД и отмечается целесообразность ее внедрения в производство.
Выводы
В выводах выполненного дипломного проекта отмечают цели и задачи каждого из разделов и подразделов, способы и методы их решения и достигнутые результаты. Оптимальность и эффективность решения подтверждают качественными и количественными показателями (актами апробации и внедрения, докладами на научно-технических конференциях, коэффициентами, параметрами, коэффициентами весомостей, достигнутым экономическим эффектом и дополнительным объемом реализации, расчетными данными, например, запыленности, освещенности и т.п.).
Литература
1. Медведева Т.В. Лабораторный практикум по художественному конструированию одежды. Методические указания к выполнению лабораторных работ. М, МГУС, 2008 г.
2. Медведева Т.В. Художественное конструирование одежды. Учебное пособие по самостоятельной работе студентов. М, МГУС, 2008 г.
3. Медведева Т.В. Художественное конструирование одежды. М. Форум 2005г
4. Смирнова Н.И., Н.М. Конопальцева. Проектирование конструкций швейных изделий на индивидуального потребителя.- М.: ИНФРА-ФОРУМ-М, 2005.
5. А.И. Мартынова, Е. Г. Андреева. Конструктивное моделирование. - М.: МГАЛП, 2002.
6. Размерная типология населения с основами анатомии и морфологии./ Под общей редакцией Кобляковой Е.Б.; И. Академия мастер. М. 2001 г.
7. Матузова Е.М., Соколова Р.И., Гончарук Н.С. Мода и крой. М. 2001 г.
8. Мартынова А.И. и Андреева Е.Г. Конструктивное моделирование одежды. М. МГАЛП, 1999 г.
9. Смирнова Н.И., Конопальцева Н.М. Конструирование одежды для индивидуального потребителя. - М.: Высшая школа, 1997.
10. Методические указания к выполнению лабораторных работ по дисциплине «Конструирование одежды по индивидуальным заказам». - М.: ГАСБУ, 1997.
11. Лабораторный практикум по конструированию одежды с элементами САПР. Под общей ред. Кобляковой Е.Б. М., Легпромбытиздат, 1994, 316 с.
12. Попандопуло В.Н. Анализ экономичности моделей одежды. М., Легпромбытиздат, 1989, 95 с.
13. Конструирование одежды с элементами САПР/ Под общей редакцией Кобляковой Е.Б. М. – Л., 1988.
14. Козлова Т.В. Основы теории проектирования костюма. М. Л.И., 1988 г
15. Единая методика конструирования одежды стран-членов СЭВ. М.: 1988, т. 1
16. Янчевская Е.А. Конструирование одежды. М.: Легпромбытиздат, 1986 г.
17. Матузова Е.М., Соколова Р.И., Гончарук Н.С. Разработка конструкций женских швейных изделий по моделям. М.: Легкая и пищевая промышленность, 1983 г.
18. Коблякова Е.Б., Савостицкий А.В., Ивлева Г.С. Основы конструирования одежды. М.: Легкая индустрия, 1980.
19. Шершнева Л.П. Конструирование женской одежды на типовые и нети повые фигуры. М.: Легкая индустрия, 1980 г.
20. Лабораторный практикум по конструированию одежды. Под ред. Кобляковой Е.Б. М. Легкая индустрия, 1976, 320 с.
21. ЦОТШЛ. Единый метод конструирования женской одежды, изготовляемой по индивидуальным заказам. - М.: ЦБНТИ, 1989, ч.1,2.
22. ЦОТШЛ. Единый метод конструирования мужской одежды, изготовляемой по индивидуальным заказам.- М.: ЦБНТИ, 1982.
23. ЦОТШЛ. Единый метод конструирования одежды с втачными рукавами для девочек, изготовляемой по индивидуальным заказам. - М.: ЦБНТИ, 1980.
24. ЦОТШЛ. Единый метод конструирования одежды с втачными рукавами для мальчиков, изготовляемой по индивидуальным заказам. - М.: ЦБНТИ, 1982.
25. ГОСТ 17522-72 «Типовые фигуры женщин. Размерные признаки для проектирования одежды».
26. ГОСТ 17521-72 «Типовые фигуры мужчин. Размерные признаки для проектирования одежды».
27. ГОСТ 17316-72 «Типовые фигуры девочек. Размерные признаки для проектирования одежды».
28. ГОСТ 17917-72 «Типовые фигуры мальчиков. Размерные признаки для проектирования одежды».
29. ОСТ 17326-81 «Изделия швейные, трикотажные, меховые. Типовые фигуры женщин. Размерные признаки для проектирования одежды»
30. ОСТ 17325-86 «Изделия швейные, трикотажные, меховые. Типовые фигуры мужчин. Размерные признаки для проектирования одежды»
31. Типовые нормы времени на технологические операции пошива мужской и женской одежды по индивидуальным заказам при организации работ с разделением труда. - М.: ЦБНТИ, 1988.
32. ОСТ 17-83580. Изделия швейные. Технические требования к стежкам, строчкам швам. - М.: ЦНИИТЭИЛегпром,1992.
33. Справочник по конструированию одежды. - М.:ЛиПП,1982.
34. РСТ 548-87. Бытовое обслуживание населения. Изготовление одежды верхней женской и для девочек пальтово-костюмного ассортимента. Общие технические условия. - М.: Госплан РСФСР, 1987.
35. РСТ 544-87. Бытовое обслуживание населения. Изготовление одежды верхней мужской и для мальчиков пальтово-костюмного ассортимента. Общие технические условия. - М.: Госплан, 1987.
36. РСТ 578-87. Бытовое обслуживание населения. Изготовление одежды верхней женской и для девочек платьево-блузочного ассортимента. Общие технические условия. - М.: Госплан РСФСР, 1987.
37. ГОСТ 4.45-86. Системы показателей качества продукции. Изделия швейные бытового назначения. Номенклатура показателей.
38. Государственные стандарты СССР. Единая система конструкторской документации. Основные положения. М., 1982, 350 с.
39. ГОСТ 7.32-2001. Система стандартов по информации, библиотечному и издательскому делу.
40. ГОСТ 4103-86. Изделия швейные. Методы контроля качества.
41. ГОСТ 10581- 91. Изделия швейные и трикотажные. Маркировка, упаковка, транспортирование и хранение.
42. ГОСТ 23948- 86. Изделия швейные. Правила приемки.
43. ГОСТ 16958-80. Изделия текстильные. Символы по уходу.
44. ГОСТ 23193 – 84. Изделия швейные бытового назначения. Допуски.
45. Справочник по конструированию одежды. М.: Легкая индустрия, 1982 г
46. Единый метод конструирования мужской одежды, изготовляемой по индивидуальным заказам населения. Часть 1. М.: ЦБНТИ, 1982 г.
47. Методика конструирования одежды. Одежда для девочек. М.: ЦНИИТэлегпром, 1982 г.
48. Методика конструирования одежды. Одежда для мальчиков. М.: ЦНИИТ-элегпром, 1982 г.
49. Единый метод конструирования женской одежды, изготовляемой по индивидуальным заказам населения на фигуры различных типов телосложения. Части 1 и 2. М.: ЦБНТИ, 1991 г.
50. Единый метод конструирования женских поясных изделий, изготовляемых по индивидуальным заказам населения. М.: ЦБНТИ, 1990 г.
51. ЦОТШЛ. Единый метод конструирования одежды различных покроев для девочек, изготовляемой по индивидуальным заказам. М. : ЦБНТИ, 1983 г.
52. ЦОТШЛ. Единый метод конструирования одежды с втачными рукавами для мальчиков, изготовляемой по индивидуальным заказам. М. : ЦБНТИ, 1987 г.
53. Методика конструирования мужской одежды различных покроев. М.: ЦБНТИ, 1981 г.
54. 27. ГОСТ 17522-72 «Типовые фигуры женщин. Размерные признаки для проек тирования одежды».
55. ГОСТ 17521-72 «Типовые фигуры мужчин. Размерные признаки для проектирования одежды».
56. ГОСТ 17316-72 «Типовые фигуры девочек. Размерные признаки для проектирования одежды».
57. ГОСТ 17917-72 «Типовые фигуры мальчиков. Размерные признаки для проектирования одежды».
58. ОСТ 17326-81 «Изделия швейные, трикотажные, меховые. Типовые фигуры женщин. Размерные признаки для проектирования одежды»
59. ОСТ 17325-86 «Изделия швейные, трикотажные, меховые. Типовые фигуры мужчин. Размерные признаки для проектирования одежды»
60. Рахманов Н.А., Стаханова С.И. Устранение дефектов одежды. М.: ЦБНТИ, 1987 г.
ПРИЛОЖЕНИЕ 1
Таблица П1.1 – АНАЛИЗ ТЕХНОЛОГИИ ПРОЕКТИРОВАНИЯ КОНСТРУКЦИЙ ОДЕЖДЫ,
ПРИНЯТОЙ НА ___________________________________ ПРЕДПРИЯТИИ
(указать название предприятия)
| № п/п |
Анализируемый ППКО |
Предлагаемый ППКО |
|||||
| Виды работ |
метод, способ, прием выполнения |
должность исполнителя |
Время* выполнения, час |
Предлагаемые виды работ |
Метод выполнения |
Время выполнения, час |
|
| 1 |
2 |
3 |
4 |
5 |
6 |
7 |
8 |
| 1 1.1 1.2… и т.д. |
ТЗ |
||||||
| 2 2.1… |
ТПр.... |
||||||
| 3… |
ЭП... |
||||||
| 4… |
ТП... |
||||||
| 5… |
РП |
||||||
| Итого по процессу |
|||||||
| *При определении времени выполнения всех видов работ процесса проектирования конструкций необходимо учитывать и время “ ожидания “. Так, например, конструктор подготовил свои разработки к понедельнику, а художественный совет состоится только в четверг, и т.д.. Таким образом, в гр.4 и 7 в итого определяется время всего производственного цикла процесса проектирования конструкций одежды. |
|||||||
Таблица П1.2 – Номенклатура показателей качества одежды по [2,3,27]
| № п/п |
Наименование показателей качества |
Код |
Уровень |
| 1 |
2 |
3 |
4 |
| КАЧЕСТВО одежды в целом |
К0 |
0 |
|
| 1 |
Потребительские |
К1 |
1 |
| 1.1 |
Социальные: |
К11 |
2 |
| Соответствие прогнозу потребительского спроса |
К111 |
3 |
|
| Соответствие размероростовочному ассортименту |
К211 |
3 |
|
| Конкурентоспособность изделия |
К311 |
3 |
|
| 1.2 |
Функциональные: |
К21 |
2 |
| Соответствие основной целевой функции (конкретному назначению) |
К121 |
3 |
|
| Соответствие современному образу жизни |
К1121 |
4 |
|
| Религиозные и политические убеждения личности |
К11121 |
5 |
|
| Профессия потребителя |
К21121 |
5 |
|
| Интересы и хобби потребителя |
К31121 |
5 |
|
| Характер образа жизни потребителя |
К41121 |
5 |
|
| Соответствие конкретной обстановке труда и отдыха |
К2121 |
4 |
|
| Условия быта потребителя |
К12121 |
5 |
|
| Условия работы потребителя |
К22121 |
5 |
|
| Условия отдыха потребителя |
К32121 |
5 |
|
| Особенности личной жизни потребителя |
К42121 |
5 |
|
| Климатические условия жизни потребителя |
К52121 |
5 |
|
| Соответствие размерной и полнотно-возрастной группе потребителей |
К221 |
3 |
|
| Соответствие внешнему образу потребителя |
К1221 |
4 |
Продолжение таблицы П1.2
| 1 |
2 |
3 |
4 |
| Основные габариты фигуры потребителя |
К11221 |
5 |
|
| Особенности строения фигуры потребителя |
К21221 |
5 |
|
| Особенности антропометрической части головы |
К31221 |
5 |
|
| Пигментация волос, глаз, кожи |
К41221 |
5 |
|
| Возраст потребителя |
К51221 |
5 |
|
| Национальность потребителя |
К61221 |
5 |
|
| Соответствие возрастным психологическим особенностям |
К2221 |
4 |
|
| Физический образ потребителя |
К12221 |
5 |
|
| Черты характера и темперамент потребителя |
К22221 |
5 |
|
| Нравственные и моральные качества личности потребителя |
К32221 |
5 |
|
| Креативность личности потребителя |
К42221 |
5 |
|
| Коммуникативность личности потребителя |
К52221 |
5 |
|
| Половозрастные особенности личности потребителя |
К52221 |
5 |
|
| 1.3 |
Эстетические |
К31 |
2 |
| Новизна модели и конструкции |
К131 |
3 |
|
| Силуэт |
К1131 |
4 |
|
| Конструктивное членение формы |
К2131 |
4 |
|
| Фактура материалов |
К3131 |
4 |
|
| Форма мелких и отделочных деталей |
К4131 |
4 |
|
| Степень совершенства композиции модели |
К231 |
3 |
Продолжение таблицы П1.2
| 1 |
2 |
3 |
4 |
| Целостность формы |
К1231 |
4 |
|
| Пластическая выразительность |
К2231 |
4 |
|
| Соответствие формы изделия ее конструкции и материалам |
К3231 |
4 |
|
| Соответствие членения силуэтной форме изделия |
К4231 |
4 |
|
| Товарный вид |
К331 |
3 |
|
| Внешний вид |
К1331 |
4 |
|
| Внутренняя отделка |
К2331 |
4 |
|
| Выразительность фирменных знаков |
К3331 |
4 |
|
| 1.4 |
Эргономические: |
К41 |
2 |
| Антропометрическое соответствие |
К141 |
3 |
|
| Статическое соответствие |
К1141 |
4 |
|
| Соответствие конструкции изделия размерам тела человека |
К11141 |
5 |
|
| Соответствие конструкции изделия форме тела человека |
К21141 |
5 |
|
| Динамическое соответствие |
К2141 |
4 |
|
| Уровень деформации деталей одежды в процессе ее эксплуатации |
К12141 |
5 |
|
| Размах движений рук одетого человека |
К22141 |
5 |
|
| Перемещение низа изделия при его эксплуатации |
К32141 |
5 |
|
| Психофизиологическое соответствие |
К241 |
3 |
|
| Удобство пользования отдельными элементами одежды |
К1241 |
4 |
|
| Удобство одевания и снятия одежды |
К2241 |
4 |
|
| Масса изделия |
К3241 |
4 |
|
| Гигиеническое соответствие |
К341 |
3 |
Продолжение таблицы П1.2
| 1 |
2 |
3 |
4 |
| Теплозащитные функции одежды |
К1341 |
4 |
|
| Суммарное тепловое сопротивление пакета одежды/защита от солнечной радиации |
К11341 |
5 |
|
| Степень вентилируемости |
К2341 |
4 |
|
| Воздухопроницаемость материалов |
К12341 |
5 |
|
| Паропроницаемость материалов |
К22341 |
5 |
|
| Рациональность конструктивного решения одежды |
К32341 |
5 |
|
| Защита от внутренней и внешней влаги |
К3341 |
4 |
|
| Гигроскопичность / гидрофобность материала |
К13341 |
5 |
|
| 1.5 |
Эксплутационные |
К51 |
2 |
| Устойчивость материалов и соединительных швов к разрывным нагрузкам |
К151 |
3 |
|
| Разрывная нагрузка |
К1151 |
4 |
|
| Разрывное удлинение |
К2151 |
4 |
|
| Работа разрыва |
К3151 |
4 |
|
| Формоустойчивость деталей и краев одежды |
К251 |
3 |
|
| Упругость |
К1251 |
4 |
|
| Жесткость |
К2251 |
4 |
|
| Драпируемость |
К3251 |
4 |
|
| Сминаемость |
К4251 |
4 |
|
| Усадка |
К5251 |
4 |
|
| Устойчивость конструкции одежды |
К6251 |
4 |
|
| Устойчивость ВТО |
К7251 |
4 |
Продолжение таблицы П1.2
| 1 |
2 |
3 |
4 |
| Износостойкость материалов и элементов конструкции (долговечность) |
К351 |
3 |
|
| Устойчивость к трению |
К1351 |
4 |
|
| Устойчивость к многократному растяжению |
К2351 |
4 |
|
| Устойчивость к действию светопогоды |
К3351 |
4 |
|
| Устойчивость к действию химчистки, стирки, глажения |
К4351 |
4 |
|
| 2 |
Технико-экономические: |
К2 |
1 |
| 2.1 |
Стандартизация и унификация конструкции |
К12 |
2 |
| Конструктивная преемственность моделей семейства |
К112 |
3 |
|
| Степень унификации |
К1112 |
4 |
|
| Степень повторяемости |
К2112 |
4 |
|
| Степень повторяемости конструктивных элементов в типоразмерном ряду |
К3112 |
4 |
|
| Степень художественно-конструктивного разнообразия моделей в семействе |
К4112 |
4 |
|
| Технологическая преемственность моделей семейства |
К212 |
3 |
|
| Степень применяемости унифицированной технологии |
К1212 |
4 |
|
| Степень применяемости типовых технологических процессов предприятий |
К2212 |
4 |
|
| 2.2 |
Технологичность конструкции |
К22 |
2 |
| Производственная технологичность конструкции |
К122 |
3 |
|
| Прогрессивность конструкции |
К1122 |
4 |
|
| Минимальное количество деталей и соединений |
К11122 |
5 |
|
| Степень применяемости новых рациональных материалов |
К21122 |
5 |
|
| Степень применяемости параллельно-последовательных методов обработки и сборки |
К31122 |
5 |
|
| Степень механизации и автоматизации |
К41122 |
5 |
|
| Рациональность расположения шва в конструкции |
К51122 |
5 |
|
| Степень сопряженности деталей по линиям швов |
К51122 |
5 |
Продолжение таблицы П1.2
| 1 |
2 |
3 |
4 |
| Материалоемкость изделия |
К2122 |
4 |
|
| Материалоемкость изделия по площади лекал |
К12122 |
5 |
|
| Степень использования материалов |
К22122 |
5 |
|
| Общая трудоемкость изготовления изделия |
К3122 |
4 |
|
| Трудоемкость КПП |
К13122 |
5 |
|
| Трудоемкость ТПП |
К23122 |
5 |
|
| Трудоемкость изготовления изделия |
К33122 |
5 |
|
| Эксплутационная технологичность |
К222 |
3 |
|
| Пригодность к химчистке, стирке, глажению |
К1222 |
4 |
|
| Пригодность к восстановлению путем ремонта |
К2222 |
4 |
|
| 2.3 |
Экономичность |
К32 |
2 |
| Приведенные затраты на единицу продукции |
К132 |
3 |
|
| Затраты на КПП |
К1132 |
4 |
|
| Затраты на ТПП |
К2132 |
4 |
|
| Производственные затраты |
К3132 |
4 |
|
| Приведенные потребительские расходы на эксплуатацию изделия |
К232 |
3 |
|
| Расходы на химчистку и стирку |
К1232 |
4 |
|
| Расходы на восстановление |
К2232 |
4 |
Таблица П1.3 – Значений коэффициентов весомостей показателей качества третьего уровня
| № п/п |
ПК |
Величина mi |
№ п/п |
ПК |
Величина mi |
№ п/п |
ПК |
Величина mi |
| Потребительские |
7 |
К231 |
0,35 |
Технико-экономические |
||||
| Функциональные |
8 |
К331 |
0,3 |
Стандартизации |
||||
| 1 |
К221 |
0,6 |
Эргономические |
15 |
К212 |
0,5 |
||
| 2 |
К121 |
0,4 |
9 |
К141 |
0,45 |
16 |
К112 |
0,5 |
| Социальные |
10 |
К241 |
0,35 |
Технологичности |
||||
| 3 |
К311 |
0,35 |
11 |
К341 |
0,2 |
17 |
К222 |
0,35 |
| 4 |
К221 |
0,3 |
Эксплутационны е |
18 |
К122 |
0,65 |
||
| 5 |
К111 |
0,35 |
12 |
К351 |
0,3 |
Экономичности |
||
| Эстетические |
13 |
К251 |
0,5 |
19 |
К132 |
0,6 |
||
| 6 |
К131 |
0,35 |
14 |
К151 |
0,2 |
20 |
К232 |
0,4 |
Таблица П1.4 – Результаты анализа формы проектируемого фасона изделия и характера оформления срезов
| Анализ формы изделия |
Анализ оформления срезов |
|||
| Антропометрический пояс изделия |
Характер формы |
Способ достижения |
Наименование среза |
Характер оформления срезов |
| 1 |
2 |
3 |
4 |
5 |
| 1. Плечевой и т.д. |
1. Боковой и т.д. |
|||
Таблица П1.5 – Результаты анализа величин композиционных прибавок и доминирующих элементов моды проектируемого фасона изделия
| Композиционные прибавки |
Доминирующие: |
Психологический центр изделия |
|||
| № п/п |
Наименование прибавки |
Величина, см |
Композиционные прибавки |
Элементы моды |
|
| 1 |
2 |
3 |
4 |
5 |
6 |
Таблица П1.6 – Пример определения предпочтительных художественно-конструктивных решений проектируемого фасона изделия
| № п./п. |
Художественно-конструктивные показатели эстетического соответствия |
Оценка степени функционального соответствия ХКП графы 2 |
Предпочтительные художественно- конструктивные показатели |
| 1 |
2 |
3 |
4 |
| 1. |
Силуэт прямой, геометрическая форма - прямоугольник. |
+ |
Прямой силуэт с геометрической силуэтной формой - прямоугольник |
| 2. .... |
Покрой - втачной, типовой вариант рукава - с одним нижним швом. |
+ |
|
| 15. |
Вырез горловины - форма воротника - с застежкой до верха |
_ |
Только У-образный удлиненный Воротник типа “шаль” с застежкой открытой на фасон |
| 16. ... |
Длина изделия на 5 см ниже колена |
_ |
Длина изделия ниже уровня колена на 15 см |
| и т.д. |

Рисунок П1.1 – Кодирование фасонных особенностей женского платья на типовой фигуре 170-88-92 в М1:8
Таблица П1.7 – Средние значения коэффициентов весомостей ХКП для расчета коэффициента художественно-конструктивного разнообразия фасонов в СМКФ , разработанных на одной базовой конструкции
| № п/п |
Наименование ХКП |
Значения коэффициентов весомости, mi |
| 1 |
2 |
3 |
| Варианты манжет и оформление низа рукава |
||
| 1 |
Манжеты притачные узкие (ширина 2 см) |
0,10 |
| 2 |
Манжеты притачные широкие (ширина 6 см) |
0,25 |
| 3 |
Манжеты отложные широкие (ширина 6 см) |
0,37 |
| 4 |
Манжеты отложные фигурные |
0,48 |
| 5 |
Паты (ширина 3 см) |
0,39 |
| 6 |
Кулиски по низу рукава |
0,53 |
| Варианты рисунков материала |
||
| 7 |
Мелкая клетка – (157 клеток/100см2 ) |
0,63 |
| 8 |
Крупная клетка – (9 клеток/100см2 ) |
0,72 |
| 9 |
Поперечная узкая полоска – (12 полос/100см2 ) |
0,62 |
| 10 |
Поперечная широкая полоска – (5 полос/100см2 ) |
0,83 |
| 11 |
Продольная узкая полоска – (12 полос/100см2 ) |
0,63 |
| 12 |
Продольная широкая полоска – (5 полос/100см2 ) |
0,81 |
| 13 |
Диагональная узкая полоска – (12 полос/100см2 ) |
0,67 |
| 14 |
Диагональная широкая полоска – (5 полос/100см2 ) |
0,84 |
| 15 |
Мелкий горох – (64 элемента/100см2 ) |
0,48 |
| 16 |
Крупный горох – (9 элементов/100см2 ) |
0,78 |
| 17 |
Растительный – (3 элемента/100см2 ) |
0,69 |
| 18 |
Крупный растительный – (0,1 элемента/100см2 ) |
0,86 |
| Варианты цвета материала |
||
| 19 |
Красный |
0,85 |
| 20 |
Желтый |
0,73 |
| 22 |
Зеленый |
0,82 |
| 23 |
Синий |
0,85 |
| 24 |
Черный |
0,93 |
| Варианты воротников и оформления горловины |
||
| 25 |
«Апаш» |
0,61 |
| 26 |
«Шаль» |
0,65 |
| 27 |
Пиджачный |
0,71 |
| 28 |
Отрезной отложной большого объема |
0,40 |
| 29 |
Рубашечный |
0,27 |
| 30 |
Отрезной отложной с закругленными концами |
0,33 |
| 31 |
Стойка отрезная |
0,14 |
| 32 |
Сложный вырез горловины с цельновыкроенной стойкой |
0,51 |
| 33 |
Горловина с отделкой рюшью |
0,56 |
| 34 |
V-образный |
0,50 |
| 35 |
«Лодочка» |
0,36 |
| 36 |
Круглый углубленный |
0,25 |
| 37 |
«Каре» |
0,48 |
| 38 |
«Каре» фигурный |
0,64 |
Продолжение таблицы П1.7
| 1 |
2 |
3 |
| 39 |
«Под горлышко» с каплевидным разрезом |
0,24 |
| 40 |
«Под горлышко» с прямым разрезом |
0,21 |
| 41 |
V-образный вырез и имитация запашной застежки |
0,42 |
| 42 |
Круглый углубленный вырез и круглый углубленный вырез с каплевидным разрезом |
0,34 |
| 43 |
Круглый углубленный вырез с каплевидным разрезом и круглый углубленный вырез с каплевидным разрезом и застежкой на завязывающуюся тесьму |
0,26 |
| 44 |
Сложный вырез горловины с цельновыкроенной стойкой |
0,48 |
| 45 |
Сложный вырез горловины с цельновыкроенной стойкой и сложный вырез горловины с цельновыкроенной стойкой и разрезом посередине |
0,16 |
| Варианты застежки |
||
| 46 |
Центральная на петли и пуговицы, доходящая до низа изделия |
0,55 |
| 47 |
Центральная на петли и пуговицы с притачной планкой, доходящая до низа изделия |
0,61 |
| 48 |
Центральная на петли и пуговицы, не доходящая до низа изделия |
0,48 |
| 49 |
Центральная на петли и пуговицы с притачной планкой, не доходящая до низа изделия |
0,48 |
| 50 |
Встык. с навесными петлями, доходящая до низа изделия |
0,67 |
| 51 |
Комбинированная центральная (потайная + бортовая) на петли и пуговицы, доходящая до низа изделия |
0,62 |
| 52 |
Центральная на тесьму «молнию», доходящая до низа изделия |
0,51 |
| 53 |
Центральная на тесьму «молнию», не доходящая до низа изделия |
0,38 |
| 54 |
Центральная потайная, доходящая до низа изделия |
0,34 |
| 55 |
Центральная потайная, не доходящая до низа изделия |
0,31 |
| 56 |
Запашная |
0,78 |
| 57 |
Смещенная на петли и пуговицы, доходящая до низа изделия |
0,80 |
| 58 |
Смещенная потайная доходящая до низа изделия |
0,52 |
| 59 |
Центральная встык завязывающаяся на тесьму |
0,46 |
| 60 |
Центральная застежка на петли и пуговицы, доходящая до низа изделия (8 и 7 пуговиц) |
0,02 |
| 61 |
Центральная застежка на петли и пуговицы с притачной планкой, не доходящая до низа изделия (4 и 3 пуговицы) |
0,24 |
| 62 |
Смещенная на петли и пуговицы, доходящая до низа изделия |
0,04 |
| 63 |
Имитация запашной застежки и запашная застежка |
0,3 |
| 64 |
Пояс, втачанный ниже линии талии |
0,52 |
| Варианты карманов |
||
| 65 |
Накладные с клапаном ниже линии талии |
0,63 |
| 66 |
Накладные без клапана ниже линии талии |
0,44 |
| 67 |
Накладные декоративные фигурные клапаны ниже линии талии |
0,39 |
| 68 |
Накладные с клапаном выше линии груди |
0,67 |
| 69 |
Накладные без клапана выше линии груди |
0,59 |
| 70 |
Накладные декоративные фигурные клапаны выше линии груди |
0,41 |
| 71 |
Прорезные горизонтальные с листочкой ниже линии талии |
0,33 |
| 72 |
Прорезные наклонные с листочкой ниже линии талии |
0,35 |
| 73 |
Прорезные вертикальные с листочкой ниже линии талии |
0,3 |
Продолжение таблицы П1.7
| 1 |
2 |
3 |
| 74 |
Прорезные горизонтальные в рамку ниже линии талии |
0,26 |
| 75 |
Прорезные вертикальные в рамку ниже линии талии |
0,24 |
| Прорезные наклонные в рамку ниже линии талии |
0,33 |
|
| 76 |
Варианты пояса |
|
| 77 |
Жесткий широкий |
0,62 |
| 78 |
Жесткий узкий |
0,47 |
| 79 |
Мягкий |
0,74 |
ПРИЛОЖЕНИЕ 2
Таблица П2.1 – Допускаемые отклонения от нитей основы
| Детали |
Направление нитей основы |
Допускаемые отклонения, % для тканей |
|||||
| шерстяных |
хлопчатобумажных |
шелковых |
|||||
| с рисунком в полоску |
без рисунка |
с рисунком в полоску |
без рисунка |
с рисунком в полоску |
без рисунка |
||
| 1 |
2 |
3 |
4 |
5 |
6 |
7 |
8 |
| Детали верха |
|||||||
| Спинка цельная |
Параллельно линии, проведенной посередине вдоль детали |
0,5 |
2 |
0,5 |
2 |
0,5 |
2 |
| Спинка со швом посередине (прилегающая по линии талии) |
Параллельно среднему срезу от талии до низа |
0,5 |
2 |
0,5 |
2 |
0,5 |
2 |
| Хлястики, спинка, пояс, шлевки |
Параллельно линии, проведенной по середине поперек детали. На боковых шлевках и поясах их хлопчатобумажных, шелковых и прорезиненных тканей, посередине вдоль детали |
0,5 |
5 |
0,5 |
5 |
0,5 |
5 |
| Полочка |
Параллельно линии полузаноса, расположенной ниже верхней бортовой петли |
- |
1 |
- |
1 |
- |
1 |
| Клапаны, накладные карманы, листочки верхних карманов, листочки боковых карманов |
Совпадает с нитями основы полочек при наложении верхних срезов данных деталей по линии намелки карманов на полочках |
- |
8 |
- |
8 |
- |
8 |
Продолжение таблицы П2.1
| 1 |
2 |
3 |
4 |
5 |
6 |
7 |
8 |
| Обтачки карманов, листочки накладных верхних и боковых карманов, листочки боковых прорезных карманов |
Параллельно линии, проведенной посередине вдоль детали |
2 |
2 |
2 |
2 |
2 |
2 |
| Обтачка петель |
Параллельно линии, проведенной посередине вдоль детали |
2 |
2 |
2 |
2 |
2 |
2 |
| Рукава из двух-трех частей: верхняя часть втачного рукава из двух частей |
Параллельно линии, соединяющей концы переднего переката части рукава |
1 |
4 |
1 |
4 |
1 |
4 |
| реглан с верхней вытачкой |
Параллельно линии, проведенной посередине вдоль детали |
1 |
4 |
1 |
4 |
1 |
4 |
| реглан со швом посередине |
Параллельно линии среднего среза от низа до начала плечевой части |
1 |
4 |
1 |
4 |
1 |
4 |
| нижняя часть рукава реглан |
Параллельно линии, соединяющей верхний и нижний углы переднего среза |
3 |
6 |
3 |
6 |
3 |
6 |
| Втачные одношовные рукава |
Посередине вдоль детали |
1 |
4 |
1 |
4 |
1 |
4 |
| Хлястики, паты, манжеты рукавов |
Совпадает с нитями основы верхних частей рукавов. В притачных манжетах нити основы располагаются параллельно линии, проходящей посередине вдоль детали |
- |
5 |
- |
5 |
- |
5 |
Продолжение таблицы П2.1
| 1 |
2 |
3 |
4 |
5 |
6 |
7 |
8 |
| Верхний воротник |
Параллельно линии, проведенной поперек детали. В воротниках с отрезными стойками нити основы в стойках совпадают с нитями основного воротника |
- |
1 |
- |
1 |
- |
1 |
| Нижний воротник в изделиях с открытыми лацканами |
Параллельно краю раскепа |
- |
- |
- |
- |
- |
- |
| Нижний воротник с застежкой доверха типа шаль, стойка |
Под острым углом к срезу отлета (30-60˚). Совпадают с нитями основы верхнего воротника |
20 |
20 |
10 |
20 |
10 |
20 |
| Подборта: |
Параллельно внешнему краю лацканов. В изделиях, имеющих значительную выпуклость по внешним краям лацканов, нити основы проходят параллельно внешним краям подбортов, расположенным ниже линии талии |
- |
- |
- |
- |
- |
- |
| в верхней части подборта |
- |
5 |
- |
5 |
- |
5 |
|
| в надставках |
2 |
10 |
2 |
10 |
2 |
10 |
|
| Передние части брюк |
Параллельно линии, соединяющей точки середины ширины частей брюк внизу и на уровне колена. В отрезной верхней части передних частей брюк нити основы совпадают с направлением нитей основы передних частей |
- |
3 |
- |
3 |
- |
3 |
| Задние части брюк |
3 |
4 |
3 |
4 |
3 |
4 |
|
| Клапаны карманов брюк |
Совпадают с нитями основы частей брюк при наложении верхних краев данных деталей по линиям намелки карманов |
2 |
5 |
2 |
5 |
2 |
5 |
| Гульфик и откосок |
В гульфике – параллельно внешнему, а в откоске – параллельно внутреннему срезу |
2 |
10 |
2 |
10 |
2 |
10 |
Продолжение таблицы П2.1
| 1 |
2 |
3 |
4 |
5 |
6 |
7 |
8 |
| Пояс брюк |
Параллельно верхнему срезу. В брюках из гладкоокрашенных тканей допускается выкраивание пояса брюк по нити утка |
2 |
2 |
2 |
2 |
2 |
2 |
| Обтачки и подзоры карманов брюк |
Параллельно линии, проведенной посередине вдоль детали: в подзорах в обтачках |
5 3 |
10 3 |
5 3 |
10 3 |
5 3 |
10 3 |
| Хлястики и шлевки брюк |
Параллельно линиям, проведенными вдоль середины деталей. Допускается выкраивание хлястиков по нити утка |
- |
5 |
- |
5 |
- |
5 |
| Юбка. Передние, задние и боковые части юбки |
Параллельно линиям, проведенным посередине вдоль детали |
- |
5 |
- |
5 |
- |
5 |
| Пояс юбки |
Параллельно линиям, проведенным посередине вдоль детали |
- |
- |
- |
- |
- |
- |
| Полочки жилета |
Параллельно выступу бортового среза правой полочки |
- |
3 |
- |
3 |
- |
3 |
| Листочки карманов жилета |
Совпадают с нитями основы полочек при наложении листочек по намеченным линиям прорезей карманов |
- |
8 |
- |
8 |
- |
8 |
| Подборта жилета |
Параллельно внешним краям подбортов |
5 |
10 |
5 |
10 |
5 |
10 |
| Обтачка низа полочек жилета |
Совпадают с нитями основы полочек |
- |
- |
- |
- |
- |
- |
| Детали подкладки |
|||||||
| Спинка цельная |
Параллельно линии, проведенной посередине вдоль детали |
- |
- |
- |
2 |
- |
1 |
Продолжение таблицы П2.1
| 1 |
2 |
3 |
4 |
5 |
6 |
7 |
8 |
| Спинка из двух частей |
Параллельно среднему срезу, расположенному ниже линии талии |
- |
- |
- |
2 |
- |
1 |
| Полочка |
Параллельно бортовому срезу, расположенному ниже уровня проймы |
- |
- |
- |
5 |
- |
1 |
| Верхние и нижние части рукавов |
Параллельно прямой линии, соединяющей верхней и нижней углы переднего среза. |
- |
- |
- |
15 |
- |
10 |
| Подзоры, листочки, вешалка, петли внутренних карманов, полодержатель |
Параллельно линии, проведенной посередине вдоль детали |
- |
- |
- |
15 |
- |
15 |
| Подкладка клапанов, манжет, листочек, накладных карманов, хлястиков |
Параллельно линии, проведенной посередине поперек или вдоль детали |
- |
- |
- |
- |
- |
- |
| Полоски ткани для обработки внутренней застежки |
Параллельно бортовому срезу |
- |
- |
- |
2 |
- |
2 |
| Подкладка передних частей брюк |
Совпадает с нитями основы передних частей брюк |
- |
- |
- |
- |
- |
2 |
| Подкладка пояса |
Параллельно линии, проведенной посередине поперек детали. Подкладка к узкому поясу может раскраиваться в долевом направлении |
5 |
15 |
5 |
10 |
||
| Подкладка гульфика и обтачка застежки |
Параллельно притачиваемым срезам |
- |
- |
- |
- |
- |
- |
| Накладка на средний шов брюк (леи) |
Совпадает с направлением нитей основы задних частей брюк |
- |
- |
- |
- |
- |
10 |
Продолжение таблицы П2.1
| 1 |
2 |
3 |
4 |
5 |
6 |
7 |
8 |
| Спинка жилета |
Параллельно линии, соединяющей верхний и нижний углы среднего среза спинки. |
- |
- |
5 |
5 |
5 |
5 |
| Полочки жилета |
Параллельно нижней части бортового среза |
- |
- |
5 |
5 |
5 |
5 |
| Детали прокладки |
|||||||
| Бортовая прокладка из одной части для пиджаков и жакетов |
Нити основы проходят параллельно бортовому срезу |
- |
- |
- |
50 |
- |
- |
| Бортовая прокладка из двух частей (для пальто): основная часть |
Нити основы или утка проходят параллельно бортовому срезу |
- |
- |
- |
50 |
- |
- |
| Надставка к основной части бортовой прокладки |
Поперек детали параллельно верхнему и нижнему срезам. |
- |
- |
- |
5 |
- |
- |
| Плечевая накладка. |
Нити основы или утка проходят под углом к плечевому срезу |
- |
- |
- |
- |
- |
- |
| Дополнительный слой бортовой прокладки. |
Нити основы или утка проходят под острым углом к плечевому срезу |
- |
- |
- |
- |
- |
|
| Волосяная накладка |
Нити волоса проходят поперек детали. |
- |
- |
- |
5 |
- |
|
| Столбик волосяной накладки |
Нити волоса проходят вдоль детали |
- |
- |
- |
- |
- |
|
Таблица П2.2 – Перемещение конструктивных точек от размера к размеру и от роста к росту в основных деталях плечевых изделий для женщин всех полнотных групп
| Деталь изделия и конструктивная точка |
Разность между смежными размерами, см |
Разность между смежными ростами в размерах, см |
||||||||||||||||||||||
| 88-104 |
108-120 |
124-136 |
88-104 |
108-120 |
124-136 |
|||||||||||||||||||
| по вер тикали |
по гори зон тали |
по вер тикали |
по гори зон тали |
по вер тикали |
по гори зон тали |
по вертика ли |
По гори зон тали |
по вертика ли |
по гори зон тали |
по вертикали |
по гори зон тали |
|||||||||||||
| 1 |
2 |
3 |
4 |
5 |
6 |
7 |
8 |
9 |
10 |
11 |
12 |
13 |
||||||||||||
| Спинка |
||||||||||||||||||||||||
| Середина горловины |
0,1 |
0,1 |
0,1 |
0,1 |
0,1 |
0,1 |
0 |
-0,2 |
0 |
-0,2 |
0 |
-0,2 |
||||||||||||
| Высшая точка горловины |
0,1 |
0,3 |
0,1 |
0,3 |
0,05 |
0,35 |
0,1 |
-0,2 |
0,1 |
-0,2 |
0,2 |
-0,2 |
||||||||||||
| Точки вытачки в плечевом срезе: левая точка раствора правая точка раствора Конец вытачки |
0,05 0 0,05 |
0,3 0,3 0,25 |
0,05 0,05 0,1 |
0,35 0,35 0,2 |
0,05 0,05 0,05 |
0,35 0,35 0,25 |
0,1 0,1 0,1 |
-0,2 -0,2 0 |
0,1 0,1 0,1 |
-0,1 -0,1 -0,1 |
0,2 0,2 0,2 |
-0,1 -0,1 -0,1 |
||||||||||||
| Вершина проймы |
-0,1 |
0,4 |
0,05 |
0,35 |
0,05 |
0,35 |
0,1 |
0 |
0 |
0 |
0,2 |
0 |
||||||||||||
| Надсечка на пройме, соответствующая положению локтевого шва в двухшовном рукаве |
-0,45 |
0,45 |
-0,45 |
0,45 |
-0,45 |
0,45 |
-0,15 |
0 |
-0,15 |
0 |
-0,15 |
0 |
||||||||||||
| Надсечка на пройме, соответствующая положению локтевого сгиба в одношовном рукаве |
-0,5 |
0,4 |
-0,5 |
0,4 |
-0,5 |
0,4 |
0,1 |
0 |
0,1 |
0 |
0,1 |
0 |
||||||||||||
| Вершина бокового среза |
-0,45 |
0,5 |
-0,35 |
0,5 |
-0,3 |
0,5 |
-0,15 |
0 |
-0,3 |
0 |
0 |
0 |
||||||||||||
| Пересечение линии талии: с линией бокового среза с линией середины спинки |
0 0 |
0,55 0 |
0 0 |
0,6 0 |
0 0 |
0,65 0 |
-1,1 -1,1 |
-0,15 0 |
-1,1 -1,1 |
-0,15 0 |
-1,1 -1,1 |
-0,15 0 |
||||||||||||
| Пересечение линии бедер: с линией бокового среза с линией середины спинки |
-0,05 -0,05 |
0,5 0 |
-0,05 -0,05 |
0,5 0 |
-0,05 -0,05 |
0,5 0 |
-1,65 -1,65 |
0 0 |
-1,65 -1,65 |
0 0 |
-1,65 -1,65 |
0 0 |
||||||||||||
Продолжение таблицы П2.2
| 1 |
2 |
3 |
4 |
5 |
6 |
7 |
8 |
9 |
10 |
11 |
12 |
13 |
| Пересечение линии низа: с линией бокового среза с линией середины спинки |
0,1 0,1 |
0,5* 0 |
0,1 0,1 |
0,5* 0 |
0,5 0,1 |
0,5* 0 |
-3** -3** |
0 0 |
-3** -3** |
0 0 |
-3** -3** |
0 0 |
| Точки вытачки по линии талии: правая точка раствора левая точка раствора верхний конец нижний конец |
0 0 -0,55 -0,05 |
0,2 0,2 0,2 0,2 |
0 0 -0,35 -0,05 |
0,2 0,2 0,2 0,2 |
0 0 -0,35 -0,05 |
0,15 0,25 0,2 0,2 |
-1,1 -1,1 0 -1,65 |
0,05 -0,05 0 0 |
-1,1 -1,1 0 -1,65 |
0,05 -0,05 0 0 |
-1,1 -1,1 0 -1,65 |
0,05 -0,05 0 0 |
| Начало скоса средней линии |
0,05 |
0 |
0,05 |
0 |
0,05 |
0 |
-0,35 |
0 |
-0,35 |
0 |
-0,35 |
0 |
| Полочка |
||||||||||||
| Высшая точка средней линии (полузаноса) |
0,4 |
0,9 |
0,45 |
1 |
0,55 |
1 |
0 |
0 |
0 |
0 |
0 |
0 |
| Высшая точка горловины |
0,6 |
0,75 |
0,65 |
0,85 |
0,75 |
0,85 |
0 |
0 |
0 |
0 |
0 |
0 |
| Точка нагрудной вытачки: правая точка раствора левая точка раствора нижний конец |
0,55 0,25 -0,2 |
0,7 -0,2 0,6 |
0,6 0,3 -0,3 |
0,75 -0,4 0,7 |
0,7 0,2 -0,3 |
0,75 -0,5 0,7 |
0 0 -0,05 |
0 0,35 0 |
-0,1 0 0,05 |
0 0,35 0 |
-0,1 -0,15 0,05 |
0 0,1 0 |
| Вершина проймы |
-0,05 |
-0,1 |
0,1 |
-0,25 |
0,05 |
-0,35 |
0 |
0,15 |
0 |
0,2 |
-0,7 |
0,1 |
| Надсечки на пройме: передняя верхняя передняя нижняя, соответствующая положению переднего шва в двухшовном рукаве |
-0,1 0 -0,05 |
-0,1 -0,1 0,15 |
-0,1 0 -0,05 |
-0,1 -0,1 0,15 |
-0,1 0 -0,05 |
-0,1 -0,1 0,15 |
-0,1 -0,1 0 |
0,05 0 0 |
-0,1 -0,1 0 |
0,05 0 0 |
-0,1 -0,1 0 |
0,05 0 0 |
| соответствующая положению нижнего шва в одношовном рукаве |
-0,25 |
-0,3 |
-0,25 |
-0,3 |
-0,25 |
-0,3 |
-0,15 |
0 |
-0,15 |
0 |
-0,15 |
0 |
Продолжение таблицы П2.2
| 1 |
2 |
3 |
4 |
5 |
6 |
7 |
8 |
9 |
10 |
11 |
12 |
13 |
|||||||||
| Вершина бокового края |
-0,45 |
-0,6 |
0 |
-0,5 |
0,3 |
-0,5 |
0 |
0 |
-0,4 |
0 |
-0,5 |
0 |
|||||||||
| Пересечение линии талии: с линией бокового среза с линией полузаноса |
0 0 |
-0,65 0,9 |
0,35 0 |
-0,7 1,0 |
0,5 0 |
-0,75 1 |
-0,95 -0,95 |
0,15 0 |
-1,2 -0,95 |
0,15 0 |
-1,6 -0,95 |
0,15 0 |
|||||||||
| Точки передней вытачки: правая точка раствора левая точка раствора верхний конец нижний конец |
0 0 -0,2 0 |
0,6 0,6 0,6 0,6 |
0 0 -0,3 0 |
0,65 0,75 0,7 0,7 |
0 0 -0,3 0 |
0,65 0,75 0,7 0,7 |
-0,95 -0,95 0 -1,25 |
0,05 -0,05 0 0 |
-0,95 -0,95 0 -1,25 |
0,05 -0,05 0 0 |
-0,95 -0,95 0 -1,25 |
0,05 -0,05 0 0 |
|||||||||
| Точки боковой вытачки: правая точка раствора левая точка раствора верхний конец нижний конец |
0 0 -0,45 0 |
0 0 0 0 |
0,15 0,15 -0,15 0,15 |
0 0 0 0 |
0,25 0,25 0 0,25 |
-0,05 0,05 0 0 |
-0,95 -0,95 0 -1,25 |
0,05 0,05 0 0 |
-1,1 -1,1 0 -1,35 |
0,05 0,05 0 0 |
-1,3 -1,3 0 -1,6 |
0,05 0,05 0 0 |
|||||||||
| Точки вытачки по линии кармана: верхняя точка раствора нижняя точка раствора передний конец |
0 0 0 |
0 0 0 |
0,35 0 0 |
-0,65 -0,65 0,7 |
0,5 0,35 0 |
-0,65 -0,6 0,7 |
0 0 0 |
0 0 0 |
-1,5 -1,5 -1,25 |
0,1 0,1 0 |
-1,9 -1,9 -1,25 |
0,1 0,1 |
|||||||||
| Пересечение линии бедер: с линией бокового среза с линией полузаноса |
-0,05 -0,05 |
-0,6 0,9 |
0,3 -0,05 |
-0,5 1 |
0,45 -0,05 |
-0,5 1 |
-1,5 -1,5 |
0 0 |
-1,75 -1,5 |
0 0 |
-2,15 -1,5 |
0 0 |
|||||||||
| Пересечение линии низа: с линией бокового среза с линией полузаноса |
0,1 0,1 |
-0,6* 0,9 |
0,1 0,1 |
-0,5* 1 |
0,45 0,1 |
-0,4* 1 |
-2,85*** -2,85**** |
0 0 |
-3,1*** -2,85**** |
0 0 |
-3,5*** -2,85**** |
0 0 |
|||||||||
| Воротник для пальто с центральной застежкой Середина воротника: по отлету по линии втачивания |
0 0 |
-0,4 -0,4 |
0 0 |
-0,4 -0,4 |
0 0 |
-0,4 -0,4 |
0 0 |
0 0 |
0 0 |
0 0 |
0 0 |
0 0 |
|||||||||
Продолжение таблицы П2.2
| 1 |
2 |
3 |
4 |
5 |
6 |
7 |
8 |
9 |
10 |
11 |
12 |
13 |
|||||||
| Воротник для жакета и пальто Середина воротника: по отлету по линии втачивания |
0 0 |
-0,3 -0,3 |
0 0 |
-0,3 -0,3 |
0 0 |
-0,3 -0,3 |
0 0 |
0 0 |
0 0 |
0 0 |
0 0 |
0 0 |
|||||||
| Передний коней воротника: по отлету по линии втачивания |
0,1 0,1 |
0,05 0,1 |
0,1 0,1 |
0,05 0,1 |
0,1 0,1 |
0,05 0,1 |
0 0 |
0 0 |
0 0 |
0 0 |
0 0 |
0 0 |
|||||||
| Воротник покроя шаль: Середина воротника: по отлету по линии втачивания |
0 0 |
-0,2 -0,2 |
0 0 |
-0,2 -0,2 |
0 0 |
-0,2 -0,2 |
0 0 |
0 0 |
0 0 |
0 0 |
0 0 |
0 0 |
|||||||
| Передний конец воротника по линии втачивания |
0,05 |
0,2 |
0,05 |
0,2 |
0,05 |
0,2 |
0 |
0 |
0 |
0 |
0 |
0 |
|||||||
| Двухшовный рукав Верхняя часть: Вершина локтевого среза |
0,25 |
-0,7 |
0,25 |
-0,7 |
0,25 |
-0,7 |
0 |
0,1 |
0 |
0,1 |
0 |
0,2 |
|||||||
| Надсечки на окате: верхняя передняя верхняя передняя нижняя |
0,2 0 0 |
-0,1 0 0 |
0,2 0 0 |
-0,1 0 0 |
0,2 0 0 |
-0,1 0 0 |
0,1 0 0 |
0,2 0 0 |
0,1 0 0 |
0,2 0 0 |
0,1 0 0 |
0,2 0 0 |
|||||||
| Вершина переднего среза |
0 |
0 |
0 |
0 |
0 |
0 |
0 |
0 |
0 |
0 |
0 |
0 |
|||||||
| Пересечение линии локтя: с линией переднего среза с линией локтевого среза |
0,1 0,1 |
0 -0,7 |
0,1 0,1 |
0 -0,7 |
0,1 0,1 |
0 -0,7 |
-1,1 -1,1 |
0 0,1 |
-1,1 -1,1 |
0 0,1 |
-1,1 -1,1 |
0 0,2 |
|||||||
| Пересечение линии низа: с линией переднего среза с линией локтевого среза |
0,3 0,2 |
0 -0,35 |
0,2 0,15 |
0 -0,35 |
0,2 -0,15 |
0 -0,35 |
-1,9 -1,9 |
0 0,05 |
-1,9 -1,9 |
0 0,05 |
-1,9 -1,9 |
0 0,1 |
|||||||
| Нижняя часть: |
|||||||||||||||||||
| Вершина локтевого среза |
0,25 |
-0,7 |
0,25 |
-0,7 |
0,25 |
-0,7 |
0 |
0,1 |
0 |
0,1 |
0 |
0,2 |
|||||||
| Вершина переднего среза |
0 |
0 |
0 |
0 |
0 |
0 |
0 |
0 |
0 |
0 |
0 |
0 |
|||||||
Продолжение таблицы П2.2
| 1 |
2 |
3 |
4 |
5 |
6 |
7 |
8 |
9 |
10 |
11 |
12 |
13 |
|||||||||
| Пересечение линии локтя: с линией переднего среза с линией локтевого среза |
0,1 0,1 |
0 -0,7 |
0,1 0,1 |
0 -0,7 |
0,1 0,1 |
0 -0,7 |
-1,1 -1,1 |
0 0,1 |
-1,1 -1,1 |
0 0,1 |
-1,1 -1,1 |
0 0,2 |
|||||||||
| Пересечение линии низа: с линией переднего среза с линией локтевого среза |
0,3 0,2 |
0 -0,35 |
0,2 0,15 |
0 -0,35 |
0,2 0,15 |
0 -0,35 |
-1,9 -1,9 |
0 0,05 |
-1,9 -1,9 |
0 0,05 |
-1,9 -1,9 |
0 0,1 |
|||||||||
| Одношовный рукав Вершина локтевого среза |
0,05 |
-1,05 |
0,05 |
-1,05 |
0,05 |
-1,05 |
0 |
-1,05 |
0 |
0,15 |
0,2 |
0,25 |
|||||||||
Продолжение таблицы П2.2
| 1 |
2 |
3 |
4 |
5 |
6 |
7 |
8 |
9 |
10 |
11 |
12 |
13 |
| Надсечки на окате: задняя (вершина локтевого сгиба) верхняя передняя верхняя передняя нижняя |
0,15 0,2 0 0 |
-0,7 -0,1 0 0 |
0,15 0,2 0 0 |
-0,7 -0,1 0 0 |
0,15 0,2 0 0 |
-0,7 -0,1 0 0 |
0 0,1 0 0 |
0,1 0,2 0 0 |
0 0,1 0 0 |
0,1 0,2 0 0 |
0 0,1 0 0 |
0,1 0,2 0 0 |
| Вершина переднего среза |
0 |
0,35 |
0 |
0,35 |
0 |
0,35 |
0 |
-0,05 |
0 |
-0,05 |
0 |
-0,05 |
| Точки вытачки по линии локтя: верхняя точка раствора нижняя точка раствора конец вытачки |
-0,05 -0,1 0 |
-0,9 -0,85 -0,6 |
-0,05 -0,15 0 |
-0,9 -0,85 -0,6 |
-0,9 -0,85 -0,6 |
-0,9 -0,85 -0,6 |
-1,2 -0,9 -1,15 |
0,4 0,3 0,25 |
-1,2 -0,9 -1,12 |
0,4 0,3 0,25 |
-0,9 -0,8 -0,95 |
0,35 0,35 0,15 |
| Пересечение линии низа: с линией переднего среза с линией переднего сгиба с линией локтевого сгиба с линией локтевого среза |
0,2 0,3 0,25 0,15 |
0,2 0 -0,35 -0,5 |
0,2 0,2 0,15 0 |
0,2 0 -0,35 -0,5 |
0,2 0,2 0,15 0 |
0,2 0 -0,35 -0,5 |
-1,9 -1,9 -1,9 -1,75 |
0 0 0,05 0,1 |
-1,9 -1,9 -1,9 -1,75 |
0 0 0,05 0,1 |
-1,9 -1,9 -1,9 -1,75 |
0 0 0,1 0,1 |
| Примечание.* Горизонтальные перемещения точек по линии низа зависят от силуэта модели и поэтому должны устанавливаться в каждом отдельном случае конструктором. ** В жакете перемещение точек от роста к росту по линии низа составляет - 2 см. *** Для жакета перемещение от роста к росту составляет: точки Н6 - 1,85 см (размеры 88-104), - 2,1 см (размеры 108-120) и –2,5 см (размеры 124-136), точки Н5 - 1,85 см (для всех групп размеров). **** Для жакета перемещение от роста к росту составляет: точки Н6 - 1,85 см (размеры 88-104), - 2,1 см (размеры 108-120) и – 2,5 см (размеры 124-136), точки Н5 - 1,85 см (для всех групп размеров). |
||||||||||||
Таблица П2.3 – Перемещение конструктивных точек от размера к размеру и от роста к росту
в основных деталях юбок для женщин всех полнотных групп
| Деталь изделия и конструктивная точка |
Разность между смежными размерами, см. |
Разность между смежными ростами в размерах, см. |
||||||
| 88-104 |
108-120 |
124-136 |
88-136 |
|||||
| по вер- тикали |
по гори- зонтали |
по вер- тикали |
по гори- зонтали |
по вер- тикали |
по гори- зонтали |
по вер- тикали |
по гори- зонтали |
|
| 1 |
2 |
3 |
4 |
5 |
6 |
7 |
8 |
19 |
| Прямая юбка Задняя часть Пересечение линии середины: с линией талии с линией бедер с линией низа |
0,05 |
0 |
0,05 |
0 |
0,05 |
0 |
0,05 |
0 |
| 0 |
0 |
0 |
0 |
0 |
0 |
0 |
0 |
|
| 0,05 |
0 |
0,05 |
0 |
0,05 |
0 |
-1,45 |
0 |
|
| Точки вытачки на задней части: правая точка раствора левая точка раствора нижний конец |
0,05 |
0,4 |
0 |
0,45 |
-0,05 |
0,25 |
0,6 |
0,1 |
| 0,05 |
0,4 |
0 |
0,35 |
0 |
0,55 |
0,6 |
-0,1 |
|
| 0,05 |
0,4 |
0 |
0,4 |
-0,05 |
0,4 |
0,6 |
0 |
|
| Пересечение линии бокового среза: с линией талии с линией беде с линией низа |
0,05 |
1,05 |
-0,05 |
1,1 |
-0,15 |
1,15 |
0,65 |
-0,15 |
| 0 |
1 |
0 |
1 |
0 |
0 |
0 |
0 |
|
| 0,05 |
1 |
0,05 |
1 |
0,05 |
0,1 |
-1,45 |
0 |
|
| Передняя часть Пересечение линии середины: с линией талии с линией бедер с линией низа |
0,15 |
0 |
0,05 |
0 |
-0,15 |
0 |
0,45 |
0 |
| 0 |
0 |
0 |
0 |
0 |
0 |
0 |
0 |
|
| 0,05 |
0 |
0,05 |
0 |
0,05 |
0 |
-1,45 |
0 |
|
Продолжение таблицы П2.3
| 1 |
2 |
3 |
4 |
5 |
6 |
7 |
8 |
9 |
| Точки вытачки на задней части: правая точка раствора левая точка раствора нижний конец |
0,15 |
-0,4 |
0 |
-0,45 |
-0,15 |
-0,45 |
0,5 |
0,05 |
| 0,15 |
-0,4 |
0 |
-0,35 |
-0,15 |
-0,35 |
0,5 |
-0,05 |
|
| 0,15 |
-0,4 |
0 |
-0,4 |
-0,15 |
-0,4 |
0,5 |
0 |
|
| Пересечение линии бокового среза: с линией талии с линией бедер с линией низа |
0,05 |
-1,05 |
-0,05 |
-1,1 |
-0,15 |
-0,85 |
0,65 |
0,15 |
| 0 |
-1 |
0 |
- |
0 |
-1 |
0 |
0 |
|
| 0,05 |
-1 |
0,05 |
-1 |
0,05 |
-1 |
-1,45 |
0 |
|
| Юбка «полусолнце» Точки на линии талии: Т Т1 |
0 |
0 |
0 |
0 |
0 |
0 |
0 |
0 |
| 1,35 |
1,35 |
1,5 |
1,5 |
1,7 |
1,7 |
-0,4 |
-0,4 |
|
| Точки на линии низа: Н Н1 |
0 |
0 |
0 |
0 |
0 |
0 |
-2 |
0 |
| 1,35 |
1,35 |
1,5 |
1,5 |
1,7 |
1,7 |
-0,4 |
1,6 |
|
| Юбка «солнце» Точки на линии талии: Т Т1 Т2 |
0 |
0 |
0 |
0 |
0 |
0 |
0 |
0 |
| 0,65 |
0,65 |
0,75 |
0,75 |
0,85 |
0,85 |
-0,2 |
-0,2 |
|
| 1,3 |
0 |
1,5 |
0 |
1,7 |
0 |
-0,4 |
0 |
|
| Точки на линии низа: Н Н1 Н2 |
0 |
0 |
0 |
0 |
0 |
0 |
-2 |
0 |
| 0,65 |
0,65 |
0,75 |
0,75 |
0,85 |
0,85 |
-0,2 |
1,8 |
|
| 1,3 |
0 |
1,5 |
0 |
1,7 |
0 |
1,6 |
0 |
Таблица П2.4 – Перемещение конструктивных точек от размера и от роста к росту
в основных деталях брюк для женщин размеров 88-104 по обхвату груди
| Деталь изделия и конструктивная точка |
Разность между смежными размерами, см. |
Разность между смежными ростами, см. |
|||
| по вертикали |
по горизонтали |
по вертикали |
по горизонтали |
||
| 1 |
2 |
3 |
4 |
5 |
|
| Передняя часть Верхний конец средней передней линии |
0,4 |
-0,3 |
0,7 |
0 |
|
| Вершина бокового среза |
0,3 |
0,75 |
0,9 |
0,3 |
|
| Верхний конец осевой линии и все точки вытачки |
0,3 |
0 |
0,8 |
0 |
|
| Пересечение линии бедер: со средней передней линией с линией бокового среза |
0 0 |
0,3 0,55 |
0 0 |
0 0 |
|
| Вершина шагового среза |
0 |
-0,5 |
0 |
0 |
|
| Пересечение линии высоты сидения с линией бокового среза |
0 |
0,5 |
0 |
0 |
|
| Пересечение линии колена: с линией шагового среза с линией бокового среза |
0,1 0,1 |
-0,2 0,2 |
-1,5 -1,5 |
0 0 |
|
| Пересечение линии низа: с линией шагового среза с осевой линией с линией бокового среза |
0,3 0,3 0,3 |
-0,2 0 0,2 |
-3,2 -3,2 -3,2 |
0 0 0 |
|
| Задняя часть Верхний конец средней задней линии |
0,4 |
-0,2 |
0,8 |
0,1 |
|
| Вершина бокового среза |
0,2 |
0,85 |
1 |
-0,2 |
|
Продолжение таблицы П2.4
| 1 |
2 |
3 |
4 |
5 |
| Точки вытачки по линии талии: правая точка раствора левая точка раствора нижний конец |
0,3 0,3 0,3 |
0,3 0,3 0,3 |
0,9 0,9 0,9 |
-0,05 -0,05 0,05 |
| Пересечение линии бедер: со средней задней линией с линией бокового среза |
0,05 0 |
-0,3 0,85 |
0 0 |
0 0 |
| Вершина шагового среза |
-0,1 |
-0,7 |
0 |
0 |
| Пересечение линии высоты сидения с линией бокового среза |
0 |
0,75 |
0 |
0 |
| Пересечение линии колена: с линией шагового среза с линией бокового среза |
0,1 0,1 |
-0,2 0,2 |
-1,5 -1,5 |
0 0 |
| Пересечение линии низа: с линией шагового среза с линией бокового среза |
0,3 0,3 |
-0,2 0,2 |
-3,2 -3,2 |
0 0 |
Рисунок П2.1 – Схема градации лекал женской одежды по размерам и ростам

Рисунок П2.2 – Схема градации различных вариантов поясной женской одежды: прямой юбки (а); юбки «полусолнце» (б) и «солнце» (в); брюк (г)
Таблица П2.5 – Перемещение конструктивных точек от размера к размеру и от роста к росту
в основных деталях плечевых изделий для мужчин всех полнотных групп
| Деталь изделия и конструктивная точка |
Разность между смежными размерами, см. |
Разность между смежными ростами в размерах, см. |
|||||||
| 88-108 |
108-128 |
88-108 |
108-128 |
||||||
| по верти-кали |
по гори-зонтали |
по верти-кали |
по гори-зонтали |
по верти-кали |
по гори-зонтали |
по верти-кали |
по гори-зонтали |
||
| 1 |
2 |
3 |
4 |
5 |
6 |
7 |
8 |
9 |
|
| Пиджак, пальто |
|||||||||
| Спинка Середина горловины |
0,1 |
0,1 |
0,1 |
0,1 |
0 |
0,3 |
0 |
0,3 |
|
| Высшая точка горловины |
0,1 |
0,25 |
0,1 |
0,25 |
-0,2 |
0,5 |
-0,2 |
0,5 |
|
| Точки вытачки в плечевом срезе: левая точка раствора правая точка раствора нижний конец |
0,1 0,1 0,1 |
0,3 0,3 0,3 |
0,1 0,1 0,1 |
0,3 0,3 0,3 |
-0,3 -0,3 -0,2 |
0,5 0,5 0,3 |
-0,3 -0,3 -0,2 |
0,5 0,5 0,3 |
|
| Вершина проймы |
0,15 |
0,4 |
0,15 |
0,4 |
-0,5 |
0,6 |
-0,5 |
0,6 |
|
| Надсечки на пройме |
-0,1 |
0,5 |
-0,1 |
0,5 |
-0,35 |
0 |
-0,35 |
0 |
|
| Вершина бокового среза |
-0,4 |
0,5 |
-0,5 |
0,5 |
-0,4 |
0 |
-0,4 |
0 |
|
| Пересечение линии талии: с линией бокового среза с линией середины спинки |
0 0 |
0,5 0 |
0 0 |
0,5 0 |
-1 -1 |
0 0 |
-1 -1 |
0 0 |
|
| Пересечение линии бедер: с линией бокового среза с линией середины спинки |
-0,05 -0,05 |
0,5 0 |
-0,05 -0,05 |
0,5 0 |
-1,5 -1,5 |
0 0 |
-1,5 -1,5 |
0 0 |
|
| Пересечение линии низа: с линией бокового среза с линией середины спинки |
0,1 0,1 |
0,5 0 |
0,1 0,1 |
0,5 0 |
-2* -2* |
0 0 |
-2* -2* |
0 0 |
|
| Начало скоса средней линии спинки |
0,05 |
0 |
0,05 |
0 |
-0,3 |
0 |
-0,3 |
0 |
|
Продолжение таблицы П2.5
| 1 |
2 |
3 |
4 |
5 |
6 |
7 |
8 |
9 |
||||||||
| Полочка Высшая точка линии полузаноса |
0,4 |
0,7 |
0,65 |
0,6 |
0 |
0 |
0 |
0 |
||||||||
| Высшая точка горловины |
0,5 |
0,5 |
0,7 |
0,3 |
0 |
0 |
0 |
0 |
||||||||
| Вершина проймы |
0,5 |
0,35 |
0,65 |
0,2 |
-0,2 |
0,15 |
-0,2 |
-0,1 |
||||||||
| Надсечки на пройме: передняя верхняя передняя нижняя надсечка, соответствующая положению переднего шва рукава |
0,15 0 0 |
0,15 0 0 |
0,35 0,2 0,1 |
0,1 0 0,1 |
-0,25 -0,4 -0,4 |
-0,1 0 0 |
-0,25 -0,4 -0,4 |
0,1 0 0 |
||||||||
| Верхний конец линии отрезного бочка |
0 |
0 |
0 |
0 |
-0,4 |
0 |
-0,5 |
0 |
||||||||
| Пересечение линии талии: с линией отрезного бочка с линией полузаноса |
0,35 0 |
0 0,9 |
0,5 0 |
0 1,1 |
-1 -0,9 |
0 0 |
-1,1 -0,9 |
0 0,2 |
||||||||
| Точки вытачки на линии кармана: верхняя точка раствора нижняя точка раствора |
0,3 0 |
0 0 |
0,4 0 |
0,1 0 |
-1,25 -1,25 |
0 0 |
-1,35 -1,35 |
0 0 |
||||||||
| Точки передней вытачки: верхний конец передняя точка раствора на линии талии задняя точка раствора на линии талии передняя точка раствора на линии кармана задняя точка раствора на линии кармана |
0 0 0 0 0 |
0,7 0,7 0,7 0,7 0,7 |
0 0 0 0 0 |
1,1 1,1 1,1 1,1** 1,1** |
-1,25 -1,1 -1,1 -1,25 -1,25 |
0 0 0 0 0 |
-1,35 -0,9 -0,9 -1,35 -1,35 |
0,2 0,2 0,2 0,2 0,2 |
||||||||
| Передний конец кармана |
0 |
0,7 |
0 |
1,1** |
-1,25 |
0 |
-1,35 |
0,2 |
||||||||
| Пересечение линии бедер: с линией отрезного бочка со средней линией полочки |
0,05 -0,05 |
0 0,9 |
0,05 -0,05 |
0 1,1 |
-1,6 -1,4 |
0 0 |
-1,6 -1,4 |
0 0,2 |
||||||||
Продолжение таблицы П2.5
| 1 |
3 |
4 |
5 |
6 |
7 |
8 |
9 |
10 |
| Пересечение линии низа: с линией отрезного бочка со средней линией полочки |
0,1 0,1 |
0 0,9 |
0,2 0,1 |
0 1,1 |
-2*** -1,9*** |
0 0 |
-2,1*** -1,9*** |
0 0,2 |
| Уровень центра груди на средней линии полочки |
-0,2 |
0,9 |
-0,1 |
0,9 |
-0,5 |
0 |
-0,5 |
0 |
| Отрезной бочок Верхний конец линии отреза бочка |
-0,35 |
-0,4 |
-0,5 |
-0,4 |
-0,4 |
-0,2 |
-0,4 |
-0,1 |
| Вершина бокового среза |
-0,14 |
-1,0 |
-0,5 |
-1,0 |
-0,4 |
-0,2 |
-0,4 |
-0,1 |
| Пересечение линии талии: с линией бокового среза с линией отрезного бочка |
0 0 |
-0,8 0 |
0 0 |
-0,65 0 |
-1 -1 |
-0,2 -0,2 |
-1 -1 |
-0,1 -0,1 |
| Пересечение линии бедер: с линией бокового среза с линией отрезного бочка |
-0,05 -0,05 |
-0,6 0 |
-0,05 -0,05 |
-0,4 0 |
-1,5 -1,5 |
-0,4 0 |
-1,5 -1,5 |
-0,2 0 |
| Пересечение линии низа: с линией бокового среза с линией отрезного бочка |
0,1 0,1 |
-0,6 0 |
0,1 0,1 |
-0,4 0 |
-2**** -2**** |
-0,4 0 |
-2**** -2**** |
-0,2 0 |
| Положение кармана на линии отрезного бочка |
-0,05 |
0 |
-1,1 |
0 |
-1,15 |
0 |
-1,25 |
0 |
| Воротник Середина воротника: по отлету по линии втачивания |
0 0 |
-0,2 -0,2 |
0 0 |
-0,2 -0,2 |
0 0 |
-0,1 -0,1 |
0 0 |
-0,1 -0,1 |
| Вспомогательная точка на линии втачивания |
0 |
0 |
0 |
0 |
0 |
0 |
0 |
0 |
| Передний конец воротника: по отлету по линии втачивания |
-0,05 -0,05 |
0,05 0,05 |
-0,1 -0,15 |
0,2 0,15 |
0 0 |
0 0 |
0 0 |
0 0 |
| Рукав Верхняя часть Вершина локтевого среза. |
0,35 |
-0,75 |
0,35 |
-0,75 |
0,1 |
0 |
0,1 |
0 |
Продолжение таблицы П2.5
| 1 |
3 |
4 |
5 |
6 |
7 |
8 |
9 |
10 |
| Надсечки на окате: верхняя передняя верхняя передняя нижняя |
0,35 0,2 0,15 |
-0,35 -0,1 0 |
0,35 0,2 0,15 |
-0,35 -0,1 0 |
0,2 0,15 0 |
-0,15 0 0 |
0,2 0,15 0 |
-0,15 0 0 |
| Вершина переднего среза |
0 |
0 |
0 |
0 |
0 |
0 |
0 |
0 |
| Пересечение линии низа: с линией переднего среза с линией локтевого среза |
0,3 0,25 |
0 -0,35 |
0,3 0,25 |
0 -0,35 |
-1,8 -1,8 |
0 0 |
-1,8 -1,8 |
0 0 |
| Нижняя часть Вершина локтевого среза |
0,35 |
-0,75 |
0,35 |
-0,75 |
0,1 |
0 |
0,1 |
0 |
| Вершина переднего среза |
0 |
0 |
0 |
0 |
- |
0 |
0 |
0 |
| Пересечение линии локтя: с линией переднего среза с линией локтевого среза |
0,1 0,1 |
0 -0,6 |
0,1 0,1 |
0 -0,6 |
-1 -1 |
0 0 |
-1 -1 |
0 0 |
| Пересечение линии низа: с линией переднего среза с линией локтевого среза |
0,3 0,25 |
0 -0,35 |
0,3 0,25 |
0 -0,35 |
-1,8 -1,8 |
0 0 |
-1,8 -1,8 |
0 0 |
| Жилет |
||||||||
| Спинка Середина горловины |
0,1 |
0 |
0,1 |
0 |
0 |
0 |
0 |
0 |
| Высшая точка горловины |
0,1 |
0,15 |
0,1 |
0,15 |
0 |
0 |
0 |
0 |
| Вершина проймы |
0,15 |
0,3 |
0,15 |
0,3 |
0 |
0 |
0 |
0 |
| Вершина бокового среза |
-0,4 |
0,5 |
-0,5 |
0,5 |
0 |
0 |
0 |
0 |
| Пересечение линии талии: с линией бокового среза с линией середины спинки |
0 0 |
0,5 0 |
0 0 |
0,5 0 |
-1 -1 |
0 0 |
-1 -1 |
0 0 |
| Пересечение линии низа: с линией бокового среза с линией середины спинки |
0 0 |
0,5 0 |
0 0 |
0,5 0 |
-1,5 -1,5 |
0 0 |
-1,5 -1,5 |
0 0 |
| Точки вытачки: верхний конец нижний конец |
0 0 |
0 0 |
0 0 |
0 0 |
-1 -1,5 |
0 0 |
-1 -1,5 |
0 0 |
Продолжение таблицы П2.5
| 1 |
3 |
4 |
5 |
6 |
7 |
8 |
9 |
10 |
| Полочка |
||||||||
| Верхний конец средней линии |
0 |
0,9 |
0 |
0,9 |
0 |
0 |
0 |
0 |
| Высшая точка горловины |
0,5 |
0,5 |
0,7 |
0,3 |
0 |
0 |
0 |
0 |
| Вершина проймы |
0,5 |
0,35 |
0,7 |
0,2 |
0 |
0 |
0 |
0 |
| Вершина бокового среза |
-0,4 |
-0,6 |
-0,5 |
-0,6 |
0 |
0 |
0 |
0 |
| Пересечение линии талии: с линией бокового среза со средней линией полочки |
0 0 |
-0,6 0,9 |
0,35 0 |
-0,6 1,1 |
-1 -1 |
0 0 |
-1 -1 |
0 0 |
| Точки вытачки на выступ живота: верхняя точка раствора нижняя точка раствора передний конец |
0 0 0 |
-0,6 -0,6 0 |
0,35 0 0 |
-0,6 -0,6 0 |
-1 -1 -1 |
0 0 0 |
-1 -1 -1 |
0 0 0 |
| Пересечение линии низа: с линией бокового среза со средней линией полочки |
0 0 |
-0,6 0,9 |
0 0 |
-0,6 1,1 |
-1,5 -1,5 |
0 0 |
-1,5 -1,5 |
0 0 |
| Нижний конец скоса линии низа |
0 |
0 |
0 |
0 |
-1,5 |
0 |
-1,5 |
0 |
| Примечание* Для пальто перемещение точек от роста к росту на линии низа составляет 3 см. ** Изделия больших размеров рекомендуется объединить в две группы (108-112) и (116-128), переднюю вытачку и передний конец кармана в первой группе расположить так же, как в изделии размера 112, во второй группе – как в изделии размера 116. *** Для пальто перемещение от роста к росту составляет: точки Н4 - 3,1 см, точки Н5 - 2,9 см. **** Для пальто перемещение от роста к росту точек Н2 и Н3 равно – 3 см. |
||||||||
Таблица П2.6 – Перемещения конструктивных точек от размера к размеру и от роста к росту
в основных деталях брюк для мужчин всех полнотных групп
| Деталь изделия и конструктивная точка |
Разность между смежными размерами, см. |
Разность между смежными ростами в размерах, см. |
||||||
| 88-108 |
108-128 |
88-108 |
108-128 |
|||||
| по верти-кали |
по гори-зонтали |
по верти-кали |
по гори-зонтали |
по верти-кали |
по гори- зонтали |
по верти- кали |
по гори-зонтали |
|
| 1 |
3 |
4 |
5 |
6 |
7 |
8 |
9 |
10 |
| Передняя часть Верхняя точка средней передней линии |
0,2 |
-0,3 |
0,7 |
-0,5 |
0,7 |
-0,05 |
0,45 |
-0,25 |
| Вершина бокового среза |
0,2 |
1,2 |
0,2 |
1,0 |
0,8 |
-0,05 |
0,8 |
-0,25 |
| Верхний конец осевой линии и все точки вытачки |
0,2 |
0 |
0,5 |
0 |
0,7 |
0 |
0,6 |
0 |
| Пересечение линии бедер: со средней передней линией с линией бокового среза |
0 0 |
-0,3 0,55 |
0 0 |
0,3 0,55 |
0 0 |
-0,1 0,1 |
0 0 |
-0,1 0,1 |
| Вершина шагового среза |
0 |
-0,5 |
0 |
-0,5 |
0 |
-0,1 |
0 |
-0,1 |
| Пересечение линии высоты сидения и бокового среза |
0 |
0,5 |
0 |
0,5 |
0 |
0,1 |
0 |
0,2 |
| Пересечение линии колена: с линией шагового среза с линией бокового среза |
0,1 0,1 |
-0,3 0,3 |
0,4 0,4 |
-0,3 0,3 |
-1,7 -1,7 |
0 0 |
-1,8 -1,8 |
0 0 |
| Пересечение линии низа: с линией шагового среза с осевой линией с линией бокового среза |
0,2 0,2 0,2 |
-0,2 0 0,2 |
0,5 0,5 0,5 |
-0,2 0 0,2 |
-3,3 -3,3 -3,3 |
0 0 0 |
-3,4 -3,4 -3,4 |
0 0 0 |
Продолжение таблицы П2.6
| 1 |
3 |
4 |
5 |
6 |
7 |
8 |
9 |
10 |
|
| Задняя часть Верхняя точка средней задней линии |
0,25 |
-0,3 |
0,55 |
-0,3 |
0,95 |
-0,05 |
0 |
-0,1 |
|
| Вершина бокового среза |
0,1 |
1,2 |
0,15 |
1,2 |
0,8 |
-0,05 |
0,85 |
-0,1 |
|
| Все точки вытачки |
0,15 |
0,5 |
0,35 |
0,5 |
0,8 |
-0,05 |
0,95 |
-0,1 |
|
| Пересечение линии бедер: со средней задней линией с линией бокового среза |
0,05 0 |
-0,3 0,85 |
0,05 0 |
-0,3 0,85 |
0,2 0 |
-0,05 0,15 |
0,2 0 |
-0,05 0,15 |
|
| Вершина шагового среза |
-0,1 |
-0,7 |
-0,1 |
-0,75 |
0 |
-0,15 |
0 |
0,2 |
|
| Пересечение линии высоты сидения с линией бокового среза |
0 |
0,75 |
0 |
0,75 |
0 |
0,15 |
0 |
0,2 |
|
| Пересечение линии колена: С линией шагового среза с линией бокового среза |
0,1 0,1 |
-0,3 0,3 |
0,4 0,4 |
-0,3 0,3 |
-1,7 -1,7 |
0 0 |
-1,8 -1,8 |
0 0 |
|
| Пересечение линии низа: с линией шагового среза с линией бокового среза |
0,2 0,2 |
-0,2 0,2 |
0,5 0,5 |
-0,2 0,2 |
-3,3 -3,3 |
0 0 |
-3,4 -3,4 |
0 0 |
|

Рисунок П2.3 – Схема градации различных деталей мужской одежды по размерам и ростам: спинки (а); полочки (б); отрезного бочка (в); нижнего воротника (г); двухшовного рукава (д); жилета (е)

е
Продолжение рисунка П2.3

Рисунок П2.4 – Схема градации лекал мужских брюк по размерам и ростам
Таблица П2.7 – Градация лекал базовых конструкций женской и мужской одежды по полнотам
| Деталь изделия и конструктивная точка. |
Разница между смежными полнотами, см |
|||
| женская одежда (рис. 1) |
мужская одежда (рис. 2) |
|||
| по горизонтали |
по вертикали |
по горизонтали |
по вертикали |
|
| 1 |
2 |
3 |
4 |
5 |
| Спинка Середина горловины |
-0,1 |
0,1 |
0,15 |
0,5 |
| Высшая точка горловины |
-0,05 |
0,15 |
0,25 |
0,55 |
| Точки вытачки в плечевом срезе: левая точка раствора правая точка раствора Конец вытачки |
-0,05 |
0,15 |
0,1 |
0,4 |
| -0,05 |
0,15 |
0,15 |
0,4 |
|
| -0,05 |
0,1 |
0,15 |
0,15 |
|
| Вершина проймы |
- |
0,15 |
0,05 |
0,1 |
| Надсечка на пройме, соответствующая положению локтевого шва в двухшовном рукаве |
- |
0,1 |
- |
0,25 |
| Надсечка на пройме, соответствующая положению локтевого сгиба в одношовном рукаве |
- |
0,1 |
- |
0,25 |
| Вершина бокового среза |
0,1 |
- |
0,25 |
- |
| Пересечение линии талии: с линией бокового среза с линией середины спинки |
0,1 |
0,2 |
0,25 |
0,7 |
| -0,1 |
0,2 |
0,15 |
0,7 |
|
| Пересечение линии бедер: с линией бокового среза с линией середины спинки |
0,1 -0,1 2 |
-0,05 -0,05 |
0,25 0,15 |
0,5 0,5 |
| Пересечение линии низа: с линией бокового среза с линией середины спинки |
-0,2 |
-0,2 |
0,25(пиджак, пальто) |
0,4 (пиджак) 0,2(пальто) |
| -0,1 |
0,1 |
0,15 (пиджак, пальто) |
0,4 (пиджак) 0,2(пальто) |
|
| Начало скоса средней линии |
-0,05 |
0,1 |
0,15 |
0,55 |
| Продолжение таблицы П2.7 |
|||||
| 1 |
2 |
3 |
4 |
5 |
|
| Полочка Высшая точка средней линии |
0,1 |
-0,2 |
-0,8 |
0,65 |
|
| Высшая точка горловины |
0,05 |
-0,15 |
-1,3 |
0,15 |
|
| Точка нагрудной вытачки: правая точка раствора левая точка раствора нижний конец |
- |
-0,15 |
- |
- |
|
| - |
-0,1 |
- |
- |
||
| - |
-0,1 |
- |
- |
||
| Вершина проймы |
-0,25 |
0,1 |
-1,05 |
-0,2 |
|
| Надсечки на пройме: передняя нижняя, соответствующая положению переднего шва в двухшовном рукаве |
- |
0,1 |
- |
0,15 |
|
| Вершина бокового среза |
0,1 |
- |
-0,15 |
- |
|
| Пересечение линии талии: с линией бокового среза с линией полузаноса |
-0,1 |
0,2 |
-0,15 |
0,7 |
|
| 0,1 |
0,2 |
1,45 |
0,7 |
||
| Пересечение линии бедер: с линией бокового среза с линией полузаноса |
-0,1 |
-0,05 |
-0,15 |
0,5 |
|
| 0,1 |
-0,05 |
1,45 |
0,4 |
||
| Пересечение линии низа: с линией бокового среза с линией полузаноса |
-0,1 |
-0,2 |
-0,15 |
0,4 (пиджак) 0,2(пальто) |
|
| 0,1 |
-0,2 |
1,45 |
0,4(пиджак) 0,2(пальто) |
||
| Талиевая вытачка: верхняя точка конец вытачки |
- |
- |
1,4 |
1,25 |
|
| - |
- |
1,35 |
0,7 |
||
Продолжение таблицы П2.7
| 1 |
2 |
3 |
4 |
5 |
| Вытачка по линии груди: верхняя точка раствора нижняя точка раствора конец вытачки |
- |
- |
0,5 |
0,3 |
| - |
- |
0,55 |
0,15 |
|
| - |
- |
0,5 |
-0,45 |
|
| Двухшовный рукав Верхняя часть: Вершина локтевого среза |
-0,2 |
0,1 |
-0,4 |
-0,1 |
| Надсечка на окате верхняя |
-0,1 |
0,1 |
-0,2 |
-0,1 |
| Вершина переднего среза |
- |
0,15 |
- |
0,15 |
| Пересечение линии локтя: с линией переднего среза с линией локтевого среза |
- |
0,15 |
- |
-0,1 |
| -0,2 |
0,15 |
-0,4 |
-0,1 |
|
| Пересечение линии низа: с линией переднего среза с линией локтевого среза |
- |
0,2 |
- |
- |
| -0,2 |
0,15 |
- |
-0,2 |
|
| Пересечение линии глубины оката с локтевым срезом |
-0,2 |
- |
-0,4 |
- |
| Нижняя часть: |
||||
| Вершина локтевого среза |
-0,2 |
0,1 |
-0,4 |
-0,1 |
| Вершина переднего среза |
- |
0,15 |
- |
0,15 |
| Нижняя точка оката |
-0,1 |
- |
-0,15 |
- |
| Контрольная точка оката (т.345) |
- |
0,05 |
- |
- |
| Пересечение линии локтя: с линией переднего среза с линией локтевого среза |
- |
0,15 |
- |
-0,1 |
| -0,2 |
0,15 |
-0,4 |
-0,1 |
| Продолжение таблицы П2.7 |
||||
| 1 |
2 |
3 |
4 |
5 |
| Пересечение линии низа: с линией переднего среза с линией локтевого среза |
- |
0,2 |
- |
- |
| -0,2 |
0,15 |
- |
-0,2 |
|
| Пересечение линии глубины оката с локтевым срезом |
-0,2 |
- |
-0,4 |
- |
| Одношовный рукав Вершина локтевого (нижнего) среза |
-0,3 |
- |
-0,65 |
- |
| Контрольные знаки на окате: вершина локтевого переката верхняя точка оката вершина переднего переката |
-0,2 |
0,1 |
-0,4 |
-0,1 |
| -0,1 |
0,1 |
-0,2 |
-0,1 |
|
| - |
0,15 |
- |
0,15 |
|
| Вершина переднего (нижнего) среза |
0,1 |
- |
0,15 |
- |
| Точки вытачки по линии локтя: верхняя точка раствора нижняя точка раствора конец вытачки |
-0,3 |
0,15 |
-0,6 |
-0,15 |
| -0,3 |
0,1 |
- |
- |
|
| -0,2 |
0,15 |
-0,4 |
-0,1 |
|
| Пересечение линии низа: с линией переднего среза с линией переднего переката с линией середины рукава с линией локтевого (нижнего) среза с линией локтевого переката |
0,1 |
0,2 |
0,0 |
0,05 |
| 0,! |
0,2 |
0,0 |
0,0 |
|
| -0,1 |
0,2 |
- |
- |
|
| -0,3 |
0,15 |
- |
-0,1 |
|
| - |
- |
- |
-0,2 |
|
Таблица П2.8 – Градация базовых конструкций брюк по полнотам
| Деталь изделия и конструктивная точка |
Разность между смежными полнотами, см |
|||
| женские брюки (рис.3) |
мужские брюки (рис.4) |
|||
| по горизонтали |
по вертикали |
по горизонтали |
по вертикали |
|
| 1 |
2 |
3 |
4 |
5 |
| Передняя часть |
||||
| Верхняя точка средней передней линии |
0,35 |
0,25 |
0,25 |
0,2 |
| Вершина бокового среза |
-0,4 |
0,25 |
-0,8 |
0,3 |
| Верхняя точка осевой линии |
- |
0,25 |
- |
0,2 |
| Вытачка: левая верхняя точка правая верхняя точка конечная точка |
-0,1 |
0,25 |
0,15 |
0,2 |
| 0,1 |
0,25 |
-0,15 |
0,2 |
|
| - |
0,15 |
0,0 |
0,0 |
|
| Пересечение линии бедер: со средней передней линией с боковым срезом |
0,35 |
- |
0,25 |
- |
| -0,6 |
- |
-0,45 |
- |
|
| Вершина шагового среза |
0,5 |
-0,25 |
0,35 |
-0,3 |
| Пересечение линии высоты сидения с линией бокового среза |
-0,5 |
-0,25 |
-0,35 |
-0,3 |
| Пересечение линии колена: с линией шагового среза с линией бокового среза |
0,2 |
-0,05 |
0,1 |
-0,4 |
| -0,2 |
-0,05 |
-0,1 |
-0,4 |
|
| Пересечение линии низа: с линией шагового среза с линией бокового среза |
0,05 |
-0,05 |
0 |
-0,3 |
| -0,05 |
-0,05 |
0 |
-0,3 |
|
| Верхняя точка средней задней линии |
-0,05 |
0,5 |
0,05 |
0,65 |
| Вершина бокового среза |
0,7 |
0,25 |
1,1 |
0,3 |
| Продолжение таблицы П2.8 |
||||
| 1 |
2 |
3 |
4 |
5 |
| Вытачка: левая верхняя точка правая верхняя точка верхняя точка осевой линии вытачки конечная точка |
0,1 |
0,4 |
0,65 |
0,45 |
| 0,4 |
0,4 |
0,05 |
0,5 |
|
| 0,2 |
0,4 |
0,35 |
0,45 |
|
| 0,15 |
0,3 |
0,25 |
0,4 |
|
| Пересечение линии бедер: со средней задней линией с боковым срезом |
-0,25 |
- |
0,2 |
- |
| 0,6 |
- |
0,6 |
- |
|
| Балансовая точка |
-0,25 |
0,35 |
-0,1 |
0,4 |
| Вершина шагового среза |
-0,7 |
-0,25 |
-0,45 |
-0,3 |
| Пересечение линии высоты сидения с линией бокового среза |
0,7 |
-0,25 |
0,45 |
-0,3 |
| Пересечение линии колена: с линией шагового среза с линией бокового среза |
-0,2 |
-0,05 |
-0,1 |
-0,4 |
| 0,2 |
-0,05 |
0,1 |
-0,4 |
|
| Пересечение линии низа: с линией шагового среза с линией бокового среза |
-0,1 |
-0,05 |
0 |
-0,3 |
| 0,1 |
-0,05 |
0 |
-0,3 |
|
а
Рисунок П2.5 – Схема градации лекал женской одежды по полнотным группам:
спинки и полочки (а); двухшовного рукава (б); одношовного рукава (в)

б
Продолжение рисунка П2.5

в
Продолжение рисунка П2.5

Рисунок П2.6 – Схема градации лекал мужской одежды по полнотам:
спинки и полочки (а); двухшовного рукава (б); одношовного рукава (в)

б
Продолжение рисунка П2.6

в
Продолжение рисунка П2.6

Рисунок П2.7 – Схема градации женских брюк по полнотам

Рисунок П2.8 – Схема градации мужских брюк по полнотам
Таблица П2.9 –Градация юбок по полнотам
| Деталь и конструктивная точка |
Разница между смежными полнотами, см |
|
| по горизонтали |
по вертикали |
|
| Прямая юбка Задняя часть Верхняя точка среднего среза |
- |
0,25 |
| Нижняя точка среднего среза |
- |
0,05 |
| Верхняя точка бокового среза |
0,25 |
0,35 |
| Пересечение бокового среза с линией бедер |
1,0 |
- |
| Нижняя точка бокового среза |
1,0 |
0,05 |
| Вытачка: левая верхняя точка правая верхняя точка верхняя точка осевой линии конечная точка |
0,25 |
0,3 |
| 0,55 |
0,3 |
|
| 0,4 |
0,3 |
|
| 0,4 |
0,15 |
|
| Передняя часть |
||
| Верхняя точка среднего среза |
- |
0,35 |
| Нижняя точка нижнего среза |
- |
0,05 |
| Верхняя точка бокового среза |
-0,75 |
0,35 |
| Пересечение бокового среза с линией бедер |
-1,0 |
- |
| Нижняя точка бокового среза |
-1,0 |
0,05 |
| Вытачка: левая верхняя точка правая верхняя точка верхняя точка осевой линии конечная точка |
-0,2 |
0,35 |
| - |
0,35 |
|
| -0,1 |
0,35 |
|
| -0,1 |
0,15 |
|

Рисунок П2.9 – Схема градации прямой юбки по полнотам
Таблица П2.10 – Перемещения конструктивных точек от размера к размеру в основных деталях женской одежды покроя реглан для всех полнотных групп
| Наименование деталей и конструктивных точек |
Разность между смежными размерами по: , см |
|||||
| 88 - 104 |
108 -120 |
122 - 136 |
||||
| вертикали |
горизонтали |
вертикали |
горизонтали |
вертикали |
горизонтали |
|
| 1 |
2 |
3 |
4 |
5 |
6 |
7 |
| Спинка |
||||||
| Середина горловины |
0,1 |
0,1 |
0,1 |
0,1 |
0,1 |
0,1 |
| Вершина проймы |
0,1 |
0,3 |
0,1 |
0,3 |
0,05 |
0,35 |
| Вершина бокового среза |
-0,45 |
0,5 |
-0,35 |
0,5 |
-0,3 |
0,5 |
| Пересечение линии талии: с боковым срезом с серединой спинки |
- |
0,55 |
- |
0,5 |
- |
0,65 |
| - |
- |
- |
- |
- |
- |
|
| Пересечение линии бедер: с боковым срезом с серединой спинки |
-0,05 |
0,5 |
-0,05 |
0,5 |
-0,05 |
0,5 |
| -0,05 |
- |
-0,05 |
- |
-0,05 |
- |
|
| Пересечение линии низа: с боковым срезом с серединой спинки |
0,1 |
0,5 |
0,1 |
0,5 |
0,1 |
0,5 |
| 0,1 |
- |
0,1 |
- |
0,1 |
- |
|
| Надсечка на пройме |
-0,5 |
0,4 |
-0,5 |
0,4 |
-0,5 |
0,4 |
| Полочка |
||||||
| Продолжение таблицы 1 прил.6 |
||||||
| 1 |
2 |
3 |
4 |
5 |
6 |
7 |
| Высшая точка средней линии (полузаноса) |
0,4 |
0,9 |
0,45 |
1,0 |
0,55 |
1,0 |
| Вершина проймы полочки |
0,6 |
0,75 |
0,65 |
0,85 |
0,75 |
0,85 |
Продолжение таблицы П2.10
| 1 |
2 |
3 |
4 |
5 |
6 |
7 |
| Нагрудная вытачка: правая точка раствора левая точка раствора нижний конец |
0,55 |
0,7 |
0,6 |
0,75 |
0,7 |
0,75 |
| 0,25 |
-0,2 |
0,3 |
-0,4 |
0,2 |
- 0,5 |
|
| -0,2 |
0,6 |
-0,3 |
0,7 |
-0,3 |
0,7 |
|
| Надсечка на пройме |
- |
-0,1 |
- |
-0,1 |
- |
-0,1 |
| Вершина бокового среза |
-0,45 |
-0,6 |
-0,35 |
-0,5 |
-0,3 |
-0,35 |
| Пересечение линии талии: с боковым срезом со средней линией (полузаносом) |
- |
-0,65 |
0,35 |
-0,7 |
0,5 |
-0,75 |
| - |
0,9 |
- |
1,0 |
- |
1,0 |
|
| Передняя вытачка: правая точка раствора левая точка раствора верхний конец нижний конец |
- |
0,6 |
- |
0,65 |
- |
0,65 |
| - |
0,6 |
- |
0,75 |
- |
0,75 |
|
| -0,2 |
0,6 |
-0,3 |
0,7 |
-0,3 |
0,7 |
|
| - |
0,6 |
- |
0,7 |
- |
0,7 |
|
| Боковой карман: передний конец задний конец |
- |
0,2 |
0,1 |
0,1 |
0,2 |
0,1 |
| - |
-0,1 |
0,3 |
-0,2 |
0,45 |
-0,2 |
|
| Пересечение линии бедер: с боковым срезом со средней линией (полузаносом) |
-0,05 -0,05 |
0,9 0,9 |
-0,05 -0,05 |
1,0 1,0 |
-0,05 -0,05 |
1,0 1,0 |
| Пересечение линии низа: с боковым срезом со средней линией (полузаносом) |
0,1 |
-0,6 |
0,1 |
-0,5 |
0,45 |
0,4 |
| 0,1 |
0,9 |
0,1 |
1,0 |
0,1 |
1,0 |
| Продолжение таблицы П2.10 |
||||||
| 1 |
2 |
3 |
4 |
5 |
6 |
7 |
| Локтевая часть рукава реглан |
||||||
| Вершина верхнего среза |
0,05 |
-0,3 |
0,05 |
-0,3 |
0,05 |
-0,3 |
| Высшая точка проймы |
0,05 |
-0,3 |
0,05 |
-0,3 |
0,05 |
-0,3 |
| Надсечка в пройме |
-0,15 |
-0,7 |
-0,15 |
-0,7 |
-0,15 |
-0,7 |
| Нижняя точка проймы |
-0,4 |
-1,1 |
-0,4 |
-1,1 |
-0,4 |
-1,1 |
| Пересечение линии низа: с верхним срезом с нижним срезом |
0,25 |
- |
0,25 |
- |
0,25 |
- |
| 0,15 |
-0,05 |
0,15 |
-0,05 |
0,15 |
-0,05 |
|
| Вытачка по линии локтя: верхняя точка раствора нижняя точка конец вытачки |
-0,4 |
-0,9 |
-0,4 |
-0,9 |
-0,4 |
-0,9 |
| -0,5 |
-0,8 |
-0,5 |
-0,8 |
-0,5 |
-0,8 |
|
| -0,3 |
-0,6 |
-0,3 |
-0,6 |
-0,3 |
-0,6 |
|
| Передняя часть рукава |
||||||
| Высшая точка на горловине |
0,25 |
0,25 |
0,25 |
0,25 |
0,25 |
0,25 |
| Высшая точка проймы |
- |
0,2 |
- |
0,2 |
- |
0,2 |
| Нижняя точка проймы |
-0,35 |
0,3 |
-0,35 |
0,3 |
-0,35 |
0,3 |
| Надсечка на пройме |
- |
- |
- |
- |
- |
- |
| Плечевая точка |
0,15 |
0,15 |
0,15 |
0,15 |
0,15 |
0,15 |
| Пересечение линии низа: с верхним срезом рукава с нижним срезом рукава |
0,25 |
- |
0,2 |
- |
0,2 |
- |
| 0,2 |
0,2 |
0,2 |
0,2 |
0,2 |
0,2 |
|

Рисунок П2.10 – Схема градации лекал женской одежды покроя реглан по размерам
Таблица П2.11 - Перемещения конструктивных точек от размера к размеру в основных деталях женской одежды с цельновыкроенным рукавом и ластовицей для всех полнотных групп
| Наименование деталей и конструктивных точек |
Разность между смежными размерами в изделиях :, см |
|||||
| с ластовицей переходящей в рукав (рис. 1) |
ластовицей переходящей в отрезной бочок (рис. 2) |
|||||
| по горизонтали |
по вертикали |
вдоль контура детали |
по горизонтали |
по вертикали |
вдоль контура детали |
|
| 1 |
2 |
3 |
4 |
5 |
6 |
7 |
| Спинка |
||||||
| Середина горловины |
-1,0 |
- |
- |
-0,75 |
- |
- |
| Вершина горловины |
-0,8 |
0,05 |
- |
-0,55 |
0,05 |
- |
| Вершина бокового среза: основной детали ластовицы |
- |
-0,4 |
- |
- |
-0,4 |
- |
| 0,3 |
0,4 |
- |
0,25 |
-0,4 |
- |
|
| Пересечение линии талии: с боковым срезом с серединой спинки с ластовицей |
- |
- |
- |
- |
- |
- |
| - |
- |
- |
- |
- |
- |
|
| - |
- |
- |
- |
- |
- |
|
| Пересечение линии бедер: с боковым срезом с серединой спинки с ластовицей |
- |
- |
- |
- |
- |
- |
| - |
- |
- |
- |
- |
- |
|
| - |
- |
- |
- |
- |
- |
|
| Пересечение линии низа: с боковым срезом с серединой спинки с ластовицей |
- |
- |
- |
- |
- |
- |
| -1,0 |
- |
- |
-0,75 |
- |
- |
|
| - |
- |
- |
-0,25 |
- |
- |
|
| Верхняя точка втачивания ластовицы в деталь спинки |
- |
-0,4 |
- |
- |
-0,4 |
- |
| Продолжение таблицы П2.11 |
||||||
| 1 |
2 |
3 |
4 |
5 |
6 |
7 |
| Точка плечевого среза |
- |
- |
0,5 |
- |
- |
0,25 |
| Полочка |
||||||
| Высшая точка средней линии (полузаноса) |
1,0 |
- |
- |
0,75 |
- |
- |
| Вершина горловины |
0,8 |
0,3 |
- |
0,55 |
0,3 |
- |
| Вершина бокового среза: основной детали ластовицы |
- |
-0,4 |
- |
- |
-0,4 |
- |
| 0,3 |
0,4 |
- |
0,25 |
0,4 |
- |
|
| Пересечение линии талии: с боковым срезом с серединой спинки с ластовицей |
- |
- |
- |
- |
- |
- |
| - |
- |
- |
- |
- |
- |
|
| - |
- |
- |
- |
- |
- |
|
| Пересечение линии бедер: с боковым срезом с серединой полочки с ластовицей |
- |
- |
- |
- |
- |
- |
| - |
- |
- |
- |
- |
- |
|
| - |
- |
- |
- |
- |
- |
|
| Пересечение линии низа: с боковым срезом с серединой полочки с ластовицей |
- |
- |
- |
- |
- |
- |
| 1,0 |
- |
- |
0,75 |
- |
- |
|
| - |
- |
- |
0,25 |
- |
- |
|
| Верхняя точка втачивания ластовицы |
- |
-0,4 |
- |
- |
- |
- |
| Точка плечевого среза |
- |
- |
0,5 |
- |
- |
0,25 |
| Точки кармана, расположенного: вертикально горизонтально |
0,4 |
- |
- |
- |
- |
- |
| 0,4 |
- |
- |
- |
- |
- |
|
| Продолжение таблицы П2.11 |
||||||
| 1 |
2 |
3 |
4 |
5 |
6 |
7 |
| Задняя часть рукава |
||||||
| Пересечение линии низа: с верхним срезом с нижним срезом с ластовицей |
- |
- |
0,5** |
- |
- |
0,25** |
| - |
- |
0,3* / 0,5** |
- |
- |
0,3*/ 0,25** |
|
| - |
- |
- / 0,5** |
- |
- |
- |
|
| Передняя часть рукава |
||||||
| Пересечение линии низа: с верхним срезом с нижним срезом с ластовицей |
- |
- |
0,5** |
- |
- |
0,25** |
| - |
- |
0,3* / 0,5** |
- |
- |
0,3*/ 0,25** |
|
| - |
- |
- / 0,5* |
- |
- |
- |
|
| Воротник |
||||||
| Верхняя и нижняя точки среднего среза |
-0,5 |
- |
- |
-0,5 |
- |
- |
| Контрольная точка на уровне плечевого среза |
-0,3 |
- |
- |
-0,3 |
- |
- |
| Примечание. * Величина приращений откладывается вдоль линии низа рукава. ** Величина приращений откладывается вдоль линий верхнего или нижнего срезов рукава. |
||||||
Таблица П2.12 – Перемещения конструктивных точек от размера к размеру в основных деталях женской одежды с цельновыкроенным рукавом большого объема для всех полнотных групп
| Наименование деталей и конструктивных точек |
Разность между смежными размерами в изделиях :, см |
|||||
| с плечевыми вытачками (рис. 3) |
без вытачек (рис. 4) |
|||||
| по горизонтали |
по вертикали |
вдоль контура детали |
по горизонтали |
по вертикали |
вдоль контура детали |
|
| 1 |
2 |
3 |
4 |
5 |
6 |
7 |
| Спинка |
||||||
| Середина горловины |
-0,8 |
- |
- |
-1,0 |
- |
- |
| Вершина горловины |
-0,8 |
0,05 |
- |
-0,8 |
0,05 |
- |
| Контрольная точка на уровне вершины бокового среза |
- |
-0,4 |
- |
- |
-0,4 |
- |
| Пересечение линии талии: с боковым срезом с серединой спинки |
- |
- |
- |
- |
- |
- |
| - |
- |
- |
- |
- |
- |
|
| Пересечение линии бедер: с боковым срезом с серединой спинки |
- |
- |
- |
- |
- |
- |
| - |
- |
- |
- |
- |
- |
|
| Пересечение линии низа: с боковым срезом с серединой спинки |
- |
- |
- |
- |
- |
- |
| -0,8 |
- |
- |
-1,0 |
- |
- |
|
| Пересечение линии низа рукава: с верхним срезом с нижним срезом |
- |
- |
- /0,3** |
- |
- |
-/0,5** |
| - |
- |
0,3*/0,3** |
- |
- |
0,3*/0,5** |
|
| Точка плечевого среза |
- |
- |
0,3 |
- |
- |
0,5 |
| Продолжение таблицы П2.12 |
|||||||||||
| 1 |
2 |
3 |
4 |
5 |
6 |
7 |
|||||
| Вытачка в плечевом срезе по осевой линии |
-0,8 |
0,05 |
- |
- |
- |
- |
|||||
| Полочка |
|||||||||||
| Высшая точка средней линии (полузаноса) |
1,2 |
- |
- |
1,0 |
- |
- |
|||||
| Вершина горловины |
1,0 |
0,3 |
- |
0,8 |
0,3 |
- |
|||||
| Контрольная точка на уровне вершины бокового среза |
- |
-0,4 |
- |
- |
-0,4 |
- |
|||||
| Пересечение линии талии: с боковым срезом с серединой спинки |
- |
- |
- |
- |
- |
- |
|||||
| - |
- |
- |
- |
- |
- |
||||||
| Пересечение линии бедер: с боковым срезом с серединой полочки |
- |
- |
- |
- |
- |
- |
|||||
| - |
- |
- |
- |
- |
- |
||||||
| Пересечение линии низа: с боковым срезом с серединой полочки |
- |
- |
- |
- |
- |
- |
|||||
| 1,2 |
- |
- |
1,0 |
- |
- |
||||||
| Пересечение линии низа рукава: с верхним срезом с нижним срезом |
- |
- |
- / 0,3** |
- |
- |
-/0,5** |
|||||
| - |
- |
0,3*/0,3** |
0,3*/0,5** |
||||||||
| Продолжение таблицы П2.12 |
|||||||||||
| 1 |
2 |
3 |
4 |
5 |
6 |
7 |
|||||
| Точка плечевого среза |
- |
- |
0,3 |
- |
- |
0,5 |
|||||
| Верхняя и нижняя точки кармана, расположенного вертикально |
0,7 |
- |
- |
0,4 |
- |
- |
|||||
| Точки кармана, расположенного горизонтально |
0,7 |
- |
- |
0,4 |
- |
- |
|||||
| Правая и левая точки нагрудной вытачки |
- |
- |
0,15 |
- |
- |
- |
|||||
| Нижний конец нагрудной вытачки |
0,7 |
0,4 |
- |
- |
- |
- |
|||||
| Раствор вытачки |
- |
- |
0,7 – 0,9 |
- |
- |
- |
|||||
| Воротник |
|||||||||||
| Верхняя и нижняя точки среднего среза |
-0,5 |
- |
- |
-0,5 |
- |
- |
|||||
| Контрольная точка на уровне плечевого среза |
-0,3 |
- |
- |
-0,3 |
- |
- |
|||||
| Примечание. * Величина приращений откладывается вдоль линии низа рукава. ** Величина приращений откладывается вдоль линий верхнего или нижнего срезов рукава. |
|||||||||||
Таблица П2.13 – Перемещения конструктивных точек от роста к росту в основных деталях женской одежды с цельновыкроенным рукавом для всех полнотных групп
| Наименование деталей и конструктивных точек |
Разность между смежными ростами, см |
||
| по горизонтали |
по вертикали |
вдоль контура детали |
|
| 1 |
2 |
3 |
4 |
| Спинка, полочка |
|||
| Пересечение линии талии: с боковым срезом с серединой спинки,полочки с ластовицей в отрезном бочке |
- |
1,0 |
- |
| - |
1,0 |
- |
|
| - |
1,0 |
- |
|
| Пересечение линии бедер: с боковым срезом с серединой спинки,полочки с ластовицей в отрезном бочке |
- |
1,5 |
- |
| - |
1,5 |
- |
|
| - |
1,5 |
- |
|
| Пересечение линии низа: с боковым срезом с серединой спинки,полочки с ластовицей в отрезном бочке |
- |
-3,0* |
- |
| - |
-3,0* |
- |
|
| - |
-3,0* |
- |
|
| Пересечение линии низа рукава: с верхним срезом с нижним срезом с ластовицей в рукаве |
- |
- |
-2,0 |
| - |
- |
-2,0 |
|
| - |
- |
-2,0 |
|
| Пересечение линии локтя: с верхним срезом с нижним срезом |
- |
- |
-1,0 |
| - |
- |
-1,0 |
|
| Нижняя точка вертикального кармана |
- |
1,0 |
- |
| Прорезь горизонтального кармана |
- |
1,2 |
- |
| Примечание. *Увеличение длины изделий по ростам определяются по величинам: изделия длиной до линии талии увеличиваются на 1 см; изделия длиной до линии бедер увеличиваются на 2 см; изделия длиной до линии колена увеличиваются на 3 см; изделия длиной до уровня щиколоток увеличиваются на 4 см; длина рукава для всех изделий увеличивается на 2 см. |
|||

Рисунок П2.11 – Схема градации лекал по размерам и ростам женской одежды с цельновыкроенным рукавом и ластовицей переходящей в рукав
Рисунок П2.12 – Схема градации лекал по размерам и ростам женской одежды с цельновыкроенным рукавом с ластовицей переходящей в отрезной бочок

Рисунок П2.13 – Схема градации лекал женской одежды с цельновыкроенным рукавом и вытачкой в плечевом срезе по размерам и ростам
Рисунок П2.14 – Схема градации лекал женской одежды с цельновыкроенным рукавом большого объема по размерам и ростам
Таблица П2.14 – Натуральные величины тригонометрических функций (угловой радиус разделен на шесть частей: шаг 10¢)
| С И Н У С Ы |
||||||||
| Градусы |
0¢ |
10¢ |
20¢ |
30¢ |
40¢ |
50¢ |
60¢ |
|
| 1 |
2 |
3 |
4 |
5 |
6 |
7 |
8 |
9 |
| 0 |
0,0000 |
0,0029 |
0,0058 |
0,0087 |
0,0116 |
0,0145 |
0,0175 |
89 |
| 1 |
0,0175 |
0,0204 |
0,0223 |
0,0262 |
0,0291 |
0,0320 |
0,0349 |
88 |
| 2 |
0,0149 |
0,0378 |
0,0407 |
0,0436 |
0,465 |
0,494 |
0,0523 |
87 |
| 3 |
0,0523 |
0,0552 |
0,0581 |
0,0610 |
0,0640 |
0,0660 |
0,0698 |
86 |
| 4 |
0,0698 |
0,0727 |
0,0756 |
0,0785 |
0,0814 |
0,0843 |
0,0872 |
85 |
| 5 |
0,0872 |
0,0901 |
0,0929 |
0,0958 |
0,0987 |
0,1016 |
0,1045 |
84 |
| 6 |
0,1045 |
0,1074 |
0,1103 |
0,1132 |
0,1161 |
0,1190 |
0,1219 |
83 |
| 7 |
0,1219 |
0,1248 |
0,1276 |
0,1305 |
0,1334 |
0,1363 |
0,1392 |
82 |
| 8 |
0,1392 |
0,1421 |
0,1449 |
0,1478 |
0,1507 |
0,1536 |
0,1564 |
81 |
| 9 |
0,1564 |
0,1593 |
0,1622 |
0,1650 |
0,1679 |
0,1708 |
0,1736 |
80 |
| 10 |
0,1736 |
0,1765 |
0,1794 |
0,1822 |
0,1851 |
0,1880 |
0,1908 |
79 |
| 11 |
0,1908 |
0,1937 |
0,1965 |
0,1994 |
0,2022 |
0,2051 |
0,2079 |
78 |
| 12 |
0,2079 |
0,2108 |
0,2136 |
0,2164 |
0,2193 |
0,2221 |
0,2250 |
77 |
| 13 |
0,2250 |
0,2278 |
0,2306 |
0,2334 |
0,2263 |
0,2391 |
0,2419 |
76 |
| 14 |
0,2519 |
0,2447 |
0,2476 |
0,2504 |
0,2532 |
0,2560 |
0,2588 |
75 |
| 15 |
0,2588 |
0,2616 |
0,2644 |
0,2672 |
0,2700 |
0,2728 |
0,2756 |
74 |
| 16 |
0,2756 |
0,2784 |
0,2812 |
0,2840 |
0,2868 |
0,2896 |
0,2924 |
73 |
| 17 |
0,2924 |
0,2952 |
0,2979 |
0,3007 |
0,3035 |
0,3062 |
0,3090 |
72 |
| 18 |
0,3090 |
0,3118 |
0,3145 |
0,3173 |
0,3201 |
0,3228 |
0,3256 |
71 |
| 19 |
0,3256 |
0,3283 |
0,3311 |
0,3338 |
0,3365 |
0,3393 |
0,3420 |
70 |
| 20 |
0,3420 |
0,3448 |
0,3475 |
0,3502 |
0,3529 |
0,3557 |
0,3584 |
69 |
| 21 |
0,3584 |
0,3611 |
0,3638 |
0,3665 |
0,3692 |
0,3719 |
0,3746 |
68 |
| 22 |
0,3746 |
0,3773 |
0,3800 |
0,3827 |
0,3854 |
0,3881 |
0,3907 |
67 |
| 23 |
0,3907 |
0,3934 |
0,3961 |
0,3987 |
0,4014 |
0,4041 |
0,4067 |
66 |
| 24 |
0,4067 |
0,4094 |
0,4120 |
0,4147 |
0,4173 |
0,4200 |
0,4226 |
65 |
| 25 |
0,4226 |
0,4253 |
0,4279 |
0,4305 |
0,4331 |
0,4358 |
0,4384 |
64 |
| 26 |
0,4384 |
0,4410 |
0,4436 |
0,4462 |
0,4488 |
0,4514 |
0,4540 |
63 |
| 27 |
0,4540 |
0,4566 |
0,4592 |
0,4617 |
0,4643 |
0,4669 |
0,4695 |
62 |
| 28 |
0,4695 |
0,4720 |
0,4746 |
0,4772 |
0,4797 |
0,4823 |
0,4848 |
61 |
| 29 |
0,4848 |
0,4874 |
0,4899 |
0,4924 |
0,4950 |
0,4975 |
0,5000 |
60 |
| Продолжение таблицы П2.14 |
||||||||
| 1 |
2 |
3 |
4 |
5 |
6 |
7 |
8 |
9 |
| 30 |
0,5000 |
0,5025 |
0,5050 |
0,5075 |
0,5100 |
0,5125 |
0,5150 |
59 |
| 31 |
0,5150 |
0,5175 |
0,5200 |
0,5225 |
0,5250 |
0,5275 |
0,5299 |
58 |
| 32 |
0,5299 |
0,5324 |
0,5348 |
0,5373 |
0,5398 |
0,5422 |
0,5446 |
57 |
| 33 |
0,5446 |
0,5471 |
0,5495 |
0,5519 |
0,5544 |
0,5568 |
0,5992 |
56 |
| 34 |
0,5992 |
0,5616 |
0,5640 |
0,5664 |
0,5688 |
0,5712 |
0,5736 |
55 |
| 35 |
0,5736 |
0,5760 |
0,5783 |
0,5807 |
0,5831 |
0,5854 |
0,5878 |
54 |
| 36 |
0,5878 |
0,5901 |
0,5925 |
0,5948 |
0,5972 |
0,5995 |
0,6018 |
53 |
| 37 |
0,6018 |
0,6041 |
0,6065 |
0,6088 |
0,6111 |
0,6134 |
0,6157 |
52 |
| 38 |
0,6157 |
0,6180 |
0,6202 |
0,6225 |
0,6248 |
0,6271 |
0,6293 |
51 |
| 39 |
0,6293 |
0,6316 |
0,6338 |
0,6361 |
0,6383 |
0,6406 |
0,6428 |
50 |
| 40 |
0,6428 |
0,6450 |
0,6472 |
0,6494 |
0,6517 |
0,6539 |
0,6561 |
49 |
| 41 |
0,6561 |
0,6583 |
0,6604 |
0,6626 |
0,6648 |
0,6670 |
0,6691 |
48 |
| 42 |
0,6691 |
0,6713 |
0,6734 |
0,6756 |
0,6777 |
0,6799 |
0,6820 |
47 |
| 43 |
0,6820 |
0,6841 |
0,6862 |
0,6884 |
0,6905 |
0,6926 |
0,6947 |
46 |
| 44 |
0,6947 |
0,6967 |
0,6988 |
0,7009 |
0,7030 |
0,7050 |
0,7071 |
45 |
| 45 |
0,7071 |
0,7092 |
0,7112 |
0,7133 |
0,7153 |
0,7173 |
0,7193 |
44 |
| 46 |
0,7193 |
0,7214 |
0,7234 |
0,7254 |
0,7274 |
0,7294 |
0,7314 |
43 |
| 47 |
0,7314 |
0,7333 |
0,7353 |
0,7373 |
0,7392 |
0,7412 |
0,7431 |
42 |
| 48 |
0,7431 |
0,7451 |
0,7470 |
0,7490 |
0,7509 |
0,7528 |
0,7547 |
41 |
| 49 |
0,7547 |
0,7566 |
0,7585 |
0,7604 |
0,7623 |
0,7642 |
0,7660 |
40 |
| 50 |
0,7660 |
0,7679 |
0,7698 |
0,7716 |
0,7735 |
0,7753 |
0,7771 |
39 |
| 51 |
0,7771 |
0,7790 |
0,7808 |
0,7826 |
0,7844 |
0,7862 |
0,7880 |
38 |
| 52 |
0,7880 |
0,7898 |
0,7916 |
0,7934 |
0,7951 |
0,7969 |
0,7986 |
37 |
| 53 |
0,7986 |
0,8004 |
0,8021 |
0,8039 |
0,8056 |
0,8073 |
0,8090 |
36 |
| 54 |
0,8090 |
0,8107 |
0,8124 |
0,8141 |
0,8158 |
0,8175 |
0,8192 |
35 |
| 55 |
0,8192 |
0,8208 |
0,8225 |
0,8241 |
0,8258 |
0,8274 |
0,8290 |
34 |
| 56 |
0,8290 |
0,8307 |
0,8323 |
0,8339 |
0,8355 |
0,8371 |
0,8387 |
33 |
| 57 |
0,8387 |
0,8403 |
0,8418 |
0,8434 |
0,8450 |
0,8465 |
0,8480 |
32 |
| 58 |
0,8480 |
0,8496 |
0,8511 |
0,8526 |
0,8542 |
0,8557 |
0,8572 |
31 |
| 59 |
0,8572 |
0,8587 |
0,8601 |
0,8616 |
0,8631 |
0,8646 |
0,8660 |
30 |
| 60 |
0,8660 |
0,8675 |
0,8689 |
0,8704 |
0,8718 |
0,8732 |
0,8746 |
29 |
| 61 |
0,8746 |
0,8760 |
0,8774 |
0,8788 |
0,8802 |
0,8816 |
0,8829 |
28 |
| 62 |
0,8829 |
0,8843 |
0,8857 |
0,8870 |
0,8884 |
0,8897 |
0,8910 |
27 |
| 63 |
0,8910 |
0,8923 |
0,8936 |
0,8956 |
0,8962 |
0,8975 |
0,8988 |
26 |
| 64 |
0,8988 |
0,9001 |
0,9013 |
0,9026 |
0,9038 |
0,9051 |
0,9063 |
25 |
| Продолжение таблицы П2.14 |
||||||||
| 1 |
2 |
3 |
4 |
5 |
6 |
7 |
8 |
9 |
| 65 |
0,9063 |
0,9075 |
0,9088 |
0,9100 |
0,9112 |
0,9124 |
0,9135 |
24 |
| 66 |
0,9135 |
0,9147 |
0,9159 |
0,9171 |
0,9182 |
0,9194 |
0,9205 |
23 |
| 67 |
0,9205 |
0,9216 |
0,9228 |
0,9239 |
0,9250 |
0,9261 |
0,9272 |
22 |
| 68 |
0,9272 |
0,9283 |
0,9293 |
0,9304 |
0,9315 |
0,9325 |
0,9336 |
21 |
| 69 |
0,9336 |
0,9364 |
0,9356 |
0,9367 |
0,9377 |
0,9387 |
0,9397 |
20 |
| 70 |
0,9397 |
0,9407 |
0,9417 |
0,9426 |
0,9436 |
0,9446 |
0,9455 |
19 |
| 71 |
0,9455 |
0,9465 |
0,9474 |
0,9483 |
0,9492 |
0,9502 |
0,9511 |
18 |
| 72 |
0,9511 |
0,9520 |
0,9528 |
0,9537 |
0,9546 |
0,9555 |
0,9563 |
17 |
| 73 |
0,9563 |
0,9572 |
0,9580 |
0,9588 |
0,9596 |
0,9605 |
0,9613 |
16 |
| 74 |
0,9613 |
0,9621 |
0,9628 |
0,9636 |
0,9644 |
0,9652 |
0,9659 |
15 |
| 75 |
0,9659 |
0,9667 |
0,9674 |
0,9681 |
0,9689 |
0,9696 |
0,9703 |
14 |
| 76 |
0,9703 |
0,9710 |
0,9717 |
0,9724 |
0,9730 |
0,9737 |
0,9744 |
13 |
| 77 |
0,9744 |
0,9750 |
0,9757 |
0,9763 |
0,9769 |
0,9775 |
0,9781 |
12 |
| 78 |
0,9781 |
0,9787 |
0,9793 |
0,9799 |
0,9805 |
0,9811 |
0,9816 |
11 |
| 79 |
0,9816 |
0,9822 |
0,9827 |
0,9833 |
0,9838 |
0,9843 |
0,9848 |
10 |
| 80 |
0,9848 |
0,9853 |
0,9858 |
0,9863 |
0,9868 |
0,9872 |
0,9877 |
9 |
| 81 |
0,9877 |
0,9881 |
0,9886 |
0,9890 |
0,9894 |
0,9899 |
0,9903 |
8 |
| 82 |
0,9903 |
0,9907 |
0,9911 |
0,9914 |
0,9918 |
0,9922 |
0,9925 |
7 |
| 83 |
0,9925 |
0,9929 |
0,9932 |
0,9936 |
0,9939 |
0,9942 |
0,9945 |
6 |
| 84 |
0,9945 |
0,9948 |
0,9951 |
0,9954 |
0,9957 |
0,9959 |
0,9962 |
5 |
| 85 |
0,9962 |
0,9964 |
0,9967 |
0,9969 |
0,9971 |
0,9974 |
0,9976 |
4 |
| 86 |
0,9976 |
0,9978 |
0,9980 |
0,9981 |
0,9983 |
0,9985 |
0,9986 |
3 |
| 87 |
0,9986 |
0,9988 |
0,9989 |
0,9990 |
0,9992 |
0,9993 |
0,9994 |
2 |
| 88 |
0,9994 |
0,9995 |
0,9996 |
0,9997 |
0,9997 |
0,9998 |
0,9998 |
1 |
| 89 |
0,9998 |
0,9999 |
0,9999 |
1,0000 |
1,0000 |
1,0000 |
1,0000 |
0 |
| 60* |
50* |
40* |
30* |
20* |
10* |
0* |
Градусы |
|
| К О С И Н У С Ы |
||||||||
ПРИЛОЖЕНИЕ 3
Рисунок П3.1 – Схема сборки женского пальто к примерке
опера-
ционные
уровни
00 01 02 03 04 05 06 07 08 09 10 11 12 13 14 15 16 17
01 18 19 20 21 22 23 24
01+02 03+04 05+06 09+10 11+12 13+14 15+16
![]()
![]()
![]()
![]()
![]()
![]()
![]()
![]()
02 25 26 27
18+19 21+08 24+17
![]()
![]()
![]()
![]()
03 28
26+07
04 29
28+20
05 30
29+22
06 31
30+23
07 32
31+27
33
08 32+25
Рисунок П3.2 – Граф конструктивно-технологических переходов для процесса обработки и сборки женского пальто
А-А Г-Г


![]()
В-В
Е-Е
Д-Д
Е-Е
Рисунок П3.3 – Методы обработки деталей женского пальто
Таблица 3.1 – Инструкционная карта обработки ____________узла заданного вида (указать вид изделия) изделия
| N п\п |
Техническое условие выполнения операции, мм |
Вид работ |
Затрата времени, мин. |
Оборудование, приспособление, инструменты |
| 1 |
2 |
3 |
4 |
5 |
| 1 2 3 4 5 6 7 8 9 10 11 |
ИТОГО: |
Пр Р М Р У СМ М Р У М Пр |
1,82 0.55 2,41 0,7 1,2 2,1 3,8 0,491 3,1 2,7 0,6 19,87 |
ПГУЗ Мел, линейка 131-13+3, АО «Орша», Беларусь Ножницы, колышек УТП-2,ОЭП ОАО «Агат», РФ МОМЗ ЦНИИШП,335 фир«Минерва» 131-13+3, АО «Орша», Беларусь Колышек, ножницы УТП 2, ОЭП ОАО «Агат», РФ 131-13+3 АО «Орша», Беларусь ПГУЗ |
ПРИЛОЖЕНИЕ 4
Таблица П4.1. - Технологическое оборудование швейного цеха
| № п/п |
Наименование оборудования |
Марка или серия |
Nу , кВт |
Влаговыде-ления, кг/ч |
|
| 1. |
Универсальное |
212-115105/Е 112 “Дюркопп” |
0,27 |
||
| 2. |
Универсальное |
МО-816-ДФ4/ТОО1 “Джуки” |
0,27 |
||
| 3. |
Универсальное |
570-2 ПО “Подольскшвеймаш” |
0,27 |
||
| 4. |
Универсальное |
887-260 “Некки” |
0,4 |
||
| 5. |
Универсальное |
885-260 “Некки” |
0,4 |
||
| 6. |
Универсальное |
881-260 “Некки” |
0,4 |
||
| 7. |
Универсальное |
831-130 “Некки” |
0,4 |
||
| 8. |
Универсальное |
832-100 “Некки” |
0,4 |
||
| 9. |
Специальное |
397-М ПО “Подольскшвеймаш” |
0,27 |
||
| 10. |
Специальное |
ЛН-115 2 SN-413/МО “Джуки” |
0,27 |
||
| 11. |
Специальное |
2001 “Некки” |
0,27 |
||
| 12. |
Специальное |
IAN 1405 “Некки” |
0,27 |
||
| 13. |
Специальное |
IAN 1611 “Некки” |
0,27 |
||
| 14. |
Специальное |
IAN 1441 “Некки” |
0,27 |
||
| 15. |
Специальное |
51-А ПО “Подольскшвеймаш” |
0,27 |
||
| 16. |
Вывертывание и приутюжива-ние (пресс для клапана кармана) |
ПВ-1 “Легмаш” |
1,6 |
1,4 |
|
| 17. |
Вывертывание и приутюживание (пресс для клапана кармана) |
ПМ-1 “Легмаш” |
1,0 |
0,2 |
|
| 18. |
Утюг |
УТП-1, 5Э “Легмаш” |
1,0 |
0,5 |
|
| 19. |
Фальц-пресс |
7096 МОМЗ ЦНИИШП |
1,0 |
0,2 |
|
| Отделочная секция |
|||||
| 20. |
Пресс |
КССУ “Паннония” |
1,6 |
1,4 |
|
| 21. |
Пресс |
КДВФ “Паннония” |
1,6 |
1,4 |
|

