| Скачать .docx |
Реферат: Учебное пособие: Методические указания к выполнению лабораторных работ для студентов всех форм обучения Специальность
Федеральное агентство по образованию
Государственное образовательное учреждение
высшего профессионального образования
«Санкт-Петербургский государственный
инженерно-экономический университет»
Кафедра экономики и менеджмента в городском хозяйстве

Материаловедение
Методические указания
к выполнению лабораторных работ
для студентов всех форм обучения
Специальность 080502(2) Экономика и управление на предприятии
городского хозяйства
Санкт-Петербург
2007
редакционно-издательским советом СПбГИЭУ
в качестве методических указаний
Составители:
канд. экон. наук, доц. Т.В. Шибанова
канд. хим. наук, доц Н.М. Шибанова
Рецензент:
канд. экон.наук, доц. В.Ф. Коновалов
Подготовлено на кафедре
экономики и менеджмента в городском хозяйстве
Одобрено научно-методическим советом специальностей 080502(2) Экономика и управление на предприятии
городского хозяйства
Отпечатано в авторской редакции оригинал-макета,
представленного составителем
ã СПбГИЭУ, 2007
СОДЕРЖАНИЕ
Общие положения …………………………………………………..4
Лабораторная работа №1 ОЗНАКОМЛЕНИЕ С ОБРАЗЦАМИ ПРИРОДНЫХ КАМЕННЫХ МАТЕРИАЛОВ……………………5
Лабораторная работа №2 ИСПЫТАНИЕ ПРОЧНОСТИ И ВОДОПОГЛАЩЕНИЯ КЕРАМИЧЕСКОГО КИРПИЧА……….10
Лабораторная работа №3 ИСПЫТАНИЕ СВОЙСТВ ГИПСОВЫХ И ЦЕМЕНТНЫХ ВЯЖУЩИХ……………………………………13
Лабораторная работа №4 ИСПЫТАНИЕ СВОЙСТВ БЕТОНА И БЕТОННОЙ СМЕСИ………………………………………………22
Лабораторная работа № 5 ИСПЫТАНИЕ СВОЙСТВ СТАЛИ…24
Лабораторная работа №6 ОПРЕДЕЛЕНИЕ МАРКИ БИТУМА……………………………………………………………29
Лабораторная работа № 7 ИЗУЧЕНИЕ НОМЕНКЛАТУРЫ ПОЛИМЕРНЫХ МАТЕРИАЛОВ………………………………...30
Лабораторная работа №8 ИСПЫТАНИЕ ДРЕВЕСИНЫ НА МЕХАНИЧЕСКУЮ ПРОЧНОСТЬ………………………………32
Список литературы………………………………………………..33
Общие положения
Лабораторный практикум предназначен для ознакомления студентов с методами испытания свойств строительных материалов и применяемым для этих целей оборудованием. Проведение лабораторного практикума предусматривается на материальной базе лаборатории строительных материалов Кафедры строительных материалов и конструкций ГОУ Санкт-Петербургского государственного политехнического университета, либо с применением имитационной компьютерной модели.
Перед началом занятия студент должен ознакомиться с методикой осуществления расчетов по обработке полученных экспериментальных данных, ответить на задаваемые преподавателем контрольные вопросы.
После выполнения каждой лабораторной работы студент должен представить отчет о ней преподавателю. Отчет выполняется каждым студентом от руки и должен содержать:
- краткое описание методики испытаний,
- табличные формы с экспериментальными результатами,
- расчеты требуемых показателей.
Сдача отчетов по лабораторным работам является обязательным условием для допуска к зачету по дисциплине «Материаловедение», так как их выполнение свидетельствует об освоении студентом необходимого минимума учебного материала.
Лабораторная работа №1
ОЗНАКОМЛЕНИЕ С ОБРАЗЦАМИ ПРИРОДНЫХ КАМЕННЫХ МАТЕРИАЛОВ
Цель работы: ознакомление с методами испытания физико-механических свойств: плотности и водопоглощения.
Приборы и оборудование
- коллекция образцов минералов и горных пород.
Технология выполнения работы
Каждый учащийся должен ознакомиться с не менее, чем 25 образцами горных пород из имеющейся коллекции – внимательно их рассмотреть, проанализировать их макроструктуру, цвет, блеск, форму. По результатам наблюдений, а также с использованием сведений, почерпнутых при изучении дополнительной литературы, составляется отчет по форме (табл. 1.1).
Таблица 1.1
Природные каменные материалы
| Наименование горной породы (минерала), его генетическая принадлежность |
Внешний вид, физические и др. свойства |
Химический и минеральный состав |
Область применения |
1.2. Испытание свойств природных каменных материалов
Приборы и оборудование
- лабораторные весы;
- штангенциркуль (колумбус);
- штативы;
- образцы горных пород;
- набор разновесов;
- стеклянный объемомер;
- копер Педжа.
1.2.1. Определение средней плотности
Методика испытаний
Образцы правильной формы (кубики) взвешивают, устанавливают их размеры по трем измерениям с точностью до 0,01 см, затем вычисляют объем образца в естественном состоянии
(1)
Деля массу на объем, находят плотность
(2)
Результаты измерений и вычислений заносят в таблицу 1.2.
Таблица 1.2.
Результаты определения средней плотности образцов
правильной формы
| Наименование породы |
Размеры образца |
Объем образца, см3 |
Масса образца, г |
γ, кг/м3 |
||
| a |
b |
h |
||||
Образцы неправильной формы (с нулевой пористостью) взвешивают обычным образом на воздухе и гидростатически (погруженными в воду).

|
Разность взвешиваний в граммах численно равна объему образца в см3 (табл. 1.3).
Таблица 1.3.
Результаты определения средней плотности образцов
неправильной формы
| Наименование породы |
Результаты взвешивания, г |
Объем образца, см3 |
γ, кг/м3 |
|
| в воздухе |
в воде |
|||
Зерна сыпучих материалов (гравий) гидростатически взвешивают с помощью дырчатого ведерка, подвешенного к штативу и опущенного в сосуд с водой, который устанавливают на одну чашку весов и уравновешивают грузом на другой чашке (рис.1.2).

|
Результаты испытания гранитного гравия
В ведерко всыпают 500 г гравия и определяют приращение массы сосуда с водой Δm в г, которое численно равно объему зерен гравия Vз в см3 .
| Δm= |
γ= m/ Vз= |
г/см3 |
1.2.2.Определение истиной плотности ρ
В стеклянную колбу-объемомер, с нанесенными на горлышке рисками и заполненную водой до нижней черты высыпают из стакана измельченный в порошок материал до тех пор, пока жидкость не поднимется до верхней черты. Объем между рисками равен 20 см3 . Затем определяется масса всыпанного материала путем нахождения разности масс стакана с измельченным порошком до и после высыпания, масса материала делится на объем вытесненной воды - 20 см3 и находится истинная плотность:
(3)
Результаты испытания и проведенные вычисления записываются в отчет (табл. 1.4.)
Таблица 1.4.
Результаты определения истинной плотности с помощью объемомера
| Масса стаканчика до высыпания |
тоже после высыпания |
| Объем материала (Vabs) |
Истинная плотность ρ |
1.2.3. Определение истиной пористости и водопоглощения
Истинную пористость рассчитывают по значениям ρ и γ, определяемым по п.п. 1.1 и 1.2. Водопоглощение по массе (Вм) и по объему (Во) (кажущаяся пористость) определяют экспериментально. Образцы высушивают до постоянной массы (m)и взвешивают. Затем насыщают водой до постоянной массы m1 , выдерживая на решетчатой подставке под слоем воды 2-10 см. Перед взвешиванием образцы обтирают влажной тканью.
Таблица 1.5.
Определение истиной пористости и водопоглощения
| Наименование породы |
||
| Показатели |
||
| Масса образца |
Сухого (m) |
|
| Водонасыщенного (m1 ) |
||
| Объем образца, Vest, см3 |
||
| Средняя плотность γ, кг/м3 |
||
| Истинная плотность ρ, кг/м3 |
||
| П=100(1-γ/ρ), % |
||
| Во=100(m1 -m)/ρв Vest, % |
||
| Вм=100(m1 -m)/m, % |
||
1.2.4. Определение ударной вязкости при раскалывании
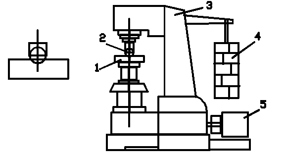
Образцы-цилиндры замеряют в диаметре и по высоте (h=d=2,5 см) и испытывают на копре Педжа (см. рис.1.3), подвергая ударам падающего груза (бабы) весом G=20 Н с высоты: при первом ударе -1см, при втором - 2 см, затем 3… и т.д. до разрушения образца. Вычисляют работу, затраченную на разрушение образца А=G(1+2+3…+n), где n- число ударов. Ударная вязкость равна отношению работы (А) к объему образца - а=A/Vest. Результаты испытаний и расчетов заносят в таблицу 1.6. По числу ударов породы делят на: ударопрочные (n>16), средние (n=8 -16) и слабые (n<8).

|
Таблица 1.6.
Результаты испытания ударной вязкости
| Наименование породы |
h, см |
d, см |
Vest, см3 |
n |
A, Дж |
а, Дж/см3 |
Лабораторная работа №2
ИСПЫТАНИЕ ПРОЧНОСТИ И ВОДОПОГЛАЩЕНИЯ КЕРАМИЧЕСКОГО КИРПИЧА
Цель работы: испытание физико-механических свойств строительной керамики и ознакомление с требованиями стандартов.
Приборы и оборудование
- весы;
- штангенциркуль;
- образцы кирпича;
- термошкаф;
- гидравлический пресс;
- ванны с гидрозатвором.
Методика проведения испытаний
Для определения показателей внешнего вида (обмера и осмотра) от партии кирпича отбирают образцы в количестве 0,5 %, но не менее 25 штук. Из этих кирпичей в лаборатории испытывают: на сжатие 10 шт., на изгиб 5 шт. на водопоглощение 3 шт., на морозостойкость 5 шт., на определение содержания «дутиков» 5 шт.
2.1. Определение объемной массы
Объемную массу кирпича определяют как отношение массы кирпича, высушенного до постоянной массы при t=105-110 ºС, к объему кирпича. Объемную массу выражают в кг/м3 . Обмер производят с точностью до 1 мм, взвешивание – с точностью до 10 г. Заполняется таблица 2.1.
Таблица 2.1.
Результаты определения объемной массы кирпича
| № п/п |
Размеры кирпича, см |
Объем кирпича, см 3 |
Масса кирпича, г |
Объемная масса |
|||
| г/см3 |
кг/м3 |
||||||
| a |
b |
h |
|||||
2.2. Определение предела прочности на сжатие
Половинки кирпича накладывают друг на друга и соединяют цементным тестом. Верхнюю и нижнюю грани образца выравнивают цементным тестом.
Таблица 2.2.
Результаты испытания кирпича на сжатие
| Образец |
Размеры в плоскости шва, см |
Площадь поперечного сечения S, см2 |
Максимальная нагрузка Р, кгс |
Предел прочности при сжатии, Rсж= Р/S, кгс/см2 |
|
| a |
b |
||||
По рассчитанным в таблице 2.2. значениям делается вывод о марке кирпича.
2.3. Методика определения прочности при изгибе
На одной поверхности (верхней постели) кирпича делают одну, а на нижней поверхности (постели) – две полоски шириной 2-3 см из гипсового теста. После твердения теста кирпичи испытывают плашмя, силой Р по середине пролета (см. рис. 2.1)
Таблица 2.3.
Результаты испытания кирпича на изгиб
| Образец |
Размеры образца, см |
Расстояния между опорами l, см |
Максимальная нагрузка Р, кгс |
Предел прочности при изгибе, Rизг=3Pl/2bh2 , кгс/см2 |
|
| Ши-рина, b |
Толщина, h |
||||

По рассчитанным в табл. 2.3 значениям делается вывод о марке кирпича.
2.4. Определение водопоглощения кирпича
Три кирпича высушивают при 105-110 ºС до постоянной массы, охлаждают и взвешивают. Затем кирпичи укладывают в сосуд с водой на подкладке так, чтобы уровень воды был выше верха образцов не менее, чем на 2 см. Через 48 часов образцы вынимают, обтирают влажной тканью и взвешивают. Заполняется табл. 2.4.
Таблица 2.4.
Результаты определения водопоглощения
| № |
Масса кирпича сухого m, г |
Масса кирпича насыщенного водой m1 , г |
Масса поглощенной кирпичом воды (m1 – m), г |
Водопоглощение по массе, Вм=100(m1 -m)/m, % |
По результатам делаются выводы о соответствии водопоглощения кирпича требованиям стандарта.
Лабораторная работа №3
ИСПЫТАНИЕ СВОЙСТВ ГИПСОВЫХ И ЦЕМЕНТНЫХ ВЯЖУЩИХ
Цель работы: ознакомление с методами измерения свойств, характеризующих вяжущие вещества в трех агрегатных состояниях: порошкообразном, вязко-пластичном (тесто, раствор), твердом (гипсовый и цементный камень).
Приборы и оборудование:
- вискозиметр Суттарда;
- прибор Вика;
- гипсовые образцы -балочки (3 шт.), цементные образцы-
балочки (3 шт.);
- встряхивающий столик;
- лабораторные весы;
- стандартные сита № 002 и № 008;
- прибор Михаэлиса;
- стандартные пластины;
- гидравлический пресс;
- ванна с гидрозатвором.
3.1. Определение нормальной густоты гипсового теста
Отвешивают 300 г гипса и воду в количестве 50-70% от массы гипса. Гипс быстро всыпают в воду и перемешивают 30 с, считая с начала затворения гипса водой. Приготовленное тесто заливают в цилиндр вискозиметра Суттарда (рис.3.1.), избыток теста заглаживают, и цилиндр плавно поднимают вертикально вверх. Поднятие цилиндра должно производиться через 45 с после начала затворения. Нормальной считаются густота, дающая лепешку диаметром (180+ 5) мм. Размер лепешки получают как среднее значение из двух измерений по взаимно перпендикулярным диаметрам.

3.2. Определение сроков схватывания гипса
Из 200 г гипса и соответствующего количества воды готовят тесто нормальной густоты и помещают в кольцо прибора Вика. (рис.3.2.)


Иглу прибора доводят до соприкосновения с поверхностью теста и фиксируют винтом. Погружение иглы производят с интервалом 30 с, каждый раз в новое место. Перед погружением иглу тщательно протирают. С наступлением начала схватывания игла перестает доходить до дна, с наступлением конца схватывания игла погружается в тесто не более чем на 1мм.
3.3.Определение тонкости помола гипса
Пробу гипса высушивают при температуре (50+ 5) ºС в течение часа и охлаждают. Отвешивают 50 г гипса и просеивают через сито №02 (размер ячеек в свету 0,2 мм). Остаток на сите взвешивают и выражают в процентах от массы пробы.
3.4. Определение предела прочности при изгибе и при сжатии образцов гипсового теста
Приготовление образцов. На одно испытание изготовляют три образца-балочки размерами 40х40х160 мм. Отвешивают 1000 г гипса и воду в количестве, соответствующем нормальной густоте теста. Гипс засыпают в воду в течение 15 с, интенсивно перемешивают в течение 60 с и заливают в трехсекционную форму (рис. 3.3). Уплотняют тесто, постукивая 5 раз краем формы о стол. Избыток теста срезают линейкой и поверхность заглаживают. Через 10-20 минут после конца схватывания образцы освобождают от форм и хранят для испытаний.
Требования стандартов к маркам гипса представлены в таблицах 3.1.- 3.3.


Испытание образцов-балочек производят через 2 часа от начала затворения гипса водой сначала на изгиб, а полученные 6 половинок – балочек - на сжатие с помощью стандартных пластин рабочей площадью 25 см2 (рис.3.4).

Таблица 3.1.
Требования по срокам схватывания
| Вид вяжущего по срокам схватывания |
индекс |
Сроки схватывания, мин |
|
| начало |
конец |
||
| Быстросхватывающийся |
А |
2 - 6 |
< 15 |
| Нормальносхватывающийся |
Б |
6 - 20 |
15-30 |
| Медленносхватывающийся |
В |
> 20 |
не нормируется |
Таблица 3.2.
Требования по тонкости помола
| Вид вяжущего |
индекс |
Остаток на сите № 02, % |
| Грубого помола |
I |
14 - 23 |
| Среднего помола |
II |
2-14 |
| Тонкого помола |
III |
<2 |
Таблица 3.3.
Требования к строительному гипсу по прочности (марки гипса)
| Марка гипса |
Предел прочности, МПа, не менее |
Марка гипса |
Предел прочности, МПа, не менее |
||
| При сжатии |
При изгибе |
При сжтии |
При изгибе |
||
| Г-2 |
2 |
1,2 |
Г-10 |
10 |
4,5 |
| Г-3 |
3 |
1,8 |
Г-13 |
13 |
5,5 |
| Г-4 |
4 |
2,0 |
Г-16 |
16 |
6,0 |
| Г-5 |
5 |
2,5 |
Г-19 |
19 |
6,5 |
| Г-6 |
6 |
3,0 |
Г-22 |
22 |
7,0 |
| Г-7 |
7 |
3,5 |
Г-25 |
25 |
8,0 |
Испытание портландцемента
При оценке свойств вяжущих веществ испытывают большей частью не само по себе вяжущее, а материал, в который вяжущее входит в качестве одного из компонентов (тесто = вяжущее + вода или раствор = вяжущее + вода + песок). Чтобы результатом испытания цементного раствора (или теста) оценить качество цемента, влияние других факторов (количества и качества песка, густоты теста или раствора, условий изготовления, хранения и испытания образцов, их возраста) нужно сделать одинаковым во всех случаях. Для этого существуют государственные стандарты, обеспечивающие сравнимость результатов. Принято подбирать водоцементное отношение (В/Ц) таким, чтобы растворенная смесь или тесто имела бы всегда одну и ту же стандартную консистенцию (нормальную густоту). Во избежание изменения В/Ц при изготовлении образцов поверхности емкостей и инструмента предварительно увлажняют мокрой тканью. Формы, в которых происходит твердение вяжущего, смазывают тонким слоем машинного масла.
В настоящее время на испытания портландцемента действует два российских стандарта: ГОСТ 310 и ГОСТ 30744-2001, соответствующий европейский стандартам.
3.5. Определение тонкости помола по остатку на сите
Цемент высушивают при 105-110 С в течение двух часов, охлаждают и просеивают через сито № 008 (размер ячейки в свету 0,08 мм). Остаток на сите взвешивают и выражают в процентах от массы пробы (50 г).
3.6. Определение водопотребности цемента (нормальной густоты теста)
Иглу 2 прибора Вика (см. рис. 3.2) заменяют пестиком 4, переставляя их местами (чтобы сохранить массу перемещающейся части 300 г). Отвешивают 400 г цемента и воду в количестве 23-30 % от массы цемента. Тесто перемешивают вручную 5 мин и заполняют им в один прием кольцо 1 прибора Вика, постукивая подставкой с кольцом о стол 5-6- раз. Избыток теста срезают и поверхности заглаживают. Пестик немедленно приводят в соприкосновение с тестом, и дают ему погружаться в течение 30 секунд.
Нормальной считается густота, при которой пестик не доходит до дна на 5-7 мм.
3.7. Определение сроков схватывания .
Пестик 4 прибора Вика (см. рис. 3.2) заменяют иглой 2, переставляя их местами. Отвешивают 400 г цемента и воду в количестве установленном в п. 3.6. Готовят тесто нормальной густоты по п. 3.6 и заполняют им кольцо прибора Вика. Испытание проводят в соответствии с п. 3.2. Периодичность погружения иглы – 10 мин. Сроки схватывания считают от начала затворения до следующего момента: начала схватывания – когда игла не доходит до дна на 1-2 мм; конец схватывания - когда игла погружается в тесто не более чем на 1-2 мм.
3.8. Определение равномерности изменения объема
кипячением в воде
Гипсовое тесто скатывают в шарики, кладут на стеклянные пластинки и, постукивая стол, превращают в лепешки. Первые 24 часа лепешки хранят во влажном пространстве (в ванне с гидравлическим раствором), затем кипятят в воде в течение 3 часов. После охлаждения их вынимают и осматривают. Признаками неравномерности изменения объема являются: коробление лепешек, появление сетки мелких трещин, наличие радиальных трещин, полное разрушение лепешек.
3.9. Определение активности, марки и класса цемента
Прочностные свойства цемента определяют на образцах-балочках размерами 40х40х160 мм, приготовленных из стандартного цементного раствора состава 1:3 (1 ч цемента: 3 ч стандартного песка).
Согласно ГОСТ 6139-2003 стандартный песок для испытаний цемента должен быть кварцевым (SiO2 > = 96%), с содержанием глинистых и илистых примесей, не более 1 % потерей массы при прокаливании не более 0,5 % и иметь нормированный зерновой состав. Он может быть моно- и полифракционным.
Монофракционный песок, состоящий из одной фракции 0,5…0,9 мм, предназначен для определения марки цемента по ГОСТ 310. Он должен иметь сертификат соответствия эталонному песку – пуску Привольского месторождения, удовлетворяющему требованиям ГОСТ 6139-2003.
3.10. Определение пределов прочности при изгибе и при сжатии образцов-балочек из цементного раствора
Растворную смесь готовят в бегунковой растворомешалке. Для этого отвешивают 1500 г стандартного монофракционного песка и 500 г цемента, высыпают в сферическую чашку, предварительно протертую мокрой тканью, и перемешивают вручную 1 мин. В центра сухой смеси делают лунку и добавляют воду, количество которой берут предварительно равным 200 г (В/Ц=0,40), но затем уточняют по нормальной густоте растворной смеси (см. ниже). Воде дают впитаться в течение 30 с, после чего перемешивают смесь 1 мин вручную и 2,5 мин в стандартной растворомешалке.
Затем смесь укладывают 2-мя слоями в форму-конус, установленную на встряхивающем столике (рис 3.5).

Каждый слой уплотняют штыкованием (15+10 раз), срезают избыток, форму снимают, производят 30 встряхиваний за 30 с и измеряют диаметр нижнего основания конуса (расплыв конуса РК).
При В/Ц = 0,40 нормальной считается густота, при кот РК=106+115 мм. Если РК<106 мм, В/Ц увеличивают до получения РК=106-108 мм, Если РК>115 мм, В/Ц уменьшают до получения РК=113-115 мм.
Изготовление образцов.
Растворную смесь нормальной густоты укладывают в трехсекционную форму (см. рис.3.3), закрепленную с насадкой на стандартной виброплощадке, и уплотняют вибрированием в течение 3 мин. До включения виброплощадки в каждую секцию укладывают смесь слоем примерно 1 см. оставшуюся смесь укладывают в течение первых двух минут вибрирования. По окончании вибрирования насадку снимают, избыток смеси снимают и поверхность образцов заглаживают. Образцы хранят 24 часа в формах во влажном пространстве, затем освобождают от форм и хранят до испытания в воде при температуре (20+ 2)С.
Испытание образцов производят в возрасте 28 суток сначала на изгиб (схема испытаний подобна указанному на рис.2.1., расстояние между опорами - металлическими стержнями устанавливается равным 100 мм ), а полученные шесть половинок балочек- на сжатие с помощью стандартных пластин с рабочей площадью 25см2 (рис 3.4). Заглаженная грань образцов не должна служить опорой при испытаниях. Предел прочности на сжатие определяют как частное от деления разрушающей нагрузки на рабочую площадь пластины.
Предел прочности на изгиб определяют по формуле
(4)
Rизг- предел прочности на изгиб,
P – разрушающая нагрузка,
l- расстояние между опорами (устанавливается равным 100 мм)
b, h – соответственно, ширина и высота образца.
В связи с ограничениями, накладываемыми учебным процессом, испытания образцов проводятся не через 28, как это полагается, а через 7 суток. Прочностные показатели в возрасте 28 суток, необходимые для установления активности, марки или класса цемента рассчитываются по формуле R28 =1,4R7 (таблица 3.4). Сравнивая результаты испытаний и рассчитанные показатели, с требованиями стандартов, указанными в таблице 3.5, делаем вывод о марке цемента.
Таблица 3.4.
Испытание на изгиб и сжатие образцов цементного раствора
| Испытываемый материал |
Предел прочности через 7 сут R7 , МПа |
Максимальная нагрузка при сжатии, Н |
|
| при изгибе |
при сжатии |
||
Таблица 3.5.
Технические требования к цементам согласно ГОСТ 10178
| Марка |
300 |
400 |
500 |
550 |
600 |
|
| Предел прочности, МПа должен быть не менее |
при изгибе |
4,5 |
5,5 |
6,0 |
6,2 |
6,5 |
| при сжатии |
30,0 |
40,0 |
50,0 |
55,0 |
60,0 |
|
Начало схватывания цемента должно наступить не ранее 45 мин, а конец схватывания не позднее 10 часов от начала затворения. Цементы должны показывать равномерность изменения объема. Остаток на сите №008 не должен превышать 15% от массы пробы.
Лабораторная работа №4
ИСПЫТАНИЕ СВОЙСТВ БЕТОНА И БЕТОННОЙ СМЕСИ
Приборы и оборудование:
- конус Абрамса;
- кубические формы;
- виброплощадка;
- гидравлический пресс.
4.1. Методика определения осадки конуса (ОК) бетонной смеси
Конус Абрамса (рис.4.1), пол и все другие поверхности, соприкасающиеся с бетонной смесью, увлажняют мокрой тканью. Конус устанавливают на пол и заполняют бетонной смесью в три слоя одинаковой высоты. Каждый слой штыкуют 25 раз. Избыток бетонной смеси срезают, конус плавно поднимают и ставят рядом с бетонной смесью. Осадку конуса измеряют с точностью до 1 см.

4.2. Методика определения прочности бетона
Бетонную смесь укладывают в кубические формы с ребром 150 мм слоями высотой не более 100 мм. Каждый слой штыкуют 25 раз. При ОК <10 см бетонную смесь дополнительно уплотняют вибрированием на стандартной виброплощадке. После уплотнения избыток бетонной смеси срезают, поверхность заглаживают. Образцы хранят в течение 1-3 суток в формах, покрытых влажной тканью, при температуре воздуха 20+ 2 ºС, затем их освобождают от форм, и выдерживают до испытания в камере с относительной влажностью воздуха не менее 95% при температуре 20+ 2 ºС. При испытании образцы устанавливают так, чтобы заглаженная грань не прилегала к плитам пресса. Для определения марки или класса бетона образцы испытывают в возрасте 28 суток, кроме гидротехнического бетона речных сооружений, контрольный возраст которого должен составлять 180 суток. Предел прочности при сжатии вычисляют по формуле
(5)
где Р – разрушающая нагрузка, МН;
S0 - расчетная площадь образца, м2 ;
α – масштабный коэффициент.
Прочность бетона вычисляют как среднее арифметическое значение результатов испытаний (табл.4.1).
Таблица 4.1
Результаты испытаний на сжатие образцов-кубов
| Размер ребра куба, см |
Площадь поперечного сечения, см2 |
Разрушающий груз Р, Н |
Предел прочности при сжатии, R7, МПа |
Классы бетона на сжатие: В3,5; В5; В7,5; В10; В12,5; В15; В20; В25; В30; В35; В40; В45; В55; В60; В65; В70; В75; В80.
Лабораторная работа № 5.
ИСПЫТАНИЕ СВОЙСТВ СТАЛИ
Цель работы: ознакомление с методами испытания свойств при определении марки стали.
Приборы и оборудование
- разрывная машина;
-образцы стержни, пластины;
-пресс Бринелля;
- маятниковый копр.
5.1. Испытание углеродистой стали на растяжение
Из гладкой арматурной стали готовят образцы-стержни (рис.5.1) длиной l=10d0 +20 см.


Для определения δ по длине стержней наносят риски через каждые 5 мм. Принимают два значения для начальной расчетной длины l10 =10d0 и l5 =5d0 и определяют число промежутков на них n10 и n5 . После испытания половинки соединяют и по числу промежутков n10 и n5 определяют новую длину расчетных участков l’10 и l’5 , так чтобы разрыв располагался посередине длины. Затем измеряют диаметр шейки и вычисляют:Rпч , δ5 , δ10 и ψ.
Таблица 5.1.
Результаты испытания стали на растяжение
| Показатели |
Образец |
|||
| №1 |
№2 |
№3 |
№4 |
|
| Начальный диаметр образца, d0 , мм |
||||
| Минимальный диаметр после разрыва, dк , мм |
||||
| Начальная расчетная длина, мм l10 l5 |
||||
| Расчетная длина после разрыва, мм l10 l5 |
||||
| Число промежутков на расчетной длине n10 n5 |
||||
| Начальная площадь поперечного сечения S0, мм |
||||
| Минимальная площадь после разрыва Sк, мм |
||||
| Наибольшая нагрузка при испытании Рмах , кгс |
||||
| Предел прочности при растяжении Rпч , МПа |
||||
| Относительное остаточное удлинение δ10 после разрыва, % δ5 |
||||
| Относительное остаточное сужение после разрыва, % ψ=100(Sk -S0 )/S0 |
||||
| Марка стали (см. табл. 5.4). |
||||
5. 2. Определение твердости стали
Твердость по Бринеллю определяют, вдавливая в шлифованную поверхность образца стальной закаленный шарик (рис. 5.2).
Диаметр D шарика выбирают в зависимости от толщины образца равным 10;5 или 2,5 мм. Нагрузку на шарик, в зависимости от ожидаемой твердости стали, берут равной 30D2 ; 10D2 или 2,5D2 . Время действия нагрузки -10с. Число твердости по Бринеллю:
(6)
Ssf – площадь сферической поверхности отпечатка
(7)


В зависимости от твердости по Бринеллю можно получить предел прочности при растяжении:
(8)
Таблица 5.2.
Результаты испытаний по определению твердости стали
методом Бринелля
| Харак-терис-тика стали |
Толщина образца, мм |
Диаметр шарика D,мм |
Нагрузка на шарик P, кгс |
Диа- метр отпечатка |
Число твер-дости по Бринеллю HB кгс/мм2 |
Расчет- ный пре- дел прочности при растяжении Rр, МПа |
5.3 Испытание ударной вязкости стали
На ударную вязкость образцы стали испытывают на маятниковом копре (рис.5.3), подвергая удару маятника. По углам подъема маятника перед ударом (α) и отклонению маятника после разрушения образца (β) вычисляют работу, затраченную на разрушение:
(9)
где P=6кг - вес маятника, l=0,5 м - длина маятника.
Ударная вязкость есть отношение этой работы к площади поперечного сечения образца в месте надреза.

|
Таблица 5.3
Результаты определения ударной вязкости стали
| Характеристика стали |
Размеры рабочего сечения, см |
Площадь рабочего сечения S,см2 |
Угол подъема маятника в градусах |
Работа, затраченная на разрушение образца A,Дж |
Ударная вязкость а=A\S Дж\м2 |
||
| а |
в |
а |
в |
||||
Таблица 5.4.
Технические требования к маркам стали
| Марка стали |
Предел прочности, Rпч , МПа |
Относительное остаточное удлинение после разрыва, не менее |
Содержание углерода, % |
| Ст 1 |
310-420 |
35 |
0,06-0,12 |
| Ст 2 |
330-440 |
33 |
0,09-0,15 |
| Ст 3 |
370-500 |
27 |
0,14-0,22 |
| Ст 4 |
410-540 |
25 |
0,18-0,27 |
| Ст 5 |
500-600 |
20 |
0,28-0,37 |
| Ст 6 |
>600 |
15 |
0,38-0,49 |
| Ст 0 |
>310 |
23 |
<0,23 |
Лабораторная работа №6
ОПРЕДЕЛЕНИЕ МАРКИ БИТУМА
Цель работы: определение марки битума по температуре размягчения.
Определение температуры размягчения проводят на аппарате «кольцо и шар» (рис. 6.1). При проведении испытаний латунные кольца, заполненные битумом, устанавливают горизонтально в отверстия на верхней пластинке аппарата. Термометр вставляют в среднее отверстие, так чтобы ртутный шарик был на нижнем уровне битума в кольцах. Аппарат с кольцами и термометром помещают в термостойкий стеклянный стакан с водой либо с глицерином (t=34 ºC). Уровень жидкости над кольцами должен быть не менее 50 мм. Выдержав аппарат в стакане 15 минут, его вынимают из стакана, в центр каждого кольца укладывают стальной шарик, снова опускают аппарат в стакан и ставят на нагревательный прибор (электроплитку), обеспечивающий скорость нагревания 5 ºС/мин. Температурой размягчения является та, при которой шарик коснется нижней пластинки прибора.


Лабораторная работа № 7
ИЗУЧЕНИЕ НОМЕНКЛАТУРЫ ПОЛИМЕРНЫХ МАТЕРИАЛОВ
Цель работы: исследование многообразия строительных отделочных, теплоизоляционных материалов на основе полимеров и выбор материала для заданных условий эксплуатации.
Технология выполнения работы .
Исследование рынка строительных материалов на основе полимерных связующих предполагает поиск информации (в том числе с применением Интернет-ресурсов) по ключевым словам «пластмассы», «полимеры для пластмасс», «санитарно-технические изделия (трубы) из пластмасс», «линолеум», «теплоизоляционные материалы», «герметики», «герметизирующие мастики на основе полимеров», «лаки и краски на основе полимерных связующих».
По результатам поиска составляется отчет, в котором излагается найденная информация о: видах (названия и марки) материалов, составляющих их компонентах, их свойствах, областях применения, перечисление фирм, производящих эти материалы, указание ориентировочных цен.
На основе собранной информации в отчете даются ответы на следующие вопросы:
1) Обосновать выбор материала для покрытия полов
а) в жилых помещениях
б) в общественных зданиях (библиотеки, магазины, школы, офисы).
2) На основе изучения свойств и номенклатуры лако-красочных составов выбрать краску для:
а) внутренней окраски каменных (бетонных) стен;
б) для наружной окраски стен (фасадов);
в) окраски металлических и деревянных поверхностей.
3) Обоснуйте выбор материалов, применяемых для теплоизоляции:
а) чердачных перекрытий здания;
б) трубопроводов инженерных сетей;
в) заделки и уплотнения оконных и дверных коробок, стыков стеновых панелей.
При принятии решений о выборе материалов необходимо руководствоваться критерием экономичности, определяемой соотношения цены и качества материала. Так при выборе материала покрытия для полов, особенно для жилых помещений, параметрами качества будут являться такие свойства как экологическая чистота, износостойкость, влагостойкость, декоративные свойства, определяющие в конечном итоге срок службы покрытия.
При выборе лакокрасочных составов важными свойствами являются стойкость красочного покрытия к воздействию света, воды, атмосферостойкость, адгезия к окрашиваемым поверхностям. При рассмотрении состава красок необходимо указать на основе каких полимерных связующих, пигментов они получены, какие растворители используются при работе с ними.
Решения о выборе теплоизоляционных материалов принимаются на основе показателя теплопроводности, другими важными факторами являются водопоглощение, гигроскопичность и механическая прочность, а также технологичность выполнения теплоизоляции.
Требования к отчету .
Объем отчета до 20 машинописных страниц (шрифт 14, Times, интервал -1). При составлении отчета даются ссылки по тексту на адреса используемых Интернет-сайтов и других литературных источников (не менее 15). Недопустимы в отчете рекламные слоганы и целые скопированные Web-страницы.
Лабораторная работа №8
ИСПЫТАНИЕ ДРЕВЕСИНЫ НА МЕХАНИЧЕСКУЮ
ПРОЧНОСТЬ
Цель работы:
- ознакомление с образцами древесины различных пород, изучение их макроструктуры;
- исследование влияния влажности древесины на ее прочностные характеристики
Приборы и оборудование
- сушильный шкаф;
- гидравлический пресс;
- штангенциркуль.
Изготовление образцов
Из 6 кряжей длиной 2.8 м выпиливают сердцевинную доску толщиной 4, 8 или 12 см, ее распиливают параллельно сбегу на бруски толщиной 35 мм и высушивают до влажности 12+ 3 % , а затем распиливают на образцы
8.1. Определение предела прочности при сжатии вдоль волокон
Образцы в виде призм с размерами 2x2x3 см измеряют в плоскости поперечного сечения и испытывают на сжатие при 20±2 °С, подавая нагрузку со скоростью 2500-5000 Н/мин. до разрушения.
Предел прочности при сжатии вдоль волокон для образцов влажностью меньше 30% (предел гигроскопичности) пересчитывается на стандартную влажность R12 с применением поправочного коэффициента равного 0,04 на 1% влажности, для образцов с влажностью равной или больше предела гигроскопичности R12 =Rw/α и значение пересчетного коэффициента α принимается равным 0,4 – 0,55.
Таблица 8.1.
Результаты испытания образцов древесины
| Показатели |
Породы древесины |
||
| 1. Размеры поперечного сечения |
|||
| 2. Площадь поперечного сечения S, см² |
|||
| 3. Максимальная нагрузка P, H |
|||
| 4. Предел прочности при сжатии Rw, МПа (для образцов с влажностью W) |
|||
| 5. Влажность образца при испытании W. % |
|||
| 6. Пересчётный коэффициент на влажность α |
|||
| 7. Предел прочности при сжатии вдоль волокон при 12 % влажности, МПа R12 =Rw [1+α(W-12)] |
|||
| Средняя прочность пород, МПа |
|||
8.2. Определение предела прочности при статическом изгибе
Испытание прочности на изгиб проводят при температуре 20+ 2 ºС по общепринятой схеме испытания на изгиб. Размеры b и h (приблизительно равные по 2 см) образца замеряют с точностью до 0,1 мм, расстояние между опорами устанавливается равным 24 см, нагрузка Р прикладывается по середине.
При этом Rw определяют по формуле
(10)
Рекомендуемая литература
1. Вершогорова В.Н., Макридин Н.И. Современные методы исследования свойств строительных материалов.- М: АСВ, 2003.
2. Киреева Ю.И., Лазаренко О.В. Строительные материалы и изделия. – Мн: «Дизайн – ПРО», 2001.
3. Микульский В.Г., Куприянов В.Н. и др. Строительные материалы./ Под ред. Микульского В.Г., М.: Изд-во АСВ, 2000.
4. Попов С.Н., Каддо М.А. Материаловедение.- М., 2002.