| Скачать .docx |
Реферат: Основы научной деятельности
Контрольная работа студента группы МО-04 1/з.у (т) 054260 Кобзева Р.А.
Донбасская государственная машиностроительная академия
Г. Енакиево
1. Основные понятия о технической системы
1.1. Определение технической системы
Техническая система – это искусственно созданные объекты, предназначенные для удовлетворения определенной потребности, которым присущи возможность выполнения не менее одной функции, многоэлементность, иерархичность строения, множественность связей между элементами, многократность изменения состояний и многообразие потребительских качеств. К техническим системам относятся отдельные машины, аппараты, приборы, сооружения, ручные орудия, их элементы в виде узлов, блоков, агрегатов и др. сборочных единиц, а также сложные комплексы взаимосвязанных машин, аппаратов, сооружений и т.п.
Техническая система относятся к самому большому классу технических объектов. Техническая система существует в трех модусах (проявлениях): 1) как изделие производства; 2) как устройство, потенциально готовое совершить полезный эффект; 3) как процесс взаимодействия с компонентами окружающей среды (источником внешней энергии, потребителем и т.д.), в результате которого и происходит эксплуатация (функционирование) технической системы и образуется полезный эффект. 1-й модус раскрывается в предметной декомпозиции технической системы, в выявлении всех ее неделимых, условно монолитных деталей и сборочных единиц; 2-й - в функциональной декомпозиции, в выявлении одно- и многофункциональных элементов; 3-е, рабочее состояние технической системы раскрывается в генерируемых процессах (сменах состояний) и рабочих циклах, включающих взаимосвязанные процессы. Ни один из функциональных элементов не может быть воспроизведен непосредственно, а существует благодаря деталям и сборочным единицам, которые по отношению к ним выступают в качестве предметов-носителей. Устройства, непосредственно участвующие в создании полезного эффекта технической системы, ответственны за степень совершенства рабочего процесса и ресурс работы. Для обеспечения ресурса часто используются спец. элементы, демпфирующие колебания, устройства охлаждения, разъемы, причем последние, повышая технологичность конструкции технической системы, требуют устройства крепления деталей, состояние которого во время эксплуатации технической системы сказывается на ее надежности.
При всем разнообразии технической системы смысловая нагрузка любого функционального элемента состоит в том, чтобы изменять или сохранять движение связанного с элементом объекта; изменять пространственные характеристики и время существования технической системы, а также изменять энергию как меру той или иной формы движения. Строение технической системы и параметры среды, с которой она взаимодействует, предопределяют все параметры и показатели функционирования технической системы, проявления ее состояния, характеристики и качества.
Функционирование технической системы раскрывается через средства (процессы) достижения полезного эффекта и управления этими процессами. Создание полезного эффекта обусловлено составом и порядком действия основных функциональных элементов, от которых зависит рабочий цикл технической системы; на фактический результат влияют затраты энергии от внешнего источника и свойства др. компонентов среды. Под управлением происходящими в технической системе процессами подразумевается преднамеренное изменение или сохранение характера и интенсивности с компонентами среды и поддержание параметров внешнего состояния всех элементов технической системы в пределах, обеспечивающих безопасность людей и сохранение материальных ценностей. При полном раскрытии характеристик технической системы речь идет как о связях между входными и выходными параметрами функционирования (напр., связь тяги и расхода топлива авиационного двигателя и условий полета самолета), так и о показателях, позволяющих отличить анализируемую техническую систему от других, о признаках принадлежности технической системы к определенному типу как категории, объединяющей технической системой одного назначения с одинаковым принципом действия, и о признаках отличий в строении. Об уровне технической системы свидетельствуют максимально достижимые значения ее потребительских качеств (выходных параметров).
1.2. Этапы развития технической системы
Объективные законы, отражающие существенные и повторяющиеся особенности развития технических систем имеют статистическую природу и выявляются путем анализа истории техники и патентных фондов. Развитие технической системы описывает конкретную тенденцию развития и показывает, как ее использовать при прогнозировании развития, создании новых и совершенствовании имеющихся технических систем. Все технические системы раскрываются через закономерности меньшей степени общности (линии развития тех. систем), конкретные приемы развития и образуют единую систему, отражающую реальное развитие тех. систем. В теории решения изобретательских задач сформулирован ряд основных требований к техническим системам, которые должны: выявляться и подтверждаться на достаточно больших и достоверных информационных фондах, базирующихся на фактах, существенных для развития (изобретениях высокого уровня); согласовываться друг с другом, позволять построить непротиворечивую систему (допустимы непринципиальные противоречия между выводами, следующими из разных законов, связанные с неполнотой наших знаний о технических системах; быть инструментальными, т.е. помогать целенаправленно находить решения конкретных проблем, прогнозировать развитие, строить инструментарий поиска нового и т.п.; допускать практическую проверку по материалам, базирующимся на истории техники и др. информационных фондах; быть "открытыми", т.е. допускать дальнейшее развитие и совершенствование. Выявлены следующие законы технической системы: 1) закон противоречии в развитии, описывающий возникновение, обострение и разрешение противоречий в процессе развития тех. системы; 2) закон повышения степени идеальности, описывающий развитие тех. системы как повышение степени ее идеальности, т.е. рост отношения суммы выполняемых системой полезных функций к сумме факторов расплаты за выполнение этих функций - материальных и энергетических затрат; 3) закон перехода на микроуровень и к использованию полей, описывающий тенденцию все большего использования глубинных уровней строения материи и различных полей при развитии тех. систем; 4) закон повышения динамичности и управляемости, описывающий повышение в процессе развития тех. системы их способности к целенаправленным изменениям, обеспечивающим возможность их адаптации к меняющимся требованиям к тех. системе со стороны человека, других систем, внешней среды и т.п., переход систем к самоуправлению и самоорганизации; 5) закон повышения полноты тех. системы, описывающий тенденцию ко все более полному выполнению тех. системой, ранее выполнявшихся другими техническими системами, внешней средой или человеком, сопровождающуюся поэтапным вытеснением человека из функционирования тех. системы как исполнителя и все возрастающим втягиванием его в функционирование как потребителя; 6) закон развертывания - свертывания, описывающий повышение идеальности тех. системы; 7) закон согласования - рассогласования, описывающий развитие тех. системы с позиций, включающих: последовательное согласование тех. системы с др. системами, обеспечивающее наилучшее прохождение необходимых потоков энергии, вещества, информации; рассогласование, обеспечивающее уменьшение и прекращение прохождения ненужных потоков; сдвиг согласования, обеспечивающий отбор части полезного или вредного потока для выполнения дополнительных полезных функций; динамическое согласование - рассогласование, при котором параметры системы изменяются управляемо, обеспечивая регулирование потока так, чтобы параметры тех. системы принимали оптимальные значения в зависимости от условий работы; 8) закон этапного развития, описывающий типовую последовательность развития тех. системы и графики изменения главных эксплуатационных характеристик в зависимости от "возраста" системы, представляющие собой логистические (S-образные) кривые, имеющие три четко выраженных участка: период медленного начального роста; быстрый лавинообразный рост; резкое замедление роста, стабилизация, а иногда и падение. Каждый из законов раскрывается через линии развития, показывающие направления развития.
1.3. Критерии оценки технической системы
Основные показатели, которые на протяжении длительного исторического времени в процессе смены моделей и поколений технической системы имеют тенденцию к монотонному улучшению. Технические критерии осознаются как мера совершенства и прогрессивности и оказывают сильное влияние на развитие данного класса технических систем и техники в целом. Технические критерии делятся на четыре класса: функциональные критерии технических систем - количественная характеристика основных показателей реализации изделия. Список технических критериев обычно включает критерии производительности (скорость движения и обработки, степень механизации и автоматизации труда, непрерывность процесса обработки), критерии точности (точность обработки, измерения, попадания в цель), критерии надежности (безотказность, долговечность, ремонтопригодность); технологические критерии - показатели экономии живого труда при изготовлении изделия и подготовке его к эксплуатации. Список технических систем обычно включает критерии: трудоемкости изготовления, стандартизации и унификации, использования материалов, расчленения тех. системы на элементы и др. Технические критерии определяют экономию живого труда в жизненном цикле изделия; экономические критерии техники - показатели экономической эффективности технических систем, к которым относятся: критерий расхода материалов, равный отношению массы изделия к его главному показателю эффективности; критерий расхода энергии, одним из частных случаев которого является коэффициент полезного действия: критерий затрат на информационное обеспечение, определяемый как отношение затрат на подготовку и обработку информации к главному показателю эффективности изделия; критерий габаритных размеров, т.е. отношение произведения габаритных размеров изделия к его главному функциональному критерию эффективности изделия; антропологические критерии техники - показатели соответствия и приспособления технических систем, к человеку, снижения дискомфорта и повышения положительных эмоций, уменьшения или исключения вредных и опасных воздействий техники на человека. Список критерий обычно включает критерии эргономичности, красоты, безопасности, экологичности. антропологические критерии оказывают сильное возрастающее влияние на прогрессивную эволюцию техники. Это влияние будет возрастать в связи с формированием гармоничной ноосферы как в отдельных странах, регионах и городах, так и в мире в целом.
Для конкретного класса систем список критериев эффективности может совпадать со списком потребительских качеств (основные критерии и показатели технической системы, которые играют решающую роль при выборе нужного изделия покупателем или пользователем из нескольких альтернативных изделий с одинаковыми или близкими функциями) или быть шире направленны, включать технологические критерии. Выбор критериев для конкретного класса тех. систем должен удовлетворять следующим условиям: условие измеримости, обеспечивающее количественную оценку критерия; условие сопоставимости, позволяющее сопоставлять тех. системы разных времен и стран, для чего наиболее приемлемы безразмерные и удельные значения критерия; условие постоянного существования критерия на протяжении всей истории развития тех. системы.
2. Функциональный физический анализ конкретной технической системы
2.1 Назначение технической системы, ее основная функция
Мясорубка - кухонная универсальная машина – приспособление, что служит для режуще-механической обработки продуктов. Мясорубка чрезвычайно удобна для приготовления самого широкого спектра блюд и активно применяется как в домашних условиях, так и в системе общественного питания.
Отличительная черта ручной мясорубки в том, что она крепится к доске стола. Действие мясорубки запускается путём механического вращения специальной ручки. Иногда к ручной мясорубке присоединяются жерновая кофейная мельница, шинковка, сбивалки. В отличии от электрической, ручная мясорубка более неприхотлива и мобильна в использовании.
Потребность в данной технической системе – это краткое описание назначения технической системы и цель ее создания
П = (D
G),
где D – действие системы
G – предмет обработки
Потребность в данной системе
| ТС | D | G |
| Мясорубка | Рубка, измельчение, рез | Мясо, продукты |
Основная функция мясорубки, как ее и назначение, является рубания (рез) мяса.
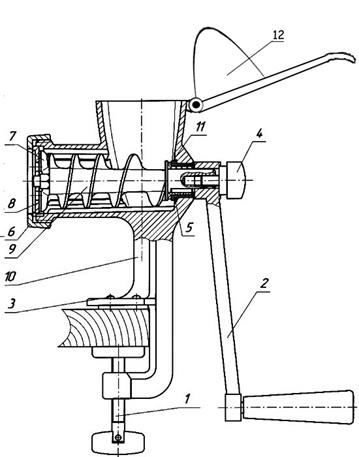
2.2 Конструктивная схема (эскиз) технической системы. Описания,назначения.

Рис. 1 (а). Мясорубка
Устройство мясорубки
| № позиции | Элемент |
| 1 | Винт |
| 2 | Рукоятка |
| 3 | Опора |
| 4 | Винт |
| 5 | Втулка |
| 6 | Гайка нажимная |
| 7 | Нож |
| 8 | Решётка |
| 9 | Шнек |
| 10 | Корпус |
| 11 | Втулка шнека |
Мясорубка состоит из следующих элементов:
Винт 1, который с помощью опоры 3 крепится к столу; рукоятки 2, закрепленной с помощью винта 4 со шнеком 9; последний вращается в тулке 5 и втулке шнека 11; на конце шнека 9 закреплены нож 7 и решетка 8, которые в свою очередь в месте со шнеком 9 фиксируются нажимной гайкой 6.
2.3 Разделение технической системы
Обозначение элемента на эскизе |
Наименование элемента |
| Е0 | Нож |
| Е1 | Шнек |
| Е2 | Втулка шнека |
| Е3 | Втулка |
| E4 | Решетка |
| E5 | Гайка нажимная |
| E6 | Ручка |
| E7 | Винт |
| E8 | Опора |
| E9 | Винт |
| E10 | Корпус |
Главным элементом технической системы является – нож. Его функция, как и функция всей технической системы состоит в том, чтобы измельчать мясо, продукты.
С помощью вращения ручки 2 (рис 1 (б)), крутящий момент с помощью винта 4 и втулки шнека 11 и 5 передается на шнек 9, который в свою очередь создает продвижение продуктов, мяса, по корпусу 10 мясорубки. На шнеке зафиксирован нож 7, последний режет, рубит, измельчает мясо и выдавливает его через решетку 8 которая закреплена прижимной гайкой 6. Корпус 10 крепится за счет опоры 3 и винта 1.

Рис 1. (б). Мясорубка
2.4 Описания функций выполняемых каждым элементом, составление таблицы функций.
Таблица функций согласно эскизу (рис. 1 (б))
| Элемент | Функция | ||
| Обозна-чение | Наименование | Обозна-чение | Наименование |
| E0 | Нож | Ф0 | предназначен для измельчения, рубки мяса и обработки других продуктов |
| E1 | Шнек | Ф1 | предназначен для проталкивания мяса и других продуктов. |
| E2 | Втулка шнека | Ф2 | предназначена для снижения сил трения возникающих при вращении шнека. |
| E3 | Втулка | Ф3 | предназначена для снижения сил трения возникающих при вращении шнека. |
| E4,V1 | Решетка | Ф4 | предназначена для выдавливания мяса и других продуктов определенной формы. |
| E5 | Гайка нажимная | Ф5 | служит фиксатором шнека, ножа и решетки. |
| E6 | Ручка | Ф6 | предназначена для вращения шнека, ножа. |
| E7 | Винт | Ф7 | является креплением рукоятки со шнеком. |
| E8 | Опора | Ф8 | служит для жесткого крепления мясорубки. |
| E9 | Винт | Ф9 | предназначен для крепления (к столу, доске и д.р.) а также удержания мясорубки. |
| E10,V2 | Корпус | Ф10 | является несущим элементом всей мясорубки. |
V1 – решетка V2 - корпус
2.5 Определение объектов окружающей среды
Объекты окружающей среды для главных элементов, как правило, совпадают с объектами, на которые направлено действие технической системы, так и в данном случае объектом окружающей среды для мясорубки является рука человека и продукты питания подлежащие измельчению.
2.6 Построение конструктивной функциональной структуры

Совершенствование конкретной технической системы, методом технического творчества
Основные недостатки существующей системы
Основным недостатком ручной мясорубки является использование ручного труда человека, что приводит к быстрому уставанию руки человека и производству мясорубки.
Совершенствование технической системы методом технического творчества.
Так как в ручной мясорубки используется ручной труд человека, то работа ее зависит непосредственно от человеческого труда. Т.е. вращение шнека и проталкивание мяса, продуктов и т.д. осуществляет человек. Предлагаю установить на мясорубку прижимной механизм (крышку). Такая модернизация облегчит работу человека, соответственно сократит время потраченное на перемалывание мяса и обработку его.
Данная техническая система может модернизироваться в верхней части корпуса мясорубки, путем установления прижимного механизма (крышки). Это позволит нам сократить время для обработки мяса и продуктов и соответственно облегчить труд человека.
Построение конструктивной структуры
Данная техническая система (рис 2) состоит из: Винта 1,который с помощью опоры 2 крепится к столу, рукоятки 2, закрепленной с помощью винта 4 со шнеком 9,последний вращается во втулке 5 и шнека 11, на конце шнека закреплены нож 7 и решетка 8, которые в свою очередь вращаются и затянуты нажимной гайкой 6. Нажимной механизм (крышка) 12 закреплен в верхней части мясорубки и способствует прижиму (придавливанию) мяса, продуктов и т.д.

Рис. 2
Список литературы
А.И. Половинкин Основы инженерного творчества: учебное пособие для студентов вузов. – М. – Маштностроение,1988. -368 с