| Скачать .docx |
Реферат: Измерение магнитострикции ферромагнетика
Удмуртский Государственный Университет
КафедраФизики Твердого Тела
Лабораторная работа № 4
Измерение магнитострикции ферромагнетика
с помощью тензодатчика
г. Ижевск
Бреган Андрейгр.18-31 1998 год.
Цель работы : определение продольной магнитострикции никеля в зависимости от амплитуды напряженности магнитного поля.
Теория.
§ 1 Введение
Данная работа посвящена изучению поведедения ферромагнетиков в магнитном поле.
Хотя магнитное взаимодействие является малой поправкой к электрическим обменным силам, обусловливаю щим самопроизвольную намагниченность, тем не менее, они играют решающую роль во всем сложном комплексе явлений технического намагничивания. Поэтому выяснение физической природы магнитного взаимодействия в ферромагнетиках имеет не только теоретическое значение, но необходимо и для ясного понимания механизма тех физических процессов, которые обусловливают всю практическую ценность явления ферромагнетизма.
Напомним, что ферромагнетиками называются вещества, в которых магнитные моменты ориентированы вдоль выделенного направления.
Монокристаллы ферромагнетиков анизотропны в магнитном отношении. В качестве примера магнитокристаллической анизотропии на рис.1 приведены кривые намагн ичивания I ( Н) монокристалла кобальта, снятые вдоль гексагональной оси (ось с) и перпен дикулярно к ней (ось а). Как видно из рисунка, если магнитноеполе H || c , то достаточно приложить поле в несколько сот эрстед для того, чтобы намагнитить кристалл до насыщения. При Н ^с насыщение достигается только при Н » 104 Э.
Наиболее резко магнитная анизотропия, проявляется в кристаллах гексагональной симмет рии (Со,Tb, Dy). Из анализа кривых I ( Н), снятых по различным кри ста ллографи че ским на правлениям, следует, что в ферромагнитных монокристаллах существуют направления, называемые “осями легкого намагничивания” (ОЛН), и нап равления, называемые “осями трудного намагничивания” (ОТН).
Известно, что минимум свободной энергии магнитокристаллической анизотропии достигается, когда намагниченность ориентирована вдоль ОЛН. Для поворотаI s из этих направлений требуется затратаопределенной работы, которая приводит к ростуэнергии магнитной или магнитокристаллической анизотропии.Энергией магнитокристаллической анизотропии называют ту часть энерги и кристалла, которая зависит от ориентации вектора намагниченности относительно кристаллографических осей.

Рис.1. Кривые намагничивания I ( Н) монокристалла кобальта, снятые
вдоль гексагональной оси (ось с) и перпендикулярно к ней (ось а).
В случае кобальта эта энергия минимальна, если намагниченность направлена вдоль оси с (при комнатной температуре). При вращении намагниченностиI s от оси с энергия анизотропии увеличивается с увеличением угла J между осью c и направлениемI s , достигает максимума при J =90° , т. е. приI s ^с , и затем уменьшается до первоначального значения при J =180° .
§ 2. Спонтанная магнитострикция и ее вклад в магнитную анизотропию
При возможных изменениях ориентации самопроизвольной намагниченности в кристалле изменяются равновесные расстояния между узлами
решетки. Поэтому возникают самопроизвольные магнитострикционные
деформации. т.е.
Опр. При перемагничивании ферромагнетика имеет место магнитное взаимодействие элекектронов, которое влияет на межатомное расстояние, вызывая деформацию кристаллической решетки, что сопровождается изменением линейных размеров тела и появлением соответствующей магнитоупругой энергии. Это явление называется магнитострикцией.
В частном случае кубическ ог о кристалла в отсутствие внешних напряжений свободная энергия магнитного и упругого взаимодействия (с точностью до шестых степеней в направляющих косинусах вектораIs и вторых степеней тензора магнитострикционных напряжений), равна сумме энергии магнитокристаллической анизот ропии f a , упругой энергииf упр и магнито упругой энергии f му :
f a ( a i ,ei j )= f a ( a i ,ei j )+ f упр. ( a i ,ei j )+ f му. ( a i ,ei j ) (1)
1) Можно феноменологическим путем получить выражение плотностиf a энергии магнитной анизотропии, раскладывая эту энергию в ряд по степеням направляющих косинусов вектора намагниченностиai относительно осей симметрии кристалла. Сначаланайдем выражение f a для кобальта, имеющего гексагональную решетку с ОЛН -с, для которого ai = a = cos (I s , с) = cosJ. Длягексагональной решетки, обладающей центром симметрии, операция замены a на - a должна оставлять энергию инвариантнойотносительно такого преобразования симметрии. Следовательно,в разложении останутся только члены с четными степенями а,т. е.
fa =K1 ¢ a 2 + K2 ¢ a 4 + ...... (2)
гдеK1 ¢ a 2 и K2 ¢ a 4 и т. д. - параметры магнитной анизотропии; fa чащезаписывают в следующем виде:
fa =K1 sin2 J+ K2 sin4 J+..., (3)
где K1 и K2 называют 1-й и 2-й константами магнитной анизотропии.Энергия анизотропии кристаллов гексагональной системы вобщем случае должна зависеть от азимута j. Ноэта зависимость является очень слабой, и ею обычно пренебрегают.Для кубических кристаллов, таких какFe, Ni, энергия анизотропии выражается в функции направляющих косинусов( a1 , a2 , a3 ) намагниченностиI s относительно трех ребер куба:
(a1 =cos(Is , [100]); a 2 =cos(Is , [010]); a 3 =соs(Is , [001]). (4)
Энергия анизотропии должна быть такой функциейa 1 , a2 ,a3 ,которая оставалась бы инвариантной при преобразованиях симметрии кубического кристалла.
В кубическом кристалле плоскости типа [100] являются плоскостями симметрии. Зеркальное отражение вектора Is
в такойплоскости должно оставлять функциюf
a
(
a1
,a2
,a3
) инвариантной
. Отражение, например, в плоскости (100) заменяетa1
на -
a1
,оставляя a2
и a3
неизменными. Аналогично зеркальное отражение в плоскостях (010) и (001) изменяет знаки соответственно у a2
и a3
. Следовательно, функцияf
a
(
a1
,
a2
,a3
) должна быть инва
риантной
относительно преобразований
ai ® -ai (i = 1,2,3) (5)
Кубический кристалл имеет также плоскости симметрии типа{110}. Отражение в этих плоскостях соответствует преобразованиям
ai ® -aj (i ¹ j = 1,2,3) (6)
Первым членом разложения энергии анизотропии кубическогокристалла по степенямa
1
, a2
, a3
,удовлетворяющим требованиямсимметрии (5,6), являетсяa2
1
+
a2
2
+
a2
3
, но этот член разложения всегда равен единице и, следовательно, не описывает эффектаанизотропии.
Следующий член (четвертого порядка относительно a
i
),
a4
1
+
a4
2
+
a4
3
может быть приведен к виду
a4 1 + a4 2 + a4 3 = 1- 2(a2 1 a2 2 + a2 2 a2 3 + a2 1 a2 3 ) ( 7)
так как ( a2 1 + a2 2 + a2 3 )2 = 1. Далее, член шестого порядка приводится к виду
a6 1 + a6 2 + a6 3 = 1- 3(a2 1 a2 2 + a2 2 a2 3 + a2 1 a2 3 )+3a2 1 a2 2 a2 3 ( 8)
так как (a2 1 + a2 2 + a2 3 )3 = 1.
Энергия анизотропии на единицу объема кубического крис талла с точностью до членов шестого порядка относительно ai представляется в виде линейной комбинации
f a =K1 (a2 1 a2 2 + a2 2 a2 3 + a2 1 a2 3 )+K2 a2 1 a2 2 a2 3 (9)
Часто членом K2 a2 1 a2 2 a2 3 , который обычно меньше первого члена в (9), пренебрегают. Тогда:
f a =K1 (a2 1 a2 2 + a2 2 a2 3 + a2 1 a2 3 ) (10)
Знаки константанизотроп ии K1 и K2 и их относительная величина определяютто кристаллографи ческое направление, которое в данном кристалле будет “легким”.
Если К
1
>0,
то первый член в (9) минимален при направлении намагниченности вдоль осей [100],
[010],
[001],
которые в этом
случае являются осями легкого намагничивания.
ЕслиК
1
<0, то осями легкого намагничивания являются оси[111],
[I11],
[
1I1],
[11I],
так как первый член в энергии анизотропии (9) минимален, когда намагниченность расположена вдольэтих осей.
Если учитывать и второй член в (9), то направление диагональной оси [100] в тех случаях, когда К 1 отрицательна и меньше по абсолютной величине, чем К 2 , также может быть направлением легкого намагничивания.
В заключение отметим, что в ряде случаев удобнееf a раскладывать в ряд по сферическим функциямYm l ( J , j ) где J - полярный угол, j - азимут вектора намагниченности по отношению к выбранной оси симмет рии. Тогда
f a = SS c m l U m l ( J , j ) , (11)
где c m l - параметры, аналогичные константам анизотропии . Разложение (11) справедливо длякристаллов любой симметрии (тип симметрии определяют величиныc m l , т. е. какие из этих коэффициентов обращаются в нуль).
2) f упр. ( ei j ) = ½ [C11 (e2 xx + e2 yy + e2 zz ) ] + ½ [C44 (e2 xy + e2 yz + e2 xz ) ]+
+ C12 (exx eyy + eyy ezz + exx ezz ) (12)
3) f му . ( a i ,ei j ) = B1 [( a 2 1 – 1/3)exx +( a 2 2 – 1/3)eyy +( a 2 3 – 1/3)ezz ]+
B2 [a 1 a 2 exy + a 2 a 3 eyz + a 1 a 3 exz ] , (13)
где, a i – направляющие косинусы вектора спонтанной намагниченности,ei j - компоненты тензора деформации кристалла, В1 , В2 – константы магнитоупругой энергии, С11 , С44 , С14 – модули упругости.
Устойчивому равновесному состоянию деформированного кристалла с определенным направлением намагниченности (ai = const) соответствует минимум свободной энергии. Чтобы определитькомпоненты тензора деформации при отсутствии внешних напряжений, характеризующие спонтанную магнитострикционную деформацию или спонтаннуюмагнитострикцию, следует найти компонентыe(0) i j , соответствующие минимумуf .
Минимизируя выражения для плотности энергии f относительноe i j , получим
∂f /∂exx = B1 ( a 2 1 – 1/3)+C11 e(0) xx + C12 (e(0) yy +e(0) zz )=0 ,
∂f /∂eyy = B1 ( a 2 2 – 1/3)+C11 e(0) yy + C12 (e(0) zz +e(0) xx )=0 , (14)
∂f /∂ezz = B1 ( a 2 3 – 1/3)+C11 e(0) zz + C12 (e(0) xx +e(0) yy )=0 ,
∂f /∂ezy = B2 a 1 a 2 + C44 e(0) xy =0,
∂f /∂eyz = B2 a 2 a 3 + C44 e(0) yz =0, (15)
∂f /∂exz = B2 a1 a3 + C44 e(0) xz =0,
Склады вая три уравнения (14), найдем: (∆V/V)0 = e(0) xx + e(0) yy + e(0) zz ,
т.е. в этом приближении изменение объема кристалла (∆V/V)0 при спонтанной магнитострикционной деформации равно нулю. Из (14) и (15) получим компоненты тензора этой деформации
e(0) i i = - [B1 /(C11 -C12 ) ] [a2 i – 1/3 ], e(0) i j = -(B2 /C44 ) a i a j ; i , j = x, y, z.
(16)
Знаяe(0) i j легко найти удлинение кристалла δl/l при спонтанной магнитострикционной деформации в любом направлении, определяемом направляющими косинусами β1 , β2 , β3 :
( δl/l)0 = e(0) xx β2 1 + e(0) yy β2 2 + e(0) zz β2 3 + e(0) xy β1 β2 + e(0) yz β2 β3 + e(0) zx β3 β1 =
= - [B1 /(C11 -C12 ) ] [a2 1 β2 1 +a2 2 β2 2 +a2 3 β2 3 - 1/3] –
– (B2 /C44 )( a1 a2 β1 β2 + a2 a3 β2 β3 + a3 a1 β3 β1 ) (17)
Найдем δl/l для кристаллографических направлений [1 00] и [III]. Если кристалл намагничен вдоль направления [100], то, полагаяв (17)
a 1 = β1 = 1, a2 = a3 = β2 =β3 =0, получим
( δl/l)[100] = λ100 = - 2/ 3 [B1 /(C11 -C12 ) ]. (18)
Аналогично для направления [111] будем иметь
( δl/l)[111] = λ111 = - 1/ 3 (B2 /C44 ) , (19)
где λ100
и λ111
носят название констант магнитострикции
.
Подставляя
в (18,19),Выражения для констант магнитоупругой энергии:
B1 =N(∂g1 /∂r)r0 , B2 = 2Ng1 , (20)
где - N
число атомов в единице объема. Можно выразить магнитострикционные
константы λ100
и λ111
для различных типов кубических решеток через коэффициентыg1
в выражении для энергии пары атомов:
1- простая кубическая:
λ100 = -2/3 [N/(C11 – C12 ) ][∂g1 /∂r ]r0 ;
λ111 = - 4/3(N/C44 )g1
2- объемно- центрированная:
λ100 = -16/9 [N/(C11 – C12 ) ]g1 ; (21)
λ111 = - 16/27 [g1 +(∂g1 /∂r)r0 ]
3 – гранецентрированная:
λ100 = -1/3 [N/(C11 – C12 ) ][6g1 – (∂g1 /∂r)r0 ];
λ111 = - 2/3 [N/C44 ] [2g1 +(∂g1 /∂r) r0 ]
Принимая во внимание (16), магнитоупругую (13) и упругую(12) энергии при спонтанной деформации можно записать в виде:
f(0) му. = [B2 1 /(C11 – C12 )] ∑ ( a2 i -1/3)2 - B2 2 /C44 ∑ a2 i a2 j , (i , j=1,2,3)
f(0) упр. = ½ C11 [B2 1 /(C11 – C12 )2 ] ∑ ( a2 i -1/3)2 + ½ C44 B2 2 ∑ a2 i a2 j +
+C12 [B2 1 /(C11 – C12 )2 ] ∑ ( a2 i -1/3)( a2 j -1/3), (i , j=1,2,3)
или, учитывая соотношения
1) ∑a2 i =1 (i =1,2,3) ;
2) ∑a4 i =1 –2 ∑a2 i a2 j (i , j=1,2,3) ;
3) ∑ ( a2 i -1/3)2 = 2/3 – 2 ∑ a2 i a2 j (i , j=1,2,3, i>j) ;
4) ∑ ( a2 i -1/3)( a2 j -1/3) = ∑ a2 i a2 j – 1/3 (i , j=1,2,3, i>j) ;
f(0) му. = – [B2 1 /(C11 – C12 )][ 2/3 – 2 ∑ a2 i a2 j ] - B2 2 /C44 ∑ a2 i a2 j ,
(i , j=1,2,3, i>j) (22)
f(0) упр. = ½ C11 [B2 1 /(C11 – C12 )2 ] [ 2/3 – 2 ∑ a2 i a2 j ]+ ½ C44 B2 2 ∑ a2 i a2 j +
+C12 [B2 1 /(C11 – C12 )2 ] ∑ a2 i a2 j – 1/3 ,
(i , j=1,2,3,i>j) (23)
Подставляя (21) и (23) в (1) и учитывая (10), (18) и (19), получим следующее выражение для плотности анизотропной части магнитной энергии кристалла при отсутствии упругих внешних напряжений:
f =(K1 +∆K1 )∑a2 i a2 j (i , j=1,2,3, i>j) (24)
где добавка ∆K1 к первой константе анизотропии, обусловленная спонтанной магнитострикционной деформацией равна
∆K1 = [2B2 1 /(C11 – C12 )] + [B2 2 /C44 ] – [C11 {B2 1 /(C11 – C12 )2 }]+
+ [ ½ C44 (B2 2 /C2 44 )]+[ C12 {B2 1 /(C11 – C12 )2 ] =
= [B2 1 /(C11 – C12 )] – ½[B2 2 /C44 ]=9/4 l 2 100 (C11 -C12 ) – 9/2 l 2 111 C44
(25)
Как видно из (24), вид зависимости плотности энергии от направляющих косинусов не изменился, но константа анизотропии благодаря спонтанной деформации решетки увеличилась.
§2. Физическая природа естественной магнитной анизотропии.
В первых работах Акулова магнитное взаимодействие в ферромагнитных кристаллах с микроскопической точки зрения трактовалось чисто классическим путем. Квантовомеханическая трактовка была дана в работах Блоха и Джентиля
. Классическую теорию температурной зависимости констант магнитной анизотропии развили Акулов и Зинер
,
исходя из представления о том, что около каждого узла решетки можно выделить области ближнего магнитного
порядка с не зависящими от температуры локальными константами анизотропии. Локальные мгновенные намагниченнос
ти этих областей из-за теплового движения рас
пределены хаотически и образуют среднюю намагниченнос
ть всего кристалла. Отсюда удается определить связь между температурным ходом констант анизотропии и намагниченности в виде
Kn (T)/Kn (0) = [I s (T)/I s (0)]n(2n+1) , (26)
где n – порядок константы. Таким образом, мы приходимкуниверсальной зависимости K1 ≈ I 3 s и K2 ≈ I 10 s . Pезультат (26) получается в приближении теории молекулярного поля . Микроскопические трактовки этой проблемы даны в работах Ван - флека и Канамори .
В основе всех расчетов по микроскопической теории магнитной анизотропии лежит учет магнитного взаимодействия между спиновыми
и орбитальными магнитными моментами электронов, принимающих участие в ферромагнетизме. В общем случае оператор магнитной энергиискладывается из трех членов.
H магн. =U1 +U2 +U3 (27)
гдеU1 — оператор, соответствующий движению электронов относительноионов решетки,— спин-орбитальная энергия;U2 — оператор магнитнойэнергии, возникающей вследствие относительного движения самих электронов, —орбитальная энергия;U3 — оператор энергии магнитноговзаимодействия спиновых магнитных моментов электронов — с пиноваяэнергия (в первом приближении имеет вид дипольного взаимодействия).
Эффект орбитального взаимодействияU1 иU2 проявляющий ся в случае изолированных атомов в образовании тонкой структуры спектральныхлиний приводит к появлению “внутренних магнитных полей” порядка105 э. С другой стороны, “эквивалентное магнитное поле” анизотропии ферромагнетиков, определяемое величиной поля, при котором достигается насыщение в монокристалле вдоль труднейших направлений намагничивания, оказ ывается порядка 102 э и лишь в редких случаях(Со, пирротин) достигает 103 —104 э. Объяснение этого несоответствия заключается в том, что в отличие от атомов, где орбитальные моменты отличныот нуля (за исключением s -состоянии ), в ферромагнитных кристаллах(например, в d-металлах и сплавах), как показывают измерения гиромагнитного эффекта, средний орбитальный магнитный момент по кристаллу почти всегда практически равен нулю. Поэтому в первом приближении эффект спин-орбитальных энергий U1 иU2 также равен нулю. Отличн ый от нуля эффект получается лишь во втором и более высоких приближениях.
Что же касается спиновой части магнитного взаимодействияU3 , которая хотя и дает отличный от нуля эффект в первом приближении, но темне менее не обеспечивает наблюдаемый на опыте порядок величины эффективных “полей” благодаря своей малости .
Несмотря на отсутствие законченной квантовой трактовки магнитного
взаимодействия в ферромагнетиках, в этой области имеются известные
успехи. Так, например, удалось объяс
нить правильный порядок величины констант магнитной анизотропии. В частности, без всяких дополнительных соображений из теории следует, что в кубических кристаллах (Fe,
Ni)
константы анизотропии должны быть меньше по абсолютнойвеличине, чем в случае гексагональных
кристаллов (Со, пирротин). Этовытекает из свойств симметрии ку
бических
кристаллов, в которых первоеприближение для дипольной
энергииU3
и второе приближение для орбитальных энергийU1
иU2
не приводит к зависимости свободной энергиикристалла от ориентации его намагниченности относительно кристаллографических осей. Для получения этой зависимости н
адо рассматриватьследующие приближения, в то время как в гексагональных решетках анизотропия получается и в первом приближении дляU3
,
и во второмдля U1
иU2
.
Остановимся несколько подробнее на микромеханизме явления естественной кристаллографической магнитной анизотропии. Поскольку
в создании самопроизвольной намагниченности ферро-
и антиферромагнетиков основную роль играю
т электронные спины, то мик
роскопическаяэнергия, ответственная за магнитную анизотропию, должна зависеть отсостояния этих спинов в кристалле, а также отражать симметрию распределения спиновой и зарядовой (орбитальной) плотности в кристалле. Наиболее простым является механизм магнитного дипольного
взаимодействия спинов.
К сожалению, однако, учет лиш ь дипольного межэлектронного взаимодействия не может, как правило, объяснить наблюдаемую на опытевеличину энергии магнитной анизотропии.
Другой из упомянутых выше механизмов заключается в связи между
спином и орбитальным движением электронов [например, описываемой
членамиU1
иU2
гамильтониана (27)].
Киттель
дает следующее наглядное объяснение физического механизма магнитной анизотропии из-за спин-орбитальной связи.
В основу своего объяснения они кладут общепризнанное положение, что, само
появление этой анизотропии обусловлено совместным действием спин-орбитальной связи, частичного замораживания орбитальных моментов неоднородными кристаллическими полями и орбитальным обменным взаимодействием соседних атомов. Таким образом, самопроизвольная намагниченность кристалла “чувствует” ионную реш
етку через орбитальное движение магнитных электронов. Спины, участвующие в намагниченности, взаимодействуют с орбитальным движением с помощью спин-орбитальной
с
вязи, а орбитальное движение связано с решеткой
полем лигандов
.
Микроскопи чес кая энергия, воз никающая благодаря этому механизму, может быть в свою очередь двух типов:
1) спин-орбитальная связь, которая зависит от спиновых состояний
двух или более ионов-носителей магнитного момента (парная
модель
магнитной анизотропии);
2) связь, зависящая от спинового состояния только отдель
ных ионов
(одноионная
модель
магнитной анизотропии).
Последний механизм оказывается наиболее близким к реальной ситуации, которая имеет место в неметаллических антиферро -
и ферримагнетиках,
в которых магнитноактивные
ионы находятся в окружении магнитно-нейтральных анионов. Под действием поля лигандов, симметрия которого определяется типом кристалла, происходит расщепление уровней магнитного иона. В результате основному состоянию в зависимос
ти от структуры кристаллической решетки будут соответствовать различные типы уровней, что приводит к магнитной анизотропии кристалла с магнитным порядком.
§ 3
.Магнитострикция
при техническом намагничи
вании
Из вестно, что в процессе технического намагничивания происходит смещение границ доменов и вращение вектораIs . Рассмотрим, как эти процессы влияют на изменение длины кристалла с положительной константой магнитной анизотропииK1 .
Пусть внешнее магнитное поле параллельно ос и [110] и в исходном состоянии объемыVi доменов, намагниченных вдоль шести направлений легкого намагничивания, равновелики: V0 100 = V0 I00 =V0 0I0 =V0 001 =V0 0I 0 =V0 00I =1/6 V, где V – объем кристалла.
а) Смещение 180° доменных границ. При этом домены, намагниченные вдоль направлений [100] и_{ 010], поглощаются доменами,намагниченными в направлениях [100] и [010]. Изменения длины при смещении 180° доменных границ не происходит.
После того как смещение этих границ заканчивается, объемы
доменов равны
V0 I00 = V0 0I0 =0
При этом средняя намагни ченн ость кристалла
I = 2/3 (2) - ½ I s
б) Смещение
90°
границ.
При этом домены, намагниченные
вдоль направлений [100] и [010],
поглощают домены, намагни
ченные в направлениях [001] и [001].
В конце этого процесса объемыдоменов равныV
100
=
V010
=
V/2,
V001
=
V00I
=
0и
средняя намагниченность кристалла
I = (2) - ½ I s
Отноносительное изменение длины,вызванное смещением 90° границ, будет при этом равно
∆l/l =1/3[(dl/l )[001] – (dl/l )[100] ]=1/3[(dl/l )[001] – (dl/l )[010] ] = (1/3)(3/4) l100 = ¼ l100
(28)
гле
(dl/l )[001] (a1 = a2 = 0, a3 = 1 ),
(dl/l )[100] (a2 = a3 = 0, a1 = 1 ),
(dl/l )[010] (a1 = a3 = 0, a2 = 1 ),
Отметим, что формула (28) определяет лишь конечное изменение длины, соответствующее намагниченности I = (2) - ½ I s , при которой заканчивается процесс смещения 90° границ при условии,что вклад в намагниченность от процессов вращения е ще пренебрежимо мал.в) Вращение. Если процессы смещения 180 и 90 границ з аканчиваются в слабых магнитных полях, при которых вклад в намагниченность от процессов вращения пренебрежимо мал, томожно считать, что при дальнейшем росте магнитного поля вращение векторов намагниченности доменов к оси [110] происходитв плоскости (001) .ПустьJ - угол между направлением намагниченности доменови полем. Тогда намагниченность вдоль поля Н равнаI =I s cos J. Относительное у длинени е вдоль оси[110] будет
(d l/l )[110] = - 1/2l100 + 3/4l100 (a2 1 +a2 2 ) + 3/2l111 a1 a2 ,
где a1 =cos(p/4-J), a2 = sin(p/4-J) , откуда
(d l/l )[110] = ¼ l100 + ¾ l111 (2cos2 J -1) » ¼ l100 + ¾ l111 (2(I/I s )2 -1).
Метод измерений и описание установки
На исследуемые в работе ферромагнитные образцы, наклеены проволочные тензодатчики, изготовленные из тонкой константановой проволоки. Константан имеет очень малый температурный коэффициент омического сопротивления и пригоден для выполнения прецизионных измерений. В результате явление магнитострикции при намагничивании образца изменяются и линейные размеры тензодатчика, что приводит к изменению его омического сопротивления. По величине изменения омического сопротивления можно судить о величине магнитострикции. Коэффициент пропорциональности изменения омического сопротивления тензодатчика называют коэффициентом тензочуствительности.
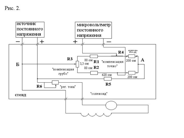
На рис.2 приведена электрическая схема установки для измерения магнитострикции. Схема собрана в виде стенда с клеммами для подключения внешних приборов, а именно: источника постоянного напряжения 10В. и микровольтметра постоянного тока. Через клеммы также подключается тензодатчик исследуемого образца и источник постоянного магнитного поля (соленоид). Измерительный проволочный тензодатчик ИТД является одним из плеч измерительного моста, во второе плечо которого включен компенсационный тензодатчик КТД, наклеенный на стальную полоску, находящуюся вне магнитного поля. Два других плеча измерительного моста образованы прецизионными резисторами R1 и R2 . Потенциометр R3 служит для грубой компенсации моста, а реоход R4 для точной компенсации. К диагонали измерительного моста через подвижный контакт реохода и клеммы x3,x4 “мкВ”
Подключается внешний микровольтметр. Резистор R5 задает ток питания датчиков. На стенде размещен также переменный резистор R6 для регулировки тока в соленоиде и, соответственно, амплитуды магнитного поля в нем. Конструктивно-технологические особенности выполнения измерений магнитострикции.
Измерение магнитострикции является прецизионным процессом, в силу малости измеряемой величены. Даже у никеля, имеющего одну из самых больших величин магнитострикции, она составляет всего 30x10-6 . Поэтому при питании тензодатчиков током порядка 5мА, разбаланс моста составляет в зависимости от величены l от 1 до 10 мкВ, что соответствует изменению сопротивления тензодатчика 10-4 -10-3 Ом. Для сравнения: величина термоЭДС контакта медь-конктантан – 30 мкВ/град С, а переходные сопротивления контактов могут достигать величин десятых долей Ома, т.е. ,по крайней мере, два мешающих фактора существенно превосходят измеряемую величину. Основные способы отстройки от мешающих факторов использованные в стенде:
-размещение контактов индуцирующих термоЭДС в соседних плечах моста для компенсации ее;
-использование скользящего контакта реохода (контакта с большим переходным сопротивлением) в высокоомной потнциалометрической цепи;
-обеспечение стабильного температурного режима за счет изготовления соленоида с большим запасом по мощности (во избежание его нагрева) и удаление его от измерительной схемы.
Перечень приборов и оснастки.
Для выполнения работы необходимы:
- стенд контроля,
- амперметр постоянного тока,
- микровольтметр постоянного тока или гальванометр,
- источник постоянного напряжения.
Порядок выполнения работы.
В качестве образцов работе используется ленты из никеля (образец №1) и лента из электротехнической стали марки 3414 толщиной 0,35 мм, вырезанной вдоль направления проката, совпадающего с направлением магнитной и кристаллографической текстуры (образец №2) и поперек направления проката, т.е. поперек направления магнитной текстуры (образец №3). Порядок выполнения измерений следующий:
1. Подготовить к измерениям рабочее место.
1.1. Подключить к клеммам “мкВ” микровольтметр постоянного напряжения к клеммам “U пит” источник постоянного напряжения, установив на нем напряжение 10 В. К клеммам “соленоид” подключить последовательно соедененные амперметр постоянного тока и соленоид. К клеммам “ИТД” подключить выводы тензодатчика, наклеенного на образце №1.
1.2. Установить переключатель пределов измерения микровольтметра в положение максимальной величине напряжения . Переключатель пределов измерения амперметра установить в положение “2А”, а ручку резистора регулировки тока соленоида в крайнее левое положение, соответствуещее минимальному току.
2. Выполнить измерения магнитострикции.
2.1. Включить в сеть микровольтметр и источник питания и дать ему прогретьсяв течении 5-10 мин.
2.2. С помощью резисторов “компенсация грубо” и реохода “компенсация точно” скомпенсировать измерительный мост – добиться минимальных показателей микровольтметра. Постепенно увеличивая чувствительность микровольтметра, довести ее до предела “100 кВ”.
2.3. Изменяя ток в соленоиде от минимального значения до 2А записать показания вольтметра, соответствуещее 5-6 точкам значений тока в соленоиде.
2.4. Выполнить измерения в том же порядке для образцов 2 и 3.
Примечания: 1. Перед заменой образца тензодатчика выключить источник напряжения, а ручки управления приборов установить в положение соответстстаующее п.1.2.
2. В случае, если не удается установить стрелку
микровольтметра на нулевое положение в процессе компенсации моста, допускается производить отсчет показаний относительно полученного (ненулевого) значения шкалы.
3. Замену образов производить при выключенном источнике питания микровольтметра.
3. Обработка результатов измерений.
3.1. Рассчитать величину магнитострикции, соответствующую показаниям микровольтметра.
3.2. По номиналам резисторов, указанным в схеме на рис.2 рассчитать ток тензодатчика.
3.3. Зная разбаланс моста в мкВ и ток через тензодатчик рассчитать разбаланс моста в Омах и определить соответствующую этому разбалансу магнитострикцию, используя соотношение:
l=∆l/l= g (∆R/R),
где ∆ R – разбаланс моста в Омах.
R = 200 Oм – сопротивление тензодатчика,
g = 2 - коэффициент тензочувствительности.
3.4. Построить зависимость g =f(H) для всех образцов (постоянная соленоида К = 100 Э/А = H/J, где Н – амплитуда магнитного поля, J – ток соленоида).
3.5. Объяснить различия в зависимостях g =f(H) для образцов из электротехнической стали, вырезанных вдоль и поперек проката.

Рис. 2. Электрическая схема установки для измерения магнитострикции.
Литература.
1. Вонсовский С.В. Магнетизм: “Наука”, 1971,
2. Ивановский В.И. Физика магнитных явлений, Издательство Московского университета, 1981
3. Г.Рейнбот. Магнитные материалы и их применение. Перевод с немецкого Л. Энергия, 1974, с. 375-380.
Контрольные вопросы.
1. Что такое магнитострикция ? Какова ее величина ? Чем явление магнитострикции отличается от пъезоэффекта ?
2. Вследствие чего возникают магнитострикционные деформации ?
3. Какова природа магнитной анизотропии?
4. Какие оси в кубическом кристалле будут ОЛН, а какие ОТН ? Почему ?
5. Какие процессы влияют на изменение длины кристалла с положительной константой магнитной анизотропииK1 ?
6. Зная плотность свободной энергии можно сосчитать всю термодинамику системы. Чему равна плотность свободной энергии деформированного кристалла, намагниченного до насыщения?
7. Как зависят константы магнитной анизотропии от вектора намагниченности в приближении молекулярного поля?
8. Вектор спонтанной намагниченности I s вращается в плоскости (100) монокристалла кубической системы, j - угол между I s и крисаллографичеким направлением [001]. Вывести выражение для магнитострикции в функции угла j в направлении [111].