| Скачать .docx |
Реферат: Литьё в кокиль
Контрольная работа №1
по дисциплине ТМТПСМ
Изложите сущность способа литья в кокиль; изобразите схемы кон-
струкций кокилей. Укажите применяемые сплавы, достоинства, недостатки
и области применения этого способа.
Кокилем называют металлическую форму, заполняемую расплавом под действием гравитационных сил.
Сущность способа заключается в применении многократно используемой литейной формы, которая формирует конфигурацию и свойства отливки. При этом способе литья либо совсем исключается применение, либо расходуется малое количество песчаных смесей лишь на изготовление разовых стержней. В связи с этим отпадает необходимость в землеприготовительных отделениях.
Модельная оснастка при литье в кокиль включает подогреваемые стержневые ящики (для изготовления сплошных или оболочковых стержней), ящики для холоднотвердеющих стержневых смесей и т.д.
Металлическая форма обладает по сравнению с песчаной значительно большими теплоемкостью, теплопроводностью, прочностью и нулевой газопроницаемостью. Материалами для кокилей служат чугуны серые СЧ20, СЧ25 и высокопрочный ВЧ42-12; низкоуглеродистые стали 10 и 20; легированные стали 15ХМЛ и др.; алюминиевые сплавы АЛ9 и АЛ11; медь.
Наибольшее распространение получили чугунные кокили. Металлические стержни изготовляют из конструкционных углеродистых (простой) и легированных (сложной формы) сталей. Кокили небольших размеров либо отливают, либо получают обработкой резанием из поковок. Рабочие полости и элементы литниковой системы в последнем случае получают электро-
физической или электрохимической обработкой. Более крупные кокили выполняют литыми. С целью стабилизации размеров и форм кокили проходят сложную термическую обработку.
По конструкции кокили бывают простыми и сложными. В зависимости от расположения плоскости разъема кокили делятся на неразъемные (вытряхные); с вертикальной, горизонтальной и сложной (комбинированной) плоскостями разъема.
Последовательность изготовления отливки в кокиле показана на рисунке 1. Она состоит из небольшого числа основных операций.
Рисунок 1.

а - очистка полуформ;
б - установка стержней;
в - заливка расплава;
г - частичное удаление металлического стержня;
д - извлечение отливки.
Этот вид литья применяется в условиях крупносерийного и массового про-
изводств. Отливки получают из чугуна, стали и цветных сплавов с толщиной сте-
нок 3...100 мм и массой от десятков граммов до сотен килограммов. В соответ-
ствии с ГОСТами точность отливок достигает 12...15-го квалитетов, а шерохова-
тость поверхности Ra
= 25...2,5 мкм. Отливки характеризуются стабильностью по
механическим свойствам и плотности.
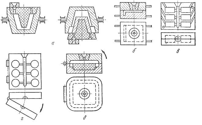
Разновидности кокилей показаны на рисунке 2.
Рисунок 2.

а - вытряхной;
б - с горизонтальной плоскостью разъема;
в - с вертикальной плоскостью разъема;
г - створчатый с вертикальной плоскостью разъема;
д - створчатый с горизонтальной плоскостью разъема.
Литье в кокиль относится к трудо- и материалосберегающим, малоопераци-
онным и малоотходным технологическим процессам. Оно улучшает условия тру-
да в литейном производстве и уменьшает воздействие на окружающую среду.
К недостаткам кокильного литья следует отнести высокую стоимость коки-
ля, трудность получения тонкостенных отливок в связи с быстрым отводом теп-
лоты от расплава металлическим кокилем, сравнительно небольшое число зали-
вок при изготовлении в нем стальных и чугунных отливок.
Список использованной литературы:
Дриц М.Е., Москалев М.А.
Технология конструкционных материалов и материаловедение: Учеб. для
вузов. - М.: Высш. шк., 1990. - 447 с.: ил.
Солнцев Ю.П., Веселов В.А., Демянцевич В.П. и др.
М.: Металлургия, 1988, 512 с.