| Скачать .docx |
Реферат: Понятие управленческого решения 2
1.
2. Понятие управленческого решения
Принятие решения – важнейший пункт теории управления и важная составная часть управленческой деятельности.
Содержание понятия "решение" по своему интерпретируется в разных областях знаний. Так, в психологии исследуются принятие решений и решение проблем. При этом принятие решений рассматривается как этап важного акта, включающего такие психические компоненты, как цели, оценки, мотивы, установки.
Общая теория принятия решений, разработанная на основе математических методов и формальной логики, используется в экономике и имеет предпосылки для широкого распространения. С позиции данной теории принятие решений - это выбор из множества наиболее предпочтительной альтернативы. Под решением же понимается:
элемент множества возможных альтернатив;
нормативный документ, регламентирующий деятельность системы управления;
устные или письменные распоряжения необходимости выполнения конкретного действия, операции, процесса;
регламентируемая последовательность действий для достижения поставленной цели;
нечто, отражающее осуществление поставленной цели (материальный объект, число, показатель и др.);
реакция на раздражитель.
Философская наука трактует решение как процесс и результат выбора цели и способа действий.
В экономической литературе понятие "решение" также неоднозначно и рассматривается как процесс, как акт выбора и как результат выбора. Решение как процесс предполагает временной интервал, в течение которого оно разрабатывается, принимается и реализуется. Решение как акт выбора включает этап принятия решений с соблюдением особых правил. Решение как результат выбора - это волевой акт, ориентированный на наличие альтернатив, сопредельных целей и мотивов поведения ЛПР[1] .
Авторы работ по менеджменту в определение понятия "управленческое решение" включают организационные, психологические аспекты, положения общей теории принятия решений. Так, управленческое решение формулируется как:
продукт управленческого труда, организационная реакция на возникшую проблему; [23]
выбор определенного курса действий из возможных вариантов; [28]
выбор предварительно осмысленной цели, средств и методов ее достижения;
выбор способа действий, гарантирующего положительный исход той или иной операции.
Представляется наиболее удачным, в комплексе учитывающем отдельные аспекты данного феномена, следующее определение.
Управленческое решение на предприятии представляет собой творческий акт субъекта управления (индивидуального или группового лица), определяющий программу деятельности коллектива по эффективному разрешению назревшей проблемы на основе знания объективных законов функционирования управляемой системы и анализа информации о ее состоянии.
Исходя из приведенного определения можно выделить ряд аспектов решения: организационный, психологический, социальный, информационный, экономический.
Организационный аспект проявляется в организации как разработки, так и выполнения управленческого решения. При этом реализуется ряд его функций, а именно направляющей, координирующей и мотивирующей, свидетельствующих о многогранности данного понятия.
Направляющая функция решений проявляется в том, что они принимаются исходя из долговременной стратегии развития
предприятия, конкретизируются в многообразных задачах. Одновременно решения являются направляющей основой для реализации общих функций управления - планирования, организации, контроля, мотивации, которые реализуются через посредство решений.
Координирующая роль решений отражается в необходимости согласования действий исполнителей для реализации решений в утвержденные сроки и соответствующего качества.
Мотивирующая функция решений реализуется через систему организационных мер (приказы, постановления, распоряжения), экономических стимулов (премии, надбавки), социальных оценок (морально-политические факторы трудовой активности:
самоутверждение личности, творческая самореализация).
3. Виды управленческих решений
2.1 Классификация УР
Реальные управленческие решения отличаются друг от друга. Классификация УР необходимадля определения общих и конкретно –специфических подходов к их разработке, реализации и оценке решений, более глубокого всестороннего анализа решений, раскрытия роли решения в процессе управления, выявления типовых решений и типовых шаблонных элементов решений с целью выработки единой методологии разработки и реализации решений. Все это позволяет повысить качество, эффективность и преемственность решений.
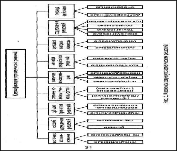
В специальной литературе авторы выделяют самые разные признаки решений. В частности, многообразие управленческих решений и особенности их разработки раскрывает классификация, приведенная на рис.5.
По источнику возникновения решения делят на инициативные, по предписанию, по предложению "снизу". В психологическом аспекте наибольшую трудность представляет ситуация разработки решения по предписанию, так как систематическое "навязывание" решений может нанести ущерб проявлению инициативы людей.
По юридическому оформлению решения могут быть в виде плана, приказа, распоряжения, инструкции; по способу фиксации они делятся на устные и письменные. Классифицируя управленческие решения по признаку юридического оформления, стоит помнить о разнице между приказом и распоряжением.
Приказ - наиболее категоричная форма решения, обязывающая подчиненных точно выполнить решение в установленные сроки. Основанием для приказа являются постановления или распоряжения правительства, решения вышестоящих органов управления, руководителей.
Распоряжение - это разновидность приказа, направленная на решение частных вопросов, исходящая не только от руководителей, но и от других лиц в пределах их компетенции.
По субъекту, принимающему решения, выделяются решения:
индивидуальные, коллективные и коллегиальные. Первые принимаются лично руководителями, вторые - коллективами предприятий и организаций, третьи - коллегиальными органами (советами, правлением и т.д.).
По степени уникальности решения делятся на рутинные и новаторские. Новаторское решение отличается спецификой в построении процесса принятия решений и в содержании отдельных его этапов.
По методам разработки различают количественные решения, включающие методы математического программирования, статистические методы; а также эвристические решения, основанные на использовании логики, интуиции, опыта, знаний ЛПР. Использование методов математического программирования позволяет по заранее заданным параметрам находить оптимальное решение.
По степени неопределенности, зависящей от количества информации, имеющейся в распоряжении ЛПР, решения подразделяют на детерминированные - принимаемые в условиях определенности, при наличии полной информации; вероятностные - принимаемые в условиях вероятностной определенности (риска); неопределенные - решения, принимаемые в условиях неопределенности, т.е. при отсутствии необходимой информации по проблеме.
Управленческие решения можно классифицировать и с позиции количества рассматриваемых целей - как одноцелевые и многоцелевые.
По степени регламентации, то есть насколько жестко установлены сроки и условия действия подчиненных, различают решения регламентирующие, ориентирующие и рекомендующие.
Регламентирующие решения полностью направляют деятельность подчиненных, исключая их самостоятельность. От подчиненных в этом случае требуется лишь безусловная исполнительность.
Ориентирующие решения однозначно определяют лишь основные моменты деятельности, в решении же второстепенных вопросов допускается проявление самостоятельности подчиненных.
Рекомендующие решения контурно обозначают возможности деятельности подчиненных, предоставляя широкий выбор конкретных путей и проявления инициативы.
По функциональному признаку (содержанию) решения бывают экономические, социальные, технические, политические, организационные.
Экономические решения связаны с повышением эффективности производства, совершенствованием деятельности предприятия.
Социальные решения направлены на улучшение условий труда и отдыха членов коллектива предприятия и др.
Технические решения принимаются для совершенствования технической политики и технологии производства, сокращения применения ручного труда и т.д.
Организационные решения направлены на улучшение организации труда работников, совершенствование нормативов, норм, внедрение НОТ.
Учитывая, что любое управленческое решение строится на предварительном прогнозировании, различаются решения по периодам действия: долговременные (перспективные) и оперативные.
Перспективные решения определяются в общих чертах, они лишь задают направления для реализации определенной цели. В торговле, например, достижение показателя повышения производительности труда, качества обслуживания и др.
Оперативные решения предусматривают меры по реализации прогнозов развития событий (конкретные виды работ, сроки их исполнения и исполнителей).
2.2. Типология решений
Все многообразие управленческих решений в зависимости от характера проблем и методов их разрешения можно условно разделить на типы (рис.6).
Так, с учетом стереотипности ситуаций и используемым методом, выделяются программируемые и непрограммируемые решения. К программируемым обычно относят стандартные и повторяющиеся решения. По данным зарубежной практики, около 90% решений принимаются по типичным ситуациям. К таким ситуациям относятся те, что связаны с закупкой товаров, формированием ассортимента, подбором кадров и др. Для их решения применяется известная модель с внесением необходимых корректировок на специфические особенности. Это делается потому, что абсолютного повторения всех нюансов ситуации практически не бывает.
К непрограммируемым относятся решения, принимаемые в новых ситуациях. Они могут носить разовый, творческий характер, во многом зависят от здравого смысла и интуиции (например, разработка новых технологий, изделий, формирование новой структуры).
Отдельные авторы выделяют четыре уровня решений в зависимости от творческого вклада менеджеров в их разработку:
рутинные, селективные, адаптационные и инновационные.
Первый уровень - рутинные решения. Они принимаются согласно отработанному механизму и имеющейся программе действий. Важно изучить особенности ситуации, соотнести ее с накопленным опытом, принять ответственность за конкретные действия. В проявлении творческого подхода нет необходимости, так как все процедуры решения известны.
Второй уровень - селективные решения. Инициатива и свобода действий на данном уровне проявляется в ограниченных пределах. Например, при оценке различных известных альтернатив и выборе из них оптимальных.
Третий уровень - адаптационные решения. Они рассчитываются на дополнительные, непредусмотренные трудности. Как правило, при их разработке сочетается использование творческого нестандартного подхода на основе новых идей с отработанными ранее возможностями. Имеет значение личная инициатива руководителя для поиска нового решения известной проблемы.
Четвертый уровень - инновационный. Решения этого уровня связаны со сложностью и непредсказуемостью событий. Это вызывает необходимость принятия неординарных решений, содержащих нововведения.
Характер проблемы лежит и в основе применения системного анализа как одного из методов обоснования решений. В связи с его использованием выделяются три типа проблем:
- хорошо структуризованные;
- слабо структуризованные;
- неструктуризованные.
Под структуризацией понимается возможность количественного выражения зависимостей между элементами ситуации. Степень формализации проблемы как признак типизации впервые предложена американскими специалистами Г.Саймоном и А.Ньюэллом.
Хорошо структуризованными считаются проблемы, в которых зависимости между элементами ситуации могут получать численные значения или символы. При решении хорошо структуризованных проблем используются количественные методы анализа: линейного, нелинейного, динамического программирования, теории массового обслуживания, теории игр, методология которых известна как "исследование операций".
Слабо структуризованными являются проблемы, как правило, сложные, отличающиеся, в первую очередь, качественными зависимостями элементов ситуации. Однако слабо структуризованные (или смешанные) проблемы содержат как качественные, так и количественные элементы при преобладающем составе первых. Это область применения системного анализа. В решении подобных проблем исключается возможность построения моделей, но не всегда. Все зависит от конкретной ситуации и приемлемости сочетания количественных и эвристических методов.
Неструктуризованные (или качественно выраженные) проблемы содержат лишь описания важнейших ресурсов, признаков и характеристик, количественные зависимости между которыми совершенно неизвестны. Решение проблем неструктуризованных производится с использованием эвристических методов, основанных на интуиции, логике, теоретических рассуждениях, опыте, профессионализме лица или коллегиального органа субъекта управления. Это наиболее многочисленный класс проблем.
В процессе структуризации проблем необходимо свести к минимуму количество неформализуемых элементов с таким расчетом, чтобы проблема приобрела более определенный характер. Решаемая проблема, независимо от ее типа, должна увязываться с целями управления предприятием, и на этой основе целесообразно формировать процедуру разрешения ситуации.
|
4. Качество УР
3.1. Свойства качественных решений
Под качеством управленческих решений понимается совокупность свойств, обеспечивающих успешное их выполнение и получение определенного эффекта. В составе свойств управленческих решений выделяются обоснованность, своевременность, эффективность, непротиворечивость, конкретность, простота, полномочность и др.
Обоснованность управленческого решения проявляется в необходимости учета всей совокупности факторов и условий, связанных с его разработкой. При этом важное место отводится качеству используемой информации, ее достоверности и полноте, своевременности поступления.
Эффективность управленческого решения подчеркивает обязательность соотношения ожидаемого и достигнутого экономического и социального эффекта с затратами на его разработку и реализацию. Соблюдение данного требования является основной предпосылкой выживания и процветания предприятия в условиях рыночной экономики.
Непротиворечивость управленческого решения выражает необходимость его предварительного согласования с ранее принятыми в данной фирме, а также проверки соответствия нормативно-правовым документам органов управления и контроля (федеральным, региональным, ведомственным).
Чтобы решение было правомочным, оно должно приниматься органом (лицом), имеющим на это соответствующие полномочия, законное основание, право.
Конкретность управленческого решения проявляется в четком указании: кто, что и когда должен выполнить.
Решение должно быть простым по форме и ясным по содержанию, чтобы быть понятным не только лицу, его принимающему, но и адресату исполнения.
С точки зрения делопроизводства, управленческое решение (приказ, распоряжение, постановление и др.) должно включать констатирующую и постановляющую части. Первая отражает суть проблемы, ее характеристики и особенности; вторая - цели решения, средства их достижения. Здесь же называются лица, ответственные за его своевременное выполнение, определяются также формы и сроки контроля, поощрения и санкции за возможные нарушения.
Важной предпосылкой качественных управленческих решений является их профессиональная разработка со знанием дела, с учетом экономической и социальной целесообразности. Грамотный анализ проблемной ситуации, правильная постановка цели и задач, подготовка альтернатив и выбор оптимального варианта согласно установленным критериям - необходимые составляющие качества и эффективности управленческих решений.
Однако в каждой конкретной ситуации разработка управленческих решений осуществляется в специфических условиях, характерных для этой ситуации, с учетом факторов, оказывающих прямое или косвенное воздействие.
3.2. Условия и факторы качества решений
На предприятии сталкиваются, как правило, множество интересов, желаний, намерений. Даже сложными алгоритмами не выразить равнодействующую всех этих сил. Поэтому в каждом управленческом решении имеют место элементы субъективности, зависящие от знаний и способностей руководителя.
Одновременно в основу управленческих решений закладываются определенные объективные положения, с которыми обязан считаться каждый руководитель. Степень их использования зависит от умения руководителей исходить из объективных позиций и разрабатывать решения с учетом научных основ управления.
Объективными экономическими условиями разработки грамотных управленческих решений являются:
1) знание реальных тенденций развития управляемого объекта;
2) владение методами положительного использования складывающихся тенденций на деятельность предприятия;
3) ориентация в общих целях развития экономики страны в целом;
4) определение задач, вытекающих из этих целей, для управляемого объекта;
5) четкое представление о состоянии объекта, внешней среды (ближайшего окружения), тенденциях их развития;
6) владение набором методов перевода управляемого объекта из фактического состояния в желаемое и придания ему необходимых направлений развития;
7) умение своевременно реагировать на изменяющуюся обстановку и новые задачи, выдвигаемые рынком, экономической политикой государства.
Для соблюдения указанных условий руководитель должен располагать информацией, которая поступает от разных источников - внутренних и внешних, приобретается в ходе обучения и переподготовки, накопления опыта. Однако и при хорошо организованном информационном обеспечении принимаются как правильные, так и ошибочные решения.
Повышению их качества способствует предварительное продумывание следующих организационных вопросов:
1) где и кто принимает решение;
2) типы принимаемых решений на различных уровнях;
3) время, необходимое для принятия решений после получения информации;
4) система оформления и передачи решения;
5) система контроля исполнения принятых решений и проверка их фактической эффективности.
Кто и где должен принимать решения, зависит от существующих прерогатив отдельных подразделений в аппарате управления. Общим правилом при этом является то, что решение должно приниматься в том звене управления, в компетенцию которого входит данный круг вопросов (его выполнение).
Для руководителей разного уровня характерен определенный тип принимаемых решений. Так, чем ближе руководитель к производству и меньше масштабы его работы, тем больше доля оперативных решений, конкретнее адресность. К таким руководителям относятся мастера цеха, участков. Генеральный директор корпорации занимается разработкой перспективных решений:
- определение путей развития;
- внедрение новой техники и технологии;
- освоение новой продукции;
- выявление емкости рынка;
- определение тенденции развития отраслей, потребляющих продукцию;
- возможность выхода на мировой рынок и т.д.
Масштабы его распоряжений распространяются на корпорацию в целом, удельный вес оперативных решений незначителен, преобладает доля стратегических решений.
В процессе работы важно критически осмысливать ранее выдвинутую цель, хотя постоянная изменчивость цели недопустима.
Руководитель должен принимать решение с учетом влияния внешних (меняющихся условий снабжения, сбыта) и внутренних факторов (перемены в личном составе, возникшие затруднения структурного характера).
Период времени решений отличается для мер различного масштаба. Оперативные решения должны приниматься в самые короткие фоки, иногда мгновенно (например, диспетчером электросети). По перспективным вопросам торопливость принятия решений недопустима, так как необходимо:
- взвешивание всех обстоятельств в настоящее время и в дальнейшем;
- сбор дополнительной информации, проведение специальных исследований;
- формулирование конечного решения и путей его достижения;
- определение содержания и графика работы, связанной с принятием решения.
В процессе осуществления решения приходится возвращаться к оценке его эффективности, поскольку со временем оно может стать не бесспорным и даже превратиться в свою противоположенность.
В ходе реализации решения устанавливаются средства контроля за ходом его осуществления, продумывается частота контрольных операций и их содержание. Формами контроля могут быть отчеты, оперативная информация, автоматическая сигнализация, сводки, документы и др.
Нетрудно согласиться, что факторов, влияющих на качественный уровень управленческих решений, может быть множество. Условно их можно разделить на две группы:
а) ситуационного характера, связанные с осознанием проблемы, альтернатив ее решения и их последствий. К данной группе относится изучение ситуации, анализ и прогнозы, используемые методы, организация управления на предприятии и др.;
б) поведенческого характера в процессе разработки решений: мотивы, ценностные ориентации, уровень требований, готовность идти на риск лиц, разрабатывающих и принимающих решения.
Факторы первой группы действуют на этапе, предшествующем принятию решений, и способствуют формулированию проблемы. Факторы второй группы проявляются в поведении руководителя, его сотрудников в ходе разработки управленческих решений.
В практике принятия решений на отдельных стадиях эти группы факторов могут переплетаться. Схематично структуру факторов, оказывающих влияние в процессе принятия решений, можно представить следующим образом (рис. 7).

Рис. 7. Факторы качества управленческих решений
Обеспечение высокого качества управленческих решений -проблема комплексная. Ее разрешение зависит от соблюдения множества условий и учета ряда факторов. Отечественными авторами в свое время было предложено в помощь руководителям создавать на предприятии "управленческие ОТК". По существу это экспертная группа, подчиняющаяся руководителю. В ее состав должны входить специалисты отделов научной организации труда и управления производством (НОТ и УП), совершенствования управления, социологи, делопроизводители, юристы, референт руководителя. Регулярность работы группы определяется объемом дел по оценке качества решений.
Экспертная группа выполняет три вида процедур:
1. Проверяет соответствие подготовленного решения правилам и требованиям по составлению распорядительных документов,
2. Оценивает необходимость конкретного решения и отдельных заданий, включенных в его состав.
3. Оценивает возможность реализации как всего решения целиком, так и отдельных его заданий. При этом применяются две пятибалльные оценочные шкалы: по необходимости и возможности решения.
Для оценки используются мнения 3-5 экспертов. После оценки каждым экспертом проекта решения составляется таблица средних баллов по необходимости и возможности принятия решения.
| Необходимость решения | Оценка в баллах | Возможность решения | Оценка в баллах |
| Решение (задания) вряд ли необходимо на ближайший период | 1 | В существующих условиях практически невыполнимо | 1 |
| В этой сфере есть более необходимые решения | 2 | Решение может быть выполнено с большими оговорками в существующих условиях | 2 |
| Трудно оценить степень необходимости решения | 3 | Затруднительно оценить возможность решения | 3 |
| Необходимость решения | Оценка в баллах | Возможность решения | Оценка в баллах |
| Вполне необходимое решение | 4 | Решение реализуемо в существующих условиях | 4 |
| Безотлагательно необходимое решение | 5 | Не вижу препятствий к тому, чтобы немедленно приступить к реализации решения (задания) | 5 |
Возможные варианты действий (ситуаций):
1. Оптимальной считается ситуация, когда по обеим шкалам получается высокий балл (при средних оценках 4-5).
2. Высокий балл оценок по шкале "необходимость" и низкий по "возможностям" - проект возвращается на доработку в отдел, где решение готовилось для разработки средств и способов, повышающих возможность его реализации.
3. Решения, получившие низкий балл по шкале "необходимость", исключаются из числа тех, что передаются руководителю предприятия на рассмотрение и подпись.
Проект решения при благоприятной оценке экспертной группой передается руководителю вместе с листком экспертных оценок и с заключением экспертной группы. Полезность создания "управленческих ОТК" достаточно очевидна. Эффективность "экспертизы" проявляется по разным направлениям:
- экономится рабочее время руководителей высших рангов управления за счет освобождения от глубокой оценки качества подготовленных управленческих решений;
- группа играет роль "управленческого фильтра", отсеивающего плохо подготовленные решения, не имеющие целевой или проблемной направленности;
- оценивается роль и значение функциональных служб аппарата управления через качество основного продукта их деятельности - управленческие решения; оценка связывается с результативностью реализации решений;
- оказывается помощь службам и отделам аппарата управления в концентрации внимания на ключевых проблемах функционирования и развития организации производства;
- повышается ответственность руководителей функциональных служб за качество подготавливаемых документов.
При хорошо отлаженной системе подготовки управленческих документов (решений) такая экспертная группа может упраздняться.
Итак, от качества управленческих решений зависит результативность работы предприятия. Они должны отвечать определенным требованиям, исходить из сложившихся экономических условий, приниматься с соблюдением организационных и психологических предпосылок.
Список использованной литературы
1. Бирман Л.А. Управленческие решения: учеб. пособие / Л. А. Бирман. – М.: Дело, 2004. – 208 с.
2. Кошевой О. С. Разработка управленческих решений / О. С. Кошевой. – Пензенский региональный центр дистанционного образования, 2005. – 64 с.
3. Литвак Б. Г. Разработка управленческого решения: учебник для вузов / Б.Г. Литвак. – М.: Дело, 2003. – 392 с.
4. Мескон М..,Альберт М, Хедоури Ф. Основы менеджмента / М. Мескон, М. Альберт, Ф. Хедоури. -М.,1995.
5. Смирнов Э. А. Управленческие решения / Э. А. Смирнов. - М.: ИНФРА -М, 2001.
6. Фатхутдинов Р. А. Разработка управленческого решения. Учебник / Р. А. Фатхутдинов. -М.: ЗАО " Бизнес - школа " Интел - Синтез", 1999.
7. Чуйкин А.М. Разработка управленческих решений: Учебное пособие / А. М. Чуйкин. – Калининград, 2000. – 150 с.
8. Юкаева В. С. Управленческие решения: Учеб. пособие / В. С. Юкаева. - М.: Издательский дом «Дашков и К°», 1999. - 292 с.
[1] ЛПР- здесь и далее: лицо, принимающее решение.
