| Скачать .docx |
Дипломная работа: Бриз-М
Плакаты (13 шт.) весят 7,5 Мгб. Если есть желание – обращайтесь.
СОДЕРЖАНИЕ
| ВВЕДЕНИЕ |
6 |
| 1. АНАЛИЗ ПРЕДМЕТНОЙ ОБЛАСТИ, ПОСТАНОВКА ЗАДАЧИ |
9 |
| 1.1. CALS (Непрерывная информационная поддержка продукции на стадиях жизненного цикла) |
9 |
| 1.1.1. Обзор CALS-стандартов |
15 |
| 1.1.2. Интерактивные электронные технические руководства – составная часть CALS |
17 |
| 1.2. Анализ системы эксплуатации КРБ «Бриз-М» |
19 |
| 1.3. Постановка задачи |
21 |
| 2. РАЗРАБОТКА СИСТЕМЫ УТС НА ОСНОВЕ ИЭТР |
23 |
| 2.1. Структура УТС |
23 |
| 2.1.1. Архитектура построения УТС на основе ИЭТР |
26 |
| 2.1.2. Состав программных модулей УТС на основе ИЭТР |
28 |
| 2.2. Методика построения отдельных модулей УТС на основе ИЭТР |
31 |
| 2.2.1. Анализ технологических процессов для определения структуры информации в подсистемах ПМК |
31 |
| 2.2.2. Определение модели данных информационного ядра УТС ПМК |
33 |
| 2.3. Требования к техническому обеспечению разработки УТС |
35 |
| 3. РЕАЛИЗАЦИЯ УТС ПМК РБ «БРИЗ-М» НА ПРИМЕРЕ ТЕХНОЛОГИЧЕСКОЙ ОПЕРАЦИИ «ПОДГОТОВКА РБ «БРИЗ-М» К ТРАНСПОРТИРОВАНИЮ НА ЗАПРАВОЧНУЮ СТАНЦИЮ» |
37 |
| 3.1. Анализ технологического процесса подготовки РБ на ТК космодрома «Байконур» |
37 |
| 3.2. Информационное наполнение БД |
44 |
| 3.3. Разработка графического интерфейса пользователя |
45 |
| 4. ЭКОЛОГИЯ И БЕЗОПАСНОСТЬ ПРОИЗВОДСТВА 4.1. Анализ технологического процесса и условий труда |
47 |
| 4.2. Разработка мер защиты от выявленных УПФ и ОПФ |
58 |
| 4.3. Организация рабочего места оператора |
63 |
| 4.4. Обеспечение пожарной безопасности |
66 |
| 4.5. Утилизация расходных материалов |
69 |
| 4.6. Расчет воздухообмена в помещении с компьютером |
70 |
| 5. ЭКОНОМИЧЕСКОЕ ОБОСНОВАНИЕ РАЗРАБОТКИ |
72 |
| 5.1. Постановка задачи для расчета технико-экономической эффективности УТС на основе ИЭТР |
72 |
| 5.2. Определение технико-экономической эффективности УТС на основе ИЭТР |
75 |
| 5.3. Смета затрат на разработку и внедрение УТС на основе ИЭТР |
77 |
| 5.4. Смета затрат (в стоимостном выражении) |
81 |
| 5.5. Расчет экономической эффективности от внедрения УТС на основе ИЭТР |
88 |
| ВЫВОДЫ |
91 |
| ЛИТЕРАТУРА |
92 |
| ПРИЛОЖЕНИЕ №1 (СХЕМА ИЭ 10) |
95 |
| ПРИЛОЖЕНИЕ №2 (ГРАФИЧЕСКАЯ ЧАСТЬ) |
116 |
ВВЕДЕНИЕ
Применение технологий информационной поддержки в ходе всего жизненного цикла продукции, услуг и их компонентов - CALS-технологий, является одним из важнейших направлений повышения эффективности промышленного сектора экономики России, качества и конкурентоспособности на внешнем рынке наукоемкой продукции с использованием современных высоких технологий.
Разгонный Блок «Бриз-М» как и все изделия ракетно-космической отрасли является крайне сложным, дорогим и наукоемким. Поэтому внедрение CALS-технологий на этапах его разработки необходимо. Так же необходимо внедрение CALS-технологий, а точнее его составной части - Интерактивных Электронных Технических Руководств (ИЭТР), на этапе эксплуатации разгонного блока «Бриз-М» для создания учебно-тренировочных средств (УТС).
В настоящее время является актуальной задачей разработка УТС к КРБ «Бриз-М» в связи с настоящим процессом подготовки и передачи комплекса в эксплуатацию. Причем создание учебно-тренировочных средств обеспечивается силами производителя.
Острая потребность эксплуатирующей организации в УТС обусловлена следующими основными причинами:
· При разработке комплекса предполагается его значительное насыщение средствами автоматизации, электронно- вычислительной техникой и т.д. Сама техника становится всё более сложной по устройству и, как следствие, к квалификации обслуживающего персонала предъявляются повышенные требования.
· Целый ряд специфических особенностей профессиональной деятельности операторов в процессе подготовки РБ к запуску и в полёте, связанных с восприятием огромного количества информации в ходе контроля протекающего процесса, его анализа и принятия управленческого решения, приводит к необходимости их более качественной подготовки и периодической тренировки.
· Ожидаемый темп пусков на начальной стадии эксплуатации КРБ не высок, а поэтому для сохранения и совершенствования профессиональных навыков необходима периодическая тренировка обслуживающего персонала.
Из вышесказанного следует, что разработка УТС на основе интерактивных электронных технических руководств является актуальной и требующей быстрого решения задачей.
ПРИНЯТЫЕ СОКРАЩЕНИЯ
| CALS |
непрерывная информационная поддержка продукции на стадиях жизненного цикла |
| АРМ |
автоматизированное рабочее место |
| БД |
база данных |
| ВПФ |
вредные производственные факторы |
| ИЭТР |
интерактивные электронные технические руководства |
| КРБ |
комплекс разгонного блока |
| ОПФ |
опасные производственные факторы |
| ПМК |
программно-методический комплекс |
| РБ |
разгонный блок |
| СУ |
система управления |
| ТЗ |
техническое задание |
| ТС |
тренировочное средство |
| УТК |
учебно-тренировочный комплекс |
| УТС |
учебно-тренировочное средство |
1. АНАЛИЗ ПРЕДМЕТНОЙ ОБЛАСТИ, ПОСТАНОВКА ЗАДАЧИ
1.1. CALS (Непрерывная информационная поддержка продукции на стадиях жизненного цикла)
CALS (Continuous Acquisition and Life-cycle Support — непрерывная информационная поддержка жизненного цикла продукции) — это идеология создания единой информационной среды для процессов проектирования, производства, испытаний, поставки, эксплуатации и утилизации продукции. Системность информационного подхода заключается в охвате всех стадий жизненного цикла (ЖЦ) продукции от замысла до утилизации.
Интеграция достигается путем стандартизации представления информации (или скажем, результатов) в процессах проектирования, материально-технического снабжения, производства, ремонта, послепродажного сервиса и т.д. Такой подход создает новый базис для информационной интеграции и преемственности в использовании информации.
В современных условиях повышение конкурентоспособности достигается путем интеграции производственных мощностей производства. Заводы-производители географически удалены от друга, что ведет к возникновению проблемы информационной интеграции производства. Решением является создание, так называемых, «виртуальных» предприятий - форма объединения на контрактной основе предприятий и организаций, участвующих в поддержке жизненного цикла общего продукта и связанные общими бизнес-процессами. Это сложная организационная система должна жить по единым правилам в едином информационном пространстве, позволяющем непосредственно использовать данные в электронной форме от партнеров и передавать им, в свою очередь, результаты своей работы. В случае изменения состава участников — смены поставщиков или исполнителей — обеспечивается преемственность и сохранность уже полученных результатов (моделей, расчетов, документации, баз данных).
CALS-технологии представляют собой современную организацию процессов разработки, производства, эксплуатации и утилизации изделий путем информационной поддержки процессов их жизненного цикла на основе стандартизации методов представления данных на каждой стадии жизненного цикла и безбумажного электронного обмена данными. Концепция CALS определяет набор правил, регламентов, стандартов, в соответствии с которыми строится информационное («электронное») взаимодействие участников процессов проектирования, производства, испытаний и т.д.
Цель применения CALS-технологий как инструмента организации и информационной поддержки всех участников создания, производства продукта и пользования им — повышение эффективности их деятельности за счет ускорения процессов исследования и разработки продукции, придания изделию новых свойств, сокращения издержек в процессах производства и эксплуатации продукции, повышения уровня сервиса в процессах ее эксплуатации и технического обслуживания.
В современных условиях CALS-технологии являются важнейшим инструментом повышения эффективности бизнеса, конкурентоспособности и привлекательности продукции.
Применение CALS-технологий позволяет эффективно, в едином ключе решать проблемы обеспечения качества выпускаемой продукции, поскольку электронное описание процессов разработки, производства, монтажа и т.д., как правило, соответствует требованиям международных стандартов ИСО серии 9000, что позволяет наиболее успешно выступать на международном рынке.
Ситуация на мировом рынке наукоемкой продукции развивается в сторону полного перехода на безбумажную электронную технологию проектирования, изготовления и сбыта продукции. Передовые зарубежные фирмы рассматривают работу в этом направлении как действенное средство ограничения доступа на международный рынок наукоемкой продукции тех стран, которые не сумеют своевременно освоить соответствующие международным требованиям безбумажные электронные технологии. Предположительно, в ближайшие несколько лет мировой рынок наукоемких технологий, так же, как рынок промышленной кооперации, полностью перейдет на стандарты CALS.
В настоящее время ряд отечественных предприятий в рамках международного сотрудничества, в частности, при продаже сложных наукоемких изделий, а также лицензий на их производство, уже столкнулся с требованиями соблюдения стандартов CALS применительно к поставляемой с изделием технической документации в электронной форме, а также к средствам компьютерной информационной поддержки процессов технического обслуживания, материально-технического обеспечения, заказа запасных частей, ремонта. Аналогичные проблемы, связанные с электронным взаимодействием и совместным использованием конструкторской, производственной и коммерческой информации в электронной форме, возникают в рамках совместных проектов по разработке и производству наукоемкой продукции, выполняемых с зарубежными партнерами. Таким образом, практическое применение CALS-технологий является чрезвычайно актуальной задачей.
В России концепция CALS и стандарты по CALS-технологиям пока не нашли широкого применения. Основными причинами этого являются:
· общее отставание в процессах компьютеризации хозяйственной, производственной и коммерческой деятельности;
· отсутствие отечественной нормативной базы, позволяющей перейти от традиционных методов организации процессов проектирования, производства, испытаний, эксплуатации и т.д., основанных на бумажном документообороте, к новым, основанным на электронном взаимодействии и обмене данными. Существующий комплекс отраслевых стандартов и других нормативных документов не позволяет отказаться от традиционного бумажного документооборота. Применение компьютерных технологий для обмена информацией только дублирует бумажный документопоток. Это противоречит самой сущности концепции CALS, которая предполагает равноправное использование информации в любой форме, в том числе юридическую эквивалентность бумажных и электронных документов, снабженных цифровой подписью;
· недостаток информации о существе концепции CALS, опыте применения CALS в других странах, а отсюда недостаточное понимание преимуществ и потенциального эффекта, достигаемого за счет применения CALS;
· отсутствие рынка предложений и услуг в области CALS. Рынок предложений находится в начальном, зачаточном состоянии;
· недостаток подготовленных, квалифицированных и сертифицированных специалистов, а также системы их подготовки и аттестации.
В сложившейся ситуации нужны кардинальные и оперативные меры по ликвидации возникшего отставания отечественной промышленности в области разработки и реализации CALS-технологий, соответствующих требованиям международных стандартов. Дальнейшее отставание российской промышленности в области CALS-технологий может привести к невосполнимому отставанию России в этой области, в настоящее время в решающей степени определяющей не только уровень национальной технологической базы, но и экономическую и оборонную безопасность страны.
Учитывая исключительную актуальность работ по разработке и внедрению средств поддержки CALS-технологий, Минэкономики России организовало выполнение комплекса НИОКР по разработке и апробации этих технологий в различных отраслях промышленности. Среди первоочередных задач, решаемых в рамках действующей федеральной целевой программы реструктуризации и конверсии оборонной промышленности, следующие:
· разработка и промышленная апробация программно-методических средств, предназначенных для хранения и управления данными о продукции в соответствии с требованиями стандартов CALS;
· разработка и внедрение программных средств подготовки электронной эксплуатационной документации на изделие;
· разработка методики формализованного описания и анализа процессов, протекающих в ходе жизненного цикла изделия, и создание на основе данного формализованного описания системы обеспечения качества продукции в соответствии с требованиями международных стандартов ИСО серии 9000;
· разработка нормативной базы применения CALS-технологий (стандартов, руководящих документов, методических рекомендаций).
Госстандарт России в числе ведущих министерств и ведомств страны рассматривает проблему стандартизации в области CALS как одно из приоритетных направлений своей деятельности, что нашло отражение в Концепции национальной системы стандартизации, принятой на коллегии Госстандарта России.
Стандарты и методические материалы в этой области, в основном, определяют общий подход, способ представления и интерфейсы доступа к данным различного типа, вопросы защиты информации и ее электронной авторизации (цифровой подписи).
В рамках рассматриваемой проблемы под CALS-технологиями понимается создание, внедрение и эксплуатация программно-методических решений и нормативной документации, связанных с интеграцией автоматизированных и информационно-телекоммуникационных систем различных уровней и видов, систем автоматизированного проектирования и автоматизированного производства, позволяющих обеспечить непрерывную информационную поддержку жизненного цикла продукции.
Эффективность применения указанных технологий предполагает неукоснительное соблюдение всеми участниками определенных и жестко регламентированных стандартов, процедур, правил, технических решений.
Стандартизация в области CALS осуществляется как на международном, так и национальных уровнях.
Работы по стандартизации в данной области за рубежом проводятся в рамках ИСО ТК 184, а также США и другими странами НАТО. Разработанные нормативные документы включают международные стандарты (ИСО), федеральные стандарты США (FIPS), военные стандарты США (MIL), стандарты стран НАТО. В настоящее время более 150 нормативных документов применяются на таких этапах жизненного цикла продукции, как проектирование и анализ бизнес-процессов, создание и эксплуатация изделий, материально-техническое снабжение.
1.1.1. Обзор CALS-стандартов
Сводная таблица зарубежных стандартов в области поддержки ЖЦ в мире приведена в таблице 1.1
Таблица 1.1
| Этап ЖЦ |
Название стандарта на английском языке |
Назначение стандарта |
Объект описания |
|
| Проектирование и анализ бизнес-процессов |
IDEF - Integrated Definition, (FIPS 183) ISO 10303 AP208 (STEP) |
Функциональное моделирование жизненного цикла и выполняемых бизнес-процессов |
ЖЦ продукции, бизнес-процессы |
|
| Проектирование изделия, производство, эксплуатация, материально-техническое снабжение |
ISO 10303 (STEP) - Standard for the Exchange of Product model data |
«Нейтральный» формат представления конструкторских данных об изделии. |
Структура, конфигурация и геометрия изделия, данные о проекте, данные об изменениях в проекте |
|
| ISO-13584 (P-LIB) |
Формат данных о библиотеках деталей у поставщиков |
Данные о компонентах изделия |
||
| ISO 8879 (SGML - Standard Generilized MarkUp Language), |
Способ представления информации в тексто-графических документах. |
Техническая документация на изделие |
||
| ISO 10744 HyTime (Hypermedia/Time Based Structuring Language) |
Расширение SGML в части использования гипертекста и мультимедийных объектов |
Техническая документация на изделие |
||
| ISO 10179 Document Style and Semantic Language |
Требования к стилю и формату электронной документации |
Техническая документация на изделие |
||
| MIL-PRF-28001C, MIL-HDBK-28001, |
Рекомендации по использованию ISO 8879 SGML. |
Техническая документация на изделие |
||
Продолжение таблицы 1.1 |
||||
| MIL-PRF-28002B, Raster graphics representation in binary format |
Требования к представлению растровых изображений в двоичном формате для технической документации в электронном виде |
Техническая документация на изделие |
||
| MIL-PRF-28003 Color Graphics Metafile (CGM) |
Требования к представлению иллюстраций для технической документации в электронном виде |
Техническая документация на изделие |
||
| MIL-M-87268 Manuals, Interactive Electronic Technical General Content, Style, Format and User-Interaction, Requirements (IETM) |
Требования к электронным руководствам: содержание, стиль, формат, интерфейс с пользователем |
Электронная техническая эксплуатационная документация на изделие |
||
| MIL-D-87269 Data Base, Revisable Interactive Electronic Technical Manuals, for the support of |
Требования к оформлению баз данных и электронных справочников по изделиям |
Электронная техническая эксплуатационная документация на изделие |
||
| DEF STAN 0060 Integrated Logistic Support |
Формат данных в процессах материально-технического снабжения |
Электронная техническая эксплуатационная документация и объекты материально-технического снабжения |
||
1.1.2. Интерактивные электронные технические руководства – составная часть CALS
В современных условиях, все более очевидным становится факт снижения конкурентоспособности изделия, сопровождаемого большим объемом традиционной бумажной документации.
Явно прослеживаются следующие тенденции:
· Увеличение количества и сложности применяемых изделий и техники приводит к появлению все большего количества технических материалов, инструкций по эксплуатации и обслуживанию техники. Это приводит к тому, что, несмотря на усилия конструкторов по упрощению эксплуатации техники, постоянно появляется большое количество информации (в основном на бумажных носителях), которую специалистам необходимо при этом учитывать:
· Быстрое изменение, модификация таких устройств ведёт к тому, что эти руководства и содержащаяся в них техническая информация становятся неактуальными и не отражают действительное состояние данного изделия. Ценность огромного количества такой бумажной информации сводится к нулю, да и на создание, хранение и использование ее приходится затрачивать большие деньги и время сотрудников;
· Увеличение номенклатуры и уменьшение сроков освоения новых изделий требует повышения квалификации обслуживающего и ремонтного персонала и необходимости его быстрого переучивания;
· Развитие автоматизированных средств диагностики и контроля как внутри изделия, так и для использования на соответствующих сервисных службах. Эти средства требуют электронных устройств для обработки той информации, которую они выдают, они также позволяют автоматизировать решение ряда вопросов по диагностике неисправностей, что позволяет резко повысить надежность эксплуатации изделия и вероятность его безотказной работы;
· Для того чтобы иметь возможность интеграции в международное производственное общество необходимо качественно улучшить дисциплину эксплуатации и обслуживания изделий и оборудования. Требуется добиться, чтобы повсеместно выполнялись все требования технологии эксплуатации, разработанной производителем и обеспечивающей максимальные результаты.
С точки зрения концепции CALS, предусматривающей преемственность в передаче информации на всех стадиях жизненного цикла, Интерактивное Электронное Техническое Руководство - это документ, формируемый в значительной степени автоматически на основе конструкторского описания изделия. Если в подразделении, в котором создается ИЭТР, используется PDM-система, то все исходные материалы - текстовые, графические, звуковые и т.д. - берутся из нее в готовом виде. Информационное наполнение ИЭТР происходит главным образом на стадиях разработки и производства изделия, а применение ИЭТР на стадии эксплуатации и утилизации.
В рамках концепции CALS, информационная поддержка процессов эксплуатации изделий обеспечивается путем использования интерактивных электронных технических руководств (ИЭТР).
Интерактивное электронное техническое руководство (ИЭТР) представляет собой структурированный комплекс взаимосвязанных технических данных, предназначенный для предоставления в интерактивном режиме справочной и описательной информации об эксплуатационных и ремонтных процедурах, и определяется следующими показателями:
· Техническое руководство подготавливается в автоматизированной системе композиции;
· Техническое руководство включает в себя всю информацию, относящуюся к области применения технического руководства;
· Техническое руководство спроектировано для отображения на электронном дисплее;
· Элементы данных в техническом руководстве логически взаимосвязаны так, что пользователь может быстро получить доступ к нужной информации;
· Техническое руководство позволяет в интерактивном режиме предоставлять справочную и описательную информацию о проведении эксплуатационных и ремонтных процедур.
1.2. Анализ системы эксплуатации КРБ «Бриз-М»
Система эксплуатации Комплекса разгонного блока «Бриз-М» представляет собой целенаправленно функционирующую совокупность структурно и функционально связанных средств комплекса (РН, РБ, КА, технологическое и специальное оборудование, здания и сооружения), органов управления и личного состава войсковых частей и подразделений, а также специалистов промышленности, предназначенную для решения задач обеспечения и использования комплекса по назначению.
Свойства системы эксплуатации оцениваются как количественными показателями, так и качественными признаками.
Количественные показатели или качественные признаками свойств системы эксплуатации КРК и их элементов, которые проявляются в процессе эксплуатации, определяя затраты материальных средств, труда и времени, называются эксплуатационными характеристиками (эксплуатационно-техническими характеристиками).
При определении большинства эксплуатационных характеристик предполагается, что процесс функционирования системы эксплуатации реализуется идеально точно, и не учитывается то обстоятельство, что на практике в подготовке систем к использованию и их непосредственном использовании по назначению в подавляющем большинстве случаев участвует человек, который может допускать ошибки, особенно в условиях большой сложности в организации обслуживания систем и при ограниченном времени обслуживания. От квалификации человека, от его способностей и физиологических данных (реакции, физического состояния и т. д.) зачастую во многом зависит процесс успешной подготовки техники к применению и эффективное ее применение. В деле успешного решения задач обслуживания и эксплуатации сложных систем большое значение отводится предварительному обучению обслуживающего персонала и обучению (самообучению) непосредственно в процессе эксплуатации систем. Даже в условиях тенденции автоматизации процессов управления работой сложных систем (и процессов их технического обслуживания) человеку принадлежит далеко не последняя роль.
1.3. Постановка задачи
Назначением разработки является создание программно-методического комплекса (ПМК) «Функционирование системы эксплуатации КРБ «Бриз-М», предназначенного для подготовки и поддержания профессиональных навыков руководящего состава, инженерно-технического и обслуживающего персонала в учебных центрах и непосредственно на рабочих местах.
ПМК является составной частью учебно-тренировочных средств КРБ 14К43, предусмотренных схемой деления комплекса на составные части.
ПМК должен использоваться при решении следующих задач обучения руководящего, инженерно-технического и обслуживающего персонала:
· осуществление организации подготовки РБ на ТК;
· изучение последовательности и содержания основных этапов и технологических операций подготовки РБ на ТК, а также контролируемые параметры и требования к выполняемым на ТК работам по подготовки РБ;
· изучение основных характеристик сооружений, средств технологического оснащения ТК, а также агрегатов и систем РБ;
· прогнозировать возможное возникновение и по возможности имитировать развитие нештатные ситуации;
· изучения функционирования основных систем РБ;
· изучения состава и основных требований эксплуатационной документации, регламентирующей подготовку РБ на ТК;
· функционировать как в локальном варианте (одно рабочее место) так и в сетевом исполнении (несколько рабочих мест);
· отражать индивидуальные конструкционно-технические особенности каждого изделия;
· размещаться у производителя, на полигоне и в учебном центре.
Учебно-тренировочные средства должны обеспечить изучение личным составом эксплуатирующей организации принципа действия, правил эксплуатации образцов техники, а также отработку, совершенствование и поддержание профессиональных навыков и умений по выполнению технологических операций на всех этапах эксплуатации и использования составных частей комплекса РБ по назначению.
Не вызывает сомнения тот факт, что успешное применение КРБ по назначению невозможно без чёткого функционирования его системы эксплуатации.
Поэтому УТС должны обеспечить изучение комплекса, а также совершенствование и поддержание профессиональных навыков всеми специалистами, принимающими участие в эксплуатации КРБ.
УТС должны обеспечить обучение специалистов на всех этапах их профессиональной деятельности:
· обучение в учебном заведении;
· подготовка и допуск к самостоятельной работе в эксплуатирующей организации;
· поддержание требуемого уровня и совершенствование профессиональных навыков в условиях эксплуатирующей организации.
2. РАЗРАБОТКА СИСТЕМЫ УТС НА ОСНОВЕ ИЭТР
2.1. Структура УТС
По назначению учебно-тренировочные средства делятся на три основные элемента:
1. Учебно-тренировочные комплексы
2. Тренировочные средства
3. Технические средства
Учебно-тренировочные комплексы представляют собой комплексы технических и программных средств на базе ПЭВМ, предназначенные для профессиональной подготовки и тренировки руководящего и обслуживающего персонала на основе моделирования этапов эксплуатации комплекса и его составных частей, а также работы наиболее сложных систем (средств, комплексов) во всех режимах их функционирования и анализа качества усвоения изучаемых и отрабатываемых учебных задач.
Тренировочные средства представляют собой технические средства, предназначенные для практической работы личного состава в целях формирования, поддержания и совершенствования у эксплуатирующего персонала навыков в эксплуатации комплекса и его составных частей.
Технические средства обучения, представляющие собой системы программного обучения, учебные кинофильмы, телефильмы, диафильмы, компьютерные обучающие программы и аппаратура для их демонстрации, а также электрофицированные стенды и макеты, блоки, приборы, узлы и детали агрегатов и систем с разрезами.
Интерактивные электронные технические руководства объединяют в себе следующие элементы схемы деления УТС по назначению:
· Учебно-тренировочный комплекс;
· Элементы учебных средств:
· Системы и средства программного обеспечения на базе ЭВМ;
· Учебные фильмы и программы;
· Проекционная и кинопроекционная аппаратура;
· Плакаты, учебники, методические пособия, общетехническая литература.
На рис. 2.1. представлена структура деления УТС по назначению.
2.1.1. Архитектура построения УТС на основе ИЭТР
По организационной структуре процесс разработки и внедрения УТС на основе ИЭТР можно разделить на три этапа:
1) «Производитель» - этап разработки электронной модели, занесение в базы всей технической и конструкторской документации;
2) «Учебный центр» - этап проверки и отладки информационной модели, полученной от производителя;
3) «Полигон» - этап практического тестирования информационной модели. Выявление фактических несоответствий между реальным изделием и виртуальной моделью.
Между этапами в процессе отладки происходит постоянный информационный обмен и корректировка информационной модели
На рис. 2.2. приведена схема архитектуры построения УТС на основе ИЭТР.

Рис. 2.2. Архитектура построения учебно-тренировочных средств
2.1.2. Состав программных модулей УТС на основе ИЭТР
Программно-методический комплекс состоит из следующих модулей:
· основные этапы и последовательность выполнения технологических операций подготовки РБ на ТК;
· подготовка средств технологического оснащения ТК;
· имитация нештатных ситуаций;
· функционирования систем изделия;
· состав и основные требования эксплуатационной документации, регламентирующей подготовку РБ на ТК;
· информационное ядро;
· обслуживание (создание и редактирование) информационного ядра.
Модуль «Основные этапы и последовательность подготовки РБ на ТК» обеспечивает в интерактивном режиме демонстрацию и изучение основных этапов подготовки РБ на ТК космодрома.
Модуль «Подготовка средств технологического оснащения ТК» обеспечивает в интерактивном режиме демонстрацию и изучение основных этапов подготовки средств технологического оснащения ТК РБ.
Модуль «Имитация нештатных ситуаций» содержит перечень возможных нештатных и аварийных ситуаций, а также обеспечивает в интерактивном режиме демонстрации их развития и последствий, изучение мероприятий по предотвращению и содержание этапов работ по устранению последствий нештатных и аварийных ситуаций.
Модуль «Функционирования систем изделия» обеспечивает в интерактивном режиме демонстрацию и изучение функционирования основных систем РБ.
Модуль «Состав и основные требования эксплуатационной документации, регламентирующей подготовку РБ на ТК» обеспечивает в интерактивном режиме изучение состава и основных требований эксплуатационной документации, регламентирующей подготовка РБ на ТК космодрома.
Модуль «Информационное ядро» является основной информационным хранилищем учебно-тренировочного программно-методического комплекса, необходим для функционирования всех модулей и подсистем УТПМК, включает электронные модели изделия, процессов, технологической системы, нормативно-техническую документацию, представленную в электронном виде.
Модуль «Обслуживание информационного ядра» обеспечивает возможность ввода принципиально новой (дополнительной) и редактирования уже занесенной в информационное ядро информации по изделию (модернизация, варианты исполнения), процессам функционирования основных систем, содержание этапов подготовки РБ на ТК, средств технологического оснащения ТК РБ.
На рис. 2.3. представлена структура программных модулей УТС на основе ИЭТР

Рис. 2.3. Структура разработки ИЭТР
2.2. Методика построения отдельных модулей УТС ПМК на основе ИЭТР
По стандартам CALS-технологий основными методами анализа предметной области для разработки информационных моделей являются методологии IDEF0 и IDE1X.
2.2.1. Анализ технологических процессов для определения структуры информации в подсистемах ПМК
Методология моделирования IDEF0 предназначена для функционального анализа процесса с точки зрения CALS.
Основные элементы этой методологии основываются на следующих концепциях:
· графическое представление блочного моделирования. Графика блоков и дуг IDEF0-диаграммы отображает функцию в виде блока, а интерфейсы входа/выхода представляются дугами, соответственно входящими в блок и выходящими из него. Взаимодействие блоков друг с другом описываются посредством интерфейсных дуг, выражающих "ограничения", которые в свою очередь определяют, когда и каким образом функции выполняются и управляются;
· строгость и точность. Выполнение правил IDEF0 требует достаточной строгости и точности, не накладывая в то же время чрезмерных ограничений на действия аналитика. Правила IDEF0 включают:
· ограничение количества блоков на каждом уровне декомпозиции (правило 3-6 блоков);
· связность диаграмм (номера блоков);
· уникальность меток и наименований (отсутствие повторяющихся имен);
· синтаксические правила для графики (блоков и дуг);
· разделение входов и управлений (правило определения роли данных).
· отделение организации от функции, т.е. исключение влияния организационной структуры на функциональную модель.
Результатом применения методологии IDEF0 является модель, которая состоит из диаграмм, фрагментов текстов и глоссария, имеющих ссылки друг на друга. Диаграммы - главные компоненты модели, все функции и интерфейсы на них представлены как блоки и дуги. Место соединения дуги с блоком определяет тип интерфейса. Управляющая информация входит в блок сверху, в то время как информация, которая подвергается обработке, показана с левой стороны блока, а результаты выхода показаны с правой стороны. Механизм (человек или автоматизированная система), который осуществляет операцию, представляется дугой, входящей в блок снизу
Одной из наиболее важных особенностей методологии IDEF0 является постепенное введение все больших уровней детализации по мере создания диаграмм, отображающих модель.
Построение IDEF0 -модели начинается с представления всей системы в виде простейшей компоненты - одного блока и дуг, изображающих интерфейсы с функциями вне системы. Поскольку единственный блок представляет всю систему как единое целое, имя, указанное в блоке, является общим. Это верно и для интерфейсных дуг - они также представляют полный набор внешних интерфейсов системы в целом.
Затем блок, который представляет систему в качестве единого модуля, детализируется на другой диаграмме с помощью нескольких блоков, соединенных интерфейсными дугами. Эти блоки представляют основные подфункции исходной функции. Данная декомпозиция выявляет полный набор подфункций, каждая из которых представлена как блок, границы которого определены интерфейсными дугами. Каждая из этих подфункций может быть декомпозирована подобным образом для более детального представления.
Во всех случаях каждая подфункция может содержать только те элементы, которые входят в исходную функцию. Кроме того, модель не может опустить какие-либо элементы, т.е., как уже отмечалось, родительский блок и его интерфейсы обеспечивают контекст. К нему нельзя ничего добавить, и из него не может быть ничего удалено.
Анализ блоков «Основные этапы и последовательность выполнения технологических операций подготовки РБ на ТК» и «Подготовка средств технологического оснащения ТК» производится при помощи методологии IDEF0.
Последовательность операций представляется в виде иерархического дерева по принципу «от общего к частному».
В корне дерева находится операция «Подготовка РБ «Бриз-М» на ТК» На более нижнем уровне происходит детализация этой операции. Соответственно операции более нижнего уровня детализуют операции верхнего.
2.2.2. Определение модели данных информационного ядра УТС ПМК
На аппаратном уровне для создания УТС на основе ИЭТР применяется СУБД Oracle. На уровне пользователя системы Microsoft Access.
Для анализа модели данных используется методология IDEF1Х.
Методология IDEF1Х предназначена для моделирования данных о процессе и указания взаимосвязей между группами данных.
Основным понятием данной методологии является сущность.
Сущность в методологии IDEF1X является независимой, если каждый экземпляр сущности может быть однозначно идентифицирован без определения его отношений с другими сущностями. Сущность называется зависимой, если однозначная идентификация экземпляра сущности зависит от его отношения к другой сущности 
Каждой сущности присваивается уникальное имя и номер, разделяемые косой чертой "/" и помещаемые над блоком.
Связь может дополнительно определяться с помощью указания степени или мощности (количества экземпляров сущности-потомка, которое может существовать для каждого экземпляра сущности-родителя). В IDEF1X могут быть выражены следующие мощности связей:
· каждый экземпляр сущности-родителя может иметь ноль, один или более связанных с ним экземпляров сущности-потомка;
· каждый экземпляр сущности-родителя должен иметь не менее одного связанного с ним экземпляра сущности-потомка;
· каждый экземпляр сущности-родителя должен иметь не более одного связанного с ним экземпляра сущности-потомка;
· каждый экземпляр сущности-родителя связан с некоторым фиксированным числом экземпляров сущности-потомка.
Если экземпляр сущности-потомка однозначно определяется своей связью с сущностью-родителем, то связь называется идентифицирующей, в противном случае – неидентифицирующей.
Связь изображается линией, проводимой между сущностью-родителем и сущностью-потомком с точкой на конце линии у сущности-потомка.
2.3. Требования к техническому обеспечению разработки УТС
УТС на основе ИЭТР может использоваться, как для тренировки или обучения одного человека, так и для подготовки целого боевого расчета (Пять человек).
Для корректной работы системы необходимо следующее оборудование:
1) Пять автоматизированных рабочих мест обучаемых со следующими параметрами ЭВМ:
- IBM PC совместимый компьютер с процессором Pentium 4 1.7 Ггц и выше;
- операционная система Microsoft Windows 98, Microsoft Windows NT 4.0, Microsoft Windows 2000;
- оперативная память не менее 256 Мб;
- видеокарта с 32 Мб памяти, поддерживающая аппаратное ускорение графики;
- Windows совместимая звуковая карта;
- SVGA монитор поддерживающий разрешение экрана 1024х768.
- 32х скоростной и выше CD-ROM.
2) Рабочее место преподавателя/командира боевого расчета (выступает в роли сервера):
- IBM PC совместимый компьютер с процессором Pentium 4 1.7 Ггц и выше;
- операционная система Microsoft Windows 98, Microsoft Windows NT 4.0, Microsoft Windows 2000;
- Объем жесткого диска не менее 40 Ггб;
- оперативная память не менее 256 Мб;
- видеокарта с 32 Мб памяти, поддерживающая аппаратное ускорение графики;
- Windows совместимая звуковая карта;
- SVGA монитор поддерживающий разрешение экрана 1024х768
3) Проекционный экран для группового просмотра видео изображений при подготовке боевого расчета;
4) Локальная компьютерная сеть;
- топология «звезда»;
- протокол передачи fastethernet;
- кабель: экранированная витая пара;
5) Проектор.
3. РЕАЛИЗАЦИЯ УТС ПМК РБ «БРИЗ-М» НА ПРИМЕРЕ ТЕХНОЛОГИЧЕСКОЙ ОПЕРАЦИИ «ПОДГОТОВКА РБ «БРИЗ-М» К ТРАНСПОРТИРОВАНИЮ НА ЗАПРАВОЧНУЮ СТАНЦИЮ»
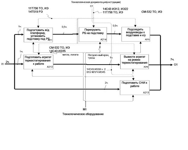
В качестве примера, иллюстрирующего работу учебно-тренировочного средства на основе ИЭТР была выбрана технологическая операция «Подготовка РБ «Бриз-М» к транспортированию на заправочную станцию».
3.1. Анализ технологического процесса подготовки РБ на ТК космодрома «Байконур»
Изначально информация о последовательности выполняемых операций содержалась в Инструкции по эксплуатации № 10 в виде сетевых графиков. (См. Приложение №1).
Как видно из Приложения №1 представление информации в таком виде крайне не удобно. Информация иерархически не структурирована, сложно мысленно охватить и осмыслить всю инструкцию целиком.
Методология IDEF0 лишена данных недостатков, поэтому инструкция №10 была переработана в рамках концепции IDEF0.
Реализация методологии IDEF0 представлена в рис. 3.1.

а)

б)

в)

г)
Рис. 3.1. Представление технологического процесса
в методологии IDEF0
Как видно из рисунков, последовательность действий четко структурирована и легко мысленно представить себе все этапы процесса. Каждая последующая таблица детализует и раскрывает таблицу более верхнего уровня.
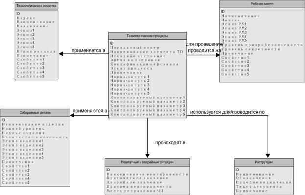
Для анализа взаимосвязей между различными объектами информационной модели используется методология IDEF1X.
Представление информационной модели в методологии IDEF1X показано на рис. 3.2.

Рис. 3.2. Схема информационной модели УТС на основе ИЭТР в методологии IDEF1X
3.2. Информационное наполнение БД Microsoft Access
Информационным ядром УТС на основе ИЭТР является БД Microsoft Access. Ее структура создается на основе модели созданной в методологии IDEF1X с учетом конкретных программных особенностей. Поэтому структура таблиц базы данных сходна со структурой модели IDEF1X.
Структура БД Microsoft Access показана на рис. 3.3.

Рис. 3.3. Схема данных БД УТС в среде СУБД MS Access
3.3. Графический интерфейс пользователя
Графический интерфейс пользователя исполнен посредством языка объектного программирования Microsoft Visual Basic.
Внешний вид рабочего окна представлен на рис. 3.4.

Рис. 3.4. Вид рабочего окна
4. ЭКОЛОГИЯ И БЕЗОПАСНОСТЬ ПРОИЗВОДСТВА
4.1. Анализ технологического процесса и условий труда
Физические опасные и вредные производственные факторы подразделяются на:
1. Физические;
2. Химические;
3. Биологические;
4. Психофизические.
В данном дипломном проекте среди приведенных выше четырех групп опасных и вредных производственных факторов можно пренебречь биологическими и химическими факторами, так как на данном рабочем месте они оказывают незначительное влияние на деятельность оператора ЭВМ. Рассмотрим только физические и психофизические опасные и вредные производственные факторы и мероприятия по их устранению или снижению.
Технологический процесс программирования включает в себя операции, описанные в таблице 4.1.
Таблица 4.1.
Основные элементы производственного процесса, формирующие опасные и вредные производственные факторы
| № п п |
Наименование операции |
Материалы, сырье, комплектующие изделия |
Оборудование, приспособления, инструменты |
Готовые изделия |
Производственная среда |
Окружающая среда |
|
| Оснащение компьютеров специальным программным обеспечением (ПО) |
- магнитные носители, CD |
- ВМ |
— |
- опасный уровень электрического тока, - повышенная напряженность электрического или магнитного поля, повышенный уровень электромагнитных излучений |
воздух |
||
| Анализ поставленной задачи и определение ТЗ |
- бумага, - тонер для лазерного принтера |
- ВМ, - принтер |
- сформулированное ТЗ для разрабатываемого ПО |
- опасный уровень электрического тока, - повышенная напряженность электрического или магнитного поля, - повышенный уровень электромагнитных излучений |
воздух |
||
| Создание текстов ПО |
- бумага - тонер для лазерного принтера |
- ВМ, - принтер, |
- тексты ПО |
- опасный уровень электрического тока, - повышенная напряженность электрического или магнитного |
воздух |
||
| - |
- |
- |
Продолжение таблицы 4.1. |
||||
| - |
- |
- |
- поля, повышенный уровень электромагнитных излучений |
||||
| Отладка ПО на универсальных вычислительных машинах (ВМ) |
- провода, - разъемные соединения |
- ВМ, - принтер. |
- отлаженное ПО, - доработанная аппаратура |
- опасный уровень электрического тока, - повышенная напряженность электрического или магнитного поля, - повышенный уровень электромагнитных излучений |
воздух |
||
Далее, по результатам комплексного анализа основных элементов производственного процесса, формирующих ОПФ и ВПФ, проводится их количественная оценка, и данные заносятся в таблицу 4.2
Таблица 4.2.
Количественная оценка опасных и вредных производственных факторов
| № п п |
Опасные и вредные производственные факторы |
Наименование операций |
Значение фактора, действующего (ед. измерения) |
Регламентированное нормами предельно- допустимое значение |
Количество работающих, подверженных воздействию |
Продолжи- тельность воздействия (час/раб.день) |
Вероятность действия фактора (опред. по формуле **) |
| 1. |
Опасный уровень электрического тока |
- оснащение компьютеров специальным программным обеспечением (ПО), - анализ поставленной задачи и определение ТЗ, - создание текстов ПО, - отладка ПО на универсальных вычислительных машинах (ВМ). |
U = 220 В I = 0,22А |
Переменный ток 50 Гц U = 36 В, I = 6 мА, при |
5 чел 5 чел 3 чел 4 чел |
3 ч 5 ч 4 ч 6 ч |
38% 63% 50% 75% |
| 2. |
Повышенная напряженность электрического или магнитного поля |
10 В/м 0,3 А/м |
Напряженность электромагнитного поля по электрической составляющей на расстоянии 50 см от поверхности видеомонитора – 10 В/м, Напряженность электромагнитного поля по магнитной составляющей на расстоянии 50 см от поверхности видеомонитора – 0,3 А/м |
||||
| 3. |
Интенсивность электромагнитных излучений (ЭМИ) |
менее 10 мкбэр/ч 50 мВт/м2 |
Максимальный уровень рентгеновского излучения не превышает 10 мкбэр/ч Интенсивность ультрафиолетового и инфракрасного излучений (10-100 мВт/м2 ) |
Следующим этапом комплексного анализа условий труда является установление или назначение требований к микроклимату, освещенности, шуму и другим факторам, действующим на работающих, и находящихся в пределах требований ГОСТов, ССБТ, СНиПов и СанПиНов (таблицы 4.3-4.6).
Таблица 4.3.
Микроклимат (СанПиН 2.2.2.542-96)
| № п п |
Наименование операции |
Характеристика помещений по избыткам тепла |
Категория тяжести |
Параметры микроклимата (норма/фактич.) |
||
| Температура °,С |
Влажность, % |
Скорость движения воздуха, м/с |
||||
| Оснащение компьютеров специальным программным обеспечением (ПО) |
Помещение с незначительным избытком теплоты (Q £ 23,2 Дж/м2 с) |
Легкая 1а (Работы, производимые сидя и не требующие физического напряжения, при которых расход энергии составляет до 120 ккал/ч (до 139 Вт)) |
Холодный период года |
|||
| 22-24 / 19-20 |
40-60 / 41-43 |
0,1-0,15 / 0,1-0,15 |
||||
| 2. |
Анализ поставленной задачи и определение ТЗ |
|||||
| Теплый период года |
||||||
| 3. |
Создание текстов ПО |
|||||
| 23-25 / 22-23 |
40-60 / 48-50 |
0,2-0,25 / 0,2-0,25 |
||||
| 4. |
Отладка ПО на универсальных вычислительных машинах (ВМ) |
|||||
Таблица 4.4.
Освещенность (СНиП 23-05-95)
| № п п |
Наименование операции |
Минимальный размер объекта различения, мм |
Фон |
Контраст |
Разряд работ |
Освещенность |
|||
| Общее, лк |
Местное |
Естественное, % |
Совмещенное, % |
||||||
| Оснащение компьютеров специальным программным обеспечением (ПО) |
0,5 – 1,0 |
Светлый |
Большой |
Работа средней точности (IVв) |
200 / 200 |
100 / 100 |
Боковое 1,5 / 1,4 |
Верхнее или комбинированное 2,4 / 2,2 |
|
| 5. |
Анализ поставленной задачи и определение ТЗ |
||||||||
| 6. |
Создание текстов ПО |
||||||||
| 7. |
Отладка ПО на универсальных вычислительных машинах (ВМ) |
||||||||
| 8. |
|||||||||
Таблица 4.5.
Производственный шум (ГОСТ 12.003-83)
| № п п |
Наименование операций (рабочее место, ОПФ, ВПФ, профессия) |
Характеристика фактора (источник возникновения) |
Действующее/предельно-допустимое значение (уровни звукового давления, дБ) |
|||||||
| Частота, Гц |
||||||||||
| 63 |
125 |
250 |
500 |
1000 |
2000 |
4000 |
8000 |
|||
| Оснащение компьютеров специальным программным обеспечением (ПО) |
Электромагнитные шумы (различные электрические установки) |
65/71 |
58/61 |
49/54 |
42/49 |
36/45 |
37/42 |
35/40 |
31/38 |
|
| 9. |
Анализ поставленной задачи и определение ТЗ |
|||||||||
| 10. |
Создание текстов ПО |
|||||||||
| 11. |
Отладка ПО на универсальных вычислительных машинах (ВМ) |
|||||||||
| 12. |
||||||||||
Таблица 4.6.
Электромагнитные поля (ГОСТ 12.006-84)
| № п п |
Наименование операций (рабочее место, ОПФ, ВПФ, профессия) |
Характеристика |
Фактическое значение |
Предельно-допустимый уровень |
|
| Поля |
Источника |
||||
| Оснащение компьютеров специальным программным обеспечением (ПО) |
Напряженность электрического поля Напряженность магнитного поля |
Мониторы компьютеров, соединительные шины. |
10 В/м 0,3 А/м |
10 В/м 0,3 А/м |
|
| 13. |
Анализ поставленной задачи и определение ТЗ |
||||
| 14. |
Создание текстов ПО |
||||
| 15. |
Отладка ПО на универсальных вычислительных машинах (ВМ) |
||||
| 16. |
|||||
В результате комплексного анализа труда при работе на компьютере выявлен ряд ОПФ и ВПФ.
ОПФ:
· Опасный уровень электрического тока.
ВПФ:
· наличие электромагнитных излучений (ЭМИ),
· повышенная напряженность магнитного или электрического поля.
Из выявленных факторов все находятся в пределах нормы, только уровень электрического тока выше нормы:
| Норма: |
Фактическое значение: |
| I = 6 мА U = 36 В |
I = 0,22 А = 220 мА U = 220 В |
4.2. Разработка мер защиты от выявленных ОПФ и ВПФ
Одна из самых распространенных мер по предупреждению неблагоприятного воздействия на работающих ОПФ и ВПФ – использование средств коллективной защиты (предназначены для одновременной защиты двух и более работающих) и индивидуальной (одного работающего).
При проектировании, строительстве и реконструкции помещений, предназначенных для эксплуатации всех типов ЭВМ, ПЭВМ, производственного оборудования, и обеспечения безопасных условий труда пользователей ПЭВМ необходимо придерживаться санитарных правила и норм СанПиН 2.2.2.542-96
"Гигиенические требования к видеодисплейным терминалам, персональным электронно-вычислительным машинам и организации работы".
Требования к мониторам:
Конструкция монитора должна обеспечивать возможность фронтального наблюдения экрана путем поворота корпуса в горизонтальной плоскости вокруг вертикальной оси в пределах ± 30° и в вертикальной плоскости вокруг горизонтальной оси в пределах ± 30° с фиксацией в заданном положении. Дизайн мониторов должен предусматривать окраску в спокойные мягкие тона с диффузным рассеиванием света. Корпус монитора и ПЭВМ, клавиатура должны иметь матовую поверхность одного цвета с коэффициентом отражения 0.4 – 0.6 и не иметь блестящих деталей, способных создавать блики.
Конструкция монитора должна предусматривать наличие ручек регулировки яркости и контраста, обеспечивающие возможность регулировки этих параметров от минимальных до максимальных значений.
Максимальная напряженность электрической составляющей электромагнитного поля достигается на кожухе дисплея. Допустимые значения параметров неионизирующих электромагнитных излучений от монитора компьютера представлены в таблице 4.6.
Как кратковременное, так и длительное воздействие всех видов излучения от экрана монитора считается неопасным для здоровья персонала, обслуживающего компьютеры.
Для снижения воздействия перечисленных видов излучения на операторов компьютеров рекомендуется применять мониторы с пониженной излучательной способностью, устанавливать защитные экраны, а также соблюдать регламентированные режимы труда и отдыха.
Требования к помещениям:
Площадь на одно рабочее место с ПЭВМ должна составлять не менее 6 м2 , а объем не менее 20 м3 .
В зависимости от ориентации окон в помещениях, где установлены компьютеры, рекомендуется следующая окраска стен и пола помещения:
- окна ориентированны на юг – стены зеленовато-голубого или светло-голубого цвета, пол - зеленый;
- окна ориентированны на север – стены светло-оранжевого или оранжево-желтого цвета, пол – красновато-оранжевый;
- окна ориентированны на восток – стены – желто-зеленого цвета, пол – зеленый или красновато-оранжевый;
- окна ориентированны на запад – стены – желто-зеленого или голубовато-зеленого цвета, пол – зеленый или красновато-оранжевый.
Для внутренней отделки интерьера помещений должны использоваться материалы с коэффициентом отражения для потолка – 0.7–0.8, для стен – 0.5-0.6, для пола – 0.3-0.5.
Требования к освещенности:
Помещения с ПЭВМ имеет естественное и искусственное освещение.
Естественное освещение осуществляться через светопроемы, ориентированные преимущественно на север и северо-восток и обеспечивает коэффициент естественной освещенности (КЕО) не ниже 1.5%.
Искусственное освещение в помещениях эксплуатации ПЭВМ осуществляется системой общего равномерного освещения. В производственных и административных помещениях, в случаях преимущественной работы с документами, допускается применение системы комбинированного освещения.
Освещенность на поверхности рабочего стола в зоне размещения рабочего документа составляет 300 лк. Допускается установка светильников местного освещения для подсветки документов. Местное освещение не должно создавать бликов на поверхности экрана и увеличивать освещенность экрана более 300 лк.
В качестве источников света при искусственном освещении наиболее приемлемыми являются люминесцентные лампы белого света (ЛБ) и лампы тепло-белого света (ЛБТ) мощностью 20, 40 и 80 Вт. Допускается применение ламп накаливания в светильниках местного освещения.
Требования к микроклимату:
Вычислительная техника – источник существенных тепловыделений, что может привести к повышению температуры и снижению относительной влажности в помещении. В помещениях, где установлены компьютеры, должны соблюдаться определенные параметры микроклимата (см. табл. 4.3).
Для регулирования параметров микроклимата в производственном помещении можно установить оконные кондиционеры, которые обеспечивают объемный расход подаваемого в помещение свежего воздуха не менее 30 м3 на одного человека в час.
Требования к шуму:
В производственных помещениях, в которых работа на ПЭВМ является вспомогательной, уровни шума на рабочих местах не должны превышать значений, установленных для данных видов работ "Санитарными нормами допустимых уровней шума на рабочих местах".
Уровень шума на рабочем месте математиков-программистов не превышает 50 дБА.
Требования к электробезопасности:
Во время работы с ЭВМ источником опасности является электрическая часть, а именно входные цепи блока питания, который может быть подключен с сети промышленного тока напряжением 220 В с частотой 50 Гц, с изолированной нейтралью.
Помещение, используемое для эксплуатации ПЭВМ, относится к классу помещений без повышенной опасности с точки зрения поражения электрическим током. В помещении должны быть непроводящие полы, отсутствовать токопроводящая пыль, электрически активная среда, возможность одновременного прикосновения к металлическим частям приборов и заземляющему устройству, источники высокой температуры и сырости.
Для защиты от поражения электрическим током все токоведущие части защищены от случайных прикосновений кожухами, корпус устройства заземлен. Питание устройства осуществляется от силового щита через автоматический предохранитель, срабатывающий при коротком замыкании нагрузки.
Требования к организации режима труда и отдыха:
В процессе работы с компьютером необходимо соблюдать правильный режим труда и отдыха. В противном случае, может возникнуть значительное напряжение зрительного аппарата с появлением жалоб на неудовлетворенность работой, головных болей, раздражительности, нарушений сна, усталости и болезненных ощущений в глазах, пояснице, в области шеи и руках.
Т.к. работа программиста-оператора – это творческая работа в режиме диалога с ЭВМ и нагрузка за рабочую 8-ми часовую смену составляет до 6 часов, то суммарное время регламентированных перерывов составляет 70 мин. Т.е. в течение рабочего дня целесообразно делать 20-25-ти минутные перерывы через каждые полтора часа работы с ЭВМ.
4.3. Организация рабочего места оператора
Общие эргономические требования к взаимному расположению элементов рабочего места: пульта управления, средств отображения информации, органов управления, кресла, вспомогательного оборудования – устанавливает ГОСТ 22269-76, который распространяется на индивидуальные рабочие места операторов стационарных объектов системы «человек-машина». Этим нормативным документом следует руководствоваться при организации рабочего места оператора.
При взаимном расположении элементов рабочего места необходимо учитывать:
· рабочую позу человека-оператора;
· пространство для размещения человека-оператора;
· возможность обзора элементов рабочего места;
· возможность обзора пространства за пределами рабочего места;
· возможность ведения записей, размещения документации и материалов, используемых человеком-оператором.
Взаимное расположение элементов рабочего места должно обеспечивать необходимые зрительные и звуковые связи между оператором и оборудованием, а также между операторами.
Взаимное расположение элементов рабочего места должно способствовать оптимальному режиму труда и отдыха, снижению утомления оператора, предупреждению появления ошибочных действий.
Взаимное расположение пульта управления, кресла, органов управления и средств отображения информации должно производиться в соответствии с антропометрическими показателями, структурой деятельности, психофизиологическими и биохимическими характеристиками человека-оператора.
Схемы размещения рабочих мест с ПЭВМ должны учитывать расстояния между рабочими столами с видеомониторами (в направлении тыла поверхности одного видеомонитора и экрана другого видеомонитора), которое должно быть не менее 2,0 м, а расстояние между боковыми поверхностями видеомониторов - не менее 1,2 м.
Конструкция рабочего стола должна обеспечивать оптимальное размещение на рабочей поверхности используемого оборудования с учетом его количества и конструктивных особенностей (размер ПЭВМ, клавиатуры и др.), характера выполняемой работы. При этом допускается использование рабочих столов различных конструкций, отвечающих современным требованиям эргономики. Высота рабочей поверхности стола для взрослых пользователей должна регулироваться в пределах 680 - 800 мм; при отсутствии такой возможности высота рабочей поверхности стола должна составлять 725 мм.
Рабочий стол должен иметь пространство для ног высотой не менее 600 мм, шириной - не менее 500 мм, глубиной на уровне колен - не менее 450 мм и на уровне вытянутых ног - не менее 650 мм.
Конструкция рабочего стула (кресла) должна обеспечивать поддержание рациональной рабочей позы при работе на ПЭВМ, позволять изменять позу с целью снижения статического напряжения мышц шейно - плечевой области и спины для предупреждения развития утомления.
Тип рабочего стула (кресла) должен выбираться в зависимости от характера и продолжительности работы с ПЭВМ с учетом роста пользователя.
Рабочий стул (кресло) должен быть подъемно - поворотным и регулируемым по высоте и углам наклона сиденья и спинки, а также расстоянию спинки от переднего края сиденья, при этом регулировка каждого параметра должна быть независимой, легко осуществляемой и иметь надежную фиксацию.
Поверхность сиденья, спинки и других элементов стула (кресла) должна быть полумягкой, с нескользящим, неэлектризующимся и воздухопроницаемым покрытием, обеспечивающим легкую очистку от загрязнений.
Рабочее место должно быть оборудовано подставкой для ног, имеющей ширину не менее 300 мм, глубину не менее 400 мм, регулировку по высоте в пределах до 150 мм и по углу наклона опорной поверхности подставки до 20 градусов. Поверхность подставки должна быть рифленой и иметь по переднему краю бортик высотой 10 мм.
Экран видеомонитора должен находиться от глаз пользователя на оптимальном расстоянии 600 - 700 мм, но не ближе 500 мм с учетом размера алфавитно-цифровых знаков и символов.
Клавиатуру следует располагать на поверхности стола на расстоянии 100 - 300 мм от края, обращенного к пользователю, или на специальной регулируемой по высоте рабочей поверхности, отделенной от основной столешницы.
В целях обеспечения требований, а также защиты от электромагнитных и электростатических полей допускается применение приэкранных фильтров, специальных экранов и других средств индивидуальной защиты, прошедших испытания в аккредитованных лабораториях и имеющих соответствующий гигиенический сертификат.
4.4. Обеспечение пожарной безопасности
Основными причинами пожаров на производстве являются нарушение технологического режима работы оборудования, неисправность электрооборудования, плохая подготовка к ремонту и др. Вероятность возникновения пожара или взрыва в течение года не должна превышать 10-6 .
Для защиты от пожара в зданиях устраивают противопожарные преграды, т.е. конструкции с нормируемым пределом огнестойкости, препятствующие распространению огня внутри здания. К этим преградам, имеющим предел огнестойкости не менее 2.5 ч, относятся стены, перегородки, перекрытия, двери, ворота и окна.
При проектировании и строительстве необходимо предусмотреть пути эвакуации работающих, т.е. пути, ведущие к эвакуационному выходу на случай возникновения пожара (рис. 4.1.). Здания и сооружения должны быть снабжены устройствами, предназначенными для удаления дыма при пожаре, к числу которых относятся аэрационные фонари, специальные дымовые люки и др.
Для того чтобы огонь при пожаре не распространялся с одного здания на другое, их располагают на определенном расстоянии друг от друга. Это расстояние называют противопожарным разрывом. Для различных категорий зданий противопожарные разрывы составляют 9–18 м.
По взрывопожарной и пожарной опасности помещение, используемое для эксплуатации ПЭВМ, можно отнести к категории Д (ГОСТ 12.1.004-91 и ГОСТ 12.1.044-89), т.к. вещества и материалы в производственном помещении – негорючи и находятся в холодном состоянии (НПБ 105-95).
Для тушения пожаров на начальных стадиях широко применяются огнетушители.
Выбор типа и расчет необходимого количества огнетушителей следует производить в зависимости от их огнетушащей способности, предельной площади, класса пожара горючих веществ и материалов (класс (Е) - пожары, связанные с горением электроустановок) в защищаемом помещении согласно ИСО N 3941 – 77. Исходя из этих данных, для нашего помещения выбираем ручной углекислотный огнетушитель вместимостью 5 л (ОУ-5). Учитывая площадь производственного помещения (50 м2 ), необходимо установить два таких огнетушителя.
В данном производственном помещении установлены комбинированные автоматические пожарные извещатели типа КИ, реагирующие на теплоту и дым (6 шт).
Успех ликвидации пожара на производстве зависит, прежде всего, от быстроты оповещения о его начале. Поэтому производственное помещение оборудовано пожарной сигнализацией. Сигнал от пожарных извещателей передается на пожарную станцию ТЛО-10/100 (тревожная лучевая оптическая), дымовые люки и др.
План эвакуации персонала в случае пожара изображен на рисунке 4.7.
![]()
Рис. 4.7. Схема эвакуации при пожаре
4.5. Утилизация расходных материалов
Основными отходами являются бумага (офисная бумага, бумага для компьютеров, картон) и пластик (например, использованные магнитные носители информации, картриджи для принтеров).
Эти отходы централизованно собираются на предприятии и отправляются в специализированный комплекс, занимающийся утилизацией твердых бытовых отходов.
Картриджи для принтеров, используемые на предприятии – многоразового пользования, они централизованно собираются и отправляются на специализированное предприятие на дозаправку, либо туда же на переработку.
Можно рекомендовать следующие мероприятия по сокращению образования отходов:
· предприятию необходимо отдавать предпочтение продуктам многоразового использования,
· отдавать предпочтение минимальной упаковке – приобретать товары с более легкой упаковкой и товары, продающиеся большими объемами,
· отдавать предпочтение упаковке, изготовленной из вторично переработанных и/или экологически безвредных материалов.
4.6. Расчет воздухообмена в помещении с компьютером
Обеспечение нормальных метеорологических условий и чистоты воздуха на рабочих местах в значительной степени зависит от правильно организованной системы вентиляции.
По способу организации воздухообмена вентиляция может быть общеобменной, местной и комбинированной. Общеобменную вентиляцию, при которой смена воздуха происходит во всем объеме помещения, наиболее часто применяют в тех случаях, когда вредные вещества выделяются в небольших количествах и равномерно по всему помещению. Местная вентиляция предназначена для отсоса вредных выделений в местах их образования и удаление их из помещения. Комбинированная система предусматривает одновременную работу местной и общеобменной вентиляции.
В соответствии с ГОСТ во всех помещениях должна быть предусмотрена естественная вентиляция. Естественное движение воздуха в помещении происходит вследствие разности его плотностей вне и внутри помещения, а также под действием разности давления наружного воздуха с наветренной и заветренной сторон здания. Давление или разряжение зависят от скорости ветра. Наружный воздух может поступать в помещение через открытые проемы с наветренной стороны здания и выходить через отверстия на противоположной заветренной стороне и отверстие в крыше.
Вибрация на рабочем месте инженера – программиста отсутствует, уровень шума – 30 Дб, что соответствует нормальной разговорной речи.
Расчет воздухообмена в общеобменной вентиляции
Расчет воздухообмена по выделенным вредностям:
L = G *1000/(ПДК-Со), где
G - количество выделяемых вредностей в единицу времени; Со - содержание вредных веществ в подаваемом воздухе. Со=30% от ПДК
Расчет воздухообмена по кратности:
К= L/Vn,
где Vn - объем помещения.
Исходные данные: G = 0,75 мг/ч; ПДК = 20 мг/ м куб.; Со = 2,26 мг/м куб.;
Vn = 84 м куб.; L = 0,75 * 1000 / (20 – 2,26) = 42,28 (м куб./ч); К =42,28/84 = 0,5.
Таким образом необходимо проводить общеобменную вентиляцию 2 раза в час.
Расчет воздухообмена местной вентиляции
L = 3600 * V * F, где
V - скорость воздуха в сечении рабочего отверстия;
F - площадь рабочего отверстия.
Исходные данные:
V = 0,1 м / с; F = 0,9 м кв.
L = 3600 * 0,1 * 0,9 = 324 (м куб./ с)
5. ЭКОНОМИЧЕСКОЕ ОБОСНОВАНИЕ РАЗРАБОТКИ
В настоящем дипломном проекте рассматриваются вопросы, связанные с разработкой Учебно-тренировочных средств (УТС) на основе интерактивных электронных технических руководств (ИЭТР) по подготовке РБ «Бриз-М» на технической позиции.
Исторически сложилось так, что при создании космических ракетных комплексов учебно-тренировочные средства к ним разрабатывались в недостаточном объеме. Аналогичная ситуация складывается и при разработке КРБ «Бриз-М». Так, за весь прошедший период разработки этого комплекса учебно-тренировочным средствам внимания практически не уделялось и это несмотря на то, что они, согласно схеме деления комплекса, являются его составной частью.
Создание УТС сопряжено с целым рядом трудностей и в первую очередь – это финансовые ограничения. Вместе с тем для эксплуатирующей организации вопрос обеспеченности учебно-тренировочными средствами в настоящее время приобретает особое значение. Это обусловлено следующими основными причинами:
1. При разработке комплекса предполагается его значительное насыщение средствами автоматизации, электронно- вычислительной техникой и т.д. Сама техника становится всё более сложной по устройству и как следствие в эксплуатации. Это предъявляет повышенные требования к квалификации обслуживающего персонала.
2. Целый ряда специфических особенностей профессиональной деятельности операторов в процессе подготовки РБ к запуску и в полёте связанных с восприятием огромного количества информации в ходе контроля протекающего процесса, его анализа и принятия управленческого решения приводит к необходимости их более качественной подготовки и периодической тренировки.
3. Ожидаемый темп пусков на начальной стадии эксплуатации КРБ, а по-видимому и в дальнейшем, будет не очень высок. Для сохранения и совершенствования профессиональных навыков необходима периодическая тренировка обслуживающего персонала.
5.1. Постановка задачи для расчета технико-экономической эффективности УТС на основе ИЭТР
Основной целью создания УТС на основе ИЭТР, была необходимость сократить время, трудовые и материальные затраты в сравнении с созданием обычных УТС (на основе макетов и плакатов).
Для разработки УТС на основе ИЭТР требуется пять инженеров-испытателей, которые разрабатывают программное обеспечение и заполняют базы данных разрабатываемого УТС.
В качестве базового варианта рассматривается процесс создания и разработки обычных УТС (на основе макетов и плакатов).
Новый вариант соответствует созданию и разработке УТС на основе ИЭТР. При этом должна быть обеспечена сопоставимость сравниваемых вариантов по программе и числу испытаний, качественным параметрам, фактору времени и социальным факторам.
Сравнительная характеристика базового и нового вариантов представлена в таблице 5.1.
Таблица 5.1.
| Параметры для сравнения |
Базовый вариант |
Новый вариант |
| Расходы на разработку и создание плакатов и макетов изделий |
150 тыс. руб. |
100 тыс. руб. |
| Создание материальной части (изделия/мат. модели) |
900 тыс. руб. |
850 тыс. руб. |
| Прочие затраты |
200 тыс. руб. |
300 тыс. руб. |
| Время на изготовление/разработку |
5 месяцев |
6 месяцев |
5.2. Определение технико-экономической эффективности УТС на основе ИЭТР
Основным показателем экономической эффективности затрат на создание и внедрение автоматизированных систем является годовой экономический эффект. В качестве основных критериев выбора эффективного варианта автоматизированных систем используются комплексные показатели экономического обоснования:
· минимум приведенных затрат;
· максимум экономического эффекта;
· максимум превышения значения расчетного коэффициента экономической эффективности над нормативным;
· минимальное значение срока окупаемости капитальных затрат.
Абсолютная экономическая эффективность создания и внедрения автоматизированных систем ЕА определяется как отношение условно-годовой экономии ЭУ-Г, полученной за счет внедрения соответствующих систем, к капитальным затратам, вызвавшим этот прирост:
где S1 и S2 - текущие годовые затраты на проведение испытаний до и после внедрения новой УТС;
К - капитальные вложения в создание и внедрение системы;
Nг – число испытательных стендов и ЭУ, использующих разработанную систему; NГ = 1, т.к. внедренная система измерений уникальна и используется для единственной ЭУ.
Общая эффективность, полученная в результате расчета, сравнивается с величиной нормативного коэффициента экономической эффективности ЕН. Для вычислительной техники и автоматизированных систем нормативный коэффициент ЕНВТ=0,35. При обосновании будущей экономической эффективности капитальных вложений определяется срок их окупаемости:
Условием целесообразности капитальных затрат является превышение расчетной величины срока окупаемости величины нормативного срока, т.е. ТОК ³ ТНВТ.
Решение о целесообразности создания и внедрения автоматизированных систем измерений принимается на основе годового экономического эффекта, определяемого по разности приведенных затрат процесса проведения испытаний при использовании базового и нового вариантов ИС.
Приведенные затраты представляют собой в этом случае сумму годовых текущих затрат на проведение испытаний и нормативной величины капитальных вложений:
Ci = Si + EНВТ×Кi, (5.3)
где Ci – приведенные затраты по i-ому варианту, тыс.руб./год;
Si – годовые текущие затраты по i-ому варианту, тыс.руб./год;
Кi – капиталовложения на создание и внедрение ИС по i-ому варианту, тыс.руб.
Показателями сравнительной экономической эффективности являются годовой экономический эффект Эг, условно-годовая экономия Эу-г, расчетный коэффициент сравнительной экономической эффективности ЕН, расчетный срок окупаемости капитальных затрат Ток.
5.3. Смета затрат на разработку и внедрение УТС на основе ИЭТР
Под капитальными затратами понимается совокупность единовременных расходов на разработку УТС на основе ИЭТР, осуществляемых только один раз для долговременного и многократного использования, а также расходов на техническое и математическое обеспечение, в том числе на разработку алгоритмов и программ.
К = КРАЗР + КТО + КМО + КЭКСПЛ + КОБР , (5.4)
где К – полные капитальные вложения на осуществление проектного варианта, тыс.руб;
КРАЗР – предварительные затраты на разработку системы, тыс.руб;
КТО - затраты на комплекс технических средств, в том числе на оборудование, ЭВМ, периферийную технику, тыс.руб;
КМО – затраты на математическое, в т.ч. программное КПРГ обеспечение УТС на основе ИЭТР, тыс.руб;
КЭКСПЛ – затраты на этапе эксплуатации (при проведении испытаний), тыс.руб;
КОБР – затраты на обработку полученных результатов, тыс. руб.
Определение затрат на разработку УТС на основе ИЭТР
КРАЗР = КПР + КОТЛ , (5.5)
где КПР – затраты, связанные с проектированием СИ, тыс.руб.;
КОТЛ – затраты, связанные с настройкой и отладкой СИ, тыс.руб.
Затраты на проектирование системы рассчитываются по формуле:
КПР = {å tПР i × LОС i × [(1+ kДЗ) × (1+kСТ) + kН]}× (1+kРП), (5.6)
где tПР i - время, затраченное на проектирование данной СИ работником i-той квалификации, чел./мес.;
LОС i - основная заработная плата разработчика i-той квалификации, руб./мес.;
kДЗ - коэффициент, учитывающий дополнительную заработную плату разработчика СИ, в долях к основной заработной плате, kДЗ = 0,12;
kСТ - коэффициент, учитывающий все отчисления (пенсионный фонд, органы социального страхования и др.) на заработную плату разработчика, в долях к сумме основной и дополнительной заработной платы, kСТ = 0,39;
kН - коэффициент, учитывающий накладные расходы организации, в которой разрабатывается система, в долях к основной заработной плате разработчиков, kН = 0,5-0,8;
kРП - норматив рентабельности, учитывающий прибыль организации, разрабатывающей систему, в долях ко всем затратам данной организации на разработку системы, kРП = 0,14.
Затраты на отладку системы рассчитываются по формуле:
КОТЛ = (1+kРП) (å tОТЛ i × LОС i × [(1+ kДЗ) × (1+kСТ) + kН]+ tМВ × SЭКВ МЧ}, (5.7)
где tОТЛ i – время, затраченное на отладку системы, ч;
tМВ – машинное время привлеченной ЭВМ, потребное для отладки СИ, ч;
SЭКВ МЧ – стоимость 1 часа машинного времени, руб.
Определение затрат на комплекс технических средств
Непосредственно для разработки УТС на основе ИЭТР и проведения испытаний на ЭУ требовалось приобретение новых технических средств, а также использовались имеющиеся на балансе предприятия измерительная аппаратура и вычислительная техника. Поэтому затраты на комплекс технических средств учитываются частично как капитальные на создание системы и частично как текущие на этапе эксплуатации.
Определение затрат на разработку и внедрение математического и программного обеспечения
Затраты на разработку математического обеспечения рассчитываются по формуле:
КМО = {å tМО i × LОС i × [(1+ kДЗ) × (1+kСТ) + kН]}× (1+kРП), (5.8)
где tМО i - время, затраченное на разработку математического обеспечения работником i-той квалификации, чел./мес.
Повсеместное внедрение вычислительной техники в различные сферы деятельности человека привело к стремительному росту объема множественных логических и вычислительных функций, возлагаемых на программные продукты последнего десятилетия. Возрастание значения результатов функционирования пакетов прикладных программ и сложных комплексов программ управления и обработки информации обусловило повышение интереса пользователей и разработчиков к анализу качества и затрат создаваемых и эксплуатируемых программ. Программы для эксплуатации, рассматриваемые отдельно от их создателей, определяются понятием программного продукта, который оформляется документацией как промышленное изделие.
КПРГ = КПРОД + КЭКС + КСОПР , (5.9)
где КПРОД - совокупные затраты на создание программного продукта и обеспечение решения заданных функциональных задач, в том числе на технологическое обеспечение и аппаратуру реализующей ЭВМ;
КЭКС - затраты на эксплуатацию программ и аппаратных средств, реализующих программный продукт, а также потери вследствие ограниченных характеристик ЭВМ и неидеальности программ;
КСОПР - затраты на сопровождение программ, включающие затраты на хранение и контроль их состояния, проведения модернизации и исправление ошибок.
Экономическая эффективность от создания программного продукта характеризуется величиной экономии общественного труда, энергии, материалов и т.д., выраженной через их стоимость. Эффективность функционирования программного продукта проявляется на этапе эксплуатации и возрастает по мере проведения модернизаций в процессе сопровождения.
Определение годовых текущих затрат на этапе эксплуатации
Годовые текущие затраты на этапе эксплуатации включают следующие виды затрат:
КЭКСПЛ = КОБ + КЭН + КЗП + КРМ, где (5.10)
КОБ - расходы на содержание и эксплуатацию оборудования;
КЭН - расходы на электроэнергию;
КЗП - заработная плата и отчисления;
КРМ - затраты на расходные материалы.
Затраты на содержание и эксплуатацию оборудования состоят из:
- амортизации основного оборудования;
- расходов на ремонт - 5% от стоимости оборудования.
- расходов на содержание оборудования - 4% от стоимости оборудования.
Амортизационные отчисления рассчитываются по формуле:
DA = å аi × Кб / 100, (5.11)
где аi – норма амортизационных отчислений на i-ый вид основных фондов системы (помещение, комплекс технических средств, вспомогательное оборудование и т.д.), %;
Кб – балансовая (первоначальная) стоимость основных фондов системы i-того вида, тыс.руб.
Затраты на энергию определяются по нормам расхода и цене единицы потребляемой мощности.
КЭН = N × t × CКВТ, (5.12)
где N - мощность используемого оборудования, кВт;
t - время использования оборудования, ч;
СКВТ - стоимость 1 кВт-ч.
Фонд заработной платы рассчитывается по всем сотрудникам, задействованным в испытаниях, исходя из их численности, категорий, схем должностных окладов, тарифных сеток и ставок.
5.4. Смета затрат (в стоимостном выражении)
Расчет текущих затрат на разработку и внедрение базового варианта УТС
Определение затрат на этапе разработки системы измерений
Для подбора необходимого оборудования требуется пять инженеров без знания автоматизации с основной заработной платой 4000 руб./мес. Время, затраченное на подбор оборудования t =0,25 мес. (1 неделя)
Ввиду того, что система измерений для данной ЭУ достаточно проста в реализации, то нет необходимости в разработке предварительного проекта. Настройка и отладка СИ производились на месте без применения ЭВМ.
При монтаже, настройке и отладке системы измерений был задействован следующий персонал:
· Инженер-системотехник с основной заработной платой LОС1=4000 руб./мес.
· Инженер-электрик с основной заработной платой LОС2=3300 руб./мес.
Время, затраченное ими на отладку системы, t=0,25 мес. (1 неделя).
Исходя из формулы (5.6):
КРАЗР = (1+0,14) × [(1+0,12) × (1+0,39) +0,65] × {0,25 × 4000 +0,25 × 4000 + 0,25 × 3300} = 7106,99 руб.
Итак, затраты на разработку системы составили 7106,99 руб.
Определение стоимости комплекса технических средств
Затраты на амортизацию оборудования:
SАМ = 0,13 × КТО = 0,1 × 14420 + 0,05 × 98000= 6342 руб.
Расходы на ремонт оборудования:
SРЕМ = 0,05 × КТО = 0,05 ×115580=5779 руб.
Расходы на содержание оборудования:
SСОД = 0,04 × КТО = 0,04 × 115580=4623,2 руб.
Общие затраты на оборудование:
SОБОР = SАМ + SРЕМ + SСОД =15025,2 + 5779 + 4623,2 = 16744,2 руб
Определение затрат на электроэнергию.
Стоимость 1 кВт-ч СКВТ = 0,8 руб. (по данным бухгалтерии предприятия).
Суммарная мощность оборудования: N = Nд + Noc + Nвк =3,192 кВт
Затраты на энергию составят: Кэн1 = N × t × CКВТ = 3,192 кВт × 40ч.× 1,1руб./кВт-ч = 102,144 руб.
Время проведения эксперимента - 352 ч. (2 мес.). В течение этого времени работает весь комплекс технических средств.
Затраты на энергию при проведении эксперимента:
Кэн2 = 3,192 кВт × 352 ч.× 1,1 руб./кВт-ч =898,87 руб.
Суммарный расход на электроэнергию: Кэн = Кэн1 + Кэн2 = 1001,01 руб.
Определение фонда заработной платы
Размеры основной заработной платы обслуживающего персонала взяты по данным бухгалтерии предприятия согласно учетным ведомостям от 23.01.2003.
Время проведения испытаний – 2 мес.
По требованиям техники безопасности для проведения испытаний необходим следующий персонал:
а) Три инженера-испытателя для снятия показаний с датчиков и первичной обработки результатов вручную (погрешность измерений при этом очень высока – 7-8 %):
· основная заработная плата Lос i =4000 руб./мес.
· дополнительная заработная плата Lдз i = 0,12 × LOC i = 480 руб./мес.
· социальные отчисления Lсоц i = 0,39(LOC i +Lдз i) =1747,2 руб./мес.
Затраты на заработную плату за период проведения испытаний:
Кзп1 = 3 × 2 × (LOC i +Lдз i + Lсоц) =37363,2 руб.
б) Техник-контролер:
· основная заработная плата Lос =3300 руб./мес.
· дополнительная заработная плата Lдз =0,12 × Lос = 396 руб./мес.
· социальные отчисления Lсоц = 0,39(Lос +Lдз) = 1441,44 руб./мес.
Затраты на заработную плату за период проведения испытаний:
Кзп2 = 2 × (Lос +Lдз + Lсоц) = 10274,88 руб.
Затраты на заработную плату обслуживающего персонала за период проведения испытаний:
Кзп = Кзп1 + Кзп2 = 47638,08 руб.
Затраты на расходные материалы (бумага, пишущие и чертежные принадлежности, расходные материалы оргтехники) - 8000 руб/год.
Как уже отмечалось выше, осуществить на практике достоверную обработку полученных данных на основе математической модели, максимально приближенной к реальным процессам, не представляется возможным, вследствие сложности, громоздкости и необходимой точности расчетов. Но расчеты аналогичного уровня сложности ранее производились. Все использованные ниже данные взяты по аналогии.
Обработкой результатов предприятия-разработчика занимается целый отдел (8 человек) квалифицированных инженеров. На обработку полученных данных им понадобилось бы не менее 1 месяца. При этом вероятность ошибки расчетов и, следовательно, вероятность выбора неверной математической модели, описывающей реальный процесс, невероятно высока – до 10%.
· основная заработная плата специалиста Lос i =3500 руб./мес.
· дополнительная заработная плата Lдз i = 0,12 × LOC i = 420 руб./мес.
· социальные отчисления Lсоц i = 0,39(LOC i +Lдз i) =1528,8 руб./мес.
Затраты предприятия на заработную плату отдела (за 1 мес.):
Кзп = 8 × (LOC i +Lдз i + Lсоц) =43590,4 руб.
В течение расчетного периода предприятие сможет провести 5 полных циклов работ (в последнем, 5-ом, цикле на этапе обработки результатов предприятию придется привлечь в 2 раза больше сотрудников, чтобы завершить этот этап за 0,5 месяца).
Определение годовых текущих затрат на проведение испытаний с использованием предлагаемой УТС на основе ИЭТР
Годовые текущие затраты на проведение испытаний с использованием предлагаемой УТС на основе ИЭТР включают в себя следующие виды затрат:
· заработная плата с начислениями;
· основные и вспомогательные материалы;
· энергия;
· расходы на содержание и эксплуатацию оборудования;
S = SЗ/П + SМАТ + SЭН + SОБОР , (5.13)
S1 = 43590,4*6 + 47638,08*5 + 8000 + 1001,01*5 + 16744,2 = 529482,05 руб.
Капитальные вложения в создание и внедрение системы по базовому варианту:
К = 7106,99 + 16744,2 + 37170,5 + 1001,01*5 + 47638,08*5 + 8000 + 43590,4*6 = 573759,54 руб.
Расчет капитальных и текущих затрат на разработку и внедрение нового варианта УТС на основе ИЭТР (автоматизированной).
Определение затрат на разработку системы измерений
Предварительные затраты предприятия на подбор и монтаж необходимого оборудования, настройку и отладку системы измерений остаются те же самые –7106,99 руб.
Затраты на разработку МО и ПО
Над разработкой математического аппарата, описывающего физические процессы, протекающие на ЭУ во время проведения испытаний, работают 2 специалиста с основной заработной платой 3500 руб./мес. в течение 0,5 мес. (2 недели).
Исходя из формулы (5.8):
КМО = (1+0,14) × [(1+0,12) × (1+0,39) +0,65] × {0,5 × 3500 +0,5 × 3500} =8805,13 руб.
Программный продукт (включая этапы собственно создания, отладки и сопровождения ПО) создается двумя инженерами-программистами с основной заработной платой 3500 руб./мес. в течение 0,5 месяца.
Исходя из формулы (5.6):
КПРГ = (1+0,14) × [(1+0,12) × (1+0,39) +0,65] × {0,5 × 3500 +0,5 × 3500} =8805,13 руб.
Таким образом, затраты на разработку МО и ПО для УТС на основе ИЭТР составили К= КМО + КПРГ = 17610,26 руб.
Затраты на эксплуатацию
Определение годовых затрат на оборудование
Исходя из формулы (5.11):
DА = 0,1 × 14420 + 0,125 × 46200 + 0,125 × 5800 + 0,1 × 112000 + 0,143 × 8400 = 20343,2 руб.
Расходы на ремонт оборудования:
SРЕМ = 0,05 × КТО = 0,05 ×186970 = 9348.5 руб.
Расходы на содержание оборудования:
SСОД = 0,04 × КТО = 0,04 × 186970 = 7478.4 руб.
Общие затраты на оборудование:
SОБОР = SАМ + SРЕМ + SСОД =20343.2 + 9348.5 + 7478.4 = 37170.5 руб.
Определение затрат на электроэнергию.
Стоимость 1 кВт-ч СКВТ = 1,1 руб. (по данным бухгалтерии предприятия).
Суммарная мощность оборудования: N =1,894 кВт
Затраты на э/энергию составят: Кэн1 = N × t × CКВТ = 1,894 кВт × 40ч.× 1,1руб./кВт-ч = 60,61 руб.
Время на разработку программного обеспечения – tпрг = 80 ч. Два используемых персональных компьютера потребляют 0,4 кВт.
Кэн2 = 25,6 руб.
Время проведения эксперимента - 80 ч. (2 нед.). В течение этого времени работает весь комплекс технических средств.
Затраты на энергию при проведении эксперимента:
Кэн3 = 2,494 кВт × 80 ч.× 1,1 руб./кВт-ч =159,62 руб.
Суммарный расход на электроэнергию: Кэн = 245,83 руб.
Определение фонда заработной платы.
Время проведения испытаний – 0,5 мес.
Во время проведения экспериментов задействован только 1 инженер-испытатель:
· основная заработная плата Lос i =4000 руб./мес.
· дополнительная заработная плата Lдз i = 0,12 × LOC i = 480 руб./мес.
· социальные отчисления Lсоц i = 0,39(LOC i +Lдз i) =1747,2 руб./мес.
Затраты на заработную плату за период проведения испытаний:
Кзп = 0,5 × (LOC i +Lдз i + Lсоц) = 3113,6 руб.
Затраты на расходные материалы (бумага, носители информации) – 4500 руб/год.
Определение годовых текущих затрат на проведение испытаний с использованием новой УТС и капитальных вложений.
В течение расчетного периода предприятие сможет провести 15 полных циклов работ. Годовые текущие затраты на проведение испытаний с использованием предлагаемой УТС на основе ИЭТР включают в себя следующие виды затрат:
S2 = 37170.5 + 245.83*15 + 3113.6*15 + 4500 + 141.4*15 = 941182.95 руб.
Капитальные вложения в создание и внедрение системы:
К = 7106,99 + 17610,26 + 186970 + 37170,5 + 245,83*15 + 3113,6*15 + 4500 + 141,4*15 = 305870,2 руб.
5.5. Расчет экономической эффективности от внедрения УТС
на основе ИЭТР
Для расчета экономической эффективности от внедрения УТС на основе ИЭТР и ее использования при проведении испытаний на экспериментальной установке необходимо рассмотреть некий идеальный вариант (модель) и задаться следующими допущениями:
· расчетный период равен 1 году;
· предприятие имеет возможность принимать заказы на проведение испытаний с использованием данной ЭУ в неограниченном количестве в течение всего расчетного периода;
· ввиду того, что на всех этапах испытаний участвуют высококвалифицированные специалисты, все работы проводятся в одну смену (8 ч.).
Определение технико-экономической эффективности УТС на основе ИЭТР
1. Определим абсолютную экономическую эффективность от создания и внедрения автоматизированной УТС:
Исходя из формулы (5.1):
ЕА = (529482,05 – 94182,95) / 305870,2 = 1,42.
Поскольку нормативный коэффициент экономической эффективности для вычислительной техники и автоматизированных систем Енвт=0,35, можно сделать вывод, что разработанная УТС даст существенный экономический эффект при длительной эксплуатации.
2. Определим срок окупаемости капитальных вложений:
Исходя из формулы (5.2):
Ток = К / (S1 – S2) = 0.70 (года)
Нормативный срок окупаемости Тнвт = 2,86 (года).
Поскольку Ток ³ Тнвт, можно сделать вывод о целесообразности капитальных затрат.
3. Определим приведенные затраты для базового и нового вариантов:
Исходя из формулы (5.3):
Сбаз = Sбаз = 529482,05 руб.
Снов = Sнов + 0,35 × Кнов = 94182,95 + 0,35 × 305870,2 = 201237,52 руб.
4. Годовой экономический эффект определяется как разность приведенных затрат процесса проведения испытаний при использовании базового и нового вариантов УТС на основе ИЭТР, т.е.:
Эг = (Ek * K1 + S1 ) - (Ek * K2 + S2 ) (5.14)
После внедрения новой автоматизированной информационно измерительной системы количество циклов испытаний в год увеличилось в три раза (с 5 до 15 циклов). Имеет смысл сравнить затраты из расчета равной производительности. Т.е. производительность стенда с новой автоматизированной системой была бы такой же, как если бы использовалось 3 стенда. Годовой экономический эффект будет:
Эг = ((0,15 * 573759,54)*3 + 941182.95) - (0,15 * 305870,2 + 529482,05) = 1199374,743 – 575362,58 = 624012,163 руб.
Результаты полученные при сравнении УТС на основе ИЭТР и УТС на основе макетов изделия приведены на рисунке 5.1.
Столбцы черного цвета – базовый вариант УТС;
Столбцы белого цвета – УТС на основе ИЭТР.
Рис. 5.1. Сравнительная диаграмма базового УТС
и УТС на основе ИЭТР
ВЫВОДЫ
Таким образом, на основании произведенных расчетов можно сделать вывод, что УТС на основе ИЭТР имеет несомненное преимущество по сравнению с бумажным аналогом, поскольку:
· значительно повышается качество и понижается скорость обучения персонала;
· значительно сокращаются время и трудоемкость подготовки и новых УТС для модернизированных моделей КРБ;
· сокращается численность привлекаемых людских ресурсов, следовательно, уменьшаются расходы предприятия на оплату труда и всевозможные отчисления в государственную казну;
· Происходит значительная стандартизация и приближение к мировым стандартам всей применяемой документации;
· внедряя автоматизированную УТС, предприятие на один шаг приближается к мировым стандартам по техническому оснащению производственных процессов и исследовательских работ.
ЛИТЕРАТУРА
1. Геворкян А.М., Минаев Э.С. и др. «Экономика и организация производства летательных аппаратов»; «Машиностроение», Москва, 1995 г., 4-е изд.
2. Ильин Ю.М., Коротков Т.Л. и др. «Методические указания к курсовой работе и дипломному проектированию по расчету экономической эффективности от внедрения АСУ ТП и САПР». – М.: Изд. МИЭТА, 1987 г.
3. ГОСТ 22269-76 «Рабочее место оператора. Взаимное расположение элементов рабочего места. Общие эргономические требования».
4. Лапин В.Л., Попов В.М., Рыжков Ф.Н., Томаков В.И. «Безопасное взаимодействие человека с техническими системами: Учебное пособие»; Курский ГТУ, Курск, 1995 г.
5. СанПиН 2.1.6.575-96 «Гигиенические требования к охране атмосферного воздуха населенных мест».
6. СанПиН 2.2.1/2.1.1.567-96 «Санитарно-защитные зоны и санитарная классификация предприятий, сооружений и иных объектов».
7. СанПиН 2.2.2.542-96 «Гигиенические требования к видеодисплейным терминалам, персональным электронно-вычислительным машинам и организация работы»
8. Сергеев Е.М., Кофф Г.Л. «Рациональное использование и охрана окружающей среды городов», Москва, 1989 г.
9. Сибаров Ю.П., Сколотнев Н.Н., Васин В.К., Нагинаев В.Н. «Охрана труда в вычислительных центрах», М.: Изд. Сфера, 1990 г.
10. СНиП 23-05-95 «Естественное и искусственное освещение».
11. Методическое пособие по преддипломной практике и дипломному проектированию» часть 1 Василенко Е.Д., Василенко А.Е., Шилов Г.Ф.
12. Методическое пособие по преддипломной практике и дипломному проектированию» часть 2 Василенко Е.Д., Василенко А.Е., Шилов Г.Ф.
13. Методические указания по выполнению главы пояснительной записки в дипломном проекте «Охрана труда и окружающей среды» Сердюк Н.И., Скрипников А.В., Лепин В.Л.
14. “Курсовое и дипломное проектирование по вентиляции” В.П. Титов