| Скачать .docx | Скачать .pdf |
Курсовая работа: Курсовая работа: Терапия
Министерство общего и профессионального образования РФ
Владимирский Государственный Университет
Кафедра РТ и РС
Курсовая работа:
«Микроволновая терапия.»
Выполнил: ст. гр. МИД-195
Предеин А.Е.
Проверил: Жанина Т.В.
Владимир 1999 год.
План:
1)Микроволновая терапия.
а) Механизм действия микроволн.
2)Дециметровая терапия.
а) Физиологическое и лечебное действие.
б) Аппаратура.
в) Дозиметрия.
г) Техника проведения процедур.
д) Показания к ДМВ терапии.
е) Противопоказания.
3)Сантиметроволновая терапия.
а) Физиологическое и лечебное действие.
б) Аппаратура.
в) Дозиметрия.
г) Техника проведения процедуры.
д) Показания для СМВ терапии.
е) Противопоказания
4)ММВ-терапия.
а) Меры предосторожности.
б) Показания.
в) Противопоказания.
5) Аппарат для ультразвуковой терапии УЗТ-1.03 У.
Микроволновая терапия.
СВЧ терапия – метод лечения, основанный на использовании энергии микроволн - электромагнитного поля сверхвысокой частоты.
Микроволны (микрорадиоволны, СВЧ- колебания) имеют длину от 1 м до 1 мм, частоту колебаний соответственно от 300 до 300 000 Мгц. В спектре электромагнитных радиоволн они занимают промежуточное место между волнами ультравысокой частоты и инфракрасными лучами. Этим обусловлены физические свойства микроволн, характерные как для радиоволн ультравысокой частоты (способность проникать в биологические ткани), так и для инфракрасных лучей (отражение, преломление, поглощение биологическими тканями).
В лечебной практике используют микроволны дециметрового (0,1 – 1м) и сантиметрового (1-10 см) диапазонов и в соответствии с этим различают 2 вида СВЧ-терапии, дециметровая (ДМВ-терапия) и сантиметровая (СМВ-терапия).
Механизм действия микроволн на организм складывается из двух процессов: первичного (непосредственного влияния микроволны на ткани организма) и вторичного – возникающих в ответ на него нейрорефлекторных и нейрогуморальных реакций целостного организма. Первичное влияние проявляется в зоне локального воздействия состоит из теплового и нетеплового компонентов. Тепловой компонент проявляется нагревом тканей за счёт эндогенного тепла, которое образуется в результате трения, возникающего при движениях свободных ионов электролитов тканей и колебаний дипольных молекул вокруг своей оси в процессе ориентировки их по направлению силовых линий электромагнитного поля, а также за счёт выделения тепла молекулами воды при поглощение ими энергии микроволн. Частота колебаний поля молекул воды совпадает с частотой СВЧ-колебаний, поэтому наибольшее образование тепла происходит в тканях, содержащих значительное количество воды,- в крови, лимфе, мышцах, тканях паренхиматозных органов. Нетепловой (экстратермический, осциляторный) компонент механизма действия микроволн заключаются в различных внутримолекулярных физико-химических и электрохимических изменениях и в структурных перестройках, возникающих под влиянием энергии микроволн в сложных биоколлоидных системах (изменение осмотического давления, поверхностного напряжения, проницаемости клеточных мембран, коллоидного состояния цитоплазмы и межклеточной жидкости, ориентирование элементов крови и поляризованных ветвей белковой макромолекул в направление силовых линий электромагнитного поля, резонансное поглощение энергии колебаний отдельными макромолекулами, аминокислотами и др.). Эти изменения при адекватной дозировки СВЧ-терапии излучают функциональное состояние клеток, тканей и органов. Соотношение теплового и нетеплового компонентов в действии микроволн определяется дозировкой воздействия – при малой мощности преобладает нетепловой, а при большой мощности – тепловой компонент.
Для сантиметровых волн характерно больше (до 60%) отражение от поверхности тела и менее глубокое (в среднем на 5 – 6 см) проникновение в ткани. Кроме того, эти волны неравномерно поглощаются различными слоями тканей, что может приводить при неадекватной дозировки к перегреву некоторых участков. Дециметровые волны более равномерно и глубоко (в среднем на 8 – 9 см) проникают в ткани, вследствие этого ДМВ-терапия применяется в лечебной практике более широко.
Вторичное звено механизма лечебного действия микроволны состоит из непосредственного влияния поглощённой энергии на рецепторы тканей, возникновение начального рефлекса с хемо-, баро-, термо-, рецепторов в зоне облучения. Эти импульсы через нервные стволы поступают в Ц.Н.С., что обеспечивает ответную реакцию «исполнительных» органов. Образующиеся при воздействие микроволны биологически активные вещества вызывают раздражение рецепторов вне зоны воздействия (гуморальный компонент) и обуславливают общее физиологическое действие через центральные регулирующие механизмы. В лечебных дозах микроволн обладают противовоспалительным, бактериостатическим, болеутоляющим, спазматическим действием.
СВЧ-терапия оказывает регулирующее, стимулирующее влияние на нервную эндокринную систему, обмен веществ. Под действием микроволн отмечается нормализация тонуса магистральных и периферических сосудов, активация процессов микроцирауляции (ускорение тока крови в капиллярах, их расширение), повышение оксененации крови, регуляция сосудистой проницаемости, улучшение окислительно-восстановительных процессов и трофики тканей. ДМВ-терапия, активируя адаптационно-трофические системы –симпатоадреналовую (преимущественно её симпатическое звено) способствует улучшению глюкокорнекоидной функции надпочечников и подавлению аллергических реакций, нормализации трофики синовиальной оболочки.
СМВ-терапия способствует улучшению проводимости периферических нервов, нормализации лабильности нервно-мышечного аппарата, уменьшению атрофии мышц, оказывает обезболивающее действие.
Дециметровая терапия (ДМВ-терапия) – метод, при котором с лечебными целями применяют дециметровые волны длиной 69,65 и 33 см (частота электромагнитного поля 433,460 и 915 МГц соответственно). В нашей стране аппаратура работает на частоте 460 МГц, в Западной Европе – 433 МГц, в США – 915 Мгц.
Действие микроволн на организм имеет ряд особенностей зависящих от их физических свойств. Микроволны, как и свет, можно сконцентрировать в достаточно узкий пучок, что позволяет их локализовать на определённом участке тела.
При ДМВ – воздействие отражение происходит в основном от кожи. В то же время толщина кожи и подкожной жировой клетчатки существенно не влияет на отражение. В результате создаются условия для более равномерного послойного поглощения энергии Э.М.П. дециметрового диапазона волн. Последнее связано с тем, что при воздействиях ДМВ отсутствуют, как правило, условия, при которых могут возникнуть стоячие волны, обусловливающие перегревание кожи и подкожной жировой клетчатки, а также «горячие точки», наблюдаемые иногда при СМВ-терапии, что является существенным преимуществом ДМВ-терапии. В среднем ДМВ проникает в ткани человека до 9 см.
Механизмы поглощения энергии дециметровых волн сложны и полностью не изучены. Часть поглощенной энергии переходит в тепло (тепловое действие), в физико-химические («осциляторные») эффекты.
Первичные механизмы взаимодействия ДМВ с тканями человека определяются конформационными процессами в белковых структурах клетки, в частности метахондрий, явлениями поляризации на мембранах и изменением их проницаемости, когерентным колебанием молекул, главным образом связанной воды, а также взаимодействием собственных зарядов электрически активных элементов клетки с воздействующим электромагнитным полем.
При взаимодействие ДМВ большая часть поглощенной энергии превращается в тепло. В живых тканях повышение температуры идёт и за счёт активизации местных обменных процессов. Локальное воздействие ДМВ в дозах, близких и терапевтических, обычно не вызывает повышение температуры тела человека. Однако общее интенсивное воздействие может вызывать общее повышение температуры тела, вплоть до гибели с явлениями перегрева. Температура в тканях, богатых водой при действии ДМВ в дозах, близких к лечебным, может подниматься, на 4 0 при сравнительно небольшом увеличении температуры в подкожном жировом слое. При этом повышение температуры в облучаемых тканях с первых минут воздействия, достигая максимума 10-15 минуте, а затем прекращается. Под влиянием образовавшего в тканях тепла происходит расширение сосудов, усиливается кроваток, что ведёт к охлаждению кровью тканей и уравниванию теплопродукции и теплоотдачи. Температура тканей снижается приблизительно на 20 С от максимальной и становиться устойчивой в течение всей процедуры.
Подкожная жировая клетчатка васкуляризирована слабо и охлаждающее действие крови в этой ткани проявляется незначительно. Поэтому следует избегать продолжительных и интенсивных воздействий дециметровыми волнами, которые могут привести к перегреванию подкожной жировой ткани. Нужно также принимать во внимание, что изменения центральной и периферической гемодинамики нарушают теплоотдачу и унос тепла кровью.
Минимальной продолжительностью дециметрового воздействия до появления эффективного повышения температуры следует считать длительность процедуры от 3 до 5 минут, а максимальной – 30 минут.
Физиологическое и лечебное действие. В ответ на воздействие ДМВ в организме развиваются как общие неспецифические реакции, характерные для большинства физических факторов, так и определённые специфические процессы присущие только данному виду энергии.
Выраженность этих реакций зависит от дозы, локализации воздействия, особенностей функционирования органов и систем больного, возраста, выраженности патологического процесса и других причин. В результате образовавшегося тепла и осциляторного эффекта в тканях активизируется местный метаболизм, микроциркуляция, изменяется содержание биологически активных веществ (листамин, серотонин и др.), уровень электрических процессов. Это ведёт к раздражению рецепторов и появлению рефлекторной афферентной импульсации. При воздействии лечебными дозами ДМВ, адекватными исходному состоянию больного, в организме устанавливается новый более высокий уровень функционирования нейрогуморальных систем, что ведёт к активизации адаптационных механизмов и повышению неспецифической резистентности организма.
ФМВ-терапия усиливает кровообращение, улучшает микроциркуляцию, метаболические процессы в тканях, органах, оказывает противовоспалительный, бронхолитический, спазматический эффекты, повышает глюкокортикогедную активность организма, обладает антиаллергическим действием.
Аппаратура. Для проведения ДМВ-терапии отечественная промышленность выпускает аппараты: «Волна - 2», «Ромашка» и т.д.. В ФРГ выпускаются аппараты: «Sirotherm» (фирма Simens), “Erbotherm”(фирма Erbe), в Нидерландах – «DW961»(фирма Philips) и др. Аппарат «Волна-2» стационарный, питается от сети переменного тока, напряжения 220 В. предназначен для проведения местных процедур ДМВ на любой участок тела больного выходит мощность 20-100 Вт. Аппарат имеет кабель, оканчивающийся вилкой для включения в сеть через розетку. Заземление аппараты выполнено по классу I и проходит через специальную заземлённую сетевую розетку. От аппарата выведен коаксиальный кабель, соединяющий магнетрон с излучателем. Аппарат комплектуется двумя излучателями – продолговатым (размером 35 * 16 см) и цилиндрическим (диаметром 15 см), которые крепятся на держателе. Продолговатый излучатель представляет собой полуволновой диполь, помещённый над экраном эллиптической форсин. Излучатель создаёт поток энергии, направленный в сторону, противоположную экрану, с максимальной активностью в средней части. Цилиндрический излучатель представляет собой два взаимоперпендикулярных полуволновых диполя, которые укреплены над экраном конической формы. Этот излучатель создаёт узкий поток энергии, направленный вперёд, с максимальной интенсивностью в центре. Излучающая поверхность излучателей закрыта крышкой из изоляционного материала. Аппарат эксплуатируется в специальной кабине, изолированной тканью с микропроводом.
Аппарат «Ромашка» портативный (переносной), питается от сети переменного тока напряжением 220 В. Выходная мощность аппарата составляет 12 Вт. Предназначен для проведения ФМВ-терапии в детской практике. Комплектуется 4 излучателями : два керамических цилиндрических (диаметром 40*100 мм), внутриполостной керамический и прямоугольный (размером 160*120 мм). При эксплуатации аппарата экранированная кабина не требуется.
Дозиметрия: Воздействия ДМВ дозируются по выходной мощности и по ощущению тепла больным. При использовании аппарата «Волна-2» выходная мощность до 30 Вт( тепловая доза)- приятное тепло. При дозе 60Вт (сильнотепловая доза) больной чувствует сильное тепло. При проведение процедуры от аппарата «Ромашка» мощность 6 Вт считают слабо тепловой, 6-8 Вт тепловой, 9-12 Вт сильнотепловой (диаметр излучателя 40 мм), продолжительность процедуры от 5 до 10-15 мин, общая длительность процедуры не более 30-35 мин, курс составляет 10-15-18 процедур проводимых ежедневно или через день . Повторный курс возможен через 3-4 месяца.
Техника проведения процедур. Процедуры ДМВ-терапии от аппаратов «Волна-2» и «Ромашка» проводят в положение лёжа или сидя. Перед процедурой больной снимает все имеющиеся металлические предметы во избежание ожогов и освобождает от одежды область, на которую должно оказываться воздействие. Больной занимает удобное положение. После процедуры отдохнуть 20 мин. Излучатели от аппарата «Волна-2» и прямоугольный излучатель от аппарата «Ромашка» располагают на расстоянии (воздушный зазор) 3-4см от поверхности конси-дистанционная методика. Цилиндрический излучатель от аппарата «Ромашка» располагают непосредственно на поверхности тела больного - контактная методика. Полостной излучатель с одетым на него специальным защитным колпачком вводят вагинально или реатально, свободный конец излучателя привязывают к бедру. Излучатели дезинфицируют спиртом.
Показания к ДМВ терапии.
ДМВ-терапия показана при остеохондрозе шейного, грудного и пояснично-крестцового отделов позвоночника с корешковым синдромом, деформирующем остеартрозы с синовитом и без него, ревматоидном артрите с активностью 1, 2 и 3 степени, бронхиальной астме преимущественно аллергической и инфекционно-аллергической формы, с лёгким и средним течением, при острой, затяжной и хронической пневмонии, гипертонической болезни не выше 2А стадии, реноваскулярной гипертонии после реконструктивных операций на почечных артериях (не раньше чем через 2 недели после операции), очаговом и трансмуральном инфаркте миокарда, начиная с 25-28 дня заболевания без тяжёлых осложнений в остром периоде при недостаточности кровообращения он выше 2 А степени со стенокардией напряжения и без неё при отсутствии прогностически неблагоприятных нарушений ритма и проводимости, ревматизм активностью не выше второй степени, в том числе с сочетатанным пороком митрального клапана сердца и комбинированным митрально-аортальным пороком при недостаточности кровообращения не выше первой степени и без нарушения ритма, при атеосклерозе сосудов головного мозга, язвенной болезни в фазе затухающего обострения, гастродуодените, хроническом гастрите, хроническом аднексите.
Противопоказаниями для назначения ДМВ-терапии служат острые воспалительные процессы, заболевания крови, доброкачественные и злокачественные опухолевые заболевания, беременность, наклонность к кровотечениям, недостаточность кровообращения выше 2 степени, стенокардия покоя, сердечная астма, аневризма сердца и сосудов, частые пароксизмальные нарушения ритма, тяжёлое течение хронической ишемической болезни сердца с частыми приступами стенокардии, резкое обострение всех заболеваний, язвенная болезнь со стенозом привратника и подозрением на пенетрацию, регидный антральный гастрит, металлические включения в тканях, эпилепсия.
Сантиметроволновая терапия (СМВ-терапия) - метод, при котором с лечебными целями применяют электромагнитные волны длиной 12,6 и 12,2 см (частота 2375 и 2450 МГц). Физические свойства СМВ определяют их действия на организм человека. При СМВ частота ЭМП близка частоте инфракрасной области оптического излучения, поэтому все физические законы, которым подчиняется свет, применимы к этому виду энергии в большей степени, чем при всех других частотах ЭМП.
Взаимодействие СМВ со средой сопровождается поглощением, отражением, преломлением, дифракцией и интерференцией. Особенностью СМВ является большая степень отражения (от 25 до 75 %) в зависимости от толщены подкожного жирового слоя, расстояния излучения от поверхности тела.
Другая особенность этого вида излучения состоит в возможности возникновения в живых тканях «стоячих» волн из-за отражения электромагнитной волны и наложение её на падающую волну. Вследствие этого в области, имеющий максимум электромагнитной энергии, может образоваться большое количество и вызвать перегревание вплоть до ожога тканей. Подобные условия иногда возникают в подкожном жировом слое в результате отражения СМВ на границе жир-мышца, последнее является одним из недостатков СМВ-терапии. Глубина проникновения СМВ в ткани составляет 3-5 см.
Интенсивность поглощения СМВ поверхностными слоями тканей человека ведёт к значительному их нагреву, более сильному, чем при ДМВ. Первичные механизмы взаимодействия с тканями человека обусловлены «осциляторными» и тепловыми компонентами действия. Температура в тканях повышается на 5 градусов С. Минимальная продолжительность воздействия на одну область 2-3 мин.
Физиологическое и лечебное действие. Облучение СМВ ведёт к возникновению рефлекторной и нейрогуморальной реакцией. Под его влиянием расширяются сосуды, увеличивается число функционирующих капилляров, усиливается крово – и лимфоток, оказывается противовоспалительное рассасывающее действие, повышается неспецифическое иммунологическое активность организма.
Аппаратура. Для проведения СМВ-терапии используют аппараты «Луч-58», «Луч-58-1» и «Луч-2». За рубежом для этого вида физиотерапии выпускают аппараты в ФРГ-«Erbotherm12-240»(фирма Erbe), Jirotherm 2450 (фирма Huttinger). Отечественные аппараты настроены на частоты 2375 Гц, зарубежные – 2450 МГц. Аппараты “Луч-58” и “Луч-58-1” стационарные, питаются от сети переменного тока напряжением 220 В. Предназначены для проведения местных процедур на любой участок тела. Выходная мощность от 16 до 150 Вт. Аппарат “Луч-58-1” по защите выполнен по классу I. В нём заземляющий провод и сетевой шнур помещены в один общий кабель, и заземление аппарата происходит через специальную заземлённую сетевую розетку. От обоих аппаратов выведен коаксиальный кабель, соединяющий магнетрон с излучателем. У аппарата 4 излучателя: 3 цилиндрически (диаметром 90, 110 и 140 мм) и 1 продолговатый (размером 300*90*90 мм), крепятся они на держателе. Каждый излучатель представляет собой отрезок волновода, открытого с одной стороны и закрытого с другой. Волновод возбуждается с помощью штыря, представляющего собой выступающий из конца коаксиального кабеля его центральный проводник. Излучающая поверхность излучателя закрыта крышкой из изоляционного материала. Аппараты эксплуатируются в кабинах изолированных тканью с микропроводом.
Аппарат «Луч-2» портативный (переносной), питается от сети переменного тока напряжением 220 В. выходная мощность от 2,5 до 20 Вт. Предназначен для лечения в детской практике. Имеет 3 излучателя цилиндрических – диаметром 115 мм без керамического наполнения, диаметром 35 и 20 мм с керамическим наполнением; излучатели внутриполостные – реактивный и валенальный.
Дозиметрия. СМВ по выходной мощности: слаботепловая, тепловая и сильнотепловая.
Для аппарата «Луч-58» слаботепловая – 20-30 Вт, тепловая – 35-60 Вт, сильнотепловая 65 и более Вт.
«Луч-2»; 2-4 Вт слаботепловая, 5-7 Вт – тепловая, сильнотепловая 13-20 Вт. Обычно применяются слаботепловые и тепловые дозы. Общая длительность одной процедуры не более 30 мин, курс 8-12-14 процедур, ежедневно или через день. Повторный курс через 4-6 мес.
Техника проведения процедуры. Аппараты «Луч-58» и «Луч-58-1» в экранированной кабине устанавливаются так, чтобы излучатель был направлен в сторону наружной стены. Перед процедурой больной снимет все металлические предметы. После процедуры отдых 20-25 мин.
Излучатели от аппаратов «Луч-58» и «Луч-58-1» располагают на расстоянии 5-6 см от кожи, а «Луч-2» контактно.
Показания для СМВ терапии: острые, подострые и хронические воспалительные заболевание придаточных пазух носа, среднего уха, миндалин, органов дыхания (бронхит, острая, затяжная и хроническая пневмонии), одонтогенные воспаления верхней и нижней челюсти, подострые и хронические воспалительные, травматические и дитрофические заболевания органов опоры и движения (миозит, эпикондилит, тендовагинит, межпозвонковый остеохондроз, деформирующий остеоартроз, бурсит, растяжения, ушиб), подострые и хронические заболевания половых органов (сальпингоофорит, простатит, эпидидимит), послеоперационные инфильтраты, фурункулы, гидрадениты, трофические язвы, язвенная болезнь желудка 12 перстной кишки в фазе затухающего обострения, гастродуодениты, хронический гастрит, гепатит.
Противопоказания: злокачественные новообразования, активный туберкулёз, беременность, тиреотоксикоз, системные заболевания крови, наличие в тканях металлических тел, недостаточность кровообращения выше второй степени, хроническая ишемическая болезнь сердца, инфаркт сердца и мозга, сердечная астма, аневризма сердца и сосудов, пароксизмальные нарушения ритма сердца, резкое обострение всех заболеваний органов пищеварения, язвенная болезнь со стенозом привратника и подозрением на пенетрацию, ригидный антральный гастрит, эпилепсия.
ММВ-терапия.
ММВ-терапия (милиметроволновая терапия) – метод электролечения, основанный на использовании электромагнитных волн сверхвысокой частоты. Электромагнитные миллиметровые волны (ЭМ ММВ) представляют собой распространяющееся в пространстве, средах и тканях Э.М.П. СВЧ от 30 до 300 МГц, что соответствует длине волны 10-1 мм. В лечебной практике используют нетепловые интенсивности ЭМ ММВ, при которых повышение температуры тканей при локальных воздействиях не превышает 0,10 С. энергия ЭМ ММВ поглощается молекулами свободной воды, водных растворов, белков, липидов, кислорода, коллагена, мембранами клеток, ДНК. Поглощение энергии ММВ кожей в три раза больше, чем СМВ и ДМВ.
ЭМ ММВ проникает в ткани на глубину 0,2 –0,6 мм, т.е. действует на эпидермис, сосочковый и ретикулярный слои кожи.
ЭМ ММВ влияют на коллагеновые волокна, расположенные в этих слоях кожи, и вызывают выделение биологически активных веществ, которые стимулируют выход гистамина из тучных клеток, это приводит к изменению проницаемости клеточных мембран.
Клетки, молекулы, атомы и другие частицы, из которых состоят живые организмы, имеют свой спектр электромеханических колебаний в пространстве, он совпадает с диапазоном ЭМ ММВ. Эти колебания клетки используют в качестве сигналов для управления процессами обмена веществ, восстановления нарушенных функций, повышения устойчивости организма к неблагоприятным воздействиям окружающей среды. Первые сообщения о лечебном применении ЭМ ММВ были опубликованы в 1980 г. Проводили лечение больных, страдающих маниакально-депрессивным психозом. Воздействовали на область задней поверхности плеча 20 мин определённой длиной волны, через день, курс лечения 10 процедур. После 3 процедур улучшились: клиническая картина, показатели ЭЭГ, ЭКГ, артериального давления. Для КВЧ-терапии (крайневысокой частоты или ММВ-терапии) используются установки «ЯВ6-1» с длинами волн 5,6 мм и 7,1 мм (соответственно частоты 53534 и 42194). Плотность мощности облучения 10 мВт/см*см. Питание установки – от сети переменного тока частотой 50 Гц, напряжением 220 В. мощность от сети - не более 25 Вт. Установка смонтирована в блоке, который подвешивается на штативе, штатив крепится к столу, это позволяет ориентировать рупор на любую часть поверхности тела больного.
На передней панели блока расположены: кнопочный включатель сети, индикатор включения сети, кнопочный выключатель модуляции, ручка подстройки частоты, стрелочный индикатор настройки частоты и индикации наличия необходимой величены выходной мощности.
Меры предосторожности. Запрещается смотреть непосредственно в рупорный облучатель установки во время её работы. Методика применения для лечения язвенной болезни желудка.
Показания: те же что и методика, но у больных с язвенной болезнью желудка лечение проводить только после отрицательного гистологического и цитологического ответов.
Противопоказания: беременность используют установку «ЯВ61»-5,6, работающую в режиме частотной модуляции. Больному облучают нижний край грудины 30 мин ежедневно: курс 10-15-20 процедур. До лечения, через 10 сеансов и в последующем через каждые 5 сеансов проводят эндоскопическое исследование.
Однако многие аспекты лечебного действия ЭМ ММВ ещё не разработаны и механизмы реализации терапевтических эффектов не ясны и требуют дальнейшего изучения.
Аппарат для ультразвуковой терапии УЗТ-1.03 У.
Назначение:
1.1 Аппарат предназначен для генерирования ультразвуковых колебаний в целях воздействия ими на различные участки тела человека при лечении заболеваний в условиях медицинских учреждений (больниц, клиник и поликлиник).
1.2 Аппарат применяется в урологии для лечения больных урологическими заболеваниями (хронического пиелонефрита, цистита, цисталгии, мочекаменной болезни и т.п.).
1.3 Аппарат предназначен для эксплуатации при температуре окружающего воздуха от +100 С до +350 С, относительной влажности до 80 % при температуре +250 С.
Технические данные:
2.1 Номинальное значение частоты ультразвуковых колебаний, генерируемых аппаратом 0,88 МГц.
Отклонение частоты возбуждения от номинального значения не более ±0,1%. Отклонение частоты возбуждения за 15 мин. Работы аппарата в непрерывном режиме генерации – не более ±0,01% от номинального значения.
2.2. Эффективная площадь излучателей:
1 ИУТ 0,88 -1.03 Ф – 1см2 ;
2 ИУТ 0,88 -1.05 Ф – 1 см2 ;
3 ИУТ 0,88 -4.04 Ф – 4 см2 ;
4 ИУТ 0,88 -2.08 У – 2 см2 ;
2.3. Аппарат работает в непрерывном и импульсном режимах генерации. В импульсном режиме аппарат генерирует импульсы длительностью 2,4 и 10 мс. Отклонение длительности импульса не превышает ±20% от указанных значений.
Частота следования импульсов равна частоте питающей сети.
Длительность фронта и среза не более 5% от длительности импульса.
Неравномерность вершины импульса не более 20%.
2.4. Аппарат работает от сети переменного тока с напряжением 220 В ±10% и частотой (50 ±0,5) Гц, при этом максимальная мощность ультразвуковых колебаний, получаемая при работе аппарата с излучателем наибольшей эффективной площади 4 Вт ±40%.
2.5. Значения интенсивности ультразвуковых колебаний на ступенях переключателя ИНТЕНСИВНОСТЬ, ВТ/СМ2 находятся в пределах, указанных в таблице 1.
Таблица 1
Ступени переключателяИНТЕНСИВНОСТЬ, ВТ/СМ2 |
Предельные значенияинтенсивности, Вт/см2 |
1,0 0,7 0,4 0,2 0,05 |
0,6- 1,4 0,45-0,95 0,2-0,6 0,1-0,3 0,02-0,08 |
2.6. Время установления рабочего режима не превышает 1 мин с момента включения аппарата в сеть.
2.7. Аппарат обеспечивает работу в течении 6 ч в повторно-кратковременном режиме излучения: 15 мин работы в непрерывном режиме генерации при интенсивности 1,0 Вт/см2 и 10 мин перерыв (при отключении аппарата от питающей сети).
По окончанию работы значения интенсивности на ступенях переключателя ИНТЕНСИВНОСТЬ, ВТ/СМ2 , находятся в пределах, указанных в таблице 2.
Таблица 2.
Ступени переключателяИНТЕНСИВНОСТЬ, ВТ/СМ2 |
Предельные значенияинтенсивности, Вт/см2 |
1,0 0,7 0,4 0,2 0,05 |
0,55-1,45 0,35-1,05 0,14-0,66 0,07-0,33 0,01-0,09 |
2.8. По защите от поражения электрическим током аппарат выполнен по классу 1, тип В.
2.9. Установленная безотказная наработка – не менее 600 ч. Средняя наработка на отказ не менее 2000 ч.
2.10. Установленный срок службы аппарата не менее 3 лет. Средний срок службы не менее 5-ти лет.
2.11. Мощность, потребляемая аппаратом от сети, не более 50 ВА.
2.12. Масса электронного блока аппарата не более 7 кг.
2.13. Габаритные размеры электронного блока аппарата: 341*290*142 мм.
Устройство и принцип работы:
4.1. Описание конструкции.
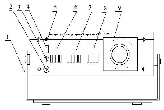
Аппарат содержит электронный блок (рис.1) и четыре сменных излучателя.
Электронный блок снабжён ручкой 1 для переноски, которая одновременно служит для установки его в рабочее положение. Корпус электронного блока выполнен из алюминиевого сплава. Внутри корпуса установлены направляющие, по которым перемещается шасси. Крепление шасси осуществляется снизу корпуса с помощью четырёх винтов.
На лицевой панели электронного блока расположены разъём ВЫХОД – 2 для подключения кабеля излучателя, индикатор выходного напряжения 3, выключатель СЕТЬ – 4, индикатор включения сети – 5, переключатели: ИЗЛУЧАТЕЛИ – 6, ИНТЕНСИВНОСТЬ, ВТ/СМ2 – 7, РЕЖИМ РАБОТЫ – 8, и процедурные часы – 9.
На задней стенке электронного блока установлены ножки, служащие для предохранения провода сети от изгиба и крепления его и сетевой вилки 3 во время транспортирования аппарата.
В комплект аппарата входит футляр, в котором размещены стаканы для лекарственных и дезинфицирующих веществ и шпатель для нанесения контактирующих сред. Конструкцией футляра предусмотрены гнёзда для установки излучателей в перерывах между процедурами.

Рис.1 Вид электронного блока аппарата со стороны левой панели:
1- ручка, 2- разъём ВЫХОД для подключения кабеля излучателя, 3- индикатор выходного напряжения, 4- выключатель СЕТЬ, 5- индикатор включения сети, 6- переключатель ИЗЛУЧАТЕЛИ, 7- переключатель ИНТЕНСИВНОСТЬ, ВТ/СМ2 , 8- переключатель РЕЖИМ РАБОТЫ, 9- процедурные часы.
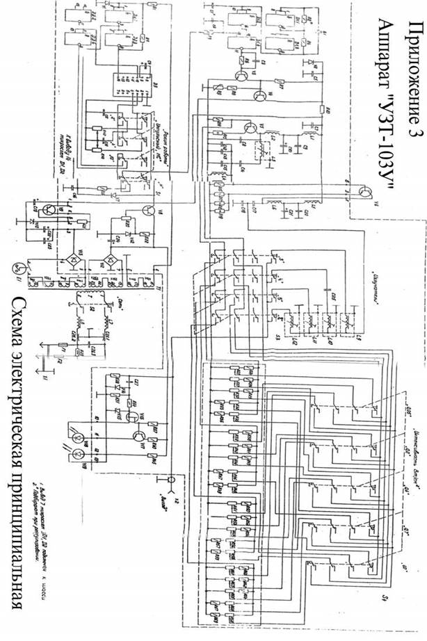
4.2. Схема электрическая функциональная и принцип работы аппарата.
4.2.1. Схема электрическая функциональная электронного блока аппарата представлена на рис. 2.
Схема электрическая принципиальная приведена в приложение 3.
![]()
![]()
![]()
![]()
![]()
![]()
![]()
![]()
![]()
![]()
![]()
![]()
![]()
![]()
![]()
![]()
![]()
![]()

Рис. 2. Схема электрическая функциональная электронного блока аппарата УЗТ-1.03 У.
1- автогенератор, 2- модулятор, 3- буферный каскад, 4- предусилитель, 5- усилитель выходной, 6- индикатор выходного напряжения, 7- импульсный генератор, 8- блок питания, 9-процедурные часы.
Электронный блок предназначен для получения напряжения возбуждения ультразвукового излучателя в непрерывном и импульсном режимах работы.
В непрерывном режиме напряжение возбуждения представляет собой гармонические колебания с частотой 0,88 МГц, импульсом – последовательность высокочастотных импульсов – той же частоты заполнения длительностью pi = 2,4 и 10мс и периодом следования Тп = 20мс. Колебания ультразвуковой частоты генерируются в автогенераторе 1 и через модулятор 2 на вход буферного каскада 3, предназначенного для ослабления влияния последующих каскадов на параметры генерируемого сигнала. В импульсном режиме модуляция осуществляется путём подачи на вход модулятора 2 импульсов положительной полярности с выхода импульсного генератора 7. В непрерывном режиме на вход модулятора подаётся постоянное напряжение, соответствующее уровню логической единицы. В цепь эмиттера транзистора буферного каскада 3 включён ступенчатый регулятор интенсивности, с выхода которого сигнал подаётся на вход предусилителя 4, где усиливается до уровня, необходимого для нормальной работы выходного усилителя 5. Выходной усилитель 5 предназначен для усиления мощности сигнала для значения, требуемого для получения заданной интенсивности ультразвукового излучения.
Наличие напряжение на выходе электронного блока индицируется по свечению светодиода индикатора выходного напряжения 6.
Аппарат питается от сети переменного тока. Блок питания 8 содержит стабилизированные выпрямители +6В и +50В. последний включается через контакты процедурных часов 9.
4.2.2. Автогенератор служит для получения колебаний частоты 0,88 МГц. Он собран на трёх элементах «И-НЕ» (D1.1, D1.2, D1.3) цифровой микросхемы D1. Частота автогенератора стабилизирована кварцем.
Собственно генератор колебаний ультразвуковой частоты построен на элементах D1.1 и D1.3. Элемент D1.2 служит для ослабления влияния последующих каскадов на работу автогенератора. Нестабильность частоты генерируемых колебаний не хуже 10-5 .
4.2.3. Модулятор предназначен для осуществления импульсной модуляции ультразвуковых колебаний. Он включает в себя пере- множитель, выполненный по схеме «И-НЕ» на элементе D1.4 микросхемы D1, и ключевой усилитель-инвертер, выполненный на транзисторе V3.
На один из входов микросхемы D1 (вывод 12) поступает напряжение с выхода автогенератора, на другой вход микросхемы D1 (вывод 13) с выхода импульсного генератора. В момент совпадения напряжений на обоих входах элемента D1.4 на его выходе (вывод 11) имеется напряжение, огибающая которых идентична огибающей модулирующего импульса. В непрерывном режиме на выход 13 вместо импульсного подаётся постоянное напряжение, поэтому на выходе модулятора – коллекторе транзистора V3 напряжение ультразвуковой частоты по форме такое же, как и на входе.
![]()
![]()
![]()
![]()
![]()
![]()
Рис. 3. Функциональная схема импульсного генератора.
1-обостритель, 2-диференцирующая цепочка, 3-ждущий мультивибратор, 4-инвертер.
4.2.4. Модулирующие импульсы создаются в импульсном генераторе (рис.3). Модулирующие импульсы длительностью 2мс и 4мс генерируются в ждущем мультивибраторе, а длительностью 10мс формируются и синусоидального напряжения сети с помощью обострителя.
Сигналом, задающем период следования (Тп = 20мс) модулирующих импульсов, является синусоидальное напряжение частоты 50 Гц, снимаемое с обмотки У1 силового трансформатора Т1. Крутизна фронтов синусоидального напряжения недостаточна для запуска ждущего мультивибратора. Поэтому с целью повышения крутизны фронтов напряжение подаётся на обостритель. Обостритель выполнен по схеме триггера Шмитта на двух элементах D2.1 и D2.3 цифровой микросхемы D2. Вход микросхемы защищён от пробоя с помощью параллельного несимметричного ограничителя, состоящего из резистора R1 истабилитрона V1.
Положительный потенциал на входе микросхемы ограничивается на уровне напряжения стабилизации стабилитрона (около 3,5В), а отрицательный – на уровне падения напряжения на прямом сопротивлении стабилитрона (менее 0,4В).
На выходе первого каскада обострителя – элементе D2.1 формируется последовательность импульсов с частотой 50 Гц и длительностью 10мс, которые без дальнейшего формирования используются в качестве модулирующих импульсов 10мс и подаются на вход модулятора. Модулирующие импульсы длительностью 2 мс и 4мс формируются в ждущем мультивибраторе (рис.3), который запускается продифференцированными импульсами с выхода обострителя. Ждущий мультивибратор совместно с дифференцирующей цепочкой выполнен на микросхеме D3.
Регулировка длительности импульсов осуществляется потенциометрами R12 и R14. Напряжение с выхода ждущего мультивибратора на вход модулятора подаётся через инвертер, собранный на одном элементе D2.4 микросхемы D2. Назначение инвертора – развязка ждущего мультивибратора (не допускающего работы на ёмкость свыше 100 пФ) от большей ёмкости С2, стоящей на входе модулятора. Ёмкость С2 является элементом фильтра R3, С2 подавление импульсных помех, поступающих с выхода ждущего мультивибратора при отжатых кнопках РЕЖИМ РАБОТЫ (длительность импульсных помех – 1-2 мин). Эти помехи при отсутствии фильтра приводили бы к ложной индикации о наличии напряжения на выходе аппарата при отжаты кнопках РЕЖИМ РАБОТЫ, т.к. индикатор выходного сигнала содержит в своём составе пиковый детектор, запоминающий как сигнал, так и упомянутую выше помеху.
4.2.5. Буферный каскад построен по схеме эмиттерного повторителя на транзисторе V4 и выполняет функцию развязки автогенератора от ступенчатого регулятора интенсивности. Последний предназначен для установки амплитуды напряжения на входе предусилителя, соответствующей заданной интенсивности ультразвуковых колебаний излучателя, и реализован в виде резисторов, стоящих в цепи эмиттера V4, коммутируемых переключателем S4.
4.2.6. Предусилитель служит для возбуждения выходного усилителя. Он выполнен на транзисторе V5 по схеме с общим эмиттером и с целью повышения стабильности коэффициента усиления охвачен глубокой отрицательной обратной связью. Согласование предусилителя с выходным усилителем и выделение первой гармоники частоты 0,88 МГц осуществляется с помощью П-образного фильтра С8, L3, С12-С15.
4.2.7. Усиление сигнала по мощности до уровня, достаточного для обеспечения требуемой интенсивности ультразвуковых колебаний, осуществляется в выходном усилителе. Он собран по схеме с общим эмиттером на транзисторе V6 и охвачен отрицательной обратной связью.
Согласование выходного усилителя с излучателями и фильтрация выходного сигнала осуществляется посредством П-образного LC фильтров.
Коммутация фильтров при смене излучателей осуществляется S3.
4.2.8. Индикатор выходного напряжения служит для световой индикации о наличии напряжения ультразвуковой частоты на выходе электронного блока. Индикатор состоит из диодного детектора V14 и транзисторного V14 и транзисторного двухступенчатого ключа (V16,V17).
Для уменьшения влияния индикатора на амплитуду выходного напряжения входное сопротивление индикатора должно бать на один – на два порядка выше сопротивления нагрузки электронного блока (излучателя).
Выходное сопротивление индикатора должно быть низким для согласования с малым сопротивлением светодиода – светового прибора индикации.
Высокое входное сопротивление индикатора обеспечивается за счёт использования полевого транзистора V16 в первой ступени ключа, низкое выходное сопротивление обеспечивается биполярным транзистором V17 во второй ступени.
Защита от пробоя перехода ИСТОК-ЗАТВОР полевого транзистора осуществляется параллельным несимметричным ограничителем R34, V15. В качестве светового индикатора используется светодиод V18, включённый в цепь эмиттера биполярного транзистора.
4.2.9. Аппарат питается от сети переменного тока частоты 50Гц номинальным напряжением 220В через автономный блок питания, включающий в себя трансформатор Т1 и два стабилизированных выпрямителя. Один из них (+6В) состоит из диодного моста V12 и параметрического стабилизатора напряжения (транзистор V8, стабилитрон V11, резисторы R20, R22). Другой (+50В)- из диодного моста V13 и параметрического стабилизатора напряжения (транзисторV9, стабилитрон V10, резистор R21). При изменении напряжения сети на ±10% изменение напряжения на выходе стабилизированного выпрямителя не превышает ±1%.
4.2.10. С выхода стабилизированного выпрямителя +50В напряжение через контакты 2,3 процедурных часов Е1 поступает к цепям питания буферного каскада, предусилителя. Индикатором включения аппарата в сеть служит светодиод V19, подключенный к выходу диодного моста V12.
Список используемой литературы:
1) «Миллиметровые волны в биологии и медицине», М. №1, 1992г, №4, 1994г.
2) «Курортология и физиотерапия» В.М. Боголюбов, М., «Медицина» 1985г.
3) «Физиотерапия» Л.М. Клячкин, М.Н. Виноградова, М., Медицина, 1995 г.
4) Большая медицинская энциклопедия, т.5, 1997г.
5) «Сущность лечебного действия дециметровых волн», В.Д. Григорьева, Сов. Мед. №2, 1973г.
6) «Микроволны и их лечебное применение», З.С. Курашова, М., 1974г.
7) «Аппарат для ультразвуковой терапии УЗТ-1.03 У», Паспорт, Московский завод электромедицинской аппаратуры «ЭМА».