| Скачать .docx | Скачать .pdf |
Реферат: Вторжение космических тел в атмосферу Земли
Вторжение космических тел в атмосферу Земли
1.Метеоритное вещество и метеориты.
Каменные и железные тела, упавшие на Землю из межпланетного пространства, называются метеоритами, а наука, их изучающая-метеоритикой. В околоземном космическом пространстве движутся самые различные метеороиды (космические осколки больших астероидов и комет). Их скорости лежат в диапазоне от 11 до 72 км/с. Часто бывает так, что пути их движения пересекаются с орбитой Земли и они залетают в её атмосферу.
Явления вторжения космических тел в атмосферу имеют три основные стадии:
1. Полёт в разреженной атмосфере (до высот около 80 км), где взаимодействие молекул воздуха носит карпускулярный характер. Частицы воздуха соударяются с телом, прилипают к нему или отражаются и передают ему часть своей энергии. Тело нагревается от непрерывной бомбардировки молекулами воздуха, но не испытывает заметного сопротивления, и его скорость остаётся почти неизменной. На этой стадии, однако, внешняя часть космического тела нагревается до тысячи градусов и выше. Здесь характерным параметром задачи является отношение длины свободного пробега к размеру тела L, которое называется числом Кнудсена Kn. В аэродинамике принято учитывать молекулярный подход к сопротивлению воздуха при Kn>0.1.
2. Полёт в атмосфере в режиме непрерывного обтекания тела потоком воздуха, то есть когда воздух считается сплошной средой и атомно-молекулярный характер его состава явно не учитывается. На этой стадии перед телом возникает головная ударная волна, за которой резко повышается давление и температура. Само тело нагревается за счет конвективной теплопередачи, а так же за счет радиационного нагрева. Температура может достигать несколько десятков тысяч градусов, а давление до сотен атмосфер. При резком торможении появляются значительные перегрузки. Возникают деформации тел, оплавление и испарение их поверхностей, унос массы набегающим воздушным потоком (абляция).
3. При приближении к поверхности Земли плотность воздуха растёт, сопротивление тела увеличивается, и оно либо практически останавливается на какой-либо высоте, либо продолжает путь до прямого столкновения с Землёй. При этом часто крупные тела разделяются на несколько частей, каждая из которых падает отдельно на Землю. При сильном торможении космической массы над Землёй сопровождающие его ударные волны продолжают своё движение к поверхности Земли, отражаются от неё и производят возмущения нижних слоёв атмосферы, а так же земной поверхности.
Процесс падения каждого метеороида индивидуален. Нет возможности в кратком рассказе описать все возможные особенности этого процесса. Мы остановимся здесь на двух моделях входа:
твёрдых метеоритных тел типа железных либо прочных каменных
легко деформируемых типа рыхлых метеоритных масс и фрагментов голов комет на примере Тунгусского космического тела.
2. Движение твердого метеороида в атмосфере.
Как уже говорилось выше, всю область полета метеороида можно разбить на две зоны. Первая зона будет соответствовать большим числам Кнудсена Kn ³ 0.1 ,а вторая зона - малым числам Кнудсена Kn < 0.1. Эффектами вращения тела принебрегаем, форму его будем считать сферической с радиусом r. Будем предполагать тело однородным.
Сначала построим модель для первой зоны. В этой зоне изменением массы метеороида можно приберечь, так как абляции и разрушения тела практически нет. Уравнения движения следуют из законов ньютоновской механники:
(4.1)
![]()
(4.2)
![]()
(4.3)
(4.4)

Здесь
m - масса метеороида,
v - скорость,
Q - угол наклона вектора скорости к поверхности Земли,
g - ускорение силы тяжести,
r - плотность атмосферы в точке,
A=pre2 -площадь поперечного сечения метеороида (площадь миделя),
z - высота, отсчитываемая от уровня моря,
t - время ,
CD - коэффициент сопротивления воздуха ,
R3 - радиус Земли.
Изменение плотности воздух с высотой будем находить по барометрической формуле:
![]()
гдеr -плотность на уровне моря. Коэффициент CD можно считать зависящим от числа Кнудсена, причём он убывает с высотой и меняется в пределах 2>CD>0.92 при изменении Kn от 10 до 0.1.
Систему (4.1)-(4.3) нужно решать в предположении, что начальный момент времени при t=0 заданы ze=z, Qe=Q, ve=v, me=m, то есть параметры входа метероида. За координату z, можно принять ту высоту, где согласно (4.1) сила тяготения Земли выравнивается с сопротивлением, то есть когда уравнение (4.5) при заданных m=me, v=ve, можно считать за определение. Пренебрежём также изменением угла, то есть примем Qe=Q (это не внесёт погрешностей, ибо
есть малая величина для диапазона скоростей от 11 до < 70 км/с
(
< 0.001 c-1).
После интегрирования уравнения (4.1) при условии пренебрежения силой mg sinQ и для z<ze получаем
(4.6)
где B - баллистический коэффициент. ![]()
Приближённую формулу (4.6) можно использовать для оценки поведения решения при больших v. Видно, что v»ve при z>>H. Это означает, что скорость тела практически не меняется.
Используя несложную компьютерную технику, систему (4.1)-(4.3) можно проинтегрировать с помощью любого подходящего численного метода, например метода Эйдлера с пересчётом. Сущность этого метода состоит в том, что для уравнения y’=f(x,y) сначала мы находим значение `y’1=f(x0,y0) Dx+y0 где x0, y0 -начальная точка, а Dx - шаг интегрирования, затем берём
![]()
и находим уточнённое значение y1=y’Dx+y0+O(Dx2)![]()
Аналогичная процедура используется в случае системы уравнений.
Этот метод весьма прост для реализации даже с помощью программируемых микрокалькуляторов (вследствие простоты правых частей системы (4.1)-(4.3)).
Для расчёта движения метеорита в нижних слоях атмосферы система (4.1)-(4.4)не годится ,т.к. она не учитывает абляцию (изменение массы),поэтому перейдем к описанию более сложной модели ,пригодной для низких высот ,т.е. для второй зоны.
Систему уравнений так называемой физической теории метеоритов (Kn<0.1) запишем в предположении движения тела в плоскости, проходящей через ось z:
(4.8)
(4.7)
(4.9)
(4.10)

Здесь
f - коэффициент реактивной отдачи, -1<f<1;
CL - коэффициент подъёмной силы,
i* - эффективная энтальпия разрушения
(характерная теплота сублимации или парообразования),
CH=CH(r,v,r) - коэффициент теплопередачи;
остальные обозначения такие же, как и в системе (4.1)-(4.3). Реактивной силой в уравнении (4.7) можно принебречь, если i*>1000 кал/г. Площадь А в общем случае - величина переменная, ибо масса тела меняется, причём для для случая шара:
![]()
Уравнению (4.10) можно придать следующий физический смысл: изменение массы,- Dm, за время пропорциональное кинетической энергии газа в объеме ,”охваченном” за это время миделем вдоль траектории (DtvA), и обратно пропорциональное энергии разрушения, то есть
![]()
Приведём теперь численные значения констант. Для высоты H=7.16 км; r0=1.29*10-3 г/см; g=9.8 м/с; R3=6371.7 км. Коэффициенты CD и CH зависят от v,r,r и находятся специальными расчётами, однако коэффициент CD можно приближённо считать равным 0.9; CH как функция v,r,r приводится в руководствах по метеоритике и аэродинамике. Коэффициент теплообмена обычно состоит из двух частей:
-конвективного теплообмена.
-радиационного.
Для крупных тел главную роль будет играть радиационный теплообмен. Для тел размером около 0.5 м при скорости входа ve=20 км/с и массе me=200 кг оценки показывают, что
0.01<CH<0.1; v>1 км/c
Коэффициент подъёмной силы CL, как правило, мал, и его обычно не учитывают в приближённых теориях, т.к. силы, действующие поперёк траектории ,малы. Эти силы могут возникать из-за неоднородности среды, реактивного эффекта, сильного ветра, угла наклона тела к направлению движения (угла атаки). На рис. 1 дан график изменения скорости движения тела в зависимости от высоты для фрагмента каменно-железного метеорита Лост-Сити, полёт которого был зафиксирован оптической камерой сети наблюдений. Найденная часть метеорита имела массу 15 кг, его скорость входа была ve=14.2 км/с, плотность rm=3.6 г/см3, i*=1300 кал/г, qe=43° (рис.1). Кружки на графике соответствуют данным наблюлений до скорости 3 км/с, когда метеорит перестал светиться. Потеря массы составила около 3 кг. Видно, что представленная модель для такого случая вполне удовлетворительна. Здесь же на рис.1 дана зависимость z(v) для случая ve=14.2 км/с, me=490 кг, rm=3.6 г/см3, i*=500 кал/г, qe=43° (штриховая линия). Видно, что траектории отличаются не так уж сильно, хотя абляция должна должна быть весьма интенсивной. Здесь могут быть и такие случаи случаи, когда практически вся масса метеороида испарится и снесётся в спутныйё поток, то есть (Dm/me)»1.
Американский астрофизик Д.О.Ре-Вилл выполнил расчёты для системы (4.7)-(4.10) при CL=0, ve=30 км/с, qe=45°, rm=3.7 г/см3, i*=2000 кал/г, me=10000 кг. Оказалось, что Dm»me на высотах, где v=3.5 км/с.
Таким образом, практически всё вещество распылилось в виде пара и мелких частичек в следе метеороида. Космическое тело “сгорело” до касания поверхности Земли. Здесь механизм испарения обусловлен сильными лучистыми потоками к поверхности воздуха, прошедшего через баллистическую волну при высоких скоростях до (до 5 км/с.)
Различные исследователи проводили опыты по деформации и разрушению водяных капель в потоках воздуха. По Дж. Ханту (Англия), при временах порядка tb происхрдит струйное “пробивание” в центре эллипсоидального тела и образование объёма в форме тора, который уже потом разрушается на более мелкие капли. Расчёты показали существенную роль процессов абляции и изменения формы при взаимодействии метеорита с атмосферой.

Так как влетающий в атмосферу метеороид холодный (температура его внутренних частей ниже температуры окружающей Среды), то можно считать, что энергия состоит только из кинетической. Углерод метеорита может гореть в атмосфере при сответствующих условиях. Но недостаток кислорода не позволит сгореть большому количеству углерода, и выделившаяся энергия не будет превышать кинетической энергии тела. Как же расходуется кинетическая энергия тела. Пусть тело затормозилось от скорости ve до скорости vc на пути. Это означает, что на этом пути энергия передалась окружающей среде за время tc. Время tc около 1-10 с, S порядка 80-40 км. Отсюда получаем, что с точки зрения воздействия на атмосферу метеориты подобны молнии: за малое время вдоль траектории выделяется энергия DE, на единицу длины приходится DE/S. Рассмотрим пример. Для метеорита типа Лост-Сити me=18 кг, mc=15 кг, ve=14 км/с, vc=3 км/с
DE»meve2/2
s=50 км, E0=DE/S=360 дж/см. метеороид подобен весьма длинной молнии с удельной энергией E0= meve2/2S. Для “сгорающих” метеороидов есть и внешнее сходство: они сверкают в небесной выси, как молнии. Очевидцы, наблюдавшие падение метеороидов, слышали и раскаты грома; баллистическая волна распространялась в атмосфере, подобно грозовой ударной волне.
Сформулированная выше упрощённая модель движения метеороида, объединённая с теорией линейных взрывов (грозовых разрядов), даёт возможность создать модель движения и взаимодействия метеороидов с атмосферой.
В заключении этого раздела коснёмся вопроса о характере и многообразии траекторий метеороидов. Не будем учитывать изменения массы, т.е. положим dm/dt=0, но CL¹0; отношение (CL/CD)=k называется аэродинамическим качеством движущегося тела.
Будем считать, что |k|£1, причём отрицательные значения k соответствуют наличию поперечной силы, действующей на тело “вниз” - в отрицательном направлении оси y местной системы координат, где ось x направлена вдоль вектора скорости, а ось y к ней перпендекулярна. Характерную величину m/CDA обозначим через b. За величину b примем значение 1515 кг/м2, что будет соответствовать входу в атмосферу сферического тела радиуса rE=97.8 м и плотностью rm=0.03 г/см. Обозначим через S расстояние вдоль поверхности Земли от проекции условной точки входа в атмосферу на эту поверхность. Пусть угол входа равен 20°, ZE=60км, vE=30 км/с. Меняя значения k, мы получим разные траектории и скорости тела при значениях аэродинамического качества k=0.5;-0.125;0;0.125;0.5 (S -расстояние от поверхности Земли) (рис. 2). При k=0.5 наблюдается явление рикошета .
При значениях k<0 траектории могут иметь вертикальную касательную, а при k<-1 пролётную g-образную траекторию.
Из рис. 2 видно, что скорость тела остаётся практически постоянной до высоты 40 км.
Кроме описанных выше параметров вычисляется интенсивность свечения I по формуле
(4.11)
![]()
где t0 - коэффициент эффективности свечения (опытный параметр).
Опишем вкратце более общую модель входа метеороида в атмосферу. Уравнения (4.7)-(4.10) описывают движение центра масс метеороида. Кроме этого следовало бы описать движение метеороида около центра масс. Довольно трудной задачей является определение параметров тела и окружающего воздуха, включая след за телом. Для этой задачи следует на определённых этапах (для дискретного набора времени t=tj) проводить расчёт обтекания и абляции, а так же механической деструкции тел, с учётом эффекта теплопередачи и излучения, а так же высвечивание метеороидов в различных спектральных диапазонах). Нужно рассчитывать распространение атмосферных возмущений в пространстве и времени. Следует изучить вопросы, связанные с моделированием воздействия удара метеороидов и балистических волн о поверхность Земли.
3. Тунгусское космическое тело.
30 июня 1908 г. произошло столкновение с атмосферой Земли космического тела, нижняя часть траектории которого проходила над Вост. Сибирью. Траектория закончилась над географической точкой с долготой 101°53’, широтой 60°53’ около 7ч по местному времени.
Основные данные наблюдений сводятся к следующему: огромное светящееся космическое тело (угловой размер 0.5° на расстоянии 100 км) поперечных размеров около 800 м двигалось под некоторым углом к горизонту со скоростью более 1 км/с. После этого возникла огромная вспышка света над лесом и мощные акустические волны на расстоянии 100 км ударили многократно в дома живущих там людей, разбив окна, кроме того, людьми ощущался тепловой импульс света.
На месте катастрофы последующие экспедиции обнаружили вывал леса общей площадью 2000 км2, наблюдались светлые ночи. В районе катастрофы начался пожар и были обнаружены следы радиационного повреждения веток деревьев.
Таким образом над тайгой произошло явление взрывного типа, энергия взрыва была больше ,чем энергия взрыва 1 млн. т. троти-ла.
Работа по математическому моделированию началась в 1969 г. К этому времени уже были собраны данные о характере катастрофы.
Сейчас это исследование проводится В.П.Коробейниковым, П.И.Чушкиным и Л.В.Шуршаловым.
В дальнейшем будем придерживаться двух рабочих гипотез.
1.В атмосферу влетел фрагмент ядра кометы, окружённый пылегазовой атмосферой (комой).
2. Вторгся большой рыхлый метеорит типа углистого хондрита.
Несколько слов о головах комет и углистых хондритах. Голова кометы состоит из ядра и сильно разряжённой атмосферы (около 100 частиц/см3). Ядро кометы - это конгломерат кусков льда, газа и пыли. Средняя плотность вещества ядра не превышает 1 г/см3, давление внутри ядра размером около 1 км 1000 дин/см2. Фрагменты ядра могут соединяться в нём лишь некоторыми частями, поэтому скреплены слабо, возможно отрывание отдельных частей под действием солнечной радиации. Так ,например, ядро кометы Веста в 1976 г. разделилось на четыре фрагмента. Фрагменты могут существовать как малые кометы. По химическому составу кометы в основном содержат воду, метан, ацетилен, углекислоту, водород, соединения углерода и азота с другими элементами.
Углистые хондриты - это весьма редкий тип метеоритов, обнаруженых на Земле. Это каменные метеориты, содержащие повышенное количество углерода как свободного, так и связанного в угеводородах. В них ,как правило, имеются газовые включения и гидросодержащие минералы. Цвет - угольно-чёрный или серочёрный. Содержание воды в них может доходить до 20% (связанная вода), плотность этих метеоритов не более 3 г/см3.Только наиболее плотные и крупные из них достигают поверхности Земли, большинство же рассеивается в атмосфере. Так произошло в 1965 г. с метеоритом Ривелсток, упавшим над Канадой. Общая масса его оценивается в 4 тыс. т ,скорость входа около 12 км/с .Воздушные волны были зарегистрированы барографами за несколько тысяч километров от места падения, и общая энергия возмущения атмосферы оценена в 10-20 тыс. т тротила. Явление по мощности равно атомному взрыву над Херосимой.
Воздушные волны были зарегистрированы на ближайшей сейсмостанции и организованы поиски вещества. Однако было найдено всего около грамма вещества на льду одного озера.
Если бы космическое тело было гораздо больших размеров, чем метеорит Ривелсток, и было углистым хондритом, оно проникло бы гораздо глубже в атмосферу, и могла бы произойти катастрофа, аналогичная Тунгусской в смысле воздействия на земную поверхность.
Как кометная, так и углисто-хондритная гипотезы удовлетворяют основному свойству Тунгусского космического тела: взрывной распад над поверхностью Земли при отсутствии выпадания значительныхмасс вещества. Как кометная, так и углисто-хондритная гипотеза характерна тем, что в состав этих тел входит вода в состоянии льда, углерод и углеводороды. Все эти вещества могут либо испариться, либо сгореть в атмосфере. Кометная гипотеза более полно объясняет помутнение (запыление) атмосферы в период падения и после него, но зато падение углистых хондритов есть явление сравнительно обычное ,а столкновение с ядром малой кометы - явление уникальное.
Приведём пример численного решения задачи входа в атмос-феру Тунгусского космического тела, выполненную конечноразностным методом Л.В.Соколовской.
Газообразное тело в форме циллиндра, высота которого равна диаметру L (L=0.6 км), с начальной скоростью 40 км/с движется в атмосфере, и при t=0, ZE=36 км давление в теле равно атмосферному, плотность rme=0.1225 г/см3; gm=5/3; g=1.4, v=90 (вертикальный вход).На рис.5 показана форма тела для различных высот за время около 0.5 с. Видно, что тело начинает резко расширяться при Z< 20 км. Причём поперечный его размер меняется так:
b»b0+3×10-1vet
Заметим, что скорости бокового разлёта вещества значительны и в конце пути превышают 500 м/с .Тело тормозится до скорости 2 км/с на высоте около 10 км. Таким образом, за время порядка 1с в столбе газа длиной 29 км и толщиной 1 км выделяется энергия около 1026 эрг. По небу проходит гигантская “молния”, от которой расходится гром - след баллистической волны. В нижних слоях атмосферы при Z=13 км температура воздуха за фронтом головной волны достигает 15000 К ,давление около 30 атм. При резком торможении в концевоий части давление на фронте ударной волны падает, но и газ внутри тела, обладающий запасом внутренней энергии и значительным давлением Dp>0, начинает расширятся в окружающую среду, посылая вперед ударную волну взрывного типа, которая будет двигаться в атмосфере в направлении Земли, обгоняя частицы среды метеороида. В действительности, конечно процесс гораздо сложнее, но некоторые общие качественные черты уже улавливающая в этой простой модели.
Пользуясь изложенными выше законами, можно выполнить решение задачи о входе в атмосферу газообразного тела других размеров и энергий.
Вернемся, однако, к Тунгусскому телу. Моделирование процесса его взаимодействия с атмосферой и земной поверхностью проводилось в рамках математической модели, описанной в конце предыдущего раздела. Сначала были проанализированы результаты расчёта обтекаемых твёрдых недеформируемых тел совершенным газом при больших числах Маха M=v/a1 где a12=gp1/s1, p1, s1 - параметры окружающего воздуха. Были так же проведены специальные расчёты такого обтекания при M > 5. В результате этих расчётов определилась как форма ударных волн, так и всё поле течений газа при стационарных условиях обтекания. Оказалось, что для M > 10 картина течения слабо зависит от этого праметра и при x>5L (x - расстояние от лобовой точки вдоль траектории) поле течения выходит на некоторую асимптотику, существенно зависящую лишь от величин r1, g и
(4.21)
(rm,=b/2)
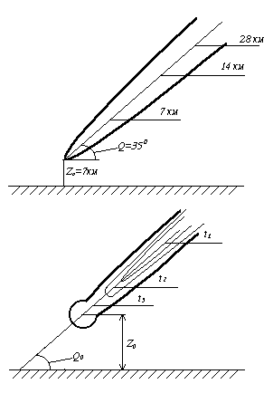
Пример такого расчёта дан на рис.6,а. Здесь изображено стационарное состояние баллистической ударной волны при обтекании гиперзвуковым потоком ( M > 10 ) тела, составленного из сферического затупления радиуса и примыкающего к нему цилиндра толщиной 2rm. Вдоль траектории указаны безразмерные давления `p=p/v2r1 за фронтом баллистической волны для случая rm=70 м, Qe=35°, когда передняя часть волны находиться на высоте 7 км над Землёй. Нестационарность процесса обтекания приближенно можно учитывать лишь меняя p1, r1 и скорость движения тела, которые определяются из тракторных расчётов (например типа представленных на рис. 2 ).
На рис 6,а схематически даны волны для четырёх последовательных моментов времени. В момент времени t отмечен приход волн к земной поверхности и их отражение как в окрестности конечной точки траектории, так и в её балистической части. Оказывается, что в плоскостях, перпендикулярных к движению тела (см. сечение S на рис.16,б ), течение газа аналогично таковому при взрыве шнурового заряда с удельной энергией E0. Это обстоятельство использовалось для приближения расчёта баллистических волн. Задавалось значение E0 в соответствии с (4.21) и затем по теории циллиндрического взрыва определялись параметры баллистических волн при их прохождении в атмосфере. Давления в лобо-вой точке тела за головной ударной волной могут быть вычислены по условиям на ударной волне и по законам сохранения для течения в окрестности критической точки. Оказывается, что давление в лобовой части тела. Параметры баллистических волн вдоль траектории можно расчитать с помощью ЭВМ для широкого набора значений E0(s) вдоль пути s по траектории. Процессы в конечной части траектории (момент t4 на рис. 6,б) моделировались расширением газового шара (раскалённые остатки тела плюс воздух) с давлением pm*. Полная энергия этого шара принималась равной E (объёмный сферический взрыв).
Угол наклона конечной части траектории Qz0, её высота z0, а также энергии E (s). E подбиралась так, чтобы система ударных волн у концевой части полёта метеорита производила на Земле вывал леса, аналогичный наблюдаемому. Просчёт на ЭВМ распространения ударных волн в атмосфере от Тунгусского тела был проведен для многих значений E0(s),E0*, z0. Оказалось, что если E0=const=1.4×1017эрг/см, E =1023эрг, z =6.5 км, vz0=40, то картина вывала леса аналогична наблюдаемой в районе падения. На рис.7 дано сравнение расчитанной формы вывала леса и наблюдаемой на местности. Приводимые здесь и далее данные наблюдений получены в работах томских исследователей метеорита (Н.В.Ва-сильев, В.Г.Фаст и др.). На рис. 7,а сплошные кривые - “векторные линии” поваленных деревьев (обработка наблюдений); на рис.7,б стрелки - направления течения воздуха (расчёт). Видно как качественное, так и количественное согласие. Из результатов расчётов можно сделать дополнительные выводы. Так как E0=const, то (vrm)~1/r1, или vrm~r0-1/2er/2H. Отсюда даётся оценка: r =350 м при скорости в конце траектории v=2 км/с. Эта величина совпадает с оценкой размера по показаниям очевидцев.
Из тракторных расчётов следовало ,что ve<vz, поэтому угол входа был меньше vz0 и приблизительно равнялся 35°.
Интересно сравнить полученные параиетры траектории с данными наблюдений зон лучистого ожога. На этапе математического оделирования лучистого ожога были учтены следующие факты. Область лучистого ожога деревьев в зоне вывала леса имела форму эллипса, вытянутого вдоль оси симметрии вывала, тепловой импульс согласно оценкам, основанным на показаниях очевидцев, равен 0.1кал/см2 на расстоянии 70 км от эпицентра катастрофы; в местах ,примыкающих к эпицентру возник пожар. Тепловой импульс, необходимый для возгорания деревьев за 2 с, по данным американских специалистов равен 15 кал/см2. Далее были выполнены расчёты на ЭВМ высвета рсширяющихся нагретых шаров и цилиндров в атмосфере ,имитирующих полёт метеороида. Было показано , что при характерных температурах 10 000 - 15 000 К и радиусах шаров 100 - 300 м , а цилиндров 10 - 50 м высвет путём излучения составлял около 10 % от их общей начальной энергии. Затем был выполнен расчёт теплового импульса от светящейся области вдоль предполагаемой траектории (Б.В.Путятин). Результаты расчёта светового теплового импульса I, попадающего на земную поверхность, показаны на рис.8 (точки соответствуют данным наблюдений: 1 - слабый ожог, 2 - умеренный, 3 - сильный (обугливание).
Оказалось, что кривая I=16 кал/см2 практически совпадает с зоной ожога деревьев ,которая была определена томскими исследователями метеорита. Таким образом, определённые ранее параметры метеорита подтвердились.
Остаётся ещё определить массу, полную энергию тела и его плотность (размеры).Полная энергия тела E0, есть meve2/2, где m - полная масса при входе в атмосферу (тепловая энергия тела не учитывается ввиду её малости). Эта энергия расходуется на нагрев тела до температур 5 - 15 тыс. градусов, на испарение твёрдых компонент тела, на акустическое возмущение атмосферы и её нагрев, снос части тела в спутный поток (абляцию), излучение во внешнее пространство. На конечном участке траектории (20 км вдоль неё) энергия возмущённого движения E0* + 20×105E0, эрг (будем считать , что энергия излучения от нагретого тела и воздуха включена в эту оценку), а энергия E0e возмущения атмосферы при движении по траектории от концевой точки на расстояние более 20 км оценим так:
, где
Мы считаем, что E (x) меняется так же, как и плотность, вдоль траектории при среднем угле наклона к горизонту »35°. Положим также, что на нагрев и испарение затрачена энергия Eh=0.5E0*. Оценка энергии Eh является наиболее неопределённой. Однако можно достаточно уверенно сказать, что значение E0* будет верхней оценкой для Eh, а 0.1E0* будет её нижней оценкой.
В силу закона сохранения энергии будем иметь:
Ee=E0*+20×105E0+E0e+Eh
или
Ee=1.5E0*+(20+12)×105E0
Отсюда находим, что Ee»6×1023эрг, или около 15 Мт толуола. Заметим, что если известно распределение переданной воздуху энергии E0 вдоль траектории, то при v=const уравнения (4.7), (4.10) с учётом (4.21) можно проинтегрировать при простых законах E0(x), в частности при E0=const. В результате можно получить приближённые аналитические зависимости v(z), m(z) вдоль траектории.
Наиболее вероятная скорость входа ve=40 км/с. Почему это так? Дело в том, что для ve можно указать наиболее вероятный интервал (20 км/с, 60 км/с). Величины ve<20 км/с не подходят потому, что при таких скоростях не было бы такого сильного нагрева тела, а скорости ve>60 км/с маловероятны с точки зрения небесной механники. Если считать ve случайной величиной с равномерной плотностью распределения вероятности ,то её математическое ожидание, т.е. среднее значение ve, будет равно 40 км/с. Так как (meve2/2)=Ee=6×1023 эрг, то при заданном значении ve находим me= 7.5×1010 г,=7.5×104т. Взяв начальный курс за 100 м, получим оценку начальной плотности rme=2×10-2 г/см. Эта плотность мала и скорее всего соответствует голове фрагмента кометы. Здесь уместно отметить, что академик Г.И.Петров оценил плотности Тунгусского тела из других соображений и получил существенно меньшие значения. В.Г.Фесенковым указывались величины плотностей ,близкие к полученным выше.
Таким образом можно заключить, что тело общей массы около 1011г вторглось в атмосферу по траектории, направленной под углом 35° со скоростью 40 км/с, разрушилось, резко затормозилось на высотах 20 - 7 км, подошло к Земле по траектории под углом 35°-40° и окончательно затормозилось на высоте 6.5 км. Воздушные потоки за ударными волнами разрушили лесной массив, а излучение от нагретых до 10 - 12 тыс°С остатков тела и окружающего траекторию воздуха произвело ожоги и воспламенение деревьев и сухих листьев в зоне катастрофы. Отразившись от земной поверхности, воздушные волны и термоконвективные потоки рассеяли по пространству остатки тела, и лишь его незначительная часть выпала в районе эпицентра. Воздушные волны в атмосфере вызвали её колебания ,аналогичные тем, какими они были бы при взрыве заряда 15 Мт тротила на высоте 10 км. Рассеянное при входе космическое вещество в виде пыли распространилось воздушными течениями на многие километры.
Таковы итоги предварительного математического моделирования Тунгусской катастрофы.
Какие здесь ещё нерешённые вопросы? Во-первых, не ясны детальная динамика нагрева, разрушения и абляции (турбулентного сноса вещества, а так же процессы испарения рекомбинации и горения его остатков и диспергирования по атмосфере. Во-вторых, надо установить, каковы были химический состав тела ,детальные элементы траектории, как происходили ионосферные колебания атмосферы и возникал электромагнитный импульс. Есть ещё и ряд других мелких вопросов ,которые предстоит выяснить.
В заключение отметим, что задача о распознавании природы падающего метеороида напоминает задачу об автоматизации проектирования летательных аппаратов ,например гиперзвуковых самолётов. Нужно подобрать такие инструкционные и траекторные параметры,чтобы удовлетворить основным требованиям заказчика. Эта задача в принципе не имеет единственного решения в математическом смысле: возможны разные варианты, приводящие к одинаковым ответам. По-видимому, метеоритным задачам нужно придать вероятностный смысл, считать основные характеристики случайными величинами и находить распределения вероятностей.
Арсеньев А.А., Самарский А.А. Что такое математическая физика.
Седов Л.И. Очерки, связанные с основами механники и физики.
Никольский С.М. Элементы математического анализа.
Сворень Р.А. В просторы космоса, в глубины атома.
Воронцов-Вельяминов Б.А.Очерки о вселенной.
Горбацкий В.Г. Космические взрывы.
Самарский А.А. Введение в численные методы.
Лох У. Динамика и термодинамика спуска в атмосфере планет.
Коробейников В.П. Задачи теории точечного взрыва.
Захаров В.К., Севастьянов Б.А., Чистяков В.П. Теория вероятностей.
Математическое моделирование. Сб. статей под ред. Дж.Эндрюс, Р.Мак-Лоун.
А.Мосунов, А.Максимов “Вторжение космических тел в атмосферу Земли”.

Рисунок А
График изменения скорости движения тела в зависимости от высоты для фрагмента (части) каменно-железного метеорита Лост-Сити (сплошная кривая).
Штриховая линия-математический расчет полета этого метеорита.

Рисунок В (а,б)
Изображены траектории и скорости тела при значениях аэродинамического
k=-0.5;-0.125;0;0.125;0.5.
(S - расстояние вдоль поверхности Земли ). При k=0.5 имеет место явление рикошета.

Рисунок 5
Форма тела для различных высот за время около 0.5 с.
Видно, что тело начинает расширяться при Z<20 км.

Рисунок 6 (а,б)
На рисунке 6 (а) изображено стационарное состояние баллистической ударной волны при обтекании тела гиперзвуковым потоком.
На рисунке 16 (б) схематически даны волны для четырёх последовательных моментов времени при движении метеорита к земле.

Рисунок 7 (а,б)
Фактический вывал леса в районе падения Тунгусского метеорита (Рис. 7а).
Математическая модель вывала леса (Рис. 7б).