| Скачать .docx | Скачать .pdf |
Реферат: Технические характеристики картофелеочистительной машины МОК-250
Введение
Отечественная промышленность создает большое количество различных машин для нужд предприятий общественного питания. Ежегодно осваиваются и внедряются новые, более современные машины и оборудование, обеспечивающие механизацию и автоматизацию трудоемких процессов на производстве. За счет механизации и автоматизации производства резко снижаются затраты ручного труда, увеличивается производительность производства продукции и улучшаются санитарно-технические условия.
Экономическая эффективность — непременное условие применения новой техники. Среди отечественных моделей, поставляемых по более чем доступным ценам, выгодно выделяется картофелечистка МОК, зарекомендовавшая себя как незаменимый кухонный аппарат.
Картофелечистка промышленная, или картофелеочистительная машина, - аппарат, незаменимый для быстрого и аккуратного, то есть эффективного, удаления кожуры корнеплодов – клубней картофеля, моркови, свеклы, а также твёрдых овощей. Картофелечистка МОК или любая другая картофеле-очистительнаямашина позволяет добиться того же результата, которого могут добиться несколько работников кухни одновременно. Картофелеочистительная машина экономит время работников кухни, что позволяет повысить эффективность их труда, а также обладает простой и надёжной конструкцией, исключающей возможность травм при её использовании.
Цель курсового проектирования - ???????????
В процессе выполнения работы необходимо решение следующих задач:
- определить назначение овощеочистительного оборудования;
- изучить классификацию овощеочистительных машин, их краткую характеристику;
- проанализировать современный рынок соответствующего оборудования;
- рассмотреть конструкцию, принцип действия и технические характеристики МОК-250;
- составить машинно-аппаратурную схему приготовления аладьев из картофеля;
- осветить вопросы технического обслуживания, правил эксплуатации овощеочистительного оборудования;
- определить аспекты обеспечения здоровых и безопасных условий труда на предприятиях общественного питания.
В процессе работы над курсовым проектом были изучены теоритические материалы по механическому оборудованию и правилам его эксплуатации таких авторов, как !!
1 Назначение овощеочистительного оборудования, требования к конечному продукту
Очистительное оборудование предназначено для удаления с продуктов поверхностного слоя (кожицы с овощей и фруктов, чешуи с рыбы и т.д.), имеющего небольшую пищевую ценность. На предприятиях общественного питания используют машины для очистки овощей и приспособление для очистки рыбы от чешуи.
Очистку овощей можно проводить термическим, химическим и механическим способами. На предприятиях общественного питания в основном применяют два способа – механический и термический. Сущность механического способа состоит в том, что наружный покров картофеля сдирается о шероховатую поверхность рабочего органа и стенки рабочей камеры машины. При этом между поверхностью клубня, шероховатой поверхностью рабочего инструмента и стенками рабочей камеры должно быть относительное движение. Одновременно клубень должен прижиматься к шероховатой поверхности с определенным усилием, так чтобы частички шероховатой поверхности могли углубиться в клубень и при дальнейшем его движении производить микросрезы (сдирание) кусочков поверхности клубня. Во время очистки в рабочую камеру подаётся вода, которая смывает отделенные частички кожуры с шероховатой поверхности и очищаемых клубней и выносит их из рабочей камеры машины.
Термический способ основан на обжиге наружных покровов корнеплодов в специальных термоагрегатах, где температура достигает 1200ºС, с последующим удалением обгоревшей кожуры в моечно-очистительных машинах. (мех.обор.общепита) При химическом способе очистки клубни подвергают обработке раствором щелочи с последующей очисткой механическим способом и нейтрализацией остатков щелочи кислотой (уксусной или лимонной). Технологический процесс обработки может быть различным. В одних случаях подогревается непосредственно раствор щелочи (до 100 °С), в других— клубни, вынутые из раствора (до 48 °С).После обработки щелочным раствором клубни очищаются на роликовых машинах и отмываются от щелочи. Далее очищенные клубни обрабатываются раствором лимонной или уксусной кислоты. Химический и паровой способы можно объединить в щелочно-паровой способ очистки. При этом способе очистки используют и химический, и паровой агрегаты: вначале клубни обрабатываются 12%-ным раствором каустической соды, затем острым паром, далее осуществляется доочистка в моечно-очистительной машине.
На предприятиях общественного питания применяют в основном механический способ очистки овощей, что объясняется отсутствием оборудования небольшой производительности и невысокой сложности для осуществления термического и химического способов очистки. Кроме того, только при механическом способе очистки отходы могут быть использованы для производства крахмала. Однако оптимальным способом очистки с точки зрения сохранения питательных веществ при минимальных отходах считается паровой.
При очистке овощей к конечному продукту предъявляют следующие требования. Полностью очищенным считают клубень, у которого кожура сохраняется в углублениях, а на остальной поверхности клубня имеется не более трех участков с кожурой, диаметр которых составляет 1…3мм. Кроме того, очистка не должна приводить к повреждению клубней, что бывает при не правильно подобранных частоте вращения рабочих органов и конструктивных параметрах. Из таких клубней вымываются крахмальные зерна, они быстрее темнеют после очистки, и их консистенция становиться более мягкой, а на поверхности клубня часто бывают выбоины.
2 Классификация овощеочистительных машин, краткая характеристика основных групп
Всё очистительное оборудование можно классифицировать по следующим признакам:
- по функциональному назначению: для очистки овощей и для очистки рыбы от чешуи;
- структуре рабочего цикла: периодического и непрерывного действия;
- форме рабочего органа: дисковые, дисковые с закругленными краями, конусные, роликовые, винтовые скребки
- виду привода: с индивидуальным приводом и в качестве сменных механизмов.
На предприятиях питания малой и средней мощности в овощных цехах устанавливаются картофелечистки периодического действия. В машинах такого типа загрузку, обработку и выгрузку продукта осуществляют поочередно. Приступать к обработке в такой машине следующей порции продукта можно только после того, как из рабочей камеры будет выгружен ранее обработанный продукт, а в некоторых случаях и произведена санитарная обработка рабочей камеры.
Дисковые картофелеочистительные машины имеют рабочий орган в виде металлического вращающегося диска (рис. 5.1,а ), верхняя поверхность которого имеет волнообразную форму и выполнена из шероховатых (чаще всего абразивных) материалов. На поверхности имеются от двух до четырех волн, высота которых увеличивается от центра диска к его краям. Иногда волны выполняют отдельно из металла или другого материала и устанавливают на диск. К машинам данного типа относятся следующие: МОК-150, МОК-300, МОЛ-100, МООЛ-500М, МООЛ-250/125, А9-КЧП. Кроме того, картофелеочистительные машины с дисковыми рабочими органами выпускают многие зарубежные фирмы: Alexander-werk, Dito, Robot и др.
Некоторые картофелеочистительные машины периодического действия (МОК-150, МОК-300, LP-90, LP-350 и др.) имеют рабочие органы в виде вогнутой (больше или меньше) чаши (рис. 5.1, б )с плавным переходом от горизонтальной поверхности к наклонной.
Конусные картофелеочистительные машины имеют рабочий орган в виде вращающегося шероховатого усеченного конуса (рис. 5.1, в ). Если применяют абразивный материал, то конусную абразивную чашу устанавливают на металлическое основание. Машины такого типа установливают в поточно-механизированных линиях. На нижней стороне рабочих органов картофелеочистительных машин периодического действия расположены вертикальные лопасти для удаления отходов.

Рис.??. Форма рабочих органов овощеочистительного оборудования:
а – дисковые; б – дисковые с закругленными краями; в – конусные; г - роликовые;
д - роликовые щеточные; е - винтовые
Сдирание с клубней наружных покровов происходит в рабочих камерах картофелеочистительных машин периодического действия острыми гранями абразивных зерен или другими шероховатыми поверхностями.
Эксплуатация картофелеочистительных машин показывает, что, чем больше диаметр рабочей камеры, тем меньше отходов и тем более гладкой будет поверхность очищенных клубней.
Не меньшее влияние на качество работы картофелеочистительных машин периодического действия и время, необходимое для очистки продукта, оказывают форма волн и величина их угла подъема. Так как для лучшей очистки клубней требуется плавное движение их при интенсивном перемещении из нижних слоев в верхние, то угол подъема волны следует выбирать таким образом, чтобы подбрасывание клубней было наибольшим при меньшей величине удара их о стенку рабочей камеры.
Кроме рассмотренных факторов на качество работы картофелеочистительных машин периодического действия и время, необходимое для очистки клубней, влияет режим их работы, и в первую очередь частота вращения рабочего органа.
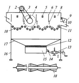
В машинах непрерывного действия (рис. 7) процессы загрузки, обработки и выгрузки продукта в установившемся режиме совпадают по времени, т.е. продукт непрерывно продвигается от загрузочного устройства в рабочую камеру, перемещается вдоль нее и одновременно подвергается воздействию рабочих органов, после чего удаляется через разгрузочное устройство.

Рис. 7. Принципиальная схема кортофелеочистительной машины непрерывного действия:
1 – загрузочное окно; 2 – электродвигатель; 3 – клиноременная передача; 4 – цилиндрическая передача; 5 – коллектор для подачи воды; 6 – перегородка; 7 – заслонка; 8 – секция рабочей камеры; 9 – разгрузочный лоток; 10 – поворотная заслонка; 11 – валик; 12 – сетка; 13 – регулировочный механизм; 14 – сливной патрубок; 15 – крахмалоотстойник; 16 – рама; 17 – ванна; 18 – абразивные ролики
Это дает возможность подавать в машину новые порции продукта до окончания обработки предыдущих и соответственно сокращать время ее работы. Такие машины устанавливают на крупных предприятиях общественного питания, а так же в поточных линиях. В картофелеочистительных машинах непрерывного действия применяют роликовые рабочие органы (рис. 5.1, г ) в виде усеченных конусов, выполненных из абразивного материала и установленных по соответствующим диаметрам. Также могут использоваться цилиндрические ролики, поверхность которых покрыта гибкой нитью (щетками) (рис. 5.1, д ). Эти рабочие органы применяют для очистки поверхности клубней при их обработке термическим способом.
В рыбоочистительном приспособлении используют металлический скребок, на поверхности которого сделаны винтовые нарезки (рис. 5.1, е ).
В качестве рабочих поверхностей в очистительном оборудовании применяют абразивные материалы, выполненные на бакелитовой, магнезиальной и других основах, шероховатые металлические или пластмассовые, лезвийные, щеточные (гибкая нить), резиновые, винтовые нарезки.
Продолжительность обработки клубней, а следовательно, скорость продвижения их по секциям рабочей камеры и производительность машины зависят от сорта картофеля, срока его хранения, а также от состояния кожуры клубней и абразивной поверхности роликов. Скорость прохождения клубней в рабочей камере можно увеличить или уменьшить, изменяя сечения окон в пере-городках и сечение выходного окна с помощью заслонки, а также путем наклона корпуса машины с помощью регулировочного механизма.
Современные модели могут дополнительно комплектоваться дисками для очистки морепродуктов, для очистки репчатого лука, мелкого репчатого лука и чеснока, для сушки зелени, а также моющим диском. Загрузочное устройство картофелечисток закрывается крышкой из прозрачного материала для контроля степени очистки овощей. На крышке загрузочного устройства и дверце для выгрузки смонтированы микровыключатели безопасной эксплуатации. Продолжительность очистки овощей устанавливается таймером. Некоторые модели машин выполняют две функции: мойки и очитки овощей. Модели картофелеочистительных машин выпускаются как в напольном исполнении так и на специальных подставках-стендах.
3 Овощеочистительные машины российских и зарубежных производителей для оснащения современных предприятий общественного питания
4 Конструкция, принцип действия и технические характеристики МОК-250
Картофелеочистительная машина МОК-250 используется на предприятиях общественного питания для удаления кожуры корнеплодов – клубней картофеля, моркови, свеклы, а также твёрдых овощей. Устнавливается в овощных цехах.
![]() |
Картофелеочистительная машина МОК-250 (рис .., чертёж, прил.) состоит из основания, корпуса, рабочей камеры, вращающегося конуса, привода, загрузочного лотка с крышкой и облицовки.
Рис. 8. Картофелеочистительная машина МОК–250:
1 – крышка; 2 – рабочая камера; 3 – абразивный съемный сегмент; 4 – рабочий орган (конус); 5 и 10 – шкивы; 6 – основание; 7 – облицовка; 8 – электродвига-тель; 9 – ремень; 11 – загрузочный лоток
Рабочая камера выполнена в виде цилиндра. Внутренние поверхности рабочей камеры и конуса покрыты абразивным материалом: в виде съемных сегментов на рабочей камере и в виде сплошного покрытия - на конусе. На боковой поверхности камеры имеется дверца для выгрузки очищенных клубней. Дверца уплотнена резиновой прокладкой и закрывается эксцентриковым запором. Для лучшего перемешивания клубней дно абразивного конуса имеет три радиальные волны. С наружной стороны конуса находятся две лопасти (для удаления мезги). Внутри камеры (в верхней части) расположена форсунка для подачи воды.
Приводное устройство машины состоит из электродвигателя и клиноременной передачи, состоящей из шкивов и ремня. Электродвигатель закреплен на подвижной плите. Рабочий вал уплотнен манжетами. Основанием машины служит плита, через которую проходят фундаментные болты. Вращение от приводного устройства передается конусу. В рабочей камере клубни картофеля, совершая сложное движение, трутся об абразивные поверхности.
Принцип действия МОК-250 состоит в том, что от электродвигателя через клиноременную передачу передается вращение абразивному конусу. Клубни картофеля, поступающие в рабочую камеру, центробежной силой прижимаются к ее абразивным поверхностям, а волнообразной поверхностью вращающегося абразивного конуса подбрасываются вверх и под действием силы тяжести вновь падают на вращающийся конус. Таким образом клубни картофеля совершают сложное движение и очищаются за счет трения об абразивные поверхности. Мезга смывается водой, непрерывно поступающей в рабочую камеру.
Технические характеристики картофелеочистительной машины МОК-250 следующие.
1….
2….
3……..
5. Машинно-аппаратурная схема приготовления оладьев из картофеля
Блюдо «Оладьи из картофеля» могут включать в меню предприятия общественного питания с большим количеством потребителей, такие как школьные столовые или высших учебных заведений, кулинарии и т.п., где они будут пользоваться спросом и выпускаться в большом количестве. Следовательно использование различных видов механического и теплового оборудования на различных стадиях производства является обоснованным.
Для приготовления оладьев из картофеля необходимо очищенный картофель протереть, в полученную массу добавить просеянную муку, молоко, сахар, яйца и соль, перемешать до образования однородной массы.
На раскаленную сковороду смазанную жиром порционно раскладывают тесто и жарят оладьи с обеих сторон.
Машинно-аппаратурная схема приготовления оладьев из картофеля представлена на рисунке 2 .
Таким образом, в процессе приготовления оладьев из картофеля можно использовать следующие виды электромеханического и теплового оборудования: Вибрационная овощемоечная машина ММВ-2000, Картофелеочистительная машина МОК-250, Овощерезательно-протирочная машина ОМ-300, Мукопросеиватель МП, Механизм для взбивания и перемешивания ВМ, Сковорода электрическая СЭ-0,45
![]() |
Рис. 2 . Машинно-аппаратурная схема приготовления оладьев из картофеля
6 Правила эксплуатации и организация технического обслуживания овощеочистительного оборудования
В процессе эксплуатации картофелеочистительных машин следует придерживаться определенных правил. Причем соблюдение этих правил обеспечивает оптимальное использование оборудования, высокое качество производимой продукции, надежность и долговечность, высокую производительность, безопасность производства.
Рассмотрим особенности эксплуатации картофелеочистительных машин периодического действия.
Прежде чем приступить к очистке овощей, проводят внешний осмотр машины, определяют ее санитарное состояние, убеждаются в отсутствии посторонних предметов внутри рабочей камеры, проверяют заземление, состояние электропроводки и правильность сборки.
Запрещается включать машину при снятой крышке и открытой дверце разгрузочного лотка. Далее включают машину и проверяют ее работу на холостом ходу. После этого можно приступить к работе. Предназначенные для очистки овощи должны быть откалиброваны и тщательно вымыты, что уменьшает количество отходов, улучшает качество очистки и удлиняет срок эксплуатации машины.
Включают машину нажатием кнопки «Пуск», открывают водопроводный кран, и вода поступает в рабочую камеру. Общий расход воды не должен превышать 1 л на 1 кг очищаемого продукта. Далее открывают крышку загрузочного лотка и загружают в рабочую камеру порцию подготовленного продукта, определенную инструкцией по эксплуатации. При увеличении или уменьшении загружаемой порции овощей по сравнению с нормативной понижается производительность машины, ухудшается качество очистки, а также увеличивается процент их отходов.
Закрыв крышку загрузочного лотка, производят очистку овощей; при этом надо следить за выводом из машины воды с мезгой. По окончании очистки, что определяется визуально или устанавливается с помощью программатора (у машины LP-90), нужно разместить под разгрузочным лотком емкость для сбора очищенных овощей, перекрыть подачу воду в рабочую камеру, осторожно открыть дверцу разгрузочного лотка и выгрузить очищенные овощи.
Выгрузив очищенный продукт, необходимо вновь закрыть дверцу разгрузочного лотка и повторить операции. После окончания очистки выключить машину нажатием кнопки «Стоп» и закрыть кран подачи воды в рабочую камеру. В конце работы отключить автоматический выключатель.
Завершив очистку овощей, проводят санитарную обработку машины: ее очищают, тщательно промывают струей воды рабочую камеру, освобождают от грязи и очистков, насухо вытирают наружную поверхность. При санитарной обработке машины следует пользоваться волосяными, а не металлическими щетками. При длительной работе машины не следует допускать скопления воды вблизи фундамента, на котором она установлена, так как увлекаемая вентилятором влага может попасть в двигатель, что приведет к быстрому выходу его из строя.
Для картофелеочистительных машин непрерывного действия рассмотрим следующие правила эксплуатации.

