| Скачать .docx | Скачать .pdf |
Реферат: Производство подового хлеба
МИНИСТЕРСТВО ОБРАЗОВАНИЯ И НАУКИ РОССИЙСКОЙ ФЕДЕРАЦИИ
Реферат
на тему: «Производство подового хлеба»
Содержание
Введение
1. Стадии технологического процесса
2. Производство подового хлеба
2.1 Машинно-аппаратурная схема линии производства подового хлеба
2.2 Тестоприготовительный агрегат И8-ХТА-12
2.3 Печь ПХС-25
Заключение
Список литературы
Приложение
Введение
Хлеб вырабатывают в виде штучных изделий, выпеченных из мучного теста, которое подвергнуто брожению. Поверхность изделий покрыта твердой корочкой, а внутри содержится мягкий, пористый, резинообразный мякиш.
Основным сырьем для производства хлеба является пшеничная и ржаная мука, а также питьевая вода. В качестве дополнительного сырья используют дрожжи, соль, сахар, жиры и различные пищевые добавки. Хлебопекарная мука изготовлена из мучнистых зерен мягкой пшеницы. Структура такой муки является сыпучей порошкообразной. Все дополнительное сырье преобразуют в промежуточные жидкие полуфабрикаты: растворы, эмульсии или суспензии.
Хлебопекарное тесто в результате замеса и брожения приобретает необходимые для данного вида хлеба кислотность и физические свойства: упругость, формоудерживающую и газоудерживающую способности, которые обеспечивают максимальный объем тестовых заготовок, поступающих на выпечку.
Приготовление хлеба из пшеничной муки можно разделить на следующие стадии и основные операции:
подготовка сырья к производству — хранение, смешивание, авраля, просеивание и дозирование муки;
подготовка питьевой воды;
приготовление и темперирование растворов соли и сахара, жировой эмульсии и дрожжевой разводки;
дозирование рецептурных компонентов, замес и брожение опары теста;
разделка — деление созревшего теста на порции одинаковой массы;
формование — механическая обработка тестовых заготовок с целые придания им определенной формы: шарообразной, цилиндрической, сигарообразной и др.;
расстойка — брожение отформованных тестовых заготовок. После расстойки тестовые заготовки могут подвергаться надрезке (батоны, городские булки и др.);
гигротермическая обработка тестовых заготовок и выпечка хлеба;
охлаждение, отбраковка и хранение хлеба.
Так, целью работы является изучение стадий технологического процесса производства подового хлеба.
Задачи: представить машино-аппаратурную схему линии производства подового хлеба, изучить оборудования тестоприготовительного агрегата.
1. Стадии технологического процесса
Приготовление хлеба можно разделить на следующие стадии [3; c.102]:
— подготовка сырья к производству: хранение, смешивание, аэрация, просеивание и дозирование муки; подготовка питьевой воды; приготовление и темперирование растворов соли и сахара, жировых эмульсий и дрожжевых суспензий;
— дозирование рецептурных компонентов, замес и брожение опары и теста;
— разделка — деление созревшего теста на порции одинаковой массы;
— формование — механическая обработка тестовых заготовок с целью придания им определенной формы: шарообразной, цилиндрической, сигарообразной и др.;
— расстойка — брожение сформированных тестовых заготовок. После расстойки тестовые заготовки могут подвергаться надрезке (батоны, городские булки и др.);
— гидротермическая обработка тестовых заготовок и выпечка хлеба;
— охлаждение, отбраковка и хранение хлеба.
2. Производство подового хлеба
2.1 Машинно-аппаратурная схема линии производства подового хлеба
Машинно-аппаратурная схема линии производства подового хлеба — одного из массовых видов хлеба из пшеничной муки показана на рис. 1 (Приложение 1).
Муку доставляют на хлебозавод в автомуковозах, принимающих до 7...В т муки. Автомуковоз взвешивают на автомобильных весах и подают под разгрузку. Для пневматической разгрузки муки автомуковоз оборудован воздушным компрессором и гибким шлангом для присоединения к приемному щитку 8. Муку из емкости автомуковоза под давлением по трубам 10 загружают в силосы 9 на хранение.
В специальных устройствах готовят растворы соли и сахара, дрожжевую разводку и расплав жира (маргарина). Эти полуфабрикаты хранят в расходных емкостях, из которых через дозирующие устройства они поступают на замес. На рис, 1. показаны емкости 20 и 21 для хранения раствора соли и дрожжевой разводки.
При работе линии муку из силосов 9 выгружают в бункер 12 с применением системы аэрозольтранспорта, который кроме труб включает в себя компрессор 4, ресивер 5 и воздушный фильтр 3. Расход муки из каждого силоса регулируют при помощи роторных питателей 7 и переключателей 11. Для равномерного распределения сжатого воздуха при различных режимах работы перед роторными питателями устанавливают ультразвуковые сопла 6.
Программу расхода муки из силосов 9 задает производственная лаборатория хлебозавода на основе опытных выпечек хлеба из смеси муки различных партий. Такое смешивание партий муки позволяет выравнивать хлебопекарные качества рецептурной смеси муки, поступающей на производство. Далее рецептурную смесь муки очищают от посторонних примесей на просеивателе 13, снабженном магнитным уловителем, и загружают через промежуточный бункер 14 и автоматические весы 75 в производственные силосы 16.
В данной линии для получения хорошего качества хлеба используют двухфазный способ приготовления теста. Первая фаза — приготовление опары, которую замешивают в тестомесильной машине 77. В нее дозируют муку из производственного силоса 16, а также оттемперированную воду и дрожжевую разводку через дозировочную станцию 18. Для замеса опары используют от 40 до 70 % муки [2; c.69]. Из машины 77 опару загружают в шестисекционный тестоприготовительный агрегат 19.
После брожения в течение 3,0...4,5 ч опару из агрегата 19 дозируют во вторую тестомесильную машину с одновременной подачей оставшейся части муки, воды, растворов соли и сахара, расплава жира. Вторую фазу приготовления теста завершают его брожением в емкости 22 в течение 1...2 ч. Плотность пшеничного теста после замеса составляет 1200 кг/м3 , в конце брожения — 500 кг/м3 .
Готовое тесто стекает из емкости 22 в приемную воронку тестоделительной машины 23, предназначенной для получения порций теста одинаковой массы. После обработки порций теста в округлительной машине 24 образуются тестовые заготовки шарообразной формы, которые с помощью маятникового укладчика 7 раскладывают в ячейки люлек расстойного шкафа 2.
Расстойка тестовых заготовок проводится в течение 35...50 мин. При относительной влажности воздуха 80...85 % и температуре 35...40 °С в результате брожения структура тестовых заготовок становится пористой, объем их увеличивается в 1,4... 1,5 раза, а плотность снижается на 30...40 % [3; c.105]. Заготовки приобретают ровную гладкую эластичную поверхность. Для предохранения тестовых заготовок от возникновения при выпечке трещин-разрывов верхней корки в момент перекладки заготовок на под печи 25 их подвергают надрезке или наколке.
На входном участке пекарной камеры заготовки в течение 2...3 мин подвергаются гигротермической обработке увлажнительным устройством при температуре 100...160 °С и относительной влажности воздуха 70...85 %. Выпечка производится при переменном температурном режиме печи 150...250 °С в течение 10...60 мин, в зависимости от рецептуры и массы порции выпекаемого хлеба.
Выпеченные изделия с помощью укладчика 26 загружают в контейнеры 27 и направляют через остывочное отделение в экспедицию.
Общая продолжительность приготовления хлеба от подачи муки до получения готовой продукции обычно составляет 9...10 ч.
2.2 Тестоприготовительный агрегат И8-ХТА-12
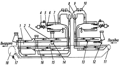
Тестоприготовительный агрегат И8-ХТА-12 (рис. 2.Приложение 1) предназначен для приготовления пшеничного теста двухфазным способом на большой густой опаре. Оборудован стационарным шестисекционным бункером для опары вместимостью 12 м3 и наклонным корытом для брожения теста вместимостью 2,8 м3 , которое установлено так, чтобы тесто из него поступало самотеком в тестоделительную машину [1; c.127]. Тесто замешивается в машинах И8-ХТА, а транспортируется по трубам лопастным насосом-дозатором. Бункер 3 агрегата установлен на опорах 2.
Тестомесильные машины 10 для замеса опары и теста расположены так, что под ними размещаются лопастный дозатор опары 9 и аналогичный по конструкции нагнетатель теста, а рядом установлена дозировочная станция 77. Замешенная опара поступает в бункер по транспортной трубе 8 и с помощью распределительного поворотного лотка 14 направляется в определенную секцию бункера. Лоток закреплен на общем валу с поворотным днищем, размещенным в конусе 4. В поворотном днище имеется вырез для выгрузки опары из одной секции бункера. Приводное устройство 75 периодически по мере загрузки секции опарой поворачивает лоток и поворотное днище на один шаг и переводит загрузку на следующую секцию. Выброженная опара с помощью насоса-дозатора 5 транспортируется по трубе 6 к тестомесильной машине. Замешенное тесто подается лопастным насосом по трубе 7 в наклонное корыто 18, установленное на четырех опорах 7, и отводится по тесто-спуску 19.
Бункер снабжен лестницей 12 и площадкой для обслуживания 77с ограждением 16. Рядом размещен пульт управления 13.
Отличительной особенностью агрегата является то, что на нем применены лопастные дозаторы опары и аналогичные по конструкции нагнетатели теста, работающие более надежно, чем шнековые, и не вызывающие заметного нагрева теста. Для брожения теста применено наклонное корыто без механического побудителя перемещения теста. Объем корыта уменьшен в связи с сокращением длительности брожения теста из-за более интенсивной его проработки в тестомесильной машине и транспортных устройствах.
2.3 Печь ПХС-25
Печь ПХС-25 (рис. 2 Приложение 1) состоит из пекарной камеры, в которой имеются восемь секций длиной по 1,5 м каждая, ленточного конвейерного пода и каналов с двумя самостоятельными замкнутыми газовыми трактами. У ленточного конвейерного пода имеются ведущий барабан диаметром 710мм и барабан ведомый диаметром 320мм, на которые натянута плетеная сетка. Конвейер оборудован устройством для корректирования положения сетчатой ленты путем изменения степени натяжения ее правой или левой половины. Кроме того, конвейер оборудован сигнализатором, который включается, когда нарушаются установленные зазоры между кромками сетчатой ленты и боковыми стенками пекарной камеры. Привод печи осуществляется от электродвигателя через вариатор скорости, зубчатые передачи и редуктор. Конструкцией приводного механизма предусмотрен ручной привод. Наличие вариатора позволяет регулировать продолжительность выпечки от 12 до 72 мин. На нижней части сетки расположен щеточный механизм для очистки. Печь обогревается дымовыми газами, циркулирующими по каналам при помощи двух вентиляторов.
В топочных устройствах можно сжигать газ или мазут (нефть). Воздух к форсункам подводится отдельным вентилятором. Продукты сгорания направляются в верхние и нижние каналы и омывают верхние гофрированные и нижние стальные листы, отдавая теплоту выпекаемым изделиям.
Для осмотра конвейера и наблюдения за выпечкой в боковых стенах печи установлены смотровые лючки, а для контроля температуры среды пекарной камеры предусмотрено три термометра манометрического типа. Площадь пекарной камеры печи 25 м2 . [4; c.88].
Принципиальная схема печи представлена на (рис. 3 Приложение 1). Обогрев пекарной камеры 1 осуществляется продуктами сгорания, получаемыми в двух топках 7. Топки оборудованы смесительными камерами и инжекционными горелками 6. Продукты сгорания движутся по металлическим каналам 2 и 16, ограждающим пекарную камеру сверху и снизу. Через пекарную камеру проходит ленточный конвейер 75, огибающий приводной 18 и натяжной 11 барабаны. Сетка ленточного конвейера очищается металлической круглой щеткой 17.
Для уменьшения вентиляции внутри пекарной камеры предусмотрены два поворотных фартука 13, а в торцевых проемах — подъемные дверцы 12. Для удаления излишней влаги пекарная камера соединена двумя вытяжными отверстиями и каналами 14 с вентиляционной системой предприятия.
Печь оборудована двумя обогревательными системами, которые обслуживают две зоны выпечки. Все конструкции обогревательной системы, находящиеся по действием газов высокой температуры, изготовлены из жаростойких сталей.
Для сжигания газа применяются инжекционные горелки 6 среднего давления с ручным регулированием расхода газа и автоматическим дозированием первичного воздуха. Горелки состоят из корпуса с четырьмя соплами и самостоятельными смесителями. Газ подается в корпус горелки через регулировочный кран 4, его давление контролируется манометром. В центре горелки размещен запальник 5 с обособленным подводом газа.
Горячие газы, образующиеся в топках, под влиянием тяги, создаваемой дымососами 8, проходят по металлическим каналам 3 и через их стенки передают теплоту обеим зонам пекарной камеры. В конце системы охлажденные газы разделяются на два потока: один направляется в дымовую трубу через клапан 10, а другой — в смесительную камеру топки для охлаждения ее стенок и снижения температуры топочных газов.
Обе обогревательные системы оборудованы тягомерами для контроля тяги в топках, термопарами и гальванометрами для замера температуры газов в конце смесительных камер топок, взрывными клапанами и электромагнитным клапаном для прекращения подачи газа к горелкам в случаях остановки работы дымососов или при снижении давления в газоподаче ниже допустимого предела.
Перед розжигом печи системы продувают свежим воздухом. Для этого клапан 9 перекрывает канал движения газов, и через патрубок они выбрасываются наружу, а свежий воздух через топки поступает в систему и проходит по всем каналам.
Заключение
Итак, на основании изложенного выше, вывод: в настоящее время в хлебопекарном производстве применяют два вида поточных линий, отличающихся по степени механизации. Выработка хлебобулочных изделий в ассортименте осуществляется на механизированных линиях, позволяющих в пределах ассортиментных групп переходить с производства одного вида продукции на производство другого. Массовые виды продукции (батоны, формовой и круглый подовый хлеб) вырабатывают на специализированных комплексно-механизированных линиях и автоматизированных линиях.
Основными процессами хлебопекарного производства являются замес и брожение рецептурной смеси-теста. При замесе перемешиваются компоненты, смесь подвергается механической обработке и насыщению пузырьками воздуха, происходит гидролитическое воздействие влаги на сухие компоненты смеси, формируется губчатый каркас теста. Брожение теста вызывается жизнедеятельностью дрожжей, молочно-кислых и других бактерий. При брожении в тесте протекают микробиологические и ферментативные процессы, изменяющие его физические свойства. Образуется капиллярно-пористая структура, удерживаемая эластично-пластичным скелетом, поры которого заполнены газом, состоящим из диоксида углерода, паров воды, спирта и других продуктов брожения. Происходит накопление ароматических и вкусовых веществ, определяющих потребительские свойства хлеба.
Продукция хлебопекарного производства выпускается в законченном товарном и потребительском виде. Срок хранения хлеба без специальной упаковки не превышает 1.. .2 суток, поэтому его производство организуют в местах непосредственного потребления. Для транспортирования хлеб укладывают на деревянные лотки, размещают последние на стеллажах или тележках и перевозят специализированными автомобилями.
Список литературы
1. Введение в специальность. / Под ред. Панфилова В.А. –М., 2007.
2. Егоров, Г.А. Технология и оборудование мукомольно-крупяного и комбикормового производства [Электронный ресурс]: [текст] Учебник/ Г.А. Егоров, Е.М. Мельников, В.Ф. Журавлев. - Электрон. дан.. - М.: Колос, 1979.
3. Машины и аппараты пищевых производств. В 2 кн. Кн. 1. / Под ред. Антипова С.Т. и др. –М., 2001.
4. Чеботарев, О.Н. Технология муки, крупы и комбикормов [Электронный ресурс]: [текст] Учеб. пособие/ О.Н. Чеботарев, А.Ю. Шаззо, Я.Ф. Мартыненко. - Электрон. дан.. - Ростов н/Д: МарТ, 2004
Приложение 1

Рис. 1. Машинно-аппаратурная схема линии производства хлеба из пшеничной муки

Рис. 2. Тестоприготовительный агрегат И8-ХТА-12

Рис. 3. Принципиальная схема печи ПХС-25