| Скачать .docx |
Реферат: Цокалевка электронно-оптических преобразователей
БЕЛОРУССКИЙ ГОСУДАРСТВЕННЫЙ УНИВЕРСИТЕТ ИНФОРМАТИКИ И РАДИОЭЛЕКТРОНИКИ
кафедра этт
реферат на тему:
«цокалевка электронно-оптических преобразователей. сборка узлов квантовых генераторов»
МИНСК, 2008
Цоколевка электронно-оптических преобразователей, их селекция и контроль.
Выпускаемые ЭОП в большинстве случаев не имеют поверхностей, которые можно было бы принять за базовые при сборке и юстировке, а поэтому вводится операция цоколевки, обеспечивающая центрирование ЭОП по отношению к вспомогательной сборочной базе (цилиндрической поверхности и опорному торцу цоколя) и подвод к фотокатоду ЭОП нулевого потенциала.
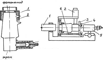
Для этих целей ЭОП крепится в латунном цоколе 1 (рис.1) при помощи токопроводящей цоколевочной массы 2. Предварительно обезжиривается растворителем внутренняя поверхность цоколя. Крепежные отверстия в цоколе перед заливкой массы защищаются бумажными прокладками. Цоколевочная токопроводящая масса, составленная на основе свинцового глета, приготавливается в фарфоровых чашечках непосредственно перед цоколевкой в необходимых количествах.
При цоколевке визирная ось ЭОП совмещается с геометрической осью цоколя. Обезжиренный цоколь устанавливается и базируется в оправе 6 специальной струбцины. ЭОП закрепляется в цоколе при помощи прижима 3 и винтов 4, затем осуществляется заливка цоколя токопроводящей массой. Струбцина 6 с ЭОП устанавливается на КЮ прибор (рис.2).

Рис.1 Рис.2
Сетка проектора 1 освещается длинноволновым излучением от лампы через светофильтр. К ЭОП через патрон 2 подается напряжение. Изображение перекрестия проектируется в центр посадочного диаметра на фотокатод ЭОП. Изображения марки фотокатода и перекрестия проектора рассматриваются через микроскоп 5. Пока токопроводящая масса эластична, осуществляются поз.3 и 4 поперечные подвижки и отклонение оси ЭОП так, чтобы визирная ось последнего была совмещена с визирной осью проектора и микроскопа. Допустимое смещение центра марки ЭОП с оси цоколя не более 0,1-0,3 мм. Допустимый наклон линий марки (наклон сетки) ±2°.
На плоскость экрана ЭОП устанавливается и крепится (клеем 88) полевая диафрагма, выполненная из черной киноленты. Визирная ось ЭОП должна проходить через центр полевой диафрагмы. Точность ее установки ±0,2 мм. Контроль установки полевой диафрагмы – по допусковым окружностям в поле зрения микроскопа 5. После выполненных операций центрирования струбцина с ЭОП снимается с КЮ прибора и в собранном виде устанавливается в термошкаф, где в течение 3-4 ч осуществляется сушка массы при
.
Собранный ЭОП контролируется по штриховой мире в ИК лучах на разрешающую способность и качество изображения. Схема контроля представлена на рис.3. ЭОП считается годным, если расчетная мира резко видна по всем четырем направлениям при удовлетворительном контрасте видимых штрихов.

Рис.3
Для контроля разрешающей способности ЭОП по полю экрана вместо коллиматора с мирой устанавливают щит с мирами на расстоянии 5-10 м от фотообъектива, которые освещаются прожектором с фильтром, входящим в комплект оптико-электронного прибора. Миры расположены таким образом, что контроль разрешающей способности осуществляется по полю экрана в горизонтальном, вертикальном направлениях и под углом 45° к указанным направлениям в центре, на краю и в двух-трех промежуточных положениях поля.
Так, для ЭОП В1-П, устанавливают в бинокулярный визир, разрешающая способность в центре и на краю должна быть не ниже 40 и 10 л/мм соответственно.
На разрешающую способность ЭОП влияет непараллельность плоскостей фотокатода и экрана. Непараллельность указанных плоскостей контролируется автоколлимационным способом: автоколлиматор устанавливается относительно вспомогательной базы – полированной стеклянной пластины (совмещается визирная ось автоколлиматора с нормалью плоскости вспомогательной базы), прижимается к стеклянной пластине фотокатод ЭОП и измеряется угловое отклонение автоколлимационного изображения, отраженного от экрана ЭОП. Допустимая непараллельность плоскостей 10-20´.
При контроле ЭОП для бинокулярных приборов дополнительно осуществляется селекция ЭОП по величине углового отклонения визирной оси (если цоколевка ЭОП не выполняется). В этом случае угол отклонения контролируется по схеме (рис.3), но вместо миры устанавливается перекрестие, а сетка микроскопа в центральной части разделена на прямоугольные участки, имеющие свои номера. В бинокулярный прибор устанавливаются два ЭОП с одинаковым отклонением визирной или оптической оси (изображения перекрестий проектируется в прямоугольник с одним и тем же номером). Такая селекция ЭОП облегчает юстировку параллельности пучков лучей на выходе из окуляров при сборке бинокулярного прибора.
2. Сборка узлов квантовых генераторов.
1) Основные требования к оптической системе квантового генератора на твердом теле.
Оптические квантовые генераторы (ОКГ) являются источниками мощного узконаправленного монохроматического когерентного излучения и используются в различных областях техники как самостоятельные приборы или как узлы осветительной системы.
Структурно ОКГ состоит из активной среды (излучателя), объемного резонатора, источников возбуждения и питания. Первым активным веществом (излучателем), примененным в ОКГ, был монокристалл рубина. Искусственный рубин представляет собой окись алюминия, в которой часть атомов алюминия заменена атомами хрома. Количеством хрома определяется цвет рубина. Так бледно-розовый рубин содержит 0,05% Cr, красный 0,5%. Кристалл растят в плечах, заготовку отжигают и обрабатывают, придавая рубину форму стержня. Торцевые поверхности стержня обрабатывают с высокой степенью точности и полируют. Непараллельность торцов должна быть в пределах 3-9´´. Торцы покрывают серебряным или диэлектрическим слоем с высоким коэффициентом отражения. Чистота поверхности соответствует 1-му классу. Торцы кристалла образуют открытый резонатор. Рубиновый стержень конструктивно размещается вблизи источника возбуждения. Импульсные лампы относительно рубина располагаются различно, что определяется максимально возможной отдачей энергии стержню. Так, импульсная лампа может быть выполнена в виде спирали, охватывающей рубиновый стержень; рубиновый стержень может быть расположен между четырьмя лампами карандашного типа и для повышения светоотдачи лампы окружается отражателем, рубиновый стержень и лампа карандашного типа располагаются в фокусах эллиптического цилиндра – отражателя. Применяются и полиэллиптические отражатели при облучении несколькими лампами. Питается импульсная лампа от конденсатора большой емкости, который заряжается выпрямителем.
К кристаллическим излучателям предъявляются высокие требования. Например, для рубина с плоскими параллельными торцами необходимо выполнить следующие требования:
а) оптическая ось кристалла должна быть параллельной оси стержня или перпендикулярной ей с точностью до 10´´;
б) плоскостность торцевых поверхностей до 0,1 λ линии натрия;
в) отклонение от параллельности торцевых поверхностей ≤ 3´´;
г) отклонение торцевых плоскостей от перпендикулярности к оси цилиндра кристалла ±1´´;
д) допуск на длину стержня и диаметр
;
.
Наряду с кристаллическими излучателями используются стеклянные и полупроводниковые.
Так как коэффициент усиления квантовой системы зависят от пути, проходимого возбуждающим потоком в системе, то чем больше этот путь, тем большее число возбужденных частиц участвует в излучении и тем больший поток можно получить на выходе системы. Стеклянные стержни (неодимового стекла) могут иметь большие размеры, чем кристаллические, и быть изготовлены любой формы, требуемой для достижения наибольшей эффективности прибора.
2) Открытые резонаторы
Для концентрации электромагнитной энергии требуемой частоты, для обеспеченна многократного отражения электромагнитной волны с целью поддержания генерации и обеспечения резонанса при генерировании колебаний применяются открытые резонаторы, которые в большинстве случаев образованы двумя зеркалами, установленными друг против друга. Эти зеркала имеют серебряное либо диэлектрическое отражающее покрытие, состоящее из нескольких слоев диэлектриков, каждый из которых обладает различными оптическими характеристиками. Серебряное покрытие по сравнению с диэлектрическим обладает меньшим коэффициентом отражения и большими потерями. В процессе эксплуатации серебряные покрытия портятся и требуют замены во избежание падения выходной мощности и увеличения энергии, потребной для генерации. Диэлектрические же покрытия сохраняют стабильность своих свойств при эксплуатации и им отдается предпочтение.
Трудности юстировки одного плоского зеркала относительно другого привели к тому, что стали применять не плоские, а сферические зеркала, установленные друг от друга на расстоянии, равном удвоенному радиусу их кривизны. Такой резонатор обладает (по сравнению с резонатором, образованным плоскопараллельными пластинами) меньшими дифракционными потерями и требует более низкой мощности возбуждения. Юстировка зеркал сравнительно более легкая.
При установке между зеркалами резонатора кристаллического стержня (у которого имеется свой резонатор - параллельные торцы кристалла), резонатор всей системы получается сложным, расчетным путем он приводится. к эквивалентному.
Если торцевые поверхности кристалла не покрыты диэлектриком, то зеркала выполняют роль резонатора с вынесенными зеркалами. Излучатель и зеркала объединяются в единую конструкцию, которая предусматривает юстировочное приспособление, обеспечивающее возможность установки одного зеркала параллельно другому с высокой точностью.
3) Юстировка резонатора с вынесенными зеркалами
На рис. 4 представлена схема установки на базе ОКГ с резонатором, состоящим из сферического и плоского зеркал. Сферическое зеркало имеет коэффициент отражения близкий к 100% (для λ 0,694 мкм). Второе зеркало - сапфировая плоскопараллельная пластина с коэффициентом отражения для указанной длины волны 35%. Питание лампы накачки осуществляется от высоковольтного блока прибора. За базу геометрической юстировки принимаются торец кристалла и его ось. Для юстировки зеркал резонатора используется автоколлимационная труба, согласование визирной оси которой с осью кристалла осуществляется винтами горизонтальной и вертикальной наводки автоколлимационной трубы.

Рис.4
Целью юстировки резонатора является установка плоского зеркала параллельно правому торцу кристалла и совмещение оптической оси сферического зеркала с оптической осью кристалла. Юстировка зеркал резонатора выполняется в следующем порядке. При включенной подсветке сетки автоколлимационной трубы винтами наводки последней добиваются появления в поле зрения автоколлимационных бликов от зеркал и торца кристалла: наиболее яркого - от сапфировой пластины и более слабого - от сферического зеркала. Винтами наводки автоколлимационной трубы совмещается перекрестие ее окуляра с отражением от переднего торца кристалла. Винтами юстировочных приспособлений, зеркал (на схеме не указаны) совмещаются автоколлимационные изображения перекрестий, отраженные от сферического, а затем, от плоского зеркала. О правильности юстировки зеркал резонатора судят по получении импульсов когерентного излучения: при недостаточной точности юстировки зеркал излучение будет носить спонтанный характер.
4) Юстировка зеркал газового ОКГ
Основными элементами излучающей головки газового ОКГ являются газоразрядная трубка, зеркала резонатора и юстировочное приспособление. Излучающая головка предназначается для преобразовании электрической энергии или энергии СВЧ в монохроматическое когерентное индуцированное излучение.
Юстировочные приспособления конструктивно выполняются различно, но решают одну и ту же задачу - поворачивают зеркала друг относительно круга с целью обеспечения их параллельности (при плоских зеркалах) или совмещения их оптической оси с осью газоразрядной трубки. Зеркала перемещаются, как правило, вручную с помощью микрометренных винтов.
Для увеличения производительности взаимной ориентации юстировочных баз зеркал осуществляют предварительную юстировку зеркала относительно опорной базы юстировочного приспособления. Для этого нa опорную базу приспособления крепят эталонный угольник с зеркалом, нормаль которого параллельна опорной поверхности, по зеркалу устанавливается автоколлиматор, а затем юстируется зеркало резонатора. Точность предварительной юстировки зеркал обычно 5.
Автоколлимационная трубка устанавливается таким образом, чтобы пучок света проходил через газоразрядную трубку (визирная ось автоколлиматора, установленная на оси газоразрядной трубки, принимается за котировочную базу). Автоколлимационные изображения перекрестий, отраженные от ближнего и дальнего зеркал, совмещаются с перекрестием автоколлимационной трубы с помощью микрометренных винтов юстировочного приспособления. Таким образом, зеркала устанавливаются параллельно одно другому.
После юстировки зеркал включается источник возбуждения, в трубке возникает газовый разряд, приводящий к непрерывному и индуцированному излучению. Установив на его пути фотоэлемент, сигнал с которого подается на осциллограф, можно осуществить дополнительную юстировку по максимуму излучения на работающем генераторе.
В ряда случаев в конструкции ОКГ предусматриваются оптические устройства вспомогательного назначения: отклоняющие зеркала и призмы, телескопические системы для уменьшения угла расходимости пучка первоначального формирования, визиры для наведения системы излучателя на объект, модуляторы, поляризационные призмы и др.
На рис.5 представлены оптическая система импульсного ОКГ в общий вид прибора, установленного на штативе. Оптическая система, кроме излучателя, состоящего из кристалла рубина и импульсной ксеноновой лампы с цилиндрическим отражателем, включает защитное стекло, отклоняющую призму и телескопическую систему, уменьшающую угол расхождения лучей. Для нахождения генератора на объект служит визирная труба, установленная параллельно телескопической системе. Методы сборки и юстировки телескопических систем (системы сужения угла расходимости пучка лучей и визирной трубки) сводятся к центрированию компонентов, установке нулевого положения (совмещению фокусов
и
) и установке полевой диафрагмы в фокусе объектива.

Рис.5
Выверка параллельности визирной оси трубки и оптической оси генератора может быть выполнена с контролем двояким способом (способ "б" удобен для ОКГ непрерывного излучения):
а) по автоколлимационной трубе, объектив которой полностью или частично перекрывает световые отверстия объективов телескопических систем: разворотом автоколлимационной трубы находят и совмещают с центром перекрестия его автоколлимационное изображение, отраженное от торца кристалла, а затем при подсветке в окуляр визирной трубки изображение перекрестия ее сетки совмещают с центром перекрестия автоколлимационной трубы (путем разворота последней);
б) при включенном генераторе выходящий световой пучок совмещают с центром перекрестия зрительной трубы, установленной так же, как автоколлимационная труба в предыдущем случае. Совмещение осуществляют разворотом юстировочной зрительной трубы. Генератор выключают и, не сбивая установки разворотом визирной трубки, изображение его перекрестия совмещают с центром перекрестия зрительной трубы. Объектив зрительной трубы, как и в предыдущем варианте, должен перекрывать (полностью или частично) световые диаметры объективов обеих регулируемых систем. При большом расстоянии между осями генератора и визира для контроля используют автоколлиматор с разделением пучков посредством ромбической призмы.
При наличии в оптической системе резонатора электрооптического модулятора и поляризационных призм добавляются юстировочные операции по взаимному ориентированию указанных деталей и узлов.
ЛИТЕРАТУРА
1. Справочник технолога-оптика под редакцией М.А. Окатова, Политехника Санкт-Петербург, 2004. - 679 с.
2. Запрягаева Л.А., Свешникова И.С. Расчет и оптических систем. М. Логос, 2000. - 581 с.
3. Апенко М.И., Запрягаева Л.А., Свешникова И.С. Задачник по прикладной оптике, Высшая школа, 2003. - 591 с.
4. Прикладная оптика под редакцией Дубовика А.С Машиностроение, 1992. - 470 с.