| Скачать .docx |
Реферат: Характеристика РЭСИ как объекта теории надежности. Основные показатели безотказности для невосстанавливаемых объектов
Министерство образования Республики Беларусь
Белорусский государственный университет информатики и
радиоэлектроники
кафедра РЭС
РЕФЕРАТ
на тему:
«Характеристика РЭСИ как объекта теории надежности. Основные показатели безотказности для невосстанавливаемых объектов»
МИНСК, 2008
Характеристика РЭСИ как объекта теории надежности
При анализе и оценке надежности в радиоэлектронике, конкретные РЭСИ именуются обобщенным понятием «объект».
Объект - это предмет определенного целевого назначения, рассматриваемый в периоды проектирования, производства, эксплуатации, изучения, исследования и испытаний на надежность. Объектами могут быть как системы, так и отдельные РЭСИ и их элементы.
При расчетах и анализе надежности широко используются термины «элемент» и «система». Под элементом понимается часть сложного объекта, которая имеет самостоятельную характеристику надежности, используемую при расчетах и выполняющую определенную частную функцию в интересах сложного объекта, который по отношению к элементу представляет собой систему.
Каждый объект характеризуется рядом выходных качественных параметров, допустимые значения которых в процессе эксплуатации оговорены в нормативно-технической (стандарты, технические условия) и (или) конструкторской документации.
В соответствии с ГОСТ 27.002-89 надежность трактуется как свойство объекта сохранять во времени в установленных пределах значения всех параметров, характеризующих способность выполнять требуемые функции в заданных режимах и условиях применения, технического обслуживания, ремонта, хранения и транспортирования.
С позиций надежности объект может находиться в следующих технических состояниях:
• исправное;
• неисправное;
• работоспособное;
• неработоспособное;
• предельное.
Исправное состояние. Состояние объекта, при котором он соответствует всем требованиям нормативно-технической и (или) конструкторской документации.
Неисправное состояние. Состояние объекта, при котором он не соответствует хотя бы одному из требований нормативно-технической и (или) конструкторской документации.
Работоспособное состояние. Состояние объекта, при котором значения всех параметров, характеризующих способность выполнять заданные функции, соответствуют требованиям нормативно-технической и (или) конструкторской документации.
Неработоспособное состояние. Состояние объекта, при котором значения хотя бы одного параметра, характеризующего способность выполнять заданные функции, не соответствует требованиям нормативно-технической и (или) конструкторской документации.
Предельное состояние. Состояние объекта, при котором его дальнейшая эксплуатация недопустима или нецелесообразна, либо восстановление его работоспособного состояния невозможно или нецелесообразно.
Для сложных объектов возможно наличие нескольких работоспособных состояний, отличающихся уровнем эффективности применения объекта. Возможно также наличие нескольких неработоспособных состояний, при этом из всего множества неработоспособных состояний выделяют частично неработоспособные состояния, при которых объект способен частично выполнять требуемые функции.
Понятие "исправное состояние" является более «жестким» по отношению к объему требований, предъявляемых к объекту, чем понятие «работоспособное состояние» (рисунок 1). Исправный объект всегда работоспособен. Работоспособный объект, в отличие от исправного, удовлетворяет не всем требованиям нормативно-технической и (или) конструкторской документации, а лишь тем, которые обеспечивают его нормальное функционирование. При этом он может не удовлетворять, например, требованиям, относящимся к его внешнему виду. Работоспособный объект может быть неисправным, однако, его повреждения при этом не настолько существенны, чтобы они могли препятствовать функционированию объекта.

Рисунок 1 - Соотношение понятий «исправное состояние», «работоспособное состояние».
Переход объекта из одного вышестоящего технического состояния в нижестоящее обычно происходит вследствие событий: повреждений или отказов. Совокупность фактических состояний объекта и возникающих событий, способствующих переходу в новое состояние, охватывает так называемый жизненный цикл объекта, который протекает во времени и имеет определенные закономерности, изучаемые в теории надежности.
Повреждение - событие, заключающееся в нарушении исправного состояния объекта при сохранении работоспособного состояния.
Отказ - это событие, заключающееся в нарушении работоспособного состояния объекта.
Переход объекта из исправного состояния в неисправное не связан с отказом
Как правило, теория надежности рассматривает объект с точки зрения вероятности возникновения отказа, поэтому необходимо дать классификацию отказов.
Таблица 1 - Классификация отказов
| Отказы | ||
| 1. По характеру изменения | 1) внезапные отказы | |
| выходного параметра объекта до | 2) постепенные (износные) отказы | |
| момента возникновения отказа | 3) сложные отказы | |
| 2. По возможности последующего использования | 1) полные отказы | |
| объекта после возникновения отказа | 2) частичные отказы | |
| 3. По связи между отказами | 1) независимые отказы | |
| объекта | 2) зависимые отказы | |
| 4. По устойчивости состояния | 1) устойчивые отказы | |
| неработоспособности. | 2) самоустраняющиеся отказы | |
| 3)сбои | ||
| 4) перемежающиеся отказы | ||
| 5. По наличию внешних | 1) явные отказы | |
| проявлений отказа | 2) скрытые отказы | |
| 6. По причине возникновения | 1) конструктивные отказы | |
| отказа | 2) производственные отказы | |
| 3) эксплуатационные отказы | ||
| 4) деградационные отказы | ||
| 7. По природе происхождения | 1) естественные отказы | |
| отказа | 2) искусственные отказы | |
| 3) отказы при испытаниях | ||
| 4) приработочные отказы | ||
| 8. По времени возникновения отказа | 1) отказы периода нормальной эксплуатации | |
| 2) отказы последнего периода эксплуатации | ||
| 9. По возможности устранения | 1) устранимые отказы | |
| отказа | 2) неустранимые отказы | |
| 10. По критичности отказа | 1) критические отказы | |
| 2) некритические отказы | ||
Постепенные (износные) отказы возникают в результате постепенного протекания того или иного процесса повреждения, прогрессивно ухудшающего выходные параметры объекта.
Внезапные отказы возникают в результате сочетания неблагоприятных факторов и случайных внешних воздействий, превышающих возможности объекта к их восприятию. Внезапные отказы характеризуются скачкообразным характером перехода объекта из работоспособно в неработоспособное состояние.
Сложный отказ включает особенности двух предыдущих отказов.
К полным отказам относятся отказы, после которых использование объекта по назначению невозможно (для восстанавливаемых объектов -невозможно до проведения восстановления).
Частичные отказы - отказы, после возникновения которых объект может быть использован по назначению, но с меньшей эффективностью или когда вне допустимых пределов находятся значения не всех, а одного или нескольких выходных параметров.
Независимый отказ - отказ, не обусловленный другими отказами или повреждениями объекта.
Зависимый отказ - отказ, обусловленный другими отказами или повреждениями объекта.
Устойчивые отказы - отказы, которые можно устранить только путем восстановления (ремонта).
Отказы, устраняемые без операций восстановления путем регулирования или саморегулирования, относятся к самоустраняющимся.
Сбой - самоустраняющийся отказ или однократный отказ, устраняемый незначительным вмешательством оператора.
Перемежающийся отказ - многократно возникающий самоустраняющийся отказ одного и того же характера.
Явный отказ - отказ, обнаруживаемый визуально или штатными методами и средствами контроля и диагностирования при подготовке объекта к применению или в процессе его применения по назначению.
Скрытый отказ - отказ, не обнаруживаемый визуально или штатными методами и средствами контроля и диагностирования, но выявляемый при проведении технического обслуживания или специальными методами диагностики.
Большинство параметрических отказов относятся к категории скрытых.
Конструктивный отказ - отказ, возникший по причине, связанной с несовершенством или нарушением установленных правил и (или) норм проектирования и конструирования.
Производственный отказ - отказ, возникший по причине, связанной с несовершенством или нарушением установленного процесса изготовления или ремонта, выполняемого на ремонтном предприятии.
Эксплуатационный отказ - отказ, возникший по причине, связанной с нарушением установленных правил и (или) условий эксплуатации.
Деградационный отказ - отказ, обусловленный естественным процессом старения, изнашивания, коррозии и усталости при соблюдении всех установленных правил и (или) норм проектирования, изготовления и эксплуатации.
Искусственные отказы вызываются преднамеренно, например, с исследовательскими целями, с целью необходимости прекращения функционирования и т.п.
Отказы, происходящие без преднамеренной организации их наступления в результате направленных действий человека (или автоматических устройств), относят к категории естественных отказов.
Для правильной оценки отказа вводят понятие критерия отказа.
Критерий отказа - признак или совокупность признаков неработоспособного состояния объекта, установленных в нормативно-технической и (или) конструкторской документации.
Типичные критерии отказов:
• прекращение выполнения объектом заданных функций (отказ функционирования); снижение качества функционирования по одному или нескольким из выходных параметров (производительность, мощность, точность и др.) за пределы допускаемого уровня;
• искажения информации на выходе объектов, имеющих в своем составе ЭВМ или другие устройства дискретной техники из-за сбоев;
• внешние проявления, связанные с наступлением или предпосылками наступления неработоспособного состояния (шум, вибрации, перегрев и др.).
В ГОСТ 15467-79 введено еще одно понятие, отражающее состояние объекта - дефект. Дефектом называется каждое отдельное несоответствие объекта установленным нормам или требованиям. Дефект отражает состояние отличное от отказа. В соответствии с определением отказа, как события, заключающегося в нарушении работоспособности, предполагается, что до появления отказа объект был работоспособен. Отказ может быть следствием развития неустраненных повреждений или наличия дефектов: царапин; потертости изоляции; небольших деформаций.
По признаку стадии происхождения дефекты можно разделить на три группы:
1. Дефекты (ошибки) проектирования. Сюда можно отнести:
• недостаточную виброзащищенность РЭСИ;
• наличие повышенных напряжений на ЭРЭ;
• неправильный выбор материалов;
• неправильное определение предполагаемого уровня эксплуатационных нагрузок .
2. Дефекты изготовления (производственные). К ним можно отнести:
• дефекты ЭРЭ;
• дефекты механической обработки;
• дефекты пайки;
• дефекты термообработки;
• дефекты сборки.
3. Дефекты эксплуатации. Сюда можно отнести:
• нарушение условий применения;
• неправильное техническое обслуживание и ремонт;
• наличие перегрузок и непредвиденных нагрузок;
• применение некачественных эксплуатационных материалов.
Учитывая все вышесказанное можно дать боле обобщенную характеристику надежности.
Надежность - сложное обобщенное свойство, которое в зависимости от назначения объекта и условий его применения может включать в себя безотказность, долговечность, ремонтопригодность, сохраняемость или определенные сочетания этих частных свойств, охватываемых понятием «надежность».
Безотказность - свойство объекта непрерывно сохранять работоспособное состояние в течение некоторого времени или наработки.
Под наработкой понимается продолжительность или объем работы объекта. Размерность наработки определяется видом объекта и особенностями его применения, например, наработка двигателя измеряется в моточасах, автомобиля - в километрах пробега, станка-автомата - количеством обработанных деталей, реле - количеством циклов срабатывания и т. п. Наработка может определяться до отказа, между отказами, до наступления предельного состояния или до некоторого фиксированного момента времени.
Долговечность - свойство объекта сохранять работоспособное состояние до наступления предельного состояния при установленной системе технического обслуживания и ремонта.
Основное отличие понятий «безотказность» и «долговечность» состоит в том, что понятие «безотказность» предполагает как бы самостоятельную работу объекта без какого-либо вмешательства извне для поддержания его работоспособности. Понятие «долговечность» предполагает рассмотрение работоспособности объекта за весь период его эксплуатации и учитывает, что длительная работа объекта (особенно сложного) невозможна без проведения мероприятий по поддержанию и восстановлению его работоспособности, утрачиваемой в процессе эксплуатации.
Ремонтопригодность - свойство объекта, заключающееся в его приспособленности к поддержанию и восстановлению работоспособного состояния путем технического обслуживания и ремонта. Ремонтопригодность объекта характеризуется оперативной продолжительностью (трудоемкостью) операций обнаружения отказа, поиска его причин и устранения причин и последствий отказа.
Сохраняемость - свойство объекта сохранять в заданных пределах значения параметров, характеризующих способность объекта выполнять требуемые функции, в течение и после хранения и (или) транспортирования. Это свойство особенно важно для объектов, для которых предусмотрена сезонная эксплуатация или которые применяют по назначению в аварийных или особых. Номенклатура и классификация показателей надежности. Характеристика основных показателей надежности и их статистическое определение.
Номенклатура и классификация показателей надежности
Характеристика основных показателей надежности и их статистическое определение
Показатель надежности - количественная характеристика одного или нескольких свойств, составляющих надежность объекта.
Эти показатели позволяют проводить расчетно-аналитическую оценку количественных характеристик отдельных свойств при выборе различных схемных и конструктивных вариантов объектов при их разработке, испытаниях и в условиях эксплуатации.
Под номенклатурой показателей надежности понимают состав показателей, необходимый и достаточный для характеристики объекта или решения поставленной задачи. Полный состав номенклатуры показателей надежности, из которой выбираются показатели для конкретного объекта и решаемой задачи, установлен ГОСТ 27.002-89.
Показатели надежности принято классифицировать по следующим признакам:
1. По свойствам надежности различают:
• показатели безотказности;
• показатели долговечности;
• показатели ремонтопригодности;
• показатели сохраняемости.
2. По числу свойств надежности, характеризуемых показателем, различают:
• единичные показатели (характеризуют одно из свойств надежности);
• комплексные показатели (характеризуют одновременно несколько свойств надежности, например, безотказность и ремонтопригодность).
3. По числу характеризуемых объектов различают:
• групповые показатели;
• индивидуальные показатели;
• смешанные показатели.
Групповые показатели — показатели, которые могут быть определены и установлены только для совокупности объектов; уровень надежности отдельного экземпляра объекта они не регламентируют.
Индивидуальные показатели - показатели, устанавливающие норму надежности для каждого экземпляра объекта из рассматриваемой совокупности (или единичного объекта).
Смешанные показатели могут выступать как групповые или индивидуальные.
4. По источнику информации для оценки уровня показателя различают:
• расчетные показатели;
• экспериментальные показатели;
• эксплуатационные показатели;
• экстраполированные показатели;
Экстраполированный показатель надежности - показатель надежности, точечная или интервальная оценка которого определяется на основании результатов расчетов, испытаний и (или) эксплуатационных данных путем экстраполирования на другую продолжительность эксплуатации и другие условия эксплуатации.
5. По размерности показателя различают показатели, выражаемые:
• наработкой;
• сроком службы;
• безразмерные (в том числе, вероятности событий).
На стадиях экспериментальной отработки, испытаний и эксплуатации, как правило, роль показателей надежности выполняют статистические оценки соответствующих вероятностных характеристик. В целях единообразия все показатели надежности, в соответствии с ГОСТ 27.002-89, определяются как вероятностные характеристики. В данном пособии отказ объекта рассматривается как случайное событие, то есть заданная структура объекта и условия его эксплуатации не определяют точно момент и место возникновения отказа.
Основные показатели безотказности для невосстанавливаемых объектов
Вероятность безотказной работы - это вероятность того, что в пределах заданий наработки отказ объекта не возникает. На практике этот показатель определяется статистической оценкой:
(1)
где No - число однотипных объектов, поставленных на испытания (находящихся под контролем); во время испытаний отказавший объект не восстанавливается и не заменяется исправным;
n(t) - число отказавших объектов за время t.
Из определения вероятности безотказной работы видно, что эта характеристика является функцией времени, причем она является убывающей функцией и может принимать значения от 1 до 0.
График вероятности безотказной работы объекта изображен на рисунке 2

Рисунок 2 - График вероятности безотказной работы объекта.
Как видно из графика, функция P(t) характеризует изменение надежности во времени и является достаточно наглядной оценкой
Иногда практически целесообразно пользоваться не вероятностью безотказной работы, а вероятностью отказа Q(t). Поскольку работоспособность и отказ являются состояниями несовместимыми и противоположными, то их вероятности связаны зависимостью:
P(t) + Q(t) = 1 . (2.1.2)
Согласно законам теории вероятности вероятность безотказной работы можно определить по формуле:
, (3)
где f(t) - плотность вероятности (согласно закона распределения).
Таким образом, зная плотность вероятности f(t), легко найти искомую величину P(t).
Связь между P(t), Q(t) и f(t) можно интерпретировать как показано на рисунке 3.

Рисунок 3 - Графическая интерпретация вероятности безотказной работы и вероятности отказа.
Отметим, что не всегда в качестве наработки выступает время (в часах, годах). К примеру, для оценки вероятности безотказной работы коммутационных аппаратов с большим количеством переключений в качестве переменной величины наработки целесообразно брать количество циклов "включить" - "выключить". При оценке надежности скользящих контактов удобнее в качестве наработки брать количество проходов токоприемника по этому контакту, а при оценке надежности движущихся объектов наработку целесообразно брать в километрах пробега. Суть математических выражений оценки P(t), Q(t), f(t) при этом остается неизменной.
Средней наработкой до отказа называется математическое ожидание наработки объекта до первого отказа T1.
(4)
Таким образом, средняя наработка до отказа равна площади, образованной кривой вероятности безотказной работы P(t) и осями координат.
Статистическая оценка для средней наработки до отказа определяется по формуле
(5)
где No - число работоспособных однотипных невосстанавливаемых объектов при t = 0 (в начале испытания);
tj - наработка до отказа j-го объекта.
Отметим, что как и в случае с определением P(t) средняя наработка до отказа может оцениваться не только в часах (годах), но и в циклах, километрах пробега и другими аргументами.
Интенсивность отказов - это условная плотность вероятности возникновения отказа объекта, определяемая при условии, что до рассматриваемого момента времени отказ не наступил. Из вероятностного определения следует, что
(6)
Статистическая оценка интенсивности отказов имеет вид:
(7)
где n(Δti ) - число отказов однотипных объектов на интервале Δti , для которого определяется интенсивность отказов;
Nср. i - число работоспособных объектов в середине интервала Δti (см. рисунок 4).
(8)

Рисунок 4 Схема для определения Nср :
Ni - число работоспособных объектов в начале интервала Δti ;
Ni +1 - число работоспособных объектов в конце интервала Δti .
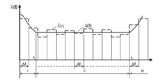
Если при статистической оценке интенсивности отказов время эксперимента разбить на достаточно большое количество одинаковых интервалов Δt за длительный срок, то результатом обработки опытных данных будет график, изображенный на рисунке 5.

Рисунок 5- Кривая жизни объекта:
------ (опытные данные);
——— (линеаризированная усредненная кривая);
I - интервал приработки;II - интервал нормальной эксплуатации;
III - интервал старения.
Как показывают многочисленные данные анализа надежности большинства объектов линеаризованная обобщенная зависимость λ(t) представляет собой сложную кривую с тремя характерными интервалами (I, II, III). На интервале II (t2 – t1 ) λ = const. Этот интервал может составлять более 10 лет, он связан с нормальной эксплуатацией объектов. Интервал I (t1 - 0) часто называют периодом приработки элементов. Он может увеличиваться или уменьшаться в зависимости от уровня организации отбраковки элементов на заводе-изготовителе, где элементы с внутренними дефектами своевременно изымаются из партии выпускаемой продукции. Величина интенсивности отказов на этом интервале во многом зависит от качества сборки схем сложных устройств, соблюдения требований монтажа и т.п. Включение под нагрузку собранных схем приводит к быстрому «выжиганию» дефектных элементов и по истечении некоторого времени t1 в схеме остаются только исправные элементы, и их эксплуатация связана с λ = const. На интервале III (t > t2 ) по причинам, обусловленным естественными процессами старения, изнашивания, коррозии и т.д., интенсивность отказов резко возрастает, увеличивается число деградационных отказов. Для того, чтобы обеспечить λ = const необходимо заменить неремонтируемые элементы на исправные новые или работоспособные, отработавшие время t « t2 . Интервал X = const соответствует экспоненциальной модели распределения вероятности безотказной работы. Здесь же отметим, что при λ = const значительно упрощается расчет надежности и λ наиболее часто используется как исходный показатель надежности элемента.
Гамма-процентная наработка до отказа - наработка в течение которой отказ в объекте не возникнет с вероятностью γ, выраженной в процентах, иначе это минимальная наработка до отказа которую будут иметь гамма процентов объектов данного вида. Обычно γ =100%.
(9)
ЛИТЕРАТУРА
1. Глудкин О.П. Методы и устройства испытания РЭС и ЭВС. – М.: Высш. школа., 2001 – 335 с
2. Испытания радиоэлектронной, электронно-вычислительной аппаратуры и испытательное оборудование/ под ред. А.И.Коробова М.: Радио и связь, 2002 – 272 с.
3. Млицкий В.Д., Беглария В.Х., Дубицкий Л.Г. Испытание аппаратуры и средства измерений на воздействие внешних факторов. М.: Машиностроение, 2003 – 567 с 2003
4. Национальная система сертификации Республики Беларусь. Мн.: Госстандарт, 2007
5. Федоров В., Сергеев Н., Кондрашин А. Контроль и испытания в проектировании и производстве радиоэлектронных средств – Техносфера, 2005. – 504с.