| Скачать .docx |
Реферат: Устройство микрофонов
Тема
Устройство микрофонов
Звуковые колебания, воспринятые мембраной, должны быть преобразованы в электрические сигналы. Для этого к мембране присоединяют электромеханический преобразователь, работающий в генераторном режиме.
В зависимости от того, какая система преобразования использована в микрофоне, различают электродинамические, электромагнитные, электростатические, пьезоэлектрические и угольные микрофоны.
Микрофоны электромагнитной системы. Разборчивая передача речи по проводам впервые была осуществлена 3 июля 1875 г. А. Беллом (1847 – 1922) при помощи микрофона электромагнитной системы. Микрофон запатентован в 1876 г.
Конструкция микрофона показана на рис. 1, где в роли якоря выступает мембрана микрофона. Однако, такая конструкция мало пригодна для практического применения, т. к.:
- на мембрану действует постоянная составляющая силы, прогибающая мембрану, и мембрана должна быть достаточной толщины, чтобы противостоять этому воздействию;
- магнитное сопротивление мембраны должно быть небольшим, что также требует увеличения её толщины.
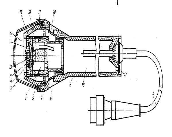
Толстая мембрана обладает большой инерцией и, следовательно, будет плохо воспроизводить верхние частоты звукового диапазона. Для улучшения характеристик микрофона необходимо компенсировать постоянную составляющую силы. Это можно сделать, поместив мембрану между полюсами двух магнитов. Так, например , устроен распространенный в СНГ микрофон ДЭМШ (см. рис. 1).
![]() |
Устройство микрофона ДЭМШ Рисунок 1
Диапазон воспроизводимых частот микрофона ДЭМШ 300 – 3000 Гц, средняя чувствительность при работе на нагрузку 600 Ом – 0.22 мВ/Па, модуль полного сопротивления -
Ом, габариты
мм, масса – 14 г.
Как видим, парметры микрофона обеспечивают запись речи, но не позволяют осуществить запись музыкальных программ.
Ещё можно встретить микрофон электромагнитной системы МЭМ-60. Этот микрофон воспроизводит диапазон частот
Гц.
Имеет чувствительность на нагрузке 600 Ом и частоте 1000 Гц равную ~ 10 мВ/Па. Модуль полного сопротивления 300 Ом. Габариты
мм и массу 400 г.
Микрофоны электромагнитной системы отличаются высокой vеханической прочностью, надежностью и применяются на транспорте, в армии – там, где тяжелые условия эксплуатации.
Первые идеи и работы по созданию микрофона электродинамической системы связаны с именами Каттриса, Реддинга и Сименса (C. Cuttris, J. Redding патент США № 242.816, 1881 г.; SimensE.W. немецкий патент № 2355, 1878 г.).
Однако, первые образцы микрофона, пригодные для практического применения, созданы Вентом и Тьюрасом (WenteE.C., ThurasA.L. J. Ac. Soc. Am. Vol. 3, july 1931). Различают катушечные и ленточные микрофоны этой системы.
Катушечный микрофон представляет собой мембрану, к которой прикреплена катушка, содержащая несколько десятков витков провода. Катушка помещена в радиальное магнитное поле, создаваемое постоянным магнитом.
При воздействии на мембрану звуковых волн, колебания мембраны передаются катушке и в ней возникает э.д.с. е =
. Частотная характеристика микрофона (т.е. зависимость е от частоты f) должна быть равномерной.
Чтобы выяснить, при каких условиях это возможно, напишем выражение для чувствительности микрофона:
(1)
где
=
- коэффициент нагрузки микрофона,
- коэффициент электромеханической связи,
- механическое сопротивление колебательной системы микрофона.
- акустическая чувствительность микрофона. Единственный член в формуле (1.), который зависит от частоты – механическое сопротивление z.
Следовательно, механическая и акустическая часть должна быть построена так, чтобы в пределах рабочей полосы частот сопротивление z оставалось неизменным или менялось незначительно.
Практически это достигается созданием сложных (состоящих из нескольких колебательных контуров) резонансных систем. Таким способом удаётся получить частотную характеристику микрофона с полосой частот
Гц и неравномерностью
дБ. На рис. 2 показана конструкция микрофона МД-85А.

1 – капсюль, 2 – корпус, 3 – крышка, 4 – кабель, 5 – прижимная деталь, 6 – манжета, 7 – амортизатор, 8 – мембрана, 9 – звуковая катушка, 10 – магнит, 11 – стакан, 12 – фланец, 13 – полюсный наконечник, 14 – ткань, 15 – накладка, 16 – объём в корпусе, 17 – отверстия в дне корпуса, 18 – боковые отверстия корпуса. Рисунок 2
Полости капсюля и корпуса, связанные между собой через отверстия, образуют сложную резонансную систему.
Благодаря простоте и надежности конструкции, хорошим электроакустическим параметрам катушечные микрофоны получили широкое распространение.
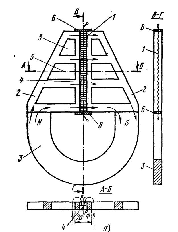
Ленточный микрофон представляет собой гибкую ленточку длиной
см, помещенную между полюсными наконечниками постоянного магнита (см. рис. 3).
В полюсных наконечниках делают ряд отверстий для того, чтобы уменьшить разность хода волн, действующих на ленточку с разных сторон. Расстояние между отверстиями не превышает 1.7 см, что обеспечивает равномерность частотной характеристики до ~ 15000 Гц.
Магнитная индукция в зазоре ~ 1 Тл. Э.д.с. порядка 1 мВ. Для повышения выходного напряжения микрофон снабжен трансформатором с коэффициентом трансформации 50 или более.
При этом выходное сопротивление микрофона получается около
Ом. Осевая чувствительность микрофона:
![]()
где n – коэффициент трансформации, S – площадь ленточки, l – длина ленточки,
- резонансная частота подвижной системы, СМ
– гибкость ленточки.
Из этой формулы следует, что для повышения чувствительности ленточного микрофона необходимо увеличивать площадь ленточки, индукцию в щели и гибкость ленточки.
Эти требования – противоречивы, т.к. увеличение площади (за счет увеличения ширины ленточки) приводит к уменьшению гибкости. Обычно ленточку делают гофрированной и уменьшают её толщину до 2 микрон, но при этом теряется прочность. Поэтому ленточные микрофоны используют только в помещениях, т.к. даже дуновение ветра может порвать ленточку
![]()

1 – гофрированная ленточка, 2 – полюсные наконечники с отверстиями, 3 – постоянный магнит, 4 – щель между полюсными наконечниками, 5 – отверстия в полюсных наконечниках, 6 – изоляционные планки.Устройство ленточного микрофона.Рисунок 3
Отечественные микрофоны электродинамической системы маркируют буквами: МД – катушечные микрофоны, МЛ – ленточные микрофоны.
Микрофоны электростатической системы. Электростатические преобразователи были предложены Эдисоном и Долбье. Однако, первый микрофон электростатической системы создан Вентом (E.C. Wente. Phys. Rev., Vol. 10., pp. 39-63, July, 1917).
Микрофон представляет собой конденсатор, образованный массивным основанием и тонкой мембраной, изолированной от основания прокладкой (см. рис. 2). На этот конденсатор через резистор R подано поляризующее напряжение U= .
Под действием звуковых волн мембрана совершает колебательное движение. Расстояние между мембраной и основанием d изменяется. Следовательно, изменяется ёмкость микрофона С. Относительное изменение ёмкости микрофона
![]()
Период звуковых колебаний обычно меньше постоянной времени
. Поэтому заряд конденсатора не успевает измениться за время одного периода, т.е.
.
Но тогда
и ![]()
Изменения напряжения на конденсаторе пропорциональны изменениям расстояния между обкладками конденсатора. Эти изменения и являются э.д.с. микрофона е.
Если колебания происходят по гармоническому закону
![]()
то скорость колебаний
![]()
Коэффициент электромеханической связи
![]()
Чувствительность микрофона:
![]()
Чтобы чувствительность микрофона не зависела от частоты необходимо, чтобы
![]()
Это возможно, если резонансная частота мембраны выше верхней частоты рабочего диапазона частот. Тогда осевая чувствительность микрофона
.
напряженность электрического поля между обкладками микрофона
Пробивная напряженность электрического поля для воздуха равна 30 кВ/см. При величине зазора между обкладками d = 20 мкм пробой может наступить при напряжении U= = 60 В. По этому в конденсаторных микрофонах величина напряжения U= обычно не превышает 150 В ( в зависимости от размера d)/
При заданной резонансной частоте мембраны её масса должна быть как можно меньшей. Обычно мембрану изготовляют из дюраля или полимерной пленки, покрытой тонким слоем золота.
Частотная характеристика микрофонов отличается высокой равномерностью, поэтому их часто используют как измерительные.
Диапазон частот конденсаторных микрофонов от
Гц до
кГц с неравномерностью
дБ до 10 кГц и
дБ на более высоких частотах.
Недостатком конденсаторных микрофонов является необходимость подавать достаточно высокое напряжение на микрофон. От этого недостатка свободны электретные микрофоны, в которых электрическое поле создаётся электретной пленкой, применяемой в качестве материала мембраны. В последнее время электретные микрофоны получили широкое распространение благодаря небольшим габаритам и весу.
Микрофоны электростатической системы маркируются буквами: МК – конденсаторные микрофоны и МКЭ – электретные микрофоны.
Угольные микрофоны. Электромагнитный микрофон А. Белла оказался недостаточно чувствительным для практического применения в телефонной связи.и был вытеснен более чувствительным угольным микрофоном. Угольный микрофон был создан благодаря экспериментам Эдисона, Берлинера и Юза (1-й патент выдан Эдисону 27.04.1877.). Микрофон состоит из корпуса, заполненного угольным порошком и мембраны из проводящего материала.
К корпусу и мембране через обмотку трансформатора приложено постоянное напряжение U= .
При воздействии на мембрану звуковых колебаний угольный порошок сжимается или отпускается мембраной, его сопротивление изменяется и изменяется ток в цепи микрофона.
Переменная составляющая тока создаёт во вторичной обмотке трансформатора полезный сигнал.
Частотная характеристика микрофона близка к оптимальной для передачи речи. Динамический диапазон ~ 30 дБ.
Нелинейные искажения микрофона могут достигать 15 – 20 %. Угольные микрофоны можно встретить в телефонных аппаратах выпуска прежних лет с маркировкой МК-10 или МК-16.
