| Скачать .docx |
Курсовая работа: Средства администрирования оптоволоконных систем Сплайсирование волокна
Московский технический университет связи и информатики
Кафедра мультимедийных сетей и услуг связи
Курсовая работа
на тему:
«Средства администрирования оптоволоконных систем»
Выполнили:
Семина Мария Геннадьевна
Фокеева Людмила Александровна
Группа: ИТ0501
Руководитель:
Беленькая Марина Наумовна
Москва, 2009г
Содержание
1. Администрирование кабельной системы
1.1 Цель администрирования
2. Стандарт на администрирование и сопровождение
3. Система администрирования оптоволокна
3.1 Задачи администратора
3.2 AMPTRAC программно-аппаратный комплекс автоматизированного управления физическим уровнем сети
4. Способы сплайсирования
5. Инструкции по администрированию (TIA/EIA-606-A)
Выводы
Список используемой литературы
1. Администрирование кабельной системы
Администрирование – определенные стандартами правила организации, маркировки, обозначение элементов кабельной инфраструктуры, исполнения документации и эксплуатации кабельных систем.
Администрирование является важным аспектом создания и эксплуатации структурированной кабельной системы. Гибкость СКС может быть полностью реализована только при правильном администрировании. Администрирование включает точное обозначение и учет всех элементов, составляющих кабельную систему, а также кабельных трасс, телекоммуникационных и других помещений, в которых монтируется система. Все изменения, вносимые в кабельную систему, следует своевременно регистрировать — это необходимо для сохранения гибкости. Настоятельно рекомендуется проводить администрирование с использованием компьютерных программ.
1.1 Цель администрирования
Цель администрирования обеспечение надежной, бесперебойной, высокопроизводительной и безопасной работы всей системы.
Задачи сетевого администрирования:
Планирование сети.
Несмотря на то, что планированием и монтажом больших сетей обычно занимаются специализированные компании-интеграторы, сетевому администратору часто приходится планировать определенные изменения в структуре сети — добавление новых рабочих мест, добавление или удаление сетевых протоколов, добавление или удаление сетевых служб, установка серверов, разбиение сети на сегменты и т.д. Данные работы должны быть тщательно спланированы, чтобы новые устройства, узлы или протоколы включались в сеть или исключались из нее без нарушения целостности сети, без снижения производительности, без нарушения инфраструктуры сетевых протоколов, служб и приложений.
Установка и настройка сетевых узлов (устройств активного сетевого оборудования, персональных компьютеров, серверов, средств коммуникаций).
Данные работы могут включать в себя — замену сетевого адаптера в ПК с соответствующими настройками компьютера, перенос сетевого узла (ПК, сервера, активного оборудования) в другую подсеть с соответствующим изменениями сетевых параметров узла, добавление или замена сетевого принтера с соответствующей настройкой рабочих мест.
Установка и настройка сетевых протоколов.
Данная задача включает в себя выполнение таких работ — планирование и настройка базовых сетевых протоколов корпоративной сети, тестирование работы сетевых протоколов, определение оптимальных конфигураций протоколов.
Установка и настройка сетевых служб.
Корпоративная сеть может содержать большой набор сетевых служб. Кратко перечислим основные задачи администрирования сетевых служб:
установка и настройка служб сетевой инфраструктуры (службы DNS, DHCP, WINS, службы маршрутизации, удаленного доступа и виртуальных частных сетей);
установка и настройка служб файлов и печати, которые в настоящее время составляют значительную часть всех сетевых служб;
администрирование служб каталогов (Novell NDS, Microsoft Active Directory), составляющих основу корпоративной системы безопасности и управления доступом к сетевым ресурсам;
администрирование служб обмена сообщениями (системы электронной почты);
администрирование служб доступа к базам данных.
Поиск неисправностей.
Сетевой администратор должен уметь обнаруживать широкий спектр неисправностей — от неисправного сетевого адаптера на рабочей станции пользователя до сбоев отдельных портов коммутаторов и маршрутизаторов, а также неправильные настройки сетевых протоколов и служб.
Поиск узких мест сети и повышения эффективности работы сети.
В задачу сетевого администрирования входит анализ работы сети и определение наиболее узких мест, требующих либо замены сетевого оборудования, либо модернизации рабочих мест, либо изменения конфигурации отдельных сегментов сети.
Мониторинг сетевых узлов.
Мониторинг сетевых узлов включает в себя наблюдение за функционированием сетевых узлов и корректностью выполнения возложенных на данные узлы функций.
Мониторинг сетевого трафика.
Мониторинг сетевого трафика позволяет обнаружить и ликвидировать различные виды проблем: высокую загруженность отдельных сетевых сегментов, чрезмерную загруженность отдельных сетевых устройств, сбои в работе сетевых адаптеров или портов сетевых устройств, нежелательную активность или атаки злоумышленников (распространение вирусов, атаки хакеров и др.).
Обеспечение защиты данных.
Защита данных включает в себя большой набор различных задач: резервное копирование и восстановление данных, разработка и осуществление политик безопасности учетных записей пользователей и сетевых служб (требования к сложности паролей, частота смены паролей), построение защищенных коммуникаций (применение протокола IPSec, построение виртуальных частных сетей, защита беспроводных сетей), планирование, внедрение и обслуживание инфраструктуры открытых ключей (PKI).
2. Стандарт на администрирование и сопровождение
На сегодняшний день существует практически один всесторонне развитый и логически завершенный документ по администрированию телекоммуникационных инфраструктур коммерческих зданий (Administration standard for commercial telecommunications infrastructure) — стандарт ANSI/TIA/EIA-606 (февраль, 1993 г.). В мае 2002 года была принята переработанная версия ANSI/TIA/EIA-606-A. Этот стандарт содержит спецификации по администрированию кабельных систем, трасс, помещений, а также систем заземления и соединений, связанных с телекоммуникационными функциями. Вопросы администрирования касаются как традиционных телекоммуникаций для передачи речи, данных и изображений, так и других систем передачи сигналов в здании, включая охранные системы, аудиотрансляцию, аварийную сигнализацию и системы распределения энергии. Стандарт призван обеспечить единообразную схему администрирования телекоммуникационных систем независимо от работающих в них приложений. Кроме того в нем содержатся инструкции по документированию и администрированию телекоммуникационной инфраструктуры, полезные для владельцев зданий, конечных пользователей, консультантов, подрядчиков, проектировщиков, монтажников и управляющих-хозяйственников.
3. Система администрирования оптоволокна
Заниматься мониторингом оптоволоконных кабелей, маршрутизации оптоволоконных кабелей и проверки непрерывности оптической сети.
Следить за чистотой разъемов и время о времени очищать их с помощью приспособлений для очистки торца оптических коннекторов (специальная безволоконная чистящая лента без спирта способна удалять пыль, масло и другие загрязнения с торца коннектора)/
С помощью ручного микроскопа проводить проверки оптоволоконных разъемов на качество полировки жилы, наличие трещин, царапин или других повреждений.
3.2 AMPTRAC Connectivity Management System - программно-аппаратный комплекс автоматизированного управления физическим уровнем сети
Комплекс предназначен для решения следующих основных задач:
сбор и хранение информации о кабельной системе;
отслеживание и документирование изменений в СКС в реальном времени;
регистрация и уведомление о несанкционированных действиях;
инвентаризация ресурсов сети для более эффективного использования и предотвращения хищений оборудования;
автоматизация учета и контроля изменений в кабельной инфраструктуре;
сокращение расходов, связанных с содержанием сети;
обеспечение удаленного (централизованного) управления СКС.
Система AMPTRAC может поставляться как интегрированное решение для новых инсталляций, либо в виде набора для установки поверх уже существующей кабельной инфраструктуры (Retrofit-Solution). Аппаратные средства AMPTRAC полностью изолированы от СКС и не влияют на передачу данных по ее каналам. Вся аппаратная часть комплекса AMPTRAC производится компанией Tyco Electronics/ AMP NETCONNECT.
Отслеживание состояния портов системой AMPTRAC основано на замыкании дополнительной электрической цепи при соединении портов коммутационным шнуром. Каждый порт (RJ-45 или оптический) коммутационной панели или активного оборудования снабжен контактной площадкой, которая соединена с анализатором. В защитные колпачки обеих стандартных вилок коммутационного шнура (как электрического, так и волоконно-оптического) встроено по одному электрическому контакту-датчику, которые соединены специальным электрическим проводником. При соединении портов коммутационным шнуром контакты-датчики шнура упираются в контактные площадки панели и замыкают электрическую цепь между ними. По этому признаку анализатор, постоянно опрашивающий состояние портов, распознает соединенные порты и автоматически обновляет соответствующую базу данных на сервере.
Состав системы AMPTRAC
AMPTRAC - анализатор: отслеживает соединения между контактными сенсорами и обновляет базу данных ПО IM;
AMPTRAC - кабели ввода-вывода: соединяют контактные сенсоры панелей и активного оборудования с Анализаторами;
AMPTRAC - коммутационные панели: панели со встроенными контактными сенсорами;
AMPTRAC - коммутационные шнуры: стандартные шнуры со служебным "9-м" проводником для замыкания цепи между сенсорами;
AMPTRAC - сенсорные накладки: самоклеящиеся полоски с контактными сенсорами;
IM Software: программное средство, получающее информацию от анализаторов и поддерживающее актуальность базы данных сетевой инфраструктуры;
AMPTRAC-сервер: компьютер, на котором установлено ПО IM.

Преимущества
Повышает производительность/Сокращает текущие расходы
Сокращает время выявления неисправности
Автоматический процесс управления СКС
Отчётность и документирование управления
Улучшение сервиса обслуживания
Сокращение времени простоев
Возможность более быстрого реагирования
Предотвращение ошибок
Повышенная безопасность
Улучшенный контроль управления сетями
Слежение за соединениями в реальном времени
Идентификация несанкционированных изменений
Мониторинг и система оповещения касательно соединений
Поддержка при выполнении законодательных предписаний
Улучшенная инвентаризация
Инвентаризация оборудования сети
Окупаемость инвестиций
Повышенная надёжность
Полностью интегрированные контакты в коммутационных панелях
Новейший сетевой анализатор
4. Способы сплайсирования
Существует 2 вида сплайсирования: сплайсирование с помощью электрической дуги и механическое сплайсирование (соединение оптоволокон встык).
Fusion splicing (сплайсирование с помощью электрической дуги).
Этот способ сплайсирования обеспечивает быстрое, надежное, с низким уровнем потерь, «fiber-to-fiber» соединение путем создания однородного стыка между двумя концами волокна. Волокна сплавляются друг с другом с помощью нагревания концов волокон, как правило, с помощью электрической дуги. Сращивание путем сплавления обеспечивает высококачественное соединение с низким уровнем потерь (в пределах от 0.01 dB до 0.10 dB для одномодового оптоволокна) и практически не отражающее.
Mechanical splicing (механическое сплайсирование).
Механическое сплайсирование - альтернативный метод создания постоянного соединения между волокнами. В прошлом недостатками механического сплайсирования были несколько более высокие потери, менее надежное соединение и цена каждого сплайса. Однако достижения в технологии значительно улучшили качество соединения. Системные администраторы обычно используют механическое сплайсирование, когда требуется срочное восстановление, потому что это быстро, недорого и легко. (Потери при механическом сращивании обычно в пределах от 0.05 до 0.2 dB для одномодового оптоволокна.)
Инструкция по сплайсированию.
При выполнении практической части по сплайсированию мы использовали механический соединитель AMP CORELINK для соединения концов двух одномодовых волокон, одно из которых Corning FutureLink J-UH 2x1E9/125 TD3R FRNC, а другое pigtail SC-SM.
CORELINK – простой в использовании механический сплайс для сращивания волокон. Волокно фиксируется в сплайсе простым поворотом штатного ключа. Процедура сращивания занимает около 1 минуты и не требует специфического инструмента. Волокно можно вынуть и вставить обратно сплайс в любое время.
Альтернатива сварке
Устойчив к кручению волокна
Для одномодового и многомодового волокна
Для буферного покрытия 250 мкм и 900 мкм
Повторное использование до 10 раз
Содержит иммерсионный гель
Удовлетворяет требованиям Bellcore TR-765
Характеристики соединения:
вносимое затухание: < 0,10 дБ
возвратные потери: 55 дБ
температурный диапазон: от -40°C до +80°С
размеры: 51х 7,6х 3,3 мм
Процедура соединения волокон в Corelink Splice.
Подготовка.
Нужно зачистить оба волокна.
снять буферное покрытие длиной 50 мм стриппером 900 мкм.
обрезать кевларовые нити специальными ножницами.
снять оболочку длиной 45 мм с помощью стриппера 250 мкм.
стриппером снять защитный лак.
Сколоть оба волокна скалывателем изгибного типа, оставив 18-19 мм зачищенного волокна после скола.
Протереть волокна безворсовой салфеткой, смоченной в изопропиловом спирте, для их очистки. После этого не допускать загрязнения волокон для уменьшения возможности попадания инородных частиц в соединитель.
2. Установка волокон.
2.1. Придерживая соединитель так, как показано на Рисунке 1, вставить ключ в отверстие для ключей (отверстие, которое наиболее близко расположено к краю соединителя). Плоская площадка, за которую держат ключ, должна быть параллельна плоской стороне соединителя и должна быть направлена от него. Вставить оба ключа на всю их длину.

Рисунок 1
2.2. Повернуть ручки обоих ключей на 90 градусов. Теперь соединитель открыт.
2.3. Поместить оба волокна в свободные отверстия, расположенные вблизи центра торцов соединителя. Вставлять волокно нужно волокно медленно, убедившись, что оно передвигается без препятствий по каналу к центру соединителя.
При этом край 250-микронной оболочки волокна остановится на краю алюминиевого элемента, а край 900-микронной оболочки волокна будет остановлен в конце широкой части канала. Вставив оба волокна, визуально проверьте положение краев оболочек обоих волокон. Между краями оболочек и соответствующими элементами конструкции соединителя могут быть небольшие зазоры, но они должны быть одинаковы для обоих волокон (см. Рисунок 2).

Рисунок 2
2.4. Ввод волокна в канал соединителя производить, держа волокно большим и указательным пальцем. При окончании вставки волокна нужно осторожно повернуть средним пальцем рукоятку ключа на 90 градусов (см. Рисунок 3). Таким образом закрепляется первое волокно. Нужно следить за тем, чтобы волокно при повороте ключа не изменяло своего положения в соединителе.

Рисунок 3
2.5. Таким же образом зафиксировать второе волокно: не поворачивать ключ, не убедившись, что торцы волокон коснулись друг друга, аккуратно повернуть второй ключ, проследив за тем, чтобы второе волокно не отошло от торца первого волокна. Процесс соединения завершен.
Затем мы проверили работоспособность полученного соединения. Для этого вставили в порты TX двух конверторов WDM 10/100 Fast Fiber/T Converter каждый из патч-кордов SC. При этом на одном конверторе загорелись индикаторы RX, PWR, а на другом- индикаторы TXL, SPO, FDX, PWR. Следовательно, полученное сплайсирование работоспособно.
5. Инструкции по администрированию (TIA/EIA-606-A)
Пункт 4 стандарта - Классы администрации.
В Стандарте определяются четыре класса администрации, относящиеся к различным уровням сложности телекоммуникационной инфраструктуры. Спецификации для каждого класса включают требования к идентификаторам, ведению записей и процессу маркировки.
4.2.1Класс1: администрация помещений, обслуживаемых единым телекоммуникационным помещением (TS), содержащим соответствующее оборудование. Требует наличия идентификаторов TS, главной шины заземления телекоммуникационного оборудования и всех элементов горизонтальной подсистемы.
4.2.2 Класс 2: администрация телекоммуникационной инфраструктуры отдельного здания помещения, обслуживаемого одной или несколькими TS, находящимися в одном здании. Администрация по Классу 2 включает все элементы Класса 1, а также идентификаторы для вертикальной подсистемы, многоэлементного заземления и систем пожаротушения.
4.2.3 Класс 3: администрация потребностей кампусов, включая все их строения и внешнюю инфраструктуру. Администрация по Классу 3 включает все элементы Класса 2, а также идентификаторы для зданий и кабельных систем между зданиями. Администрация кабельных магистралей и других пространств, а также внешней инфраструктуры рекомендуется.
4.2.4 Класс 4: администрация потребностей распределенной системы. Администрация по Классу 4 включает все элементы системы класса 3, а также идентификаторы для каждого филиала и, по возможности, идентификаторы для глобальных сетевых соединений
4.3 Идентификаторы, сгруппированные по классам.

Пункт 5 стандарта - Класс 1 администрации систем:
Следующие идентификаторы инфраструктуры обязательны для класса 1, когда соответствующие элементы присутствуют:
TS идентификатор
идентификатор горизонтальной подсистемы
TMGB идентификатор
TGB идентификатор
5.1.1 Идентификатор телекоммуникационного помещения (Telecommunications Space (TS)).
Идентификаторы телекоммуникационного помещения (TS), уникальные в масштабе здания, должны быть приписаны телекоммуникационному помещению и иметь формат fs, где
f- цифра(ы), обозначающие этаж здания, на котором расположена данное телекоммуникационное помещение (TS)
s- буква(ы), уникальным образом идентифицирующие TS на этаже f, или область в здании, где расположена TS.
Для зданий с нецифровым обозначением этажей характеристика f может быть использована в формате s, и должна согласовываться с наименованием этажей в этом здании. Все TS идентификаторы в отдельной инфраструктуре должны иметь одинаковый формат там, где это возможно.
TS должна быть промаркировано идентификаторами внутри помещения так, чтобы они были хорошо видимы для того, кто работает в данном помещении.
Например:
“1 A" = первый этаж, TS A
Идентификатор горизонтальной подсистемы.
Идентификатор горизонтальной подсистемы, уникальный в масштабе всего здания, должен прилагаться к каждому горизонтальному соединению и каждому элементу горизонтальной подсистемы. Идентификатор горизонтальной подсистемы должен иметь формат fs-an, где
fs - TS идентификатор
а - 1-2 буквы, уникальным образом идентифицирующие патч-панель или группу панелей с последовательно пронумерованными портами, или IDC-коннектор или группу IDC-коннекторов, служащих частью горизонтальной кросс-коммутации;
n - 2-4-значное число, обозначающее порт на патч-панели в телекоммуникационном помещении или сегментный блок IDC-коннектора, на которой терминируется 4-парный кабель горизонтальной подсистемы.
Все идентификаторы горизонтальной подсистемы в отдельной инфраструктуре должны иметь одинаковый формат там, где это возможно.
В телекоммуникационном помещении (TS), каждый порт патч-панели или IDC-коннектор должны быть промаркированы наклейкой типа "an". Выполнение этого требования можно обеспечить маркировкой патч-панели частью "а", и каждого порта -частью "n".
Например:
“A07" = патч-панель A, позиция 07
Так же IDC-коннектор или группа IDC –коннекторов должна быть промаркирована частью “a”, а сегментный блок IDC-коннектора, на которой терминируется 4-парный кабель горизонтальной подсистемы- частью “n”.
Например:
"1A-B02" - стартовая точка на первом этаже, TS A, патч-панель B, позиция 02
Каждый горизонтальный кабель должен быть промаркирован хорошо видимой на открытой части кабеля наклейкой на расстоянии не более 300 мм от конца кабеля до наклейки. Это относится к любому кабелю в телекоммуникационном помещении (TS), в рабочей зоне и в точке консолидации (CP), если таковая имеется.
Маркировка должна наноситься на коннектор, лицевую панель, многопользовательскую розетку MUTOA таким образом, чтобы можно было четко определить принадлежность каждого элемента.
5.1.3 Идентификатор главной шины заземления (TMGB) .
Идентификатор главной шины заземления телекоммуникационного оборудования (TMGB) используется для обозначения (маркировки) отдельных TMGB в здании.
Формат TMGB идентификатора должен быть следующим: fs-TMGB, где
fs - идентификатор TS (телекоммуникационного помещения), содержащего TMGB
ТМGB - часть идентификатора, определяющая главную шину заземления телекоммуникационного оборудования.
Главная шина заземления должна быть промаркирована идентификатором TMGB.
Например:
“1A-TMGB"- первый этаж, TS A, главная шина заземления
Идентификатор шины заземления (TGB).
TGB идентификатор используется для обозначения (маркировки) шин заземления в системе заземления.
Уникальный TGB идентификатор должен быть присвоен каждой шине заземления и иметь следующий формат: fs-TGB, где:
fs- идентификатор TS (телекоммуникационного помещения), содержащего TGB
ТGB- часть идентификатора, определяющая шину заземления телекоммуникационного оборудования
Например:
“1 A-TGB" = первый этаж, TS A, шина заземления
Все идентификаторы шин заземления в отдельной инфраструктуре должны иметь одинаковый формат там, где это возможно.
Каждая шина заземления должна быть промаркирована идентификатором TGB.
5.2 Обязательные записи.
В классе 1 администрации обязательны следующие записи:
1) одна запись горизонтальной подсистемы для каждой горизонтальной подсистемы
5.2.1 Записи горизонтальной подсистемы.
идентификатор горизонтальной подсистемы
тип кабеля
расположение телекоммуникационной розетки/коннектора
тип розетки/коннектора
длина кабеля
тип перекрестного соединения аппаратного обеспечения
служебная запись соединения.
Пункт 6 стандарта - Класс 2 администрации систем:
Следующие идентификаторы инфраструктуры обязательны для класса 2, когда соответствующие элементы присутствуют:
идентификаторы, необходимые для класса 1 администрирования.
идентификатор кабеля вертикальной подсистемы здания.
идентификатор магистральной пары или оптики в здании.
идентификатор размещения противопожарного оборудования.
6.1.1 Идентификатор кабеля магистральной подсистемы здания.
Уникальный идентификатор кабеля магистральной подсистемы здания должен прилагаться к каждому кабелю, соединяющему два телекоммуникационных помещения (TS) в одном здании и должен иметь формат вида fs1/fs2-n где:
fs1- идентификатор TS, где находится один конец магистрального кабеля
fs2- идентификатор TS, где находится другой конец магистрального кабеля
n- 1-2 численно-буквенных символа, идентифицирующих отдельный кабель, один конец которого терминирован в TS, обозначенного как fs1, и другой конец – в TS, обозначенного как fs2
Например:
“1A/2A-1" - TS A на первом этаже, соединенное с TS A на втором этаже, кабель 1
В соответствии с этим форматом, TS с меньшим численно-буквенным идентификатором должно быть первым в списке. Если весь кабель находится внутри одного TS, формат этикетки может иметь вид fs1/fs2-n.
Все идентификаторы кабеля магистральной подсистемы здания должны иметь одинаковый формат, если это возможно.
Каждый кабель магистральной подсистемы должен быть промаркирован на каждом конце магистральной подсистемы на расстоянии не более 300 мм от конца кабельной оболочки.
6.1.2 Идентификатор магистральной пары или оптики в здании.
Уникальный идентификатор магистральной пары или оптики в здании должен использоваться для маркировки каждой отдельной медной пары или каждого отдельного оптоволокна в кабеле магистральной подсистемы между двумя TS в одном здании и должен иметь формат fs1/fs2-n.d, где
fs1/fs2-n- идентификатор кабеля магистральной подсистемы здания.
d- 2-4 числовых символа, идентифицирующих отдельную медную пару или отдельную жилу оптоволокна.
Все идентификаторы магистральной пары или оптики в отдельной инфраструктуре должны иметь одинаковый формат, если это возможно.
Идентификатор магистральной пары или оптики в здании должен наноситься на передней части патч-панели, на сегментных блоках IDC-коннектора или на патч-панели для оптоволокна таким образом, чтобы можно было точно определить принадлежность каждого элемента.
Это требование может быть выполнено маркировкой частью “fs1/fs2-n” идентификатора на каждой патч-панели, IDC коннектора или группы IDC коннекторов и частью “d” каждого порта или сегментного блока IDC коннектора, на который терминируется пара или оптоволокно.
6.1.3 Идентификатор размещения противопожарного оборудования(FSL).
Идентификатор размещения противопожарного оборудования (FSL) должен присутствовать в каждом месте нахождения средств пожаротушения.
Формат идентификатора размещения противопожарного оборудования должен иметь формат f-FSLn(h), где
f - цифра(ы), обозначающие этаж здания, на котором расположено телекоммуникационное помещение (TS)
FSL= идентификатор пункта размещения средств пожаротушения
n = 2-4 цифры, обозначающие один пункт размещения противопожарного оборудования
h = 1 цифра, обозначающая рейтинг пожароустойчивости (в часах) системы пожаротушения
Все пункты размещения противопожарного оборудования должны быть промаркированы в едином формате, если это возможно.
Каждый пункт, где помещено противопожарное оборудование, должен быть промаркирован с каждой стороны противопожарных барьеров на расстоянии не более 300 мм от средств пожаротушения.
Например:
"1-FSL01(2)" = первый этаж, пункт размещения противопожарного оборудования номер
01, рейтинг пожароустойчивости 2 часа.
6.2 Обязательные записи.
Ниже представлены следующие необходимые записи для класса администрации 2:
записи горизонтальной подсистемы.
одна TS запись для каждого телекоммуникационного помещения.
одна запись для каждого магистрального кабеля.
одна TMGB запись для каждой главной шины заземления.
одна TGB запись для каждой шины заземления.
одна запись для каждого размещения противопожарного оборудования.
Пукнт 7 стандарта - Класс 3 администрации систем:
Следующие идентификаторы инфраструктуры обязательны для класса 3:
идентификаторы, необходимые для класса 2 администрирования;
идентификатор здания;
идентификатор кабеля магистральной подсистемы кампуса;
идентификатор магистральной пары или оптики в кампусе.
Следующие идентификаторы инфраструктуры необязательны для класса 3:
идентификаторы, необязательные для класса 2;
идентификатор элемента внешней кабельной магистрали.
идентификатор кабельная магистраль кампуса или элемента кампуса
7.1.1 Идентификатор здания
Уникальный идентификатор здания должен прилагаться к каждому зданию и должен иметь формат вида b, где:
b = 1 или более численно-буквенных символов, идентифицирующих отдельное здание.
Требований по маркировке идентификатора зданий нет.
7.1.2 Идентификатор кабеля магистральной подсистемы кампуса
Уникальный идентификатор кабеля магистральной подсистемы кампуса должен прилагаться к каждому кабелю магистральной подсистемы, соединяющему телекоммуникационные помещения (TS) в разных зданиях и должен иметь формат вида [b1-fs1]/[b2-fs2]-n, где:
b1fs1 = идентификатор здания и идентификатор TS, в котором находится один конец терминированного магистрального кабеля
b2fs2 = идентификатор здания и идентификатор TS, в котором находится другой конец терминированного магистрального кабеля
n = 1-2 численно-буквенных символа, идентифицирующих отдельный кабель, один конец которого терминирован в TS, обозначенного как b1fs1, и другой конец – в TS, обозначенного как b2fs2
В соответствии с этим форматом, здание с меньшим численно-буквенным идентификатором должно быть первым в списке.
Все идентификаторы кабельной магистральной подсистемы кампуса должны иметь одинаковый формат, если это возможно.
Каждый кабель магистральной подсистемы кампуса должен быть промаркирован на каждом конце кабеля магистральной подсистемы на расстоянии не более 300 мм от конца кабельной оболочки.
Нетерминированные кабели в TS на обоих концах (т.е с одной или обоих концов терминированы в сплайс или фундамент) вне этого стандарта.
7.1.3 Идентификатор магистральной пары или оптики в кампусе.
Уникальный идентификатор магистральной пары или оптики в кампусе должен прилагаться к каждой паре или оптике в магистральном кабеле, соединяющем TS в разных зданиях и должен иметь формат [b1-fs1]/[b2-fs2]-n.d, где
[b1-fs1]/[b2-fs2]-n= идентификатор кабеля магистральной подсистемы кампуса
d= 2-4 числовых символа, идентифицирующие отдельную медную пару или отдельное оптоволокно.
Все идентификаторы магистральной пары или оптики в кампусе должны иметь одинаковый формат, если это возможно.
Идентификатор магистральной пары или оптики в кампусе должен наноситься на передней части патч-панели, на сегментных блоках IDC-коннектора или на патч-панели для оптоволокна таким образом, чтобы можно было точно определить принадлежность каждого элемента.
Это требование может быть выполнено маркировкой частью [b1-fs1]/[b2-fs2]-n идентификатора на каждой патч-панели, IDC коннектора или группы IDC коннекторов и частью “d” каждого порта или монтажного блока IDCконнектора, на который терминируется пара или оптоволокно.
7.2 Обязательные записи.
Для класса администрации 3 обязательными являются следующие записи:
записи, обязательные для класса 2.
одна запись для каждого здания.
одна запись для каждого кабеля магистральной подсистемы кампуса.
Пункт 8 стандарта - Класс 4 администрации систем:
В классе администрации 4 обязательны следующие идентификаторы инфраструктуры:
1) идентификаторы, обязательные для класса 3 администрации.
2) идентификатор кампуса или филиала.
Для класса администрации 4 необязательны следующие идентификаторы инфраструктуры:
идентификаторы, необязательные в классе 3 администрации.
идентификатор элемента внутри кампуса.
8.1.1 Идентификатор кампуса или филиала.
Уникальный идентификатор кампуса или филиала должен прилагаться к каждому кампусу или филиалу и иметь формат с, где:
с = 1 или более численно-алфавитных символов, идентифицирующих кампус или филиал. Нет требований по маркировке идентификатора кампуса или филиала. 8.2 Обязательные записи. Для класса администрации 4 обязательными являются следующие записи: 1) записи, обязательные для класса 3; 2) одна запись для каждого кампуса или филиала.
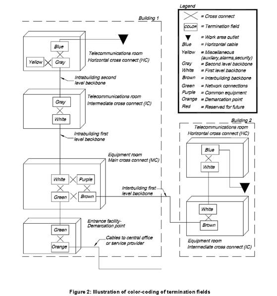
Пукнт 9 стандарта - Цветовое кодирование
9.2 Цветовое кодирование поля терминирования.
Цветовое кодирование поля терминирования упрощает администрирование и поддержание инфраструктуры, делая создание структуры кабельной сети более интуитивным.
Цветовое кодирование поля терминирования основано на топологии вертикальной и горизонтальной кабельной сети, стандартизированной в ANSI/TIA/EIA-568-B.1, который допускает 1 уровень перекрестного соединения в горизонтальной кабельной сети и 2 уровня перекрестного соединения в вертикальной кабельной сети.
9.2.2 Если поля терминирования кодированы цветом, то должно использоваться кодирование, представленное в таблице 1.
Перекрестные соединения обычно соединяют поля терминирования, имеющие разные цвета.
Таблица 1
| Тип терминирования | Цвет | Применение |
| Точка демаркации (разделения) | оранжевый | Соединение главного офиса. Резервируется для идентификации демаркационной точки |
| Сетевое соединение | зеленый | Сторона клиента соединения центрального офиса. Используется при идентификации точек терминирования сетевых соединений на стороне клиента (относительно демаркационной точки) |
| Оборудование общего назначения | фиолетовый | Подсоединения к PBX, мэйнфрэймам, устройствам ЛВС, мультиплексорам. Используется для идентификации точек терминирования кабелей, берущих свое начало на оборудовании общего назначения (например, PBX, компьютеры, устройства ЛВС и мультиплексоры) |
| Малая АТС | красный | Подсоединение к малым АТС (телефонным системам) |
| Первый уровень магистрали | белый | Используется для идентификации точек терминирования магистрального кабеля здания, соединяющего главный кросс с промежуточным. |
| Второй уровень магистрали | серый | Используется для идентификации точек терминирования магистрального кабеля здания, соединяющего промежуточный кросс с горизонтальным. |
| Магистраль кампуса | коричневый | Используется для идентификации точек терминирования магистрального кабеля между зданиями |
| Горизонтальная подсистема | голубой | Используется для идентификации точек терминирования кабеля горизонтальной подсистемы в TSs |
| Прочее | желтый | Используется для идентификации точек терминирования вспомогательных систем, сигнализации, систем технического обслуживания, систем безопасности, организации энергоснабжения и т.д. |
9.3.1 Цветовое кодирование горизонтальной кабельной системы.
Цветовое кодирование может использоваться для различения кабелей горизонтальной подсистемы, для идентификации служб, соединенных патч-кордами или идентификации различных сервисов, доступных во внешней рабочей зоне.
Компоненты оптоволоконной кабельной сети.
\Патч-корды для оптоволокна.

Большинство телекоммуникационных систем, использующих оптоволокно как средство передачи, требуют 2 оптоволокна. Соединительные кабели, шнуры оборудования, и шнуры рабочей области с симплексными соединителями должны использовать различные цветные соединители, чтобы помочь в поддержании надлежащей совместимости.
Типы оптоволокна и типы коннекторов.
Кабельные системы могут содержать оптоволокно с разными размерами сердцевины или разными полосами пропускания в пределах одного и того же размера сердцевины. Системные администраторы, делая подключения, должны обозначать точки терминирования цветом, чтобы помочь в поддержании совместимости.
Оптоволоконные соединители Angled PC (угловая полировка коннектора) или APC не совместимы с другими типами, и системные администраторы должны обозначать эти точки терминирования цветом, чтобы помочь в поддержании совместимых подключений.
10. Процедуры маркировки.
Размер, цвет и контрастность всех наклеек должны определяться таким образом, чтобы обеспечивать читабельность наклеек. Наклейки должны быть видны в процессе монтажа и в ходе нормального обслуживания кабельной инфраструктуры. Наклейки должны быть устойчивы к условиям окружающей среды на стадии монтажа (влажность, нагревание и ультрафиолет), а срок их жизни должен превышать срок жизни маркируемого элемента.
Для повышения четкости изображения все наклейки должны печататься на принтере.
Администрирование телекоммуникационных инфраструктур коммерческих зданий производится согласно стандарту EIA/TIA 606-A. Для сбора и хранения информации, отслеживания и документирования изменений в СКС помогает AMPTRAC программно-аппаратный комплекс управления кабельной инфраструктурой
Способ восстановления кабельной системы - сплайсирование.
Список используемой литературы
1. www.corning.com
2. www.ampnetconnect.com
3. www.ecolan.ru
4. “A new look at an old standard. The TIA/EIA-606 standard re-born.” HellermannTyton
5. “Стандарт маркировки кабельных систем TIA/EIA-606-A” (Рекомендации Panduit)