| Скачать .docx |
Курсовая работа: Синтез системы автоматического регулирования радиального положения пятна
ПОЯСНИТЕЛЬНАЯ ЗАПИСКА
к курсовой работе по дисциплине
“Основы автоматики и системы автоматического управления ”
на тему:
Синтез системы автоматического регулирования
радиального положения пятна
Рязань 2008
Содержание
Задание
Введение
Расчет датчика положения
Расчет линейного электродвигателя
Расчет оптической системы
Расчет корректирующего устройства
Заключение
Список литературы
Приложение
Рязанская государственная радиотехническая академия
Кафедра САПР вычислительных средств
ЗАДАНИЕ НА КУРСОВУЮ РАБОТУ
по дисциплине "Основы автоматики и системы автоматического управления”
студентки_Поповой Е.Ю. ___________________________группы 050 _
Тема
Синтез системы автоматического регулирования радиального положения пятна
Срок представления работы к защите: ______________г.
Исходные данные для выполнения работы:
λ=8 мкм;
F=150;
kу =3;
Т=3·10-4 с;
dк =15 мм;
В=1 т;
Rk =4 Ом;
W=100 витков;
m=30 г;
μ=40 г/с;
c=0 н/м.
Руководитель работы __ /подпись/
Задание выдано ______________г.
Задание принято к исполнению /подпись/
Введение
В настоящее время оптические дисковые системы нашли множество применений. Возможность записи значительного объема информации и простота тиражирования делает оптический диск очень привлекательным. В сфере записи и хранения данных системы с прямой оптической записью информации стали штатными периферийными устройствами компьютеров.
Просто осуществляемое сканирование по плоской поверхности диска при считывании, обеспечивающее быстрый доступ к информации, важное качество таких систем. Дополнительным достоинством оптических дисков является отсутствие физического контакта между считывающей головкой и несущем информацию слоем, так как считывание осуществляется пучком света, сфокусированным на этом слое. Защитный прозрачный слой, покрывающий носитель информации, предохраняет мелкие детали от повреждений и затеняющих частичек.
Как и в обычной граммофонной записи, информация расположена по спирали, которая называется дорожкой. Дорожка представляет собой спиральный прерывистый пунктир из меток записи. Метки являются маленькими областями, имеющими оптический контраст с окружающей их зеркальной поверхностью, например черные элементы в виде черточек или продолговатые углубления (питы) на поверхности. Метки вызывают изменение отражения от диска вдоль дорожки. Оптическая считывающая головка, которая в данном случае заменяет механическую иглу граммофона, преобразует изменения отражения в электрический сигнал. Для этого объектив головки фокусирует лазерный луч в маленькое пятно на дорожке и направляет луч, отраженный от диска, на фотоприемник. Таким образом, сигнал с фотоприемника модулируется во времени в соответствии с метками на дорожке вращающегося диска.
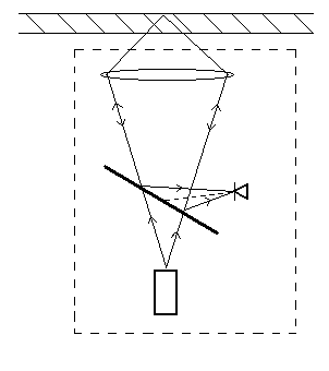
Высокая плотность в записи информации достигается с помощью оптических средств, которые представляют собой оптический сканирующий микроскоп со средним увеличением. Предел плотности записи обусловлен дифракцией света, которая определяет минимальный диаметр пятна в фокальной плоскости. Размер пятна пропорционален длине волны света λ , излучаемого полупроводниковым лазером. Для используемых в настоящее время лазеров это составляет 109 - 1011 бит на диск. На рис.1 показаны основные оптические элементы считывающей головки.

Диск
O
З D
Л
Рис.1. Базовая оптика.
Излучение полупроводникового лазера Л фокусируется через прозрачную подложку диска на поверхность, несущую информацию, с помощью объектива микроскопного типа О . Часть отраженного света, собираемого тем же объективом, направляется полупрозрачным зеркалом З на детектор (фотоприемник) D .
Для сканирования всего диска эта конструкция должна быть укреплена на каретке, перемещающейся по радиусу диска. При этом малые и кратковременные ошибки (отклонения) пятна от дорожки устраняются за счет перемещения компактной головки относительно каретки.
Дорожки записи (САРД). В видео дисковых системах дополнительно используется система управления в тангенциальном направлении (вдоль дорожки), предназначенная для компенсации высококачественных изменений скорости считывания.
Таким образом, в настоящее время оптические дисковые системы снабжены пятью системами автоматизированного регулирования, а именно:
– Вращения диска (САРВ);
– Тангенциального слежения (САРТ);
– Радиального слежения за дорожкой (САРД);
– Радиального перемещения каретки (САРРП);
– Вертикального слежения за фокусировкой (САРФ).
Расчет датчика положения
Система радиального слежения за дорожкой предназначена для фиксации считывающего пятна в пределах дорожки при перемещениях диска, вызываемых эксцентриситетом, движением каретки, действием внешних вибраций, ускорений и т.д. Функциональная схема CAPD содержит те же компоненты, что и САРФ и показана на рис. 2.1.

g ( t )
х( t )
Усилитель
мощности
Датчик Усилитель Корректирующее
положения устройство
Рис.2.1. САРД.
Датчик положения отклонение считывающего пятна относительно дорожки в радиальном направлении. После усиления и коррекции сигнал с выхода датчика положения подается на ЛЭД, перемещающий головку считывания в направлении перпендикулярном дорожке в сторону уменьшения отклонения от дорожки.
Сигнал ошибки получается оптическими средствами. Наиболее часто используется метод двух пятен и радиальный двухтактный метод.
В методе двух пятен постоянная составляющая (ПС) сигнала детектора содержит информацию о положении сканирующего пятна относительно информационной дорожки, причем величина ПС будет минимальной, если пятно находится на дорожке (в этом случае отражение света минимальное). Зависимость величины ПС сигнала от радиального положения пятна приведена на Рис.2.2. При
,
где n
= 0, 1, 2, …, а q
– расстояние между дорожками предполагается, что центр пятна совмещен с центральной линией дорожки.
Относительный уровень ПС

в
а
0q x
Рис. 2.2. Зависимость ПС от радиального положения пятна.
Для получения двухполярного сигнала ошибки, в котором знак определяет направление смещения, а амплитуда - величину смещения, применяются два дополнительных сканирующих пятна, которые проецируются на диск со смещением λ относительно дорожки в радиальном направлении. Аппроксимируем изменения ПС сигнала U ПС функций косинуса в соответствии с равенством:
,
где а – уровень сигнала снимаемого с основного сканирующего пятна;
b – амплитуда переменной составляющей.
Тогда два пятна спутника, детектируемые двумя раздельными фотоприемниками, дадут следующие сигналы:
;
;
Разностный сигнал:
,
является нечетной функцией радиального положения x
. Амплитуда и наклон UP
(
x
)
максимальны, если
= 1 или
.
Пятна-спутники получаются с помощью (фазовой) дифракционной решетки, размещенной в диафрагме объектива. Смещение пятен-спутников в радиальном направлении составляет q /4 (см. рис.2.3), а в направлении дорожки гораздо больше (обычно 20 мкм.).
q l |
Рис.2.3. Расположение пятен - спутников на диске.
Изменением углового положения решетки можно изменять смещение
и тем самым оптимизировать сигнал ошибки радиального слежения UP
. Такая схема достаточно проста и очень стабильна.
В методе двух пятен измеряется полная световая мощность пятна плоскости, сопряженной с поверхностью диска. При этом любое изменение интенсивности света в поперечном сечении отраженных лучей не играет роли.
В этом случае сигнал ошибки радиального слежения, как и в методе двух пятен, получается как разность сигналов с двух фотоприемников и определяется выражением
Up
(
x
)=
sin
y
10
×
sin
.
Уравнение содержит сомножитель siny10 , значение которого зависит от средней глубины пит. Питы со средней глубиной, близкой к четверти длины волны лазера и контрастные черно-белые структуры имеют значение y10 »p и дают очень малый сигнал. Поэтому при использовании данного метода в процессе изготовления диска-оригинала при формировании глубины пит необходимо уходить из этой запрещенной области. Практически удается получить значения siny10 =(0.5¸0.7), что вполне приемлемо для осуществления радиального метода.
Схема, поясняющая работу датчика положения, показана на рис. 2.4.

Рис 2.4. Схема датчика положения.
Уравнения имеют вид:

где kp – крутизна характеристики сигнала ошибки радиального слежения, которая определяется линеаризацией характеристики сигнала расфокусировки.
Схема датчика положения приведена на рис 2.5.
Рис. 2.5. Схема датчика положения.
Тогда передаточная функция будет выглядеть так:
где Ку
– коэффициент передачи суммирующего усилителя; ![]()
Тф – постоянная времени фильтра низких частот и находится по формле:
где λ – максимальное расстояние между двумя переходами от пита к ленду в канальном ходе на дорожке диска.
f – скорость считывания канального хода потока данных.
f=14·F, f=2100 Кбайт/с=1,68·107 бит/с;
Тф =3,05·10-7 с;
Кр – находится путем линеаризации (см. Приложение 1)
,
тогда передаточная функция ![]()
Расчет линейного электродвигателя
Далее сигнал выхода усилителя мощности поступает на исполнительный двигатель, как правило линейный электродвигатель (ЛЭД), работающий по принципу громкоговорителя. Составными частями такого двигателя являются: катушка, постоянный магнит и, возможно, магнитопровод из магнитномягкого железа.
Пригодные к применению конструкции ЛЭД могут быть разделены на две основные группы с подвижной катушкой и с подвижным магнитом.
Конструкция с подвижной катушкой (рис.3.1) имеет ряд преимуществ и недостатков. Помимо проблем обрыва проводников, подводящих ток к катушке, движущая часть имеет обычно плохой тепловой контакт с окружающей средой (высокое тепловое сопротивление RT
). Тепло, выделяющееся в подвижной катушке, приводит к росту температуры всей подвижной части, в частности объектива, что нежелательно. Это в конечном счете приводит к уменьшению среднего значения силы, развиваемой данным ЛЭД.
считывающая
головка
катушка
магнит
магнитопровод
Рис.3.1. Привод головки с подвижной катушкой.
Достоинством системы с подвижной катушкой является то, что стационарная магнитная система может быть увеличена и, следовательно, с ее помощью можно обеспечить более сильное магнитное поле (высокое значение магнитной индукции В).
Альтернативным решением может быть конструкция с подвижным постоянным магнитом и неподвижной катушкой. В этом случае отвод тепла от катушки не является серьезной проблемой (низкое RT ) и максимально допустимая температура катушки Ткат max может быть выше, так как она изолирована от объектива. Но развиваемая ЛЭД сила будет меньше из-за ослабления магнитного поля (низкое В ), поскольку объем магнита меньше. Увеличение же магнита нежелательно, так как приводит к возрастанию массы подвижной части, что ухудшает динамические свойства САРФ.
Поэтому в реальных конструкциях применяется ЛЭД с подвижной катушкой.
Поскольку оба типа ЛЭД являются одинаковыми по принципу действия и различаются лишь подвижностью составляющих их частей, уравнения, описывающие их поведение можно представить в виде:
,
где: L – индуктивность катушки;
R = R к + R ум - сопротивление катушки и внутреннее сопротивление усилителя мощности;
I - ток катушки;
В – магнитная индукция;
l – длина проводника катушки в магнитном поле;
F – сила действующая на катушку;
U УМ – напряжение на выходе усилителя мощности,
или в операторной форме:
(Т ·Р+1) F=Lлэд U ум ; (2)
где
- постоянная времени ЛЭД;
- коэффициент передачи ЛЭД;
l = π dk W ;
W – число витков катушки ЛЭД.
Переходя к изображению, получим передаточную функцию:
;
;
;
Клэд =2,355;
![]()
![]()
Расчет оптической системы
Основная цель, стоящая при разработке подвески, обеспечить движение головки только по жестко заданным направлениям. Подвески могут быть с помощью линейных подшипников механического или электромагнитного типа и пружинных гибких направляющих. В первом случае перемещение в направлении регулирования ничем не ограничивается, а в перпендикулярных направлениях предотвращается путем выбора соответствующих подшипников с минимально возможными допусками у механических и максимальной жесткостью у электромагнитных. Тогда с учетом демпфирования в подвесе и диссипации энергии в катушке, уравнения движения подвижной части имеют вид:
,
где
- коэффициент вязкого трения,
или в операторной форме
,
где ![]()
.
, Т1
=0,75 с;
Расчет корректирующего устройства
Для надежной работы устройства, необходимо включить в его схему еще один элемент, обеспечивающий заданное качество переходного процесса. Но перед этим нужно добиться требуемого качества установившегося режима. Система должна обеспечивать точность Xmax =0,2 мкм при входном воздействии gmax =500 мкм, отсюда можно найти суммарный коэффициент усиления всех звеньев системы.
![]()
Необходимо построить при помощи программного пакета ТАУ, нескорректированные логарифмические амплитудно-частотные характеристики (ЛАЧХ) и логарифмические фазо-частотные характеристики (ЛФЧХ), определить частоту среза ω0 (см. Приложение 2).
После построения ω0 =3000 1/с.
Рекомендуемый наклон скорректированной ЛАЧХ в области частоты среза -20 Дб на декаду. Т.к. одна из постоянных времени лежит ниже частоты среза, то наклон не скорректированный ЛАЧХ в этой области примерно -60 Дб/декаду. Следовательно, чтобы поднять на 40 Дб не скорректированную ЛАЧХ передаточная функция корректирующего устройства должна иметь вид:
![]()
Постоянные времени в данном случае выбираются по соотношению:
;
;
Выбираем τ=0,0006 с,
Т=0,0001 с.
Таким образом мы получили следующую передаточную функцию:
W(s)=Wдп (s)·Wиэ (s)·Wоу (s) ·Wку (s)
![]()
Ввод данных:
, где
К=1; Т1 =Т2 =0,6; Т3 =0,3; Т4 =0,2; λ=1; τ=0
, К=2500, Т=750 с
Заключение
В ходе выполнения данной курсовой работы был проведен синтез системы автоматического регулирования радиального положения пятна. Скорректированная система получилась устойчивой.
Список литературы
1. Сапаров В.Е., Максимов Н.А. Системы стандартов в электросвязи и радиоэлектронике. М.: Радио и связь, 1985. 248 с.
2. Микропроцессорные системы автоматического управления./Под ред. Бесекерского В.А. Л., Машиностроение, 1988.
3. Бесекерский В.А., Изранцев В.В. Системы автоматического управления с микроЭВМ. М., Наука, 1987.
4. Бесекерский В.А., Попов Е.П. Теория систем автоматического регулирования. М., Наука, 1975.
5. Теория автоматического управления./Под ред. Воронова А.А. М., Высшая школа, 1986, Т.1, 2.
6. Основы автоматического регулирования и управления./Под ред. Пономарева В.М., Литвинова А.П. М., Высшая школа, 1974.
7. Сборник задач по теории автоматического регулирования и управления./Под ред. Бесекерского В.А. М., Высшая школа, 1978.
