| Скачать .docx |
Реферат: Регулировочно-наладочные операции при производстве телевизоров
БЕЛОРУССКИЙ ГОСУДАРСТВЕННЫЙ УНИВЕРСИТЕТ ИНФОРМАТИКИ И РАДИОЭЛЕКТРОНИКИ
Кафедра РЭС
РЕФЕРАТ
На тему:
« Регулировочно-наладочные операции при производстве телевизоров»
МИНСК 2008
Основы построения телевизора цветного изображения
Принцип построения телевизора цветного изображения основывается на 3-х компонентной теории световосприятия. Суть этой теории заключается в том, что при смешивании в различной пропорции 3-х основных цветов:
красного [Red]; R
зеленого [Grun];
G синего [Blue]. B
можно сформировать любой цвет, существующий в природе.
Любой цвет, видимый глазом, характеризуется:
яркостью (количественная характеристика цвета); цветовым тоном (качественная характеристика цвета); насыщенностью (качественная характеристика цвета).
Цвета, качественно одинаковые, но обладающие разной яркостью, вызывают различные цветовые ощущения.
Белый - светлосерый - темносерый - это белый цвет различной яркости.
В черно-белом телевидении используется это свойство.
Чтобы получить белый цвет (или черно-белый сигнал яркости) надо
сложить три основных цвета в следующей пропорции:
Еярк = 0.3Екр + 0.59Езел + 0.11Есин 1
Это что касается белого цвета.
Цвет, который при большой яркости воспринимается как желтый, прималой яркости - коричневый.
Цветовой тон и насыщенность характеризуют цветность светового потоканезависимо от его яркости.
Цветовой тон (оттенок) характеризует свойство цвета, отличающее его от белого или серого.
Насыщенность определяет чистоту цвета, т.е. степень его разбавленности белым цветом.
Исходя из этого можно сделать вывод, что для получения цветного изображения достаточно передавать либо три основных цвета, либо один яркостный сигнал и два сигнала, несущих информацию о двух основных цветах.
Совместимые системы цветного и черно-белого телевидения.
В условиях наличия приемной сети черно-белого телевидения одним из важнейших требований, предъявляемых к системе цветного телевидения было требование совместимости. Под совместимостью понимается необходимость удовлетворения таких условий, при которых черно-белый телевизор мог бы принимать в черно-белом виде как черно-белые передачи, так и цветную передачу, а цветной телевизор черно-белые передачи. Выполнение условий совместимости во всех системах ЦТ (а их 3) обеспечивается при помощи кодирования сигналов изображения на телецентре. В связи с этим в цветном телевизоре имеются декодирующие устройства (декодеры ПАЛ, СЕКАМ, ПТЦ). Всемирное телевидение имеет три системы по кодировке цвета (ПАЛ, СЕКАМ, ПТЦ) и четырнадцать стандартов по организации передачи сигналов и развертки (B, G, H, I, D, K, KI, N, M, A, C, L, E, F).
Всего стандартов по кодированию цвета и по организации передачи
сигналов и развертки может быть 21.
В основном используются шесть комбинации этих стандартов.
ПАЛ B,G (Германия)
ПАЛ I
ПАЛ P,K
СЕКАМ B,G (Франция)
СЕКАМ P, K, KI (СССР, Чехия и Словакия, Венгрия)
НТЦ М (США, Япония, Канада)
Система НТЦ (первая) была разработана в США (1950 - 1953г.г.). В ней одновременно передаются яркостный сигнал и расположенная в пределах его спектра поднесущая квадратурно-модулированная красным и синим цветоразностными сигналами. Принцип квадратурной модуляции заключается в том, что цветоразностные сигналы поступая раздельно на модуляторы модулируют одну и ту же поднесущую, вырабатываемую кварцевым генератором, причем фазы этой поднесущей, подаваемой на модуляторы, сдвинуты на 90 градусов. Модуляторы имеют симметричную (балансную) схему. Это означает, что Uвых модуляторов пропорциональны произведениям входных напряжений, а а сама поднесущая подавляется. Подавление цветовой поднесущей устраняет ее мешающее действие на изображение. Оба цветоразностных сигнала, помещенные на поднесущую, подаются в блок сложения, где они образуют полный сигнал цветности (СЦ). Результирующий СЦ меняется по амплитуде и по фазе. При этом амплитуда сигнала определяет насыщенность, а фаза - цветовой тон.
В блок сложения поступают также яркостный сигнал и сигнал цветовой идругой синхронизации. В результате образуется полный сигнал ЦТ.В цветных телевизорах системы NTSC разделение полного сигнала осуществляется синхро-детекторами ( аналогично модуляторам).
Чтобы избежать искажения цветовых тонов принятого изображения фаза колебаний поднесущей в синхро-детекторе должна быть такой же, как и в передатчике. Для этого в передатчике вырабатывается специальный сигнал цветовой синхронизации, который размещается на задней площадке гасящего строчного импульса и представляет собой 8 - 10 периодов цветовой поднесущей и называется сигналом вспышки.
Частота и фаза вспышки равны частоте и фазе поднесущей в передающемустройстве.
Недостатки NTSC:
- большая чувствительность к фазовым искажениям, что приводит к
неправильной передаче цветового потока;
- чувствительность к амплитудно-частотным искажениям, что приводит к
изменениям насыщенности цвета.
Система PAL
Она представляет собой усовершенствованную систему NTSC с квадратурной модуляцией, в которой устранена чувствительность к фазовым искажениям. Основной принцип работы ПАЛ заключается в том, что фаза поднесущей изменяется от строки к строке.
На приемной стороне сигналы цветности соседних строк суммируются, что приводит к компенсации фазовых искажений. При суммировании используется линия задержки на 64 мкс.
Информацию о насыщенности дает амплитуда цветовой поднесущей, а о цветовом тоне - фаза.
Система SEKAM ( Франция, СССР )
Особенностью системы является то, что цветоразностные сигналы передаются в частотном спектре яркостного сигнала на вспомогательных цветовых поднесущих методом частотной модуляции. Амплитуда поднесущей -насыщенность. Цветовой тон - это частота поднесущей. Другими словами, передается непрерывно сигнал, несущий информацию о яркости. Поочередная модуляция поднесущих ( через строку) для передачи сигналов, несущих информацию о цвете.
Поднесущие являются гармониками fстр и равны: для R f = 282 * fстр=440.25 кГц ; для В f = 272 * fстр == 4250 кГц +-2 + 230.
Недостатки: снижена цветовая четкость по вертикали, т.к. цветоразностные сигналы передаются через строки.
Как различить сигналы цветности ? Возможно использование различныхспособов. Один из них заключается в использовании схемы совпадения напряжений и специальных сигналов, передающихся с 7-ой по 15 и с 320 по 329 строки в виде девяти радиоимпульсов во время кадрового гасящего импульса.
На вход 1подаются импульсы кадровой f, во время действия сигналов цветовой синхронизации, чтобы избежать прохождения цветоразностных сигналов, передаваемых в 2-ое время. На вход 2 подаются импульсы, соответствующие красным строкам, которые выделяются колебательным контуром. На вход 3 тоже для синих строк. Лишь при одновременном приходе этих трех сигналов образуется на входе 4 пачка импульсов, которые используются для коррекции работы триггера, управляющего работой коммутатора и для открывания канала цветности.
АЧХ усилительного тракта ЦТ
Усиление в основном производится как и в р/п в УПЧ. Но для р/п с амплитудной модуляцией надо усилить только f = 465 кГц. Для р/п с частотной модуляцией f = fпр +- 20 кГц. Сложнее с ЦТ. Здесь обычно полоса пропускания УПЧ должна быть равной 8 МГц. От 31.5 мГц до 39.5МГц.
Что расположено в данной полосе.
1. Несущая изображения. Ее амплитудно-модулированный сигнал несетинформацию о яркости.
2. С ней складывается частота кадров.
3. Далее частота строк.
4.Затем амплитудно-модулированные поднесущие.
5. Частотно - модулированная звуковая поднесущая.
Для улучшения качества цветного изображения цветоразностные сигналыподвергаются низкочастотной и высокочастотной коррекциям. Низкочастотная коррекция видеосигналов производится до модуляции ими поднесщих с помощью фильтра, Кперед. которого увеличивается с увеличением частоты
В результате ВЧ составляющие цветоразностных сигналов увеличиваются в три раза по сравнению с НЧ составляющей. Что это дает? Это повышает помехоустойчивость и улучшает отношение сигнал/шум в области верхних цветовых сигналов.
Но в телевизоре надо для получения сигнала после демодуляции провести обратную коррекцию, т.е. уменьшить амплитуду ВЧ составляющей.
Кроме того, после частотной модуляции поднесущие сигналы цветностиподвергаются ВЧ коррекции. Осуществляется это с помощью фильтра, подавляющего частоты, близкие к номинальной частоте поднесущей. Частотная характеристика такого фильтра имеет определенный вид:
Применение ВЧ коррекции улучшает совместимость систем благодаря низкой занятости поднесущих при приеме ТВ сигнала в черно-белых телевизорах, для восстановления соотношений в спектре цветового сигнала, сигнал цветности пропускается через фильтр, имеющий частотную характеристику обратную характеристике, показанной раньше.
Таким образом, мы рассмотрели основные характеристики телевизионных
стандартов систем цветного ТВ.
По АЧХ можно судить о четкости изображения, что используется при
регулировке:
завал АЧХ вблизи левого склона , ухудшение изображения мелких деталей.
завал справа - снижение контрастности крупных деталей, срыв синхронизации.
провал в области 33 - 34 МГц - пропадание цвета.
О форме АЧХ можно судить по испытательной таблице. Все эти частоты модулируют в свою очередь несущую частоту по соответствующим различным каналам.
По международным стандартам частоты радиоканалов разбиты на четыре диапазона:
I 48.5...66.0 МГц 1 - 2 каналы
II 76.0...100.0 МГц 3 - 5 каналы
III 174...230 МГц 6 - 12 каналы
1.1.1.1 IV - V 470...790МГц 21 - 60 каналы
Структурная схема ЦТ.
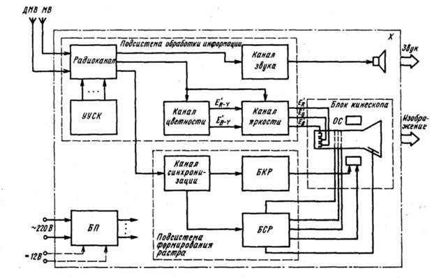
На рис. 1 приведена структурная схема переносного цветного телевизора.

Рис. 1 Структурная схема цветного телевизора
РК - радиоканал
КЗ - канал звука
КЦ - канал цветности
КЯ - канал яркости
БКР - блок кадровой развертки
БСР - блок строчной развертки
КС - канал синхронизации
УУ - устройство управления.
Разработано у нас и выпускаются 6 поколений телевизоров. Однако для всех них характерно наличие данных блоков. Для разных поколений ЦТ в связи с изменением элементной базы аналоговый ЦТ, цифро-аналоговый или цифровой, могут меняться схемы, принципы обработки конкретных сигналов, элементная база и т.д., но данные блоки пока остаются. Конечно, наиболее существенно меняется устройство управления.
Конечно, добавляются новые блоки, например, кадр в науке. Но для получения изображения это не важно. И мы их вносим в УУ.
Сигналы от антенны поступают в РК, в состав которого входят СН, ФСЕ,
УПЧИ, ВД, АРУ, АПЧГ.
Для управления СК с электронной настройкой служит УУСК, формирующее напряжения коммутации и настройки. В состав канала звука входят УПЧЗ, ЧД, УЗЧ. Каналы цветности и яркости обеспечивают подачу на катоды цветного кинескопа трех первичных сигналов цветности.
Все перечисленные устройства можно назвать подсистемой обработки информации.
В подсистему формирования растра входят БКР. БСР, а также канал синхронизации, управляющий ими.
В состав блока кинескопа входит цветной кинескоп с самосведением с закрепленными на нем ОС и магнитостатическим устройством, а также панель кинескопа.
В блоках питания цветных переносных телевизоров используется импульсная стабилизация напряжения; некоторые БП обеспечивают работу телевизора от источника постоянного напряжения + 12 В.
Особенностью импульсных БП является то, что во входящих в их состав импульсных стабилизаторах регулирующий элемент работает в ключевом режиме, что обеспечивает высокий КПД БП. Принцип работы импульсного стабилизатора заключается в преобразовании выпрямленного напряжения в импульсное сравниельно высокой частоты с последующим преобразованием его в постоянное напряжение. Стабилизация выходных напряжений осуществляется изменением длительности импульсов, т. е. ШИМ.
Рассмотрим принцип обработки сигналов цветности в телевизоре (рис.2)

Рис.2. Структурная схема получения сигналов первичных цветов в цветном телевизоре
Ветви коммутатора переключаются синхронно с началом каждой строки, благодаря чему на частотный дискриминатор ЧД1 поступают сигналы только «красных» строк из прямого канала и канала задержанного сигналапоочередно, так же как на ЧД2 — только сигналы «синих» строк. Отметим, что АЧХ ЧД1 и ЧД2 имеют противоположные наклоны.
Между выходами коммутатора и ЧД1, ЧД2 могут быть включены усилители-ограничители (на рис. 2 не показаны).
С выходов ЧД1 и ЧД2 выделенные с помощью ФНЧ цветоразностные сигналы E'R _Y и E’В- Y , пройдя через цепи коррекции НЧ предыскажений, поступают на матрицу Ml, где выделяется цветоразностный сигнал E’G -Y , а также на матрицы М2—М4, на выходах которых образуются первичные сигналы цветности E'R , E’G , E'b .
Из условия получения сигнала E’G -Y лишь при одновременном существовании сигналов E'R -y и E'b –Y на входах матрицы Ml следует, что при неисправности, например, в коммутаторе или в канале задержанного сигнала на цветном изображении телевизора будет наблюдаться пониженная цветовая насыщенность, заметна чересстрочность и нарушена цветопередача, им званная отсутствием зеленого цвета.
На этом же свойстве основано исключена появлений зеленых линий обратного хода на экране кинескопа с помощью шунтирования выхода канала задержанного сигнала в течение обратного хода развертки специальным электронным ключом (эти линии могут быть вызваны импульсами опознавания цвета, проходящими через oткрытый канал цветности). Для упрощения счетный триггер, управляющий работой коммутатора а также схема опознавания цвета и цветовой синхронизации на рис. 5.2 не показаны
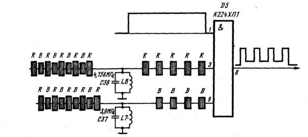
В цветных переносных телевизорах применяются различные схемы опознавания цвета, использующие сигналы цветовой синхронизации, которые передаются в виде девяти радиоимпульсов с 7-й по 15-ю и с 320-й по 329-ю строку (рис. 3)
Например, в схеме на рис. 3 используется устройство совпадений, на один из входов которого (вывод 1 микросхемы D5) подаются импульсы кадровой частоты во время Действия сигналов цветовой синхронизации, чтобы исключить прохождение на устройство опознавания цветоразностных сигналов.

Рис. 3. Сигналы цветовой синхронизации

Рис. 4. Формирование импульсов опознавания цвета в блоке ряда телевизоров

Рис.5. Формирование импульсов опознавания цвета в модуле УМ2-1-1
На другой вход (вывод 3) подаются импульсы, соответствующие «красным» строкам, которые из сигналов цветовой синхронизации выделяются колебательным контуром 1.8С38. На третий вход (вывод 9) поступают сигналы, соответствующие «синим» строкам, которые выделены из задержанных на время одной строки сигналов цветовой синхронизации контуром L7C37.
Помехоустойчивость схемы обеспечивается тем, что лишь при одновременном приходе указанных импульсов на выходе устройства совпадений (вывод 8 микросхемы) образуется пачка импульсов опознавания, которые используются для коррекции работы счетного триггера, управляющего работой коммутатора, и для открывания канала цветности.
Дрожание этих импульсов на экране осциллографа объясняется чередованием сигналов цветовой синхронизации от поля к полю и от кадра к кадру (в одной последовательности пяти «красных» и четырех «синих» импульсов цветовой синхронизации, в другой — четырех «красных» и пяти «синих»).
В устройстве опознавания, примененном в унифицированном модуле УМ2-1-1, помехоустойчивость достигается вследствие накопления энергии в колебательном контуре при подаче на него пачки видеоимпульсов цветовой синхронизации с выхода ЧД «красного» цветоразностного сигнала при остановленном коммутаторе.
В каналах цветности с микросхемой типа К174ХА9 сигналы цветовой синхронизации «красных» (или «синих») строк выделяются на колебательном контуре и детектируются. Выход детектора с помощью электронного коммутатора, управляющего импульсами строчной частоты, поочередно подключается к одному из двух накопительных конденсаторов, напряжения на которых, естественно, будут отличаться; их разница анализируется компаратором, который и вырабатывает сигнал управления.
Данная схема позволяет реализовать не только покадровую- цветовую синхронизацию, но и построчную, для чего резонансный контур настраивают на частоту поднесущей «красных» (или «синих») строки, так называемой «вспышки».
В каналах цветности с микросхемой типа К174ХА16, короткие вырезки из «вспышек» проходят через колебательный контур, настроенный на частоту 4,328 МГц, т. е. находящуюся посередине между частотами 4,250 и 4,406 МГц. Так как частоты поднесущих «синего» и «красного» цвето-разностных сигналов приходятся на восходящую и нисходящую ветви АЧХ колебательного контура, то и фазовые сдвиги, вносимые контуром в сигналы, будут различны. Поэтому на выходе аналогового перемножителя появятся биполярные импульсы полустрочной частоты, фаза которых сравнивается с фазой счетного триггера, управляющего коммутатором, и может использоваться для его коррекции.
Для управления служит УУ, формирующее напряжения для коммутации, настройки и регулировки. Каналы цветности обеспечивают подачу на катоды кинескопа 3 первичных сигнала цветности. Для формирования растра необходимы КС, БКР, БСР. В состав канала звука входят УПЧ, ЧД, УНЧ. Каналы цветности и яркости обеспечивают подачу на катоды цветного кинескопа 3-х первичных сигналов цветности.
ЛИТЕРАТУРА
| Технология РЭУ и автоматизация производства РЭА :Учебник для ВУЗов А.П.Достанко, В.Л Ланин, А.А. Хмыль и др.Под ред.академика А.П.Достанко,-- Минск “Вышэйшая щкола.-2002.—400 с. | 2002 |
| Колесников В.М. -- Лазеpная звукозапись и цифpовое pадиовещание. -- М.:"Радио и связь", 2001 -- 214 с. | 2001 |