| Скачать .docx |
Реферат: Проекционная ФЛГ. Плазмохимическое осаждение
БЕЛОРУССКИЙ ГОСУДАРСТВЕННЫЙ УНИВЕРСИТЕТ ИНФОРМАТИКИ И РАДИОЭЛЕКТРОНИКИ
кафедра ЭТТ
РЕФЕРАТ на тему:
«Проекционная ФЛГ. Плазмохимическое осаждение»
МИНСК, 2008
При проекционной литографии изображение с фотошаблона перено сится (проецируется) на полупроводниковую подложку с помощью оптических систем — проекционных объективов. Разрешающая способность проекционной фотолитографии 0,6 — 0,8 мкм.

Рисунок 1. Схема установки проекционной фотолитографии без изменения масштаба переноса изображения:
1, 15 - метки координат х, у и углового разворота на подложке, 2 - проекционный объектив, 3 - фотошаблон, 4, 12 - метки углового разворота и координат х, у на фотошаблоне, 5, 11 - приводы углового разворота и перемещения фотошаблона, 6, 10 - фотоэлектрические микроскопы углового разворота и координат х, у фотошаблона, 7 - блок программного управления, 8 - источник освещения для экспонирования, 9 — высокоскоростной затвор, 13 - полупроводниковая подложка, 14 - предметный столик
Метод проекционной фотолитографии имеет несколько вариантов, которые отличаются масштабами переноса изображения и способами заполнения рабочего поля подложки.
Так, при масштабе 1 : 1 изображение с фотошаблона переносится с помощью проекционной системы на подложку без изменения размеров элементов (Рисунок 1). Экспонирование может осуществляться сразу всего рабочего поля подложки или последовательным его сканированием.
При проекционной фотолитографии с уменьшением масштаба (обычно 10 : 1 или 5 : 1) единичное изображение переносится с фотошаблона на рабочее поле подложки последовательной мультипликацией.
При проекционной фотолитографии, как и при контактной, необходимо точно совмещать фотошаблон с подложкой, для чего служат специальные фигуры —метки совмещения.
В проекционных системах операция совмещения, как правило, выполняется автоматически с помощью фотоэлектрического микроскопа, который регистрирует сигнал, поступающий от метки совмещения на подложке, и сравнивает его с сигналом, поступающим от такой же метки на фотошаблоне. Для совмещения меток координатная система перемещает подложку и фотошаблон, а также поворачивает фотошаблон относительно оси проекции.
При совмещении меток сигналы равны, а при их смещении возникает разностный сигнал, который поступает в исполнительный механизм системы совмещения, обеспечивающий взаимные перемещения фотошаблона и подложки.
Для совмещения элементов изображений на подложку наносят две группы меток совмещения (Рисунок 2), одна из которых х и у1 определяет взаимное положение фотошаблона и подложки по координатам, а вторая уг служит для коррекции угловой ошибки разворота </> фотошаблона относительно координатных осей подложки. Из Рисунок 7.4.2 видно, что метки на подложке как бы рассматриваются фотоэлектрическим микроскопом через соответствующие окна в фотошаблоне. Положению точного совмещения соответствует симметричное расположение всех меток на подложке относительно окон на фотошаблоне.

Рисунок 2. Метки автоматического совмещения:
1,4, 6 — метки х, у1 и уг на подложке 1,3, 5 — считывающие окна
Процесс совмещения начинается с "захвата" меток системой наблюдения фотоэлектрического микроскопа, при котором их изображение на подложке попадает в окна фотошаблона и возникает разностный сигнал в каналах совмещения. При этом система совмещения предварительно совмещает фотошаблон и подложку по координатам в соответствии с метками, а затем, выполняя угловую коррекцию по метке у2 , поворачивает фотошаблон относительно меток х и у1 .
Наиболее совершенным и перспективным вариантом метода проекционной фотолитографии является помодульный перенос изображения на подложки с промежуточных фотошаблонов (Рисунок 3). Совмещение модулей проводится по меткам, предварительно нанесенным на подложку, что обеспечивает высокую точность (ошибка совмещения не превышает 0,1 — 0,2 мкм). При помодульном совмещении уменьшается влияние изменения температуры и геометрических искажений подложки на точность передаваемого изображения.
Помодульный перенос изображения наряду с повышением точности передаваемого рисунка элементов обеспечивает снижение плотности дефектов, вносимых в формируемую на слое фоторезиста маску. Это в первую очередь обусловлено тем, что исключается контакт фотошаблона с подложкой. Кроме того, дефекты и загрязнения, значительно меньшие элементов изображения, не переносятся с промежуточного фотошаблона на слой фоторезиста, как это происходит при переносе изображения с сохранением масштаба.
Основной задачей проекционной фотолитографии является обеспе чение автоматического совмещения, которое осуществляется нанесением специальных меток совмещения на подложки.

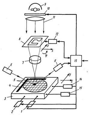
Рисунок 3. Схема установки мультипликации с совмещением:
1, 15 - приводы стола по осям х и у, 2, 14 - лазерные интерферометры по осям х и у, 3 - координатный стол, 4, 5 — полупроводниковая подложка и упоры для ее ориентации, 6 - система фокусировки, 7 - проекционный объектив, 8 - столик с промежуточным фотошаблоном, 9 - источник света, 10 - затвор, 11 - актиничное излучение, 12 - устройство совмещения меток промежуточного фотошаблона и подложки, 13 - управляющая ЭВМ
Обычно эти метки имеют форму в виде канавок травления, на которых рассеивается (поглощается) падающий пучок света и создается их оптический контраст по отношению к окружающему полю.
Если исходная полупроводниковая подложка ориентирована в плоскости (100), метки в виде V-образных канавок (Рисунок 4, а) получают селективным травлением кремния в 5 %-ном растворе КОН через маску диоксида кремния. При травлении канавка ограняется плоскостями (111), которые го сравнению с другими кристаллографическими плоскостям обладают очень малой скоростью травления. При другой ориентации полупроводниковой подложки, например (111), мета совмещения заданного профиля (Рисунок 4, б) получают плазме химическим травлением при специальных режимах.
Сохранение во всем цикле создания ИМС оптического контраст метки, определяемого в основном ее формой, является важнейшей задачей проекционной фотолитографии.

Рисунок 4. Метки совмещения:
а- V-образная, б - бочкообразная; I, II- области рассеяния и отражения пучка света
После завершения операции совмещения выполняются ав тофокусировка, а также экспонирование, при котором открывается затвор и изображение с промежуточного фотошаблона через проекционный объектив переносится на слой фоторезист; полупроводниковой подложки. Затем координатный стол i полупроводниковой подложкой перемещается в новое положение на шаг по оси х или у и начинается новый цикл.
При работе установки по программе, введенной в блоке управления ЭВМ, осуществляется "опрос" всех меток совмещения на полупроводниковой подложке и впечатывание изображения единичного модуля, т. е. его размножение — мультигашкация по рабочему полю.
Достоинство проекционной литографии по сравнению с контакт ной состоит прежде всего в том, что исключается контакт фотошаблон: и полупроводниковой подложки, приводящий к образованию в них де фектов, кроме того, обеспечивается более низкая плотность дефекте! в формируемой маске фоторезиста.
В современной проекционной фотолитографии используются оптические системы, работающие в условиях дифракционных ограничений. Это означает, что конструкция и технологи* изготовления проекционных объективов настолько совершенны, что их характеристики (разрешающая способность, точность воспроизведения размеров элементов) в основном определяются дифракционными эффектами, обусловленными значениями апертур, а не аберрациями.
Важнейшим параметром, характеризующим фотолитографические характеристики проекционного объектива, является числовая апертура NA = л sin а (где п — коэффициент преломления среды в пространстве изображения; в воздухе и — 1; а — половина максимального угла расходимости лучей, приходящих в точку изображения на оптической оси проекционной системы).
Для устранения хроматических аберраций используют мощный источник монохроматического актиничного света, в качестве которого может служить ртутная лампа сверхвысокого давления ДРШ-350 или ДРШ-500 (буквы обозначают Д -дуговая, Р - ртутная, Ш — шаровая, а цифры указывают номинальную электрическую мощность). Создают монохроматическое излучение с помощью специальных монохроматических полосовых фильтров и избирательно отражающих зеркал.
Схема осветительной системы проекционной установки показана на рисунке 5. Сотовый конденсор 4 значительно увеличивает равномерность освещенности по полю, так как каждая его линзочка проецирует попадающий на нее световой поток на все поле засветки. Таким образом неравномерный световой поток от лампы усредняется и выравнивается. Зеркало 5 е селективно отражающим покрытием пропускает тепловые лучи, но эффективно отражает ультрафиолетовое излучение, что способствует защите проекционной системы от мощного теплового потока, выделяемого лампой.
В условиях монохроматического и когерентного освещения разрешающая способность проекционной системы 6m in = 31 X/(2NA), где X - длина волны актиничного излучения. Из этой формулы видно, что чем меньше длина волны актиничного излучения и больше числовая апертура объектива, тем выше его разрешающая способность, т. е. меньше размер передаваемого элемента изображения.
Существует еще один параметр проекционной системы — ее глубина резкости. Для компенсации аберраций оптической системы, искривления поверхности полупроводниковых подложек и изменения толщины слоя фоторезиста на их поверхности из-за сформированного технологического рельефа необходима вполне определенная (по возможности наибольшая) глубина резкости 5 = X/ [2(NA)2] . Из этой формулы видно, что чем больше числовая апертура, а это необходимо для увеличения разрешающей способности проекционной системы, тем меньше ее глубина резкости.

Рисунок 5. Схема осветительной системы проекционной установки:
1 - эллиптический отражатель, 2 - источник УФ-излучения, 3 - защитное стекло, 4 — сотовый конденсор типа "мушиный глаз", 5 - селективно отражающее зеркало, 6 - полосовой фильтр, 7 - конденсорная линза
Неправильная фокусировка может существенно влиять на качество передачи изображения проекционным методом. Поэтому проекционные установки снабжают высокоточными устройствами автофокусировки с точностью установки фокусного расстояния не хуже ± 0,2 мкм.
Правильная фокусировка, а также точная доза экспозиции - обязательные условия прецизионного переноса изображения на слой фоторезиста при проекционной фотолитографии.
Таким образом, видно, что необходим компромисс между разрешающей способностью, глубиной резкости, полем изображения и выбором числовой апертуры объектива.
Пиролитическое получение пленок из газовой фазы при нормальном и пониженном давлении
Пиролитическое осаждение используют для получения толстых слоев оксида кремния при низких температурах, когда термическое окисление неприемлемо из-за существенного изменения параметров предшествующих диффузионных слоев. Пиролитическое осаждение обеспечивает большую производительность, высокую равномерность слоев, качественное покрытие уступов металлизации и позволяет создавать изолирующие и пассивирующие слои не только на поверхности кремния, но и германия, арсенида галлия, а также других материалов. Помимо оксида кремния осаждают слои SiC, Si3 N4 , ФСС и поликремния.
При пиролитическом осаждении оксида кремния происходит термическое разложение сложных соединений кремния (алкоксисиланов) с выделением SiO2 , например: тетраэтоксисилан
Si(OC2
H5
)4
650-700°
С
SiO2
+ 2H2
O + 4C2
H4
тетраметоксисилана
Si(OCH3 )4 800-850°С SiO2 +2С2 Н4 +2Н2 О или оксиление моносилана
SiH4
+2O2
400-450° С
Si02
+ 2H2
0
Последнюю реакцию обычно используют и при осаждении фосфорно-силикатного стекла с добавлением к газовой смеси фосфина РН3 , разбавленного азотом до 1,5 %-ной концентрации. Фосфин вступает в реакцию с кислородом
4РН3
+5О2
=> 2Р2
О5
+6H2
образуя оксид фосфора, который легирует SiO2 . В пленке оксида кремния оказывается 1 - 3 % фосфора, за счет чего повышается ее термомеханическая прочность, пластичность и снижается пористость. При содержании фосфора до 8-9 % слои ФСС используют для планаризации поверхности пластин, имеющей рельеф.
ПЛАЗМОХИМИЧЕСКОЕ ОСАЖДЕНИЕ
При плазмохимическом осаждении (ПХО) процесс разложения кремнийсодержащих соединений активизируется высокочастотным (ВЧ) разрядом, образующим в газовой среде при пониженном давлении низкотемпературную кислородную плазму. Плазма состоит из атомов, радикалов, молекул в разных степенях возбуждения, а также электронов и ионов. Плазмохимическое осаждение обычно проводят при давлении в реакционной камере 66 - 660 Па и частоте ВЧ-разряда 13,56-40 МГц. Температура процесса более низкая, чем при пиролитическом осаждении, благодаря чему получаемый оксид кремния можно использовать для пассивации поверхности ИМС, так как не происходит взаимодействия кремния с металлом проводников.
Механизм образования пленок при ПХО состоит из трех основных стадий: образования в зоне разряда радикалов и ионов, адсорбции их на поверхности пленки SiO2 и перегруппировки адсорбированных атомов. Перегруппировка (миграция) адсорбированных поверхностью атомов и стабилизация их положения представляют важную стадию роста пленки.
Одновременно с образованием пленки происходит десорбция продуктов реакции с поверхности. Скорости десорбции и миграции атомов сильно зависят от температуры пластины, причем при большей температуре получаются пленки с меньшей концентрацией захваченных продуктов реакции, большей плотностью и более однородным составом.
При стимулировании процесса осаждения плазмой появляются новые параметры, влияющие на скорость осаждения пленки, ее состав, плотность, показатель преломления, равномерность, внутренние напряжения и скорость травления. Кроме температуры, состава газовой смеси, ее расхода, давления, геометрии реактора на скорость окисления влияют ВЧ-мощность, напряжение и частота, геометрия электродов и расстояние между ними.
В качестве рабочих газов обычно используют соединения кремния и окислители:
Si2
О(СН3
)6
+ 8О2
230-250 C
2Si02
+ Н2
О + 6СО2
+ 8Н2
а также гексаметилдисилоксан
SiH4
+ 4N2
О 200-350°C
SiO2
+ 4N2
+ 2H2
О Скорость осаждения SiO2
при этом методе от 0,1 до 10 мкм/ч.
ЛИТЕРАТУРА
1. Черняев В.Н. Технология производства интегральных микросхем и микропроцессоров. Учебник для ВУЗов - М; Радио и связь, 2007 - 464 с: ил.
2. Технология СБИС. В 2 кн. Пер. с англ./Под ред. С.Зи,- М.: Мир, 2006.-786 с.
3. Готра З.Ю. Технология микроэлектронных устройств. Справочник. - М.: Радио и связь, 2001.-528 с.
4. Достанко А.П., Баранов В.В., Шаталов В.В. Пленочные токопроводящие системы СБИС.-Мн.: Выш.шк., 2000.-238 с.
5. Таруи Я. Основы технологии СБИС Пер. с англ. - М.: Радио и связь, 2000-480 с.