| Скачать .docx |
Курсовая работа: Проектирование активных фильтров с использованием активных резонаторов
Содержание
Анализ технического задания
Выбор элементной базы
Построение АЧХ фильтра
Анализ полученной АЧХ
Список используемой литературы
Анализ технического задания
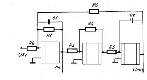
В настоящее время получили широкое распространение фильтры на основе операционных усилителей (ОУ). Частотная характеристика активного фильтра на ОУ формируется включением RC-элементов в цепь обратной связи усилителя. Электрическая схема активного фильтра верхних и нижних частот приведена на рисунке 1.

Рисунок 1 – Активный резонатор. Схема электрическая функциональная
Основным элементом активных фильтров, реализующих характеристику более высоких порядков, является активный резонатор (звено), состоящий из трех включенных последовательно ОУ, охваченных цепями обратной связи.
Расчет активного полосового фильтра на операционных усилителях
Расчет производится согласно методике, изложенной Брандтом Р. [1 ], расчетные данные взяты из технического задания курсовой работы.
По номограммам находим порядок аппроксимирующего полинома Чебышева
n = 2 .
По таблицам приложения определяем полюсы низкочастотной аппроксимирующей функции и количество активных резонаторов.
![]()
Количество резонаторов – 4.
Рассчитаем добротность полосового фильтра

Вычислим параметры y и r и добротность активных резонаторов.


Где Re и Im – действительная и мнимая части полюсов резонаторов.
Вычислим добротность резонаторов

![]()
Определим резонансные частоты активных резонаторов. Гц

![]()
Зададимся величиной С1 = С2 = 10-9 Ф и вычислим ω0 и эквивалентную индуктивность каждого резонатора.
![]()
![]()

Найдем сопротивление R 1 для каждого резонатора.

Положив R 5 = R 6 , определим названные сопротивления через известные эквивалентные индуктивности.

Рассчитаем для каждого резонатора R 2 .

Для обеспечения режима повторителя второго каскада активных резонаторов примем сопротивления R 3 = R 4 = 10 кОм .
Выбор элементной базы
Выбор микросхем ОУ.
Выбранный тип микросхем: бескорпусные ИС 740 УД1-1 – ОУ общего применения, работающие в интервале температур [–60ºС;+100ºС] с минимальной наработкой на отказ 50000 ч . Рассеиваемая мощность 450 мВт . Тип корпусного аналога 153УД1 .
Данные микросхемы в полосе частот 103 …104 способны обеспечивать усиление до 60 дБ , что соответствует требованиям ТЗ.
Все микросхемы выбираем одного типа.
Выбор конденсаторов.
Выбранный тип конденсаторов К10-43 “В” . Керамические в водородоустойчивом исполнении с нелужеными (серебряными) контактными площадками. Максимальное напряжение на обкладках 50 В , диапазон рабочих температур [–60ºС;+125ºС] . Допускаемые отклонения емкости ±1% .
Номиналы выбранных емкостей указаны в технической документации.
Выбор резисторов.
Выбранный тип резисторов Р1-12-0,062 . Металлодиэлектрические безвыводные для навесного монтажа в гибридных микросхемах. Номинальная мощность 0,062 Вт . Предельное напряжение 50 В , диапазон рабочих температур [–60ºС;+70ºС] . Допускаемые отклонения сопротивления ±1% .
Номиналы выбранных сопротивлений указаны в технической документации.
Для проверки соответствия выбранных элементов, рассчитаем баланс мощностей. Для упрощения расчетов ток во всех ветвях положим равным максимальному входному току ОУ.
Потребляемая мощность.
Мощность, потребляемая ОУ:P0пот=4мА ·18В=0.072Вт Pпот=6·0.072=0.432Вт
Построение АЧХ фильтра
Используя выбранные по рядам номиналы резисторов и конденсаторов, составляем передаточную функцию для каждого резонатора.
![]()
![]()
Для первого резонатора.
![]()
![]()

![]()

Для второго резонатора.
![]()
![]()
![]()

![]()




Построим графики АЧХ резонаторов
![]()
![]()
Ap1(f) – первый резонатор

Ap2(f) - второй резонатор
Построим АЧХ полосового фильтра, основываясь на реальной элементной базе
![]()
![]()
![]()
![]()
![]()
![]()
![]()

Анализ полученной АЧХ
Основываясь на реальной элементной базе (в расчетах мы получили идеальные номиналы элементов), мы получили АЧХ, не совпадающую с идеальной. Для оценки погрешностей сравним реальные характеристики с заданными в ТЗ величинами.
Рассчитаем параметры фильтра
1. Центральная частота полосы пропускания фильтра.
![]()
![]()
![]()


![]()
%
2. Ширина полосы пропускания фильтра по уровню – 3 дБ :

3. Коэффициент прямоугольности для уровней затухания – 3 дБ и – 25 дБ.

4. Неравномерность АЧХ в полосе пропускания.

5. Усиление в полосе пропускания фильтра.
![]()
Неравномерность АЧХ и усиление в полосе пропускания соответствует требованиям ТЗ. Искажена ширина полосы пропускания фильтра по уровню – 3 дБ, а, следовательно, и коэффициент прямоугольности.
Названные несоответствия следует отнести к погрешностям вычисления и округления чисел. Также сильное влияние оказало несоответствие номиналов реальной элементной базы расчетным величинам.
К курсовой работе приложены принципиальная схема и сборочный чертеж. Схема включения и графическое обозначение взяты согласно используемой литературе.[2]
Список используемой литературы
1. Брандт Р. «Проектирование активных фильтров с использованием активных резонаторов». «Электроника», №9, 1972.
2. «Основы конструирования и технологии РЭС: Учебное пособие для курсового проектирования» / Авт.: В.Ф. Борисов, А.А. Мухин, В.В. Чермошенский и др.– М.: Изд-во МАИ, 2000.– 128 с.: ил.
3. «Разработка и оформление конструкторской документации радиоэлектронной аппаратуры: Справочник» / Э.Т. Романычева, А.К. Иванова, А.С. Куликов и др.; Под ред. Э.Т. Романычевой.– 2-е изд., перераб. и доп.– М.: Радио и связь, 1989.– 448 с.: ил.